JP2004140362A - 反応性イオンエッチングによる磁気抵抗センサキャップの除去方法 - Google Patents
反応性イオンエッチングによる磁気抵抗センサキャップの除去方法 Download PDFInfo
- Publication number
- JP2004140362A JP2004140362A JP2003353171A JP2003353171A JP2004140362A JP 2004140362 A JP2004140362 A JP 2004140362A JP 2003353171 A JP2003353171 A JP 2003353171A JP 2003353171 A JP2003353171 A JP 2003353171A JP 2004140362 A JP2004140362 A JP 2004140362A
- Authority
- JP
- Japan
- Prior art keywords
- tantalum
- fluorine
- layer
- sensor
- reactive ion
- Prior art date
- Legal status (The legal status is an assumption and is not a legal conclusion. Google has not performed a legal analysis and makes no representation as to the accuracy of the status listed.)
- Pending
Links
- 238000001020 plasma etching Methods 0.000 title claims abstract description 75
- 238000000034 method Methods 0.000 title claims abstract description 41
- XKRFYHLGVUSROY-UHFFFAOYSA-N Argon Chemical compound [Ar] XKRFYHLGVUSROY-UHFFFAOYSA-N 0.000 claims abstract description 78
- 229910052715 tantalum Inorganic materials 0.000 claims abstract description 66
- GUVRBAGPIYLISA-UHFFFAOYSA-N tantalum atom Chemical compound [Ta] GUVRBAGPIYLISA-UHFFFAOYSA-N 0.000 claims abstract description 65
- YCKRFDGAMUMZLT-UHFFFAOYSA-N Fluorine atom Chemical compound [F] YCKRFDGAMUMZLT-UHFFFAOYSA-N 0.000 claims abstract description 44
- 239000011737 fluorine Substances 0.000 claims abstract description 44
- 229910052731 fluorine Inorganic materials 0.000 claims abstract description 44
- UFHFLCQGNIYNRP-UHFFFAOYSA-N Hydrogen Chemical compound [H][H] UFHFLCQGNIYNRP-UHFFFAOYSA-N 0.000 claims abstract description 41
- 239000001257 hydrogen Substances 0.000 claims abstract description 41
- 229910052739 hydrogen Inorganic materials 0.000 claims abstract description 41
- 229910052786 argon Inorganic materials 0.000 claims abstract description 39
- 239000007789 gas Substances 0.000 claims description 7
- 239000000203 mixture Substances 0.000 claims description 7
- 239000006227 byproduct Substances 0.000 abstract description 12
- 238000004519 manufacturing process Methods 0.000 abstract description 9
- 238000010586 diagram Methods 0.000 abstract description 8
- 230000005294 ferromagnetic effect Effects 0.000 abstract description 6
- 238000004140 cleaning Methods 0.000 abstract description 2
- 150000003481 tantalum Chemical class 0.000 abstract 1
- 230000005291 magnetic effect Effects 0.000 description 43
- 229920002120 photoresistant polymer Polymers 0.000 description 24
- 239000010408 film Substances 0.000 description 16
- 238000011282 treatment Methods 0.000 description 14
- 230000035945 sensitivity Effects 0.000 description 7
- 239000000725 suspension Substances 0.000 description 7
- 230000015572 biosynthetic process Effects 0.000 description 6
- UGKDIUIOSMUOAW-UHFFFAOYSA-N iron nickel Chemical compound [Fe].[Ni] UGKDIUIOSMUOAW-UHFFFAOYSA-N 0.000 description 6
- 238000000992 sputter etching Methods 0.000 description 6
- FQMNUIZEFUVPNU-UHFFFAOYSA-N cobalt iron Chemical compound [Fe].[Co].[Co] FQMNUIZEFUVPNU-UHFFFAOYSA-N 0.000 description 5
- 239000000758 substrate Substances 0.000 description 5
- 239000000463 material Substances 0.000 description 4
- 239000010409 thin film Substances 0.000 description 4
- 238000000137 annealing Methods 0.000 description 3
- 230000005290 antiferromagnetic effect Effects 0.000 description 3
- 230000007797 corrosion Effects 0.000 description 3
- 238000005260 corrosion Methods 0.000 description 3
- 230000008878 coupling Effects 0.000 description 3
- 238000010168 coupling process Methods 0.000 description 3
- 238000005859 coupling reaction Methods 0.000 description 3
- 239000003302 ferromagnetic material Substances 0.000 description 3
- 238000004804 winding Methods 0.000 description 2
- 229910003321 CoFe Inorganic materials 0.000 description 1
- 229910003289 NiMn Inorganic materials 0.000 description 1
- 229910019041 PtMn Inorganic materials 0.000 description 1
- BVOKCSKTSALAFW-UHFFFAOYSA-N [F].[Ta] Chemical compound [F].[Ta] BVOKCSKTSALAFW-UHFFFAOYSA-N 0.000 description 1
- 239000000956 alloy Substances 0.000 description 1
- 229910045601 alloy Inorganic materials 0.000 description 1
- 239000002885 antiferromagnetic material Substances 0.000 description 1
- 238000003491 array Methods 0.000 description 1
- 238000010276 construction Methods 0.000 description 1
- 125000001153 fluoro group Chemical group F* 0.000 description 1
- 230000001939 inductive effect Effects 0.000 description 1
- 239000003999 initiator Substances 0.000 description 1
- 238000004544 sputter deposition Methods 0.000 description 1
- 239000003381 stabilizer Substances 0.000 description 1
- 238000003860 storage Methods 0.000 description 1
Images
Classifications
-
- G—PHYSICS
- G11—INFORMATION STORAGE
- G11B—INFORMATION STORAGE BASED ON RELATIVE MOVEMENT BETWEEN RECORD CARRIER AND TRANSDUCER
- G11B5/00—Recording by magnetisation or demagnetisation of a record carrier; Reproducing by magnetic means; Record carriers therefor
- G11B5/127—Structure or manufacture of heads, e.g. inductive
- G11B5/33—Structure or manufacture of flux-sensitive heads, i.e. for reproduction only; Combination of such heads with means for recording or erasing only
- G11B5/39—Structure or manufacture of flux-sensitive heads, i.e. for reproduction only; Combination of such heads with means for recording or erasing only using magneto-resistive devices or effects
- G11B5/3903—Structure or manufacture of flux-sensitive heads, i.e. for reproduction only; Combination of such heads with means for recording or erasing only using magneto-resistive devices or effects using magnetic thin film layers or their effects, the films being part of integrated structures
-
- B—PERFORMING OPERATIONS; TRANSPORTING
- B82—NANOTECHNOLOGY
- B82Y—SPECIFIC USES OR APPLICATIONS OF NANOSTRUCTURES; MEASUREMENT OR ANALYSIS OF NANOSTRUCTURES; MANUFACTURE OR TREATMENT OF NANOSTRUCTURES
- B82Y10/00—Nanotechnology for information processing, storage or transmission, e.g. quantum computing or single electron logic
-
- B—PERFORMING OPERATIONS; TRANSPORTING
- B82—NANOTECHNOLOGY
- B82Y—SPECIFIC USES OR APPLICATIONS OF NANOSTRUCTURES; MEASUREMENT OR ANALYSIS OF NANOSTRUCTURES; MANUFACTURE OR TREATMENT OF NANOSTRUCTURES
- B82Y25/00—Nanomagnetism, e.g. magnetoimpedance, anisotropic magnetoresistance, giant magnetoresistance or tunneling magnetoresistance
-
- C—CHEMISTRY; METALLURGY
- C23—COATING METALLIC MATERIAL; COATING MATERIAL WITH METALLIC MATERIAL; CHEMICAL SURFACE TREATMENT; DIFFUSION TREATMENT OF METALLIC MATERIAL; COATING BY VACUUM EVAPORATION, BY SPUTTERING, BY ION IMPLANTATION OR BY CHEMICAL VAPOUR DEPOSITION, IN GENERAL; INHIBITING CORROSION OF METALLIC MATERIAL OR INCRUSTATION IN GENERAL
- C23F—NON-MECHANICAL REMOVAL OF METALLIC MATERIAL FROM SURFACE; INHIBITING CORROSION OF METALLIC MATERIAL OR INCRUSTATION IN GENERAL; MULTI-STEP PROCESSES FOR SURFACE TREATMENT OF METALLIC MATERIAL INVOLVING AT LEAST ONE PROCESS PROVIDED FOR IN CLASS C23 AND AT LEAST ONE PROCESS COVERED BY SUBCLASS C21D OR C22F OR CLASS C25
- C23F4/00—Processes for removing metallic material from surfaces, not provided for in group C23F1/00 or C23F3/00
-
- G—PHYSICS
- G11—INFORMATION STORAGE
- G11B—INFORMATION STORAGE BASED ON RELATIVE MOVEMENT BETWEEN RECORD CARRIER AND TRANSDUCER
- G11B5/00—Recording by magnetisation or demagnetisation of a record carrier; Reproducing by magnetic means; Record carriers therefor
- G11B5/127—Structure or manufacture of heads, e.g. inductive
- G11B5/33—Structure or manufacture of flux-sensitive heads, i.e. for reproduction only; Combination of such heads with means for recording or erasing only
- G11B5/39—Structure or manufacture of flux-sensitive heads, i.e. for reproduction only; Combination of such heads with means for recording or erasing only using magneto-resistive devices or effects
- G11B2005/3996—Structure or manufacture of flux-sensitive heads, i.e. for reproduction only; Combination of such heads with means for recording or erasing only using magneto-resistive devices or effects large or giant magnetoresistive effects [GMR], e.g. as generated in spin-valve [SV] devices
-
- G—PHYSICS
- G11—INFORMATION STORAGE
- G11B—INFORMATION STORAGE BASED ON RELATIVE MOVEMENT BETWEEN RECORD CARRIER AND TRANSDUCER
- G11B5/00—Recording by magnetisation or demagnetisation of a record carrier; Reproducing by magnetic means; Record carriers therefor
- G11B5/127—Structure or manufacture of heads, e.g. inductive
- G11B5/31—Structure or manufacture of heads, e.g. inductive using thin films
- G11B5/3163—Fabrication methods or processes specially adapted for a particular head structure, e.g. using base layers for electroplating, using functional layers for masking, using energy or particle beams for shaping the structure or modifying the properties of the basic layers
-
- H—ELECTRICITY
- H01—ELECTRIC ELEMENTS
- H01F—MAGNETS; INDUCTANCES; TRANSFORMERS; SELECTION OF MATERIALS FOR THEIR MAGNETIC PROPERTIES
- H01F41/00—Apparatus or processes specially adapted for manufacturing or assembling magnets, inductances or transformers; Apparatus or processes specially adapted for manufacturing materials characterised by their magnetic properties
- H01F41/14—Apparatus or processes specially adapted for manufacturing or assembling magnets, inductances or transformers; Apparatus or processes specially adapted for manufacturing materials characterised by their magnetic properties for applying magnetic films to substrates
- H01F41/30—Apparatus or processes specially adapted for manufacturing or assembling magnets, inductances or transformers; Apparatus or processes specially adapted for manufacturing materials characterised by their magnetic properties for applying magnetic films to substrates for applying nanostructures, e.g. by molecular beam epitaxy [MBE]
- H01F41/302—Apparatus or processes specially adapted for manufacturing or assembling magnets, inductances or transformers; Apparatus or processes specially adapted for manufacturing materials characterised by their magnetic properties for applying magnetic films to substrates for applying nanostructures, e.g. by molecular beam epitaxy [MBE] for applying spin-exchange-coupled multilayers, e.g. nanostructured superlattices
Landscapes
- Engineering & Computer Science (AREA)
- Chemical & Material Sciences (AREA)
- Nanotechnology (AREA)
- Crystallography & Structural Chemistry (AREA)
- Mathematical Physics (AREA)
- Theoretical Computer Science (AREA)
- Physics & Mathematics (AREA)
- Manufacturing & Machinery (AREA)
- Materials Engineering (AREA)
- Mechanical Engineering (AREA)
- Metallurgy (AREA)
- Organic Chemistry (AREA)
- Magnetic Heads (AREA)
- Hall/Mr Elements (AREA)
- Measuring Magnetic Variables (AREA)
Abstract
【課題】 磁気抵抗センサに対する損傷を最小にし、且つ後続の層が形成される面を清浄ににして磁気抵抗センサからタンタルキャップを除去する方法を実現することにある。
【解決手段】 製造中、強磁性自由層を有する磁気抵抗センサは、共通してタンタルキャップ層を備えている。このタンタルキャップ層は製造中にセンサを保護し、典型的にはアニーリング実行後に除去される。フッ素反応性イオンエッチングでタンタルキャップを除去すると、揮発性の低いタンタル/フッ素副生成物が残る。本発明はタンタル/フッ素副生成物を除去するためアルゴン/水素反応性イオンエッチングを使用する方法を提供するものである。得られたセンサはフッ素副生成物の存在によって生じる損傷が非常に少ない。
【選択図】 図7
【解決手段】 製造中、強磁性自由層を有する磁気抵抗センサは、共通してタンタルキャップ層を備えている。このタンタルキャップ層は製造中にセンサを保護し、典型的にはアニーリング実行後に除去される。フッ素反応性イオンエッチングでタンタルキャップを除去すると、揮発性の低いタンタル/フッ素副生成物が残る。本発明はタンタル/フッ素副生成物を除去するためアルゴン/水素反応性イオンエッチングを使用する方法を提供するものである。得られたセンサはフッ素副生成物の存在によって生じる損傷が非常に少ない。
【選択図】 図7
Description
本発明は、例えばコンピュータ・ディスク・ドライブに使用される磁気抵抗センサに関し、特に、製造中に磁気抵抗センサのキャップを除去する方法に関するものである。
磁気抵抗センサは、磁気ディスク・ドライブによく使用されている。デジタル情報の磁気記録を使用するディスク・ドライブによって、情報の大部分を現代のコンピュータ・システムに記憶している。ディスク・ドライブは、別々の同心状データトラックを有する少なくとも1つの回転ディスクを備えている。
又、各ディスク・ドライブは、典型的には磁気抵抗センサである別々の書き込み要素と読み取り要素を有する少なくとも1つの記録ヘッドを備えている。記録ヘッドはスライダに設けられ、このスライダはサスペンションに取り付けられている。
記録ヘッド、スライダ、サスペンションの組み合わせたものは、ヘッド・ジンバル・アセンブリと称されている。さらに、目的の特定トラック上に記録ヘッドを位置決めするアクチュエータがある。
まず、アクチュエータが回転して目的のトラックをシークし、そのトラック上に記録ヘッドを位置決めした後、記録ヘッドをそのトラックに対して近接した整合状態に保持する。ディスク・ドライブのディスクは、基材及びこの基材上に磁気記録用の磁気層を備えている。
記録ヘッドを支持しているスライダは、エアベアリングが形成されるディスク対向面を備えている。エアベアリングによりスライダは空気クッション上を浮動し、ディスク面に近接して位置決めすることができる。或いは、ディスクに面しているスライダ面は、ディスクとの部分的接触又は連続的接触に対しても適応可能である。
情報の記録密度が絶え間なく高くなるのに伴い、読み取り要素はより小さく、かつ、感度が良くならねばならない。小型の読み取り要素がその感度を増すことは、極めて困難なことである。感度の著しいロスを伴う読み取り要素の製造における処理工程は、大型のセンサでは許容できるが、一般に、小型のセンサでは受け入れられない。
磁気抵抗センサは、磁気記録を用途とする読み取り要素として広汎に使用されている。磁気抵抗センサは又、磁気ランダム・アクセス・メモリ・アレイ(MRAM)としても使用される。最近の磁気抵抗センサは薄膜スタックを介する電子スピン輸送の外部磁界変調を基にしている。センサを介するこの電子輸送の変調は、センサを介して検出電流を流し有効抵抗を測定することによって測定することができる。センサ内の変化を検出する目的で使用される電流は、センサ・スタックの面内を流れる(面内電流又はCIPセンサと呼ばれている)。
スピン・バルブ・センサとも称される巨大磁気抵抗(GMR)センサは、典型的にはCIPセンサである。他の形式の磁気抵抗センサ(CPPセンサと称されている)は、センサ・スタックに直交する電流を検出するものである。トンネル接合磁気抵抗センサは典型的にはCDPセンサとして構成されている。
磁気抵抗センサの製造中、薄膜スタックが形成され、次に典型的にはタンタルのキャップ層が薄膜スタック上に形成される。タンタル層は、アニーリングを含む後続の処理中にセンサ・スタックの損傷を防止する。多くのセンサ製造方法においては、タンタル層は電気リード線の形成といった後続の工程前に完全に又は部分的に除去可能である。
タンタルは、センサ・スタックの保護のためには優れた材料であるが、下層のセンサに損傷をもたらさずに除去することが困難な材料である。タンタル層はイオンミリングにより除去出来る。しかしながら、イオンミリングは、タンタルのみを選択することはできず、通常はセンサ・スタックに損傷をもたらす程活性化している。エネルギーが低く、選択的な反応性イオンエッチングも使用可能である。
タンタルの除去に際してはフッ素反応イオンエッチング(RIE)が有効である。しかしながら、RIE中に形成されたタンタル・フッ素副生成物は極めて揮発性が低い。従ってフッ素反応性イオンエッチング後は、センサ・スタックの表面には通常相当量の残留するタンタル・フッ素副生成物が存在している。この残留物は、腐食を開始し、交換結合強度を低下させ、センサ・スタックと、引き続き形成される電気リード線との間の電気的抵抗を増加させ、感度ロスをもたらすように作用する。
従って、磁気抵抗センサに対する損傷を最小にし、且つ後続の層が形成される面を清浄にする、磁気抵抗センサからタンタルキャップを除去する方法が必要とされている。
本発明の好適な実施態様では、磁気抵抗センサからタンタルキャップ層を除去した後に残留するタンタル又はフッ素副生成物を除去するためのアルゴン/水素RIE処理を使用する方法を提供する。この好適な実施態様は、磁気モーメント損失といった、下層の自由層に対する損傷を最小にする方法を提供するものである。この好適な実施態様は又、腐食開始体のない清浄な面を磁気抵抗センサに残すものである。
本発明の好適な実施態様においては、磁気抵抗スタックを形成し、磁気抵抗スタックにタンタルキャップを形成し、フッ素RIEによりタンタルキャップを除去し、アルゴン/水素RIE処理で磁気抵抗センサの表面を洗浄することを含む、磁気抵抗センサのタンタルキャップを除去する方法が提供される。フッ素RIEはCHF3及びCF4の気体混合物により低エネルギー雰囲気内で実行可能である。アルゴン/水素RIE処理は、アルゴンおよび水素の気体混合物により低エネルギー雰囲気で実行可能である。本方法の好適な実施態様は磁気記録で使用されるセンサ及びMRAMで使用されるセンサに適用可能である。
本発明の他の態様と他の諸利点については、本発明の原理を一例として図示した図面および以下の詳細な説明から明らかとなろう。
以下、本発明の実施例を図面にしたがって具体的に説明する。
本発明は、磁気抵抗センサに対して著しい損傷をもたらさず、かつ電気リード線を形成する極めて清浄な面を提供する、磁気抵抗センサにおけるタンタルキャップ層を除去する新規な方法を提供するものである。この方法は、磁気抵抗センサにおける磁気モーメント・ロスを著しく低減する。本方法の好適実施態様は、感度の相当のロスが致命的となるような小型センサを製造する際に、特に重要である。
図1を参照すると、磁気ディスク・ドライブ100は、スピンドル104で支持され、(不図示の)モータにより回転される少なくとも1つの回転磁気ディスク102を備えている。少なくとも1つのスライダ106を有し、このスライダ106には、読み取りと書き込みを行うときに、磁気ディスク102の表面上方に位置決めされる記録ヘッド108が取り付けてある。
スライダ106はサスペンション110に取り付けられ、サスペンション110はアクチュエータ112に取り付けてある。アクチュエータ112は磁気ディスク・ドライブ100のハウジング116に回動可能に支持され、ボイス・コイル・モータ118によって駆動される。
ディスクの回転中に、アクチュエータ112は、スライダ106を目的のデータトラックにアクセスするため、サスペンション110と共に半径方向に位置決めされるか、又は磁気ディスク102の表面上で弧状経路120に沿って位置決めされる。
図1を参照すると、磁気ディスク・ドライブ100の作動中に、スライダ106に対する回転磁気ディスク102の運動によって、スライダ106と磁気ディスク102の間にエアベアリングが発生し、このエアベアリングがスライダ106に対して上方向の力を与える。上方向力は、スライダ106を磁気ディスク102の表面に対して付勢するサスペンション110からのバネ力により均衡状態となる。あるいは、スライダ106は、作動中に磁気ディスク102の表面と部分的に又は連続的に接触してもよい。
図2は、スライダ202を更に詳細に示す図である。記録ヘッドは好適にはスライダ202の後方面206に構成されている。図2は、記録ヘッドの書き込み要素の上方電極208とコイル214の巻線210を示す。読み取り要素は図2には図示されていない。書き込み要素および読み取り要素と接続する電気接続パッド212が図示されている。
図3は、スライダのディスク面側から見た、記録ヘッド300の磁気的に活性化した部分を示す図である。書き込み要素の電極チップ302が図示されている。読み取り要素304は、多数の薄膜からなるサンドイッチ構造である。この読み取り要素となる磁気センサ304のサンドイッチ構造は、センサ・スタックとして知られている。センサ・スタック304は、再生信号の空間的解像度を改善する2つの磁気シールド306の間に配置される。記録ヘッドは、基材としてスライダ本体308を使用して構成されている。
磁気抵抗センサは、種々の形状と構造を有することが出来る。大部分の構造の共通した態様は、製造中にタンタルキャップが使用される点である。以下、本発明の2つの実施態様について検討する。これら2つの実施態様が例示的なものであること、又、当業者が他のセンサ設計と構造に本発明を適用可能であることを認識することは理解されるであろう。
<実施例1>
本発明の第1実施態様を図4aないし図4dに図示する。図4に図示されている実施態様は、強磁性自由層402が、交換タブで磁気的に安定化されるGMRセンサの製造方法に関するものである(以下に詳細に説明する)。
<実施例1>
本発明の第1実施態様を図4aないし図4dに図示する。図4に図示されている実施態様は、強磁性自由層402が、交換タブで磁気的に安定化されるGMRセンサの製造方法に関するものである(以下に詳細に説明する)。
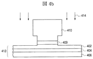
図4aは、(不図示の)基材上に形成されたGMRスタック412を図示している。GMRスタック412には固着層406、非磁性導電層404及び自由層402が含まれている。自由層402はGMRスタック412の最上層である。タンタル層408はGMRスタック412上に形成されている。最後に、タンタル層408上にはパターン化されたフォト・レジスト層410が形成されている。
図4bは、タンタル層408の露出部分を除去するためのフッ素反応性イオンエッチング(RIE)414の使用について図示したものである。フォト・レジスト層410で保護されるタンタル層408の一部409のみがフッ素RIE414の後でも残っている。フッ素RIE414中に少量の露光によって自由層402も除去されることがある。
フッ素RIEを行う典型的な条件として、約0ないし50sccmの範囲におけるCHF3と約10ないし40sccmの範囲のCF4の混合物含む気体を約10mTorr未満の圧力で使用することが含まれる。プラズマ誘導カップリング・システムにおいては、コイル電力は典型的には約100ないし500Wであり、RF電力は約5ないし50Wであり、RFバイアスの大きさは典型的には約150V以下にすべきである。これらの条件下において、典型的なブランケット・タンタルエッチングの速度は、毎分あたり約150ないし500Åである。
図4cは、アルゴン/水素RIE処理416を用いる洗浄工程の使用を図示したものである。アルゴン/水素RIE処理416の使用によりフッ素反応性イオンエッチング(RIE)414後に残留しているタンタル/フッ素副生成物が除去される。好適なRIE処理条件には圧力が150mTorr未満、好適には約10ないし100mTorrの圧力にて約25ないし75sccmの範囲内のアルゴンと水素の混合気と併せて気体を使用することが含まれる。
この気体混合物内の水素の量は重要なものではなく、2容積%の低い値からほぼ100容積%にわたることが出来る。コイル電力は約50ないし500Wにすることが出来、RF電力は典型的には約10W未満であり、RFバイアスの大きさは好適には約50V未満である。下層スパッタリングの防止には極めて低いバイアスが好適である。
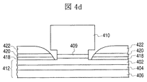
図4dは、アルゴン/水素RIE処理416の実行後に続く交換タブと電気リード線の形成を示す。典型的には、自由層402の現存する露出強磁性材料に少量の付加的な強磁性材料418を添加してもよい。
次に、PtMn、NiMn及びIrMnのような反強磁性材料420を自由層402の露出部分に形成する。最終的に電気リード線422を形成する。反強磁性層420は、強磁性層418と結合交換する。従って、反強磁性層420および自由層402の結合部分は交換タブと称される。交換タブGMR構造の形成の際、アルゴン/水素RIE処理による残留タンタル/フッ素副生成物の除去は特に重要である。残存するフッ素残留物は交換磁界を減らし、リード線の抵抗を高め、従って、センサの感度と安定性を効果的に低減する。残存フッ素も腐食を加速する。
<実施例2>
図5aないし図5hは、本発明の第2実施態様を図示している。図5aは、固着層506、非磁性導電性層504及び自由層502を含むセンサ・スタック512を図示している。センサ・スタック512は基材522上に形成されている。センサ・スタック512はタンタル層508で被覆され、タンタル層508上方に形成されたパターン化された第1フォト・レジスト層510がある。
<実施例2>
図5aないし図5hは、本発明の第2実施態様を図示している。図5aは、固着層506、非磁性導電性層504及び自由層502を含むセンサ・スタック512を図示している。センサ・スタック512は基材522上に形成されている。センサ・スタック512はタンタル層508で被覆され、タンタル層508上方に形成されたパターン化された第1フォト・レジスト層510がある。
図5bは、イオンミリング540が実施された後を図示している。第1フォト・レジスト層510の真下に存在しているセンサスタック512の層503、505、507は、イオンミリング工程540の後に残り、第1フォト・レジスト層510で保護されない層の該当部分が除去される。
図5cはセンサ・スタック512に隣接して形成された硬質バイアス層524の形成を図示している。硬質バイアス層524は永久磁石材料で形成され、自由層503を磁気的に安定化する。
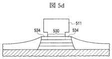
図5dは、パタ-ン化された第1フォト・レジスト層510を除去し、パターン化された第2のフォト・レジスト層511を形成した後の状態を図示している。パターン化された第2のフォト・レジスト層511の特徴幅530は、元のフォト・レジスト層510の特徴幅532より狭くなっている。第2のフォト・レジスト層511の特徴幅530が、第1のフォト・レジスト層510のそれよりも狭いため、残りのタンタル層509の小さい部分534が露出している。
図5eを参照すると、センサ構造に対してフッ素RIE542が行われ、残りの露出タンタルが除去される。第2フォト・レジスト層511で保護されるタンタルの部分514は、フッ素RIE542の後に残る。
図5fを参照すると、センサ構造に対してアルゴン/水素RIE処理544が行われ、残留しているタンタル/フッ素副生成物が除去される。
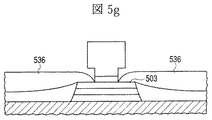
図5gに図示の如く、自由層503の一部に重なってリード536が形成してある。図5hは第2のフォト・レジスト511除去後におけるセンサ構造を図示している。
図5hに図示のセンサは電気的リード線が自由層503の一部分に重なるような構成とされている。こうした構成を備えたCIPセンサはリード・オーバーレイ・センサと称されることもある。
CIP磁気抵抗センサについて本発明の2つの実施態様を上記において詳細に説明した。本発明は、特定のセンサの正確な形式およびその詳細部に依存するものではないので、CPPセンサにも適用可能である。
先に詳細に説明した本発明の特定の両実施態様において、アルゴン/水素RIEを使用する方法は、感度の高いセンサを達成する点で重要である。磁気抵抗センサにおける自由層の磁気モーメントはセンサの感度に関係がある。便宜上、自由層の磁気モーメントはしばしば自由層の同等の厚さで特定される。物理的厚さは通常同等の厚さに緊密に関連性がある。
フッ素RIEからタンタル/フッ素副生成物を除去するために、アルゴン/水素RIE処理が実施されない場合は、自由層の磁気モーメントが小さくなる。図6は残留するフッ素副生成物による損傷を最小にすべくアルゴン/水素RIE処理を実施する有用性を図示している。
自由層は典型的にはニッケル-鉄、コバルト-鉄又はこれら両者のサンドイッチ構造の合金で形成される。アルゴン/水素RIEの有用性を試験する目的で、ニッケル-鉄及び別々のコバルト-鉄試験膜の非アニーリングの複数の組を形成した。タンタル層を試験膜上に形成した。同等厚さとして表現されている両試験膜の元の磁気モーメントは大略100Åであった。現在のセンサにおける自由層の厚さに対しては、30Åの厚さが典型的な値である。
次に両試験膜に対してフッ素RIEが行われ、タンタル層を除去した。試験膜の一方のグループはアルゴン/水素RIE処理を受けなかった。試験膜の他のグループは、アルゴン/水素RIE処理を2分間受け、試験膜の第3グループはアルゴン/水素RIE処理に対して5分間曝された。
図6に図示されている如く、後続のアルゴン/水素RIE処理を受けないタンタルキャップ除去後のコバルト-鉄膜に対する磁気モーメントのロスは約24Åである。2分又は5分のいずれかにおけるアルゴン/水素RIEの場合、コバルト-鉄膜に対する磁気モーメントのロスは約16Åであった。ニッケル-鉄膜はコバルト-鉄膜と比較した際モーメント・ロスに対して一層堅固性がある。アルゴン/水素RIE処理を受けない場合、ニッケル-鉄膜のモーメントにおけるロスは約14Åであった。2分又は5分いずれかにおけるアルゴン/水素RIE処理の場合、ニッケル-鉄膜におけるモーメントのロスは約7Åにすぎなかった。全ての場合において、フッ素RIEでのタンタルキャップの除去後におけるアルゴン/水素RIE処理の使用によって、両方の膜における磁気モーメント・ロスの量が著しく低減した。センサの感度を最大にすべく自由層のモーメント・ロスを最小にするためには、ニッケル-鉄がタンタルキャップと直接接触するように自由層を構成し、タンタルキャップの除去後にアルゴン/水素RIE処理を実施することが好ましい。
図7は、フッ素RIEに続いてアルゴン/水素RIE処理を使用しての有用性を図示している。アニーリングを含めて、多数のGMRセンサを作製した。各場合において、タンタル層は強磁性CoFe自由層上に形成した。全ての自由層の磁気モーメントは、等しく30Åであった。サンプルが受けるフッ素RIEの時間の長さは、過剰な露光によって自由層が相当の損傷を受けたか否かの決定により変更した。図7において、時間量はタンタルキャップ層の除去に要求される同等時間として表現される。例えば、100%の時間はタンタル・キャップ層を除去するのみに要求された時間であり、200%の時間はタンタル・キャップ層を除去するのに要求される時間の2倍を表している。
図7におけるデータは、自由層における磁気モーメント・ロスがフッ素RIEに対して膜が曝される時間の量に対してむしろ非感応性であることを示している。これはタンタル除去に対するフッ素RIEの選択性を示している。しかしながら、図7におけるデータは、フッ素RIEの後でアルゴン/水素RIE処理が行なわれない場合、自由層のモーメントの約半分が失われることをも示している。しかしながら、アルゴン/水素RIE処理がフッ素RIEの後で実施されれば、モーメント・ロスは実質的に少なく(約6Å又は約20%)なる。モーメントにおける20%のロスは実質的に50%のロス未満であり、又、フッ素RIEに続くアルゴン/水素RIE処理を使用する諸利点を示している。
以上、本発明の方法を使用する特定の2実施例について詳細に説明した。これらの事例から、本発明によって提供される方法はタンタル・キャップ層に隣接している強磁性層を有する多数の異なる磁気抵抗センサに適用出来る。これらのセンサは磁気記録における再生センサ、又はMRAM記憶装置におけるセンサのような適用例として使用出来る。
100…磁気ディスク・ドライブ、 102…磁気ディスク、 104…スピンドル、 106…スライダ、 108…磁気ヘッド、 110…サスペンション、 112…アクチュエータ、 116…ハウジング、 118…ボイスコイル・モータ、 120…弧状経路、 120…弧状経路、
202…スライダ、 206…スライダの後方面、 208…書き込み要素の上方電極、、 210…巻き線、 212…電気接続パッド、 214…コイル、
300…磁気ヘッド、 302…電極チップ、 304…読み取り要素、 306…磁気シールド、 308…スライダ本体、
402…強磁性自由層、 404…非磁性導電層、 406…固着層、 408…タンタル層、 409…タンタル層の残りの一部、 410…フォト・レジスト層、 412…GMRスタック、414…フッ素RIE処理、 416…アルゴン/水素RIE、 418…強磁性材料、 420…反強磁性層、 422…電気リード線、
502…自由層、 504…非磁性導電層、 506…固着層、 508…タンタル層、 510…第1のフォト・レジスト層、 511…第2のフォト・レジスト層、 512…センサ・スタック、514…第2のフォトレジスト保護されたタンタルの部分、 522…基材、 524…硬質バイアス層、 530…第2のフォト・レジスト層の特徴幅、 532…第1のフォト・レジスト層の特徴幅、 534…残りのタンタル層の小さい部分、 536…リード、 540…イオンミリング、 542…フッ素RIE処理、、 544…アルゴン/水素RIE処理。
202…スライダ、 206…スライダの後方面、 208…書き込み要素の上方電極、、 210…巻き線、 212…電気接続パッド、 214…コイル、
300…磁気ヘッド、 302…電極チップ、 304…読み取り要素、 306…磁気シールド、 308…スライダ本体、
402…強磁性自由層、 404…非磁性導電層、 406…固着層、 408…タンタル層、 409…タンタル層の残りの一部、 410…フォト・レジスト層、 412…GMRスタック、414…フッ素RIE処理、 416…アルゴン/水素RIE、 418…強磁性材料、 420…反強磁性層、 422…電気リード線、
502…自由層、 504…非磁性導電層、 506…固着層、 508…タンタル層、 510…第1のフォト・レジスト層、 511…第2のフォト・レジスト層、 512…センサ・スタック、514…第2のフォトレジスト保護されたタンタルの部分、 522…基材、 524…硬質バイアス層、 530…第2のフォト・レジスト層の特徴幅、 532…第1のフォト・レジスト層の特徴幅、 534…残りのタンタル層の小さい部分、 536…リード、 540…イオンミリング、 542…フッ素RIE処理、、 544…アルゴン/水素RIE処理。
Claims (8)
- 磁気抵抗センサのタンタルキャップを除去する方法であって、
磁気抵抗スタックを形成し、
前記磁気抵抗スタックにタンタルキャップを形成し、
フッ素反応性イオンエッチングにより前記タンタルキャップを除去し、
アルゴン/水素反応性イオンエッチングにより前記磁気抵抗センサを処理することを特徴とする方法。 - 前記フッ素反応性イオンエッチングは、10mTorr未満の圧力にてCHF3及びCF4の混合物を使用して行うことを特徴とする請求項1に記載の方法。
- 前記CHF3は、約0ないし50sccmの範囲内にあり、
前記CF4は、約10ないし40sccmの範囲内にあることを特徴とする請求項2に記載の方法。 - 前記アルゴン/水素反応性イオンエッチング処理は、150mTorr未満の圧力にて行われることを特徴とする請求項1に記載の方法。
- 前記アルゴン/水素反応性イオンエッチング処理は、少なくとも水素2%の気体組成物で行われることを特徴とする請求項1に記載の方法。
- 前記アルゴン/水素反応性イオンエッチング処理は、約25ないし75sccmの気体流量により行われることを特徴とする請求項1に記載の方法。
- CIP磁気抵抗センサのタンタルキャップを除去する方法であって、
磁気抵抗スタックを形成し、
前記磁気抵抗スタックにタンタルキャップを形成し、
前記タンタルキャップをフッ素反応性イオンエッチングにて除去し、
前記CIP磁気抵抗センサをアルゴン/水素反応性イオンエッチングにて処理することを特徴とする方法。 - CPP磁気抵抗センサ上のタンタルキャップを除去する方法であって、
磁気抵抗スタックを形成し、
前記磁気抵抗スタック上にタンタルキャップを形成し、
前記タンタルキャップをフッ素反応性イオンエッチングで除去し、
アルゴン/水素反応性イオンエッチングにて前記CPP磁気抵抗センサを処理することを特徴とする方法。
Applications Claiming Priority (1)
| Application Number | Priority Date | Filing Date | Title |
|---|---|---|---|
| US10/271,804 US6919280B2 (en) | 2002-10-15 | 2002-10-15 | Method of removing magnetoresistive sensor cap by reactive ion etching |
Publications (1)
| Publication Number | Publication Date |
|---|---|
| JP2004140362A true JP2004140362A (ja) | 2004-05-13 |
Family
ID=32069193
Family Applications (1)
| Application Number | Title | Priority Date | Filing Date |
|---|---|---|---|
| JP2003353171A Pending JP2004140362A (ja) | 2002-10-15 | 2003-10-14 | 反応性イオンエッチングによる磁気抵抗センサキャップの除去方法 |
Country Status (2)
| Country | Link |
|---|---|
| US (1) | US6919280B2 (ja) |
| JP (1) | JP2004140362A (ja) |
Cited By (1)
| Publication number | Priority date | Publication date | Assignee | Title |
|---|---|---|---|---|
| JP2017228787A (ja) * | 2017-08-22 | 2017-12-28 | 株式会社日立ハイテクノロジーズ | プラズマエッチング方法 |
Families Citing this family (6)
| Publication number | Priority date | Publication date | Assignee | Title |
|---|---|---|---|---|
| US20050067374A1 (en) * | 2003-09-30 | 2005-03-31 | Ananda Baer | Method of forming a read sensor using photoresist structures without undercuts which are removed using chemical-mechanical polishing (CMP) lift-off processes |
| US8037593B2 (en) * | 2007-12-28 | 2011-10-18 | Hitachi Global Storage Technologies Netherlands, B.V. | Method for manufacturing an ultra narrow gap magnetoresistive sensor |
| JP2009266331A (ja) * | 2008-04-28 | 2009-11-12 | Fujitsu Ltd | 薄膜磁気ヘッドの製造方法 |
| US20110284983A1 (en) * | 2010-05-21 | 2011-11-24 | Solapoint Corporation | Photodiode device and manufacturing method thereof |
| CN102544139A (zh) * | 2010-12-23 | 2012-07-04 | 太聚能源股份有限公司 | 光电二极管装置及其制造方法 |
| CN103107215A (zh) * | 2011-11-14 | 2013-05-15 | 太聚能源股份有限公司 | 太阳能电池及其形成方法 |
Family Cites Families (11)
| Publication number | Priority date | Publication date | Assignee | Title |
|---|---|---|---|---|
| US5491600A (en) * | 1994-05-04 | 1996-02-13 | International Business Machines Corporation | Multi-layer conductor leads in a magnetoresistive head |
| JPH097122A (ja) * | 1995-06-22 | 1997-01-10 | Toshiba Corp | 磁気抵抗効果ヘッドおよびそれを用いた磁気記録再生ヘッド |
| US6064552A (en) * | 1997-03-18 | 2000-05-16 | Kabushiki Kaisha Toshiba | Magnetoresistive head having magnetic yoke and giant magnetoresistive element such that a first electrode is formed on the giant magnetoresistive element which in turn is formed on the magnetic yoke which acts as a second electrode |
| US5949623A (en) * | 1997-09-11 | 1999-09-07 | International Business Machines Corporation | Monolayer longitudinal bias and sensor trackwidth definition for overlaid anisotropic and giant magnetoresistive heads |
| US5883764A (en) * | 1997-10-03 | 1999-03-16 | International Business Machines Corporation | Magnetoresistive sensor having multi-layered refractory metal conductor leads |
| US6086777A (en) * | 1998-07-02 | 2000-07-11 | Advanced Micro Devices, Inc. | Tantalum barrier metal removal by using CF4 /o2 plasma dry etch |
| US6209193B1 (en) * | 1998-08-24 | 2001-04-03 | International Business Machines Corporation | Method of making read sensor with self-aligned low resistance leads |
| US6209293B1 (en) * | 1999-06-25 | 2001-04-03 | Box Loader, Llc | Packing apparatus for packing multiple layers of containers into a receptacle |
| JP2001084535A (ja) * | 1999-09-16 | 2001-03-30 | Tdk Corp | 薄膜磁気ヘッドの製造方法および磁気抵抗効果装置の製造方法 |
| US20020132488A1 (en) * | 2001-01-12 | 2002-09-19 | Applied Materials, Inc. | Method of etching tantalum |
| US6555461B1 (en) * | 2001-06-20 | 2003-04-29 | Advanced Micro Devices, Inc. | Method of forming low resistance barrier on low k interconnect |
-
2002
- 2002-10-15 US US10/271,804 patent/US6919280B2/en not_active Expired - Fee Related
-
2003
- 2003-10-14 JP JP2003353171A patent/JP2004140362A/ja active Pending
Cited By (1)
| Publication number | Priority date | Publication date | Assignee | Title |
|---|---|---|---|---|
| JP2017228787A (ja) * | 2017-08-22 | 2017-12-28 | 株式会社日立ハイテクノロジーズ | プラズマエッチング方法 |
Also Published As
| Publication number | Publication date |
|---|---|
| US20040069746A1 (en) | 2004-04-15 |
| US6919280B2 (en) | 2005-07-19 |
Similar Documents
| Publication | Publication Date | Title |
|---|---|---|
| US7313856B2 (en) | Method of manufacturing a magnetoresistive sensor with a thin antiferromagnetic layer for pinning antiparallel coupled tabs | |
| US6097579A (en) | Tunnel junction head structure without current shunting | |
| US9042062B2 (en) | Magnetic sensor with recessed AFM shape enhanced pinning and soft magnetic bias | |
| US8393073B2 (en) | Method to control mask profile for read sensor definition | |
| JP2012059345A (ja) | 絶縁構造を改良した平面垂直通電型(cpp)磁気抵抗(mr)センサ | |
| US7525775B2 (en) | Oblique angle etched underlayers for improved exchange biased structures in a magnetoresitive sensor | |
| US9202482B2 (en) | Magnetic sensor having an extended pinned layer with stitched antiferromagnetic pinning layer | |
| JP2005235371A (ja) | リード線機構の安定を強化した自動ピン止め型読取りセンサ | |
| US20070035891A1 (en) | Method of manufacturing a magnetoresistive sensor having a shape enhanced pinned layer | |
| JP2001006126A (ja) | 磁気抵抗効果ヘッド及びそのヘッドを備えた磁気抵抗検出システム並びにそのヘッドを備えた磁気記憶システム | |
| JP5971681B2 (ja) | 低抵抗キャップ構造を有する磁気読取りセンサを製造する方法 | |
| US7360297B2 (en) | Magnetoresistive sensor with antiparallel coupled lead/sensor overlap region | |
| US20070292607A1 (en) | Method for manufacturing a magnetoresistive sensor having improved antiparallel tab free layer biasing | |
| JP2010134997A (ja) | Cpp構造の磁気抵抗効果型ヘッド | |
| JP4133845B2 (ja) | 低抵抗反平行タブを有する磁気抵抗型センサ | |
| US7663847B2 (en) | Magnetoresistive sensor having an anisotropic hard bias without a buffer layer | |
| US6718621B1 (en) | Magnetoresistive head production method | |
| US6919280B2 (en) | Method of removing magnetoresistive sensor cap by reactive ion etching | |
| US7005242B2 (en) | Magnetic head and method of making the same using an etch-stop layer for removing portions of the capping layer | |
| JP3790183B2 (ja) | 磁気抵抗効果素子及びその製造方法、磁気ヘッド並びに磁気再生装置 | |
| US20060007603A1 (en) | Magnetoresistive sensor with refill film, fabrication process, and magnetic disk storage apparatus mounting magnetoresistive sensor | |
| US20150118520A1 (en) | Low resistance magnetic sensor with extended pinned layer structure | |
| US20050063103A1 (en) | Method of forming an embedded read element | |
| US8615868B2 (en) | Method for manufacturing a magnetic sensor using two step ion milling | |
| US12254906B1 (en) | Planarization strategy in nano-sized fabrication |