EP4553285A1 - Turbinenmotor mit einer schaufelanordnung mit kühllöchern - Google Patents

Turbinenmotor mit einer schaufelanordnung mit kühllöchern Download PDF

Info

Publication number
EP4553285A1
EP4553285A1 EP24211889.1A EP24211889A EP4553285A1 EP 4553285 A1 EP4553285 A1 EP 4553285A1 EP 24211889 A EP24211889 A EP 24211889A EP 4553285 A1 EP4553285 A1 EP 4553285A1
Authority
EP
European Patent Office
Prior art keywords
blade assembly
cooling
edge
trailing
airfoil
Prior art date
Legal status (The legal status is an assumption and is not a legal conclusion. Google has not performed a legal analysis and makes no representation as to the accuracy of the status listed.)
Pending
Application number
EP24211889.1A
Other languages
English (en)
French (fr)
Inventor
Zachary NOETH
Thomas WARBURG
Kelli Marie Fishback
Andrea MARINELLI
Marie MYERS
Kurt Thomas Whittington
Zachary Daniel Webster
Current Assignee (The listed assignees may be inaccurate. Google has not performed a legal analysis and makes no representation or warranty as to the accuracy of the list.)
General Electric Co
Original Assignee
General Electric Co
Priority date (The priority date is an assumption and is not a legal conclusion. Google has not performed a legal analysis and makes no representation as to the accuracy of the date listed.)
Filing date
Publication date
Application filed by General Electric Co filed Critical General Electric Co
Publication of EP4553285A1 publication Critical patent/EP4553285A1/de
Pending legal-status Critical Current

Links

Images

Classifications

    • FMECHANICAL ENGINEERING; LIGHTING; HEATING; WEAPONS; BLASTING
    • F01MACHINES OR ENGINES IN GENERAL; ENGINE PLANTS IN GENERAL; STEAM ENGINES
    • F01DNON-POSITIVE DISPLACEMENT MACHINES OR ENGINES, e.g. STEAM TURBINES
    • F01D5/00Blades; Blade-carrying members; Heating, heat-insulating, cooling or antivibration means on the blades or the members
    • F01D5/12Blades
    • F01D5/14Form or construction
    • F01D5/18Hollow blades, i.e. blades with cooling or heating channels or cavities; Heating, heat-insulating or cooling means on blades
    • F01D5/187Convection cooling
    • FMECHANICAL ENGINEERING; LIGHTING; HEATING; WEAPONS; BLASTING
    • F01MACHINES OR ENGINES IN GENERAL; ENGINE PLANTS IN GENERAL; STEAM ENGINES
    • F01DNON-POSITIVE DISPLACEMENT MACHINES OR ENGINES, e.g. STEAM TURBINES
    • F01D5/00Blades; Blade-carrying members; Heating, heat-insulating, cooling or antivibration means on the blades or the members
    • F01D5/12Blades
    • F01D5/14Form or construction
    • F01D5/18Hollow blades, i.e. blades with cooling or heating channels or cavities; Heating, heat-insulating or cooling means on blades
    • F01D5/186Film cooling
    • FMECHANICAL ENGINEERING; LIGHTING; HEATING; WEAPONS; BLASTING
    • F05INDEXING SCHEMES RELATING TO ENGINES OR PUMPS IN VARIOUS SUBCLASSES OF CLASSES F01-F04
    • F05DINDEXING SCHEME FOR ASPECTS RELATING TO NON-POSITIVE-DISPLACEMENT MACHINES OR ENGINES, GAS-TURBINES OR JET-PROPULSION PLANTS
    • F05D2240/00Components
    • F05D2240/20Rotors
    • F05D2240/30Characteristics of rotor blades, i.e. of any element transforming dynamic fluid energy to or from rotational energy and being attached to a rotor
    • F05D2240/304Characteristics of rotor blades, i.e. of any element transforming dynamic fluid energy to or from rotational energy and being attached to a rotor related to the trailing edge of a rotor blade
    • FMECHANICAL ENGINEERING; LIGHTING; HEATING; WEAPONS; BLASTING
    • F05INDEXING SCHEMES RELATING TO ENGINES OR PUMPS IN VARIOUS SUBCLASSES OF CLASSES F01-F04
    • F05DINDEXING SCHEME FOR ASPECTS RELATING TO NON-POSITIVE-DISPLACEMENT MACHINES OR ENGINES, GAS-TURBINES OR JET-PROPULSION PLANTS
    • F05D2260/00Function
    • F05D2260/20Heat transfer, e.g. cooling
    • F05D2260/202Heat transfer, e.g. cooling by film cooling

Definitions

  • the present subject matter relates generally to a blade assembly for a turbine engine, and more specifically to a blade assembly with cooling holes.
  • a gas turbine engine typically includes a turbomachine, with a fan in some implementations.
  • the turbomachine generally includes a compressor, combustor, and turbine in serial flow arrangement.
  • the compressor compresses air which is channeled to the combustor where it is mixed with fuel.
  • the mixture is then ignited to generate hot combustion gases.
  • the combustion gases are channeled to the turbine, which extracts energy from the combustion gases for powering the compressor and fan, if used, as well as for producing useful work to propel an aircraft in flight or to power a load, such as an electrical generator.
  • various systems During operation of the gas turbine engine, various systems generate a relatively large amount of heat and stress. For example, a substantial amount of heat or stress can be generated during operation of the thrust generating systems, lubrication systems, electric motors and/or generators, hydraulic systems or other systems.
  • a design that mitigates heat loads and/or stresses on an engine component is advantageous.
  • aspects of the disclosure generally relate to a blade assembly having a plurality of cooling holes.
  • the blade assembly includes an airfoil with a plurality of cooling holes.
  • the cooling holes are fluidly coupled to a plurality of cooling conduits within the airfoil.
  • the blade assembly may be a blade assembly in a turbine section of a gas turbine engine.
  • the blade assembly may be a stage one blade assembly of a high pressure turbine, which typically experiences the highest thermal and mechanical stresses.
  • the blade assembly includes a shank and a platform.
  • the shank is used to attach the blade assembly to a turbine disk.
  • the shank is formed as a dovetail received in the turbine disk.
  • the platform of the blade assembly together with other circumferentially arranged platforms and seals of other blade assemblies define a substantially continuous annular ring that limits (e.g., prevents, reduces) hot gas leakage from the flow path into the turbine disk cavity.
  • the airfoil extends radially from the platform, away from the turbine disk, while the shank extends radially from the platform, toward the turbine disk.
  • cooling holes in the airfoil create stress concentrations.
  • the size of the cooling holes affects the thickness of the trailing-edge of the airfoil, which affects stress concentrations in the airfoil. Relatively large stresses can contribute to an unexpected or premature part replacement. Therefore, there is a need for a blade assembly with greater durability to increase time on wing.
  • connection references e.g., attached, coupled, connected, and joined are to be construed broadly and can include intermediate structural elements between a collection of elements and relative movement between elements unless otherwise indicated. As such, connection references do not necessarily infer those two elements are directly connected and in fixed relation to one another.
  • the exemplary drawings are for purposes of illustration only and the dimensions, positions, order and relative sizes reflected in the drawings attached hereto can vary.
  • a "stage" of either a compressor or a turbine of a gas turbine engine is a set of blade assemblies and an adjacent set of vane assemblies, with both sets of the blade assemblies and the vane assemblies circumferentially arranged about an engine centerline.
  • a pair of circumferentially-adj acent vanes in the set of vane assemblies are referred to as a nozzle.
  • the blade assemblies rotate relative to the engine centerline and, in one example, are mounted to a rotating structure, such as a disk, to affect the rotation.
  • exemplary means “serving as an example, instance, or illustration.” Any implementation described herein as “exemplary” is not necessarily to be construed as preferred or advantageous over other implementations. Additionally, unless specifically identified otherwise, all embodiments described herein should be considered exemplary.
  • first, second, third, and fourth can be used interchangeably to distinguish one component from another and are not intended to signify location or importance of the individual components.
  • a "set" or a set of elements can include any number of said elements, including one.
  • forward and aft refer to relative positions within a gas turbine engine and refer to the normal operational attitude or direction of travel of the gas turbine engine.
  • forward refers to a position relatively closer to the nose of an aircraft and aft refers to a position relatively closer to a tail of the aircraft.
  • fluid refers to a gas or a liquid and "fluidly coupled” means a fluid can flow between the coupled regions.
  • a radial direction is a direction that is perpendicular to a base plane on a shank of a blade assembly.
  • an axial direction is a direction that is perpendicular to a shank leading-edge plane on the shank of the blade assembly.
  • a tangential direction is a direction that is perpendicular to the radial direction and the axial direction.
  • An average passage length (denoted “ L ”) as used herein is an average length of the cooling hole passages located along the trailing-edge of the airfoil.
  • An average passage width (denoted “ W ”) as used herein is an average minimum width of the cooling hole passages measured along the radial direction.
  • N A number (denoted “N”) as used herein is a number of cooling holes located along the trailing-edge of the airfoil.
  • a stator rotor seal radius (denoted "SRSR”) is a radius of curvature of an upper edge of a stator rotor seal on a blade assembly.
  • redline exhaust gas temperature refers to a maximum permitted takeoff temperature documented in a Federal Aviation Administration ("FAA”)-type certificate data sheet.
  • FAA Federal Aviation Administration
  • redline EGT may refer to a maximum permitted takeoff temperature of an airflow after a first stage stator downstream of an HP turbine of an engine that the engine is rated to withstand.
  • redline EGT is sometimes also referred to as an indicated turbine exhaust gas temperature or indicated turbine temperature.
  • FIG. 1 is a schematic view of a gas turbine engine 10.
  • the gas turbine engine 10 can be used on an aircraft.
  • the gas turbine engine 10 includes an engine core extending along an engine centerline 20 and including, at least, a compressor section 12, a combustor 14, and a turbine section 16 in serial flow arrangement.
  • the gas turbine engine 10 includes a fan (not shown) that is driven by the engine core to produce thrust and provide air to the compressor section 12.
  • the gas turbine engine 10 includes a drive shaft 18 that rotationally couples the fan, compressor section 12, and turbine section 16, such that rotation of one affects the rotation of the others, and defines a rotational axis along the engine centerline 20 of the gas turbine engine 10.
  • the compressor section 12 includes a low-pressure (LP) compressor 22 and a high-pressure (HP) compressor 24 serially fluidly coupled to one another.
  • the turbine section 16 includes an HP turbine 26 and an LP turbine 28 serially fluidly coupled to one another.
  • the drive shaft 18 operatively couples the LP compressor 22, the HP compressor 24, the HP turbine 26 and the LP turbine 28 to one another.
  • the drive shaft 18 includes an LP drive shaft (not illustrated) and an HP drive shaft (not illustrated), where the LP drive shaft couples the LP compressor 22 to the LP turbine 28, and the HP drive shaft couples the HP compressor 24 to the HP turbine 26.
  • the compressor section 12 includes a plurality of axially spaced stages. Each stage includes a set of circumferentially-spaced rotating blade assemblies and a set of circumferentially-spaced stationary vane assemblies.
  • the compressor blade assemblies for a stage of the compressor section 12 are mounted to a disk, which is mounted to the drive shaft 18. Each set of blade assemblies for a given stage can have its own disk.
  • the vane assemblies of the compressor section 12 are mounted to a casing which extends circumferentially about the gas turbine engine 10. In a counter-rotating turbine engine, the vane assemblies are mounted to a drum, which is similar to the casing, except the drum rotates in a direction opposite the blade assemblies, whereas the casing is stationary. It will be appreciated that the representation of the compressor section 12 is merely schematic. The number of stages can vary.
  • the turbine section 16 includes a plurality of axially spaced stages, with each stage having a set of circumferentially-spaced, rotating blade assemblies and a set of circumferentially-spaced, stationary vane assemblies.
  • the turbine blade assemblies for a stage of the turbine section 16 are mounted to a disk which is mounted to the drive shaft 18.
  • Each set of blade assemblies for a given stage can have its own disk.
  • the vane assemblies of the turbine section are mounted to the casing in a circumferential manner.
  • the vane assemblies can be mounted to a drum, which is similar to the casing, except the drum rotates in a direction opposite the blade assemblies, whereas the casing is stationary.
  • the number of blade assemblies, vane assemblies, and turbine stages can vary.
  • the combustor 14 is provided serially between the compressor section 12 and the turbine section 16.
  • the combustor 14 is fluidly coupled to at least a portion of the compressor section 12 and the turbine section 16 such that the combustor 14 at least partially fluidly couples the compressor section 12 to the turbine section 16.
  • the combustor 14 is fluidly coupled to the HP compressor 24 at an upstream end of the combustor 14 and to the HP turbine 26 at a downstream end of the combustor 14.
  • ambient or atmospheric air is drawn into the compressor section 12 via the fan, upstream of the compressor section 12, where the air is compressed defining a pressurized air.
  • the pressurized air then flows into the combustor 14 where the pressurized air is mixed with fuel and ignited, thereby generating hot combustion gases.
  • Some work is extracted from these combustion gases by the HP turbine 26, which drives the HP compressor 24.
  • the combustion gases are discharged into the LP turbine 28, which extracts additional work to drive the LP compressor 22, and the exhaust gas is ultimately discharged from the gas turbine engine 10 via an exhaust section (not illustrated) downstream of the turbine section 16.
  • the driving of the LP turbine 28 drives the LP spool to rotate the fan and the LP compressor 22.
  • the pressurized airflow and the combustion gases together define a working airflow that flows through the fan, compressor section 12, combustor 14, and turbine section 16 of the gas turbine engine 10.
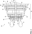
  • the turbine section 16 includes sets of blade assemblies 30 circumferentially mounted to corresponding disks 32.
  • the number of individual blades of the set of blade assemblies 30 mounted to each disk 32 may vary. While shown schematically in FIG. 2 , it should be understood that the turbine section 16 can be a single stage turbine, or can include additional stages as shown.
  • Stationary vane assemblies 34 are mounted to a stator ring 36 located distally exterior of each of the disks 32.
  • a nozzle 38 is defined by the space between circumferentially-adjacent pairs of vane assemblies 34.
  • the number of nozzles 38 provided on the stator ring 36 may vary.
  • a flow of hot gas or heated fluid flow (denoted "HF"), such as a combustor flow, exits the combustor 14 and enters the turbine section 16.
  • the heated fluid flow HF is directed through the nozzles 38 and impinges on the blade assemblies 30, which rotates the blade assemblies 30 circumferentially around the engine centerline 20 and cause rotation of the drive shaft 18.
  • the engine core is configured to generate a redline exhaust gas temperature (EGT) in a range of 988 degrees Celsius (°C) to 1120°C.
  • FIG. 3 is a perspective view of a single blade assembly 30 for the turbine engine 10 ( FIG. 1 ).
  • the blade assembly 30 may correspond to a stage one blade assembly of the HP turbine 26.
  • the blade assembly 30 includes a shank 40, a platform 50, and an airfoil 60 (also referred to as a blade or blade portion).
  • the blade assembly 30 can be constructed as a single unitary part or component (e.g., a monolithic structure).
  • the shank 40, the platform 50, and/or the airfoil 60 can be constructed as separate parts or components that are coupled together to form the blade assembly 30.
  • the shank 40 extends between a base 42 and the platform 50.
  • the base 42 of the shank 40 is a flat surface that defines a plane, referred to herein as the base plane (denoted "BP").
  • a radial direction (denoted “R") of the blade assembly 30 is a direction that is perpendicular to the base plane BP.
  • the shank 40 extends between a shank leading-edge 44 and a shank trailing-edge 46.
  • the shank leading-edge 44 is a flat surface that defines a plane, referred herein as the shank leading-edge plane (denoted "SLEP").
  • An axial direction (denoted “A") of the blade assembly 30 is a direction that is perpendicular to the shank leading-edge plane SLEP.
  • a tangential direction (denoted “T”) is a direction perpendicular to both the radial direction R and the axial direction A.
  • the shank 40 is configured, by way of non-limiting example as a dovetail 47, to mount to the disk 32 ( FIG. 2 ) of the engine 10 in order to rotatably drive the blade assembly 30.
  • the shank 40 includes a plurality of inlet passages 48 (shown in dashed lines) for receiving a cooling fluid (denoted "CF") (e.g., bleed air) for cooling the blade assembly 30.
  • CF cooling fluid
  • the plurality of inlet passages 48 includes a trailing-edge inlet passage 48t and a middle inlet passage 48m.
  • Each of the inlet passages 48t, 48m extends between the base 42 and one or more cooling conduits in the airfoil 30, as disclosed in further detail herein.
  • the inlet passages 48t, 48m receive the cooling fluid CF at the base 42.
  • the cooling fluid CF flows through the inlet passages 48t, 48m and into one or more cooling conduits in the airfoil 30. While in this example there are two inlet passages, in other examples, the shank 40 can include more or fewer inlet passages.
  • the airfoil 60 extends radially outward from the platform 50 to define a root 61, connected to the platform 50, and a tip 62 opposite the root 61. Additionally, the airfoil 60 includes an outer wall 63 defining an exterior surface 59 defining a pressure side 64 and a suction side 65 opposite the pressure side 64. The airfoil 60 extends between an airfoil leading-edge 66 and an airfoil trailing-edge 67 downstream from the airfoil leading-edge 66. The airfoil leading-edge 66 and the airfoil trailing-edge 67 separate the pressure side 64 from the suction side 65.
  • the blade assembly 30 has a plurality of cooling conduits 70 (shown in dashed lines) formed within the airfoil 60.
  • the trailing-edge inlet passage 48t and the middle inlet passage 48m are fluidly coupled to the plurality of cooling conduits 70.
  • the plurality of cooling conduits 70 includes a trailing-edge cooling conduit 70t that is closest to the airfoil trailing-edge 67 and a second trailing cooling conduit 70s that is next closest to the airfoil trailing-edge 67.
  • the trailing-edge cooling conduit 70t is fluidly coupled directly to the trailing-edge inlet passage 48t
  • the second cooling conduit 70s is fluidly coupled directly to the middle inlet passage 48m.
  • the blade assembly 30 has a plurality of cooling holes 69 formed along the airfoil trailing-edge 67 to fluidly couple the plurality of cooling conduits 70 within the airfoil 60 of the blade assembly 30 to an exterior of the blade assembly 30.
  • the plurality of cooling holes 69 are angled to direct a cooling fluid flow radially outward from the trailing-edge 67.
  • the platform 50 has a first surface 51, referred to as an upper surface, and a second surface 52, referred to as a lower surface, opposite the upper surface 51.
  • the airfoil 60 is coupled to and extends radially outward from the upper surface 51, and the shank 40 is coupled to and extends radially inward from the lower surface 52.
  • the platform 50 extends between a platform leading-edge 53 and a platform trailing-edge 54, opposite the platform leading-edge 53, in the axial A direction.
  • the platform 50 further extends between a first slashface 55 and a second slashface 56, opposite the first slashface 55, in the tangential T direction.
  • consecutive blade assemblies 30 are arranged in a circumferential direction about the engine centerline 20 ( FIG. 1 ) with sequential slashfaces 55, 56 facing each other.
  • the heated fluid flow HF flows along the blade assembly 30.
  • the airfoil leading-edge 66 is defined by a stagnation point with respect to the heated fluid flow HF.
  • the heated fluid flow HF flows generally in the axial direction, from forward to aft, while the local directionality can vary as the heated fluid flow HF is driven or turned within the engine 10.
  • the cooling fluid flow CF is supplied to the plurality of inlet passages 48 and flows into the plurality of cooling conduits 70 to cool the airfoil 60.
  • the cooling fluid flow CF is provided throughout the airfoil 60 and exhausted from the plurality of cooling conduits 70 via the cooling holes 69 as a cooling film.
  • the platform 50 helps to radially contain the heated fluid flow HF to protect the disk 32 ( FIG. 2 ).
  • the platform 50 acts to seal the space radially inward of the platform 50 between the flow path of the heated fluid flow H and the disk 32.
  • the disk 32 requires significant cooling to ensure the durability of the HP turbine 26 components.
  • Materials used to form the blade assembly 30 include, but are not limited to, steel, refractory metals such as titanium, or superalloys based on nickel, cobalt, or iron, ceramic matrix composites, or combinations thereof.
  • the structures can be formed by a variety of methods, including additive manufacturing, casting, electroforming, or direct metal laser melting, in non-limiting examples.
  • the platform 50 has a stator rotor seal 57 that extends axially forward from the platform leading-edge 53.
  • the stator rotor seal 57 facilitates sealing of a forward buffer cavity (not shown) defined within the rotor assembly.
  • the stator rotor seal 57 has an upper surface 80, a lower surface 81 opposite the upper surface 80, and a forward surface 82 between the upper surface 80 and the lower surface 81.
  • the stator rotor seal 57 has an upper edge 83 between the upper surface 80 and the forward surface 82.
  • the upper edge 83 is curved or arc- shaped.
  • the upper edge 83 is curved between a first end point 84 at the first slashface 55 and a second end point 85 at the second slashface 56.
  • the upper edge 83 of stator rotor seal 57 has a center point 86 that forms the peak of the arc.
  • the upper edge 83 of the stator rotor seal 57 has a radius of curvature, referred to herein as a stator rotor seal radius (denoted "SRSR").
  • the center of the radius of curvature may be the engine centerline 20 ( FIG. 1 ). As shown in FIG.
  • the SRSR (i.e., the radius of curvature of the upper edge 83 of the stator rotor seal 57) can be calculated using the straight-line distance (S) between the two the end points 84, 85, and the maximum deflection (D), in the radial R direction, between the two end points 84, 85 and the center point 86 of the arc.
  • FIG. 5 is an enlarged view of the airfoil trailing-edge 67 and the plurality of cooling holes 69 (three of which are referenced in FIG 5 ).
  • the cooling hole 69 has a passage 71 extending between an inlet 72 and an outlet 73.
  • the passage 71 has a passage centerline (denoted "PCL") extending through a center 74 of the inlet 72 and a center 75 of the outlet 73.
  • the passage 71 has a passage length L along the passage centerline PCL between the inlet 72 and the outlet 73.
  • the inlet 72 of the passage 71 is fluidly coupled to one or more of the plurality of the fluid conduits 70 ( FIG.
  • an average passage length (denoted L ) is an average of the lengths L of the passages 71 of the cooling holes 69.
  • the average passage length L can be calculated by summing all of the lengths L of the passages 71 and dividing by the number of cooling holes 69.
  • FIG. 6 is an enlarged view of the airfoil trailing-edge 67 and the plurality of cooling holes 69 (one of which is referenced in FIG. 6 ) facing the outlets 73.
  • the outlets 73 are circular shaped.
  • the outlets 73 exhaust at the airfoil trailing-edge 67.
  • Each cooling hole in the plurality of cooling holes 69 defines a passage width W, which is the minimum or smallest distance of the passage 71 in the radial direction R. The minimum distance can occur anywhere between the inlet 72 and the outlet 73.
  • an average passage width (denoted W ) is an average of the passage widths W of the cooling holes 69.
  • the average passage width W can be calculated by summing all of the passage widths W of the passages 71 and dividing by the number of cooling holes 69.
  • FIG. 7 is an enlarged view of an airfoil trailing-edge 167 of an airfoil 160 in accordance with various aspects described herein.
  • the airfoil 160 is similar to the airfoil 60; therefore, like parts will be identified with like numerals increased by 100, with it being understood that the description of the like parts of the airfoil 60 applies to the airfoil 160, except where noted.
  • the outlets 173 are slot shaped.
  • the airfoil trailing-edge 167 includes a plurality of cooling holes 169 (one of which is referenced in FIG. 7 ).
  • Each cooling hole in the plurality of cooling holes 169 include a passage 171 extending between an inlet 172 and an outlet 173 on the exterior surface 159.
  • the passage 171 has a passage length L between a center 174 of the inlet 172 and a center 175 of the outlet 173.
  • Each cooling hole in the plurality of cooling holes 169 defines a passage width W, which is the minimum or smallest distance of the passage 171 in the radial direction R. The minimum distance can occur anywhere between the inlet 172 and the outlet 173.
  • FIG. 8 is an enlarged view of the airfoil trailing-edge 167 and the plurality of cooling holes 169 (one of which is referenced in FIG. 8 ) facing the outlet 173.
  • the outlets 173 exhaust along the pressure side 164 proximate the airfoil trailing-edge 167.
  • the passage width W of one of the cooling holes 169 is labeled in FIG. 8 .
  • the average passage width W can be calculated by summing all of the passage widths W of the passages 171 and dividing by the number of cooling holes 169.
  • the blade assemblies 30 of the HP turbine 26 and, specifically, the stage one blade assemblies 30 of the HP turbine 26 have the highest flow path temperature of any blade set. These stage one blade assemblies also rotate at extremely high angular velocities. The extreme temperature environment and the high rotational speeds impart large forces on the stage one blade assemblies 30 that can lead to creep and fatigue, especially along the suction side of the airfoil. The high temperatures also contribute to oxidation, which is the corrosion of a material due to high temperature. Creep, fatigue, and oxidation may result in an unexpected or premature part replacement that limits engine Time on Wing (TOW). Therefore, there is a need for a blade assembly that can withstand these large centrifugal stresses and high temperatures and reduce (e.g., minimize) creep, fatigue, and oxidation.
  • TOW Time on Wing
  • the inventors developed multiple blade assembly designs and determined that the geometry of the cooling holes along the trailing edge produces potential for significantly less efficient cooling, resulting in oxidation and particulate ingestion for a given redline EGT. More specifically, the inventors determined a specific number N of cooling holes with a large average passage width W along the trailing edge for a specific set of operating characteristics represented by redline EGT resulted in more blade stress and oxidation. As such, the inventors determined the number N of cooling holes and the average passage width W have a significant effect on durability. Further, the inventors determined the average passage length L has a significant effect on durability.
  • stator rotor seal radius is integral to the airfoil 60 external geometry and characterizes the component height in operation.
  • the airfoil 60 is designed for rotational operation and this stator rotor seal radius (SRSR) relates to the loading characteristics experienced by the airfoil 60. Due to the relationship with airfoil height and rotational operation, the stator rotor seal (SRSR) can be used to characterize the loading and stresses of the airfoil as the primary contributors to airfoil stress are due to rotation, flowpath, and thermal conditions.
  • the inventors determined during the course of their blade assembly design that the number N of cooling holes, average passage length L , average passage width W , the stator rotor seal radius SRSR, and the redline EGT have an effect on the durability of the blade assembly 30. For instance, a relatively smaller average passage width W , a larger average passage length L , and a larger number N of cooling holes for a specific set of operating characteristics represented by redline EGT and a specific radial location represented by SRSR resulted in better blade assembly durability. This provides sufficient cooling that reduces oxidation while also mitigating cooling air use.
  • Table 1 illustrates twenty examples (denoted Ex. 1-20) of gas turbine engines 10 and blade assemblies 30 developed by the inventors.
  • Table 1 includes N values, L values, W values, SRSR values, and redline EGT values for each of the examples.
  • N number of cooling holes
  • L average passage length
  • W average passage width
  • Redline EGT Redline Exhaust Gas Temperature
  • SRSR Stator Rotor Seal Radius
  • the examples developed by the inventors shown in Table 1 can be characterized by an Expression (EQ) that can be used to distinguish those designs in Examples 1-16 that meet the performance (durability) requirements from those designs in Examples 17-20 that do not meet the performance requirements.
  • the Expression (EQ) can be used to identify an improved blade assembly design, better suited for a particular engine operating environment and taking into account the constraints imposed on blade assembly design with cooling holes used in such a system.
  • L represents the average passage length L of the all of the cooling holes in the plurality of cooling holes 69, 169 shown in FIGS. 5 and 7 .
  • W represents the average passage width W (i.e., the minimum width in the radial direction) of the passage 71, 171 associated with each of the cooling holes in the plurality of cooling holes 69, 169 shown in FIGS. 6 and 8 .
  • SRSR represents the stator rotor seal radius shown in FIGS. 3 and 4 .
  • Redline EGT represents the redline exhaust gas temperature for the gas turbine engine 10.
  • Benefits are realized when the manufactured component including the blade assembly 30 have a geometry where Expression (EQ) falls within the range 96,413.64 to 8,429,571.21 (i.e., 96,413.64 ⁇ EQ ⁇ 8,429,571.21).
  • Such benefits include a reduction in cooling flow output via the plurality of cooling holes 69, 169, more efficient cooling along the airfoil trailing-edge 67, 167, which reduces a propensity toward oxidation and increases the lifetime of the blade assembly 30. This provides for increased durability for the blade assembly 30, which decreases required maintenance and costs, while increasing overall engine reliability.
  • the benefits included herein provide for a blade assembly 30 that fits within existing engines.
  • the values for Expression (EQ) as provided herein take existing engines into consideration, permitting replacement of current blade assemblies with replacement blade assemblies (or new blade assemblies) having the parameters of the blade assembly 30 described herein.
  • Such consideration provides for replacing and improving current engine systems without requiring the creation of new engine parts capable of holding the blade assembly 30. This provides for improving current engine durability without increasing costs to prepare new engines or further adapt existing engines.
  • Table 3 illustrates minimum and maximum values for the number N of cooling holes, the average passage length L , the average passage width W , the stator rotor seal radius SRSR, and the redline exhaust gas temperature EGT along with a range of values for Expression (EQ) suited for a blade assembly that meets the durability requirements.
  • Engine Element Minimum: Maximum: Units: N Number of cooling holes 25 60 n/a L Average Passage Length 0.000406 0.015 Meters (m) W Average Passage Width 0.000175 0.000635 Meters (m) Redline EGT Redline Exhaust Gas Temperature 988 1120 Degrees Celsius (°C) SRSR Stator Rotor Seal Radius 0.224 0.237 Meters (m) EQ Expression 96,413.64 8,429,571.21 n/a
  • Additional benefits associated with the blade assembly 30 with the plurality of cooling holes 69, 169 and the stator rotor seal 57 described herein include a quick assessment of design parameters in terms of blade assembly size and cooling conduit geometry, engine operational conditions, and blade assembly and vane assembly numbers for engine design and particular blade assembly design. Narrowing these multiple factors to a region of possibilities saves time, money, and resources.
  • the blade assembly 30 with the plurality of cooling holes 69, 169 and the stator rotor seal 57 described herein enables the development and production of high-performance turbine engines and blades across multiple performance metrics within a given set of constraints.
  • designs outside the range of EQ1 may attempt to increase durability by making sacrifices in terms of weight, aerodynamic performance, and efficiency.
  • the standard practice for solving the problem of improving blade assembly durability has been to utilize stronger material.
  • such materials lead to increased costs, system weight, and overall space occupied by the blade.
  • Using a cost-benefit analysis the overall engine efficiency is reduced and related components must be redesigned to compensate for the use of stronger materials. In some cases, this result of such a cost-benefit analysis is impractical or impossible. Therefore, a solution for reducing stresses located at cooling holes within airfoils presently used in existing engines is needed, without requiring redesign of related components or without sacrificing overall engine efficiency.
  • increasing size of the airfoil or related components, utilizing stronger material, and/or providing additional cooling features can combat centrifugal and thermal stresses.
  • increased size, stronger materials, and additional cooling features can lead to increased costs, system weight, overall space occupied by the blade, and performance loss, as well as increased local stresses at the cooling holes due to increased weight and size relating to the centrifugal forces.
  • Increased cooling features results in a relatively less amount of material utilized, which can result in an increase in local stresses at the cooling holes. Therefore, a solution for reducing stresses at the cooling holes is needed without otherwise increasing stresses, weight, size, or decreasing engine efficiency.
  • Examples 1-16 of Tables 1 and 2 provide successful solutions without the need to increase thickness, weight, strength, or the number of cooling features.
  • the Examples 1-16 of Tables 1-2 illustrate that designs having an Expression (EQ) value from 96,413.64 to 8,429,571.21 (i.e., 96,413.64 ⁇ EQ ⁇ 8,429,571.21) achieve increased durability without penalties to size, weight, strength, or stress through the use of additional cooling features. In other words, rather than making areas of the airfoil thicker, or using heavier, stronger materials, or adding additional cooling features, effective stress reduction can be achieved by the Examples 1-16 of Tables 1 and 2.
  • the inventors created blade assemblies that increase (e.g., maximize) cooling at the trailing edge while limiting cooling flow output to ensure acceptable backflow margin. This reduction provides more efficient cooling that diminishes or eliminates the propensity for creep, fatigue, and oxidation and in turn increases durability of the blade assembly, which will also increase the life of the blade assembly.
  • a gas turbine engine comprising: an engine core configured to generate a redline exhaust gas temperature (EGT) in a range of 988 degrees Celsius (°C) to 1120°C, the engine core extending along an engine centerline and including: a compressor section; a combustor; and a turbine section, the turbine section including a blade assembly rotatable about the engine centerline, the blade assembly including: a platform having an upper surface and a lower surface, the platform having a stator rotor seal with an upper edge having a radius of curvature defined as a stator rotor seal radius (SRSR), wherein the stator rotor seal radius (SRSR) is from 0.224 to 0.237 meters; an airfoil coupled to the upper surface of the platform, the airfoil having an outer wall defining an exterior surface, the exterior surface defining a pressure side and a suction side, the outer wall extending between a leading-edge and a trailing-edge; a plurality of cooling conduits located within the airfoil; a
  • the shank includes a plurality of inlet passages fluidly coupled to the plurality of cooling conduits.
  • each of the inlet passages extends between the base and one or more of the cooling conduits.
  • the plurality of inlet passages includes a trailing-edge inlet passage and a middle inlet passage
  • the plurality of cooling conduits includes a trailing-edge cooling conduit and a second cooling conduit.
  • the trailing-edge cooling conduit is fluidly coupled directly to the trailing-edge inlet passage
  • the second cooling conduit is fluidly coupled directly to the middle inlet passage
  • a blade assembly for a gas turbine engine having an engine core configured to generate a redline exhaust gas temperature (EGT) in a range of 988 degrees Celsius (°C) to 1120°C, the blade assembly to be connected to the engine core and rotatable about an engine centerline of the engine core, the blade assembly comprising: a platform having an upper surface and a lower surface, the platform having a stator rotor seal with an upper edge having a radius of curvature defined as a stator rotor seal radius (SRSR), wherein the stator rotor seal radius (SRSR) is from 0.224 to 0.237 meters; an airfoil coupled to the upper surface of the platform, the airfoil having an outer wall defining an exterior surface, the exterior surface defining a pressure side and a suction side, the outer wall extending between a leading-edge and a trailing-edge; a plurality of cooling conduits located within the airfoil; a shank coupled to the lower surface, the shank having a base defining a base
  • the shank includes a plurality of inlet passages fluidly coupled to the plurality of cooling conduits.
  • each of the inlet passages extends between the base and one or more of the cooling conduits.
  • the plurality of inlet passages includes a trailing-edge inlet passage and a middle inlet passage
  • the plurality of cooling conduits includes a trailing-edge cooling conduit and a second cooling conduit.
  • the trailing-edge cooling conduit is fluidly coupled directly to the trailing-edge inlet passage
  • the second cooling conduit is fluidly coupled directly to the middle inlet passage

Landscapes

  • Engineering & Computer Science (AREA)
  • Mechanical Engineering (AREA)
  • General Engineering & Computer Science (AREA)
  • Turbine Rotor Nozzle Sealing (AREA)
EP24211889.1A 2023-11-10 2024-11-08 Turbinenmotor mit einer schaufelanordnung mit kühllöchern Pending EP4553285A1 (de)

Applications Claiming Priority (2)

Application Number Priority Date Filing Date Title
US202363597835P 2023-11-10 2023-11-10
US202463686030P 2024-08-22 2024-08-22

Publications (1)

Publication Number Publication Date
EP4553285A1 true EP4553285A1 (de) 2025-05-14

Family

ID=93460706

Family Applications (2)

Application Number Title Priority Date Filing Date
EP24211886.7A Pending EP4553284A1 (de) 2023-11-10 2024-11-08 Turbinenmotor mit einer schaufelanordnung mit kühllöchern
EP24211889.1A Pending EP4553285A1 (de) 2023-11-10 2024-11-08 Turbinenmotor mit einer schaufelanordnung mit kühllöchern

Family Applications Before (1)

Application Number Title Priority Date Filing Date
EP24211886.7A Pending EP4553284A1 (de) 2023-11-10 2024-11-08 Turbinenmotor mit einer schaufelanordnung mit kühllöchern

Country Status (1)

Country Link
EP (2) EP4553284A1 (de)

Citations (4)

* Cited by examiner, † Cited by third party
Publication number Priority date Publication date Assignee Title
EP1443178B1 (de) * 2003-01-31 2010-06-02 United Technologies Corporation Turbinenschaufel
EP1760267B1 (de) * 2005-08-31 2013-10-23 General Electric Company Turbinenrotorschaufel
US20140369852A1 (en) * 2013-06-14 2014-12-18 Solar Turbines Incorporated Cooled turbine blade with double compound angled holes and slots
EP3004558B1 (de) * 2013-06-04 2021-08-25 Raytheon Technologies Corporation Kühlung der abströmkantensaugseite einer gasturbinentriebwerksschaufel

Patent Citations (4)

* Cited by examiner, † Cited by third party
Publication number Priority date Publication date Assignee Title
EP1443178B1 (de) * 2003-01-31 2010-06-02 United Technologies Corporation Turbinenschaufel
EP1760267B1 (de) * 2005-08-31 2013-10-23 General Electric Company Turbinenrotorschaufel
EP3004558B1 (de) * 2013-06-04 2021-08-25 Raytheon Technologies Corporation Kühlung der abströmkantensaugseite einer gasturbinentriebwerksschaufel
US20140369852A1 (en) * 2013-06-14 2014-12-18 Solar Turbines Incorporated Cooled turbine blade with double compound angled holes and slots

Also Published As

Publication number Publication date
EP4553284A1 (de) 2025-05-14

Similar Documents

Publication Publication Date Title
EP3121382B1 (de) Gasturbinenmotoren mit kanalgekühlten haken zum halten eines teils relativ zu einer motorgehäusestruktur
US8177502B2 (en) Vane with reduced stress
NL2002312C2 (en) Cooled turbine nozzle segment.
US20190136700A1 (en) Ceramic matrix composite tip shroud assembly for gas turbines
EP3693541B1 (de) Gasturbinenrotorscheibe mit bogenförmigem schutzmerkmal
EP2189662A2 (de) Schaufel mit reduzierter Spannung
EP3650639A1 (de) Abschirmung für eine turbinentriebwerksschaufel
EP3708778A1 (de) Einsätze für geschlitzten integral beschaufelten rotor
EP4553285A1 (de) Turbinenmotor mit einer schaufelanordnung mit kühllöchern
US11939880B1 (en) Airfoil assembly with flow surface
EP4006304B1 (de) Turbinenlaufschaufel for ein gasturbinentriebwerk und gasturbinentriebwerk
EP4613977A1 (de) Turbinenmotor mit einer schaufelanordnung mit einem satz von kühlleitungen
EP4553279A1 (de) Turbinenmotor mit einer schaufelanordnung mit kühlleitungen
EP4553278A1 (de) Turbinenmotor mit einer schaufelanordnung mit kühlleitungen
EP4553274A1 (de) Turbinenmotor mit einer schaufelanordnung mit einem plattformplenum
EP4553282A1 (de) Turbinenmotor mit schaufel mit kühllöchern
US20210079795A1 (en) Tip shroud for a turbine engine
US20200224542A1 (en) Fir tree root for a bladed disc
EP4464869A1 (de) Turbinenmotor mit einer schaufelanordnung mit kühllöchern
EP4571050A1 (de) Turbinenmotor mit einer düse mit kühlmerkmalen
US20240280028A1 (en) Turbine engine with a blade assembly having a dovetail
US20220090504A1 (en) Rotor blade for a gas turbine engine having a metallic structural member and a composite fairing

Legal Events

Date Code Title Description
PUAI Public reference made under article 153(3) epc to a published international application that has entered the european phase

Free format text: ORIGINAL CODE: 0009012

STAA Information on the status of an ep patent application or granted ep patent

Free format text: STATUS: THE APPLICATION HAS BEEN PUBLISHED

AK Designated contracting states

Kind code of ref document: A1

Designated state(s): AL AT BE BG CH CY CZ DE DK EE ES FI FR GB GR HR HU IE IS IT LI LT LU LV MC ME MK MT NL NO PL PT RO RS SE SI SK SM TR

STAA Information on the status of an ep patent application or granted ep patent

Free format text: STATUS: REQUEST FOR EXAMINATION WAS MADE

17P Request for examination filed

Effective date: 20251112