EP4502702A2 - Optical element with a stack of layer packets, and method for producing the optical element - Google Patents
Optical element with a stack of layer packets, and method for producing the optical element Download PDFInfo
- Publication number
- EP4502702A2 EP4502702A2 EP24219649.1A EP24219649A EP4502702A2 EP 4502702 A2 EP4502702 A2 EP 4502702A2 EP 24219649 A EP24219649 A EP 24219649A EP 4502702 A2 EP4502702 A2 EP 4502702A2
- Authority
- EP
- European Patent Office
- Prior art keywords
- layer
- aoi
- interval
- viewing angle
- optical element
- Prior art date
- Legal status (The legal status is an assumption and is not a legal conclusion. Google has not performed a legal analysis and makes no representation as to the accuracy of the status listed.)
- Pending
Links
Images
Classifications
-
- G—PHYSICS
- G02—OPTICS
- G02B—OPTICAL ELEMENTS, SYSTEMS OR APPARATUS
- G02B1/00—Optical elements characterised by the material of which they are made; Optical coatings for optical elements
- G02B1/10—Optical coatings produced by application to, or surface treatment of, optical elements
- G02B1/11—Anti-reflection coatings
- G02B1/113—Anti-reflection coatings using inorganic layer materials only
- G02B1/115—Multilayers
-
- G—PHYSICS
- G02—OPTICS
- G02B—OPTICAL ELEMENTS, SYSTEMS OR APPARATUS
- G02B27/00—Optical systems or apparatus not provided for by any of the groups G02B1/00 - G02B26/00, G02B30/00
- G02B27/0012—Optical design, e.g. procedures, algorithms, optimisation routines
-
- G—PHYSICS
- G02—OPTICS
- G02B—OPTICAL ELEMENTS, SYSTEMS OR APPARATUS
- G02B5/00—Optical elements other than lenses
- G02B5/20—Filters
- G02B5/28—Interference filters
-
- G—PHYSICS
- G02—OPTICS
- G02C—SPECTACLES; SUNGLASSES OR GOGGLES INSOFAR AS THEY HAVE THE SAME FEATURES AS SPECTACLES; CONTACT LENSES
- G02C7/00—Optical parts
- G02C7/02—Lenses; Lens systems ; Methods of designing lenses
-
- G—PHYSICS
- G02—OPTICS
- G02C—SPECTACLES; SUNGLASSES OR GOGGLES INSOFAR AS THEY HAVE THE SAME FEATURES AS SPECTACLES; CONTACT LENSES
- G02C7/00—Optical parts
- G02C7/10—Filters, e.g. for facilitating adaptation of the eyes to the dark; Sunglasses
Definitions
- the invention relates to an optical element with a stack of layer packages and a method for producing the optical element.
- Well-known optical elements with interferometric anti-reflection coating such as those from WO 2016/110339 A1 known, usually have a light reflectance of approximately 1%, calculated according to the standard DIN EN ISO 13666:2013-10. The color of the remaining residual reflection shows a strong variation when the viewing angle is changed. The variation extends practically over the entire visual color gamut.
- the object of the invention is to provide an optical element with an interferometric reflection-reducing layer system which has only a small viewing angle-dependent variation of the color of the residual reflection.
- visible light generally refers to a wavelength range from 400 nm to 780 nm.
- visible radiation can preferably refer to a wavelength range of 400 nm or 460 nm to 700 nm, corresponding to the maximum sensitivity of the human eye. This can simultaneously increase the design flexibility for the design of the filter properties and edge steepness.
- the term spectral reflectance, reflectivity or reflectivity refers to the ratio of the spectral radiant power reflected by the respective material, surface or coating to the incident radiant power for a specific wavelength ( ⁇ ).
- the reflectivity refers to the reflectivity of the entire coating with its several high and low refractive index sub-layers and not to the reflectivity of an individual sub-layer.
- the invention is based on an optical element comprising a substrate and an interferometrically reflection-reducing layer system on at least one surface of the substrate, wherein the layer system comprises a stack of at least four successive layer packages, wherein each layer package comprises a first partial layer with a first optical thickness and a second partial layer with a second optical thickness different from the first optical thickness, wherein a refractive index of the first partial layer closer to the substrate is greater than a refractive index of the second partial layer of the stack further away from the substrate, wherein the layer system has a brightness, a chroma and a hue angle of a residual reflection color.
- the amount of a, in particular absolute or relative, change in the hue angle of the residual reflex color in an interval of a viewing angle with the limit values 0° and 30° relative to a surface normal to the layer system is smaller than the amount of a, in particular absolute or relative, change in the chroma in the interval of the viewing angle.
- the scotopic reflectance in the interval of the viewing angle with the limit values 0° and 30° is at most 1.5%.
- the chroma can also be referred to as color saturation.
- the hue angle can also be referred to as color angle.
- a color-stable layer system By varying the layer thicknesses of the sublayers, a color-stable layer system can be advantageously provided, the residual reflex color of which does not change or only changes slightly even with a large change in the viewing angle.
- a color-stable residual reflex color can advantageously be achieved by a suitable combination of chroma and hue angle over a large viewing angle range.
- the first sublayers of the layer packages in the stack that are closer to the substrate can be formed from the same first material.
- the second partial layers further away from the substrate can also be made of an identical second material that is different from the first material of the first partial layers.
- a functional layer made of a third material is arranged that has comparable refractive properties to the second partial layer.
- the functional layer can be assigned to the second partial layer if necessary.
- the materials of the first partial layers can vary in the stack.
- the materials from which the second partial layers are made vary in the stack.
- the layer system can advantageously have four or five layer packages. Preferably, five layer packages are provided. More than five layer packages can also be provided.
- the scotopic reflectance Rv ⁇ in the interval of the viewing angle AOI with the limit values 0° and 30° can be at most 1.2%.
- a functional layer can be arranged between the first partial layer and the second partial layer in the layer package furthest from the substrate.
- the functional layer can advantageously act, for example, to increase electrical conductivity, to equalize mechanical stress or as a diffusion barrier.
- the chroma at the upper limit of the viewing angle can have a value of at most 16.
- the maximum value of the chroma in the interval of the viewing angle can be at most 16. This enables the realization of all reflex colors with high color constancy for a residual reflection, not only at the edge of the hue angle.
- the hue angle in the interval of the viewing angle with the limit values 0° and 30° can change by a maximum of 15°, preferably by a maximum of 10°.
- the color impression of the residual reflection of the optical system remains completely or almost unchanged for an observer over a large range of the viewing angle.
- the amount of change in the hue angle in a second interval of a viewing angle from 0° to a limiting viewing angle with upper limit values of 30° to 45° relative to the surface normal to the layer system can be smaller than the amount of change in the chroma in the second interval of the viewing angle and the amount of the chroma at the limiting viewing angle can be at least equal to 2.
- the hue angle h in the second interval can change by a maximum of 20°, preferably by a maximum of 15°. This advantageously results in a color-stable residual reflex color even with a larger variation in the viewing angle.
- the photopic reflectance in the interval of the viewing angle with the limit values 0° and 30° can be at most 1.5%, preferably at most 1.2%.
- the first partial layers can be formed from a highly refractive material.
- the first partial layers can consist of at least one or more of the compounds Ta 2 O 5 , TiO 2 , ZrO 2 , Al 2 O 3 , Nd 2 O 5 , Pr 2 O 3 , PrTiOs, La 2 O 3 , Nb 2 O 5 , Y 2 O 3 , HfO 2 , InSn oxide, Si 3 N 4 , MgO, CeO 2 , ZnS and/or their modifications, in particular their other oxidation states.
- two or more compounds are contained in a first partial layer, they can be applied layer by layer or mixed in one layer, for example by simultaneous application.
- the higher refractive index sublayers can also contain SiO 2 or other lower refractive index materials, as long as the refractive index of the entire sublayer is greater than 1.6, preferably at least 1.7, particularly preferably at least 1.8, most preferably at least 1.9.
- the second partial layers can be formed from a low-refractive material.
- the lower refractive index sublayers can comprise at least one of the materials MgF 2 , SiO, SiO 2 , SiO 2 with additions of Al, silanes, siloxanes in pure form or with their fluorinated derivatives.
- the lower refractive index sublayers can, however, also contain a mixture of SiO 2 and Al 2 O 3 .
- the lower refractive index sublayers can preferably contain at least 80 percent by weight of SiO 2 , particularly preferably at least 90 percent by weight of SiO 2 .
- the refractive index of the low-refractive index sublayers is at most 1.55, preferably at most 1.48, particularly preferably at most 1.4.
- These refractive indices refer to normal conditions at a temperature of 25° C and a reference wavelength of the light intensity used of 550 nm.
- Typical examples of coating materials with different refractive indices are silicon dioxide (SiO 2 ) with a refractive index of 1.46, aluminum oxide (Al 2 O 3 ) with a refractive index of 1.7, zirconium dioxide (ZrO 2 ) with a refractive index of 2.05, praseodymium titanium oxide (PrTiOs) with a refractive index of 2.1, titanium oxide (TiO 2 ) and zinc sulfide (ZnS), each with a refractive index of 2.3. These values represent average values that can vary by up to 10% depending on the coating process and layer thickness.
- Common optical glasses have refractive indices between 1.5 and 2.0.
- Layer materials with refractive indices of less than 1.5 such as MgF 2 , SiO 2 , Al 2 O 3 , are therefore referred to as low-refractive materials in combination with optical glasses.
- Layer materials with refractive indices of greater than 2.0 such as ZrO 2 , PrTiOs, TiO 2 , ZnS, are referred to as high-refractive materials in combination with optical glasses.
- the difference in the refractive indices between the high-refractive and low-refractive materials of the first and second sublayers is preferably at least 0.2 to at least 0.5, depending on the coating process and layer thickness.
- PVD Physical Vapour Deposition
- CVD Chemical Vapour Deposition
- At least the first partial layers can be formed from a same first material and the second partial layers can be formed at least predominantly from a same second material.
- the second sublayers can be made of the same second material and only have a functional layer between the first sublayer and the second sublayer in the layer package furthest from the substrate.
- the functional layer can have a low refractive index and, if necessary, can be added to the second sublayer for calculation purposes.
- a design of an optical element according to the invention can be carried out using a favorable method.
- the optical element comprises a substrate and an interferometrically reflection-reducing layer system on at least one surface of the substrate, wherein the layer system comprises a stack of at least four successive layer packages, wherein each layer package comprises a first partial layer with a first optical thickness and a second partial layer with a second optical thickness different from the first optical thickness, wherein a refractive index of the first partial layer closer to the substrate is greater than a refractive index of the second partial layer of the stack further away from the substrate, wherein the layer system has a brightness, a chroma and a hue angle of a residual reflex color.
- the amount of a, in particular absolute or relative, change in the hue angle of the residual reflex color in an interval of a viewing angle with the limit values 0° and 30° relative to a surface normal to the layer system is preferably smaller than the amount of a, in particular absolute or relative, change in the chroma in the interval of the viewing angle.
- the method can carry out the following steps: defining a layer design, comprising at least a first material for high-refractive sublayers and a second material for low-refractive sublayers, number of desired layer packages with the sublayers, starting values of the thickness of the sublayers; defining target color values, comprising brightness, chroma and hue angle at least at limit values for an interval of a viewing angle with limit values of 0° and 30°; and carrying out an optimization method for varying the individual layer thicknesses until an optimization goal is reached.
- a value of 16 or less can be selected for the chroma at the upper limit of the viewing angle.
- a maximum value of 16 or less can be selected for the chroma in the viewing angle interval. This enables the realization of all reflex colors with high color constancy for a residual reflection, not only at the edge of the hue angle.
- the target color values at the limits of the interval can be chosen to be the same or similar.
- maximum deviations for the hue angles of different residual reflex colors can be specified.
- Examples include:
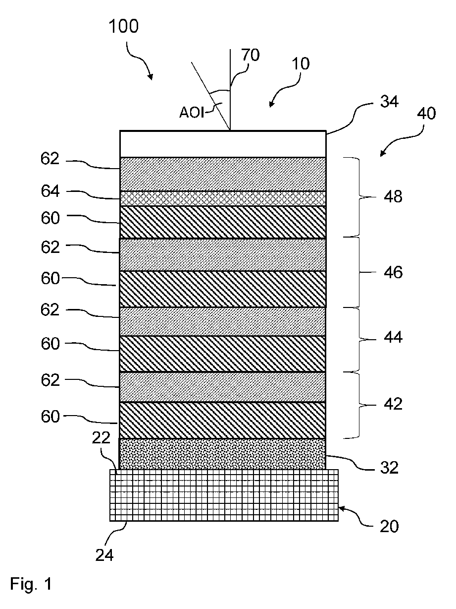
- the Figures 1 and 2 show an example of an optical element 100, for example a spectacle lens, according to an embodiment of the invention.
- the optical element 100 comprises Figure 1 a layer system 10 with a stack 40 of four layer packages 42, 44, 46, 48 on a surface 22 of a substrate 20.
- the optical element 100 comprises a layer system 10 with a stack 40 of five layer packages 42, 44, 46, 48, 50 on a surface 22 of a substrate 20.
- the layer system is viewed by an observer at a viewing angle AOI of 0° up to a critical angle, for example 30°, measured from the surface normal 70.
- the substrate 20 is, for example, a plastic, in particular a transparent plastic for a spectacle lens.
- the term spectacle lens refers in particular to a coated spectacle lens according to section 8.1.13 of the standard DIN EN ISO 13666:2013-10, i.e. a spectacle lens to which one or more surface coatings have been applied, in particular to change one or more of its properties.
- such lenses can be used particularly advantageously as glasses (with and without correction), sunglasses, ski goggles, workplace goggles, and glasses in conjunction with head-mounted displays.
- spectacle lens can also include spectacle lens semi-finished products, in particular a spectacle lens blank or spectacle lens semi-finished product according to section 8.4.2 of the standard DIN EN ISO 13666:2013-10, i.e. a lens blank or blank with only one optically finished surface.
- the opposite surface 24 of the substrate 20 can optionally have another, similar or identical layer system 10, no coating or only a protective coating.
- the layer system 10 usually has a single-layer or multi-layer intermediate layer 32, for example to improve the adhesion of the stack 40 and/or as scratch protection for the substrate 20.
- This intermediate layer 32 can consist, for example, of substoichiometric low-refractive metal oxides, chromium, silanes or siloxanes. The intermediate layer 32 is not relevant for further considerations.
- each of the layer packages 42, 44, 46, 48 of the stack 40 is arranged one after the other, wherein each of the layer packages 42, 44, 46, 48 consists of a sub-layer 60 closer to the substrate followed by a sub-layer 62 further away from the substrate.
- each of the sublayers 60 closer to the substrate is formed from an identical first material.
- the first material is a higher refractive index material with a first refractive index n1.
- each of the sublayers 62 remote from the substrate is formed from an identical second material.
- the second material is a low-refractive material with a second refractive index n2.
- the refractive index n1 is greater than the refractive index n2, preferably the difference between the refractive indices n1, n2 is at least 0.2, preferably up to at least 0.5.
- the order of the sublayers 60, 62 remains the same in the stack 40, so that in each layer package 42, 44, 46, 48 the respective sublayer 60 closer to the substrate is always the one with the higher refractive index and the respective sublayer 62 further away from the substrate is always the one with the lower refractive index of the sublayers 60, 62.
- the higher refractive index sublayers 60 can be layers made of high refractive index materials and the lower refractive index sublayers 62 can be layers made of low refractive index materials.
- the layer packages 42, 44, 46, 48 in the stack 40 differ only in their respective thickness and/or in the thicknesses of the individual sub-layers 60, 62 in the respective layer package 42, 44, 46, 48.
- the stack 40 is closed in a manner known per se with a cover layer 34, which serves, for example, to care for the layer system 10.
- the cover layer 34 is applied to the last optically relevant partial layer 62 of the uppermost layer package 48 of the stack 40 and can contain fluorine-containing molecules.
- the cover layer 34 usually gives the stack 40 improved care properties, with properties such as a water-repellent and oil-repellent function with a surface energy of typically less than 15 mN/m.
- the cover layer 34 is not relevant for further considerations.
- the uppermost layer package 48 furthest from the substrate optionally has a functional layer 64 between the sub-layer 60 closer to the substrate and the sub-layer 62 further away from the substrate, which can act, for example, to increase the electrical conductivity, to equalize mechanical stress or as a diffusion barrier.
- This functional layer 64 can be made of a low-refractive material, as well as alloyed with other metal oxides such as aluminum.
- the functional layer 64 of the low-refractive sub-layer 62 of the uppermost layer package 48 furthest from the substrate (or layer package 50 in Figure 2 ) or, where appropriate, may be disregarded, for example in the case of a relatively small layer thickness.
- the optical properties of the stack 40 of the layer system 10 can be simulated mathematically using known calculation methods and/or optimization methods.
- the layer system 10 is then produced with the determined layer thicknesses of the individual partial layers 60, 62 of the layer packages 42, 44, 46, 48.
- the optical properties of the layer system 10 are adjusted during the production of the partial layers 60, 62.
- the WO 2016/110339 A1 A known process can be used, which is briefly outlined below. Using the known process, various optical effects such as mirroring or reflection reduction can be achieved in a material system by only changing the layer thicknesses, but the material used remains the same. However, other processes are also possible.
- a parameter ⁇ is in turn a function of the layer thicknesses of the partial layers 60, 62, or of ratios of the optical thicknesses t1, t2 of the partial layers 60, 62 of each of the four layer packages 42, 44, 46, 48 according to Figure 1 or five shift packages 42, 44, 46, 48, 50 after Figure 2 in stack 40.
- a reflection-reducing effect by the stack 40 can be achieved for a predeterminable reflectivity R m of the stack 40 if the product of reflectivity R m and the parameter ⁇ is set to less than 1: R m ⁇ ⁇ ⁇ 1
- the reflectivity R m also called reflection factor, describes the ratio of reflected to incident intensity of a light beam as an energy quantity.
- the reflectivity R m is conveniently averaged over the range of light from 380 nm to 800 nm and related to 100%.
- Such a condition R m ⁇ 1 can be used as a boundary condition for an optimization process of the method for producing the layer system 10.
- the optical thicknesses t1, t2 of the first and second partial layers 60, 62 of the layer packages 42, 44, 46, 48 are determined by determining the parameter ⁇ by means of an optimization method, preferably by means of variational calculus.
- the first and second sublayers 60, 62 are produced with the parameters calculated in this way, in particular the optical thicknesses t1, t2 of the sublayers 60, 62 of the stack 40.
- L* is the CIELab lightness
- a*, b* are the CIELab coordinates
- C* is the CIELab chroma
- h ab is the CIELab hue angle.
- the L* axis describes the brightness (luminance) of the color with values from 0 to 100.
- Green and red are opposite each other on the a* axis, the b* axis runs between blue and yellow.
- the a* axis describes the green or red component of a color, with negative values representing green and positive values representing red.
- the b* axis describes the blue or yellow component of a color, with negative values representing blue and positive values representing yellow.
- the a* values range from approximately -170 to +100, the b* values from -100 to +150, whereby the maximum values are only reached at medium brightness of certain colors.
- the CIELab color solid has in the middle brightness range, but this varies in height and size depending on the color range.
- the CIELab hue angle h ab must be between 0° and 90° when both a* and b* are positive, between 90° and 180° when b* is positive and a* is negative, between 180° and 270° when both a* and b* are negative, and between 270° and 360° when b* is negative and a* is positive.
- CIE L*C*h color space (simplified CIELCh color space)
- CIELab color space Cartesian coordinates of the CIELab color space are transformed into polar coordinates.
- C* chroma, relative color saturation, distance from the L axis in the center
- h hue angle, angle of the hue in the CIELab color circle
- the CIELab brightness L* remains unchanged.
- the hue angle h represents the color of the residual reflection of the anti-reflective layer system 10.
- the chroma C* is also called color depth.
- a layer system 10 As shown in the following figures for different residual reflex colors blue, green, yellow, red, a layer system 10 according to the invention with four layer packages 42, 44, 46, 48 or five layer packages 42, 44, 46, 48, 50, which remains largely color-stable even when the viewing angle AOI varies in the range between 0° and 30°. In other words, the color impression of the residual reflection practically does not change when a viewer looks at the optical element 100 at viewing angles AOI in this angle interval.
- the Figures 3 to 8 show values of a layer system 10 according to the invention with the residual reflex color blue.
- Figure 3 shows a reflectivity R in percent of the layer system 10 according to the invention in the wavelength range between 280 nm and 1400 nm
- Figure 4 shows a detail of the representation in Figure 3 in the wavelength range 380 nm to 780 nm.
- the reflectivity R of the layer system 10 is in plan view of the layer system 10, ie at small angles AOI around 0° measured from the surface normal 70 ( Figure 1 , 2 ), certainly.
- Figure 5 shows a gradient of the chroma C* depending on the viewing angle AOI between 0° and 45°
- Figure 6 shows a brightness curve L* depending on the viewing angle AOI between 0° and 45°
- Figure 7 shows a progression of the hue angle h between 0° and 45° depending on the viewing angle AOI
- Figure 8 shows a progression of the photopic reflectance Rv and the scotopic reflectance Rv' depending on the viewing angle AOI between 0° and 45°.
- the reflectivity R drops from about 55% at 280 nm with a small maximum around 380 nm and slowly increases again at about 730 nm ( Figure 3 ). As can be seen, the reflectivity R between 480 nm and 780 nm is very low and is less than 1% ( Figure 4 Between 530 nm and 730 nm, the reflectivity R is sometimes even below 0.5%.
- the Figures 9 to 14 show values of a layer system 10 according to the invention with the residual reflex color green.
- Figure 9 shows a reflectivity R of the layer system 10 according to the invention in percent in the wavelength range between 280 nm and 1400 nm
- Figure 10 shows a detail of the representation in Figure 9 in the wavelength range 380 nm to 780 nm.
- the reflectivity R of the layer system 10 is in plan view of the layer system 10, ie at small angles AOI around 0° measured from the surface normal 70 ( Figure 1 , 2 ), certainly.
- Figure 11 shows a gradient of the chroma C* depending on the viewing angle AOI between 0° and 45°
- Figure 12 shows a brightness curve L* depending on the viewing angle AOI between 0° and 45°
- Figure 13 shows depending on the viewing angle AOI between 0° and 45° a course of the hue angle h.
- Figure 14 shows a progression of the photopic reflectance Rv and the scotopic reflectance Rv' depending on the viewing angle AOI between 0° and 45°.
- the reflectivity R drops from about 55% at 280 nm with a small maximum around 380 nm and slowly increases again at about 730 nm ( Figure 9 ). As can be seen, the reflectivity R between 430 nm and 730 nm is very low and is less than 1% ( Figure 11 At around 530 nm and between about 600 nm and about 700 nm, the reflectivity R is sometimes even below 0.5%.
- the chroma value C* is approximately 5.
- the highest chroma value C* is close to the upper limit of the AOI interval.
- the Figures 15 to 20 show values of a layer system 10 according to the invention with the residual reflex color yellow.
- Figure 15 shows a reflectivity R in percent of the layer system 10 according to the invention in the wavelength range between 280 nm and 1400 nm
- Figure 16 shows a detail of the representation in Figure 9 in the wavelength range 380 nm to 780 nm.
- the reflectivity R of the layer system 10 is in plan view of the layer system 10, ie at small angles AOI around 0° measured from the surface normal 70 ( Figure 1 , 2 ), certainly.
- Figure 17 shows a gradient of the chroma C* depending on the viewing angle AOI between 0° and 45°
- Figure 18 shows a brightness curve L* depending on the viewing angle AOI between 0° and 45°
- Figure 19 shows a progression of the hue angle h between 0° and 45° depending on the viewing angle AOI
- Figure 20 shows a progression of the photopic reflectance Rv and the scotopic reflectance Rv' depending on the viewing angle AOI between 0° and 45°.
- the reflectivity R drops from about 20% at 280 nm with a slightly higher maximum of just over 30% around 330 nm, then remains low and slowly increases again at about 680 nm ( Figure 15 ). As can be seen, the reflectivity R between 430 nm and 580 nm is very low and is less than 1% ( Figure 16 ).
- the chroma C* increases slowly from about 6.5 at 0° to about 9 at 30°, has a maximum of 10 at about 35° and then decreases again ( Figure 17 ).
- the chroma value C* is 8.
- the highest chroma value C* is just below the upper limit of the AOI interval.
- the Figures 21 to 26 show values of a layer system 10 according to the invention with the residual reflex color red.
- Figure 21 shows a reflectivity R in percent of the layer system 10 according to the invention in the wavelength range between 280 nm and 1400 nm
- Figure 22 shows a detail of the representation in Figure 9 in the wavelength range 380 nm to 780 nm.
- the reflectivity R of the layer system 10 is in plan view of the layer system 10, ie at small angles AOI around 0° measured from the surface normal 70 ( Figure 1 , 2 ), certainly.
- Figure 23 shows a gradient of the chroma C* depending on the viewing angle AOI between 0° and 45°
- Figure 24 shows a brightness curve L* depending on the viewing angle AOI between 0° and 45°
- Figure 25 shows a progression of the hue angle h between 0° and 45° depending on the viewing angle AOI
- Figure 26 shows a progression of the image depending on the viewing angle AOI between 0° and 45°.
- the reflectivity R shows a maximum of about 20% at 330 nm and then drops to low values and slowly increases again at about 530 nm ( Figure 21 ). As can be seen, the reflectivity R between 430 nm and 600 nm is very low and is below 0.5% ( Figure 22 ).
- the chroma value C* is at most 14, e.g. between 13 and 14.
- the highest chroma value C* is close to the upper limit of the AOI interval.
- Table 1 shows examples of the layer thicknesses of a layer system with four layer packages 42, 44, 46, 48: Table 1 Layer thicknesses of partial layers 60, 62 for different residual reflex colors. Blue Thickness [nm] Green Thickness [nm] Yellow Thickness [nm] Red Thickness [nm] Air 34 top layer 48 62 SiO 2 81.7 70.7 62 71 64 functional layer 12 16.6 12 12 60 Ta 2 O 5 119.2 103 136 72 46 62 SiO 2 17.6 19.1 9 13.48 60 Ta 2 O 5 27.4 24.6 72 3.5 44 62 SiO 2 49.7 75.9 6.7 4 60 Ta 2 O 5 20.1 12 62 29.4 42 62 SiO 2 54.9 64.3 28.8 41 60 Ta 2 O 5 7.5 5 20 5 32 intermediate layer 20 substrate
- the color of the residual reflection can be achieved simply by changing the layer thicknesses of the sublayers 60, 62.
- Ta 2 O 5 is used for all high-refractive sublayers 60 and SiO 2 for the low-refractive sublayers 62.
- a preferably low-refractive functional layer 64 arranged between the first and second partial layers 60, 62. This serves, for example, to increase the electrical conductivity and/or to equalize mechanical stress and/or as a diffusion barrier.
- the color of the residual reflection is determined by the relatively low value of the chroma C* of at most 16, particularly preferably of at most 14, at the upper limit of the viewing angle AOI.
- the hue angle h is the angle of the diagram from 0° to 360° and the chroma C* is given as a radius with values from 0 to 14.
- BL denotes the course of the residual reflex colour blue
- GR the course of the residual reflex colour green
- GE the course of the residual reflex colour yellow
- RO the course of the residual reflex colour red
- PR the course of the residual reflex colour of a layer system according to the state of the art.
- the small arrows next to the measuring points indicate the direction of the change of the viewing angle AOI from 0° to 30° or 0° to 45 ° in Figure 28
- the measured values of the different residual reflex colors of the layer system 10 according to the invention practically run on straight lines through the center of the representation.
- the straight lines indicate the different residual reflex colors in this representation.
- the color of the residual reflection changes from green to blue to red.
- the change in hue angle h between 0° ⁇ AOI ⁇ 45° is typically 161.7°.
- Figure 29 shows a flow chart of a favorable method for designing an optical element 100 according to the invention.
- a layer design is defined in step S100.
- the layer design comprises at least a first material for high-refractive sublayers 60 and a second material for low-refractive sublayers 62, the number of desired layer packages 42, 44, 46, 48, or 42, 44, 46, 48, 50 with the sublayers 60, 62, the starting values of the thickness of the sublayers 60, 62 and the like.
- target color values are defined.
- the target color values include brightness L*, chroma C* and hue angle h at least at limit values for an interval of a viewing angle AOI with limit values of 0° and 30°.
- a reflection curve can optionally be specified as an optimization specification, but it is preferred to specify the target color values at the limit values of the viewing angle 0° and 30°.
- step S104 an optimization process is carried out to vary the individual layer thicknesses until an optimization goal is reached.
- the optimization process then varies the individual layer thicknesses until the optimization goal (color stability) is reached.
- the target colour values at the limit values of the interval are chosen to be the same or as similar as possible, whereby preferably only the mentioned changes ⁇ h of the hue angle h are permitted.
- an adapted simplex algorithm can be used as the calculation method, but other known simulation methods can also be suitable.
- Simulation software for such optimization methods is commercially available from various manufacturers, for example the commercial simulation software "Essential MacLeod” or other well-known simulation software for the production of optical layers.
Landscapes
- Physics & Mathematics (AREA)
- General Physics & Mathematics (AREA)
- Optics & Photonics (AREA)
- Health & Medical Sciences (AREA)
- Ophthalmology & Optometry (AREA)
- General Health & Medical Sciences (AREA)
- Chemical & Material Sciences (AREA)
- Inorganic Chemistry (AREA)
- Optical Filters (AREA)
- Optical Elements Other Than Lenses (AREA)
- Laminated Bodies (AREA)
Abstract
Die Erfindung betrifft ein optisches Element (100), umfassend ein Substrat (20) und ein interferometrisch reflexminderndes Schichtsystem (10) auf wenigstens einer Oberfläche (22) des Substrats (20), wobei das Schichtsystem (10) einen Stapel (40) von mindestens vier aufeinander folgenden Schichtpaketen (42, 44, 46, 48) umfasst, wobei jedes Schichtpaket (42, 44, 46, 48) eine erste Teilschicht (60) mit einer ersten optischen Dicke (t1) und eine zweite Teilschicht (62) mit einer zweiten, von der ersten optischen Dicke (t1) verschiedenen optischen Dicke (t2) umfasst, wobei ein Brechungsindex (n1) der jeweils substratnäheren ersten Teilschicht (60) größer ist als ein Brechungsindex (n2) der jeweils substratferneren zweiten Teilschicht (62) des Stapels (40), wobei das Schichtsystem (10) eine Helligkeit (L*), eine Buntheit (C*) und einen Bunttonwinkel (h) einer Restreflexfarbe aufweist, wobei der Bunttonwinkel (h) in einem Intervall eines Betrachtungswinkels (AOI) mit den Grenzwerten 0° und 30° bezogen auf eine Oberflächennormale (70) auf das Schichtsystem (10) sich um höchstens 15° ändert. Die Erfindung betrifft außerdem ein Verfahren zur Auslegung eines optischen Elements. The invention relates to an optical element (100) comprising a substrate (20) and an interferometrically reflection-reducing layer system (10) on at least one surface (22) of the substrate (20), wherein the layer system (10) comprises a stack (40) of at least four successive layer packages (42, 44, 46, 48), wherein each layer package (42, 44, 46, 48) comprises a first partial layer (60) with a first optical thickness (t1) and a second partial layer (62) with a second optical thickness (t2) different from the first optical thickness (t1), wherein a refractive index (n1) of the respective first partial layer (60) closer to the substrate is greater than a refractive index (n2) of the respective second partial layer (62) of the stack (40) further away from the substrate, wherein the layer system (10) has a brightness (L*), a chroma (C*) and a hue angle (h) a residual reflex color, wherein the hue angle (h) changes by a maximum of 15° in an interval of a viewing angle (AOI) with the limit values 0° and 30° relative to a surface normal (70) on the layer system (10). The invention also relates to a method for designing an optical element.
Description
Die Erfindung betrifft ein optisches Element mit einem Stapel von Schichtpaketen und ein Verfahren zur Herstellung des optischen Elements.The invention relates to an optical element with a stack of layer packages and a method for producing the optical element.
Bekannte optische Elemente mit interferometrischer Entspiegelung, wie sie etwa aus der
Die Aufgabe der Erfindung ist es, ein optisches Element mit einem interferometrisch reflexmindernden Schichtsystem anzugeben, das nur eine geringe betrachtungswinkelabhängige Variation der Farbe des Restreflexes aufweist.The object of the invention is to provide an optical element with an interferometric reflection-reducing layer system which has only a small viewing angle-dependent variation of the color of the residual reflection.
Die Aufgaben werden durch die Merkmale der unabhängigen Ansprüche gelöst. Günstige Ausgestaltungen und Vorteile der Erfindung ergeben sich aus den weiteren Ansprüchen, der Beschreibung und der Zeichnung.The objects are achieved by the features of the independent claims. Favorable embodiments and advantages of the invention emerge from the further claims, the description and the drawing.
Falls nicht anderweitig angegeben, sollen die in dieser Offenbarung verwendeten Begriffe im Sinne der Norm DIN EN ISO 13666:2013-10 (EN ISO 13666:2012 (D/E)) und der DIN EN ISO 11664-4:2012-06 (EN ISO 11664-4:2011) des Deutschen Instituts für Normung e.V. verstanden werden.Unless otherwise specified, the terms used in this disclosure should be understood in the sense of the standard DIN EN ISO 13666:2013-10 (EN ISO 13666:2012 (D/E)) and DIN EN ISO 11664-4:2012-06 (EN ISO 11664-4:2011) of the German Institute for Standardization eV.
Der Begriff sichtbares Licht, sichtbare Strahlung bzw. ein sichtbarer Wellenlängenbereich betrifft gemäß Abschnitt 4.2 der Norm DIN EN ISO 13666:2013-10 optische Strahlung, die unmittelbar eine Lichtempfindung beim Menschen hervorzurufen vermag. Sichtbare Strahlung bezieht sich allgemein auf einen Wellenlängenbereich von 400 nm bis 780 nm.According to section 4.2 of the standard DIN EN ISO 13666:2013-10, the term visible light, visible radiation or a visible wavelength range refers to optical radiation that can directly cause a light sensation in humans. Visible radiation generally refers to a wavelength range from 400 nm to 780 nm.
Im Rahmen dieser Offenbarung kann sich sichtbare Strahlung bevorzugt auf einen Wellenlängenbereich von 400 nm bzw. 460 nm bis 700 nm beziehen, entsprechend des Sensitivitätsmaximums des menschlichen Auges. Damit kann gleichzeitig die Designflexibilität für die Auslegung der Filtereigenschaften und Flankensteilheit erhöht werden.In the context of this disclosure, visible radiation can preferably refer to a wavelength range of 400 nm or 460 nm to 700 nm, corresponding to the maximum sensitivity of the human eye. This can simultaneously increase the design flexibility for the design of the filter properties and edge steepness.
Der Begriff spektraler Reflexionsgrad, Reflexionsgrad oder Reflektivität bezeichnet entsprechend Abschnitt 15.1 der Norm DIN EN ISO 13666:2013-10 das Verhältnis der spektralen Strahlungsleistung, die von dem jeweiligen Material bzw. der Oberfläche oder Beschichtung reflektiert wird, zur auftreffenden Strahlungsleistung für eine bestimmte Wellenlänge (λ). Im vorliegenden Fall bezieht sich die Reflektivität auf die Reflektivität der gesamten Beschichtung mit ihren mehreren hoch- und niedrigbrechenden Teilschichten und nicht auf die Reflektivität einer einzelnen Teilschicht.According to section 15.1 of the standard DIN EN ISO 13666:2013-10, the term spectral reflectance, reflectivity or reflectivity refers to the ratio of the spectral radiant power reflected by the respective material, surface or coating to the incident radiant power for a specific wavelength (λ). In this case, the reflectivity refers to the reflectivity of the entire coating with its several high and low refractive index sub-layers and not to the reflectivity of an individual sub-layer.
Die Erfindung geht aus von einem optischen Element, umfassend ein Substrat und ein interferometrisch reflexminderndes Schichtsystem auf wenigstens einer Oberfläche des Substrats, wobei das Schichtsystem einen Stapel von mindestens vier aufeinander folgenden Schichtpaketen umfasst, wobei jedes Schichtpaket eine erste Teilschicht mit einer ersten optischen Dicke und eine zweite Teilschicht mit einer zweiten, von der ersten optischen Dicke verschiedenen optischen Dicke umfasst, wobei ein Brechungsindex der jeweils substratnäheren ersten Teilschicht größer ist als ein Brechungsindex der jeweils substratferneren zweiten Teilschicht des Stapels, wobei das Schichtsystem eine Helligkeit, eine Buntheit und einen Bunttonwinkel einer Restreflexfarbe aufweist.The invention is based on an optical element comprising a substrate and an interferometrically reflection-reducing layer system on at least one surface of the substrate, wherein the layer system comprises a stack of at least four successive layer packages, wherein each layer package comprises a first partial layer with a first optical thickness and a second partial layer with a second optical thickness different from the first optical thickness, wherein a refractive index of the first partial layer closer to the substrate is greater than a refractive index of the second partial layer of the stack further away from the substrate, wherein the layer system has a brightness, a chroma and a hue angle of a residual reflection color.
Nach einer günstigen Ausgestaltung wird vorgeschlagen, dass der Betrag einer, insbesondere absoluten oder relativen, Änderung des Bunttonwinkels der Restreflexfarbe in einem Intervall eines Betrachtungswinkels mit den Grenzwerten 0° und 30° bezogen auf eine Oberflächennormale auf das Schichtsystem kleiner als der Betrag einer, insbesondere absoluten oder relativen Änderung der Buntheit im Intervall des Betrachtungswinkels ist.According to a favorable embodiment, it is proposed that the amount of a, in particular absolute or relative, change in the hue angle of the residual reflex color in an interval of a viewing angle with the
Nach einer günstigen Ausgestaltung ist der skotopische Reflexionsgrad im Intervall des Betrachtungswinkels mit den Grenzwerten 0° und 30° ist höchstens 1,5%.According to a favorable design, the scotopic reflectance in the interval of the viewing angle with the
Die Buntheit kann auch als Farbsättigung bezeichnet werden. Der Bunttonwinkel kann auch als Farbwinkel bezeichnet werden.The chroma can also be referred to as color saturation. The hue angle can also be referred to as color angle.
Vorteilhaft kann durch Variation der Schichtdicken der Teilschichten ein farbstabiles Schichtsystem bereitgestellt werden, dessen Restreflexfarbe sich auch bei größerer Änderung des Betrachtungswinkels nicht oder nur geringfügig ändert. Günstigerweise kann durch eine geeignete Kombination von Buntheit und Bunttonwinkel über einen großen Betrachtungswinkelbereich eine farbstabile Restreflexfarbe erreicht werden.By varying the layer thicknesses of the sublayers, a color-stable layer system can be advantageously provided, the residual reflex color of which does not change or only changes slightly even with a large change in the viewing angle. A color-stable residual reflex color can advantageously be achieved by a suitable combination of chroma and hue angle over a large viewing angle range.
Die ersten, substratnäheren Teilschichten der Schichtpakete im Stapel können aus demselben ersten Material gebildet sein.The first sublayers of the layer packages in the stack that are closer to the substrate can be formed from the same first material.
Die zweiten, substratferneren Teilschichten können ebenso aus einem gleichen, vom ersten Material der ersten Teilschichten verschiedenen zweiten Material gebildet sind. Dabei kann vorgesehen sein, dass im substratfernsten Schichtpaket zwischen erster und zweiter Teilschicht eine Funktionsschicht aus einem dritten Material angeordnet ist, die vergleichbare Brechungseigenschaften wie die zweite Teilschicht aufweist. Für Berechnungszwecke kann die Funktionsschicht gegebenenfalls der zweiten Teilschicht zugeordnet werden. Alternativ können die Materialien der ersten Teilschichten im Stapel variieren. Ebenso kann alternativ vorgesehen sein, dass die Materialien, aus denen die zweiten Teilschichten gebildet sind, im Stapel variieren.The second partial layers further away from the substrate can also be made of an identical second material that is different from the first material of the first partial layers. In this case, it can be provided that in the layer package furthest from the substrate, between the first and second partial layers, a functional layer made of a third material is arranged that has comparable refractive properties to the second partial layer. For calculation purposes, the functional layer can be assigned to the second partial layer if necessary. Alternatively, the materials of the first partial layers can vary in the stack. Likewise, it can be provided that the materials from which the second partial layers are made vary in the stack.
Vorteilhaft kann das Schichtsystem vier oder fünf Schichtpakete aufweisen. Vorzugsweise sind fünf Schichtpakete vorgesehen. Es können auch mehr als fünf Schichtpakete vorgesehen sein.The layer system can advantageously have four or five layer packages. Preferably, five layer packages are provided. More than five layer packages can also be provided.
Nach einer günstigen Ausgestaltung des optischen Elements kann der skotopische Reflexionsgrad Rv` im Intervall des Betrachtungswinkels AOI mit den Grenzwerten 0° und 30° höchstens 1,2% sein.According to a favorable design of the optical element, the scotopic reflectance Rv` in the interval of the viewing angle AOI with the
Nach einer günstigen Ausgestaltung des optischen Elements kann, insbesondere für eine Restreflexfarbe Blau, der skotopische Reflexionsgrad Rv' bei einem Betrachtungswinkel AOI von 0° etwa 0,7% sein und für Betrachtungswinkel AOI zwischen 0° und 30° zwischen 0,6% und 0,7% sein und für Betrachtungswinkel AOI von 30° bis 45° auf einen Wert von 1% steigen, und/oder für einen Betrachtungswinkel AOI von 0° der Bunttonwinkel etwa h=272° sein.According to a favorable design of the optical element, in particular for a residual reflection color blue, the scotopic reflection coefficient Rv' at a viewing angle AOI of 0° can be approximately 0.7% and for viewing angles AOI between 0° and 30° between 0.6% and 0.7% and increase to a value of 1% for viewing angles AOI from 30° to 45°, and/or for a viewing angle AOI of 0° the hue angle can be approximately h=272°.
Nach einer günstigen Ausgestaltung des optischen Elements kann, insbesondere für eine Restreflexfarbe Grün, der skotopische Reflexionsgrad Rv' bei einem Betrachtungswinkel AOI von 0° etwa 0,6% sein und für Betrachtungswinkel AOI zwischen 0° und 30° zwischen 0,6% und 0,7% sein und für Betrachtungswinkel AOI von 30° bis 45° auf einen Wert von 1,5% steigen, und/oder für einen Betrachtungswinkel AOI von 0° der Bunttonwinkel etwa h=147° sein.According to a favorable design of the optical element, in particular for a residual reflection color green, the scotopic reflectance Rv' at a viewing angle AOI of 0° can be about 0.6% and for viewing angles AOI between 0° and 30° between 0.6% and 0.7% and for viewing angles AOI from 30° to 45° increase to a value of 1.5%, and/or for a viewing angle AOI of 0° the hue angle can be about h=147°.
Nach einer günstigen Ausgestaltung des optischen Elements kann, insbesondere für eine Restreflexfarbe Gelb, der skotopische Reflexionsgrad Rv' bei einem Betrachtungswinkel AOI von 0° etwa 0,6% sein und für Betrachtungswinkel AOI zwischen 0° und 20° zwischen 0,6% und 0,7% sein und für Betrachtungswinkel AOI von 30° bis 45° auf einen Wert von 2% steigen, und/oder für einen Betrachtungswinkel AOI von 0° der Bunttonwinkel etwa h=84° sein.According to a favorable design of the optical element, in particular for a residual reflection color yellow, the scotopic reflection coefficient Rv' at a viewing angle AOI of 0° can be approximately 0.6% and for viewing angles AOI between 0° and 20° between 0.6% and 0.7% and for viewing angles AOI from 30° to 45° increase to a value of 2%, and/or for a viewing angle AOI of 0° the hue angle can be approximately h=84°.
Nach einer günstigen Ausgestaltung des optischen Elements kann, insbesondere für eine Restreflexfarbe Rot, der skotopische Reflexionsgrad Rv' bei einem Betrachtungswinkel AOI von 0° etwa 0,35% sein und für Betrachtungswinkel AOI zwischen 0° und 20° nahezu konstant bleiben und für Betrachtungswinkel AOI von 30° bis 45° auf einen Wert von 1 % steigen, und/oder für einen Betrachtungswinkel AOI von 0° der Bunttonwinkel etwa h=10° sein.According to a favorable design of the optical element, the scotopic reflection factor can be Rv' should be approximately 0.35% at a viewing angle AOI of 0° and remain almost constant for viewing angles AOI between 0° and 20° and increase to a value of 1% for viewing angles AOI from 30° to 45°, and/or for a viewing angle AOI of 0° the hue angle should be approximately h=10°.
Nach einer günstigen Ausgestaltung des optischen Elements kann im substratfernsten Schichtpaket eine Funktionsschicht zwischen der ersten Teilschicht und der zweiten Teilschicht angeordnet sein. Vorteilhaft kann die Funktionsschicht beispielsweise zur Erhöhung der elektrischen Leitfähigkeit, zur mechanischen Spannungsegalisierung oder als Diffusionssperre wirken.According to a favorable design of the optical element, a functional layer can be arranged between the first partial layer and the second partial layer in the layer package furthest from the substrate. The functional layer can advantageously act, for example, to increase electrical conductivity, to equalize mechanical stress or as a diffusion barrier.
Nach einer günstigen Ausgestaltung des optischen Elements kann die Buntheit am oberen Grenzwert des Betrachtungswinkels einen Wert von höchstens 16 aufweisen. Alternativ oder zusätzlich kann der maximale Wert der Buntheit im Intervall des Betrachtungswinkels bei höchstens 16 liegen. Dies ermöglicht die Verwirklichung aller Reflexfarben mit hoher Farbkonstanz für einen Restreflex, nicht nur am Rand des Farbtonwinkels.According to a favorable design of the optical element, the chroma at the upper limit of the viewing angle can have a value of at most 16. Alternatively or additionally, the maximum value of the chroma in the interval of the viewing angle can be at most 16. This enables the realization of all reflex colors with high color constancy for a residual reflection, not only at the edge of the hue angle.
Nach einer günstigen Ausgestaltung des optischen Elements kann der Bunttonwinkel im Intervall des Betrachtungswinkels mit den Grenzwerten 0° und 30° sich um höchstens 15° ändern, bevorzugt um höchstens 10° ändern. Der Farbeindruck des Restreflexes des optischen Systems bleibt für einen Beobachter über einen großen Bereich des Betrachtungswinkels ganz oder nahezu unverändert.With a favorable design of the optical element, the hue angle in the interval of the viewing angle with the
Nach einer günstigen Ausgestaltung des optischen Elements kann der Betrag der Änderung des Bunttonwinkels in einem zweiten Intervall eines Betrachtungswinkels von 0° bis zu einem Grenzbetrachtungswinkel mit oberen Grenzwerten von 30° bis 45° bezogen auf die Oberflächennormale auf das Schichtsystem kleiner als der Betrag einer Änderung der Buntheit im zweiten Intervall des Betrachtungswinkels sein und der Betrag der Buntheit beim Grenzbetrachtungswinkel mindestens gleich 2 sein. Insbesondere kann der Bunttonwinkel h im zweiten Intervall sich höchstens um 20° ändern, bevorzugt höchstens um 15° ändern. Vorteilhaft ergibt sich eine farbstabile Restreflexfarbe auch bei größerer Variation des Betrachtungswinkels.According to a favorable design of the optical element, the amount of change in the hue angle in a second interval of a viewing angle from 0° to a limiting viewing angle with upper limit values of 30° to 45° relative to the surface normal to the layer system can be smaller than the amount of change in the chroma in the second interval of the viewing angle and the amount of the chroma at the limiting viewing angle can be at least equal to 2. In particular, the hue angle h in the second interval can change by a maximum of 20°, preferably by a maximum of 15°. This advantageously results in a color-stable residual reflex color even with a larger variation in the viewing angle.
Nach einer günstigen Ausgestaltung des optischen Elements kann der photopische Reflexionsgrad im Intervall des Betrachtungswinkels mit den Grenzwerten 0° und 30° höchstens 1,5% sein, bevorzugt höchstens 1,2% sein.According to a favorable design of the optical element, the photopic reflectance in the interval of the viewing angle with the
Nach einer günstigen Ausgestaltung des optischen Elements können die ersten Teilschichten aus einem hochbrechenden Material gebildet sein.According to a favorable design of the optical element, the first partial layers can be formed from a highly refractive material.
Günstigerweise können die ersten Teilschichten wenigstens aus einer oder mehreren der Verbindungen Ta2O5, TiO2, ZrO2, Al2O3, Nd2O5, Pr2O3, PrTiOs, La2O3, Nb2O5, Y2O3, HfO2, InSn-Oxid, Si3N4, MgO, CeO2, ZnS und/oder deren Modifikationen, insbesondere deren andere Oxidationsstufen, aufweisen.Advantageously, the first partial layers can consist of at least one or more of the compounds Ta 2 O 5 , TiO 2 , ZrO 2 , Al 2 O 3 , Nd 2 O 5 , Pr 2 O 3 , PrTiOs, La 2 O 3 , Nb 2 O 5 , Y 2 O 3 , HfO 2 , InSn oxide, Si 3 N 4 , MgO, CeO 2 , ZnS and/or their modifications, in particular their other oxidation states.
Sind zwei oder mehr Verbindungen in einer ersten Teilschicht enthalten, so können diese beispielsweise lagenweise aufgebracht sein oder auch gemischt in einer Lage, beispielsweise durch gleichzeitiges Aufbringen, vorgesehen sein.If two or more compounds are contained in a first partial layer, they can be applied layer by layer or mixed in one layer, for example by simultaneous application.
Diese Materialien sind bekannt als Werkstoffe mit hohem klassischem Brechungsindex für den Einsatz bei optischen Elementen, wie beispielsweise zur Beschichtung von Brillengläsern. Die höherbrechenden Teilschichten können jedoch auch SiO2 oder andere niedrigerbrechende Materialien enthalten, solange der Brechungsindex der gesamten Teilschicht größer als 1,6 ist, bevorzugt mindestens 1,7, besonders bevorzugt mindestens 1,8, ganz besonders bevorzugt mindestens 1,9.These materials are known as materials with a high classical refractive index for use in optical elements, such as for coating spectacle lenses. However, the higher refractive index sublayers can also contain SiO 2 or other lower refractive index materials, as long as the refractive index of the entire sublayer is greater than 1.6, preferably at least 1.7, particularly preferably at least 1.8, most preferably at least 1.9.
Nach einer günstigen Ausgestaltung des optischen Elements können die zweiten Teilschichten aus einem niedrigbrechenden Material gebildet sein.According to a favorable design of the optical element, the second partial layers can be formed from a low-refractive material.
Die niedrigerbrechenden Teilschichten können wenigstens eines der Materialien MgF2, SiO, SiO2, SiO2 mit Zusätzen von Al, Silane, Siloxane in Reinform oder mit deren fluorierten Derivaten, aufweisen. Die niedrigerbrechenden Teilschichten können jedoch auch eine Mischung von SiO2 und Al2O3 enthalten. Bevorzugt können die niedrigerbrechenden Teilschichten wenigstens 80 Gewichtsprozent SiO2, besonders bevorzugt wenigstens 90 Gewichtsprozent SiO2 enthalten.The lower refractive index sublayers can comprise at least one of the materials MgF 2 , SiO, SiO 2 , SiO 2 with additions of Al, silanes, siloxanes in pure form or with their fluorinated derivatives. The lower refractive index sublayers can, however, also contain a mixture of SiO 2 and Al 2 O 3 . The lower refractive index sublayers can preferably contain at least 80 percent by weight of SiO 2 , particularly preferably at least 90 percent by weight of SiO 2 .
Bevorzugt ist der Brechungsindex der niedrigbrechenden Teilschichten höchstens 1,55, bevorzugt höchstens 1,48, besonders bevorzugt höchstens 1,4. Diese Angaben von Brechungsindizes beziehen sich auf Normalbedingungen bei einer Temperatur von 25° C sowie eine Referenzwellenlänge der verwendeten Lichtintensität von 550 nm.Preferably, the refractive index of the low-refractive index sublayers is at most 1.55, preferably at most 1.48, particularly preferably at most 1.4. These refractive indices refer to normal conditions at a temperature of 25° C and a reference wavelength of the light intensity used of 550 nm.
Typische Beispiele für Schichtmaterialien mit unterschiedlichen Brechungsindizes sind Siliziumdioxid (SiO2) mit einem Brechungsindex von 1,46, Aluminiumoxid (Al2O3) mit einem Brechungsindex von 1,7, Zirkondioxid (ZrO2) mit einem Brechungsindex von 2,05, Praseodym-Titanoxid (PrTiOs) mit einem Brechungsindex von 2,1, Titanoxid (TiO2) und Zinksulfid (ZnS) mit jeweils einem Brechungsindex von 2,3. Diese Werte stellen mittlere Werte dar, die je nach Beschichtungsverfahren und Schichtdicke bis zu 10% variieren können.Typical examples of coating materials with different refractive indices are silicon dioxide (SiO 2 ) with a refractive index of 1.46, aluminum oxide (Al 2 O 3 ) with a refractive index of 1.7, zirconium dioxide (ZrO 2 ) with a refractive index of 2.05, praseodymium titanium oxide (PrTiOs) with a refractive index of 2.1, titanium oxide (TiO 2 ) and zinc sulfide (ZnS), each with a refractive index of 2.3. These values represent average values that can vary by up to 10% depending on the coating process and layer thickness.
Übliche optische Gläser weisen Brechungsindizes zwischen 1,5 und 2,0 auf. Schichtmaterialien mit Brechungsindizes kleiner als 1,5 wie MgF2, SiO2, Al2O3 werden deshalb in Kombination mit optischen Gläsern als niedrig brechende Materialien bezeichnet, Schichtmaterialien mit Brechungsindizes größer als 2,0 wie ZrO2, PrTiOs, TiO2, ZnS werden in Kombination mit optischen Gläsern als hoch brechende Materialien bezeichnet.Common optical glasses have refractive indices between 1.5 and 2.0. Layer materials with refractive indices of less than 1.5, such as MgF 2 , SiO 2 , Al 2 O 3 , are therefore referred to as low-refractive materials in combination with optical glasses. Layer materials with refractive indices of greater than 2.0, such as ZrO 2 , PrTiOs, TiO 2 , ZnS, are referred to as high-refractive materials in combination with optical glasses.
Der Unterschied der Brechungsindizes zwischen den hochbrechenden und niedrigbrechenden Materialien der ersten und zweiten Teilschichten beträgt vorzugsweise je nach Beschichtungsverfahren und Schichtdicke mindestens 0,2 bis mindestens 0,5.The difference in the refractive indices between the high-refractive and low-refractive materials of the first and second sublayers is preferably at least 0.2 to at least 0.5, depending on the coating process and layer thickness.
Die verwendeten Materialien für diese Art von Beschichtungen sind die typischen Materialien, die in der Optik mittels beispielsweise PVD-Verfahren (PVD = Physical Vapour Deposition (physikalische Gasphasenabscheidung)) oder CVD-Verfahren (CVD = Chemical Vapour Deposition (chemische Gasphasenabscheidung)) auf ein Substrat aufgebracht werden.The materials used for this type of coating are the typical materials that are applied to a substrate in optics using, for example, PVD processes (PVD = Physical Vapour Deposition) or CVD processes (CVD = Chemical Vapour Deposition).
Nach einer günstigen Ausgestaltung des optischen Elements können zumindest die ersten Teilschichten aus einem gleichen ersten Material gebildet sind und die zweiten Teilschichten zumindest überwiegend aus einem gleichen zweiten Material gebildet sind.According to a favorable embodiment of the optical element, at least the first partial layers can be formed from a same first material and the second partial layers can be formed at least predominantly from a same second material.
Optional können die zweiten Teilschichten aus dem gleichen zweiten Material gebildet sein und lediglich im substratfernsten Schichtpaket eine Funktionsschicht zwischen der ersten Teilschicht und der zweiten Teilschicht aufweisen. Die Funktionsschicht kann niedrigbrechend sein und bedarfsweise der zweiten Teilschicht für Berechnungszwecke zugeschlagen werden.Optionally, the second sublayers can be made of the same second material and only have a functional layer between the first sublayer and the second sublayer in the layer package furthest from the substrate. The functional layer can have a low refractive index and, if necessary, can be added to the second sublayer for calculation purposes.
Eine Auslegung eines erfindungsgemäßen optischen Elements kann mit einem günstigen Verfahren erfolgen.A design of an optical element according to the invention can be carried out using a favorable method.
Dabei umfasst das optische Element ein Substrat und ein interferometrisch reflexminderndes Schichtsystem auf wenigstens einer Oberfläche des Substrats, wobei das Schichtsystem einen Stapel von mindestens vier aufeinander folgenden Schichtpaketen umfasst, wobei jedes Schichtpaket eine erste Teilschicht mit einer ersten optischen Dicke und eine zweite Teilschicht mit einer zweiten, von der ersten optischen Dicke verschiedenen optischen Dicke umfasst, wobei ein Brechungsindex der jeweils substratnäheren ersten Teilschicht größer ist als ein Brechungsindex der jeweils substratferneren zweiten Teilschicht des Stapels, wobei das Schichtsystem eine Helligkeit, eine Buntheit und einen Bunttonwinkel einer Restreflexfarbe aufweist. Der Betrag einer, insbesondere absoluten oder relativen, Änderung des Bunttonwinkels der Restreflexfarbe in einem Intervall eines Betrachtungswinkels mit den Grenzwerten 0° und 30° bezogen auf eine Oberflächennormale auf das Schichtsystem ist vorzugsweise kleiner als der Betrag einer, insbesondere absoluten oder relativen, Änderung der Buntheit im Intervall des Betrachtungswinkels.The optical element comprises a substrate and an interferometrically reflection-reducing layer system on at least one surface of the substrate, wherein the layer system comprises a stack of at least four successive layer packages, wherein each layer package comprises a first partial layer with a first optical thickness and a second partial layer with a second optical thickness different from the first optical thickness, wherein a refractive index of the first partial layer closer to the substrate is greater than a refractive index of the second partial layer of the stack further away from the substrate, wherein the layer system has a brightness, a chroma and a hue angle of a residual reflex color. The amount of a, in particular absolute or relative, change in the hue angle of the residual reflex color in an interval of a viewing angle with the
Bei dem Verfahren können die Schritte durchgeführt werden: Definieren eines Schichtdesigns, umfassend zumindest ein erstes Material für hochbrechende Teilschichten und ein zweites Material für niedrigbrechende Teilschichten, Anzahl gewünschter Schichtpakete mit den Teilschichten, Startwerte der Dicke der Teilschichten; Definieren von Ziel-Farbwerten, umfassend Helligkeit, Buntheit und Bunttonwinkel zumindest an Grenzwerten für ein Intervall eines Betrachtungswinkels mit Grenzwerten von 0° und 30°; und Durchführen eines Optimierungsverfahrens zur Variation der Einzelschichtdicken bis ein Optimierungsziel erreicht ist.The method can carry out the following steps: defining a layer design, comprising at least a first material for high-refractive sublayers and a second material for low-refractive sublayers, number of desired layer packages with the sublayers, starting values of the thickness of the sublayers; defining target color values, comprising brightness, chroma and hue angle at least at limit values for an interval of a viewing angle with limit values of 0° and 30°; and carrying out an optimization method for varying the individual layer thicknesses until an optimization goal is reached.
Günstigerweise kann für die Buntheit am oberen Grenzwert des Betrachtungswinkels ein Wert von höchstens 16 gewählt werden. Alternativ oder zusätzlich kann für die Buntheit ein maximaler Wert im Intervall des Betrachtungswinkels von höchstens 16 gewählt werden. Dies ermöglicht die Verwirklichung aller Reflexfarben mit hoher Farbkonstanz für einen Restreflex, nicht nur am Rand des Farbtonwinkels.Conveniently, a value of 16 or less can be selected for the chroma at the upper limit of the viewing angle. Alternatively or additionally, a maximum value of 16 or less can be selected for the chroma in the viewing angle interval. This enables the realization of all reflex colors with high color constancy for a residual reflection, not only at the edge of the hue angle.
Günstigerweise können die Ziel-Farbwerte an den Grenzwerten des Intervalls gleich oder ähnlich gewählt werden.Conveniently, the target color values at the limits of the interval can be chosen to be the same or similar.
Insbesondere können maximale Abweichungen für die Bunttonwinkel unterschiedlicher Restreflexfarben vorgegeben werden.In particular, maximum deviations for the hue angles of different residual reflex colors can be specified.
Für die Restreflexfarbe Blau kann eine günstige zulässige Änderung Δh des Bunttonwinkels im Intervall des Betrachtungswinkels von 0° bis 30° bevorzugt höchstens Δh=4°, besonders bevorzugt höchstens Δh=3,5° betragen. Eine günstige zulässige Änderung Δh des Bunttonwinkels im Intervall des Betrachtungswinkels von 0° bis 33° kann bevorzugt höchstens Δh=5°, besonders bevorzugt höchstens Δh=4,5° betragen.For the residual reflex color blue, a favorable permissible change Δh of the hue angle in the viewing angle interval from 0° to 30° can preferably be at most Δh=4°, particularly preferably at most Δh=3.5°. A favorable permissible change Δh of the hue angle in the viewing angle interval from 0° to 33° can preferably be at most Δh=5°, particularly preferably at most Δh=4.5°.
Für eine Restreflexfarbe Grün kann eine günstige zulässige Änderung Δh des Bunttonwinkels im Intervall des Betrachtungswinkels von 0° bis 30° bevorzugt höchstens Δh=3°, besonders bevorzugt höchstens Δh=2° betragen. Eine günstige zulässige Änderung Δh des Bunttonwinkels im Intervall des Betrachtungswinkels von 0° bis 45° kann bevorzugt höchstens Δh=5°, besonders bevorzugt höchstens Δh=4,6° betragen.For a residual reflex color green, a favorable permissible change Δh of the hue angle in the viewing angle interval from 0° to 30° can preferably be at most Δh=3°, particularly preferably at most Δh=2°. A favorable permissible change Δh of the hue angle in the viewing angle interval from 0° to 45° can preferably be at most Δh=5°, particularly preferably at most Δh=4.6°.
Für eine Restreflexfarbe Gelb kann eine günstige zulässige Änderung Δh des Bunttonwinkels im Intervall des Betrachtungswinkels von 0° bis 30° bevorzugt höchstens Δh=1,5°, besonders bevorzugt höchstens Δh=0,9° betragen. Eine günstige zulässige Änderung Δh des Bunttonwinkels im Intervall des Betrachtungswinkels von 0° bis 45° kann bevorzugt höchstens Δh=5°, besonders bevorzugt höchstens Δh=4,6° betragen.For a residual reflex color yellow, a favorable permissible change Δh of the hue angle in the viewing angle interval from 0° to 30° can preferably be at most Δh=1.5°, particularly preferably at most Δh=0.9°. A favorable permissible change Δh of the hue angle in the viewing angle interval from 0° to 45° can preferably be at most Δh=5°, particularly preferably at most Δh=4.6°.
Für eine Restreflexfarbe Rot kann eine günstige zulässige Änderung Δh des Bunttonwinkels im Intervall des Betrachtungswinkels von 0° bis 30° bevorzugt höchstens Δh=6°, besonders bevorzugt höchstens Δh=5,3° betragen. Eine günstige zulässige Änderung Δh des Bunttonwinkels im Intervall des Betrachtungswinkels von 0° bis 45° kann bevorzugt höchstens Δh=20°, besonders bevorzugt höchstens Δh=16,8° betragen.For a residual reflex color red, a favorable permissible change Δh of the hue angle in the viewing angle interval from 0° to 30° can preferably be at most Δh=6°, particularly preferably at most Δh=5.3°. A favorable permissible change Δh of the hue angle in the viewing angle interval from 0° to 45° can preferably be at most Δh=20°, particularly preferably at most Δh=16.8°.
Weitere Vorteile ergeben sich aus der folgenden Zeichnungsbeschreibung. In den Figuren sind Ausführungsbeispiele der Erfindung dargestellt. Die Figuren, die Beschreibung und die Ansprüche enthalten zahlreiche Merkmale in Kombination. Der Fachmann wird die Merkmale zweckmäßigerweise auch einzeln betrachten und zu sinnvollen weiteren Kombinationen zusammenfassen.Further advantages emerge from the following description of the drawings. The figures show embodiments of the invention. The figures, the description and the claims contain numerous features in combination. The person skilled in the art will also expediently consider the features individually and combine them into further useful combinations.
- Fig. 1Fig. 1
- ein Ausführungsbeispiel der Erfindung, bei dem ein Schichtsystem vier Schichtpakete auf einem Substrat aufweist;an embodiment of the invention in which a layer system has four layer packages on a substrate;
- Fig. 2Fig. 2
- ein Ausführungsbeispiel der Erfindung, bei dem ein Schichtsystem fünf Schichtpakete auf einem Substrat aufweist;an embodiment of the invention in which a layer system has five layer packages on a substrate;
- Fig. 3Fig. 3
- eine Reflektivität eines erfindungsgemäßen Schichtsystems mit einer Restreflexfarbe Blau im Wellenlängenbereich zwischen 280 nm und 1400 nm;a reflectivity of a layer system according to the invention with a residual reflex color blue in the wavelength range between 280 nm and 1400 nm;
- Fig. 4Fig. 4
-
ein Detail der Darstellung in
Figur 3 im Wellenlängenbereich 380 nm bis 780 nm;a detail of the representation inFigure 3 in thewavelength range 380 nm to 780 nm; - Fig. 5Fig. 5
-
abhängig vom Einfallswinkel zwischen 0° und 45° einen Verlauf der Buntheit C* mit der Restreflexfarbe Blau nach
Figur 3 ;Depending on the angle of incidence between 0° and 45°, a gradient of the chroma C* with the residual reflex color blue according toFigure 3 ; - Fig. 6Fig. 6
-
abhängig vom Einfallswinkel zwischen 0° und 45° einen Verlauf der Helligkeit L* der Restreflexfarbe Blau nach
Figur 3 ;Depending on the angle of incidence between 0° and 45°, a gradient of the brightness L* of the residual reflex colour blue according toFigure 3 ; - Fig. 7Fig. 7
-
abhängig vom Einfallswinkel zwischen 0° und 45° einen Verlauf der Bunttonwinkels h mit der Restreflexfarbe Blau nach
Figur 3 ;Depending on the angle of incidence between 0° and 45°, a gradient of the hue angle h with the residual reflex color blue according toFigure 3 ; - Fig. 8Fig. 8
-
abhängig vom Einfallswinkel zwischen 0° und 45° einen Verlauf des photopischen Reflexionsgrads Rv und des skotopischen Reflexionsgrads Rv` mit der Restreflexfarbe Blau nach
Figur 3 ;depending on the angle of incidence between 0° and 45° a progression of the photopic reflectance Rv and the scotopic reflectance Rv` with the residual reflex colour blue according toFigure 3 ; - Fig. 9Fig. 9
- eine Reflektivität eines erfindungsgemäßen Schichtsystems mit einer Restreflexfarbe Grün im Wellenlängenbereich zwischen 280 nm und 1400 nm;a reflectivity of a layer system according to the invention with a residual reflex color green in the wavelength range between 280 nm and 1400 nm;
- Fig. 10Fig. 10
-
ein Detail der Darstellung in
Figur 9 im Wellenlängenbereich 380 nm bis 780 nm;a detail of the representation inFigure 9 in thewavelength range 380 nm to 780 nm; - Fig. 11Fig. 11
-
abhängig vom Einfallswinkel zwischen 0° und 45° einen Verlauf der Buntheit C* mit der Restreflexfarbe Grün nach
Figur 9 ;Depending on the angle of incidence between 0° and 45°, a gradient of the chroma C* with the residual reflex color green toFigure 9 ; - Fig. 12Fig. 12
-
abhängig vom Einfallswinkel zwischen 0° und 45° einen Verlauf der Helligkeit L* der Restreflexfarbe Grün nach
Figur 9 ;Depending on the angle of incidence between 0° and 45°, a gradient of the brightness L* of the residual reflex color green toFigure 9 ; - Fig. 13Fig. 13
-
abhängig vom Einfallswinkel zwischen 0° und 45° einen Verlauf der Bunttonwinkels h mit der Restreflexfarbe Grün nach
Figur 9 ;Depending on the angle of incidence between 0° and 45°, a gradient of the hue angle h with the residual reflex color green toFigure 9 ; - Fig. 14Fig. 14
-
abhängig vom Einfallswinkel zwischen 0° und 45° einen Verlauf des photopischen Reflexionsgrads Rv und des skotopischen Reflexionsgrads Rv` mit der Restreflexfarbe Grün nach
Figur 9 ;depending on the angle of incidence between 0° and 45° a progression of the photopic reflectance Rv and the scotopic reflectance Rv` with the residual reflex colour green according toFigure 9 ; - Fig. 15Fig. 15
- eine Reflektivität eines erfindungsgemäßen Schichtsystems mit einer Restreflexfarbe Gelb im Wellenlängenbereich zwischen 280 nm und 1400 nm;a reflectivity of a layer system according to the invention with a residual reflex color yellow in the wavelength range between 280 nm and 1400 nm;
- Fig. 16Fig. 16
-
ein Detail der Darstellung in
Figur 15 im Wellenlängenbereich 380 nm bis 780 nm;a detail of the representation inFigure 15 in thewavelength range 380 nm to 780 nm; - Fig. 17Fig. 17
-
abhängig vom Einfallswinkel zwischen 0° und 45° einen Verlauf der Buntheit C* mit der Restreflexfarbe Gelb nach
Figur 15 ;Depending on the angle of incidence between 0° and 45°, a gradient of the chroma C* with the residual reflex color yellow toFigure 15 ; - Fig. 18Fig. 18
-
abhängig vom Einfallswinkel zwischen 0° und 45° einen Verlauf der Helligkeit L* der Restreflexfarbe Gelb nach
Figur 15 ;Depending on the angle of incidence between 0° and 45°, the brightness L* of the residual reflex colour yellow varies according toFigure 15 ; - Fig. 19Fig. 19
-
abhängig vom Einfallswinkel zwischen 0° und 45° einen Verlauf der Bunttonwinkels h mit der Restreflexfarbe Gelb nach
Figur 15 ;Depending on the angle of incidence between 0° and 45°, a gradient of the hue angle h with the residual reflex color yellow toFigure 15 ; - Fig. 20Fig. 20
-
abhängig vom Einfallswinkel zwischen 0° und 45° einen Verlauf des photopischen Reflexionsgrads Rv und des skotopischen Reflexionsgrads Rv` mit der Restreflexfarbe Gelb nach
Figur 15 ;depending on the angle of incidence between 0° and 45° a progression of the photopic reflectance Rv and the scotopic reflectance Rv` with the residual reflex colour yellow according toFigure 15 ; - Fig. 21Fig. 21
- eine Reflektivität eines erfindungsgemäßen Schichtsystems mit einer Restreflexfarbe Rot im Wellenlängenbereich zwischen 280 nm und 1400 nm,a reflectivity of a layer system according to the invention with a residual reflex color red in the wavelength range between 280 nm and 1400 nm,
- Fig. 22Fig. 22
-
ein Detail der Darstellung in
Figur 21 im Wellenlängenbereich 380 nm bis 780 nm;a detail of the representation inFigure 21 in thewavelength range 380 nm to 780 nm; - Fig. 23Fig. 23
-
abhängig vom Einfallswinkel zwischen 0° und 45° einen Verlauf der Buntheit C* mit der Restreflexfarbe Rot nach
Figur 21 ;Depending on the angle of incidence between 0° and 45°, a gradient of the chroma C* with the residual reflex color red toFigure 21 ; - Fig. 24Fig. 24
-
abhängig vom Einfallswinkel zwischen 0° und 45° einen Verlauf der Helligkeit L* der Restreflexfarbe Rot nach
Figur 21 ;Depending on the angle of incidence between 0° and 45°, a gradient of the brightness L* of the residual reflex color red according toFigure 21 ; - Fig. 25Fig. 25
-
abhängig vom Einfallswinkel zwischen 0° und 45° einen Verlauf der Bunttonwinkels h mit der Restreflexfarbe Rot nach
Figur 21 ;Depending on the angle of incidence between 0° and 45°, a gradient of the hue angle h with the residual reflex color red toFigure 21 ; - Fig. 26Fig. 26
-
abhängig vom Einfallswinkel zwischen 0° und 45° einen Verlauf des photopischen Reflexionsgrads Rv und des skotopischen Reflexionsgrads Rv` mit der Restreflexfarbe Rot nach
Figur 21 ;depending on the angle of incidence between 0° and 45° a progression of the photopic reflectance Rv and the scotopic reflectance Rv` with the residual reflex colour red according toFigure 21 ; - Fig. 27Fig. 27
- ein Polardiagramm mit Messwerten an Schichtsystemen nach der Erfindung mit verschiedenen Restreflexfarben und einem Schichtsystem nach dem Stand der Technik in einem ersten Intervall eines Betrachtungswinkels von 0° bis 30°;a polar diagram with measured values on layer systems according to the invention with different residual reflex colors and a layer system according to the prior art in a first interval of a viewing angle from 0° to 30°;
- Fig. 28Fig. 28
-
das Polardiagramm nach
Figur 27 in einem weiteren Intervall des Betrachtungswinkels von 0° bis 45°;the polar diagram according toFigure 27 in a further interval of viewing angle from 0° to 45°; - Fig. 29Fig. 29
- ein günstiges Verfahren zur Auslegung eines erfindungsgemäßen Schichtsystems.a favorable method for designing a layer system according to the invention.
In den Figuren sind gleichartige oder gleichwirkende Komponenten mit gleichen Bezugszeichen beziffert. Die Figuren zeigen lediglich Beispiele und sind nicht beschränkend zu verstehen.In the figures, components of the same type or with the same effect are numbered with the same reference symbols. The figures show only examples and are not to be understood as limiting.
Im Folgenden verwendete Richtungsterminologie mit Begriffen wie "links", "rechts", "oben", "unten", "davor" "dahinter", "danach" und dergleichen dient lediglich dem besseren Verständnis der Figuren und soll in keinem Fall eine Beschränkung der Allgemeinheit darstellen. Die dargestellten Komponenten und Elemente, deren Auslegung und Verwendung können im Sinne der Überlegungen eines Fachmanns variieren und an die jeweiligen Anwendungen angepasst werden.Directional terminology used below with terms such as "left", "right", "top", "bottom", "before", "behind", "after" and the like is intended only to facilitate understanding of the figures and is in no way intended to limit the scope of the invention. The components and elements shown, their design and use may vary in accordance with the considerations of a person skilled in the art and may be adapted to the respective applications.
Die
Das optische Element 100 umfasst in
In
Bis auf die unterschiedliche Anzahl von Schichtpaketen 42, 44, 46, 48, 50 (vier in
Betrachtet wird das Schichtsystem von einem Betrachter in einem Betrachtungswinkel AOI von 0° bis zu einem Grenzwinkel, beispielsweise 30°, gemessen von der Oberflächennormalen 70 aus.The layer system is viewed by an observer at a viewing angle AOI of 0° up to a critical angle, for example 30°, measured from the surface normal 70.
Das Substrat 20 ist beispielsweise ein Kunststoff, insbesondere ein transparenter Kunststoff für ein Brillenglas.The
Der Begriff Brillenglas bezeichnet im Rahmen der vorliegenden Offenbarung insbesondere ein beschichtetes Brillenglas gemäß Abschnitt 8.1.13 der Norm DIN EN ISO 13666:2013-10, also ein Brillenglas, auf das eine oder mehrere Oberflächenbeschichtungen aufgebracht wurden, insbesondere um eine oder mehrere seiner Eigenschaften zu ändern.In the context of the present disclosure, the term spectacle lens refers in particular to a coated spectacle lens according to section 8.1.13 of the standard DIN EN ISO 13666:2013-10, i.e. a spectacle lens to which one or more surface coatings have been applied, in particular to change one or more of its properties.
Bevorzugt können solche Brillengläser insbesondere vorteilhaft eingesetzt werden als Brillen (mit und ohne Korrektur), Sonnenbrillen, Skibrillen, Arbeitsplatzbrillen, sowie Brillen in Verbindung mit kopfgetragenen Anzeigeeinrichtungen (so genannte "head-mounted displays").Preferably, such lenses can be used particularly advantageously as glasses (with and without correction), sunglasses, ski goggles, workplace goggles, and glasses in conjunction with head-mounted displays.
Der Begriff Brillenglas kann im Rahmen der vorliegenden Offenbarung ferner Brillenglas-Halbfabrikate umfassen, insbesondere ein Brillenglasblank oder Brillenglas-Halbfertigprodukt gemäß Abschnitt 8.4.2 der Norm DIN EN ISO 13666:2013-10, also einen Linsenrohling oder Blank mit nur einer optischen fertig bearbeiteten Fläche.In the context of the present disclosure, the term spectacle lens can also include spectacle lens semi-finished products, in particular a spectacle lens blank or spectacle lens semi-finished product according to section 8.4.2 of the standard DIN EN ISO 13666:2013-10, i.e. a lens blank or blank with only one optically finished surface.
Bezogen auf die Ausgestaltungen in den
Als unterste Lage auf dem Substrat 20 weist das Schichtsystem 10 in üblicher Weise eine einlagige oder mehrlagige Zwischenschicht 32 auf, beispielsweise zur Verbesserung der Haftung des Stapels 40 und/oder als Kratzschutz für das Substrat 20. Diese Zwischenschicht 32 kann beispielsweise aus unterstöchiometrischen niederbrechenden Metalloxiden, Chrom, Silanen oder Siloxanen bestehen Die Zwischenschicht 32 ist für die weiteren Betrachtungen nicht relevant.As the lowest layer on the
Auf der Zwischenschicht 32 sind in
Vorzugsweise ist jede der substratnäheren Teilschichten 60 aus einem identischen ersten Material gebildet. Vorzugsweise ist das erste Material ein höherbrechendes Material mit einem ersten Brechungsindex n1.Preferably, each of the
Vorzugsweise ist jede der substratfernen Teilschichten 62 aus einem identischen zweiten Material gebildet. Vorzugsweise ist das zweite Material ein niedrigbrechendes Material mit einem zweiten Brechungsindex n2. Der Brechungsindex n1 ist größer als der Brechungsindex n2, vorzugsweise ist der Unterschied der Brechungsindizes n1, n2 mindestens 0,2, vorzugsweise bis mindestens 0,5.Preferably, each of the
Die Reihenfolge der Teilschichten 60, 62 bleibt im Stapel 40 gleich, so dass in jedem Schichtpaket 42, 44, 46, 48 die jeweilige substratnähere Teilschicht 60 immer die höherbrechende und die jeweilige substratfernere Teilschicht 62 immer die niedrigbrechende der Teilschichten 60, 62 ist.The order of the
Insbesondere kann es sich bei den höherbrechenden Teilschichten 60 um Schichten aus hochbrechenden Materialien handeln und bei den niedrigerbrechenden Teilschichte 62 um Schichten aus niedrigbrechenden Materialien.In particular, the higher
Die Schichtpakete 42, 44, 46, 48 im Stapel 40 unterscheiden sich nur in ihrer jeweiligen Dicke und/oder in den Dicken der einzelnen Teilschichten 60, 62 im jeweiligen Schichtpaket 42, 44, 46, 48.The layer packages 42, 44, 46, 48 in the
Der Stapel 40 ist in an sich bekannter Weise mit einer Deckschicht 34 abgeschlossen, die beispielsweise der Pflege des Schichtsystems 10 dient. Die Deckschicht 34 wird auf die letzte optisch relevante Teilschicht 62 des obersten Schichtpakets 48 des Stapels 40 aufgebracht und kann fluorhaltige Moleküle enthalten. Die Deckschicht 34 verleiht dem Stapel 40 üblicherweise eine verbesserte Pflegeeigenschaft, mit Eigenschaften wie eine wasserabweisende und ölabweisende Funktion bei einer Oberflächenenergie von typischerweise kleiner 15 mN/m.The
Die Deckschicht 34 ist für die weiteren Betrachtungen nicht relevant.The
Das oberste, substratfernste Schichtpaket 48 (bzw. Schichtpaket 50 in
Die optischen Eigenschaften des Stapels 40 des Schichtsystems 10 können rechnerisch mittels an sich bekannter Berechnungsverfahren und/oder Optimierungsverfahren simuliert werden. Die Herstellung des Schichtsystems 10 erfolgt sodann mit den bestimmten Schichtdicken der einzelnen Teilschichten 60, 62 der Schichtpakete 42, 44, 46, 48.The optical properties of the
Bei der Herstellung von optischen Schichtsystemen 10 werden dessen optische Eigenschaften des Schichtsystems 10 bei der Herstellung der Teilschichten 60, 62 eingestellt. Beispielsweise kann das aus der
Durch eine in der
Bei einer bestimmten Wellenlänge λ bestimmt sich die optische Dicke t einer Schicht, auch FWOT (full wave optical thickness) genannt, zu
Eine reflexmindernde Wirkung durch den Stapel 40 kann für eine vorgebbare Reflektivität Rm des Stapels 40 erreicht werden, wenn das Produkt aus Reflektivität Rm und dem Parameter σ kleiner als 1 eingestellt ist:
Die Reflektivität Rm, auch Reflexionsgrad genannt, beschreibt hierbei das Verhältnis von reflektierter zu einfallender Intensität eines Lichtstrahls als Energiegröße. Die Reflektivität Rm wird zweckmäßigerweise über den Bereich des Lichts von 380 nm bis 800 nm gemittelt und auf 100 % bezogen.The reflectivity R m , also called reflection factor, describes the ratio of reflected to incident intensity of a light beam as an energy quantity. The reflectivity R m is conveniently averaged over the range of light from 380 nm to 800 nm and related to 100%.
Eine solche Bedingung Rm·σ<1 kann für einen Optimierungsprozess des Verfahrens zur Herstellung des Schichtsystems 10 als Randbedingung angesetzt werden.Such a condition R m ·σ<1 can be used as a boundary condition for an optimization process of the method for producing the
Die optischen Dicken t1, t2 der ersten und zweiten Teilschichten 60, 62 der Schichtpakete 42, 44, 46, 48 werden dadurch bestimmt, dass der Parameter σ mittels eines Optimierungsverfahrens, bevorzugt mittels Variationsrechnung, bestimmt wird.The optical thicknesses t1, t2 of the first and second
Bevorzugt werden dabei die Dicken der jeweiligen Teilschichten 60, 62 bei vier Schichtpaketen 42, 44, 46, 48 im Stapel 40 abhängig von einem Quotienten vi (mit i=1, 2, 3, 4) der ersten optischen Dicke t1 jeweils der höherbrechenden ersten Teilschicht 60 und der zweiten optischen Dicke t2 der niedrigerbrechenden zweiten Teilschicht 62 des jeweiligen Schichtpakets 42, 44, 46, 48 gebildet.Preferably, the thicknesses of the respective
Die Indizes i=1, 2, 3, 4 stehen für die Reihenfolge der Schichtpakete 42, 44, 46, 48 auf dem Substrat 20. Entsprechend stehen v1 für das substratnächste Schichtpaket 42 und v4 für das substratfernste Schichtpaket 48.The indices i=1, 2, 3, 4 stand for the order of the layer packages 42, 44, 46, 48 on the
Für einen Stapel aus vier aufeinander folgenden Schichtpaketen 42, 44, 46, 48 kann der Parameter σ aus
Die ersten und zweiten Teilschichten 60, 62 werden mit den derart berechneten Parametern, insbesondere den optischen Dicken t1, t2 der Teilschichten 60, 62 des Stapels 40 hergestellt.The first and
In einer vorteilhaften Ausgestaltung kann bei einem Schichtsystem 10 nach
Die Indizes i=1, 2, 3, 4, 5 stehen für die Reihenfolge der Schichtpakete 42, 44, 46, 48, 50 auf dem Substrat 20. Entsprechend stehen v1 für das substratnächste Schichtpaket 42 und v5 für das substratfernste Schichtpaket 50.The indices i=1, 2, 3, 4, 5 stand for the order of the layer packages 42, 44, 46, 48, 50 on the
Es ist bekannt, wahrnehmungsbezogene Farben im so genannten CIE-L*a*b* Farbraum (vereinfacht CIELab-Farbraum) in kartesischen Koordinaten anzugeben, wie in der DIN EN ISO 11664-4:2012-06 (EN ISO 11664-4:2011) dargelegt ist.It is known to specify perceptual colors in the so-called CIE-L*a*b* color space (simplified CIELab color space) in Cartesian coordinates, as set out in DIN EN ISO 11664-4:2012-06 (EN ISO 11664-4:2011).
L* ist die CIELab-Helligkeit, a*, b* sind die CIELab-Koordinaten, C* die CIELab-Buntheit und hab der CIELab-Bunttonwinkel.L* is the CIELab lightness, a*, b* are the CIELab coordinates, C* is the CIELab chroma and h ab is the CIELab hue angle.
Die L*-Achse beschreibt die Helligkeit (Luminanz) der Farbe mit Werten von 0 bis 100. Die L*-Achse steht im Nullpunkt senkrecht auf der a*b*-Ebene. Sie kann auch als Neutralgrauachse bezeichnet werden, da zwischen den Endpunkten Schwarz (L*=0) und Weiß (L*=100) alle unbunten Farben (Grautöne) enthalten sind.The L* axis describes the brightness (luminance) of the color with values from 0 to 100. The L* axis is perpendicular to the a*b* plane at the zero point. It can also be called the neutral gray axis, since all achromatic colors (gray tones) are contained between the end points black (L*=0) and white (L*=100).
Auf der a*-Achse liegen sich Grün und Rot gegenüber, die b*-Achse verläuft zwischen Blau und Gelb. Komplementäre Farbtöne stehen sich jeweils um 180° gegenüber, in ihrer Mitte, d.h. dem Koordinatenursprung a*=0, b*=0, ist Grau.Green and red are opposite each other on the a* axis, the b* axis runs between blue and yellow. Complementary colors are opposite each other by 180°, and in their middle, i.e. the coordinate origin a*=0, b*=0, is gray.
Die a*-Achse beschreibt den Grünanteil oder Rotanteil einer Farbe, wobei negative Werte für Grün und positive Werte für Rot stehen. Die b*-Achse beschreibt den Blauanteil oder Gelbanteil einer Farbe, wobei negative Werte für Blau und positive Werte für Gelb stehen.The a* axis describes the green or red component of a color, with negative values representing green and positive values representing red. The b* axis describes the blue or yellow component of a color, with negative values representing blue and positive values representing yellow.
Die a*-Werte reichen von ca. -170 bis +100, die b*-Werte von -100 bis +150, wobei die Maximalwerte nur bei mittlerer Helligkeit bestimmter Farbtöne erreicht werden. Der CIELab-Farbkörper hat im mittleren Helligkeitsbereich seine größte Ausdehnung, diese ist aber je nach Farbbereich unterschiedlich in Höhe und Größe.The a* values range from approximately -170 to +100, the b* values from -100 to +150, whereby the maximum values are only reached at medium brightness of certain colors. The CIELab color solid has in the middle brightness range, but this varies in height and size depending on the color range.
Der CIELab-Bunttonwinkel hab muss zwischen 0° und 90° liegen, wenn sowohl a* und b* positiv sind, zwischen 90° und 180°, wenn b* positiv ist und a* negativ, zwischen 180° und 270°, wenn sowohl a* und b* negativ sind und zwischen 270° und 360°, wenn b* negativ ist und a* positiv.The CIELab hue angle h ab must be between 0° and 90° when both a* and b* are positive, between 90° and 180° when b* is positive and a* is negative, between 180° and 270° when both a* and b* are negative, and between 270° and 360° when b* is negative and a* is positive.
Beim CIE-L*C*h-Farbraum (vereinfacht CIELCh-Farbraum) sind die kartesischen Koordinaten des CIELab-Farbraums in Polarkoordinaten transformiert. Dabei werden die Zylinderkoordinaten C* (Buntheit, relative Farbsättigung, Entfernung von der L-Achse im Zentrum) und h (Bunttonwinkel, Winkel des Farbtons im CIELab-Farbkreis) angegeben. Die CIELab-Helligkeit L* bleibt dabei unverändert.In the CIE L*C*h color space (simplified CIELCh color space), the Cartesian coordinates of the CIELab color space are transformed into polar coordinates. The cylindrical coordinates C* (chroma, relative color saturation, distance from the L axis in the center) and h (hue angle, angle of the hue in the CIELab color circle) are specified. The CIELab brightness L* remains unchanged.
Der Bunttonwinkel h ergibt sich aus den a*- und b*-Achsen
Der Bunttonwinkel h steht hier für die Farbe des Restreflexes der reflexmindernden Schichtsystems 10.The hue angle h represents the color of the residual reflection of the
Die Buntheit C* ergibt sich zu
Die Buntheit C* wird auch als Farbtiefe bezeichnet.The chroma C* is also called color depth.
Bei bekannten reflexmindernden Beschichtungen ist die Farbe des Restreflexes auf einen senkrechten Einfall des Lichts auf das Schichtsystem 10 (AOI=0°) optimiert und variiert stark bei Änderung des Betrachtungswinkels AOI.In known anti-reflective coatings, the color of the residual reflection is optimized for a perpendicular incidence of light on the layer system 10 (AOI=0°) and varies greatly when the viewing angle AOI changes.
Wie in den folgenden Figuren für verschiedene Restreflexfarben Blau, Grün, Gelb, Rot gezeigt ist, kann ein erfindungsgemäßes Schichtsystem 10 mit vier Schichtpaketen 42, 44, 46, 48 oder fünf Schichtpaketen 42, 44, 46, 48, 50 gebildet werden, das auch bei Variation des Betrachtungswinkels AOI im Bereich zwischen 0° und 30° weitestgehend farbstabil bleibt. Mit anderen Worten, der Farbeindruck des Restreflexes ändert sich praktisch nicht, wenn ein Betrachter das optische Element 100 unter Betrachtungswinkeln AOI in diesem Winkelintervall betrachtet.As shown in the following figures for different residual reflex colors blue, green, yellow, red, a
Die
Die Reflektivität R fällt von etwa 55% bei 280 nm mit einem kleinen Maximum um 380 nm und steigt bei etwa 730 nm langsam wieder an (
Im AOI-Intervall zwischen 0° und 45° fällt die Buntheit C* von etwa 6,5 bei 0° auf etwa 2,5 bei 30° bis auf 0 bei etwa 42°, um dann anzusteigen (
Im AOI-Intervall zwischen 0° und 25° variiert die Helligkeit L* kaum mit einem geringen Abfall und steigt bei 30° von etwa L*=4,5 auf etwa L*=8 bei 45° (
Im AOI-Intervall zwischen 0° und 45° fällt der Bunttonwinkel h zwischen 0° und 30° gering von etwa h=272° auf etwas über h=268° und fällt dann steiler ab auf h=260° bei AOI=40° (
Für die Restreflexfarbe Blau ist die Änderung Δh des Bunttonwinkels h zwischen 0°≤AOI≤30° bevorzugt höchstens Δh=4°, besonders bevorzugt höchstens Δh=3,5°. Die Änderung des Bunttonwinkels h zwischen 0°≤AOI≤33° ist bevorzugt höchstens Δh=5°, besonders bevorzugt höchstens Δh=4,5°.For the residual reflex color blue, the change Δh in the hue angle h between 0°≤AOI≤30° is preferably at most Δh=4°, particularly preferably at most Δh=3.5°. The change in the hue angle h between 0°≤AOI≤33° is preferably at most Δh=5°, particularly preferably at most Δh=4.5°.
Im AOI-Intervall zwischen 0° und 45° variieren die Kurven des photopischen Reflexionsgrads Rv und des skotopischen Reflexionsgrads Rv` praktisch nicht und bleiben bei 0,5 (Rv) bzw. 0,7-0,6 (Rv`) und steigen zwischen AOI=30° bis 45° auf einen Wert von 1 (
Die
Die Reflektivität R fällt von etwa 55% bei 280 nm mit einem kleinen Maximum um 380 nm und steigt bei etwa 730 nm langsam wieder an (
Im AOI-Intervall zwischen 0° und 45° steigt die Buntheit C* von etwa C*=5 bei 0° auf etwa C*=6 bei 30°, steigt leicht weiter an und fällt bei 40° dann ab
Im AOI-Intervall zwischen 0° und 30° ist die Helligkeit L* fast konstant mit L*=5,5 und beginnt bei 25° anzusteigen und erreicht L*=10 bei 45° (
Im AOI-Intervall zwischen 0° und 45° ist der Bunttonwinkel h zwischen 0° und 20° nahezu konstant mit etwa h=147° und beginnt ab 20° leicht anzusteigen auf etwas über h=155° bei AOI=40° (
Für die Restreflexfarbe Grün ist die Änderung Δh des Bunttonwinkels h zwischen 0°≤AOI≤30° bevorzugt höchstens Δh=5°, besonders bevorzugt Δh=2°. Die Änderung Δh des Bunttonwinkels h zwischen 0°≤AOI≤45° ist bevorzugt höchstens Δh=5°, besonders bevorzugt höchstens Δh=4,6°.For the residual reflex color green, the change Δh in the hue angle h between 0°≤AOI≤30° is preferably at most Δh=5°, particularly preferably Δh=2°. The change Δh in the hue angle h between 0°≤AOI≤45° is preferably at most Δh=5°, particularly preferably at most Δh=4.6°.
Im AOI-Intervall zwischen 0° und 45° sind die Kurven des photopischen Reflexionsgrads Rv und des skotopischen Reflexionsgrads Rv` praktisch gleich und sind zwischen 0° und 30° nahezu konstant und bleiben beide bei 0,6 (Rv) bzw. 0,7-0,6 (Rv`). Die Kurven steigen zwischen AOI=30° bis 45° auf einen Wert von 1,5 (
Die
Die Reflektivität R fällt von etwa 20% bei 280 nm ab mit einem etwas höheren Maximum von etwas über 30% um 330 nm, bleibt dann niedrig und steigt bei etwa 680 nm langsam wieder an (
Im AOI-Intervall zwischen 0° und 45° steigt die Buntheit C* langsam von etwa 6,5 bei 0° auf etwa 9 bei 30° an, hat ein Maximum von 10 bei etwa 35° und fällt dann wieder ab (
Im AOI-Intervall zwischen 0° und 25° zeigt die Helligkeit L* einen geringen Anstieg von etwa L*=6,5 bei 0° und L*=10 bei etwa 35° und fällt dann langsam wieder ab (
Im AOI-Intervall zwischen 0° und 45° fällt der Bunttonwinkel h zwischen 0° und 30° gering von etwa h=84° auf etwa h=83° und fällt dann ab 35° steiler ab (
Für eine Restreflexfarbe Gelb ist die Änderung Δh des Bunttonwinkels h zwischen 0°≤AOI≤30° bevorzugt höchstens Δh=1,5°, besonders bevorzugt Δh=0,9°. Die Änderung Δh des Bunttonwinkels h zwischen 0°≤AOI≤45° ist bevorzugt höchstens Δh=5, besonders bevorzugt höchstens Δh=4,6°.For a residual reflex color yellow, the change Δh of the hue angle h between 0°≤AOI≤30° is preferably at most Δh=1.5°, particularly preferably Δh=0.9°. The change Δh of the hue angle h between 0°≤AOI≤45° is preferably at most Δh=5, particularly preferably at most Δh=4.6°.
Im AOI-Intervall zwischen 0° und 45° verlaufen die Kurven des photopischen Reflexionsgrads Rv und des skotopischen Reflexionsgrads Rv' zueinander parallel und steigen bis 20° nur geringfügig an und bleiben bei 0,5 (Rv`) bzw. 0,7-0,6 (Rv) und steigen zwischen AOI=30° bis 45° auf einen Wert von 2 (
Die
Die Reflektivität R zeigt um 330 nm ein Maximum von etwa 20% und fällt dann auf geringe Werte und steigt bei etwa 530 nm langsam wieder an (
Im AOI-Intervall zwischen 0° und 45° steigt die Buntheit C* von etwa C*=4 bei 0° auf etwa C*=10 bei 30°, um dann zwischen 35° und 45° konstant zu sein (
Im AOI-Intervall zwischen 0° und 25° variiert die Helligkeit L* kaum mit einem geringen Anstieg von etwa L*=3 und steigt bei 20° von etwa L*=4 auf etwa L*=14 bei 45° (
Im AOI-Intervall zwischen 0° und 45° steigt der Bunttonwinkel h zwischen 0° und 30° geringfügig von etwa h=10° auf etwas über h=16° und steigt dann steiler ab auf h=20° bei AOI=40° (
Für eine Restreflexfarbe Rot ist die Änderung Δh des Bunttonwinkels h zwischen 0°≤AOI≤30° bevorzugt höchstens Δh=6°, besonders bevorzugt höchstens Δh=5,3°. Die Änderung Δh des Bunttonwinkels h zwischen 0°≤AOI≤45° ist bevorzugt Δh=20°, besonders bevorzugt höchstens Δh=16,8°.For a residual reflex color red, the change Δh of the hue angle h between 0°≤AOI≤30° is preferably at most Δh=6°, particularly preferably at most Δh=5.3°. The change Δh of the hue angle h between 0°≤AOI≤45° is preferably Δh=20°, particularly preferably at most Δh=16.8°.
Im AOI-Intervall zwischen 0° und 45° variieren die Kurven des photopischen Reflexionsgrads Rv und des skotopischen Reflexionsgrads Rv` praktisch nicht zwischen 0° und 20° und starten beide bei 0,35, während die Kurve (Rv) stärker steigt als die Kurve (Rv`)Sie steigen zwischen AOI=30° bis 45° auf einen Wert von 1 (
In der folgenden Tabelle 1 sind beispielshaft die Schichtdicken eines Schichtsystems mit vier Schichtpaketen 42, 44, 46, 48 angegeben:
Erkennbar ist, dass bei gleichbleibenden Schichtmaterialien von hochbrechender substratnäherer Teilschicht 60 und niedrigbrechender substratfernerer Teilschicht 62 die Farbe des Restreflexes alleine durch Veränderung der Schichtdicken der Teilschichten 60, 62 gelingt. Beispielsweise wird für alle hochbrechenden Teilschichten 60 Ta2O5 eingesetzt und für die niedrigbrechenden Teilschichten 62 SiO2.It can be seen that, with the same layer materials of the high-
Lediglich in dem substratfernsten Schichtpaket 48 ist eine vorzugsweise niedrigbrechende Funktionsschicht 64 zwischen der ersten und zweiten Teilschicht 60, 62 angeordnet. Diese dient beispielsweise zur Erhöhung der elektrischen Leitfähigkeit und/oder zur mechanischen Spannungsegalisierung und/oder als Diffusionssperre.Only in the
Der Unterschied zwischen den Ergebnissen an erfindungsgemäßen Schichtsystemen 10 mit den Restreflexfarben Blau, Grün, Gelb, Rot und der Restreflexfarbe eines bekannten Schichtsystems aus dem Stand der Technik für ein Betrachtungswinkelintervall von 0° bis 30° ist in
Wie aus den beiden Figuren ersichtlich ist, können unterschiedliche Reflexfarben mit hoher Farbkonstanz erreicht werden. Durch den relativ geringen Wert der Buntheit C* von höchstens 16, besonders bevorzugt von höchstens 14, am oberen Grenzwert des Betrachtungswinkels AOI erfolgt eine Farbfestlegung des Restreflexes.As can be seen from the two figures, different reflex colors with high color constancy can be achieved. The color of the residual reflection is determined by the relatively low value of the chroma C* of at most 16, particularly preferably of at most 14, at the upper limit of the viewing angle AOI.
In diesen beiden Polardiagrammen ist der Farbwinkel h der Winkel des Diagramms von 0° bis 360° und die Buntheit C* als Radius mit Werten von 0 bis 14 angegeben.In these two polar diagrams, the hue angle h is the angle of the diagram from 0° to 360° and the chroma C* is given as a radius with values from 0 to 14.
Dabei bezeichnet BL den Verlauf der Restreflexfarbe Blau, GR den Verlauf der Restreflexfarbe Grün, GE den Verlauf der Restreflexfarbe Gelb, RO den Verlauf der Restreflexfarbe Rot und PR den Verlauf der Restreflexfarbe eines Schichtsystems nach dem Stand der Technik.BL denotes the course of the residual reflex colour blue, GR the course of the residual reflex colour green, GE the course of the residual reflex colour yellow, RO the course of the residual reflex colour red and PR the course of the residual reflex colour of a layer system according to the state of the art.
Die kleinen Pfeile neben den Messpunkten geben die Richtung der Änderung des Betrachtungswinkels AOI von 0° bis 30° bzw. 0° bis 45 ° in
Für eine typische Restreflexfarbe Grün bei 0° eines handelsüblichen Brillenglases mit reflexmindernder Beschichtung nach dem Stand der Technik liegt die Änderung Δh des Bunttonwinkels h zwischen 0°≤AOI≤30° dagegen typischerweise bei Δh=127,2°. Die Farbe des Restreflexes verändert sich von grün über blau nach rot.For a typical residual reflection color of green at 0° of a commercially available spectacle lens with a reflection-reducing coating according to the state of the art, the change Δh of the hue angle h between 0°≤AOI≤30° is typically Δh=127.2°. The color of the residual reflection changes from green to blue to red.
Die Änderung des Bunttonwinkels h zwischen 0°≤AOI≤45° liegt typischerweise bei 161,7°.The change in hue angle h between 0°≤AOI≤45° is typically 161.7°.
Für die Restreflexfarbe Blau ist die Änderung Δh des Bunttonwinkels h zwischen 0°≤AOI≤30° bevorzugt höchstens Δh=4°, besonders bevorzugt höchstens Δh=3,5°. Die Änderung Δh des Bunttonwinkels h zwischen 0°≤AOI≤33° ist bevorzugt höchstens Δh=5°, besonders bevorzugt höchstens Δh=4,5°.For the residual reflex color blue, the change Δh in the hue angle h between 0°≤AOI≤30° is preferably at most Δh=4°, particularly preferably at most Δh=3.5°. The change Δh in the hue angle h between 0°≤AOI≤33° is preferably at most Δh=5°, particularly preferably at most Δh=4.5°.
Für eine Restreflexfarbe Grün ist die Änderung Δh des Bunttonwinkels h zwischen 0°≤AOI≤30° bevorzugt höchstens Δh=3°, besonders bevorzugt höchstens Δh=2°. Die Änderung Δh des Bunttonwinkels h zwischen 0°≤AOI≤45° ist bevorzugt höchstens Δh=5°, besonders bevorzugt höchstens Δh=4,6°.For a residual reflex color green, the change Δh of the hue angle h between 0°≤AOI≤30° is preferably at most Δh=3°, particularly preferably at most Δh=2°. The change Δh of the hue angle h between 0°≤AOI≤45° is preferably at most Δh=5°, particularly preferably at most Δh=4.6°.
Für eine Restreflexfarbe Gelb ist die Änderung Δh des Bunttonwinkels h zwischen 0°≤AOI≤30° bevorzugt höchstens Δh=1,5°, besonders bevorzugt höchstens Δh=0,9°. Die Änderung Δh des Bunttonwinkels h zwischen 0°≤AOI≤45° ist bevorzugt höchstens Δh=5°, besonders bevorzugt höchstens Δh=4,6°.For a residual reflex color yellow, the change Δh of the hue angle h between 0°≤AOI≤30° is preferably at most Δh=1.5°, particularly preferably at most Δh=0.9°. The change Δh of the hue angle h between 0°≤AOI≤45° is preferably at most Δh=5°, particularly preferably at most Δh=4.6°.
Für eine Restreflexfarbe Rot ist die Änderung Δh des Bunttonwinkels h zwischen 0°≤AOI≤30° bevorzugt höchstens Δh=6°, besonders bevorzugt höchstens Δh=5,3°. Die Änderung Δh des Bunttonwinkels h zwischen 0°≤AOI≤45° ist bevorzugt höchstens Δh=20°, besonders bevorzugt höchstens Δh=16,8°.For a residual reflex color red, the change Δh of the hue angle h between 0°≤AOI≤30° is preferably at most Δh=6°, particularly preferably at most Δh=5.3°. The change Δh of the hue angle h between 0°≤AOI≤45° is preferably at most Δh=20°, particularly preferably at most Δh=16.8°.
Im Verfahren zur Auslegung eines erfindungsgemäßen optischen Elements 100 wird in Schritt S100 ein Schichtdesign definiert. Das Schichtdesign umfasst zumindest ein erstes Material für hochbrechende Teilschichten 60 und ein zweites Material für niedrigbrechende Teilschichten 62, die Anzahl gewünschter Schichtpakete 42, 44, 46, 48, oder 42, 44, 46, 48, 50 mit den Teilschichten 60, 62, den Startwerten der Dicke der Teilschichten 60, 62 und dergleichen.In the method for designing an
In Schritt S102 werden Ziel-Farbwerte definiert. Die Zielfarbwerte umfassen Helligkeit L*, Buntheit C* und Bunttonwinkel h zumindest an Grenzwerten für ein Intervall eines Betrachtungswinkels AOI mit Grenzwerten von 0° und 30°. Als Optimierungsvorgabe kann optional eine Reflexionskurve vorgegeben sein, bevorzugt ist jedoch die Angabe der Ziel-Farbwerte bei den Grenzwerten des Betrachtungswinkels 0° und 30°.In step S102, target color values are defined. The target color values include brightness L*, chroma C* and hue angle h at least at limit values for an interval of a viewing angle AOI with limit values of 0° and 30°. A reflection curve can optionally be specified as an optimization specification, but it is preferred to specify the target color values at the limit values of the
In Schritt S104 wird ein Optimierungsverfahren zur Variation der Einzelschichtdicken durchgeführt, bis ein Optimierungsziel erreicht ist. Das Optimierungsverfahren variiert dann so lange die Einzelschichtdicken, bis das Optimierungsziel (Farbstabilität) erreicht ist.In step S104, an optimization process is carried out to vary the individual layer thicknesses until an optimization goal is reached. The optimization process then varies the individual layer thicknesses until the optimization goal (color stability) is reached.
Vorteilhaft werden die Ziel-Farbwerte an den Grenzwerten des Intervalls gleich oder möglichst ähnlich gewählt, wobei vorzugsweise lediglich die genannten Änderungen Δh des Bunttonwinkels h zugelassen werden.Advantageously, the target colour values at the limit values of the interval are chosen to be the same or as similar as possible, whereby preferably only the mentioned changes Δh of the hue angle h are permitted.
Typischerweise kann ein angepasster Simplex-Algorithmus als Berechnungsverfahren verwendet werden, jedoch können andere bekannte Simulationsverfahren ebenso geeignet sein. Simulationssoftware für derartige Optimierungsverfahren ist von verschiedenen Herstellern kommerziell erhältlich, beispielswiese die kommerzielle Simulationssoftware "Essential MacLeod" oder andere bekannte Simulationssoftware für die Herstellung optischer Schichten.Typically, an adapted simplex algorithm can be used as the calculation method, but other known simulation methods can also be suitable. Simulation software for such optimization methods is commercially available from various manufacturers, for example the commercial simulation software "Essential MacLeod" or other well-known simulation software for the production of optical layers.
Claims (10)
der Bunttonwinkel (h) in einem Intervall eines Betrachtungswinkels (AOI) mit den Grenzwerten 0° und 30° bezogen auf eine Oberflächennormale (70) auf das Schichtsystem (10) sich um höchstens 15° ändert.Optical element (100) comprising a substrate (20) and an interferometric reflection-reducing layer system (10) on at least one surface (22) of the substrate (20),
the hue angle (h) in an interval of a viewing angle (AOI) with the limit values 0° and 30° relative to a surface normal (70) on the layer system (10) changes by a maximum of 15°.
der Betrag einer Änderung (Δh) des Bunttonwinkels (h) der Restreflexfarbe Blau in dem Intervall eines Betrachtungswinkels (AOI) mit den Grenzwerten 0° und 30° bezogen auf eine Oberflächennormale (70) auf das Schichtsystem (10) höchstens 4° ist.Optical element according to claim 1, wherein:
the amount of change (Δh) of the hue angle (h) of the residual reflex color blue in the interval of a viewing angle (AOI) with the limit values 0° and 30° relative to a surface normal (70) on the layer system (10) is at most 4°.
der Betrag einer Änderung (ΔC*) der Buntheit (C*) der Restreflexfarbe Blau im Intervall des Betrachtungswinkels (AOI) höchstens etwa 4 ist;Optical element according to claim 1 or 2, wherein:
the magnitude of a change (ΔC*) in the chroma (C*) of the residual reflex colour blue in the viewing angle interval (AOI) is at most about 4;
der Betrag einer Änderung (Δh) des Bunttonwinkels (h) der Restreflexfarbe Grün in dem Intervall eines Betrachtungswinkels (AOI) mit den Grenzwerten 0° und 30° bezogen auf eine Oberflächennormale (70) auf das Schichtsystem (10) höchstens 3° ist.Optical element according to claim 1, wherein:
the amount of change (Δh) of the hue angle (h) of the residual reflex color green in the interval of a viewing angle (AOI) with the limit values 0° and 30° relative to a surface normal (70) on the layer system (10) is at most 3°.
der Betrag einer Änderung (ΔC*) der Buntheit (C*) der Restreflexfarbe Grün im Intervall des Betrachtungswinkels (AOI) höchstens etwa 1 ist.Optical element according to claim 1 or 4, wherein:
the amount of change (ΔC*) in the chroma (C*) of the residual reflex colour green in the viewing angle interval (AOI) is at most about 1.
der Betrag einer Änderung (Δh) des Bunttonwinkels (h) der Restreflexfarbe Gelb in dem Intervall eines Betrachtungswinkels (AOI) mit den Grenzwerten 0° und 30° bezogen auf eine Oberflächennormale (70) auf das Schichtsystem (10) höchstens 1,5° ist.Optical element according to claim 1, wherein:
the amount of change (Δh) of the hue angle (h) of the residual reflex color yellow in the interval of a viewing angle (AOI) with the limit values 0° and 30° relative to a surface normal (70) on the layer system (10) is at most 1.5°.
der Betrag einer Änderung (ΔC*) der Buntheit (C*) der Restreflexfarbe Gelb im Intervall des Betrachtungswinkels (AOI) höchstens etwa 2,5 ist;Optical element according to claim 1 or 6, wherein:
the magnitude of a change (ΔC*) in the chroma (C*) of the residual reflex colour yellow in the viewing angle interval (AOI) is at most about 2.5;
der Betrag einer Änderung (Δh) des Bunttonwinkels (h) der Restreflexfarbe Rot in dem Intervall eines Betrachtungswinkels (AOI) mit den Grenzwerten 0° und 30° bezogen auf eine Oberflächennormale (70) auf das Schichtsystem (10) höchstens 6° ist.Optical element according to claim 1, wherein:
the amount of a change (Δh) of the hue angle (h) of the residual reflex color red in the interval of a viewing angle (AOI) with the limit values 0° and 30° relative to a surface normal (70) on the layer system (10) is at most 6°.
der Betrag einer Änderung (ΔC*) der Buntheit (C*) der Restreflexfarbe Rot im Intervall des Betrachtungswinkels (AOI) höchstens etwa 6 ist.Optical element according to claim 1 or 8, wherein:
the amount of change (ΔC*) in the chroma (C*) of the residual reflex colour red in the viewing angle interval (AOI) is at most about 6.
Applications Claiming Priority (4)
| Application Number | Priority Date | Filing Date | Title |
|---|---|---|---|
| DE102018122444.3A DE102018122444B4 (en) | 2018-09-13 | 2018-09-13 | Optical element with a stack of layer packages |
| PCT/EP2019/073979 WO2020053140A1 (en) | 2018-09-13 | 2019-09-09 | Optical element with a stack of layer packets, and method for producing the optical element |
| EP23201834.1A EP4293411B1 (en) | 2018-09-13 | 2019-09-09 | Optical element with a stack of layer packets, and method for producing the optical element |
| EP19769091.0A EP3850406B1 (en) | 2018-09-13 | 2019-09-09 | Optical element with a stack of layer packets, and method for producing the optical element |
Related Parent Applications (3)
| Application Number | Title | Priority Date | Filing Date |
|---|---|---|---|
| EP19769091.0A Division EP3850406B1 (en) | 2018-09-13 | 2019-09-09 | Optical element with a stack of layer packets, and method for producing the optical element |
| EP23201834.1A Division-Into EP4293411B1 (en) | 2018-09-13 | 2019-09-09 | Optical element with a stack of layer packets, and method for producing the optical element |
| EP23201834.1A Division EP4293411B1 (en) | 2018-09-13 | 2019-09-09 | Optical element with a stack of layer packets, and method for producing the optical element |
Publications (2)
| Publication Number | Publication Date |
|---|---|
| EP4502702A2 true EP4502702A2 (en) | 2025-02-05 |
| EP4502702A3 EP4502702A3 (en) | 2025-04-23 |
Family
ID=67956746
Family Applications (3)
| Application Number | Title | Priority Date | Filing Date |
|---|---|---|---|
| EP24219649.1A Pending EP4502702A3 (en) | 2018-09-13 | 2019-09-09 | Optical element with a stack of layer packets, and method for producing the optical element |
| EP23201834.1A Active EP4293411B1 (en) | 2018-09-13 | 2019-09-09 | Optical element with a stack of layer packets, and method for producing the optical element |
| EP19769091.0A Active EP3850406B1 (en) | 2018-09-13 | 2019-09-09 | Optical element with a stack of layer packets, and method for producing the optical element |
Family Applications After (2)
| Application Number | Title | Priority Date | Filing Date |
|---|---|---|---|
| EP23201834.1A Active EP4293411B1 (en) | 2018-09-13 | 2019-09-09 | Optical element with a stack of layer packets, and method for producing the optical element |
| EP19769091.0A Active EP3850406B1 (en) | 2018-09-13 | 2019-09-09 | Optical element with a stack of layer packets, and method for producing the optical element |
Country Status (9)
| Country | Link |
|---|---|
| US (1) | US12313816B2 (en) |
| EP (3) | EP4502702A3 (en) |
| JP (1) | JP7252324B2 (en) |
| AU (1) | AU2019339724B2 (en) |
| CL (1) | CL2021000581A1 (en) |
| DE (1) | DE102018122444B4 (en) |
| ES (2) | ES3029736T3 (en) |
| PH (1) | PH12021550486A1 (en) |
| WO (1) | WO2020053140A1 (en) |
Families Citing this family (4)
| Publication number | Priority date | Publication date | Assignee | Title |
|---|---|---|---|---|
| EP3845933B1 (en) * | 2019-12-31 | 2022-09-07 | Essilor International | Computer-implemented method for designing an interferential stack for an optical component |
| US12066679B2 (en) * | 2020-02-28 | 2024-08-20 | Massachusetts Institute Of Technology | High power light absorbers having anti-reflection coating |
| JP7042895B1 (en) * | 2020-11-27 | 2022-03-28 | デクセリアルズ株式会社 | Optical laminates and articles |
| CN115220261A (en) * | 2022-06-09 | 2022-10-21 | 武汉华星光电技术有限公司 | Backlight module and display module |
Citations (1)
| Publication number | Priority date | Publication date | Assignee | Title |
|---|---|---|---|---|
| WO2016110339A1 (en) | 2015-01-07 | 2016-07-14 | Rodenstock Gmbh | Layer system and optical element comprising a layer system |
Family Cites Families (8)
| Publication number | Priority date | Publication date | Assignee | Title |
|---|---|---|---|---|
| FR2968774B1 (en) * | 2010-12-10 | 2013-02-08 | Essilor Int | OPTICAL ARTICLE COMPRISING A LOW REFLECTIVE ANTIREFLECTION COATING IN THE ULTRAVIOLET DOMAIN AND THE VISIBLE DOMAIN |
| JP2013156523A (en) | 2012-01-31 | 2013-08-15 | Topcon Corp | Substrate |
| EP3017324B1 (en) * | 2013-07-05 | 2021-11-10 | Essilor International | Optical article comprising an antireflective coating with a very low reflection in the visible region |
| FR3031195B1 (en) * | 2014-12-24 | 2017-02-10 | Essilor Int | OPTICAL ARTICLE COMPRISING AN INTERFERENTIAL COATING WITH HIGH REFLECTION IN THE FIELD OF ULTRAVIOLET |
| EP3045940B1 (en) | 2014-12-31 | 2025-08-20 | Essilor International | Ophthalmic lens comprising an anti-reflective coating designed for scotopic conditions |
| EP3268776B1 (en) * | 2015-03-13 | 2024-05-22 | Rupp + Hubrach Optik GmbH | Ophthalmic lens article comprising an antireflective coating in the visible region for low luminance conditions |
| JP2018536177A (en) * | 2015-09-14 | 2018-12-06 | コーニング インコーポレイテッド | High light transmittance and scratch resistant anti-reflective article |
| DE102017104523B4 (en) | 2017-03-03 | 2022-09-15 | Schott Ag | Method of making a transparent element having an anti-reflective coating with stable reflectivity and color under angle and under abrasion, and transparent element made by the method |
-
2018
- 2018-09-13 DE DE102018122444.3A patent/DE102018122444B4/en active Active
-
2019
- 2019-09-09 JP JP2021513194A patent/JP7252324B2/en active Active
- 2019-09-09 EP EP24219649.1A patent/EP4502702A3/en active Pending
- 2019-09-09 EP EP23201834.1A patent/EP4293411B1/en active Active
- 2019-09-09 ES ES23201834T patent/ES3029736T3/en active Active
- 2019-09-09 WO PCT/EP2019/073979 patent/WO2020053140A1/en not_active Ceased
- 2019-09-09 EP EP19769091.0A patent/EP3850406B1/en active Active
- 2019-09-09 ES ES19769091T patent/ES2966049T3/en active Active
- 2019-09-09 AU AU2019339724A patent/AU2019339724B2/en active Active
- 2019-09-09 US US17/274,481 patent/US12313816B2/en active Active
-
2021
- 2021-03-08 PH PH12021550486A patent/PH12021550486A1/en unknown
- 2021-03-09 CL CL2021000581A patent/CL2021000581A1/en unknown
Patent Citations (1)
| Publication number | Priority date | Publication date | Assignee | Title |
|---|---|---|---|---|
| WO2016110339A1 (en) | 2015-01-07 | 2016-07-14 | Rodenstock Gmbh | Layer system and optical element comprising a layer system |
Also Published As
| Publication number | Publication date |
|---|---|
| ES3029736T3 (en) | 2025-06-25 |
| WO2020053140A1 (en) | 2020-03-19 |
| EP3850406A1 (en) | 2021-07-21 |
| DE102018122444A1 (en) | 2020-03-19 |
| US12313816B2 (en) | 2025-05-27 |
| EP4293411A3 (en) | 2024-03-13 |
| EP4293411B1 (en) | 2025-01-29 |
| EP4293411A2 (en) | 2023-12-20 |
| EP3850406B1 (en) | 2023-10-11 |
| AU2019339724A1 (en) | 2021-04-08 |
| ES2966049T3 (en) | 2024-04-18 |
| DE102018122444B4 (en) | 2025-12-18 |
| PH12021550486A1 (en) | 2021-10-18 |
| JP2022500690A (en) | 2022-01-04 |
| AU2019339724B2 (en) | 2023-08-03 |
| EP3850406C0 (en) | 2023-10-11 |
| EP4502702A3 (en) | 2025-04-23 |
| CL2021000581A1 (en) | 2021-10-01 |
| JP7252324B2 (en) | 2023-04-04 |
| US20220050227A1 (en) | 2022-02-17 |
| BR112021004390A2 (en) | 2021-07-20 |
Similar Documents
| Publication | Publication Date | Title |
|---|---|---|
| EP3243091B1 (en) | Method of manufacturing an optical element comprising a layer system | |
| EP4293411B1 (en) | Optical element with a stack of layer packets, and method for producing the optical element | |
| EP2324376B1 (en) | Eyeglass lens having a color-neutral antireflective coating and method for the production thereof | |
| DE69913264T2 (en) | Anti-reflection glass with color suppression | |
| EP3997513B1 (en) | Spectacles and spectacle lens with filter effect for blue light | |
| DE102017105372B4 (en) | Transparent element with an anti-reflective coating and method of making same | |
| DE102017104523B4 (en) | Method of making a transparent element having an anti-reflective coating with stable reflectivity and color under angle and under abrasion, and transparent element made by the method | |
| EP4078249B1 (en) | Method for operating a coating system for producing layer systems | |
| DE102016110192A1 (en) | High chroma omnidirectional red structural color with semiconductor absorber layer | |
| EP3899422B1 (en) | Method for operating a coating installation for producing layer systems | |
| DE2240302B2 (en) | Optical multi-layer anti-reflective coating | |
| DE4100820C2 (en) | Multi-layer anti-reflection coating | |
| EP4327143A1 (en) | Anti-reflective coating having ir protection and mirroring at higher angles of incidence | |
| DE758767C (en) | Coating of at least three layers with different refractive indices for a non-metallic object to reduce its surface reflection | |
| WO2022148609A1 (en) | Reflector element for a motor vehicle illumination device | |
| EP3699648A1 (en) | Interference coating system without substrate, method for producing the same and its use | |
| DD298693A5 (en) | BREITHANDIGER MIRROR COVER | |
| DE112014001779T5 (en) | Colored antifogging mirror |
Legal Events
| Date | Code | Title | Description |
|---|---|---|---|
| PUAI | Public reference made under article 153(3) epc to a published international application that has entered the european phase |
Free format text: ORIGINAL CODE: 0009012 |
|
| STAA | Information on the status of an ep patent application or granted ep patent |
Free format text: STATUS: THE APPLICATION HAS BEEN PUBLISHED |
|
| AC | Divisional application: reference to earlier application |
Ref document number: 3850406 Country of ref document: EP Kind code of ref document: P Ref document number: 4293411 Country of ref document: EP Kind code of ref document: P |
|
| AK | Designated contracting states |
Kind code of ref document: A2 Designated state(s): AL AT BE BG CH CY CZ DE DK EE ES FI FR GB GR HR HU IE IS IT LI LT LU LV MC MK MT NL NO PL PT RO RS SE SI SK SM TR |
|
| REG | Reference to a national code |
Ref country code: DE Ref legal event code: R079 Free format text: PREVIOUS MAIN CLASS: G02B0027000000 Ipc: G02B0001115000 |
|
| PUAL | Search report despatched |
Free format text: ORIGINAL CODE: 0009013 |
|
| AK | Designated contracting states |
Kind code of ref document: A3 Designated state(s): AL AT BE BG CH CY CZ DE DK EE ES FI FR GB GR HR HU IE IS IT LI LT LU LV MC MK MT NL NO PL PT RO RS SE SI SK SM TR |
|
| RIC1 | Information provided on ipc code assigned before grant |
Ipc: G02B 27/00 20060101ALI20250318BHEP Ipc: G02B 1/115 20150101AFI20250318BHEP |
|
| STAA | Information on the status of an ep patent application or granted ep patent |
Free format text: STATUS: REQUEST FOR EXAMINATION WAS MADE |
|
| 17P | Request for examination filed |
Effective date: 20250912 |
