EP4462012B1 - Réservoir comprenant des enceintes internes et externes ainsi qu'au moins un conduit traversant au moins une plaque de fermeture déformable - Google Patents

Réservoir comprenant des enceintes internes et externes ainsi qu'au moins un conduit traversant au moins une plaque de fermeture déformable Download PDF

Info

Publication number
EP4462012B1
EP4462012B1 EP24167914.1A EP24167914A EP4462012B1 EP 4462012 B1 EP4462012 B1 EP 4462012B1 EP 24167914 A EP24167914 A EP 24167914A EP 4462012 B1 EP4462012 B1 EP 4462012B1
Authority
EP
European Patent Office
Prior art keywords
zone
connection
tank according
deformable
enclosure
Prior art date
Legal status (The legal status is an assumption and is not a legal conclusion. Google has not performed a legal analysis and makes no representation as to the accuracy of the status listed.)
Active
Application number
EP24167914.1A
Other languages
German (de)
English (en)
Other versions
EP4462012A1 (fr
Inventor
Nicolas Toureille
Chloé MESIC
Laure MORETTI
Current Assignee (The listed assignees may be inaccurate. Google has not performed a legal analysis and makes no representation or warranty as to the accuracy of the list.)
Airbus Operations SAS
Original Assignee
Airbus Operations SAS
Priority date (The priority date is an assumption and is not a legal conclusion. Google has not performed a legal analysis and makes no representation as to the accuracy of the date listed.)
Filing date
Publication date
Application filed by Airbus Operations SAS filed Critical Airbus Operations SAS
Publication of EP4462012A1 publication Critical patent/EP4462012A1/fr
Application granted granted Critical
Publication of EP4462012B1 publication Critical patent/EP4462012B1/fr
Active legal-status Critical Current
Anticipated expiration legal-status Critical

Links

Images

Classifications

    • FMECHANICAL ENGINEERING; LIGHTING; HEATING; WEAPONS; BLASTING
    • F17STORING OR DISTRIBUTING GASES OR LIQUIDS
    • F17CVESSELS FOR CONTAINING OR STORING COMPRESSED, LIQUEFIED OR SOLIDIFIED GASES; FIXED-CAPACITY GAS-HOLDERS; FILLING VESSELS WITH, OR DISCHARGING FROM VESSELS, COMPRESSED, LIQUEFIED, OR SOLIDIFIED GASES
    • F17C13/00Details of vessels or of the filling or discharging of vessels
    • F17C13/06Closures, e.g. cap, breakable member
    • FMECHANICAL ENGINEERING; LIGHTING; HEATING; WEAPONS; BLASTING
    • F17STORING OR DISTRIBUTING GASES OR LIQUIDS
    • F17CVESSELS FOR CONTAINING OR STORING COMPRESSED, LIQUEFIED OR SOLIDIFIED GASES; FIXED-CAPACITY GAS-HOLDERS; FILLING VESSELS WITH, OR DISCHARGING FROM VESSELS, COMPRESSED, LIQUEFIED, OR SOLIDIFIED GASES
    • F17C2201/00Vessel construction, in particular geometry, arrangement or size
    • F17C2201/01Shape
    • F17C2201/0104Shape cylindrical
    • F17C2201/0109Shape cylindrical with exteriorly curved end-piece
    • FMECHANICAL ENGINEERING; LIGHTING; HEATING; WEAPONS; BLASTING
    • F17STORING OR DISTRIBUTING GASES OR LIQUIDS
    • F17CVESSELS FOR CONTAINING OR STORING COMPRESSED, LIQUEFIED OR SOLIDIFIED GASES; FIXED-CAPACITY GAS-HOLDERS; FILLING VESSELS WITH, OR DISCHARGING FROM VESSELS, COMPRESSED, LIQUEFIED, OR SOLIDIFIED GASES
    • F17C2201/00Vessel construction, in particular geometry, arrangement or size
    • F17C2201/05Size
    • F17C2201/054Size medium (>1 m3)
    • FMECHANICAL ENGINEERING; LIGHTING; HEATING; WEAPONS; BLASTING
    • F17STORING OR DISTRIBUTING GASES OR LIQUIDS
    • F17CVESSELS FOR CONTAINING OR STORING COMPRESSED, LIQUEFIED OR SOLIDIFIED GASES; FIXED-CAPACITY GAS-HOLDERS; FILLING VESSELS WITH, OR DISCHARGING FROM VESSELS, COMPRESSED, LIQUEFIED, OR SOLIDIFIED GASES
    • F17C2201/00Vessel construction, in particular geometry, arrangement or size
    • F17C2201/05Size
    • F17C2201/056Small (<1 m3)
    • FMECHANICAL ENGINEERING; LIGHTING; HEATING; WEAPONS; BLASTING
    • F17STORING OR DISTRIBUTING GASES OR LIQUIDS
    • F17CVESSELS FOR CONTAINING OR STORING COMPRESSED, LIQUEFIED OR SOLIDIFIED GASES; FIXED-CAPACITY GAS-HOLDERS; FILLING VESSELS WITH, OR DISCHARGING FROM VESSELS, COMPRESSED, LIQUEFIED, OR SOLIDIFIED GASES
    • F17C2203/00Vessel construction, in particular walls or details thereof
    • F17C2203/01Reinforcing or suspension means
    • F17C2203/011Reinforcing means
    • F17C2203/012Reinforcing means on or in the wall, e.g. ribs
    • FMECHANICAL ENGINEERING; LIGHTING; HEATING; WEAPONS; BLASTING
    • F17STORING OR DISTRIBUTING GASES OR LIQUIDS
    • F17CVESSELS FOR CONTAINING OR STORING COMPRESSED, LIQUEFIED OR SOLIDIFIED GASES; FIXED-CAPACITY GAS-HOLDERS; FILLING VESSELS WITH, OR DISCHARGING FROM VESSELS, COMPRESSED, LIQUEFIED, OR SOLIDIFIED GASES
    • F17C2203/00Vessel construction, in particular walls or details thereof
    • F17C2203/01Reinforcing or suspension means
    • F17C2203/014Suspension means
    • F17C2203/018Suspension means by attachment at the neck
    • FMECHANICAL ENGINEERING; LIGHTING; HEATING; WEAPONS; BLASTING
    • F17STORING OR DISTRIBUTING GASES OR LIQUIDS
    • F17CVESSELS FOR CONTAINING OR STORING COMPRESSED, LIQUEFIED OR SOLIDIFIED GASES; FIXED-CAPACITY GAS-HOLDERS; FILLING VESSELS WITH, OR DISCHARGING FROM VESSELS, COMPRESSED, LIQUEFIED, OR SOLIDIFIED GASES
    • F17C2203/00Vessel construction, in particular walls or details thereof
    • F17C2203/03Thermal insulations
    • FMECHANICAL ENGINEERING; LIGHTING; HEATING; WEAPONS; BLASTING
    • F17STORING OR DISTRIBUTING GASES OR LIQUIDS
    • F17CVESSELS FOR CONTAINING OR STORING COMPRESSED, LIQUEFIED OR SOLIDIFIED GASES; FIXED-CAPACITY GAS-HOLDERS; FILLING VESSELS WITH, OR DISCHARGING FROM VESSELS, COMPRESSED, LIQUEFIED, OR SOLIDIFIED GASES
    • F17C2203/00Vessel construction, in particular walls or details thereof
    • F17C2203/06Materials for walls or layers thereof; Properties or structures of walls or their materials
    • F17C2203/0602Wall structures; Special features thereof
    • F17C2203/0612Wall structures
    • F17C2203/0626Multiple walls
    • F17C2203/0629Two walls
    • FMECHANICAL ENGINEERING; LIGHTING; HEATING; WEAPONS; BLASTING
    • F17STORING OR DISTRIBUTING GASES OR LIQUIDS
    • F17CVESSELS FOR CONTAINING OR STORING COMPRESSED, LIQUEFIED OR SOLIDIFIED GASES; FIXED-CAPACITY GAS-HOLDERS; FILLING VESSELS WITH, OR DISCHARGING FROM VESSELS, COMPRESSED, LIQUEFIED, OR SOLIDIFIED GASES
    • F17C2205/00Vessel construction, in particular mounting arrangements, attachments or identifications means
    • F17C2205/03Fluid connections, filters, valves, closure means or other attachments
    • F17C2205/0302Fittings, valves, filters, or components in connection with the gas storage device
    • F17C2205/0305Bosses, e.g. boss collars
    • FMECHANICAL ENGINEERING; LIGHTING; HEATING; WEAPONS; BLASTING
    • F17STORING OR DISTRIBUTING GASES OR LIQUIDS
    • F17CVESSELS FOR CONTAINING OR STORING COMPRESSED, LIQUEFIED OR SOLIDIFIED GASES; FIXED-CAPACITY GAS-HOLDERS; FILLING VESSELS WITH, OR DISCHARGING FROM VESSELS, COMPRESSED, LIQUEFIED, OR SOLIDIFIED GASES
    • F17C2205/00Vessel construction, in particular mounting arrangements, attachments or identifications means
    • F17C2205/03Fluid connections, filters, valves, closure means or other attachments
    • F17C2205/0302Fittings, valves, filters, or components in connection with the gas storage device
    • F17C2205/0352Pipes
    • F17C2205/0367Arrangements in parallel
    • FMECHANICAL ENGINEERING; LIGHTING; HEATING; WEAPONS; BLASTING
    • F17STORING OR DISTRIBUTING GASES OR LIQUIDS
    • F17CVESSELS FOR CONTAINING OR STORING COMPRESSED, LIQUEFIED OR SOLIDIFIED GASES; FIXED-CAPACITY GAS-HOLDERS; FILLING VESSELS WITH, OR DISCHARGING FROM VESSELS, COMPRESSED, LIQUEFIED, OR SOLIDIFIED GASES
    • F17C2209/00Vessel construction, in particular methods of manufacturing
    • F17C2209/22Assembling processes
    • F17C2209/228Assembling processes by screws, bolts or rivets
    • FMECHANICAL ENGINEERING; LIGHTING; HEATING; WEAPONS; BLASTING
    • F17STORING OR DISTRIBUTING GASES OR LIQUIDS
    • F17CVESSELS FOR CONTAINING OR STORING COMPRESSED, LIQUEFIED OR SOLIDIFIED GASES; FIXED-CAPACITY GAS-HOLDERS; FILLING VESSELS WITH, OR DISCHARGING FROM VESSELS, COMPRESSED, LIQUEFIED, OR SOLIDIFIED GASES
    • F17C2209/00Vessel construction, in particular methods of manufacturing
    • F17C2209/23Manufacturing of particular parts or at special locations
    • F17C2209/234Manufacturing of particular parts or at special locations of closing end pieces, e.g. caps
    • FMECHANICAL ENGINEERING; LIGHTING; HEATING; WEAPONS; BLASTING
    • F17STORING OR DISTRIBUTING GASES OR LIQUIDS
    • F17CVESSELS FOR CONTAINING OR STORING COMPRESSED, LIQUEFIED OR SOLIDIFIED GASES; FIXED-CAPACITY GAS-HOLDERS; FILLING VESSELS WITH, OR DISCHARGING FROM VESSELS, COMPRESSED, LIQUEFIED, OR SOLIDIFIED GASES
    • F17C2221/00Handled fluid, in particular type of fluid
    • F17C2221/01Pure fluids
    • F17C2221/012Hydrogen
    • FMECHANICAL ENGINEERING; LIGHTING; HEATING; WEAPONS; BLASTING
    • F17STORING OR DISTRIBUTING GASES OR LIQUIDS
    • F17CVESSELS FOR CONTAINING OR STORING COMPRESSED, LIQUEFIED OR SOLIDIFIED GASES; FIXED-CAPACITY GAS-HOLDERS; FILLING VESSELS WITH, OR DISCHARGING FROM VESSELS, COMPRESSED, LIQUEFIED, OR SOLIDIFIED GASES
    • F17C2223/00Handled fluid before transfer, i.e. state of fluid when stored in the vessel or before transfer from the vessel
    • F17C2223/01Handled fluid before transfer, i.e. state of fluid when stored in the vessel or before transfer from the vessel characterised by the phase
    • F17C2223/0146Two-phase
    • F17C2223/0153Liquefied gas, e.g. LPG, GPL
    • F17C2223/0161Liquefied gas, e.g. LPG, GPL cryogenic, e.g. LNG, GNL, PLNG
    • FMECHANICAL ENGINEERING; LIGHTING; HEATING; WEAPONS; BLASTING
    • F17STORING OR DISTRIBUTING GASES OR LIQUIDS
    • F17CVESSELS FOR CONTAINING OR STORING COMPRESSED, LIQUEFIED OR SOLIDIFIED GASES; FIXED-CAPACITY GAS-HOLDERS; FILLING VESSELS WITH, OR DISCHARGING FROM VESSELS, COMPRESSED, LIQUEFIED, OR SOLIDIFIED GASES
    • F17C2223/00Handled fluid before transfer, i.e. state of fluid when stored in the vessel or before transfer from the vessel
    • F17C2223/03Handled fluid before transfer, i.e. state of fluid when stored in the vessel or before transfer from the vessel characterised by the pressure level
    • F17C2223/033Small pressure, e.g. for liquefied gas
    • FMECHANICAL ENGINEERING; LIGHTING; HEATING; WEAPONS; BLASTING
    • F17STORING OR DISTRIBUTING GASES OR LIQUIDS
    • F17CVESSELS FOR CONTAINING OR STORING COMPRESSED, LIQUEFIED OR SOLIDIFIED GASES; FIXED-CAPACITY GAS-HOLDERS; FILLING VESSELS WITH, OR DISCHARGING FROM VESSELS, COMPRESSED, LIQUEFIED, OR SOLIDIFIED GASES
    • F17C2260/00Purposes of gas storage and gas handling
    • F17C2260/01Improving mechanical properties or manufacturing
    • F17C2260/011Improving strength
    • FMECHANICAL ENGINEERING; LIGHTING; HEATING; WEAPONS; BLASTING
    • F17STORING OR DISTRIBUTING GASES OR LIQUIDS
    • F17CVESSELS FOR CONTAINING OR STORING COMPRESSED, LIQUEFIED OR SOLIDIFIED GASES; FIXED-CAPACITY GAS-HOLDERS; FILLING VESSELS WITH, OR DISCHARGING FROM VESSELS, COMPRESSED, LIQUEFIED, OR SOLIDIFIED GASES
    • F17C2260/00Purposes of gas storage and gas handling
    • F17C2260/03Dealing with losses
    • F17C2260/035Dealing with losses of fluid
    • F17C2260/036Avoiding leaks
    • FMECHANICAL ENGINEERING; LIGHTING; HEATING; WEAPONS; BLASTING
    • F17STORING OR DISTRIBUTING GASES OR LIQUIDS
    • F17CVESSELS FOR CONTAINING OR STORING COMPRESSED, LIQUEFIED OR SOLIDIFIED GASES; FIXED-CAPACITY GAS-HOLDERS; FILLING VESSELS WITH, OR DISCHARGING FROM VESSELS, COMPRESSED, LIQUEFIED, OR SOLIDIFIED GASES
    • F17C2270/00Applications
    • F17C2270/01Applications for fluid transport or storage
    • F17C2270/0186Applications for fluid transport or storage in the air or in space
    • F17C2270/0189Planes

Definitions

  • the present application relates to a tank comprising internal and external enclosures as well as at least one conduit passing through at least one deformable closing plate.
  • US7344045 B2 discloses such a reservoir.
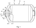
  • a hydrogen tank 10 comprises an external enclosure 12, an internal enclosure 14 positioned in the external enclosure 12, thermal insulation between the external and internal enclosures 12, 14 and two diametrically opposed connecting systems 16, 16' connecting the external and internal enclosures 12, 14.
  • the internal enclosure 14 may, depending on the situation, contract or expand more than the external enclosure 12. Consequently, at least one of the two connecting systems 16' is configured to allow movement of the internal enclosure 14 relative to the external enclosure 12 in a direction of movement.
  • the first connecting system 16 (the one on the left in the Figure 1 ) is rigid and does not allow any relative movement between the external and internal enclosures 12, 14 while a second connection system 16' (the one on the right on the Figure 1 ) allows relative movement between the external and internal enclosures 12, 14.
  • the first connection system 16 comprises a tubular interface 18 passing through the external and internal enclosures 12, 14 and having a first end 18.1 opening outside the external tank 12 and a second end 18.2 opening inside the internal tank 14, each of the external and internal enclosures 12, 14 comprising a through hole 12.1, 14.1 to allow the passage of the tubular interface 18.
  • the first connection system 16 comprises a first rigid connection 20 connecting the tubular interface 18 and the external enclosure 12 as well as a second rigid connection 20' connecting the tubular interface 18 and the internal enclosure 14.
  • one of the first and second connections 20, 20' comprises at least one flange comprising a first wing pressed against the external or internal enclosure 12, 14 and connected to the latter as well as a second wing pressed against the tubular interface 18 and connected to the latter.
  • the first connection system 16 comprises a first closing plate 22.1 closing the first end 18.1 of the tubular interface 18 as well as a second closing plate 22.2 closing the second end 18.2 of the tubular interface 18.
  • the hydrogen tank 10 comprises several conduits 24, 24' which pass through the first and second closure plates 22.1, 22.2 and each comprise a first end 24.1, 24.1' opening into the internal enclosure 14. All these conduits 24, 24' are rectilinear between the first and second closure plates 22.1, 22.2.
  • Each of the first and second closure plates 22.1, 22.2 comprises, for each conduit 24, 24', an orifice 26 to allow the conduit 24, 24' to pass through it.
  • each conduit 24, 24' is connected to the first or second closure plate 22.1, 22.2 by a weld bead 28 which connects the conduit 24, 24' to the first or second closure plate 22.1, 22.2 in a sealed manner around the entire perimeter of the conduit 24, 24'.
  • the materials of the different elements may be different: for example metallic/composite.
  • the present invention aims to remedy all or part of the aforementioned drawbacks.
  • the invention relates to a tank comprising an external enclosure, an internal enclosure positioned in the external enclosure, first and second connecting systems connecting the external and internal enclosures, a first wall connected to the external enclosure, a second wall connected to the internal enclosure and at least one conduit passing through the first and second walls.
  • Each of the first and second walls comprises at least one connection zone connected to the internal or external enclosure and, for each conduit, an orifice crossed by the conduit as well as a connection zone surrounding the orifice and comprising a connection connecting the conduit and the first or second wall.
  • At least one wall among the first and second walls comprises at least one deformable zone interposed between the connection zone and the linking zone, the deformable zone being configured to allow the linking zone to move relative to the connection zone.
  • the deformable zone makes it possible to compensate for a dimensional variation between the first and second walls and to limit the stresses on the connections in order to reduce the risk of damage to the latter.
  • each deformable zone describes a circle.
  • each deformable zone comprises at least one undulation describing a circle.
  • each deformable zone comprises several concentric undulations forming a bellows.
  • the wall has a first thickness outside the deformable zone(s) as well as a second thickness less than the first thickness in each deformable zone.
  • the wall comprises, for each connection zone, a deformable zone surrounding the connection zone.
  • the wall comprises a deformable zone surrounding several connecting zones.
  • connection zone is in the form of a crown.
  • deformable zone and the connection zone are concentric, the deformable zone surrounding all the connection zones.
  • each conduit comprises an intermediate section located between the first and second walls and having an excess length between said first and second walls.
  • each intermediate section has an axis which follows a trajectory in the form of a circular helix.
  • the tank comprises several conduits passing through the first and second walls, the helix-shaped trajectories of the intermediate sections of the different sections having approximately the same helix axis.
  • the invention also relates to an aircraft comprising at least one tank according to one of the preceding characteristics.
  • a tank 30 comprises an external enclosure 32, an internal enclosure 34 positioned in the external enclosure 32 as well as two diametrically opposed connection systems 36, connecting the external and internal enclosures 32, 34.
  • the tank 30 may comprise thermal insulation between the external and internal enclosures 32, 34.
  • the first connecting system 36 is substantially rigid while the second connecting system (not shown) allows relative movement between the external and internal enclosures 32, 34.
  • the second connecting system is configured to allow relative movement between the external and internal enclosures 32, 34, oriented in a longitudinal direction.
  • At least one aircraft comprises at least one tank 30 used to store a fluid in a cryogenic state, such as hydrogen.
  • a cryogenic state such as hydrogen
  • the first connecting system 36 comprises a tubular interface 38 passing through the external and internal enclosures 32, 34, connected to the latter and having a first end 38.1 opening outside the external enclosure 32, as well as a second end 38.2 opening inside the internal enclosure 34, each of the external and internal enclosures 32, 34 comprising a through hole 32.1, 34.1 to allow the passage of the tubular interface 38.
  • the tubular interface 38 has an axis of revolution A38 parallel to the longitudinal direction.
  • the first connecting system 36 comprises, for the internal enclosure 34, two L-shaped flanges 40, 40' positioned on either side of the internal enclosure 34, each flange 40, 40' comprising a first wing 40.1, 40.1' pressed against the internal enclosure 34 and connected to the latter as well as a second wing 40.2, 40.2' pressed against the tubular interface 38 and connected to the latter.
  • the first connecting system 36 also comprises, for the external enclosure 32, a flange 40 positioned outside the external enclosure 32, comprising a first wing 40.1 pressed against the external enclosure 32 and connected to the latter, as well as a second wing 40.2 pressed against the tubular interface 38 and connected to the latter.
  • the invention is not limited to this configuration for the connections between the tubular interface 38 and the external and internal enclosures 32, 34.
  • the first connection system 36 comprises a first closure plate 42.1 closing the first end 38.1 of the tubular interface 38 as well as a second closure plate 42.1. closure 42.2 closing the second end 38.2 of the tubular interface 38.
  • the tubular interface 38 comprises a first collar 44.1 at its first end 38.1 as well as a second collar 44.2 at its second end 38.2, each of the first and second collars 44.1, 44.2 having a contact face F44.1, F44.2, positioned in a transverse plane perpendicular to the axis of revolution A38, against which the corresponding closure plate 42.1, 42.1 is pressed.
  • Each of the first and second closure plates 42.1, 42.2 is in the form of a disc and comprises at least one connection zone 46 connected, directly or indirectly, to the external or internal enclosure 32, 34. At the connection zones 46, each closure plate 42.1, 42.2 is pressed against the contact face F44.1, F44.2 of the corresponding first or second collar 44.1, 44.2 and connected to the latter by connecting elements.
  • the connection zones 46 of the first and second closure plates 42.1, 42.2 are rigid. According to one configuration, each connection zone 46 is in the form of a crown.
  • Each of the first and second closure plates 42.1, 42.2 comprises a first face F42.1, F42.2 configured to be pressed against the contact face F44.1, F44.2 of the corresponding first or second collar 44.1, 44.2 as well as a second face F42.1', F42.2' opposite the first face F42.1, F42.2.
  • Each of the first and second closure plates 42.1, 42.2 has an axial direction DA substantially perpendicular to the first face F42.1, F42.2.
  • the first and second closure plates 42.1, 42.2 When attached to the tubular interface 38, the first and second closure plates 42.1, 42.2 are substantially parallel to each other and perpendicular to the longitudinal direction.
  • the axial direction DA is parallel to the longitudinal direction.
  • the tank 30 comprises at least one conduit 48 which passes through the first and second closure plates 42.1, 42.2 and has a first end 48.1 opening outside the external enclosure 32 as well as a second end 48.2 opening into the internal enclosure 34.
  • the first closure plate 42.1 comprises a first orifice 50.1 to allow the conduit 48 to pass through said first closure plate 42.1 as well that a first connecting zone 52.1 which surrounds the first orifice 50.1 and comprises a first connection 54.1 connecting the conduit 48 and the first closing plate 42.1.
  • each conduit 48 has an axis of revolution A48 parallel to the axial direction DA.
  • the second closure plate 42.2 comprises a second orifice 50.2 to allow the conduit 48 to pass through said second closure plate 42.2 as well as a second connection zone 52.2 which surrounds the second orifice 50.2 and comprises a second connection 54.2 connecting the conduit 48 and the second closure plate 42.2.
  • each conduit 48 has an axis of revolution A48 parallel to the axial direction DA.
  • the first and second connections 54.1, 54.2 are rigid connections. Consequently, the first and second connection zones 52.1, 52.2 are substantially rigid.
  • Each of the first and second connections 54.1, 54.2 is a sealed connection ensuring a fluid seal between the conduit 48 and the first or second closure plate 42.1, 42.2.
  • each of the first and second connections 54.1, 54.2 comprises at least one weld bead surrounding the conduit 48 and ensuring a sealed connection between the latter and the closure plate 42.1, 42.2.
  • the invention is not limited to this embodiment for the first and second rigid connections 54.1, 54.2.
  • the first or second connection 54.1, 54.2 could be in the form of a flange.
  • At least one wall 56 among the first and second closure plates 42.1, 42.2 comprises at least one deformable zone 58 interposed between the connection zone 46 and the first or second connection zone 52.1, 52.2 and configured to allow the first or second connection zone 52.1, 52.2 to move relative to the connection zone 46 in the axial direction DA.
  • the deformable zone 58 is configured to deform elastically. Outside the deformable zones 58, each of the first and second faces F42.1, F42.2, F44.1', F44.2' of the first and second closing plates 42.1, 42.2 is located in a transverse plane perpendicular to the axial direction DA while in each deformable zone, it is offset in the axial direction relative to this transverse plane.
  • the wall 56 comprises, for each connecting zone 52.1, 52.2, a deformable zone 58 surrounding the connecting zone 52.1, 52.2.
  • the wall 56 comprises a deformable zone 58 surrounding several connecting zones 52.1, 52.2.
  • each deformable zone 58 describes a circle. According to one configuration, the deformable zone 58 and the connection zone 46 are concentric and the deformable zone 58 surrounds all the connection zones 52.1, 52.2.
  • the deformable zone 58 comprises at least one undulation which describes a circle. According to one arrangement, the deformable zone 58 comprises several concentric undulations forming a bellows.
  • the wall 56 has a first thickness outside the deformable zone(s) 58 as well as a second thickness less than the first thickness in each deformable zone 58.
  • only one wall 56 among the first and second closing plates 42.1, 42.2 comprises at least one deformable zone 58.
  • each of the first and second closure plates 42.1, 42.2 comprises at least one deformable zone 58.
  • the first and second closing plates 42.1, 42.2 are obtained by stamping.
  • the outer enclosure 34 and the first closure plate 42.1 are in contact with an environment at room temperature while the inner enclosure 34, the second closure plate 42.2 and the section of the conduit 48 located in the inner enclosure 34 are in contact with a fluid at a cryogenic temperature, significantly lower than the room temperature.
  • This temperature difference causes a deformation of at least one element, among the outer and inner enclosures 32, 34, the conduit 48 and the first and second closure plates 42.1, 42.2, which tends to modify the spacing between the first and second closure plates 42.1, 42.2 at the first and second orifices 50.1, 50.2.
  • connection zone 52.1, 52.2 surrounding each conduit 48 can move in the axial direction DA relative to the tubular interface 38 and compensate for the dimensional variation between the first and second closure plates 42.1, 42.2, which makes it possible to limit the stresses on the first and second connections 54.1, 54.2 and to reduce the risks of damage to said first and second connections 54.1, 54.2.
  • this temperature difference causes different deformations of the tubular interface 38 and of at least one of the first and second closure plates 42.1, 42.2.
  • the differences in deformation are all the more significant when the materials of the tubular interface and the closure plates are different, for example when the tubular interface 38 is made of a composite material and the closure plates are metallic.
  • the fact that a closure plate 42.1, 42.2 comprises at least one deformable zone 58 allows radial deformations of said closure plate, which makes it possible to compensate for the differences in deformation between this closure plate and the tubular interface.
  • the tank 30 comprises several conduits 48, 48', 48" which pass through the first and second closing plates 42.1, 42.2.
  • each 48, 48', 48" conduit is straight
  • each conduit 48, 48', 48" comprises an intermediate section 60 located between the first and second closure plates 42.1, 42.2.
  • the intermediate section 60 has a curved axis A48 and an excess length between said first and second closure plates 42.1, 42.2.
  • This excess length of the intermediate section 60 of the conduit 48 makes it possible to compensate for the dimensional variation between the first and second closure plates 42.1, 42.2, to limit the stresses on the first and second connections 54.1, 54.2 and to reduce the risks of damage to said first and second connections 54.1, 54.2.
  • the axis A48 of the intermediate section 60 follows a trajectory in the form of a circular helix at least between the first and second closure plates 42.1, 42.2.
  • the first and second closure plates 42.1, 42.2 are substantially parallel to each other and angularly offset by approximately 180°. Consequently, if the first orifice 50.1 of the first closure plate 42.1 crossed by a conduit 48 is located at 6 o'clock then the second orifice 50.2 of the second closure plate 42.1 crossed by the same conduit 48 is located at 12 o'clock.
  • each of them comprises an intermediate section 60, 60', 60" which has a curved axis A48, A48', A48” .
  • All the intermediate sections 60, 60', 60" follow circular helix-shaped trajectories having approximately the same helix axis, at least between the first and second closing plates 42.1, 42.2.
  • the invention is not limited to the embodiments previously described.
  • the first and second closure plates 42.1, 42.2 could be positioned in line with the walls of the external and internal enclosures 32, 34 respectively.
  • the tank 30 comprises a first wall 42.1 connected to the external enclosure 32 at at least one connection zone 46, a second wall 42.2 connected to the internal enclosure 34 at at least one connection zone 46 as well as at least one conduit 48 passing through the first and second walls 42.1, 42.2.
  • the first and second walls 42.1, 42.2 respectively comprise first and second orifices 50.1, 50.2 to allow the conduit 48 to pass through the first and second walls 42.1, 42.2.
  • the reservoir 30 comprises, for each conduit 48 and each of the first and second walls 42.1, 42.2, a connection zone 52.1, 52.2 which surrounds the first or second orifice 50.1, 50.2 and comprises a connection 54.1, 54.2 connecting the conduit 48 and the first or second wall 42.1, 42.2.

Landscapes

  • Engineering & Computer Science (AREA)
  • Mechanical Engineering (AREA)
  • General Engineering & Computer Science (AREA)
  • Filling Or Discharging Of Gas Storage Vessels (AREA)
  • Joints Allowing Movement (AREA)
  • Catching Or Destruction (AREA)
  • Supply Devices, Intensifiers, Converters, And Telemotors (AREA)

Description

  • La présente demande se rapporte à un réservoir comprenant des enceintes interne et externe ainsi qu'au moins un conduit traversant au moins une plaque de fermeture déformable.
  • US7344045 B2 divulgue un tel réservoir.
  • Selon un mode de réalisation visible sur la figure 1, un réservoir à hydrogène 10 comprend une enceinte externe 12, une enceinte interne 14 positionnée dans l'enceinte externe 12, une isolation thermique entre les enceintes externe et interne 12, 14 ainsi que deux systèmes de liaison 16, 16' diamétralement opposés reliant les enceintes externe et interne 12, 14. En fonctionnement, en raison de la température et de la pression de stockage de l'hydrogène à l'état cryogénique, l'enceinte interne 14 peut, selon les situations, se contracter ou se dilater davantage que l'enceinte externe 12. Par conséquent, au moins un des deux systèmes de liaison 16' est configuré pour autoriser un déplacement de l'enceinte interne 14 par rapport à l'enceinte externe 12 selon une direction de déplacement. Selon un agencement, le premier système de liaison 16 (celui de gauche sur la figure 1) est rigide et ne permet aucun mouvement relatif entre les enceintes externe et interne 12, 14 alors qu'un deuxième système de liaison 16' (celui de droite sur la figure 1) autorise un mouvement relatif entre les enceintes externe et interne 12, 14.
  • Selon un mode de réalisation visible sur la figure 2, le premier système de liaison 16 comprend une interface tubulaire 18 traversant les enceintes externe et interne 12, 14 et présentant une première extrémité 18.1 débouchant à l'extérieur du réservoir externe 12 ainsi qu'une deuxième extrémité 18.2 débouchant à l'intérieur du réservoir interne 14, chacune des enceintes externe et interne 12, 14 comprenant un trou traversant 12.1, 14.1 pour permettre le passage de l'interface tubulaire 18. Le premier système de liaison 16 comprend une première liaison rigide 20 reliant l'interface tubulaire 18 et l'enceinte externe 12 ainsi qu'une deuxième liaison rigide 20' reliant l'interface tubulaire 18 et l'enceinte interne 14. Selon une configuration, une des première et deuxième liaisons 20, 20' comprend au moins une bride comportant une première aile plaquée contre l'enceinte externe ou interne 12, 14 et reliée à cette dernière ainsi qu'une deuxième aile plaquée contre l'interface tubulaire 18 et reliée à cette dernière. En complément, le premier système de liaison 16 comprend une première plaque de fermeture 22.1 obturant la première extrémité 18.1 de l'interface tubulaire 18 ainsi qu'une deuxième plaque de fermeture 22.2 obturant la deuxième extrémité 18.2 de l'interface tubulaire 18.
  • Le réservoir à hydrogène 10 comprend plusieurs conduits 24 24' qui traversent les première et deuxième plaques de fermeture 22.1, 22.2 et comportent chacun une première extrémité 24.1, 24.1' débouchant dans l'enceinte interne 14. Tous ces conduits 24, 24' sont rectilignes entre les première et deuxième plaques de fermeture 22.1, 22.2.
  • Chacune des première et deuxième plaques de fermeture 22.1, 22.2 comprend, pour chaque conduit 24, 24', un orifice 26 pour permettre au conduit 24, 24' de la traverser. Au droit de chaque orifice 26, chaque conduit 24, 24' est relié à la première ou deuxième plaque de fermeture 22.1, 22.2 par un cordon de soudure 28 qui relie le conduit 24, 24' à la première ou deuxième plaque de fermeture 22.1, 22.2 de manière étanche sur tout le pourtour du conduit 24, 24'.
  • Dans un mode de réalisation, les matériaux des différents éléments (enceintes, conduits, plaques de fermeture, systèmes de liaison) peuvent être différents : par exemple métallique/composite.
  • En fonctionnement, compte tenu de :
    • la pression dans l'enceinte interne 14,
    • la différence de dilatation thermique entre les matériaux des conduits 24, 24' et du système de liaison 16,
    • la différence de température très importante entre d'une part l'enceinte externe 12 et la première plaque de fermeture 22.1 et d'autre part l'enceinte interne 14 et la deuxième plaque de fermeture 22.2,
    • les conduits 24, 24', les cordons de soudure 28 ainsi que les enceintes interne et externe sont soumis à d'importantes contraintes qui peuvent les endommager.
    EXPOSE DE L'INVENTION :
  • La présente invention vise à remédier à tout ou partie des inconvénients précités.
  • A cet effet, l'invention a pour objet un réservoir comprenant une enceinte externe, une enceinte interne positionnée dans l'enceinte externe, des premier et deuxième systèmes de liaison reliant les enceintes externe et interne, une première paroi reliée à l'enceinte externe, une deuxième paroi reliée à l'enceinte interne ainsi qu'au moins un conduit traversant les première et deuxième parois. Chacune des première et deuxième parois comporte au moins une zone de raccordement reliée à l'enceinte interne ou externe et, pour chaque conduit, un orifice traversé par le conduit ainsi qu'une zone de liaison entourant l'orifice et comportant une liaison reliant le conduit et la première ou deuxième paroi.
  • Selon l'invention, au moins une paroi parmi les première et deuxième parois comprend au moins une zone déformable intercalée entre la zone de raccordement et la zone de liaison, la zone déformable étant configurée pour permettre à la zone de liaison de se déplacer par rapport à la zone de raccordement.
  • La zone déformable permet de compenser une variation dimensionnelle entre les première et deuxième parois et de limiter les contraintes sur les liaisons afin de réduire les risques d'endommagement de ces dernières.
  • Selon une autre caractéristique, chaque zone déformable décrit un cercle.
  • Selon une autre caractéristique, chaque zone déformable comprend au moins une ondulation décrivant un cercle.
  • Selon une autre caractéristique, chaque zone déformable comprend plusieurs ondulations concentriques formant un soufflet.
  • Selon une autre caractéristique, la paroi présente une première épaisseur en dehors de la (ou des) zone(s) déformable(s) ainsi qu'une deuxième épaisseur inférieure à la première épaisseur dans chaque zone déformable.
  • Selon une autre caractéristique, la paroi comprend, pour chaque zone de liaison, une zone déformable entourant la zone de liaison.
  • Selon une autre caractéristique, la paroi comprend une zone déformable entourant plusieurs zones de liaison.
  • Selon une autre caractéristique, la zone de raccordement se présente sous la forme d'une couronne. En complément, la zone déformable et la zone de raccordement sont concentriques, la zone déformable entourant toutes les zones de liaison.
  • Selon une configuration, le premier système de liaison comprend :
    • une interface tubulaire traversant les enceintes externe et interne, reliée à ces dernières et présentant une première extrémité débouchant à l'extérieur de l'enceinte externe ainsi qu'une deuxième extrémité débouchant à l'intérieur de l'enceinte interne,
    • une première plaque de fermeture fermant la première extrémité de l'interface tubulaire et comportant au moins une zone déformable,
    • une deuxième plaque de fermeture fermant la deuxième extrémité de l'interface tubulaire et comportant au moins une zone déformable.
  • Selon une autre caractéristique, chaque conduit comprend un tronçon intercalaire situé entre les première et deuxième parois et présentant une surlongueur entre lesdites première et deuxième parois.
  • Selon une autre caractéristique, chaque tronçon intercalaire présente un axe qui suit une trajectoire en forme d'hélice circulaire.
  • Selon une autre caractéristique, le réservoir comprend plusieurs conduits traversant les première et deuxième parois, les trajectoires en forme d'hélice des tronçons intercalaires des différents tronçons présentant approximativement un même axe d'hélice.
  • L'invention a également pour objet un aéronef comportant au moins un réservoir selon l'une des caractéristiques précédentes.
  • D'autres caractéristiques et avantages ressortiront de la description de l'invention qui va suivre, description donnée à titre d'exemple uniquement, en regard des dessins annexés parmi lesquels :
    • La figure 1 est une coupe longitudinale d'un réservoir illustrant un mode de réalisation de l'art antérieur,
    • La figure 2 est une coupe longitudinale d'un système de liaison, reliant des enceintes externe et interne du réservoir visible sur la figure 1, illustrant un mode de réalisation de l'art antérieur,
    • La figure 3 est une coupe longitudinale d'un système de liaison, reliant des enceintes externe et interne d'un réservoir, illustrant un mode de réalisation de l'invention,
    • La figure 4 est une vue en perspective d'un système de liaison, reliant des enceintes externe et interne d'un réservoir, illustrant un mode de réalisation de l'invention,
    • La figure 5 est une coupe d'une plaque de fermeture illustrant un mode de réalisation de l'invention,
    • La figure 6 est une coupe d'une partie de la plaque de fermeture visible sur la figure 5 illustrant un détail de ladite plaque,
    • La figure 7 est une vue en perspective d'un système de liaison, reliant des enceintes externe et interne d'un réservoir, illustrant un autre mode de réalisation de l'invention.
  • Selon un mode de réalisation visible sur les figures 3, 4 et 7, un réservoir 30 comprend une enceinte externe 32, une enceinte interne 34 positionnée dans l'enceinte externe 32 ainsi que deux systèmes de liaison 36, diamétralement opposés, reliant les enceintes externe et interne 32, 34. Selon une configuration, le réservoir 30 peut comprendre une isolation thermique entre les enceintes externe et interne 32, 34.
  • Selon un agencement, le premier système de liaison 36 est sensiblement rigide alors que le deuxième système de liaison (non représenté) autorise un mouvement relatif entre les enceintes externe et interne 32, 34. Le deuxième système de liaison est configuré pour permettre un mouvement relatif entre les enceintes externe et interne 32, 34, orienté selon une direction longitudinale.
  • Selon une application, au moins un aéronef comprend au moins un réservoir 30 utilisé pour stocker un fluide à l'état cryogénique, comme de l'hydrogène. Bien entendu, l'invention n'est pas limitée à cette application.
  • Le premier système de liaison 36 comprend une interface tubulaire 38 traversant les enceintes externe et interne 32, 34, reliée à ces dernières et présentant une première extrémité 38.1 débouchant à l'extérieur de l'enceinte externe 32, ainsi qu'une deuxième extrémité 38.2 débouchant à l'intérieur de l'enceinte interne 34, chacune des enceintes externe et interne 32, 34 comprenant un trou traversant 32.1, 34.1 pour permettre le passage de l'interface tubulaire 38. L'interface tubulaire 38 présente un axe de révolution A38 parallèle à la direction longitudinale.
  • Selon une configuration, le premier système de liaison 36 comprend, pour l'enceinte interne 34, deux brides 40, 40' en L positionnées de part et d'autre de l'enceinte interne 34, chaque bride 40, 40' comportant une première aile 40.1, 40.1' plaquée contre l'enceinte interne 34 et reliée à cette dernière ainsi qu'une deuxième aile 40.2, 40.2' plaquée contre l'interface tubulaire 38 et reliée à cette dernière. Le premier système de liaison 36 comprend également, pour l'enceinte externe 32, une bride 40 positionnée à l'extérieur de l'enceinte externe 32, comportant une première aile 40.1 plaquée contre l'enceinte externe 32 et reliée à cette dernière, ainsi qu'une deuxième aile 40.2 plaquée contre l'interface tubulaire 38 et reliée à cette dernière. Bien entendu, l'invention n'est pas limitée à cette configuration pour les liaisons entre l'interface tubulaire 38 et les enceintes externe et interne 32, 34.
  • Le premier système de liaison 36 comprend une première plaque de fermeture 42.1 fermant la première extrémité 38.1 de l'interface tubulaire 38 ainsi qu'une deuxième plaque de fermeture 42.2 fermant la deuxième extrémité 38.2 de l'interface tubulaire 38. Selon une configuration, l'interface tubulaire 38 comprend une première collerette 44.1 au niveau de sa première extrémité 38.1 ainsi qu'une deuxième collerette 44.2 au niveau de sa deuxième extrémité 38.2, chacune des première et deuxième collerettes 44.1, 44.2 présentant une face de contact F44.1, F44.2, positionnée dans un plan transversal perpendiculaire à l'axe de révolution A38, contre laquelle est plaquée la plaque de fermeture 42.1, 42.1 correspondante. Chacune des première et deuxième plaques de fermeture 42.1, 42.2 se présente sous la forme d'un disque et comprend au moins une zone de raccordement 46 reliée, directement ou indirectement, à l'enceinte externe ou interne 32, 34. Au niveau des zones de raccordement 46, chaque plaque de fermeture 42.1, 42.2 est plaquée contre la face de contact F44.1, F44.2 de la première ou deuxième collerette 44.1, 44.2 correspondante et reliée à cette dernière par des éléments de liaison. Les zones de raccordement 46 des première et deuxième plaques de fermeture 42.1, 42.2 sont rigides. Selon une configuration, chaque zone de raccordement 46 se présente sous la forme d'une couronne.
  • Chacune des première et deuxième plaques de fermeture 42.1, 42.2 comprend une première face F42.1, F42.2 configurée pour être plaquée contre la face de contact F44.1, F44.2 de la première ou deuxième collerette 44.1, 44.2 correspondante ainsi qu'une deuxième face F42.1', F42.2' opposée à la première face F42.1, F42.2. Chacune des première et deuxième plaques de fermeture 42.1, 42.2 présente une direction axiale DA sensiblement perpendiculaire à la première face F42.1, F42.2.
  • Lorsqu'elles sont fixées à l'interface tubulaire 38, les première et deuxième plaques de fermeture 42.1, 42.2 sont sensiblement parallèles entre elles et perpendiculaires à la direction longitudinale. Pour chacune des première et deuxième plaques de fermeture 42.1, 42.2, la direction axiale DA est parallèle à la direction longitudinale.
  • Bien entendu, l'invention n'est pas limitée à ce mode de réalisation pour l'interface tubulaire 38.
  • Le réservoir 30 comprend au moins un conduit 48 qui traverse les première et deuxième plaques de fermeture 42.1, 42.2 et comporte une première extrémité 48.1 débouchant à l'extérieur de l'enceinte externe 32 ainsi qu'une deuxième extrémité 48.2 débouchant dans l'enceinte interne 34.
  • Pour chaque conduit 48, la première plaque de fermeture 42.1 comprend un premier orifice 50.1 pour permettre au conduit 48 de traverser ladite première plaque de fermeture 42.1 ainsi qu'une première zone de liaison 52.1 qui entoure le premier orifice 50.1 et comporte une première liaison 54.1 reliant le conduit 48 et la première plaque de fermeture 42.1. Au niveau du premier orifice 50.1, chaque conduit 48 présente un axe de révolution A48 parallèle à la direction axiale DA.
  • Pour chaque conduit 48, la deuxième plaque de fermeture 42.2 comprend un deuxième orifice 50.2 pour permettre au conduit 48 de traverser ladite deuxième plaque de fermeture 42.2 ainsi qu'une deuxième zone de liaison 52.2 qui entoure le deuxième orifice 50.2 et comporte une deuxième liaison 54.2 reliant le conduit 48 et la deuxième plaque de fermeture 42.2. Au niveau du deuxième orifice 50.2, chaque conduit 48 présente un axe de révolution A48 parallèle à la direction axiale DA.
  • Les première et deuxième liaisons 54.1, 54.2 sont des liaisons rigides. Par conséquent, les première et deuxième zones de liaison 52.1, 52.2 sont sensiblement rigides. Chacune des première et deuxième liaisons 54.1, 54.2 est une liaison étanche assurant une étanchéité au fluide entre le conduit 48 et la première ou deuxième plaque de fermeture 42.1, 42.2. A titre d'exemple, chacune des première et deuxième liaisons 54.1, 54.2 comprend au moins un cordon de soudure entourant le conduit 48 et assurant une liaison étanche entre ce dernier et la plaque de fermeture 42.1, 42.2. Bien entendu, l'invention n'est pas limitée à ce mode de réalisation pour les première et deuxième liaisons 54.1, 54.2 rigides. A titre d'exemple, la première ou deuxième liaison 54.1, 54.2 pourrait se présenter sous la forme d'une bride.
  • Selon une caractéristique, au moins une paroi 56 parmi les première et deuxième plaques de fermeture 42.1, 42.2 comprend au moins une zone déformable 58 intercalée entre la zone de raccordement 46 et la première ou deuxième zone de liaison 52.1, 52.2 et configurée pour permettre à la première ou deuxième zone de liaison 52.1, 52.2 de se déplacer par rapport à la zone de raccordement 46 selon la direction axiale DA. Selon une configuration, la zone déformable 58 est configurée pour se déformer de manière élastique. En dehors des zones déformables 58, chacune des premières et deuxièmes faces F42.1, F42.2, F44.1', F44.2' des première et deuxième plaques de fermeture 42.1, 42.2 est située dans un plan transversal perpendiculaire à la direction axiale DA alors que dans chaque zone déformable, elle est décalée selon la direction axiale par rapport à ce plan transversal.
  • Selon un agencement, la paroi 56 comprend, pour chaque zone de liaison 52.1, 52.2, une zone déformable 58 entourant la zone de liaison 52.1, 52.2.
  • Selon un autre agencement visible sur les figures 3 à 7, la paroi 56 comprend une zone déformable 58 entourant plusieurs zones de liaison 52.1, 52.2.
  • Selon un mode de réalisation, chaque zone déformable 58 décrit un cercle. Selon une configuration, la zone déformable 58 et la zone de raccordement 46 sont concentriques et la zone déformable 58 entoure toutes les zones de liaison 52.1, 52.2.
  • Selon un mode de réalisation, la zone déformable 58 comprend au moins une ondulation qui décrit un cercle. Selon un agencement, la zone déformable 58 comprend plusieurs ondulations concentriques formant un soufflet.
  • Selon un mode de réalisation visible sur la figure 6, la paroi 56 présente une première épaisseur en dehors de la (ou des) zone(s) déformable(s) 58 ainsi qu'une deuxième épaisseur inférieure à la première épaisseur dans chaque zone déformable 58.
  • Selon un agencement, seule une paroi 56 parmi les première et deuxième plaques de fermeture 42.1, 42.2 comprend au moins une zone déformable 58.
  • Selon un autre agencement, chacune des première et deuxième plaques de fermeture 42.1, 42.2 comprend au moins une zone déformable 58.
  • Selon un mode opératoire, les première et deuxième plaques de fermeture 42.1, 42.2 sont obtenues par emboutissage.
  • En fonctionnement, l'enceinte externe 34 et la première plaque de fermeture 42.1 sont en contact avec un environnement à température ambiante alors que l'enceinte interne 34, la deuxième plaque de fermeture 42.2 et le tronçon du conduit 48 situé dans l'enceinte interne 34 sont en contact avec un fluide à une température cryogénique, nettement inférieure à la température ambiante. Cette différence de température engendre une déformation d'au moins un élément, parmi les enceintes externe et interne 32, 34, le conduit 48 et les première et deuxième plaques de fermeture 42.1, 42.2, qui tend à modifier l'écartement entre les première et deuxième plaques de fermeture 42.1, 42.2 au niveau des premier et deuxième orifices 50.1, 50.2. Du fait qu'au moins une des plaques de fermeture 42.1, 42.2 comporte au moins une zone déformable 58, la zone de liaison 52.1, 52.2 entourant chaque conduit 48 peut se déplacer selon la direction axiale DA par rapport à l'interface tubulaire 38 et compenser la variation dimensionnelle entre les première et deuxième plaques de fermeture 42.1, 42.2, ce qui permet de limiter les contraintes sur les première et deuxième liaisons 54.1, 54.2 et de réduire les risques d'endommagement desdites première et deuxième liaisons 54.1, 54.2.
  • D'autre part, cette différence de température engendre des déformations différentes de l'interface tubulaire 38 et d'au moins l'une des première et deuxième plaques de fermeture 42.1, 42.2. Les différences de déformation sont d'autant plus importantes que les matériaux de l'interface tubulaire et des plaques de fermeture sont différents, par exemple lorsque l'interface tubulaire 38 est réalisée dans un matériau composite et les plaques de fermeture sont métalliques. Le fait qu'une plaque de fermeture 42.1, 42.2 comporte au moins une zone déformable 58 autorise des déformations radiales de ladite plaque de fermeture, ce qui permet de compenser les différences de déformation entre cette plaque de fermeture et l'interface tubulaire.
  • Selon un mode de réalisation, le réservoir 30 comprend plusieurs conduits 48, 48', 48" qui traversent les première et deuxième plaques de fermeture 42.1, 42.2.
  • Selon un mode de réalisation visible sur les figures 2 à 6, chaque conduit 48, 48', 48" est rectiligne
  • Selon un autre mode de réalisation visible sur la figure 7, chaque conduit 48, 48', 48" comprend un tronçon intercalaire 60 situé entre les première et deuxième plaques de fermeture 42.1, 42.2. Pour au moins un des conduits 48, 48', 48", le tronçon intercalaire 60 présente un axe A48 courbe et une surlongueur entre lesdites première et deuxième plaques de fermeture 42.1, 42.2. Cette surlongueur du tronçon intercalaire 60 du conduit 48 permet de compenser la variation dimensionnelle entre les première et deuxième plaques de fermeture 42.1, 42.2, de limiter les contraintes sur les première et deuxième liaisons 54.1, 54.2 et de réduire les risques d'endommagement desdites première et deuxième liaisons 54.1, 54.2.
  • Selon une configuration, l'axe A48 du tronçon intercalaire 60 suit une trajectoire en forme d'hélice circulaire au moins entre les première et deuxième plaques de fermeture 42.1, 42.2. Selon un agencement, les première et deuxième plaques de fermeture 42.1, 42.2 sont sensiblement parallèles entre elles et décalées angulairement d'environ 180°. Par conséquent, si le premier orifice 50.1 de la première plaque de fermeture 42.1 traversé par un conduit 48 est situé à 6h alors le deuxième orifice 50.2 de la deuxième plaque de fermeture 42.1 traversé par le même conduit 48 est situé à 12h.
  • En présence de plusieurs conduits 48, 48', 48" traversant les première et deuxième plaques de fermeture 42.1, 42.2, chacun d'eux comprend un tronçon intercalaire 60, 60', 60" qui présente un axe A48, A48', A48" courbe. Tous les tronçons intercalaires 60, 60', 60" suivent des trajectoires en forme d'hélice circulaire présentant approximativement un même axe d'hélice, au moins entre les première et deuxième plaques de fermeture 42.1, 42.2.
  • Bien entendu, l'invention n'est pas limitée aux modes de réalisation précédemment décrits. Les première et deuxième plaques de fermeture 42.1, 42.2 pourraient être positionnées au droit respectivement des parois des enceintes externe et interne 32, 34. Quel que soit le mode de réalisation, le réservoir 30 comprend une première paroi 42.1 reliée à l'enceinte externe 32 au niveau d'au moins une zone de raccordement 46, une deuxième paroi 42.2 reliée à l'enceinte interne 34 au niveau d'au moins une zone de raccordement 46 ainsi qu'au moins un conduit 48 traversant les première et deuxième parois 42.1, 42.2. Pour chaque conduit 48, les première et deuxième parois 42.1, 42.2 comprennent respectivement des premier et deuxième orifices 50.1, 50.2 pour permettre au conduit 48 de traverser les première et deuxième parois 42.1, 42.2. En complément, le réservoir 30 comprend, pour chaque conduit 48 et chacune des première et deuxième parois 42.1, 42.2, une zone de liaison 52.1, 52.2 qui entoure le premier ou deuxième orifice 50.1, 50.2 et comporte une liaison 54.1, 54.2 reliant le conduit 48 et la première ou deuxième paroi 42.1, 42.2.

Claims (13)

  1. Réservoir comprenant une enceinte externe (32), une enceinte interne (34) positionnée dans l'enceinte externe (32), des premier et deuxième systèmes de liaison (36) reliant les enceintes externe et interne (32, 34), une première paroi (42.1) reliée à l'enceinte externe (32), une deuxième paroi (42.2) reliée à l'enceinte interne (34) ainsi qu'au moins un conduit (48) traversant les première et deuxième parois (42.1, 42.2), chacune des première et deuxième parois (42.1, 42.2) comportant au moins une zone de raccordement (46) reliée à l'enceinte interne ou externe (32, 34) et, pour chaque conduit (48), un orifice (50.1, 50.2) traversé par le conduit (48) ainsi qu'une zone de liaison (52.1, 52.2) entourant l'orifice (50.1, 50.2) et comportant une liaison (54.1, 54.2) reliant le conduit (48) et la première ou deuxième paroi (42.1, 42.2) ; caractérisé en ce qu'au moins une paroi (56) parmi les première et deuxième parois (42.1, 42.2) comprend au moins une zone déformable (58) intercalée entre la zone de raccordement (46) et la zone de liaison (52.1, 52.2), la zone déformable (58) étant configurée pour permettre à la zone de liaison (52.1, 52.2) de se déplacer par rapport à la zone de raccordement (46).
  2. Réservoir selon la revendication précédente, caractérisé en ce que chaque zone déformable (58) décrit un cercle.
  3. Réservoir selon la revendication précédente, caractérisé en ce que chaque zone déformable (58) comprend au moins une ondulation décrivant un cercle.
  4. Réservoir selon la revendication précédente, caractérisé en ce que chaque zone déformable (58) comprend plusieurs ondulations concentriques formant un soufflet.
  5. Réservoir selon l'une des revendications précédentes, caractérisé en ce que la paroi (56) présente une première épaisseur en dehors de la (ou des) zone(s) déformable(s) (58) ainsi qu'une deuxième épaisseur inférieure à la première épaisseur dans chaque zone déformable (58).
  6. Réservoir selon l'une des revendications précédentes, caractérisé en ce que la paroi (56) comprend, pour chaque zone de liaison (52.1, 52.2), une zone déformable (58) entourant la zone de liaison (52.1, 52.2).
  7. Réservoir selon l'une des revendications 1 à 5, caractérisé en ce que la paroi (56) comprend une zone déformable (58) entourant plusieurs zones de liaison (52.1, 52.2).
  8. Réservoir selon la revendication précédente, caractérisé en ce que la zone de raccordement (46) se présente sous la forme d'une couronne et en ce que la zone déformable (58) et la zone de raccordement (46) sont concentriques, la zone déformable (58) entourant toutes les zones de liaison (52.1, 52.2).
  9. Réservoir selon l'une des revendications précédentes, caractérisé en ce que le premier système de liaison comprend :
    - une interface tubulaire (38) traversant les enceintes externe et interne (32, 34), reliée à ces dernières et présentant une première extrémité (38.1) débouchant à l'extérieur de l'enceinte externe (32) ainsi qu'une deuxième extrémité (38.2) débouchant à l'intérieur de l'enceinte interne (34),
    - une première plaque de fermeture fermant la première extrémité (38.1) de l'interface tubulaire (38) et comportant au moins une zone déformable (58),
    - une deuxième plaque de fermeture fermant la deuxième extrémité (38.2) de l'interface tubulaire (38) et comportant au moins une zone déformable (58).
  10. Réservoir selon l'une des revendications précédentes, caractérisé en ce que chaque conduit (48, 48', 48") comprend un tronçon intercalaire (60, 60', 60") situé entre les première et deuxième parois (42.1, 42.2) et présentant une surlongueur entre lesdites première et deuxième parois (42.1, 42.2).
  11. Réservoir selon la revendication précédente, caractérisé en ce que chaque tronçon intercalaire (60) présente un axe (A48) qui suit une trajectoire en forme d'hélice circulaire.
  12. Réservoir selon la revendication précédente, caractérisé en ce que le réservoir comprend plusieurs conduits (48, 48', 48") traversant les première et deuxième parois (42.1, 42.2), les trajectoires en forme d'hélice des tronçons intercalaires (60, 60', 60") des différents tronçons(48, 48', 48") présentant approximativement un même axe d'hélice.
  13. Aéronef comportant au moins un réservoir selon l'une des revendications précédentes.
EP24167914.1A 2023-04-28 2024-03-29 Réservoir comprenant des enceintes internes et externes ainsi qu'au moins un conduit traversant au moins une plaque de fermeture déformable Active EP4462012B1 (fr)

Applications Claiming Priority (1)

Application Number Priority Date Filing Date Title
FR2304309A FR3148281A1 (fr) 2023-04-28 2023-04-28 Réservoir comprenant des enceintes interne et externe ainsi qu’au moins un conduit traversant au moins une plaque de fermeture déformable

Publications (2)

Publication Number Publication Date
EP4462012A1 EP4462012A1 (fr) 2024-11-13
EP4462012B1 true EP4462012B1 (fr) 2025-06-18

Family

ID=87554985

Family Applications (1)

Application Number Title Priority Date Filing Date
EP24167914.1A Active EP4462012B1 (fr) 2023-04-28 2024-03-29 Réservoir comprenant des enceintes internes et externes ainsi qu'au moins un conduit traversant au moins une plaque de fermeture déformable

Country Status (3)

Country Link
US (1) US20240360961A1 (fr)
EP (1) EP4462012B1 (fr)
FR (1) FR3148281A1 (fr)

Family Cites Families (11)

* Cited by examiner, † Cited by third party
Publication number Priority date Publication date Assignee Title
SU1502897A1 (ru) * 1986-04-30 1989-08-23 Особое конструкторско-технологическое бюро Физико-технического института низких температур АН УССР Криогенный сосуд дл транспортировани
NL8801044A (nl) * 1988-04-21 1989-11-16 Kelpa Cryogenics B V Transporttank voor bij lage temperatuur vloeibaar gemaakt gas.
CA2441775C (fr) * 2003-09-23 2004-09-28 Westport Research Inc. Contenant pour fluide cryogenique
JP5782305B2 (ja) * 2011-06-24 2015-09-24 ジャパンマリンユナイテッド株式会社 液化ガスタンク
CA2852451A1 (fr) * 2014-05-23 2015-11-23 Westport Power Inc. Support de recipient de stockage cryogenique
KR102021038B1 (ko) * 2018-01-15 2019-09-11 하이리움산업(주) 저장탱크
FR3089596B1 (fr) * 2018-12-11 2021-03-19 Air Liquide Dispositif de support et conteneur de stockage de gaz liquéfié
US20230321607A1 (en) * 2020-08-17 2023-10-12 InnoSpire Technologies GmbH Monolithic Membrane Filters
KR20220134282A (ko) * 2021-03-26 2022-10-05 주식회사래티스테크놀로지 수축 변위 흡수가 가능한 맨홀 구조 및 이를 포함하는 이중 탱크
FR3127273A1 (fr) * 2021-11-25 2023-03-24 Airbus Operations Sas Reservoir cryogenique ameliore pour aeronef et aeronef comprenant un tel reservoir.
CN114857487A (zh) * 2022-05-25 2022-08-05 中太(苏州)氢能源科技有限公司 一种锥形回型迷宫结构支撑结构

Also Published As

Publication number Publication date
US20240360961A1 (en) 2024-10-31
EP4462012A1 (fr) 2024-11-13
FR3148281A1 (fr) 2024-11-01

Similar Documents

Publication Publication Date Title
EP2071241B1 (fr) Dispositif de guidage d&#39;un élément dans un orifice d&#39;une paroi de chambre de combustion de turbomachine
EP1265035B1 (fr) Liaison de chambre de combustion CMC de turbomachine en deux parties
EP4215791B1 (fr) Dispositif de raccordement de deux conduits à double paroi et canalisation d&#39;hydrogène comprenant ledit dispositif de raccordement
EP3301344B1 (fr) Dispositif de raccordement comprenant un manchon souple pour collecter un liquide en cas de fuite ou de suintement
EP0376772A1 (fr) Raccord tubulaire articulé notamment pour tuyauterie d&#39;échappement de véhicule autombile
EP4462012B1 (fr) Réservoir comprenant des enceintes internes et externes ainsi qu&#39;au moins un conduit traversant au moins une plaque de fermeture déformable
EP4455542B1 (fr) Réservoir comprenant des enceintes interne et externe ainsi qu au moins un conduit traversant lesdites enceintes et suivant une trajectoire courbe entre lesdites enceintes
EP4428430B1 (fr) Réservoir comprenant des enceintes interne et externe ainsi qu au moins un système de liaison linéaire annulaire reliant lesdites enceintes
EP0702189A1 (fr) Joint de dilatation pour conduites chaudes
WO2019193273A1 (fr) Assemblage d&#39;étanchéité métallique pour l&#39;étanchéité entre un arbre tournant et un bâti fixe
EP4455543B1 (fr) Réservoir comprenant des enceintes interne et externe ainsi qu&#39;au moins une interface tubulaire en deux parties traversant les enceintes interne et externe
EP3814616B1 (fr) Dispositif de guidage dans une chambre de combustion
FR3137736A1 (fr) Système de conduite monté entre deux éléments d’un système de distribution
FR2899933A1 (fr) Collecteur d&#39;echappement composite
US12181081B2 (en) Pipe connecting system
WO2020161197A2 (fr) Elément d&#39;isolation thermique et ensemble comprenant un tel élément
FR2465947A1 (fr) Boitier pour l&#39;isolation thermique d&#39;appareils ou accessoires montes sur des tuyauteries de transport de fluide
FR2839135A1 (fr) Dispositif d&#39;accouplement souple entre deux elements transportant des fluides sous pression
FR3160396A1 (fr) Réservoir comprenant au moins un système de liaison à lames de jonction périphériques reliant une structure intérieure et une enceinte, aéronef comportant au moins un tel réservoir
FR2471544A1 (fr) Dispositif de raccordement souple entre deux troncons de conduite de fluide
EP1611388A1 (fr) Joint d&#39;etancheite aux gaz pour raccordement entre deux conduits et raccordement entre deux conduits incorporant ledit joint
WO2008152311A2 (fr) Dispositif d&#39;isolation d&#39;un collecteur d&#39;echappement
EP3584488A1 (fr) Canalisation comprenant deux conduits reliés par un système de raccordement amélioré
FR2905439A1 (fr) Joint metallique a insert elastique
FR2663724A1 (fr) Echangeur de chaleur tubulaire pour fluides respectivement chaud et froid a grandes differences respectivement de temperature et de pression.

Legal Events

Date Code Title Description
PUAI Public reference made under article 153(3) epc to a published international application that has entered the european phase

Free format text: ORIGINAL CODE: 0009012

STAA Information on the status of an ep patent application or granted ep patent

Free format text: STATUS: REQUEST FOR EXAMINATION WAS MADE

17P Request for examination filed

Effective date: 20240329

AK Designated contracting states

Kind code of ref document: A1

Designated state(s): AL AT BE BG CH CY CZ DE DK EE ES FI FR GB GR HR HU IE IS IT LI LT LU LV MC ME MK MT NL NO PL PT RO RS SE SI SK SM TR

GRAP Despatch of communication of intention to grant a patent

Free format text: ORIGINAL CODE: EPIDOSNIGR1

STAA Information on the status of an ep patent application or granted ep patent

Free format text: STATUS: GRANT OF PATENT IS INTENDED

INTG Intention to grant announced

Effective date: 20250120

GRAS Grant fee paid

Free format text: ORIGINAL CODE: EPIDOSNIGR3

GRAA (expected) grant

Free format text: ORIGINAL CODE: 0009210

STAA Information on the status of an ep patent application or granted ep patent

Free format text: STATUS: THE PATENT HAS BEEN GRANTED

AK Designated contracting states

Kind code of ref document: B1

Designated state(s): AL AT BE BG CH CY CZ DE DK EE ES FI FR GB GR HR HU IE IS IT LI LT LU LV MC ME MK MT NL NO PL PT RO RS SE SI SK SM TR

REG Reference to a national code

Ref country code: GB

Ref legal event code: FG4D

Free format text: NOT ENGLISH

REG Reference to a national code

Ref country code: CH

Ref legal event code: EP

REG Reference to a national code

Ref country code: DE

Ref legal event code: R096

Ref document number: 602024000210

Country of ref document: DE

REG Reference to a national code

Ref country code: CH

Ref legal event code: EP

REG Reference to a national code

Ref country code: IE

Ref legal event code: FG4D

Free format text: LANGUAGE OF EP DOCUMENT: FRENCH

PG25 Lapsed in a contracting state [announced via postgrant information from national office to epo]

Ref country code: FI

Free format text: LAPSE BECAUSE OF FAILURE TO SUBMIT A TRANSLATION OF THE DESCRIPTION OR TO PAY THE FEE WITHIN THE PRESCRIBED TIME-LIMIT

Effective date: 20250618

REG Reference to a national code

Ref country code: LT

Ref legal event code: MG9D

PG25 Lapsed in a contracting state [announced via postgrant information from national office to epo]

Ref country code: GR

Free format text: LAPSE BECAUSE OF FAILURE TO SUBMIT A TRANSLATION OF THE DESCRIPTION OR TO PAY THE FEE WITHIN THE PRESCRIBED TIME-LIMIT

Effective date: 20250919

Ref country code: NO

Free format text: LAPSE BECAUSE OF FAILURE TO SUBMIT A TRANSLATION OF THE DESCRIPTION OR TO PAY THE FEE WITHIN THE PRESCRIBED TIME-LIMIT

Effective date: 20250918

PG25 Lapsed in a contracting state [announced via postgrant information from national office to epo]

Ref country code: BG

Free format text: LAPSE BECAUSE OF FAILURE TO SUBMIT A TRANSLATION OF THE DESCRIPTION OR TO PAY THE FEE WITHIN THE PRESCRIBED TIME-LIMIT

Effective date: 20250618

PG25 Lapsed in a contracting state [announced via postgrant information from national office to epo]

Ref country code: HR

Free format text: LAPSE BECAUSE OF FAILURE TO SUBMIT A TRANSLATION OF THE DESCRIPTION OR TO PAY THE FEE WITHIN THE PRESCRIBED TIME-LIMIT

Effective date: 20250618

PG25 Lapsed in a contracting state [announced via postgrant information from national office to epo]

Ref country code: RS

Free format text: LAPSE BECAUSE OF FAILURE TO SUBMIT A TRANSLATION OF THE DESCRIPTION OR TO PAY THE FEE WITHIN THE PRESCRIBED TIME-LIMIT

Effective date: 20250918

REG Reference to a national code

Ref country code: NL

Ref legal event code: MP

Effective date: 20250618

PG25 Lapsed in a contracting state [announced via postgrant information from national office to epo]

Ref country code: LV

Free format text: LAPSE BECAUSE OF FAILURE TO SUBMIT A TRANSLATION OF THE DESCRIPTION OR TO PAY THE FEE WITHIN THE PRESCRIBED TIME-LIMIT

Effective date: 20250618

PG25 Lapsed in a contracting state [announced via postgrant information from national office to epo]

Ref country code: NL

Free format text: LAPSE BECAUSE OF FAILURE TO SUBMIT A TRANSLATION OF THE DESCRIPTION OR TO PAY THE FEE WITHIN THE PRESCRIBED TIME-LIMIT

Effective date: 20250618

PG25 Lapsed in a contracting state [announced via postgrant information from national office to epo]

Ref country code: PT

Free format text: LAPSE BECAUSE OF FAILURE TO SUBMIT A TRANSLATION OF THE DESCRIPTION OR TO PAY THE FEE WITHIN THE PRESCRIBED TIME-LIMIT

Effective date: 20251020

REG Reference to a national code

Ref country code: AT

Ref legal event code: MK05

Ref document number: 1804465

Country of ref document: AT

Kind code of ref document: T

Effective date: 20250618

PG25 Lapsed in a contracting state [announced via postgrant information from national office to epo]

Ref country code: IS

Free format text: LAPSE BECAUSE OF FAILURE TO SUBMIT A TRANSLATION OF THE DESCRIPTION OR TO PAY THE FEE WITHIN THE PRESCRIBED TIME-LIMIT

Effective date: 20251018

PG25 Lapsed in a contracting state [announced via postgrant information from national office to epo]

Ref country code: AT

Free format text: LAPSE BECAUSE OF FAILURE TO SUBMIT A TRANSLATION OF THE DESCRIPTION OR TO PAY THE FEE WITHIN THE PRESCRIBED TIME-LIMIT

Effective date: 20250618

Ref country code: SM

Free format text: LAPSE BECAUSE OF FAILURE TO SUBMIT A TRANSLATION OF THE DESCRIPTION OR TO PAY THE FEE WITHIN THE PRESCRIBED TIME-LIMIT

Effective date: 20250618

PG25 Lapsed in a contracting state [announced via postgrant information from national office to epo]

Ref country code: CZ

Free format text: LAPSE BECAUSE OF FAILURE TO SUBMIT A TRANSLATION OF THE DESCRIPTION OR TO PAY THE FEE WITHIN THE PRESCRIBED TIME-LIMIT

Effective date: 20250618

PG25 Lapsed in a contracting state [announced via postgrant information from national office to epo]

Ref country code: PL

Free format text: LAPSE BECAUSE OF FAILURE TO SUBMIT A TRANSLATION OF THE DESCRIPTION OR TO PAY THE FEE WITHIN THE PRESCRIBED TIME-LIMIT

Effective date: 20250618

PG25 Lapsed in a contracting state [announced via postgrant information from national office to epo]

Ref country code: EE

Free format text: LAPSE BECAUSE OF FAILURE TO SUBMIT A TRANSLATION OF THE DESCRIPTION OR TO PAY THE FEE WITHIN THE PRESCRIBED TIME-LIMIT

Effective date: 20250618

PG25 Lapsed in a contracting state [announced via postgrant information from national office to epo]

Ref country code: SK

Free format text: LAPSE BECAUSE OF FAILURE TO SUBMIT A TRANSLATION OF THE DESCRIPTION OR TO PAY THE FEE WITHIN THE PRESCRIBED TIME-LIMIT

Effective date: 20250618

PG25 Lapsed in a contracting state [announced via postgrant information from national office to epo]

Ref country code: ES

Free format text: LAPSE BECAUSE OF FAILURE TO SUBMIT A TRANSLATION OF THE DESCRIPTION OR TO PAY THE FEE WITHIN THE PRESCRIBED TIME-LIMIT

Effective date: 20250618