EP4408027A2 - Hörgerät mit antenne - Google Patents
Hörgerät mit antenne Download PDFInfo
- Publication number
- EP4408027A2 EP4408027A2 EP24171658.8A EP24171658A EP4408027A2 EP 4408027 A2 EP4408027 A2 EP 4408027A2 EP 24171658 A EP24171658 A EP 24171658A EP 4408027 A2 EP4408027 A2 EP 4408027A2
- Authority
- EP
- European Patent Office
- Prior art keywords
- hearing aid
- radiating segment
- feeding structure
- segment
- antenna system
- Prior art date
- Legal status (The legal status is an assumption and is not a legal conclusion. Google has not performed a legal analysis and makes no representation as to the accuracy of the status listed.)
- Pending
Links
- 238000004891 communication Methods 0.000 claims abstract description 82
- 230000005236 sound signal Effects 0.000 claims abstract description 37
- 230000008878 coupling Effects 0.000 claims abstract description 30
- 238000010168 coupling process Methods 0.000 claims abstract description 30
- 238000005859 coupling reaction Methods 0.000 claims abstract description 30
- 208000016354 hearing loss disease Diseases 0.000 claims abstract description 12
- 206010011878 Deafness Diseases 0.000 claims abstract description 11
- 230000010370 hearing loss Effects 0.000 claims abstract description 11
- 231100000888 hearing loss Toxicity 0.000 claims abstract description 11
- 238000006243 chemical reaction Methods 0.000 claims abstract description 10
- 230000005672 electromagnetic field Effects 0.000 claims description 74
- 210000003128 head Anatomy 0.000 description 20
- 239000000463 material Substances 0.000 description 10
- 239000004033 plastic Substances 0.000 description 8
- 230000008901 benefit Effects 0.000 description 5
- 230000005540 biological transmission Effects 0.000 description 5
- 210000000613 ear canal Anatomy 0.000 description 4
- 238000005192 partition Methods 0.000 description 4
- -1 PCABS Polymers 0.000 description 3
- 239000004957 Zytel Substances 0.000 description 3
- 229920006102 Zytel® Polymers 0.000 description 3
- 239000000919 ceramic Substances 0.000 description 3
- 239000004417 polycarbonate Substances 0.000 description 3
- 229920000515 polycarbonate Polymers 0.000 description 3
- 241000234295 Musa Species 0.000 description 2
- 235000018290 Musa x paradisiaca Nutrition 0.000 description 2
- 238000010586 diagram Methods 0.000 description 2
- 230000006870 function Effects 0.000 description 2
- 238000002372 labelling Methods 0.000 description 2
- 238000012986 modification Methods 0.000 description 2
- 230000004048 modification Effects 0.000 description 2
- 230000003071 parasitic effect Effects 0.000 description 2
- 239000004642 Polyimide Substances 0.000 description 1
- 239000003989 dielectric material Substances 0.000 description 1
- 210000000883 ear external Anatomy 0.000 description 1
- 238000004519 manufacturing process Methods 0.000 description 1
- 239000002184 metal Substances 0.000 description 1
- 230000005404 monopole Effects 0.000 description 1
- 229920001721 polyimide Polymers 0.000 description 1
- 230000009467 reduction Effects 0.000 description 1
- 230000002123 temporal effect Effects 0.000 description 1
Images
Classifications
-
- H—ELECTRICITY
- H04—ELECTRIC COMMUNICATION TECHNIQUE
- H04R—LOUDSPEAKERS, MICROPHONES, GRAMOPHONE PICK-UPS OR LIKE ACOUSTIC ELECTROMECHANICAL TRANSDUCERS; DEAF-AID SETS; PUBLIC ADDRESS SYSTEMS
- H04R25/00—Deaf-aid sets, i.e. electro-acoustic or electro-mechanical hearing aids; Electric tinnitus maskers providing an auditory perception
- H04R25/55—Deaf-aid sets, i.e. electro-acoustic or electro-mechanical hearing aids; Electric tinnitus maskers providing an auditory perception using an external connection, either wireless or wired
- H04R25/554—Deaf-aid sets, i.e. electro-acoustic or electro-mechanical hearing aids; Electric tinnitus maskers providing an auditory perception using an external connection, either wireless or wired using a wireless connection, e.g. between microphone and amplifier or using Tcoils
-
- H—ELECTRICITY
- H01—ELECTRIC ELEMENTS
- H01Q—ANTENNAS, i.e. RADIO AERIALS
- H01Q1/00—Details of, or arrangements associated with, antennas
- H01Q1/27—Adaptation for use in or on movable bodies
- H01Q1/273—Adaptation for carrying or wearing by persons or animals
-
- H—ELECTRICITY
- H04—ELECTRIC COMMUNICATION TECHNIQUE
- H04R—LOUDSPEAKERS, MICROPHONES, GRAMOPHONE PICK-UPS OR LIKE ACOUSTIC ELECTROMECHANICAL TRANSDUCERS; DEAF-AID SETS; PUBLIC ADDRESS SYSTEMS
- H04R2225/00—Details of deaf aids covered by H04R25/00, not provided for in any of its subgroups
- H04R2225/51—Aspects of antennas or their circuitry in or for hearing aids
-
- H—ELECTRICITY
- H04—ELECTRIC COMMUNICATION TECHNIQUE
- H04R—LOUDSPEAKERS, MICROPHONES, GRAMOPHONE PICK-UPS OR LIKE ACOUSTIC ELECTROMECHANICAL TRANSDUCERS; DEAF-AID SETS; PUBLIC ADDRESS SYSTEMS
- H04R25/00—Deaf-aid sets, i.e. electro-acoustic or electro-mechanical hearing aids; Electric tinnitus maskers providing an auditory perception
- H04R25/55—Deaf-aid sets, i.e. electro-acoustic or electro-mechanical hearing aids; Electric tinnitus maskers providing an auditory perception using an external connection, either wireless or wired
- H04R25/552—Binaural
Definitions
- the present disclosure relates to a hearing aid having an antenna, the antenna being configured for providing the hearing aid with wireless communication capabilities.
- Hearing aids are very small and delicate devices and comprise many electronic and metallic components contained in a housing small enough to fit in the ear canal of a human or behind the outer ear.
- the many electronic and metallic components in combination with the small size of the hearing aid housing impose high design constraints on radio frequency antennas to be used in hearing aids with wireless communication capabilities.
- the antenna in the hearing aid has to be designed to achieve a satisfactory performance despite the limitation and other design constraints imposed by the size of the hearing aid.
- a hearing aid comprising an assembly.
- the assembly comprises: a microphone for reception of sound and conversion of the received sound into a corresponding first audio signal, a signal processor for processing the first audio signal into a second audio signal compensating a hearing loss of a user of the hearing aid, and a wireless communication unit configured for wireless communication.
- the assembly of the hearing aid comprises an antenna system.
- the antenna system comprises a first feeding structure and a radiating segment.
- the first feeding structure is connected or coupled to the wireless communication unit.
- the radiating segment may be adjacent to at least a part of the first feeding structure.
- the radiating segment may be galvanic disconnected from at least a part of the first feeding structure.
- the first feeding structure may thus exchange energy with the radiating segment through capacitance.
- the radiating segment may be capacitively coupled to the first feeding structure.
- the radiating segment may be galvanic disengaged or galvanic separated from at least a part of the first feeding structure.
- a hearing aid with an antenna system which has an optimized wireless transmission.
- the antenna system of the hearing aid according to this disclosure may be excited or fed capacitively, and thus may avoid creating a maximum current magnitude where the antenna is fed, i.e. at a feed point for the antenna. A length of the antenna may thereby be reduced and advantageously placed the confined space of the hearing aid.
- the capacitive coupling such as the capacitance of the capacitive coupling
- the capacitive coupling may be between, 0.5pF and 20pF, such as between 0.5pF and 15 pF, such as between 0.5pF and 10 pF, such as between 1pF and 10pF, such as between 1pF and 5pF, between 5pF and 10pF, between 0.1 pF and 10pF, between 0.5 and 5 pF, such as between 0.5pF and 3 pF, between 5pF and 20pF, such as between 7pF and20 pF, between 5pF and 15 pF, between 10pF and 15pF, etc.
- At least a part of the first feeding structure may be galvanic disconnected from the radiating segment if a capacitive coupling between the first feeding structure and the radiating segment is less than 10 pF, such as less than 5 pF., such as less than 2 pF.
- the capacitive coupling may be larger than 0.1 pF, such as larger than 1 pF, such as larger than 5pF, etc.
- the capacitive coupling may be non-zero, so that the capacitive coupling is a non-zero capacitive coupling.
- the radiating segment may be spaced apart from the at least part of the first feeding structure.
- the capacitance of the capacitive coupling may be selected in dependence of the length of the radiating segment.
- the radiating segment may have a length being half a wavelength, such as approximately half a wavelength of an electromagnetic field emitted by the antenna system, such as a length being half a wavelength +/- 20% of an electromagnetic field emitted by the antenna system, the capacitive coupling may be selected to be between 0.5pF and 20pF, such as preferably selected in the interval between 0.5pF and 3 pF.
- the radiating segment may have a length of more than half a wavelength of an electromagnetic field emitted by the antenna system, such as more than half a wavelength + 25% of an electromagnetic field emitted by the antenna system, such as between half a wavelength and a full wavelength, such as between 3 ⁇ 4 of a wavelength and a full wavelength of an electromagnetic field emitted by the antenna system, and the capacitive coupling may be selected to be between 0.5pF and 20pF, such as preferably between 5pF and 20pF, and even more preferred between 5pF and 18pF.
- At least a part of the first feeding structure may be galvanic disconnected from the radiating segment if the distance between the first feeding structure and the radiating segment is between 0.05 mm and 0.3 mm
- the distance may be between 0.1 mm and 0.3 mm
- the distance may be larger than 0.05 mm, such as larger than 0.1 mm
- the distance may be smaller than 0.5 mm, such as smaller than 0.3 mm.
- At least a part of the first feeding structure may be adjacent to and may be galvanic disconnected from a first end of the radiating segment.
- the radiating segment may be passively excited proximate a first end of the radiating segment by the at least part of the first feeding structure.
- the at least part of the first feeding structure and the first end of the radiating segment may be placed proximate each other such that a non-zero capacitance is formed.
- the first feeding structure and the radiating segment may have a geometry that may enhance the galvanic disconnection between the first feeding structure and the radiating segment.
- the distance between the first feeding structure and the radiating segment may be tailored according to a desired resonance frequency so that the distance may be a function of resonance frequency for the antenna structure. If for example the geometry of the first feeding structure and/or of the radiating segment and/or the distance between them results in a capacitance that is too low, no currents may be induced in the radiating segment. If the geometry of the first feeding structure and of the radiating segment and/or the distance between them results in a capacitance that is too high, the galvanic disconnection behaves as a galvanic connection and the antenna system may no longer be resonant at the frequency for which it was matched.
- the at least part of the first feeding structure may be capacitively coupled to the radiating segment so that the radiating segment may be loaded or fed capacitively by the at least part of the feeding structure.
- the feeding, coupling or capacitive loading may be optimized with respect to a desired resonance frequency, and the at least part of first feeding structure may be capacitively coupled to the radiating segment over an area of between 1/32 and 1/4 of a wavelength of an electromagnetic field emitted by the antenna system.
- the radiating segment and the first feeding structure may experience contactless or non-ohmic transmission of energy between them over an area e.g. having a dimension, such as a length, between 1/32 and 1/4 of a wavelength of an electromagnetic field emitted by the antenna system, such as between 1/32 and 1/16 of a wavelength of an electromagnetic field emitted by the antenna system.
- the effective length of the radiating segment may be between 1 ⁇ 4 of a wavelength of an electromagnetic field emitted by the antenna system and a full wavelength, such as between 1 ⁇ 4 and 3 ⁇ 4 of a wavelength of an electromagnetic field emitted by the antenna system, such as 1 ⁇ 2 of a wavelength of an electromagnetic field emitted by the antenna system, such as 1 ⁇ 2 ⁇ 20% of a wavelength of an electromagnetic field emitted by the antenna system.
- the electromagnetic field emitted by the antenna system corresponds to a desired resonance frequency for the system.
- a current flowing into the radiating segment may reach a maximum at a distance from the first end or the second end of 1 ⁇ 4 of a wavelength of the electromagnetic field emitted by the antenna system.
- the current flowing into the radiating segment may reach a maximum at a midpoint of the radiating segment, such as at a midpoint +/- 20%.
- the midpoint being the point which is halfway between the first end of the radiating structure and a second end of the radiating segment.
- Such a midpoint of the radiating segment is preferably located at a section of the radiating segment that is normal +/- 25 degrees to a surface of a head of a user when the hearing aid is worn in its operational position, such as normal +/- 25 degrees to a longitudinal axis of a behind-the-ear type hearing aid, such as parallel +/- 25 degrees to a through axis of an in-the-ear type hearing aid or a behind-the-ear hearing aid.
- the length of the radiating segment is half a wavelength of an electromagnetic field emitted by the antenna system
- the midpoint of the radiating segment is at 1 ⁇ 4 of a wavelength of the electromagnetic field emitted by the antenna system.
- a length of the first feeding structure may be less than 1 ⁇ 4 of a wavelength of an electromagnetic field emitted by the antenna system.
- the first feeding structure may have a length that is less than 1 ⁇ 4 of a wavelength of an electromagnetic field emitted by the antenna system.
- the first feeding structure or the length, such as the effective length of the first feeding structure may be less than 1/8 of a wavelength, or less than 1/16 of a wavelength or less than 1/32 of a wavelength.
- a length of the first feeding structure may be between 1/16 of a wavelength and 1 ⁇ 4 of a wavelength of an electromagnetic field emitted by the antenna system.
- the first feeding structure may have a length that is between 1/16 of a wavelength and 1 ⁇ 4 of a wavelength, such as between 1/8 of a wavelength and 1 ⁇ 4 of a wavelength, or such as between 1/16 of a wavelength and 1/8 of a wavelength.
- the radiating segment may be an electrically floating segment.
- the radiating segment may be e.g. a floating segment in that it is galvanic disconnected from the first feeding structure.
- the radiating segment is for example galvanic disengaged or separated from the first feeding structure.
- the radiating segment may not be in ohmic contact with the first feeding structure.
- At least a part of the first feeding structure may be provided in a first plane and at least a part of the radiating segment may be provided in a second plane.
- the first plane is different from the second plane.
- a part of the first feeding structure and a part of the radiating segment may be co-planar.
- a part of the first feeding structure and a part of the radiating segment may be co-planar or not as long as there is provided a galvanic disconnection between the first feeding structure and the radiating element with an appropriate capacitance.
- the radiating segment may have one free end or two free ends. A current at a free end of the radiating segment is zero.
- the hearing aid may be an in-the-ear type hearing aid.
- the hearing aid may be a behind-the-ear hearing aid.
- the in-the-ear type hearing aid has a housing shaped to fit in the ear canal.
- the in-the-ear type hearing aid comprises a face plate.
- the face plate or a part of the face plate is typically in a plane orthogonal to an ear axis.
- a partition axis or a through axis in this type of hearing aid is in a plane orthogonal to a surface of a head of a user, whereas the face plate of the in-the-ear type hearing aid typically is parallel to a surface of a head of a user and thus orthogonal to the partition axis.
- the ear axis may be orthogonal to the face plate or to the plane in which the face plate extends.
- the behind-the-ear type of hearing aid typically has an elongated housing most often shaped as a banana to rest on top of the auricle of the ear.
- the assembly of this type of hearing aid will thus have a longitudinal axis parallel to the surface of the head of the user and orthogonal to the ear axis.
- the ear axis for a behind-the-ear hearing aid may be orthogonal to the longitudinal axis of the behind-the-ear hearing aid.
- a through axis may traverse the behind-the-ear hearing aid along the ear axis, and thus orthogonal to the longitudinal axis of the behind-the-ear hearing aid.
- a behind-the-ear hearing aid or an in-the-ear hearing aid assembly may comprise a first side and a second side.
- the first side may be opposite the second side.
- the first side of the hearing aid assembly and/or the second side of the hearing aid assembly may extend along a longitudinal axis of the hearing aid.
- the first side of the hearing aid assembly and/or the second side of the hearing aid assembly may be orthogonal the through axis of the hearing aid.
- a first section of the radiating segment may be provided along a first side of the hearing aid assembly.
- a second section of the radiating segment may be provided along a second side of the hearing aid assembly.
- a third section of the radiating segment may be connected to the first section in a first end and to a second section in the second end.
- the third section extends along an axis which is normal +/- 25° to the first side and/or the second side of the hearing aid assembly.
- the third section extends for example along an axis which is normal +/- 25° to a surface of a head of a user when the hearing aid is worn in its operational position, the third section may extend along an axis which is parallel +/- 25% to the ear axis.
- the radiating segment may be provided substantially along a first side of the hearing aid assembly. A part of the radiating segment may be provided along a first side of the hearing aid assembly. The second side may be adjacent the head of a user when the hearing aid is worn in its intended operational position behind the ear.
- a first section of the radiating segment may be provided in a first ITE plane adjacent a face plate of an ITE hearing aid.
- a second section of the radiating segment may be provided in a second ITE plane.
- a third section of the radiating segment may be connected to the first section in a first end and to the second section in the second end.
- a part of the first section is e.g. provided in a plane parallel to the face plate.
- a part of the second section is e.g. provided in a plane parallel to the face plate.
- the second ITE plane may be substantially parallel with the first ITE plane.
- a part of the third section is e.g. provided in a plane orthogonal +/-25 degrees to the face plate.
- the third section may be provided along an axis which is normal +/- 25° to the face plate.
- the antenna system may comprise a second feeding structure or a third segment.
- the second feeding structure may excite the radiating segment proximate a second end.
- the second feeding structure may be coupled or connected to the wireless communication unit 22 or a ground plane 24.
- the radiating segment may be fed in a first end and a second end, respectively. In some embodiments this may provide a balanced antenna system.
- At least a part of the radiating segment is provided at or in a hearing aid shell. In one or more embodiments, at least a part of the radiating segment is provided on an inner or an outer surface of the hearing aid shell. In one or more embodiments, the hearing aid shell is manufactured in a low loss material, such as in a material having a tangient loss of below 0.05, such as below 0.02, such as in a material of plastic, ABS Polycarbonate, PCABS, Zytel, ceramics, etc.
- the antenna system may further have a third segment.
- the third segment may be connected to the wireless communication unit and at least a part of the third segment may be adjacent to a second end of the radiating segment and may be galvanic disconnected from a second end of the radiating segments.
- the antenna system may further have a third segment.
- the third segment may be connected to a ground plane and at least a part of the third segment may be adjacent to and may be galvanic disconnected from a second end of the radiating segment.
- the first feeding structure may be adjacent to and may be galvanic disconnected from a first end of the radiating segment while the second end of the radiating segment may be grounded.
- the radiating segment may be construed as a parasitic element since it is connected to a ground plane.
- various segments, sections and/or structures of the antenna system may be formed having different geometries, the segments/sections/structures may be wires or patches, bend or straight, long or short as long as they obey the above relative configuration with respect to each other.
- the hearing aid comprises a housing.
- the housing comprises: a microphone for reception of sound and conversion of the received sound into a corresponding first audio signal, a signal processor for processing the first audio signal into a second audio signal compensating a hearing loss of a user of the hearing aid, and a wireless communication unit configured for wireless communication.
- the housing may comprise a hearing aid assembly comprising the microphone, the signal processor and the wireless communication unit.
- the hearing aid, or the assembly of the hearing aid may comprise an antenna system.
- the antenna system may thus be accommodated in the housing of the hearing aid.
- the antenna system comprises a first feeding structure and a radiating segment. The first feeding structure is connected or coupled to the wireless communication unit.
- the radiating segment may be adjacent to and may be galvanic disconnected from at least a part of the first feeding structure. At least a part of the first feeding structure may be galvanic disconnected from the radiating segment if a capacitive coupling between the first feeding structure and the radiating segment is within certain limits as described above.
- the hearing aid disclosed herein may be configured for operation in ISM frequency band.
- the antenna is configured for operation at a frequency of at least 1 GHz, such as at a frequency between 1.5 GHz and 3 GHz such as at a frequency of 2.4 GHz.
- the hearing aid may be configured to operate at a frequency over 3GHz, such as at a frequency of 5GHz.
- the radiating segment and the first feeding structure contributes to an electromagnetic field that travels around the head of the user, such as more efficiently around the head of a user, thereby providing a wireless data communication that is robust and has low loss.
- a wireless data communication between a hearing aid provided at one ear of a user and a hearing aid provided at another ear of a user may be improved.
- the surface wave of the electromagnetic field may be more efficiently excited.
- an ear-to-ear path gain may be improved, such as by 10-15 dB, such as by 10-30 dB.
- a hearing aid such as a binaural hearing aid. It is however envisaged that the disclosed features and embodiments may be used individually or in combination in other types of hearing devices. Also, features described herein may be used individually or in combination in any audio systems, such as an audio system that involves communication between a hearing aid and other wireless enabled components.
- a hearing aid has an assembly, the assembly comprising: a microphone for reception of sound and conversion of the received sound into a corresponding first audio signal; a signal processor for processing the first audio signal into a second audio signal compensating a hearing loss of a user of the hearing aid; a wireless communication unit configured for wireless communication; and an antenna system comprising a first feeding structure and a radiating segment; wherein the first feeding structure is connected or coupled to the wireless communication unit, and wherein the radiating segment is galvanic disconnected from at least a part of the first feeding structure; and wherein the at least a part of the first feeding structure is galvanic disconnected from the radiating segment if a capacitive coupling between the at least a part of the first feeding structure and the radiating segment is between 0.5 pF and 20 pF.
- the at least a part of the first feeding structure is galvanic disconnected from the radiating segment if the capacitive coupling between the at least a part of the first feeding structure and the radiating segment is between 0.5 pF and 3pF.
- the at least a part of the first feeding structure is galvanic disconnected from the radiating segment if a distance between the at least a part of the first feeding structure and the radiating segment is between 0.05 mm and 0.3 mm.
- an effective length of the radiating segment is between 1 ⁇ 4 of a wavelength and a full wavelength of an electromagnetic field emitted by the antenna system.
- a current flowing into the radiating segment reaches a maximum at a distance from a first end of 1 ⁇ 4 of a wavelength of an electromagnetic field emitted by the antenna system.
- a length of the first feeding structure is less than 1 ⁇ 4 of a wavelength of an electromagnetic field emitted by the antenna system.
- the radiating segment comprises an electrically floating segment.
- At least a part of the first feeding structure is in a first plane and wherein at least a part of the radiating segment is in a second plane.
- the radiating segment has a free end.
- a first section of the radiating segment is along a first side of the assembly
- a second section of the radiating segment is along a second side of the assembly
- a third section of the radiating segment has a first end connected to the first section, and a second end connected to the second section.
- the hearing aid is an in-the-ear hearing aid, wherein a first section of the radiating segment is in a first in-the-ear plane adjacent a face plate of the in-the-ear hearing aid, wherein a second section of the radiating segment is in a second in-the-ear plane, and wherein a third section of the radiating segment has a first end connected to the first section, and a second end connected to the second section.
- the third section is along an axis which is normal +/- 25° to the face plate.
- At least a part of the radiating segment is at or in a hearing aid shell.
- the antenna system further has a segment, the segment being connected to the wireless communication unit, and wherein at least a part of the segment is galvanic disconnected from an end of the radiating segment.
- the antenna system further has a segment, the segment being connected to a ground plane, and wherein at least a part of the segment is galvanic disconnected from an end of the radiating segment.
- a hearing aid includes a housing, the housing comprising: a microphone for reception of sound and conversion of the received sound into a corresponding first audio signal; a signal processor for processing the first audio signal into a second audio signal compensating a hearing loss of a user of the hearing aid; a wireless communication unit configured for wireless communication; and an antenna system comprising a first feeding structure and a radiating segment; wherein the first feeding structure is connected or coupled to the wireless communication unit, and wherein the radiating segment is galvanic disconnected from at least a part of the first feeding structure.
- galvanic disconnected refers to the absence of a galvanic connection, the absence of a direct conduction path, e.g. the absence of hardwire between two elements.
- Elements galvanic disconnected may be galvanic disengaged or separated from one another. Elements galvanic disconnected experience for example contactless transmission of energy between them. Elements galvanic disconnected exchange energy through capacitance.
- Two elements may be considered galvanic disconnected if a capacitive coupling between them is e.g. between 0.5pF and 20 pF, such as between 1pF and 10pF, such as between 1pF and 5pF, etc.
- Two elements may be considered galvanic disconnected if a distance between them is e.g. between 0.05 mm and 0.3 mm.
- the hearing aid may be an in-the-ear type hearing aid.
- the hearing aid may be a behind-the-ear type of hearing aid.
- the in-the-ear type hearing aid has a housing shaped to fit in the ear canal.
- a partition or through axis (such as axis 401 of Fig. 4 ) in this type of hearing aid is parallel to the ear axis, whereas the face plate of the in-the-ear type hearing aid typically is in a plane orthogonal to the ear axis.
- a partition axis in this type of hearing aid is in a plane orthogonal to a surface of a head of a user, whereas the face plate of the in-the-ear type hearing aid typically is parallel to a surface of a head of a user.
- the behind-the-ear type of hearing aid typically also has an elongated housing most often shaped as a banana to rest on top of the auricle of the ear.
- the assembly of this type of hearing aid will thus have a longitudinal axis (such as axis 301 of Fig. 3 ) parallel to the surface of the head of the user and a through axis orthogonal to the longitudinal axis.
- Fig. 1 shows a block-diagram of a typical hearing aid.
- the hearing aid 10 comprises a microphone 11 for receiving incoming sound and converting it into an audio signal, i.e. a first audio signal.
- the first audio signal is provided to a signal processor 12 for processing the first audio signal into a second audio signal compensating a hearing loss of a user of the hearing aid.
- a receiver optionally, is connected to an output of the signal processor 12 for converting the second audio signal into an output sound signal, e.g. a signal modified to compensate for a user's hearing impairment, and provides the output sound to a speaker 13.
- the hearing instrument signal processor 12 may comprise elements such as amplifiers, compressors and noise reduction systems etc.
- the hearing aid may further have a feedback loop for optimizing the output signal.
- the hearing aid comprises a wireless communication unit 14 (e.g. a transceiver) for wireless communication connected with an antenna 15 for emission and reception of an electromagnetic field.
- the wireless communication unit 14 may connect to the hearing aid signal processor 12 and to the antenna 15, for communicating with e.g. external devices, or with another hearing aid, located at another ear, in a binaural hearing aid system.
- the wireless communication unit may be configured for wireless data communication, and in this respect connected with the antenna for emission and/or reception of an electromagnetic field.
- the wireless communication unit may comprise a transmitter, a receiver, a transmitter-receiver pair, such as a transceiver, a radio unit, etc.
- the wireless communication unit may be configured for communication using any protocol as known for a person skilled in the art, including Bluetooth, WLAN standards, manufacture specific protocols, such as tailored proximity antenna protocols, such as proprietary protocols, such as low-power wireless communication protocols, etc.
- the specific wavelength, and thus the frequency of the emitted electromagnetic field, is of importance when considering communication involving an obstacle.
- the obstacle is a head.
- the hearing aid comprising an antenna may be located close to the surface of the head or in the ear canal.
- the ear to ear communication may be performed in with a desired frequency centred around 2.4 GHz.
- Fig. 2 shows an exemplary behind-the-ear hearing aid having an antenna system 23 according to one embodiment of the present disclosure.
- the hearing aid comprises an assembly 20.
- the assembly 20 comprises a wireless communication unit 22 for wireless communication, an antenna system 23 for emission and/or reception of an electromagnetic field.
- the wireless communication unit 22 may connect to a hearing aid signal processor (not shown).
- the wireless communication unit 22 is connected to the antenna system 23, for communicating with e.g. external devices, or with another hearing aid, located at another ear, in a binaural hearing aid system.
- the antenna system 23 comprises a first feeding structure 231 and a radiating segment 232.
- the first feeding structure 231 is connected or coupled to the wireless communication unit 22.
- the radiating segment 232 is adjacent to and/or is galvanic disconnected from at least a part of the first feeding structure 231. At least a part 231a of the first feeding structure 231 is adjacent to and/or is galvanic disconnected from a first end of the radiating segment 232.
- the radiating segment 232 is passively excited proximate a first end of the radiating segment 232 by the first feeding structure 231.
- the first feeding structure 231 and the first end of the radiating segment 232 are placed proximate each other and have a geometry such that a non-zero capacitance is formed.
- the radiating segment 232 is galvanic disconnected from part 231a of the first feeding structure 231 if a capacitive coupling between them is between 1pF and 10pF, such as between 1pF and 5pF.
- the radiating segment 232 is galvanic disconnected from the part 231a of the first feeding structure 231 if a distance between them is between 0.05 mm and 0.3 mm.
- the geometry of the first feeding structure and of the radiating segment and/or the distance between them has to be chosen such that the capacitance is between 1 pF and 10 pF.
- the radiating segment 232 is an electrically floating segment.
- the radiating segment 232 is e.g. a floating element in that it is galvanic disconnected from the wireless communication unit 22 or a ground.
- the floating element may have no ohmic contact to the wireless communication unit 22 or a ground.
- the radiating segment 232 is capacitively coupled to the first feeding structure 231.
- the radiating segment 232 may be galvanic disengaged or separated from the first feeding structure 231.
- the radiating segment 232 and the first feeding structure 231 experience for example contactless conductivity of energy between them.
- the radiating segment 232 and the first feeding structure 231 exchange energy through capacitance.
- At least a part 231a of the first feeding structure 231 is provided in a first plane and at least a part of the radiating segment 232 is provided in a second plane, as seen in the figure the first plane and the second plane extend in the plane of the first feeding structure and the radiating segment, respectively.
- the first plane is different from the second plane.
- the antenna system 23 comprises a second feeding structure 233.
- the second feeding structure 233 excites the radiating segment 232 proximate a second end.
- the second feeding structure 233 is coupled or connected to the wireless communication unit 22 or a ground plane 24. This may provide a balanced mode where the impedance seen into the first feeding structure 231 and the impedance seen into the second feeding structure 233 are balanced around a ground plane 24.
- the hearing aid assembly 20 comprises a first side and a second side. The first side is opposite the second side. The first side of the hearing aid assembly and/or the second side of the hearing aid assembly extends along a longitudinal axis of the hearing aid assembly 20.
- the radiating segment may be provided substantially along a first side of the hearing aid assembly. The second side is adjacent the head of a user when the hearing aid is worn in its intended operational position behind the ear. A midpoint 232f of the radiating segment 232 is located at a part of the radiating segment that extends between the first side and the second side.
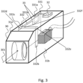
- Fig. 3 shows an exemplary behind-the-ear hearing aid having an antenna system 33 according to one embodiment of the present disclosure.
- the hearing aid comprises an assembly 30.
- the assembly 30 comprises a wireless communication unit 32 for wireless communication, an antenna system 33 for emission and/or reception of an electromagnetic field.
- the wireless communication unit 32 may connect to a hearing aid signal processor.
- the wireless communication unit 32 is connected to the antenna system 33, for communicating with e.g. external devices, or with another hearing aid, located at another ear, in a binaural hearing aid system.
- the antenna system 33 comprises a first feeding structure 331 and a radiating segment 332.
- the first feeding structure 331 is connected or coupled to the wireless communication unit 32.
- the radiating segment 332 is adjacent to and/or is galvanic disconnected from the first feeding structure 331.
- the first feeding structure 331 is adjacent to and/or is galvanic disconnected from a first end of the radiating segment 332.
- the radiating segment 332 is passively excited proximate a first end of the radiating segment 332 by the first feeding structure 331.
- a second end of the radiating segment 332 is a free end or an open end.
- the radiating segment 332 is galvanic disconnected from at least a part 331a of the first feeding structure 331 if a capacitive coupling between them is between 1pF and 10pF, such as between 1pF and 5pF.
- the radiating segment 332 is galvanic disconnected from a part 331a of the first feeding structure 331 if a distance between them is between 0.05 mm and 0.3 mm.
- the radiating segment 332 is an electrically floating segment.
- the radiating segment 332 is e.g. a floating element in that it is galvanic disconnected from the wireless communication unit 32 or a ground.
- the radiating segment 332 is capacitively fed or coupled to the first feeding structure 331.
- the radiating segment 332 may be galvanic disengaged or separated from at least a part 331a of the first feeding structure 331.
- the radiating segment 332 and the part 331a of the first feeding structure 331 experience for example contactless transmission of energy between them.
- the radiating segment 332 and a part 331a of the first feeding structure 331 exchange energy through capacitance.
- At least a part 331a of the first feeding structure 331 is provided in a first plane and at least a part 332a of the radiating segment 332 is provided in a second plane.
- the first plane is different from the second plane.
- the hearing aid assembly 30 comprises a first side 31a and a second side 31b.
- the first side 31a is opposite the second side 31b.
- the first side 31a of the hearing aid assembly 30 and/or the second side 31b of the hearing aid assembly extends along a longitudinal axis of the hearing aid assembly 30.
- a first section 332a of the radiating segment 332 is provided along a first side of the hearing aid assembly.
- a second section 332b of the radiating segment 332 is provided along a second side of the hearing aid assembly.
- a third section 332c of the radiating segment 332 is connected to the first section 332a in a first end 332d of the third section 332c and to a second section 332b in the second end 332e of the third section 332c.
- the third section 332c extends along an axis which is normal +/- 25° to the first side 31a and/or the second side 31b of the hearing aid assembly 30.
- the third section 332c extends for example along an axis which is normal +/- 25° to a surface of a head of a user when the hearing aid is worn in its operational position.
- a length of the radiating segment may be greater than 1 ⁇ 2 ⁇ and less than ⁇ , ⁇ being the wavelength of an electromagnetic field emitted by the antenna system.
- an effective length of the antenna structure is 3 ⁇ 4 ⁇ .
- a point 332f of the radiating segment 332 that is located at a distance of 1 ⁇ 2 ⁇ from the first end of the radiating segment 332 is provided at a part of the radiating segment that extends between a first side and a second side of the hearing aid, such as on the third section 332c of the radiating segment 332.
- Fig. 4 shows an in-the-ear (ITE) hearing aid having an antenna system according to one embodiment of the present disclosure.
- the hearing aid comprises an assembly 40.
- the assembly 40 comprises a wireless communication unit 42 for wireless communication, an antenna system 43 for emission and/or reception of an electromagnetic field.
- the wireless communication unit 42 may connect to a hearing aid signal processor.
- the wireless communication unit 42 is connected to the antenna system 43, for communicating with e.g. external devices, or with another hearing aid, located at another ear, in a binaural hearing aid system.
- the antenna system 43 comprises a first feeding structure 431 and a radiating segment 432.
- the first feeding structure 431 is connected or coupled to the wireless communication unit 42.
- the radiating segment 432 is adjacent to and/or is galvanic disconnected from at least a part 431a of the first feeding structure 431.
- the at least part 431a of the first feeding structure 431 is adjacent to and/or is galvanic disconnected from a first end of the radiating segment 432.
- the radiating segment 432 is passively excited proximate a first end of the radiating segment 432 by the part 431a of the first feeding structure 431.
- a second end of the radiating segment 432 is a free end or an open end.
- a current at the second end of the radiating segment 432 is zero.
- the radiating segment 432 is galvanic disconnected from part 431a of the first feeding structure 431 if a capacitive coupling between them is between 1pF and 10pF, such as between 1pF and 5pF.
- the radiating segment 432 is galvanic disconnected from part 431a of the first feeding structure 431 if a distance between them is between 0.05 mm and 0.3 mm.
- the radiating segment 432 is an electrically floating segment.
- the radiating segment 432 is e.g. a floating element in that it is galvanic disconnected from part 431a of the first feeding structure 431, or the wireless communication unit 42 or a ground.
- the radiating segment 432 is capacitively fed or coupled to the first feeding structure 431.
- the radiating segment 432 may be galvanic disengaged or separated from the first feeding structure 431.
- the radiating segment 432 and part 431a of the first feeding structure 431 experience for example contactless transmission of energy between them.
- the radiating segment 432 and part 431a of the first feeding structure 431 exchange energy through capacitance.
- At least a part 431a of the first feeding structure 431 is provided in a first plane 44 and at least a part 432a of the radiating segment 432 is provided in a second plane 45.
- the first plane 44 is different from the second plane 45.
- the hearing aid assembly 40 comprises a face plate 41.
- a first section 432a of the radiating segment 432 is provided in a first ITE plane adjacent a face plate 41 of an ITE hearing aid.
- a second section 432b of the radiating segment 432 is provided in a second ITE plane.
- a third section 432c of the radiating segment 432 is connected to the first section 432a in a first end 432d and to the second section 432b in a second end 432e.
- a part of the first section 432a is provided in a plane parallel to the face plate 41.
- a part of the second section 432b is provided in a plane parallel to the face plate 41.
- the second ITE plane is substantially parallel with the first ITE plane.
- a part of the third section 432c is provided in a plane orthogonal +/-25 degrees to the face plate 41.
- the third section 432c is provided along an axis which is normal +/- 25° to the face plate 41.
- a midpoint of the radiating segment 432 is located at a part 432c of the radiating segment 432 that extends in a direction orthogonal to the face plate 41 within +/-25 degrees, such as the third section 432c.
- a distance from the end 432g of the radiating segment 432 that is capacitively coupled with the first feeding structure, to the midpoint of the radiating segment is for example in the range of 1 ⁇ 4 of a wavelength of the electromagnetic field emitted by the antenna system.
- Fig. 5a shows schematically an exemplary antenna structure for a hearing aid according to the present disclosure.
- An effective length L1 of the radiating segment 51 is between 1 ⁇ 4 of a wavelength of an electromagnetic field emitted by the antenna system and a full wavelength, such as between and 1 ⁇ 4 and 3 ⁇ 4 of a wavelength of an electromagnetic field emitted by the antenna system.
- the length L1 of the radiating segment 51 is half a wavelength of electromagnetic field emitted by the antenna system.
- a current flowing into the radiating segment 51 reaches a maximum at a distance from the first end of 1 ⁇ 4 of a wavelength of the electromagnetic field emitted by the antenna system.
- the current flowing into the radiating segment 51 may reach a maximum at a midpoint 51f of the radiating segment.
- a midpoint 51f of the radiating segment 51 is preferably located at a section of the radiating segment 51 that is normal +/- 25 degrees to a surface of a head of a user when the hearing aid is worn in its operational position (e.g. section 332c of Fig. 3 , or section 432c of Fig. 4 ).
- the radiating segment 51 is fed in a first end 511 and a second end 512, and the section 51a, 51b indicates a part of the radiating segment which couples capacitively with at least a part of the feeding structure (not shown), in the first end 511 and the second end 512 of the radiating segment 51, respectively.
- Fig. 5b shows schematically another exemplary antenna structure for a hearing aid according to the present disclosure.
- An effective length L2 of the radiating segment 52 is between 1 ⁇ 4 and 3 ⁇ 4 of a wavelength of an electromagnetic field emitted by the antenna system.
- the length L2 of the radiating segment 52 is half a wavelength of electromagnetic field emitted by the antenna system.
- a current flowing into the radiating segment 52 reaches a maximum at a distance from the first end of 1 ⁇ 4 of a wavelength of the electromagnetic field emitted by the antenna system.
- the radiating segment 52 is fed in a first end 521 while the other end 522 is a free end, and the section 52a indicates a part of the radiating segment which couples capacitively with at least a part of the feeding structure (not shown).
- Fig. 6a shows schematically an exemplary quadrilateral geometry of a first end of a radiating segment 62 and a first feeding structure 61 according to the present disclosure.
- the first feeding structure 61 is capacitively coupled to the radiating segment 62 over an area between 1/32 and 1/4 of a wavelength of an electromagnetic field emitted by the antenna system.
- the first feeding structure 61 has a quadrilateral geometry with each side having a length L3, L4 between 1/32 and 1/4 of a wavelength of an electromagnetic field emitted by the antenna system.
- the first feeding structure 61 may have a rectangular geometry with a first side 611 having a length L3 between 1/32 and 1/4 of a wavelength of an electromagnetic field emitted by the antenna system and a second side 612 having a length L4 between 1/32 and 1/4 of a wavelength of an electromagnetic field emitted by the antenna system.
- the first feeding structure 61 may have a square geometry with a side having a length between 1/32 and 1/4 of a wavelength of an electromagnetic field emitted by the antenna system.
- the radiating segment 62 has a quadrilateral geometry with each side having a length between 1/32 and 1/4 of a wavelength of an electromagnetic field emitted by the antenna system.
- the radiating segment 62 may have a rectangular geometry with a first side having a length between 1/32 and 1/4 of a wavelength of an electromagnetic field emitted by the antenna system and a second side having a length between 1/32 and 1/4 of a wavelength of an electromagnetic field emitted by the antenna system.
- the radiating segment 62 may have a square geometry with a side having a length between 1/32 and 1/4 of a wavelength of an electromagnetic field emitted by the antenna system.
- Fig. 6b shows schematically an exemplary round geometry of a first end of a radiating segment 64 and a first feeding structure 65 according to the present disclosure.
- the first feeding structure 65 is capacitively coupled to the radiating segment 64 over an area of between 1/32 and 1/4 of a wavelength of an electromagnetic field emitted by the antenna system.
- the first feeding structure 65 has a round geometry, such as a circle, a sphere, an ellipse, and/or a rounded rectangle.
- the first feeding structure 65 has a round geometry with a transverse diameter having a length between 1/32 and 1/4 of a wavelength of an electromagnetic field emitted by the antenna system and a conjugate diameter having a length between 1/32 and 1/4 of a wavelength of an electromagnetic field emitted by the antenna system.
- the first feeding structure 65 may be a circle with a diameter having a length between 1/32 and 1/4 of a wavelength of an electromagnetic field emitted by the antenna system.
- the radiating segment 64 has a round geometry with a transverse diameter having a length between 1/32 and 1/4 of a wavelength of an electromagnetic field emitted by the antenna system and a conjugate diameter having a length between 1/32 and 1/4 of a wavelength of an electromagnetic field emitted by the antenna system.
- the radiating segment 64 may be a circle with a diameter having a length between 1/32 and 1/4 of a wavelength of an electromagnetic field emitted by the antenna system.
- Fig. 6c shows schematically an exemplary wire geometry of a first end of a radiating segment 66 and a first feeding structure 67 according to the present disclosure.
- the first feeding structure 67 is capacitively coupled to the radiating segment 66 over an area of between 1/32 and 1/4 of a wavelength of an electromagnetic field emitted by the antenna system.
- the first feeding structure 67 has a length between 1/32 and 1/4 of a wavelength of an electromagnetic field emitted by the antenna system and a conjugate diameter having a length L5 between 1/32 and 1/4 of a wavelength of an electromagnetic field emitted by the antenna system.
- the first feeding structure 67 may be less than 1 ⁇ 4 of a wavelength of an electromagnetic field emitted by the antenna system.
- the first feeding structure 37 is between 1/16 wavelength and 1 ⁇ 4 wavelength.
- a geometry of the first feeding structure and a geometry of the radiating segment are designed such that a capacitive coupling between the first feeding structure and the radiating segment is between 1pF and 10pF.
- Fig. 6d shows schematically an exemplary fork geometry of a first end of a radiating segment 68 and a first feeding structure 69 according to the present disclosure.
- the first feeding structure 69 is capacitively coupled to the radiating segment 68 over an area of between 1/32 and 1/4 of a wavelength of an electromagnetic field emitted by the antenna system.
- the first feeding structure 69 surrounds the radiating segment 68 along two sides and an end part of the radiating segment 68. In the present example, it is seen that the first feeding structure 69 and a part of the radiating segment 68 are co-planar.
- the design of the feeding structures coupling to the radiating segments may be designed in any shapes or forms configured for coupling energy between the feeding structure and the radiating segment. Even though the coupling parts in the present examples have same or similar shapes and forms, it is envisaged that the shape and forms of the feeding structures 61, 65, 67, 69 may be different from the shapes and forms of the radiating segments 62, 64, 66, 68.
- Figs. 7a-e show schematically various embodiments of antenna structures for a hearing aid according to the present disclosure.
- Fig. 7a shows schematically an embodiment of an antenna structure 73 of a hearing aid according to this disclosure.
- the antenna system 73 comprises a first feeding structure 731, a radiating element 732, and a third segment 733.
- the first feeding structure 731 is connected to a wireless communication unit 72.
- the third segment 733 is connected to a ground plane.
- the radiating segment 732 is adjacent to and/or is galvanic disconnected from at least a part of the first feeding structure 731.
- the at least part of the first feeding structure 731 is adjacent to and/or is galvanic disconnected from a first end of the radiating segment 732.
- the radiating segment 732 is capacitively coupled or passively excited proximate a first end of the radiating segment 732 by the at least part of the first feeding structure 731.
- the radiating segment 732 is adjacent to and/or is galvanic disconnected to at least a part of the third segment 733.
- the at least part of the third segment 733 is adjacent to and/or is galvanic disconnected from a second end of the radiating segment 732.
- the radiating segment 732 is passively coupled proximate a second end of the radiating segment 732 by the third segment 733.
- Fig. 7b shows schematically an embodiment of an antenna structure 73b of a hearing aid according to this disclosure.
- the antenna system 73b comprises a first feeding structure 731b, a radiating element 732b, and a second feeding structure 733b.
- the first feeding structure 731b is connected to a wireless communication unit 72b.
- the second feeding structure 733b is connected to the wireless communication unit 72b.
- the radiating segment 732b is adjacent to and/or is galvanic disconnected from a part of the first feeding structure 731b.
- the first feeding structure 731b is adjacent to and/or is galvanic disconnected from a first end of the radiating segment 732b.
- the radiating segment 732b is passively excited proximate a first end of the radiating segment 732b by the first feeding structure 731b.
- the radiating segment 732b is adjacent to and/or is galvanic disconnected to the second feeding structure 733b, or a part of the second feeding structure.
- the second feeding structure 733b is adjacent to and/or is galvanic disconnected from a second end of the radiating segment 732b.
- the radiating segment 732b is passively coupled proximate a second end of the radiating segment 732b by the second feeding structure 733b.
- the antenna system 73b may be a balanced antenna system.
- Fig. 7c shows schematically an embodiment of an antenna structure 73c of a hearing aid according to this disclosure.
- the antenna system 73c comprises a first feeding structure 731c, a radiating element 732c.
- the first feeding structure 731c is connected to a wireless communication unit 72c.
- the radiating segment 732c is adjacent to and/or is galvanic disconnected from the first feeding structure 731c.
- the first feeding structure 731c is adjacent to and/or is galvanic disconnected from a first end of the radiating segment 732c.
- the radiating segment 732c is passively excited proximate a first end of the radiating segment 732c by the first feeding structure 731c.
- the second end of the radiating segment 732c is grounded.
- the radiating segment 732c can be construed as a parasitic element since it is connected to a ground plane.
- Fig. 7d shows schematically an embodiment of an antenna structure 73d of a hearing aid according to this disclosure.
- the antenna system 73d comprises a first feeding structure 731d, a radiating element 732d.
- the first feeding structure 731d is connected to a wireless communication unit 72d.
- the radiating segment 732d is adjacent to and/or is galvanic disconnected from at least a part of the first feeding structure 731d.
- the first feeding structure 731d is adjacent to and/or is galvanic disconnected from a first end of the radiating segment 732d.
- the radiating segment 732d is passively excited proximate a first end of the radiating segment 732d by the first feeding structure 731d.
- the second end of the radiating segment 732d is connected to the wireless communication unit 72d.
- Fig. 7e shows schematically an embodiment of an antenna structure 73e of a hearing aid according to this disclosure.
- the antenna system 73e comprises a first feeding structure 731e, and a radiating element 732e.
- the first feeding structure 731e is connected to a wireless communication unit 72e.
- the radiating segment 732e is adjacent to and/or is galvanic disconnected from at least a part of the first feeding structure 731e.
- the at least part of the first feeding structure 731e is adjacent to and/or is galvanic disconnected from a first end of the radiating segment 732e.
- the radiating segment 732e is passively excited proximate a first end of the radiating segment 732e by the first feeding structure 731e.
- the second end of the radiating segment 732e is a free end. In this embodiment, there is no balanced mode.
- the antenna system 73e may be construed as a monopole antenna.
- Fig. 8 shows schematically an exemplary arrangement 80 of an antenna system 82 with respect to a hearing aid shell 81.
- the arrangement 80 comprises a hearing aid shell 81, and an antenna system 82.
- the antenna system 82 comprises a first feeding structure, and a radiating segment (not entirely shown).
- at least a part 822 of the radiating segment is provided at or in a hearing aid shell 81.
- at least a part 822 of the radiating segment is provided on an inner or an outer surface of the hearing aid shell 81.
- the hearing aid shell 81 is manufactured in a low loss material, such as in a material having a tangient loss of below 0.05, such as below 0.02, such as in a material of plastic, ABS Polycarbonate, PCABS, Zytel, ceramics, etc.
- a part 821 of the first feeding structure is glued against an internal e.g. plastic frame while a part 822 of the radiating segment is placed in outer surface of the hearing shell.
- a part 821 of the first feeding structure is glued against an internal e.g. plastic frame while a part 822 of the radiating segment is placed inside the e.g. plastic hearing shell.
- Another example involves placing the first feeding structure against an internal e.g.
- the plastic frame and the radiating segment inside the hearing aid shell as a metal insert mold.
- the first feeding structure and the radiating segment are stacked on the same flex print with a certain thickness of e.g. polyimide dielectric material used in PCB flex print material and placed against an internal e.g. plastic frame of the hearing aid.
- first, second, and the like does not imply any particular order, but they are included to identify individual elements. Moreover, the use of the terms first, second, etc. does not denote any order or importance, but rather the terms first, second, etc. are used to distinguish one element from another. Note that the words first and second are used here and elsewhere for labelling purposes only and are not intended to denote any specific spatial or temporal ordering. Furthermore, the labelling of a first element does not imply the presence of a second element
- hearing aids according to any of the following items:
Landscapes
- Engineering & Computer Science (AREA)
- Computer Networks & Wireless Communication (AREA)
- Health & Medical Sciences (AREA)
- General Health & Medical Sciences (AREA)
- Neurosurgery (AREA)
- Otolaryngology (AREA)
- Physics & Mathematics (AREA)
- Acoustics & Sound (AREA)
- Signal Processing (AREA)
- Support Of Aerials (AREA)
- Telephone Set Structure (AREA)
Priority Applications (1)
| Application Number | Priority Date | Filing Date | Title |
|---|---|---|---|
| EP24171658.8A EP4408027A3 (de) | 2014-08-15 | 2014-08-15 | Hörgerät mit antenne |
Applications Claiming Priority (2)
| Application Number | Priority Date | Filing Date | Title |
|---|---|---|---|
| EP24171658.8A EP4408027A3 (de) | 2014-08-15 | 2014-08-15 | Hörgerät mit antenne |
| EP14181165.3A EP2985834A1 (de) | 2014-08-15 | 2014-08-15 | Hörgerät mit Antenne |
Related Parent Applications (1)
| Application Number | Title | Priority Date | Filing Date |
|---|---|---|---|
| EP14181165.3A Division EP2985834A1 (de) | 2014-08-15 | 2014-08-15 | Hörgerät mit Antenne |
Publications (2)
| Publication Number | Publication Date |
|---|---|
| EP4408027A2 true EP4408027A2 (de) | 2024-07-31 |
| EP4408027A3 EP4408027A3 (de) | 2024-10-16 |
Family
ID=51302946
Family Applications (2)
| Application Number | Title | Priority Date | Filing Date |
|---|---|---|---|
| EP24171658.8A Pending EP4408027A3 (de) | 2014-08-15 | 2014-08-15 | Hörgerät mit antenne |
| EP14181165.3A Ceased EP2985834A1 (de) | 2014-08-15 | 2014-08-15 | Hörgerät mit Antenne |
Family Applications After (1)
| Application Number | Title | Priority Date | Filing Date |
|---|---|---|---|
| EP14181165.3A Ceased EP2985834A1 (de) | 2014-08-15 | 2014-08-15 | Hörgerät mit Antenne |
Country Status (1)
| Country | Link |
|---|---|
| EP (2) | EP4408027A3 (de) |
Families Citing this family (14)
| Publication number | Priority date | Publication date | Assignee | Title |
|---|---|---|---|---|
| US9807523B2 (en) * | 2015-02-09 | 2017-10-31 | Starkey Laboratories, Inc. | Hearing aid antenna with symmetrical performance |
| EP3148219B1 (de) * | 2015-09-28 | 2020-12-02 | Oticon A/s | Hörgerät |
| US10440483B2 (en) * | 2015-11-25 | 2019-10-08 | Gn Hearing A/S | Hearing aid with improved wireless communication |
| DK3174314T3 (da) * | 2015-11-25 | 2020-06-02 | Gn Hearing As | Ite-høreapparat med forbedret trådløs kommunikation |
| WO2018113927A1 (en) * | 2016-12-20 | 2018-06-28 | Sonova Ag | Bte hearing instrument comprising a loop antenna |
| US11011845B2 (en) | 2017-04-21 | 2021-05-18 | Starkey Laboratories, Inc. | Hearing assistance device incorporating a quarter wave stub as a solderless antenna connection |
| EP3471201B1 (de) | 2017-10-16 | 2021-02-17 | Widex A/S | Antenne für eine hörhilfevorrichtung |
| EP3471198B1 (de) | 2017-10-16 | 2020-12-02 | Widex A/S | Antenne für eine hörhilfevorrichtung |
| DK3471200T3 (da) | 2017-10-16 | 2020-04-27 | Widex As | Antenne til en høreunderstøttelsesindretning |
| EP3471199B1 (de) | 2017-10-16 | 2024-06-05 | Widex A/S | Antenne für eine hörhilfevorrichtung |
| DK3698431T3 (da) | 2017-10-16 | 2022-08-08 | Widex As | Antenne til en hørehjælpeindretning |
| US11122376B2 (en) | 2019-04-01 | 2021-09-14 | Starkey Laboratories, Inc. | Ear-worn electronic device incorporating magnetically coupled feed for an antenna |
| EP3736906B1 (de) * | 2019-05-07 | 2025-01-29 | Oticon Medical A/S | Antennenkonfiguration für ein hörgerätesystem |
| CN116937137A (zh) * | 2020-08-28 | 2023-10-24 | 华为技术有限公司 | 一种天线结构及电子设备 |
Family Cites Families (6)
| Publication number | Priority date | Publication date | Assignee | Title |
|---|---|---|---|---|
| DE602004026549D1 (de) * | 2003-02-03 | 2010-05-27 | Panasonic Corp | Antenneneinrichtung und diese verwendende drahtlose kommunikationseinrichtung |
| ES2443918T5 (es) * | 2007-12-27 | 2017-06-06 | Oticon A/S | Dispositivo de audición y procedimiento para la recepción y / o el envío inalámbricos de datos |
| WO2012059302A2 (en) * | 2010-10-12 | 2012-05-10 | Gn Resound A/S | An antenna device |
| US8878735B2 (en) * | 2012-06-25 | 2014-11-04 | Gn Resound A/S | Antenna system for a wearable computing device |
| DK2723101T3 (en) * | 2012-07-06 | 2019-02-04 | Gn Hearing As | Rear-ear hearing system with balanced antenna |
| EP2932560B2 (de) * | 2012-12-12 | 2020-09-23 | Sivantos Pte. Ltd. | Faltdipol für hörhilfegeräte |
-
2014
- 2014-08-15 EP EP24171658.8A patent/EP4408027A3/de active Pending
- 2014-08-15 EP EP14181165.3A patent/EP2985834A1/de not_active Ceased
Also Published As
| Publication number | Publication date |
|---|---|
| EP2985834A1 (de) | 2016-02-17 |
| EP4408027A3 (de) | 2024-10-16 |
Similar Documents
| Publication | Publication Date | Title |
|---|---|---|
| US10708697B2 (en) | Hearing aid with an antenna | |
| EP4408027A2 (de) | Hörgerät mit antenne | |
| US11172315B2 (en) | Hearing aid having combined antennas | |
| EP2680613B1 (de) | Hörgerät mit ringförmiger Schlitzantenne | |
| US9237404B2 (en) | Dipole antenna for a hearing aid | |
| US9609443B2 (en) | In-the-ear hearing aid having combined antennas | |
| US9686621B2 (en) | Hearing aid with an antenna | |
| EP2750409B1 (de) | Dipolantenne für Hörgerät | |
| US11290828B2 (en) | Hearing device with antenna functionality in supporting structure | |
| CN110012403B (zh) | 用于听力仪器的多臂偶极天线 | |
| EP2986030B1 (de) | Hörgerät mit Antenne | |
| US9883295B2 (en) | Hearing aid with an antenna | |
| EP3503589B1 (de) | Hörgerät mit kombinierten antennen | |
| DK201470489A1 (en) | A hearing aid with an antenna |
Legal Events
| Date | Code | Title | Description |
|---|---|---|---|
| PUAI | Public reference made under article 153(3) epc to a published international application that has entered the european phase |
Free format text: ORIGINAL CODE: 0009012 |
|
| STAA | Information on the status of an ep patent application or granted ep patent |
Free format text: STATUS: THE APPLICATION HAS BEEN PUBLISHED |
|
| AC | Divisional application: reference to earlier application |
Ref document number: 2985834 Country of ref document: EP Kind code of ref document: P |
|
| AK | Designated contracting states |
Kind code of ref document: A2 Designated state(s): AL AT BE BG CH CY CZ DE DK EE ES FI FR GB GR HR HU IE IS IT LI LT LU LV MC MK MT NL NO PL PT RO RS SE SI SK SM TR |
|
| REG | Reference to a national code |
Ref country code: DE Ref legal event code: R079 Free format text: PREVIOUS MAIN CLASS: H04R0025000000 Ipc: H01Q0001270000 |
|
| PUAL | Search report despatched |
Free format text: ORIGINAL CODE: 0009013 |
|
| AK | Designated contracting states |
Kind code of ref document: A3 Designated state(s): AL AT BE BG CH CY CZ DE DK EE ES FI FR GB GR HR HU IE IS IT LI LT LU LV MC MK MT NL NO PL PT RO RS SE SI SK SM TR |
|
| RIC1 | Information provided on ipc code assigned before grant |
Ipc: H01Q 1/27 20060101AFI20240906BHEP |
|
| STAA | Information on the status of an ep patent application or granted ep patent |
Free format text: STATUS: REQUEST FOR EXAMINATION WAS MADE |
|
| 17P | Request for examination filed |
Effective date: 20250407 |