EP4201490B1 - Beweglich gestützte übungsvorrichtung - Google Patents

Beweglich gestützte übungsvorrichtung Download PDF

Info

Publication number
EP4201490B1
EP4201490B1 EP23156865.0A EP23156865A EP4201490B1 EP 4201490 B1 EP4201490 B1 EP 4201490B1 EP 23156865 A EP23156865 A EP 23156865A EP 4201490 B1 EP4201490 B1 EP 4201490B1
Authority
EP
European Patent Office
Prior art keywords
frame
support
biasing
exercise equipment
base
Prior art date
Legal status (The legal status is an assumption and is not a legal conclusion. Google has not performed a legal analysis and makes no representation as to the accuracy of the status listed.)
Active
Application number
EP23156865.0A
Other languages
English (en)
French (fr)
Other versions
EP4201490A1 (de
EP4201490C0 (de
Inventor
Benjamin R. Bass
Dustin Lee Kohl
Andrew Haala
Ryan Lutzen
Current Assignee (The listed assignees may be inaccurate. Google has not performed a legal analysis and makes no representation or warranty as to the accuracy of the list.)
Saris Cycling Group Inc
Original Assignee
Saris Cycling Group Inc
Priority date (The priority date is an assumption and is not a legal conclusion. Google has not performed a legal analysis and makes no representation as to the accuracy of the date listed.)
Filing date
Publication date
Priority claimed from US16/819,956 external-priority patent/US11400339B2/en
Application filed by Saris Cycling Group Inc filed Critical Saris Cycling Group Inc
Priority to EP24190322.8A priority Critical patent/EP4464386A3/de
Publication of EP4201490A1 publication Critical patent/EP4201490A1/de
Application granted granted Critical
Publication of EP4201490B1 publication Critical patent/EP4201490B1/de
Publication of EP4201490C0 publication Critical patent/EP4201490C0/de
Active legal-status Critical Current
Anticipated expiration legal-status Critical

Links

Images

Classifications

    • AHUMAN NECESSITIES
    • A63SPORTS; GAMES; AMUSEMENTS
    • A63BAPPARATUS FOR PHYSICAL TRAINING, GYMNASTICS, SWIMMING, CLIMBING, OR FENCING; BALL GAMES; TRAINING EQUIPMENT
    • A63B22/00Exercising apparatus specially adapted for conditioning the cardio-vascular system, for training agility or co-ordination of movements
    • A63B22/0015Exercising apparatus specially adapted for conditioning the cardio-vascular system, for training agility or co-ordination of movements with an adjustable movement path of the support elements
    • AHUMAN NECESSITIES
    • A63SPORTS; GAMES; AMUSEMENTS
    • A63BAPPARATUS FOR PHYSICAL TRAINING, GYMNASTICS, SWIMMING, CLIMBING, OR FENCING; BALL GAMES; TRAINING EQUIPMENT
    • A63B21/00Exercising apparatus for developing or strengthening the muscles or joints of the body by working against a counterforce, with or without measuring devices
    • A63B21/02Exercising apparatus for developing or strengthening the muscles or joints of the body by working against a counterforce, with or without measuring devices using resilient force-resisters
    • A63B21/023Wound springs
    • AHUMAN NECESSITIES
    • A63SPORTS; GAMES; AMUSEMENTS
    • A63BAPPARATUS FOR PHYSICAL TRAINING, GYMNASTICS, SWIMMING, CLIMBING, OR FENCING; BALL GAMES; TRAINING EQUIPMENT
    • A63B21/00Exercising apparatus for developing or strengthening the muscles or joints of the body by working against a counterforce, with or without measuring devices
    • A63B21/02Exercising apparatus for developing or strengthening the muscles or joints of the body by working against a counterforce, with or without measuring devices using resilient force-resisters
    • A63B21/04Exercising apparatus for developing or strengthening the muscles or joints of the body by working against a counterforce, with or without measuring devices using resilient force-resisters attached to static foundation, e.g. a user
    • A63B21/0407Anchored at two end points, e.g. installed within an apparatus
    • A63B21/0428Anchored at two end points, e.g. installed within an apparatus the ends moving relatively by linear reciprocation
    • AHUMAN NECESSITIES
    • A63SPORTS; GAMES; AMUSEMENTS
    • A63BAPPARATUS FOR PHYSICAL TRAINING, GYMNASTICS, SWIMMING, CLIMBING, OR FENCING; BALL GAMES; TRAINING EQUIPMENT
    • A63B21/00Exercising apparatus for developing or strengthening the muscles or joints of the body by working against a counterforce, with or without measuring devices
    • A63B21/15Arrangements for force transmissions
    • A63B21/151Using flexible elements for reciprocating movements, e.g. ropes or chains
    • A63B21/154Using flexible elements for reciprocating movements, e.g. ropes or chains using special pulley-assemblies
    • AHUMAN NECESSITIES
    • A63SPORTS; GAMES; AMUSEMENTS
    • A63BAPPARATUS FOR PHYSICAL TRAINING, GYMNASTICS, SWIMMING, CLIMBING, OR FENCING; BALL GAMES; TRAINING EQUIPMENT
    • A63B22/00Exercising apparatus specially adapted for conditioning the cardio-vascular system, for training agility or co-ordination of movements
    • A63B22/0015Exercising apparatus specially adapted for conditioning the cardio-vascular system, for training agility or co-ordination of movements with an adjustable movement path of the support elements
    • A63B22/0023Exercising apparatus specially adapted for conditioning the cardio-vascular system, for training agility or co-ordination of movements with an adjustable movement path of the support elements the inclination of the main axis of the movement path being adjustable, e.g. the inclination of an endless band
    • AHUMAN NECESSITIES
    • A63SPORTS; GAMES; AMUSEMENTS
    • A63BAPPARATUS FOR PHYSICAL TRAINING, GYMNASTICS, SWIMMING, CLIMBING, OR FENCING; BALL GAMES; TRAINING EQUIPMENT
    • A63B22/00Exercising apparatus specially adapted for conditioning the cardio-vascular system, for training agility or co-ordination of movements
    • A63B22/0046Details of the support elements or their connection to the exercising apparatus, e.g. adjustment of size or orientation
    • AHUMAN NECESSITIES
    • A63SPORTS; GAMES; AMUSEMENTS
    • A63BAPPARATUS FOR PHYSICAL TRAINING, GYMNASTICS, SWIMMING, CLIMBING, OR FENCING; BALL GAMES; TRAINING EQUIPMENT
    • A63B22/00Exercising apparatus specially adapted for conditioning the cardio-vascular system, for training agility or co-ordination of movements
    • A63B22/06Exercising apparatus specially adapted for conditioning the cardio-vascular system, for training agility or co-ordination of movements with support elements performing a rotating cycling movement, i.e. a closed path movement
    • A63B22/0605Exercising apparatus specially adapted for conditioning the cardio-vascular system, for training agility or co-ordination of movements with support elements performing a rotating cycling movement, i.e. a closed path movement performing a circular movement, e.g. ergometers
    • AHUMAN NECESSITIES
    • A63SPORTS; GAMES; AMUSEMENTS
    • A63BAPPARATUS FOR PHYSICAL TRAINING, GYMNASTICS, SWIMMING, CLIMBING, OR FENCING; BALL GAMES; TRAINING EQUIPMENT
    • A63B22/00Exercising apparatus specially adapted for conditioning the cardio-vascular system, for training agility or co-ordination of movements
    • A63B22/16Platforms for rocking motion about a horizontal axis, e.g. axis through the middle of the platform; Balancing drums; Balancing boards or the like
    • AHUMAN NECESSITIES
    • A63SPORTS; GAMES; AMUSEMENTS
    • A63BAPPARATUS FOR PHYSICAL TRAINING, GYMNASTICS, SWIMMING, CLIMBING, OR FENCING; BALL GAMES; TRAINING EQUIPMENT
    • A63B24/00Electric or electronic controls for exercising apparatus of preceding groups; Controlling or monitoring of exercises, sportive games, training or athletic performances
    • AHUMAN NECESSITIES
    • A63SPORTS; GAMES; AMUSEMENTS
    • A63BAPPARATUS FOR PHYSICAL TRAINING, GYMNASTICS, SWIMMING, CLIMBING, OR FENCING; BALL GAMES; TRAINING EQUIPMENT
    • A63B26/00Exercising apparatus not covered by groups A63B1/00 - A63B25/00
    • A63B26/003Exercising apparatus not covered by groups A63B1/00 - A63B25/00 for improving balance or equilibrium
    • AHUMAN NECESSITIES
    • A63SPORTS; GAMES; AMUSEMENTS
    • A63BAPPARATUS FOR PHYSICAL TRAINING, GYMNASTICS, SWIMMING, CLIMBING, OR FENCING; BALL GAMES; TRAINING EQUIPMENT
    • A63B69/00Training appliances or apparatus for special sports
    • A63B69/16Training appliances or apparatus for special sports for cycling, i.e. arrangements on or for real bicycles
    • AHUMAN NECESSITIES
    • A63SPORTS; GAMES; AMUSEMENTS
    • A63BAPPARATUS FOR PHYSICAL TRAINING, GYMNASTICS, SWIMMING, CLIMBING, OR FENCING; BALL GAMES; TRAINING EQUIPMENT
    • A63B71/00Games or sports accessories not covered in groups A63B1/00 - A63B69/00
    • A63B71/02Games or sports accessories not covered in groups A63B1/00 - A63B69/00 for large-room or outdoor sporting games
    • A63B71/023Supports, e.g. poles
    • AHUMAN NECESSITIES
    • A63SPORTS; GAMES; AMUSEMENTS
    • A63BAPPARATUS FOR PHYSICAL TRAINING, GYMNASTICS, SWIMMING, CLIMBING, OR FENCING; BALL GAMES; TRAINING EQUIPMENT
    • A63B22/00Exercising apparatus specially adapted for conditioning the cardio-vascular system, for training agility or co-ordination of movements
    • A63B22/06Exercising apparatus specially adapted for conditioning the cardio-vascular system, for training agility or co-ordination of movements with support elements performing a rotating cycling movement, i.e. a closed path movement
    • A63B22/0605Exercising apparatus specially adapted for conditioning the cardio-vascular system, for training agility or co-ordination of movements with support elements performing a rotating cycling movement, i.e. a closed path movement performing a circular movement, e.g. ergometers
    • A63B2022/0635Exercising apparatus specially adapted for conditioning the cardio-vascular system, for training agility or co-ordination of movements with support elements performing a rotating cycling movement, i.e. a closed path movement performing a circular movement, e.g. ergometers specially adapted for a particular use
    • A63B2022/0641Exercising apparatus specially adapted for conditioning the cardio-vascular system, for training agility or co-ordination of movements with support elements performing a rotating cycling movement, i.e. a closed path movement performing a circular movement, e.g. ergometers specially adapted for a particular use enabling a lateral movement of the exercising apparatus, e.g. for simulating movement on a bicycle
    • AHUMAN NECESSITIES
    • A63SPORTS; GAMES; AMUSEMENTS
    • A63BAPPARATUS FOR PHYSICAL TRAINING, GYMNASTICS, SWIMMING, CLIMBING, OR FENCING; BALL GAMES; TRAINING EQUIPMENT
    • A63B24/00Electric or electronic controls for exercising apparatus of preceding groups; Controlling or monitoring of exercises, sportive games, training or athletic performances
    • A63B24/0087Electric or electronic controls for exercising apparatus of groups A63B21/00 - A63B23/00, e.g. controlling load
    • A63B2024/0093Electric or electronic controls for exercising apparatus of groups A63B21/00 - A63B23/00, e.g. controlling load the load of the exercise apparatus being controlled by performance parameters, e.g. distance or speed
    • AHUMAN NECESSITIES
    • A63SPORTS; GAMES; AMUSEMENTS
    • A63BAPPARATUS FOR PHYSICAL TRAINING, GYMNASTICS, SWIMMING, CLIMBING, OR FENCING; BALL GAMES; TRAINING EQUIPMENT
    • A63B69/00Training appliances or apparatus for special sports
    • A63B69/16Training appliances or apparatus for special sports for cycling, i.e. arrangements on or for real bicycles
    • A63B2069/161Training appliances or apparatus for special sports for cycling, i.e. arrangements on or for real bicycles supports for the front of the bicycle
    • A63B2069/163Training appliances or apparatus for special sports for cycling, i.e. arrangements on or for real bicycles supports for the front of the bicycle for the front wheel
    • AHUMAN NECESSITIES
    • A63SPORTS; GAMES; AMUSEMENTS
    • A63BAPPARATUS FOR PHYSICAL TRAINING, GYMNASTICS, SWIMMING, CLIMBING, OR FENCING; BALL GAMES; TRAINING EQUIPMENT
    • A63B69/00Training appliances or apparatus for special sports
    • A63B69/16Training appliances or apparatus for special sports for cycling, i.e. arrangements on or for real bicycles
    • A63B2069/164Training appliances or apparatus for special sports for cycling, i.e. arrangements on or for real bicycles supports for the rear of the bicycle, e.g. for the rear forks
    • AHUMAN NECESSITIES
    • A63SPORTS; GAMES; AMUSEMENTS
    • A63BAPPARATUS FOR PHYSICAL TRAINING, GYMNASTICS, SWIMMING, CLIMBING, OR FENCING; BALL GAMES; TRAINING EQUIPMENT
    • A63B69/00Training appliances or apparatus for special sports
    • A63B69/16Training appliances or apparatus for special sports for cycling, i.e. arrangements on or for real bicycles
    • A63B2069/164Training appliances or apparatus for special sports for cycling, i.e. arrangements on or for real bicycles supports for the rear of the bicycle, e.g. for the rear forks
    • A63B2069/165Training appliances or apparatus for special sports for cycling, i.e. arrangements on or for real bicycles supports for the rear of the bicycle, e.g. for the rear forks rear wheel hub supports
    • AHUMAN NECESSITIES
    • A63SPORTS; GAMES; AMUSEMENTS
    • A63BAPPARATUS FOR PHYSICAL TRAINING, GYMNASTICS, SWIMMING, CLIMBING, OR FENCING; BALL GAMES; TRAINING EQUIPMENT
    • A63B71/00Games or sports accessories not covered in groups A63B1/00 - A63B69/00
    • A63B71/02Games or sports accessories not covered in groups A63B1/00 - A63B69/00 for large-room or outdoor sporting games
    • A63B71/023Supports, e.g. poles
    • A63B2071/025Supports, e.g. poles on rollers or wheels
    • AHUMAN NECESSITIES
    • A63SPORTS; GAMES; AMUSEMENTS
    • A63BAPPARATUS FOR PHYSICAL TRAINING, GYMNASTICS, SWIMMING, CLIMBING, OR FENCING; BALL GAMES; TRAINING EQUIPMENT
    • A63B71/00Games or sports accessories not covered in groups A63B1/00 - A63B69/00
    • A63B71/02Games or sports accessories not covered in groups A63B1/00 - A63B69/00 for large-room or outdoor sporting games
    • A63B71/023Supports, e.g. poles
    • A63B2071/026Supports, e.g. poles stabilised by weight
    • AHUMAN NECESSITIES
    • A63SPORTS; GAMES; AMUSEMENTS
    • A63BAPPARATUS FOR PHYSICAL TRAINING, GYMNASTICS, SWIMMING, CLIMBING, OR FENCING; BALL GAMES; TRAINING EQUIPMENT
    • A63B2209/00Characteristics of used materials
    • AHUMAN NECESSITIES
    • A63SPORTS; GAMES; AMUSEMENTS
    • A63BAPPARATUS FOR PHYSICAL TRAINING, GYMNASTICS, SWIMMING, CLIMBING, OR FENCING; BALL GAMES; TRAINING EQUIPMENT
    • A63B2210/00Space saving
    • A63B2210/50Size reducing arrangements for stowing or transport
    • AHUMAN NECESSITIES
    • A63SPORTS; GAMES; AMUSEMENTS
    • A63BAPPARATUS FOR PHYSICAL TRAINING, GYMNASTICS, SWIMMING, CLIMBING, OR FENCING; BALL GAMES; TRAINING EQUIPMENT
    • A63B2220/00Measuring of physical parameters relating to sporting activity
    • A63B2220/50Force related parameters
    • A63B2220/51Force
    • AHUMAN NECESSITIES
    • A63SPORTS; GAMES; AMUSEMENTS
    • A63BAPPARATUS FOR PHYSICAL TRAINING, GYMNASTICS, SWIMMING, CLIMBING, OR FENCING; BALL GAMES; TRAINING EQUIPMENT
    • A63B2220/00Measuring of physical parameters relating to sporting activity
    • A63B2220/80Special sensors, transducers or devices therefor
    • AHUMAN NECESSITIES
    • A63SPORTS; GAMES; AMUSEMENTS
    • A63BAPPARATUS FOR PHYSICAL TRAINING, GYMNASTICS, SWIMMING, CLIMBING, OR FENCING; BALL GAMES; TRAINING EQUIPMENT
    • A63B2225/00Miscellaneous features of sport apparatus, devices or equipment
    • A63B2225/09Adjustable dimensions
    • AHUMAN NECESSITIES
    • A63SPORTS; GAMES; AMUSEMENTS
    • A63BAPPARATUS FOR PHYSICAL TRAINING, GYMNASTICS, SWIMMING, CLIMBING, OR FENCING; BALL GAMES; TRAINING EQUIPMENT
    • A63B2225/00Miscellaneous features of sport apparatus, devices or equipment
    • A63B2225/50Wireless data transmission, e.g. by radio transmitters or telemetry
    • AHUMAN NECESSITIES
    • A63SPORTS; GAMES; AMUSEMENTS
    • A63BAPPARATUS FOR PHYSICAL TRAINING, GYMNASTICS, SWIMMING, CLIMBING, OR FENCING; BALL GAMES; TRAINING EQUIPMENT
    • A63B2225/00Miscellaneous features of sport apparatus, devices or equipment
    • A63B2225/68Miscellaneous features of sport apparatus, devices or equipment with article holders
    • A63B2225/682Miscellaneous features of sport apparatus, devices or equipment with article holders for beverages

Definitions

  • exercise equipment can be configured or controlled to simulate outdoor conditions.
  • the incline of the treadmill belt can be adjusted to simulate running or walking uphill or downhill.
  • Stationary cycles and bicycle trainers which most commonly are positioned upright and horizontal, have been designed to include features that allow the stationary cycle or bicycle and trainer combination to tilt side-to-side and to adjust an angle of inclination either upwardly or downwardly.
  • an item of exercise equipment includes a frame configured to support a user, a user input arrangement movably mounted to the frame for enabling a user to apply input forces during exercise, and a support arrangement with which the frame is engaged.
  • the support arrangement supports the frame above a support surface, and is configured to provide movement of the frame in a fore-aft direction along a longitudinal axis in response to input forces applied to the frame by the user.
  • the support arrangement is configured to provide tilting movement of the frame about a tilt axis that extends primarily in the fore-aft direction.
  • the frame and the movable input arrangement are in the form of a cycle-type device.
  • a neutral biasing arrangement is provided for biasing the frame toward a fore-aft neutral position and a tilting neutral position.
  • the neutral biasing arrangement may include a first biasing arrangement for biasing the frame toward the fore-aft neutral position and a second biasing arrangement for biasing the frame toward a tilt neutral position.
  • the frame may be engaged with the support arrangement via engagement of a pair of rollers with a pair of support members, with the support members and rollers cooperating to provide fore-aft movement of the frame relative to the support arrangement.
  • the pair of support members are interconnected with the frame and the pair of rollers are interconnected with the support arrangement.
  • Each roller may be in the form of a grooved roller, and relative axial fore-aft movement between the support members and the grooved rollers results in movement of the frame in the fore-aft direction and relative pivoting movement between the support members and the grooved rollers results in tilting movement of the frame about the tilt axis.
  • the pair of support members may be in the form of a front support member located toward a forward end defined by the frame and a rear support member located toward a rearward end defined by the frame.
  • the rear support member may be located at a lower elevation relative to the support surface than the front support member to more closely resemble a road-like feel when operating the cycle.
  • the support arrangement is in the form of a base, and the second biasing arrangement includes a tilt neutral biasing arrangement interconnected between the base and the frame that applies opposite laterally directed biasing forces to the frame that urge the frame toward the tilt neutral position.
  • the base may include a pair of laterally spaced apart stanchions, and the tilt neutral biasing arrangement may include a centering guide member interconnected with the frame and located between the pair of stanchions.
  • a pair of flexible elongated biasing members are interconnected with and extend in laterally opposite directions from the centering guide member, and a biasing arrangement associated with each of the stanchions.
  • Each flexible elongated biasing member is interconnected with one of the biasing arrangements, such that biasing forces exerted by the biasing arrangements bias the centering guide member toward a neutral position corresponding to the tilt neutral position of the frame.
  • the centering guide member defines an axially extending internal passage
  • the flexible elongated biasing members are interconnected with a shuttle that is movable within the internal passage of the centering guide member to accommodate fore-aft movement of the frame relative to the base.
  • Each biasing arrangement may be in the form of one or more springs interconnected between one of the stanchions and one of the flexible elongated biasing members.
  • an exercise cycle includes a base configured for placement on a supporting surface, a frame configured to support a user and including a pedal-type user force input arrangement, and a movable support arrangement interposed between the base and the frame for providing movement of the frame relative to the base during use.
  • the movable support arrangement is configured to provide axial fore-aft movement of the frame relative to the base and side-to-side tilting movement of the frame relative to the base.
  • An axial centering arrangement is interposed between the base and the frame for biasing the frame toward an axial fore-aft neutral position, and a tilt centering arrangement is interposed between the base and the frame for biasing the frame toward a tilt neutral position.
  • a first embodiment of a movable exercise equipment support in accordance with the present disclosure is shown generally at 100 in Figs. 1-18 .
  • the movable exercise equipment support 100 is separate from, but adapted to support, an item of exercise equipment.
  • the item of exercise equipment is in the form of a bicycle B engaged with a bicycle trainer T.
  • the bicycle trainer T is illustrated as a relatively conventional trainer that engages the rear wheel of the bicycle B and provides resistance when the user applies input forces to the pedals of bicycle B, in a manner as is known.
  • Trainers of this type are commonly available, such as under the brand CycleOps manufactured by Saris Cycling Group, Inc. of Madison Wisconsin.
  • any other type of bicycle trainer such as a director drive trainer, may be employed.
  • the item of exercise equipment supported by the movable exercise equipment support 100 need not be limited to equipment such as a bicycle and trainer combination, and that any type of stationary exercise equipment to which repetitive or cyclic forces are applied by a user during operation may be employed.
  • the movable exercise equipment support 100 generally includes a base 102 that is adapted to be positioned on a supporting surface such as a floor, a platform 104, and a frame 106.
  • the bicycle B and trainer T are positioned on an upwardly facing surface defined by the platform 104.
  • the platform 104 is secured to the frame 106, and the frame 106 is movably mounted to the base 102, in a manner to be explained.
  • the frame 106 is movable relative to the base 102 in response to input forces applied by the user to the pedals of bicycle B during use, as will also be explained. In a first direction of movement, as shown in Figs.
  • the platform 104 and frame 106 are movable in clockwise and counterclockwise directions about a longitudinal tilt axis, which enables the bicycle B, trainer T and the user to move from side-to-side in response to input forces applied by the user to the pedals of bicycle B.
  • the base 102 may be formed of tubular metal members that are secured together in a generally rectangular configuration, although other satisfactory materials and configurations may be employed.
  • the base 102 includes a pair of side members 108a, 108b and a pair of end members 110a, 110b.
  • a bracket 112a is mounted to the end member 110a, and a bracket 112b is mounted to the end member 110b.
  • the bracket 112a rotatably supports a grooved roller 114a
  • the bracket 112b rotatably supports a grooved roller 114b.
  • a step 116 is secured to one of the base side members 108a, 108b.
  • the step 116 includes an upright post 118 that is secured at its lower end to the base side member 108b, and a generally horizontal step member 120 secured to the upper end of the post 118.
  • the step 116 is stationarily secured to the base102, and is adapted to support the weight of the user above the platform 104 as the user mounts and dismounts the bicycle B.
  • the frame 106 includes a longitudinal frame member 122 that overlies the base 102 and that extends beyond the ends of base 102.
  • a series of platform mounting members are located above and secured to the longitudinal frame member 122.
  • the platform mounting members may include a front transverse platform mounting member 124, an intermediate transverse platform mounting member 126, and a rear transverse platform mounting member 128.
  • a rear subframe which includes a pair of side subframe members 130a, 130b and an end subframe member 132, is secured to the rear transverse platform mounting member 128, extending rearwardly therefrom.
  • a pair of tilt biasing bracket assemblies 134a, 134b are pivotably mounted to side subframe members 130a, 130b.
  • the platform 104 overlies and is secured to the platform mounting members 124, 126, 128, 130a, 130b and 132 of frame 106.
  • the platform 104 may be have a generally flat, planar configuration, defining an upwardly facing top surface on which the bicycle B and trainer T can be positioned.
  • the platform 104 may include a series of holes or apertures, which may receive fasteners, straps, etc. that can be used to secure the bicycle B and trainer T in position. Suitable fasteners are adapted to extend through openings in the platform mounting members 124, 126, 128, 130a, 130b and 132 and into engagement with the platform 104 for securing the platform 104 to the frame 106.
  • the platform 104 may have any configuration as desired, and in the illustrated embodiment has a somewhat wider rear area for accommodating the trainer T and a narrower forward area on which the front wheel of the bicycle B is positioned.
  • the longitudinal frame member 122 is provided with rear and front engagement areas 136a, 136b, respectively.
  • the rear and front engagement areas 136a, 136b rest on and are supported by the rear and front grooved rollers 114a, 114b, respectively, to allow frame 106, and thereby platform 104 and bicycle B and trainer T supported thereabove, to move in an axial or fore-aft direction relative to the base 102 in response to input forces applied by the user to the pedals of bicycle B.
  • the rear and front engagement areas 136a, 136b are identically constructed, and have an arcuate configuration that provides movement of the frame 106 upwardly and downwardly as the frame 106 is moved in the axial or fore-aft direction relative to the base 102.
  • the frame 106 is gravity biased toward an axially neutral position, as shown in Fig. 9 , due to the arcuate configuration of the engagement areas 136a, 136b.
  • the frame 106 can be moved rearwardly and upwardly relative to the base 102 as shown in Fig. 10 , as well as forwardly and upwardly relative to the base 102 as shown in Fig. 11 , in reaction to forces that are experienced by the platform 104 and frame 106 in response to application of input forces by the user to the pedals of the bicycle B.
  • Semicircular retainer brackets 138a, 138b are secured to rear and front end members 110a, 110b, respectively, and extend over the rear and front end areas, respectively, of longitudinal frame member 122.
  • the retainer brackets 138a, 138b function to limit the upward movement of longitudinal frame member 122 relative to base 102, to ensure that rear and front engagement areas 136a, 136b remain in engagement with rear and front grooved rollers 114a, 114b, respectively.
  • rear engagement area 136a includes a downwardly facing track member 140a that is secured to longitudinal frame member 122.
  • the track member 140a has an arcuate configuration, and is engaged within a correspondingly shaped cut-out area of longitudinal frame member 122.
  • the longitudinal frame member 122 may be formed of a tubular member having a generally circular cross-section, and the walls of the tubular member may be cut to form a recess within which the arcuate track member 140a is received.
  • Both the longitudinal frame member 122 and the track member 140a may be formed of a metal material, and the track member 140a may be secured within the recess of longitudinal frame member 122 by welding. It is understood, however, that the longitudinal frame member 122 and track member 140a may be formed of any material as desired and the track member 140a may be secured to the longitudinal frame member 122 in any desired manner.
  • the track member 140a includes a pair of side areas 142, 144 and a central bead area 146 between the side areas 142, 144.
  • the side areas 142, 144 may be relatively flat in cross-section, and the central bead area 146 may have a convex or outwardly arcuate configuration. This configuration is illustrated in Fig. 17 , which shows that the central bead area 146 may have a configuration that is generally semicircular.
  • Fig. 17 also illustrates the grooved roller 114a and its engagement with the semicircular central bead area 146 of track member 140a.
  • the grooved roller 114a is located between a pair of upstanding members defined by the bracket 112a and is rotatable about an axle or shaft that extends between and is secured to the upstanding members of bracket 112a.
  • the grooved roller 114a includes a pair of roller bearing assemblies 150 through which the shaft 148 extends, and which are engaged with an outer shell portion 152 of grooved roller 114a that defines a groove 154.
  • the groove 154 has a radius that is slightly larger than that of central bead area 146 of track member 140a, so that central bead area 146 nests within the groove 154. Engagement of the central bead area 146 within the groove 154 provides the dual function of allowing axial movement of track member 140a upon rotation of grooved roller 114a to thereby allow longitudinal frame member 122 to move axially relative to base 102, while at the same time allowing longitudinal frame member 122 to pivot relative to grooved roller 114a.
  • the axial movement of track member 140a on grooved roller 114a provides axial or fore-aft movement of platform 104 relative to base 102
  • pivoting movement of central bead area 146 of track member 140a within groove 154 of grooved roller 114a provides tilting movement of frame member 122 and thereby platform 104 relative to base 102.
  • Engagement of central bead area 146 within groove 154 further functions to limit transverse or lateral movement of track 140a relative to roller 114a, which secures the transverse or lateral position of longitudinal frame member 122, and thereby frame 106 and platform 104, relative to base 102.
  • Fig. 18 illustrates tilt biasing bracket assembly 134b, which along with tilt biasing bracket assembly 134a functions to bias frame 106, and thereby platform 104, to a neutral tilt position.
  • tilt biasing bracket assembly 134b applies equally to tilt biasing bracket assembly 134a.
  • tilt biasing bracket assembly 134b includes a bracket member 160, which is pivotably secured at its upper end to side subframe member 130b via a pin 162.
  • a wheel or roller 164 is rotatably mounted to the lower end of bracket member 160, and rests on the upwardly facing surface of frame side member 108b.
  • a biasing component engages bracket member 160 to bias bracket member 160 downwardly toward frame side member 108b.
  • the biasing component may be in the form of a torsion spring, a compression spring, or any other satisfactory mechanism or device for exerting a downward biasing force on bracket member 108b.
  • the spring is in the form of a foam block 165, which is illustrated in a compressed condition applying an upward biasing force on side frame member 130b and a downward biasing force that urges roller 164 against base side member 108b. In this manner, roller 164 is biased against the upwardly facing surface of frame side member 108b.
  • a threaded sleeve 166 is secured to side subframe member 130b, and an adjustment screw 168 is threadedly engaged with sleeve 166.
  • the adjustment screw 168 has a head at its upper end that can be accessed through an opening in platform 104, and the lower end of adjustment screw 168 bears against a preload bracket shown at 170. Rotation of adjustment screw 168 functions to adjust the rotational position of frame 106 and platform 104 relative to base 102. In this manner, the adjustment screws 168 of tilt biasing bracket assemblies 134a, 134b can be selectively rotated to place platform 104 in a level orientation.
  • movable exercise platform 104 and frame 106 of equipment support 100 move in an axial, fore-aft direction and tilt side-to-side during use of the bicycle B by a user, to provide an experience for the user that more closely resembles real-world conditions.
  • the platform 104 will tilt in the direction of the downward force by pivoting movement of the central bead areas, such as 146, of the track members, such as 140, within the grooves, such as 154, of the rollers 114a, 114b.
  • the platform 104 will move forwardly or rearwardly in an axial or fore-aft direction by axial movement of the track members, such as 140a, on the grooved rollers, such as 114a.
  • the arcuate configuration of the track members, such as 140a, of the engagement areas 136a, 136b provides a gravity bias of platform 104 toward an axially neutral position in which the rollers 114a, 114b are positioned in the uppermost central portion of the engagement areas 136a, 136b, respectively.
  • the rollers such as 164 of the tilt biasing bracket assemblies 134a, 134b are moved in an axial or fore-aft direction along the upwardly facing surfaces of the base side members 108a, 108b.
  • the spring biasing component(s) of the tilt biasing bracket assemblies 134a, 134b function to maintain the rollers such as 164 of the tilt biasing bracket assemblies 134a, 134b in contact with the upwardly facing surfaces of the base side members 108a, 108b, respectively.
  • the tilt biasing bracket assemblies 134a, 134b function to exert upward biasing forces on the underside of platform 104 on either side of longitudinal frame member 122 to bias platform 104 to the neutral tilt position as frame member 122 moves axially relative to base 102, while at the same time the arcuate engagement areas 136a, 136b bias platform 104 to an axially neutral position during side-to-side tilting movement of platform 104.
  • Figs. 19-24 illustrate another embodiment of a movable exercise equipment support in accordance with the present disclosure, shown at 200.
  • the movable exercise equipment support 200 includes a foldable base section 202 and a foldable platform section 204.
  • the foldable base section 202 includes a front base portion 206, a rear base portion 208, and an intermediate base portion 210 located between the front base portion 206 and the rear base portion 208.
  • a front hinge 212 pivotably connects the front base portion 206 to the front of the intermediate base portion 210 via a front hinge pin 213, and a rear hinge 214 pivotably connects the rear base portion 208 to the rear of the intermediate base portion 210 via a rear hinge pin 215.
  • the front and rear hinges 212, 214 may have any conventional hinge configuration as desired, and enable the front base portion 206 and the intermediate base portion 210 to pivot relative to each other about front hinge pin 213 and the rear base portion 208 and the intermediate base portion 210 to pivot relative to each other about rear hinge pin 215.
  • the front base portion 206 of base section 202 includes a centrally located front bracket 216 to which a front grooved roller 218 is rotatably mounted.
  • the rear base portion 208 of base section 202 includes a centrally located rear bracket 220 to which a rear grooved roller 222 is rotatably mounted.
  • the rear base portion 208 includes a pair of upwardly facing tracks 224 located one adjacent each side edge of the rear base portion 208.
  • the front base portion 206 also includes a pair of steps 225, which are configured to support the weight of the user when mounting or dismounting the item of exercise equipment, such as bicycle B.
  • the platform section 204 includes a front platform portion 226 and a rear platform portion 228.
  • the front platform portion 226 is configured to fit between the steps 225 of the front base portion 206.
  • a hinge 230 including a hinge pin 231 pivotably connects the rear of the front platform portion 226 and the front of the rear platform portion 228, to enable the front platform portion 226 and the rear platform portion 228 to pivot relative to each other.
  • the front platform portion 226 may include an optional wheel support 232, which is configured to underlie the front wheel of a bicycle, such as bicycle B, when positioned on movable exercise equipment support 200.
  • the wheel support 232 may be movable within guide tracks or slots 234 formed in front platform portion 226 to accommodate different types and sizes of bicycles and to allow adjustment in the position of the bicycle on the platform section 204.
  • a series of guide tracks or slots 236 may be formed in rear platform portion 228.
  • Retainer straps, such as shown at 238, may be movably mounted in the slots 236.
  • the retainer straps 238 may be employed for securing a bicycle trainer, such as trainer T, in position on the upwardly facing surface of rear platform portion 228.
  • platform section 204 On its underside, platform section 204 includes front and rear centrally located arcuate tracks 240, 242 secured to front and rear platform portions 226, 228, respectively.
  • the tracks 240, 242 have a construction like that of track member 140 described previously, with a central bead area the extends in a front-rear direction along the length of the track. As also described previously, the central bead areas of the tracks 240, 242 are engaged within the grooves of rollers 218, 222, respectively.
  • the front platform portion 226 is formed with a pair of track mounting bosses 244, 246, and the front track 240 extends between and is mounted to the front track mounting bosses 244, 246.
  • the rear platform portion 228 is formed with a pair of track mounting bosses 248, 250, and the rear track 242 extends between and is mounted to the rear track mounting bosses 248, 250.
  • the bosses 244 and 246 may be formed integrally with the material of front platform portion 226, such as in molding operation.
  • the bosses 248 and 250 may be formed integrally with the material of rear platform portion 228, such as in molding operation. It is understood, however, that the bosses may be formed separately and may be secured in any satisfactory manner to the platform section 204.
  • each tilt biasing bracket assembly 252 includes a bracket member 254 that is pivotably mounted to the underside of rear platform portion 228 via a pin 256.
  • a roller 258 is rotatably mounted to the end of bracket member 254 and is engaged with track 224 on rear base section 208.
  • a biasing component engages bracket member 254 to bias bracket member 254 downwardly toward frame side member rear base portion 208.
  • the biasing component may be in the form of a torsion spring, a compression spring, or any other satisfactory mechanism or device for exerting a downward biasing force on bracket member 254.
  • the spring is in the form of a foam block 259, which is illustrated in a compressed condition applying an upward biasing force on the underside of rear platform portion 228 and a downward biasing force that urges roller 258 against track 224. In this manner, roller 258 is biased against the upwardly facing surface of track 224.
  • rear platform portion 228 includes a laterally movable counterweight arrangement.
  • the counterweight arrangement includes a guide track 260 that extends across the rearward end of rear platform portion 228, in combination with a counterweight member 262 located below the guide track 260.
  • the counterweight member 262 is movable within a laterally extending channel formed in the rear end of rear platform portion 228 below guide track 260.
  • a counterweight positioning member which may be in the form of a button 264, is secured to counterweight member 262.
  • the button 264 has a connector portion that extends through the guide track 260. With this arrangement, the button 264 can be moved along the guide track 260 to place counterweight member 262 in any desired lateral position relative to platform section 204.
  • the position of counterweight member 262 can thus be varied to accommodate any unevenness in the distribution of weight by the item of exercise equipment supported on platform section 204 relative to the longitudinal or fore-aft axis of the platform section 204.
  • Such unevenness may be caused, for example, by engagement of the bicycle B with a trainer T that has a relatively heavy flywheel that is off-center relative to the longitudinal axis of the platform section 204.
  • movable exercise equipment support 200 Operation of movable exercise equipment support 200 is generally the same as described previously with respect to the movable exercise equipment support 100 of Figs. 1-18 . That is, exercise equipment support 200 moves in an axial, fore-aft direction and tilts side-to-side during use of the bicycle B by a user, to provide an experience for the user that more closely resembles real-world conditions.
  • the platform section 204 will tilt in the direction of the downward force by pivoting movement of the central bead areas of the track members, 240, 242, within the grooves of the rollers 218, 222, respectively.
  • the platform section 204 will move forwardly or rearwardly in an axial or fore-aft direction by axial movement of the track members 240, 242 on the grooved rollers 218, 222, respectively.
  • the arcuate configuration of the track members 240, 242 provides a gravity bias of platform section 204 toward an axially neutral position in which the rollers 218, 222 are positioned in the uppermost central portion of the track members 240, 242, respectively.
  • the rollers such as 258 of the tilt biasing bracket assemblies 252 are moved in an axial or fore-aft direction along the upwardly facing surfaces of the tracks such as 224.
  • the spring biasing component(s) of the tilt biasing bracket assemblies 252 function to maintain the rollers such as 258 of the tilt biasing bracket assemblies 252 in contact with the upwardly facing surfaces of the tracks 224.
  • the tilt biasing bracket assemblies 252 function to exert upward biasing forces on the underside of platform section 204 on either side of longitudinal axis of platform section 204 to bias platform section 204 to the neutral tilt position while platform section 204 moves axially relative to base section 202, while at the same time the arcuate configuration of tracks 240, 242 biases platform section 204 to an axially neutral position during side-to-side tilting movement of platform section 204.
  • the arcuate shape of track 224 isolates the tilt bias from the effects of fore-aft movement of the platform section 204, to provides a consistent tilt biasing force throughout the range of movement of platform section 204.
  • movable exercise equipment support 200 provides an added feature as shown in Figs. 23 and 24 .
  • movable exercise equipment support 200 when movable exercise equipment support 200 is not in use, such as during shipment or storage, it can be folded to a relatively compact inoperative configuration.
  • front and rear platform portions 226, 228, respectively are pivoted together at hinge 230.
  • Intermediate base portion 210 has a width slightly greater than the folded-together width of front and rear platform portions 226, 228, respectively, so that front base portion 206 can be folded upwardly to a position adjacent front platform portion 226 and rear base portion 208 can be folded upwardly to a position adjacent rear platform portion 228.
  • Suitable latch mechanisms may be employed for selectively maintaining the movable exercise equipment support 200 in the folded position.
  • Figs. 1-24 show the front wheel of the bicycle B being engaged with and supported on a trough or riser structure secured to the front area of the platform. It is understood, however, that the front of the bicycle B may be supported in any other manner as desired such as, but not limited to, a fork mount in a manner as is known.
  • Fig. 24a-24c illustrates an embodiment of a movable exercise equipment support in accordance with the present disclosure, shown generally at 700, which is generally similar to the embodiment of Figs. 19-24 .
  • the bicycle B and trainer T are shown as being supported on the movable exercise equipment support 700. While the drawings illustrate the trainer T in the form of a wheel-on trainer, it is understood that any other type of trainer, such as a direct drive trainer, may be employed.
  • a front wheel support 702 is positioned on the front platform portion of movable exercise equipment support 700 for supporting the front wheel of bicycle B.
  • the base section and platform section of movable exercise equipment support 700 are similar in construction and operation to the base and platform sections 202, 204 of movable exercise equipment support 200 as shown and described with respect to Figs. 19-24 .
  • the illustrations of movable exercise equipment support 700 illustrate additional features that may be incorporated into the movable exercise equipment supports 200, 700.
  • the movable exercise equipment support 700 has a base section 704 and a platform section 706.
  • Grooved rollers, such as 708, are rotatably mounted to the base section 704, and arcuate beaded tracks, such as shown at 710, are secured to the platform section 706 and engaged with the grooved rollers 708 for providing axial fore-aft movement of the platform section 706 relative to the base section 704.
  • Tilt biasing bracket assemblies, such as 712, which have rollers such as 714, are provided on platform section 706 for biasing the platform section 706 toward a neutral tilt position.
  • the tilt bracket rollers 714 are engaged with and movable along tracks, such as 716, on the base section 704.
  • the tracks 716 of base section 704 have a curvature and configuration that matches that of tracks 710 of platform section 706, but face upwardly rather than downwardly. That is to say, the engagement surface of each track 710 faces downwardly whereas the engagement surface of each track 716 faces upwardly.
  • each track 716 is axially offset relative its associated track 710 by a distance corresponding to the center-to-center spacing between roller 708 and roller 714. With this arrangement, the tilt biasing force exerted on the tilt biasing bracket assembly 712 by the spring, shown at 718, is not affected by the axial position of the platform section 706 relative to the base section 704.
  • a counterweight 719 is made up of upper and lower counterweight sections that are secured together via an extendible and retractable screw, which can be operated using a knob 720.
  • Each counterweight section is provided with a transverse channel, within which upper and lower lips 721 defined at the rear surface of rear platform section 706 are received. The lips 721 extend across the width of the platform section 706.
  • Figs. 24d-24g illustrate another feature, in the form of a latch or coupling arrangement, that may be incorporated into the movable exercise equipment supports such as 200, 700.
  • the movable exercise equipment support may include a front platform portion 722 and a rear platform portion 724, which are foldably connected via a hinge 726.
  • a coupling mechanism, shown generally at 728, is provided for selectively securing the front and rear platform portions 722, 724, respectively, together to maintain the platform portions in an unfolded, operative configuration.
  • a coupling mechanism such as 728 may be provided on either or both sides of the movable exercise equipment support.
  • the coupling mechanism 728 includes a coupler shaft 730 that is slidably disposed within a passage 732 that extends inwardly from the end surface of front platform portion 722.
  • a slot 734 is formed in a portion of the length of the wall of front platform portion 722 that forms passage 732.
  • a handle or knob 736 is located exteriorly relative to the wall of front platform portion 722, and a threaded shank extends inwardly from the knob 736 and into engagement with a transverse threaded passage 738 formed in a side area of coupler shaft 730.
  • the knob 736 may be employed to axially move the coupler shaft 730 within slot 734, with the range of movement of coupler shaft 730 being governed by engagement of the shank with the ends of slot 734.
  • a receiver passage 740 extends inwardly from the end surface of rear platform portion 724, and is generally in alignment with passage 732 when the front platform portion 722 and the rear platform portion 724 are unfolded.
  • the receiver passage 740 has a cross-section similar to, but slightly larger than, that of coupler shaft 730.
  • Coupler shaft 730 thus functions to prevent front platform portion 722 and rear platform portion 724 from being moved away from the unfolded operative position. Simultaneously, movement of coupler shaft 730 into receiver passage 740 provides an automatic leveling of front and rear platform portions 722, 724, respectively, on the base of the movable exercise equipment support due to the gravity bias of the connected platform portions 722, 724 toward a horizontal position.
  • coupler shaft 730 includes a pair of coupler shaft sections 742, 744 that are engaged with each other via the threaded shaft, shown at 746, that is connected to and extends from knob 736.
  • the shaft 746 extends through a slotted passage 748 in coupler shaft section 742, and the threaded end portion of shaft 746 is secured within a threaded passage 750 in coupler shaft section 744.
  • the coupler shaft sections 742, 744 are provided with complementary angled engagement surfaces 752, 754, respectively.
  • Knob 736 defines a shoulder 756 so that, when knob 736 is turned to advance threaded shaft 746, engagement of shoulder 756 with the surface of coupler shaft section 742 at the entrance of slotted passage 748 causes engagement surface 752 of coupler shaft section 742 to slide laterally and upwardly on engagement surface 754 of coupler shaft section 744.
  • Figs. 24j-24m illustrate another embodiment of a movable exercise equipment support, shown at 760, in accordance with the present disclosure.
  • the bicycle B and trainer T are shown as being supported on the movable exercise equipment support 760. While the drawings illustrate the trainer T in the form of a wheel-on trainer, it is understood that any other type of trainer, such as a direct drive trainer, may be employed.
  • the movable exercise equipment support 760 includes a rear portion 762 and a front portion 764.
  • the rear portion 762 includes a base 768 and a platform 770.
  • the base 768 includes a pair of axially aligned rollers 772
  • the platform 770 includes a pair of downwardly facing beaded tracks 774 that are engaged with the rollers 772.
  • the rollers 772 and the tracks 774 have generally the same construction and function as described previously, providing both axial fore-aft movement and tilting movement of platform 770 relative to base 768.
  • Tilt biasing bracket assemblies, such as shown at 776, are provided on platform 770 and engage base 768 to bias platform 770 toward a neutral tilt position, as described previously.
  • the front portion 764 of movable exercise equipment support 760 is stationary.
  • a front wheel support 778 underlies the front wheel of the bicycle B, and a pair of steps 780 are provided one on either side of wheel support 778.
  • the front wheel support 778 includes an upwardly facing slot or channel 782.
  • the channel 782 is configured to receive the front wheel of bicycle B, so that the front wheel of bicycle can move axially in a fore-aft direction in response to axial forces applied to the bicycle B during operation.
  • the bottom of the front wheel of bicycle B rotates within the channel 782 to enable the bicycle B to tip or tilt.
  • the movable exercise equipment support 760 has somewhat of a hybrid movement system due to axial and tilting movement of the platform 770 at the rear of bicycle B and conventional, although tracked, rolling and tilting of the front wheel of the bicycle B within the channel 782 of the wheel support 778.
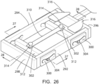
  • Figs. 25-28 illustrate another embodiment of a movable exercise equipment support in accordance with the present disclosure, shown at 270.
  • movable exercise equipment support 270 is illustrated as supporting a bicycle B and trainer T (in this case a direct drive trainer), although it is understood that any other type of exercise equipment may be employed.
  • the movable exercise equipment support 270 generally includes a front section 272 and a rear section 274, which are joined together by a connector member 276.
  • the front section 272 has a generally rectangular configuration, including a pair of sidewalls 278, 280 and a pair of end walls 282, 284.
  • the sidewalls 278, 280 are provided with arcuate slots 286.
  • Front cross-members 288 extend between the sidewalls 278, 280.
  • Each front cross-member 288 includes a roller 290 at each end, which is positioned within one of the slots 286.
  • rear section 274 has a generally rectangular configuration, including a pair of sidewalls 292, 294 and a pair of end walls 296, 298.
  • the sidewalls 292, 294 are provided with arcuate slots 300.
  • Rear cross-members 302 extend between the sidewalls 292, 294.
  • Each rear cross-member 302 includes a roller 304 at each end, which is positioned within one of the 300.
  • a front wheel support 306 extends between and is secured to front cross-members 288.
  • the front wheel support 306 may have a wheel-engaging trough 308 secured thereto, which is adapted to receive the front wheel of bicycle B to retain it in position relative to front section 272.
  • a rear support member 310 extends between and is secured to rear cross-members 302.
  • a lower resilient pad or cushion member 312 is secured between rear support member 310 and the facing surface of rear cross-member 302.
  • An upper resilient pad or cushion member 314 is secured to the upper surface of rear support member 310.
  • a pair of steps 316 may be provided on rear section 274 to assist a user and mounting and dismounting the bicycle B.
  • the trainer T may be provided with or secured to a mounting plate 318, and the mounting plate 318 in turn is secured to the upper surface of rear support member 310.
  • the rear support member 310 and the front and rear sets of cushion members 312, 314 extend along a longitudinal axis defined by movable exercise equipment support 270, and cushion members 312, 314 enable the trainer T and bicycle B to tilt or tip about an axis parallel to the longitudinal axis of movable exercise equipment support 270.
  • the cushion members 312, 314 are formed of a stiff yet resilient material, which tends to bias mounting plate 318 toward a horizontal position. In this manner, trainer T and bicycle B are biased toward an upright, vertical position.
  • the tipping or tilting of trainer T and bicycle B can occur when, during use of bicycle B, one side of the movable exercise equipment support 270 experiences a net downward or upward force relative to the other.
  • such forces are transferred via front and rear support members 306, 310, respectively, to front and rear sections 272, 274, respectively, of movable exercise equipment support 270.
  • Such forces cause movement of front rollers 290 within slots 286 and rollers 304 within slots 300, to allow bicycle B and trainer T to move in a fore-aft direction.
  • the arcuate and upwardly facing convex configuration of slots 286, 300 provide a gravity bias of rollers 290, 304, respectively, toward their lowermost positions within slots 286, 300, to bias bicycle B and trainer T toward an axially neutral position.
  • the movable exercise equipment support 320 has a two-part base consisting of a front base section 322 and a rear base section 324.
  • the base sections 322, 324 are generally C-shaped and face each other. It can be appreciated, however, that the base section 322, 324 may be joined together to form a single-piece base.
  • Front base section 322 includes a front cross-member 326 and a pair of rearwardly extending side members 328 that extend one from each end of front cross-member 326.
  • bicycle B and trainer T are secured to a frame assembly, shown generally at 336, which includes a front frame member 338, a rear frame member 340, and a central axial member 342.
  • the front wheel of bicycle B is secured to central axial member 342 at front frame member 338
  • trainer T is supported on rear frame member 340, which is in the form of a platform that underlies trainer T and to which trainer T is secured.
  • the front frame member 338 is secured at its ends to a pair of front side support members 344
  • the rear frame member 340 is secured at its ends to a pair of rear side support members 346.
  • the arcuate engagement surfaces 348, 350 rest on the rollers, such as 334, that are secured to base side members 328, 333. By gravity, the rollers 334 tend to remain in the uppermost central areas of the arcuate engagement surfaces 348, 350, to position the frame assembly 336 and thereby bicycle B and trainer T in a lowered, axially neutral position.
  • the underside of rear cross-member 330 is provided with a pair of downwardly facing, transversely extending arcuate engagement surfaces 352a, 352b.
  • a roller support 354 is positioned on a supporting surface such as a floor, and a pair of laterally spaced rollers 356a, 356b are rotatably mounted to roller support 354 in any suitable manner.
  • the arcuate engagement surfaces 352a, 352b are positioned on the rollers 356a, 356b, respectively.
  • rollers 356a, 356b tend to remain in the uppermost central areas of the arcuate engagement surfaces 352a, 352b, respectively, to position the frame assembly 336 and thereby bicycle B and trainer T in a centered, laterally neutral and upright position.
  • a similar pair of downwardly facing, transversely extending arcuate engagement surfaces are provided on the underside of front cross-member 326, and a roller support similar to roller support 354, carrying laterally spaced rollers, is positioned on a supporting surface such as a floor, below the front pair of arcuate engagement surfaces.
  • exercise equipment support 320 moves in an axial, fore-aft direction and side-to-side during use of the bicycle B by a user, to provide an experience for the user that more closely resembles real-world conditions.
  • the frame assembly 336 and the front and rear base section 322, 324 will move laterally on the rollers such as 356a, 356b when horizontal lateral or transverse forces are applied to frame assembly 336 during use of bicycle B and trainer T.
  • the frame assembly 336 will move forwardly or rearwardly in an axial or fore-aft direction by axial movement of the engagement surfaces 348, 350 on the rollers 334.
  • the arcuate configuration of the engagement surfaces provides a gravity bias of frame assembly 336 toward both an axially neutral position and a laterally neutral position.
  • Figs. 31 and 32 illustrate a tip or tilt function that can be incorporated into a movable exercise equipment support in accordance with the present disclosure.
  • the tip or tilt function illustrated in Figs. 31 and 32 can be utilized in combination with a base and frame that incorporates an axial or fore-aft movement function such as shown and described previously, e.g. in connection with the embodiment illustrated in Figs. 29 and 30 .
  • the bicycle B may be engaged with a trainer T having laterally extending brace members or outriggers 360, with rollers 362 being secured toward the outer ends of brace members 360.
  • a base or frame includes a pair of upwardly facing arcuate engagement surfaces 364, and the rollers 362 are supported by the engagement surfaces 364.
  • the rollers 364 at an at-rest position as shown in Fig. 31 are positioned outwardly of the center area of the engagement surfaces 364.
  • engagement surfaces provide a gravity bias of trainer T and bicycle B toward a lowered position, it is not the lowermost position that would be attained if the rollers 362 were normally to rest in the lowermost center areas of the engagement surfaces 364.
  • a tip or tilt function is thus attained when a net downward force is applied to the bicycle B and trainer T on one side of the other of the axial centerline of the bicycle B and trainer T, as shown in Fig. 32 .
  • the radii of engagement surfaces 364 can be such that the center of the axis of tipping or tilting movement of the bicycle B and trainer T can be placed at a relatively elevated position relative to the position of the user on bicycle B, e.g. above the user's center of gravity. In contrast to other trainers with side-to-side or tilting movement, this provides the user with a relatively stable and safe feel during side-to-side movement.
  • Fig. 33 illustrates another embodiment of a movable exercise equipment support in accordance with the present disclosure, shown at 368.
  • the bicycle B and trainer T are secured to a platform assembly 370 that includes a front platform section 372, a rear platform section 374, and a central axial member 376 that extends between and is secured to the front platform section 372 and the rear platform section 374.
  • a pair of front rollers 378 are mounted one to each side of front platform section 372, and a pair of rear rollers 380 are mounted one to each side of rear platform section 374.
  • the platform assembly 370 is supported on a generally rectangular frame 382 that includes a pair of side frame members 384 and a pair of end frame members 386.
  • the side frame members 384 are each provided with a front, upwardly facing arcuate engagement surface 388 and a rear, upwardly facing arcuate engagement surface 390.
  • the front rollers 378 of platform assembly 370 are positioned within and rest on the front, upwardly facing arcuate engagement surfaces 388, and the rear rollers 380 of platform assembly 370 are positioned within and rest on the rear, upwardly facing arcuate engagement surfaces 390.
  • the front end frame member 386 includes a pair of forwardly extending rollers 392, and the rear end frame member 386 includes a pair of rearwardly extending rollers 394.
  • a front support member 396 is positioned adjacent to and forwardly of front end frame member 386, and similarly a rear support member 398 is positioned adjacent to and rearwardly of rear frame member 386.
  • Front support member 396 includes a pair of arcuate, upwardly facing engagement surfaces 400
  • rear support member 398 includes a pair of arcuate, upwardly facing engagement surfaces 402.
  • the front rollers 392 are positioned within and rest on the front, upwardly facing arcuate engagement surfaces 400
  • the rear rollers 394 are positioned within and rest on the rear, upwardly facing engagement surfaces 402.
  • front engagement surfaces 388 and rear engagement surfaces 390 of side frame members 384 extend in an axial or front-rear direction
  • front and rear rollers 392, 394, respectively are rotatable about an axis of rotation primarily, but not necessarily, parallel thereto.
  • the front engagement surfaces 400, 402 of front and rear support members 396, 398, respectively extend in a transverse direction that may be perpendicular to the axial or front-rear direction, or alternatively may be radiused
  • front and rear rollers 378, 380, respectively are rotatable about an axis of rotation primarily, but not necessarily, parallel thereto.
  • front and rear rollers 378, 380, respectively, within and along front and rear engagement surfaces 388, 390, respectively allows bicycle B and trainer T to move in a fore-aft axial or longitudinal direction in response to axial forces experienced by platform assembly 370 during use of bicycle B.
  • Simultaneously movement of front and rear rollers 392, 394, respectively, within and along front and rear engagement surfaces 400, 402, respectively provides lateral or transverse movement of bicycle B and trainer T in response to transverse forces experienced by platform assembly 370 during use of bicycle B.
  • the curvature of engagement surfaces 388 and 390 provides a gravity bias toward an axially neutral position, while likewise the curvature of engagement surfaces 400, 402 provides a gravity bias toward a laterally neutral position.
  • Fig. 34 illustrates another embodiment of a movable exercise equipment support in accordance with the present disclosure, shown at 406.
  • the bicycle B (not shown) and trainer T are carried by a platform assembly 408 that includes a front platform section 410, a rear platform section 412 and an axial connector member 414 that extends between and is secured to front and rear platform sections 410, 412, respectively.
  • a pair of front rollers 416 extend forwardly from front platform section 410, and a pair of rear rollers 418 extend rearwardly from rear platform section 412.
  • the front and rear rollers 416, 418, respectively, are rotatable about axes of rotation that are parallel to a longitudinal axis of platform assembly 408.
  • Platform assembly 408 is positioned on a frame assembly 420, which includes a pair of side members 422 and a pair of end members 424.
  • the frame side members 422 are provided with a pair of front rollers 426 and a pair of rear rollers 428.
  • Each end frame member 424 includes a pair of upwardly facing arcuate engagement surfaces 430.
  • the engagement surfaces 430 extend in a transverse direction relative to the axial or longitudinal axis of platform assembly 408.
  • the rollers 426, 428 are rotatable about respective axes of rotation that also extend in a transverse direction relative to the axial or longitudinal axis of platform assembly 408.
  • the frame assembly 420 is engaged with and supported by a base assembly 432, which includes a pair of side members 434 and a pair of end members 436.
  • the base side members 434 have arcuate front engagement slots 438 and arcuate rear engagement slots 440.
  • the front and rear engagement slots 438, 440 extend in a direction that is parallel to the longitudinal axis of platform assembly 408.
  • the frame assembly 420 and base assembly 432 are generally rectangular in configuration, with frame assembly 420 having a footprint smaller than that of base assembly 432. In this manner, frame assembly 420 can be nested within the open interior of base assembly 432. When so positioned, the front rollers 426 of frame assembly 420 are positioned within and movable along the front slots 438 of base assembly 432, and likewise the rear rollers 428 of frame assembly 420 are positioned within and movable along the rear slots 440.
  • Figs. 35 and 36 illustrate another embodiment of a movable exercise equipment support in accordance with the present disclosure, shown at 444.
  • the bicycle B and trainer T are secured to and supported on a platform assembly 446, which includes an axially extending central support or platform member 448.
  • the front end of platform member 448 is secured to a front platform member 450, and the rear end of platform member 448 is secured to a rear platform member 452.
  • a pair of front rollers 454 are secured to and extend forwardly from front platform member 450, and a pair of rear rollers 456 are secured to and extend rearwardly from rear platform member 452.
  • Platform assembly 446 is positioned on a frame assembly 458, which includes a pair of side members 460 and a pair of end members 462.
  • the frame end members 462 are provided with laterally or transversely extending arcuate engagement surfaces, which in the case of the front end member 462 are in the form of arcuate upwardly facing engagement surfaces 464 and in the case of the rear end member 462 are in the form of arcuate slots 466.
  • the front and rear rollers 454, 456 of platform assembly 446 are positioned in and supported by the front engagement surfaces 464, and the rear rollers 456 of platform assembly 446 are positioned in and supported by the slots 466.
  • the frame assembly 458 is positioned on and supported by a base assembly 472. Both the frame assembly 458 and the base assembly 472 have a generally rectangular configuration, with frame assembly 458 having a footprint slightly smaller than that of base assembly 472 so that it can be received within the interior of base assembly 472.
  • Base assembly 468 includes a pair of side members 474 and a pair of end members 476, as well as a pair of front support members 478 and a pair of rear support members 480.
  • Each front support member 478 includes an upwardly facing arcuate engagement surface 482
  • each rear support member 480 includes an upwardly facing arcuate engagement surface 484.
  • the front rollers 468 are positioned within and supported by the upwardly facing arcuate front engagement surfaces 482, and likewise the rear rollers 470 are positioned within and supported by the upwardly facing arcuate rear engagement surfaces 484.
  • the engagement surfaces 482, 484 extend in an axial or longitudinal direction that is parallel to the longitudinal axis of bicycle B, and likewise the rollers 468, 470 are rotatable about axes of rotation perpendicular thereto, i.e. transverse to the longitudinal axis of bicycle B.
  • the carrier assembly 486 is mounted to a base assembly 500, which may include a pair of side members 502 and a pair of end members 504.
  • Base assembly 500 further includes a pair of front support members 506 and a pair of rear support members 508.
  • Each of the front and rear support members is provided with an arcuate engagement slot, such as shown at 510, within which the outwardly extending rollers that are secured to the ends of front cross member 490 and rear cross member 492 are received.
  • the slots 510 extend in a direction parallel to the longitudinal axis of the bicycle B, and the rollers at the ends of front and rear cross members 490, 492 are rotatable about axes of rotation that are perpendicular thereto.
  • a tilting or tipping arrangement is interposed between the ends of central carrier member 488 and the front and rear cross members 490, 492, respectively.
  • the tilting or tipping arrangement may have a form similar to that described previously with respect to Figs. 25-28 , although it is understood that any other satisfactory arrangement may be employed.
  • Fig. 39 illustrates another embodiment of a movable exercise equipment support in accordance with the present disclosure, shown at 514.
  • the bicycle B and trainer T are secured to and supported on a carrier assembly 516, which includes an axially extending central support or carrier member 518.
  • a compound linkage system is employed to movably mount carrier assembly 516 to a base, shown at 520.
  • the linkage system includes a pair of front link members 522 and a pair of rear link members 524.
  • the front and rear link members 522, 524 respectively, extend upwardly from the upper surface of base 520, and are pivotably mounted to base 520.
  • link members 522, 524 The pivot connection between the lower ends of link members 522, 524 to base 520 enables link members 522, 524 to move in a transverse or lateral direction about pivot axes that are parallel to the longitudinal axis of the bicycle B.
  • a front suspension link member 526 is secured to and extends upwardly from the front end of central carrier member 518, and similarly a rear suspension link member 528 is secured to and extends upwardly from the rear end of central carrier member 518.
  • the upper end of front suspension link member 526 is pivotably mounted to and extends between front link members 522.
  • rear suspension link member 528 is pivotably mounted to and extends between rear link members 524.
  • suspension link members 526, 528 provide pivoting movement of front and rear suspension link members 526, 528 in a front-rear or axial direction, about pivot axes that are perpendicular to the longitudinal axis of bicycle B.
  • axial forces experienced by carrier assembly 516 during use of bicycle B and trainer T cause carrier assembly 516 to swing forwardly and rearwardly in a fore-aft direction.
  • transverse or lateral forces experienced by carrier assembly 516 during use of bicycle B and trainer T cause carrier assembly 516 to move laterally or transversely due to lateral or transverse pivoting movement of link members 522, 524 relative to base 520.
  • Fig. 40 illustrates another embodiment of a movable exercise equipment support in accordance with the present disclosure, shown at 532.
  • the bicycle B and trainer T are secured to and supported on a carrier assembly 534, which includes an axially extending central support or carrier member 536.
  • the carrier assembly 534 is supported by a frame assembly 538, which in turn is engaged with a base assembly 540.
  • the frame assembly 538 may have a generally rectangular configuration, including a pair of side frame members 542 and a pair of end frame members 544.
  • a pair of spaced apart upright members 546 are secured to and extend upwardly from each end frame member 544.
  • a cross member 548 extends between and is secured to each pair of upright members 546.
  • a pair of suspension links 550 are pivotably mounted at their upper ends to each cross member 548. At their lower ends, each suspension link 550 is pivotably connected to a transverse link mounting bar, such as 552, secured to each end of central carrier member 536. The pivot connections of suspension links 550 allow links 552 move laterally or transversely about pivot axes that are parallel to the longitudinal axis of bicycle B.
  • a movable mounting arrangement is interposed between the frame assembly 538 and the base assembly 540.
  • the movable mounting arrangement between frame assembly 538 and base assembly 548 may have any configuration as desired, such as those described previously with respect to Figs. 34-39 , to allow frame assembly 538 to move in a fore-aft or axial direction parallel to the longitudinal axis of bicycle B.
  • the lateral or transverse forces experienced by carrier assembly 534 during use of bicycle B cause carrier assembly 534 to swing transversely or laterally via the pivot connections of suspension links 550.
  • the axially movable mounting arrangement between frame assembly 538 and base assembly 540 allows carrier assembly 534 and thereby bicycle B and trainer T to move in a fore-aft or axial direction when carrier assembly 534 experiences axial or longitudinal forces during operation of bicycle B.
  • Figs. 41-43 illustrate another embodiment of a movable exercise equipment support in accordance with the present disclosure, shown at 556.
  • the bicycle B and trainer T are secured to and supported on a carrier assembly 558, which includes an axially extending central support or carrier member 560.
  • the carrier assembly 558 is supported by a pair of end frame assemblies 562, which in turn are engaged with a base assembly 564.
  • Each frame assembly 562 has a generally rectangular configuration, including a top member 566, a bottom number 568, and a pair of side members 570.
  • a pair of suspension links 572 are pivotably mounted at their upper ends to each top frame member 566. At their lower ends, each suspension link 572 is pivotably connected to one of the ends of central carrier member 560. The pivot connections of suspension links 572 allow links 572 to move laterally or transversely about pivot axes that are parallel to the longitudinal axis of bicycle B.
  • the base 564 also has a generally rectangular configuration, including a pair of base side members 574 and a pair of base end members 576.
  • An upright member 578 extends from each corner of base 564.
  • a series of suspension links 580 are pivotably mounted between frame assemblies 562 and upright members 578.
  • Each suspension link 580 is pivotably mounted at its upper and to one of upright members 578 and is pivotably mounted at its lower end it to one of the ends of frame assembly bottom member 568.
  • the pivot connections of suspension links 580 allow links 580 to move about pivot axes that are transverse to the longitudinal axis of bicycle B.
  • Figs. 44-46 illustrate another embodiment of a movable exercise equipment support in accordance with the present disclosure, shown at 584.
  • the bicycle B and trainer T are secured to and supported on a carrier assembly 586, which includes an axially extending central support or carrier member 588.
  • Transverse link mounting members 590 are secured one to each end of central carrier member 588.
  • Movable exercise equipment support 584 also includes a base assembly 592, which in the illustrated embodiment is generally rectangular in configuration and includes a pair of base side members 594 and a pair of base and members 596.
  • the carrier assembly 586 is positioned above base assembly 592 and is suspended therefrom via a linkage arrangement, which includes front and rear linkages, shown at 598.
  • Each linkage 598 includes a pair of side link members 600 and a transverse central link member 602.
  • the side link members 600 are pivotably mounted by universal pivot joints 604 to base assembly 592, e.g. at the corners of base assembly 592 defined by base side members 594 and base end members 596.
  • a universal pivot joint 604 is connected between the upper end of each side link member 600 and the adjacent end of each central link member 602.
  • the carrier assembly 586 is suspended below the central link members 602 via suspension links 606, each of which is connected at its upper end to one of universal pivot joints 604 and at its lower and to one of transverse link mounting members 590.
  • any differential in the lateral forces experienced by the carrier assembly 586 can enable carrier member 588 to twist about an upright or vertical axis.
  • Figs. 47-49 illustrate an embodiment of the present disclosure in which a movable support can be incorporated directly into the frame or support structure of an item of exercise equipment.
  • the item of exercise equipment is in the form of an exercise cycle, shown generally at 610, although it is understood that the item of exercise equipment may be any other type of exercise equipment as desired.
  • the exercise cycle 610 generally includes a frame assembly 612 and a base assembly 614.
  • the frame assembly 612 may include a front upper frame member 616 to which a handlebar assembly 618 is adjustably mounted, and a rear upper frame member 622 which a saddle or seat 622 is adjustably mounted.
  • the front upper frame member 616 may be vertically movable via a post that is telescopingly positioned within a front support tube 624, and likewise the rear upper frame member 620 may be vertically movable via a post that is telescopingly positioned within a rear support tube 626.
  • the exercise cycle may also include a drive gear 628, which is rotatably supported on a rear support member 630.
  • the drive gear 628 is rotatable in response to user input forces applied to a set of pedals, in a manner as is known.
  • the exercise cycle 610 may also include a rotatable flywheel 631 that is driven by the drive gear 628, in a manner as is known.
  • the lower ends of front support tube 624, rear support tube 626 and rear support member 630 are mounted to and extend upwardly from an axially extending bottom frame member 632, which forms a part of frame assembly 612.
  • the bottom frame member 632 extends along the longitudinal axis of exercise cycle 610 and supports the frame assembly 612 above base assembly 614.
  • the bottom frame member 632 is in the form of an axially extending tubular member, although it is understood that any other satisfactory structural member may be employed.
  • the bottom frame member 632 has a length that exceeds the components of frame assembly 612 thereabove, and includes front and rear engagement areas, shown at 634a, 634b, respectively, at which bottom frame member 632 is engaged with and supported above base assembly 614.
  • the front engagement area 634a is located forwardly of the forwardmost position at which the handlebar assembly 618 can be positioned, and the rear engagement area 634b is located rearwardly of the rearwardmost location at which the saddle 622 can be positioned.
  • An arcuate beaded track member 636a is secured to the underside of bottom frame member 632 at front engagement area 634a.
  • an arcuate beaded track member 636b is secured to the underside of bottom frame member 632 at the rear engagement area 634b.
  • the arcuate beaded track members 636a, 636b are constructed and configured similarly to the tracks 240, 242 described previously with respect to the embodiment of the present disclosure illustrated in Figs. 19-24 .
  • the portions of bottom frame member 632 to which the arcuate beaded track members 636a, 636b are mounted may be provided with an arcuate curvature having a radius that matches that of tracks 636a, 636b, although bottom frame member 632 may be formed without such curved portions or other such structure.
  • a pair of outriggers or stabilizers 638 are secured to frame assembly 612.
  • the stabilizers 638 extend outwardly in opposite directions from frame assembly 612 and may be secured to frame assembly 612 in any satisfactory manner.
  • Base assembly 614 includes an axially extending central base member 640, which is adapted to be placed on a supporting surface such as a floor.
  • the central base member 640 underlies bottom frame member 632 of frame assembly 612.
  • a front bracket 642a is mounted to the forward end of central base member 640 and a rear bracket 642b is mounted to the rearward end of central base member 640.
  • a grooved roller is rotatably mounted to each of front and rear brackets 642a, 642b, respectively.
  • the grooved roller mounted to rear bracket 642b is shown in Fig. 47 at 644b, and a similarly configured grooved roller is rotatably mounted to front bracket 642a.
  • the grooved rollers such as 644b are configured similarly to the grooved rollers shown and described previously with respect to the embodiments of the present disclosure as shown in Figs. 1-24 and are configured to receive the central bead areas of the track members 636a, 636b that are secured to the underside of bottom frame member 632.
  • the track members 636a, 636b and the grooved rollers such as 644b allow both axial or fore-aft movement of bottom frame member 632 relative to base member 640 and pivoting movement of bottom frame member 632 on the central beaded areas of the track members 634a, 634b within the grooves of the rollers such as 644b.
  • longitudinal or axial forces experienced by bottom frame member 632 during use of the exercise cycle 610 cause forward or rearward translation of bottom frame member 632 relative to base assembly 614 by movement of track members 634a, 634b within the grooved rollers, such as 644b and thereby axial or fore-aft movement of frame assembly 612.
  • the arcuate configuration of track members 634a, 634b provides a gravity bias of frame assembly 612 toward an axially neutral position, as also described previously.
  • Each stabilizer 638 overlies a plate 646, and plates 646 are secured to and extend outwardly from central base member 640 in opposite directions.
  • the outer end of each stabilizer 638 is positioned within a channel defined by a stabilizer guide 648, and each stabilizer guide 648 is secured to the outer end of one of plates 646.
  • the channel defined by the stabilizer guide 648 has a length greater than that of stabilizer 638, so that stabilizer 638 can move back and forth within the channel of stabilizer guide 648 during fore-aft movement of stabilizers 638.
  • a tilt biasing arrangement is interposed between each stabilizer 638 and its underlying plate 646.
  • the tilt biasing arrangement may have a configuration as described previously with respect to tilt biasing bracket assemblies 134a, 134b as shown and described with respect to Figs. 1-18 or tilt biasing bracket assemblies 252 as shown and described with respect to Figs. 19-24 .
  • the tilt biasing arrangement acts on the stabilizers 638 to bias the frame assembly 612 of exercise cycle 610 toward a neutral, upright tilt position. While a pair of outriggers or stabilizers 638 are illustrated, it is understood that a single outrigger or stabilizer may be employed, or alternatively that the tilt biasing mechanism may be incorporated into any other structure of the exercise cycle 610 to bias exercise cycle 610 toward an upright position.
  • Figs. 50-52 illustrate an embodiment of the present disclosure in which a bicycle B is engaged with and supported by a trainer 652, which includes movable features in accordance with the present disclosure.
  • the movable support is incorporated directly into the structure of the trainer 652.
  • the trainer 652 is illustrated as being in the form of a direct drive trainer, although it is understood that a wheel-on trainer may also be employed.
  • the trainer 652 includes a flywheel 654 which, in a manner as is known, is adapted to rotate in response to power input to the trainer 652 by rotation of the pedals of bicycle B.
  • a resistance-providing arrangement such as an electromagnetically controlled resistance mechanism, may be employed to selectively resist rotation of flywheel 654.
  • Flywheel 654 may be contained within a suitable housing or other enclosure.
  • Trainer 654 includes a central mounting section 656 that supports flywheel 654, and a pair of stabilizers 658 extend outwardly in opposite directions from central mounting section 656.
  • a central bottom support member 660 extends forwardly from the front end of central mounting section 656.
  • the central bottom support member 660 may be provided with a wheel mount 662 on which the front wheel of bicycle B is supported.
  • the front end of central bottom support member 660 includes a front engagement area 664, which includes an arcuate beaded track member 666 having a construction and configuration as described previously.
  • a similar arcuate beaded track member is interconnected with and underlies central mounting section 656 at the rear end of bottom support member 660.
  • Trainer 652 also includes a base assembly 668, on which bottom support member 660 is positioned.
  • the base assembly 668 includes a central axial base member 670, which underlies bottom support member 660.
  • the base assembly 668 also includes a pair of plates 672 that extend outwardly in opposite directions from the rearward end of base member 670.
  • the plates 672 underlie the stabilizers 658, as described previously, and a stabilizer guide 674 is secured to the outer end of each plate 672.
  • the end of each stabilizer 658 is positioned within a guide channel defined by the stabilizer guide 674 and is movable in a fore-aft direction therewithin.
  • the base assembly 668 also includes a pair of brackets at each engagement area of bottom support member 660. A front one of the brackets is shown at 676, and a similarly configured rear bracket is secured to the rearward end of base member 670.
  • a grooved roller, such as shown at 678, is rotatably mounted to each of the brackets
  • any axial or longitudinal forces applied to bicycle B during use and experienced by mounting section 656 and bottom support member 660 cause axial fore-aft movement of bottom support member 660 relative to base assembly 668 by movement of the track members, such as 666, on the grooved rollers, such as 678.
  • the curved configuration of the track member such as 666 provides a gravity bias of support member 660, and thereby bicycle B, to an axially neutral position.
  • Any transverse or lateral forces applied to bicycle B during use cause bottom support member 662 tip or tilt relative to base assembly 668 by rotation of the central beaded area of each track, such as 666, on the roller, such as 678, on which the track is supported.
  • tilt biasing arrangement is interposed between each stabilizer 658 and its underlying plate 672, to bias bicycle B toward an upright or neutral tilt position.
  • a tilt biasing arrangement is interposed between each stabilizer 658 and its underlying plate 672, to bias bicycle B toward an upright or neutral tilt position.
  • a pair of outriggers or stabilizers 658 are illustrated, it is understood that a single outrigger or stabilizer may be employed, or alternatively that the tilt biasing mechanism may be incorporated into any other structure of the trainer 652 to bias trainer 652 toward an upright position.
  • Figs. 53-57 illustrate another embodiment of a movable exercise equipment support in accordance with the present disclosure, shown generally at 786, on which the bicycle B and a trainer (not shown) may be supported.
  • the trainer with which bicycle B is engaged may be a wheel-on trainer or a direct drive trainer, in a manner as is known.
  • movable exercise equipment support 786 generally includes a base section 788 and a platform section 790.
  • the platform section 790 is movable in an axial, fore-aft direction relative to base section 788 in response to application of longitudinal forces to movable exercise equipment support 76 in response to operation of bicycle B.
  • Platform section 790 also tilts side-to-side in response to application of forces to bicycle B that are off-center relative to the longitudinal axis of movable exercise equip in support 786.
  • Movable exercise equipment support 786 differs from the previously-described embodiments, however, in that the tilt biasing bracket assemblies incorporate in the movable exercise equipment supports such as 200, 700 are replaced by a pair of cylinder assemblies 792 located one on either side of movable exercise equipment support 76.
  • the cylinder assemblies 792 are positioned between the rear portion of platform section 790 and the underlying rear portion of base section 788, and in the illustrated embodiment are secured to and carried by the rear portion of the platform section 790.
  • Each cylinder assembly 792 includes a cylinder body 794 and an extendable and retractable rod 796.
  • a roller 798 is secured to the end of each rod 796, and is engaged against an engagement surface or track 800 on the rear portion of base section 788, as described previously.
  • the cylinder assemblies 792 may be in the form of hydraulic cylinders, although it is understood that pneumatic cylinders, stepper motors, or any other linear or rotating actuator may also be employed.
  • the cylinder assemblies 792 are hydraulically linked together, so that the cylinder assemblies 792 move up and down opposite one another at the same rate in response to lateral or longitudinally off-center forces being applied to bicycle B or experienced by movable exercise equipment support 786.
  • the cylinder assemblies 792 thus control side-to-side tilting movement of platform section 790 relative to base section 788, and the cylinder rods 796 are biased outwardly, in a manner as is known, to provide a tilt biasing that tends to position the sum of forces vertically closer to or through the tilt axis.
  • a force sensor 802 is located at the top of each cylinder body 794, and bears against the underside of platform section 790.
  • Each force sensor 802 is interconnected with a hydraulic controller that in turn is interconnected with each cylinder assembly 792.
  • An algorithm within the hydraulic controller then calculates the desired tilt of the platform section 790 according to the magnitude of the force F, and the controller commands the cylinder actuator to operate the cylinder assembly 792 on the first side of the bicycle B to extend the cylinder rod 796 and provide upward movement of the platform section 790 on the first side of the bicycle B by a desired amount according to the magnitude of the force F.
  • the center of force is moved back toward the pivot axis to stabilize the system, which mimics conditions experienced during real-world operation of a bicycle in outdoor conditions.
  • the speed of response in the cylinder assemblies 792 or other actuators could be tied to the virtual speed of the rider.
  • the system could be controlled by an internal or separate computer through a wired or wireless signal.
  • the present invention provides a movable support arrangement for exercise equipment that in the first instance provides axial fore-aft movement of the item of exercise equipment, to provide a realistic feel during operation of the item of exercise equipment.
  • the axial exercise equipment movement can be combined with lateral or tilting movement, to further enhance the realistic feel experienced by the user during operation.
  • the movable support can be separate from an item of exercise equipment, such that the item of exercise is separate from and positioned on the movable support.
  • the movable support can be incorporated into the structure of the item of exercise equipment itself.
  • a movably supported item of exercise equipment shown generally at 804
  • a stationary cycle-type exercise device 806 hereafter referred to as cycle 806
  • cycle 806 movably supported on a base 808.
  • the item of exercise equipment incorporated into the movably supported item of exercise equipment 804 need not be limited to equipment such as a stationary cycle, and that any type of stationary exercise equipment to which repetitive or cyclic forces are applied by a user during operation may be employed.
  • the base 808 of the movably supported item of exercise 804 is adapted to be positioned on a supporting surface such as a floor, and includes a longitudinally extending central lower support member 810 and a transversely extending front support member 811, which cooperate to form a generally T-shaped lower support for the base 808.
  • a pair of inwardly angled front stanchions 812, 814 extend upwardly from the opposite ends of the front support member 811, and cooperate to form a front support for the cycle 806, in a manner to be explained.
  • a rear stanchion 816 extends upwardly from the rear end of central lower support member 810, and forms a rear support for the cycle 806, also in a manner to be explained.
  • a pair of foldable outriggers 818 are pivotably mounted to a rear bracket 820, which is secured to the rear of the base 810 at the interconnection of central lower support member 810 and rear stanchion 816.
  • the outriggers 818 can be moved between an operative extended position as shown, in which the outriggers 818 provide lateral stability to the movably supported item of exercise equipment 804, and a retracted or inward position in which the outriggers 818 are positioned adjacent the central lower support member 810, to reduce the footprint of the item of exercise equipment 804 for shipment and storage. It is understood, however, that the structural details of the base 808 as described, including the movable outriggers 818, are illustrative of any number and configuration of support components that may be employed for providing a stable support for the cycle 806 during use.
  • the cycle 806, which is movably supported on the base 808, generally includes a frame assembly that mounts user support and input components.
  • the user support and input components include a saddle or seat 822, a handlebar 824, and a pedal-type input arrangement 826.
  • the saddle 822 is supported by a seat tube 828, which forms part of the frame assembly of cycle 806.
  • the position of the saddle 822 may be adjusted using a height adjustment member 830 that is telescopingly engaged with the seat tube 828, and a front-rear longitudinal adjustment member 832 that is secured to the upper end of height adjustment member 830, and to which saddle 822 is adjustably secured.
  • the handlebar 824 is supported by a head tube 834, which forms part of the frame assembly of cycle 806.
  • the position of the handlebar 824 may be adjusted using a height adjustment member 836 that is telescopingly engaged with the head tube 836, and a front-rear longitudinal adjustment member 838 that is secured to the upper end of height adjustment member 836, and to which handlebar 824 is adjustably secured.
  • the pedal-type input arrangement 826 includes a set of pedals (not shown) with which the user's feet are engageable, and a pair of crank arms 840 which, during operation, transmit torque to a resistance mechanism, shown generally at 842 that is mounted to the frame of cycle 806.
  • crank arms 840 are connected to an input ring or gear, and a drive member, such as a chain or belt, rotates a flywheel associated with the resistance mechanism in response to application of pedaling forces by the user.
  • the resistance mechanism 842 may be any suitable type of resistance mechanism that provides adjustable resistance to pedaling forces applied by the user. Examples include, but are not limited to fluid-type, mechanical, magnetic, electrical or electromechanical resistance mechanisms, although any type of resistance mechanism may be employed.
  • the frame of the cycle 806 further includes top and bottom frame members 844, 846, respectively, which extend between and interconnect the seat tube 828 and head tube 834.
  • the resistance mechanism 842 is secured to the frame of cycle 806 within an area defined by the seat tube 828, head tube 834 and top and bottom frame members 844, 846, respectively, although any other satisfactory configuration may be employed.
  • the rear support assembly 850 includes an arcuate lower support member 858, which is supported by the upper end of rear stanchion 816, in a manner to be explained.
  • Rear support assembly 850 also includes an upper brace member 860, which extends between the rear end of arcuate lower support member 858 and seat tube 828.
  • Cycle 806 is supported on base 808 in a manner that simulates cycle riding in an outdoor environment. Specifically, cycle 806 is capable of movement relative to base 808 in a longitudinal fore-aft direction as well as movement in a tilting or side-to-side manner. A fore-aft centering arrangement and a tilt centering arrangement bias the cycle 806 toward fore-aft and tilt centered positions, respectively, relative to base 808.
  • a bracket 862 is secured between the upper ends of front stanchions 812, 814.
  • a front grooved roller 864 is rotatably mounted within an upwardly facing channel defined by bracket 862.
  • the arcuate upper support member 852 of cycle front support assembly 848 is engaged with front grooved roller 864.
  • upper support member 852 is capable of translating in a fore-aft direction on front grooved roller 864.
  • the outside radius of upper support member 852 is such that the upper support member can be received in the groove of front grooved roller 864, which enables movement of arcuate upper support member 852 on front grooved roller 864.
  • a rear grooved roller 866 is rotatably mounted to the upper end of rear stanchion 816.
  • the arcuate lower support member 858 of cycle rear support assembly 850 is engaged with rear grooved roller 866.
  • lower support member 858 is capable of translating in a fore-aft direction on rear grooved roller 866.
  • the outside radius of lower support member 858 is such that the upper support member can be received in the groove of rear grooved roller 866, which enables movement of arcuate lower support member 858 on rear grooved roller 866.
  • a retainer bracket 868 functions to maintain arcuate lower support member 858 in engagement with rear grooved roller 866.
  • Arcuate upper support member 852 of cycle front support assembly 848 and arcuate lower support member 858 of cycle rear support assembly 850 have matching curved configurations when viewed in elevation, i.e. each has a similar radius of curvature.
  • the curvature of arcuate upper support member 852 and the curvature of arcuate lower support member 858 function to provide a gravity bias of cycle 806 toward a lowered position relative to base 808.
  • any axial front-rear forces applied to cycle 806 during use cause arcuate upper support member 852 and arcuate lower support member 858 to move forwardly and rearwardly on front grooved roller 864 and rear grooved roller 866, respectively.
  • cycle 806 is slightly raised relative to base 808 due to the curvature of arcuate upper support member 852 and arcuate lower support member 858.
  • arcuate upper support member 852 and arcuate lower support member 858 cause cycle 806 to return to a lowered equilibrium position relative to base 808.
  • the matching radius of arcuate upper support member 852 with the groove of front grooved roller 864 and the matching radius of arcuate lower support member 858 with the groove of rear grooved roller 866 allows cycle 806 to tilt in a side-to-side manner when tilting forces are applied to cycle 806 during use.
  • Centering guide member 856 forms part of a tilt centering arrangement, shown generally at 870, which is operable to bias cycle 806 to a tilt-centered position relative to base 808.
  • the centering guide member 856 may representatively be in the form of a tubular member having a top wall, a bottom wall and a pair of sidewalls that cooperate to define an internal passage 872.
  • Axially extending slots 874A, 874B are formed in the side walls of centering guide member 856. It is understood that, while centering guide member 856 is illustrated as a tubular member with slotted sidewalls, any other satisfactory and functionally similar configuration may be employed.
  • the tilt centering arrangement 870 further includes a shuttle assembly 876 that is configured and arranged for axial back-and-forth movement within internal passage 872 of centering guide member 856.
  • a pair of centering cables 878A, 878B are connected to and extend outwardly in opposite directions from the shuttle assembly 876 through slots 874A, 874B, respectively, in the sidewalls of centering guide member 856.
  • each of front stanchions 812, 814 has a hollow interior.
  • front stanchion 812 consists of a channel member 880, with a cover 882 ( Fig. 58 ) being engageable with the walls of channel member 880 to define an interior of stanchion 812.
  • stanchion 814 consists of a channel member 884, with a cover 886 being engageable with the walls of channel member 884 to define an interior of stanchion 814.
  • front stanchions 812, 814 are illustrated as channel members with removable covers, it is understood that any other satisfactory and functionally similar configuration may be employed.
  • a V-roller 888A is rotatably mounted to a shaft 890A that extends between and is mounted to opposite sidewalls of channel member 880 of front stanchion 812.
  • a slot 892A is formed in the rear wall of channel member 880 adjacent roller 888A.
  • Centering cable 878A extends through slot 892A and is engaged with V-roller 888A.
  • the end of centering cable 878A opposite shuttle assembly 876 is engaged with a biasing arrangement.
  • the biasing arrangement includes a pair of springs 893A, each of which is secured at its upper end to a suitable mounting bracket or the like mounted within the upper end of channel member 880 of front stanchion 812.
  • the lower end of each spring 893Aa is engaged with a plate 894A, which in turn is secured to the end of centering cable 878 a via a link 895A.
  • a V-roller 888B is rotatably mounted to a shaft 890B that extends between and is mounted to opposite sidewalls of channel member 884 of front stanchion 814.
  • a slot 892B is formed in the rear wall of channel member 884 adjacent roller 888B.
  • Centering cable 878B extends through slot 892B and is engaged with V-roller 888B.
  • the end of centering cable 878B opposite shuttle assembly 876 is engaged with a similar biasing arrangement in the form of a pair of Springs 893B, each of which is secured at its upper and to a mounting bracket or the like mounted within the upper end of channel member 884 of front stanchion 814.
  • the lower end of each spring 893B is engaged with a plate 894B which in turn is secured to the end of centering cable 878B via a link 895B.
  • biasing arrangement is illustrated as a pair of springs, it is understood that any number of springs may be employed, and also that the biasing arrangement may be any suitable type of biasing arrangement or member, not limited to springs, that can apply a resilient centering force on a c able such as centering cables 878A, 878B.
  • shuttle assembly 876 includes a body 896 defining a series of walls to which a series of wheels or rollers are mounted.
  • the wheels or rollers include a pair of upper horizontal wheels 898, a pair of lower horizontal wheels 900 and a pair of vertical wheels 902.
  • An additional set of horizontal wheels 904 is rotatably mounted to the end of an arm 906, which is pivotably secured at its inner end by a shaft 908 that extends between a pair of walls of the shuttle body 896.
  • the arm 906 is biased outwardly, such as by a torsion spring, tension in cable 878A, compression spring or the like (not shown), that urges arm 906 in a clockwise direction (with reference to Fig. 69 ).
  • centering cable 878B is engaged via a suitable fitting with a wall of shuttle body 896.
  • centering cable 878A is movable axially within slot 874A, and likewise centering cable 878B is movable axially within slot 874B.
  • cycle 806 fore-aft movement of cycle 806 relative to base 808 results in axial movement of shuttle assembly 876 within a passage 872 of centering guide member 856.
  • Such axial fore-aft movement of shuttle assembly 876 results in a downward force being applied to the outer ends of centering cables 878A, 878B, which tends to stretch the springs 893A, 893B, respectively.
  • springs 893A, 893B apply tension to centering cables 878A, 878B, respectively, to assist in biasing cycle 806 to an axially centered position, to supplement the gravity bias of cycle 806 to the axially centered position resulting from the curved configuration of arcuate upper support member 852 and arcuate lower support member 858.
  • cycle 806 When cycle 806 is subjected to tilting forces during use, cycle 806 can rock or tip in a side-to-side manner on grooved rollers 864, 866.
  • cycle 806 tilts such that its upper area rotates in a counterclockwise direction, with reference to Fig. 64 , the centering guide member 856 is moved in a counterclockwise direction so as to apply a downward force on springs 893A, which, due to the resilience of springs 893A, urges centering guide member 856 back toward a centered position.
  • centering guide member 856 Such return movement of centering guide member 856 toward the centered position under the influence of centering springs 893A is dampened by the concomitant extension of centering springs 893B, which are subjected to slackening during movement of centering guide member 856 toward stanchion 814.
  • cycle 806 tilts such that its upper area rotates in a clockwise direction
  • the centering guide member 856 is moved in a clockwise direction so as to apply a downward force on springs 893B, which, due to the resilience of springs 893B, urge centering guide member 856 back toward a centered position.
  • centering guide member 856 Such return movement of centering guide member 856 toward the centered position under the influence of centering springs 893B is dampened by the concomitant extension of centering springs 893A, which are subjected to slackening during movement of centering guide member 856 toward stanchion 812.
  • centering guide member slots 874A, 874B accommodate movement of centering cables 878A, 878B, respectively, during back-and-fourth movement of shuttle assembly 876, and the configuration of slots 892A, 892B in the walls of stanchion channel members 880, 884, respectively, accommodate such movement of centering cables 878A, 878B adjacent V-rollers 888A, 888B, respectively.
  • cycle 806 is simultaneously biased toward an axially fore-aft centered position as well as to a tilt centered position during operation of cycle 806.
  • Figs. 72-75 illustrate ranges of movement of cycle 806 relative to base 808 during operation.
  • Fig. 72 shows forward movement of cycle 806 relative to base 8089.
  • arcuate upper support member 852 is moved forwardly on front grooved roller 864 and arcuate lower support member 858 is moved forwardly on rear grooved roller 866, which raises cycle 806 above its vertical equilibrium position relative to base 808.
  • Shuttle assembly 876 is moved to a rearward position within passage 872 of centering guide member 856.
  • cycle 806 When a force is applied to cycle 806 tending to move it rearwardly on base 808, cycle 806 can be moved toward a rearward position as shown in Fig. 73 . In this position, arcuate upper support member 852 is moved rearwardly on front grooved roller 864 and arcuate lower support member 858 is moved rearwardly on rear grooved roller 866, which again raises cycle 806 above its vertical equilibrium position relative to base 808.
  • Shuttle assembly 876 is moved to a forward position within passage 872 of centering guide member 856.
  • Fig. 74 and 75 illustrate tilting positions of cycle 806 relative to base 808, with Fig. 74 showing a counterclockwise tilted position and Fig. 75 showing a clockwise tilted position.
  • the tilt centering arrangement 870 functions to urge cycle 806 toward a tilt-centered position during such movement. It can be appreciated that the fore-aft and tilting movements of cycle 806 relative to base 808 as illustrated can occur simultaneously, such that at any given time cycle 806 may be subjected to both fore-aft centering forces and tilt-centering forces, to provide stability to the user during operation of cycle 806.
  • a direct drive trainer used in combination with the movable exercise equipment supports described above offer several benefits over previous systems.
  • previous bicycle trainers would either 1) require a large flywheel-based trainer unit to smooth out the rider's pedal stroke or 2) incorporate movement into the trainer, for instance, allowing for side-to-side or font-to-rear tilting movements.
  • a direct drive trainer unit as shown can rapidly change the resistance based on the position of the pedal stroke, with greater resistance being generated during the high torque part of the user's pedal stroke and less resistance during the dead spot of the user's pedal cycle.
  • a movable direct drive-type bicycle trainer system generates both the smooth pedal stroke associated with use of a heavy flywheel-based trainer unit, while also allowing for realistic movement of the system in the form of fore and aft and side-to-side movement.

Landscapes

  • Health & Medical Sciences (AREA)
  • General Health & Medical Sciences (AREA)
  • Physical Education & Sports Medicine (AREA)
  • Cardiology (AREA)
  • Vascular Medicine (AREA)
  • Life Sciences & Earth Sciences (AREA)
  • Biophysics (AREA)
  • Orthopedic Medicine & Surgery (AREA)
  • Rehabilitation Tools (AREA)

Claims (9)

  1. Übungsausrüstung (804), umfassend:
    Einen Rahmen, der ausgelegt ist, einen Nutzer zu tragen;
    eine Benutzereingabeanordnung (826), die beweglich am Rahmen montiert ist, um einem Nutzer zu ermöglichen, während der Übung, Eingabekräfte anzuwenden; und
    eine Stützanordnung, mit welcher der Rahmen in Eingriff ist und welche den Rahmen über einer Stützfläche stützt, wobei die Stützanordnung ausgelegt ist, Bewegung des Rahmens in einer Vorwärts-Rückwärts-Richtung als Reaktion auf Eingabekräfte bereitzustellen, die vom Nutzer auf den Rahmen angewandt wurden,
    wobei der Rahmen und die bewegliche Eingabeanordnung eine Vorrichtung (806) des Fahrradtyps umfasst;
    wobei die Stützanordnung ferner ausgelegt ist, Neigungsbewegung des Rahmens, um eine Kippachse bereitzustellen, die sich primär in die Vorwärts-Rückwärts-Richtung erstreckt,
    ferner eine neutrale Vorspannungsanordnung zum Vorspannen des Rahmens in Richtung einer neutralen Vorwärts-Rückwärts-Position und einer neutralen Neigungsposition umfassend,
    wobei die neutrale Vorspannungsanordnung eine erste Vorspannungsanordnung zum Vorspannen des Rahmens in Richtung der neutralen Vorwärts-Rückwärts-Position und eine zweite Vorspannungsanordnung zum Vorspannen des Rahmens in Richtung einer neigungsneutralen Position umfasst, und
    wobei die Stützanordnung eine Basis (808) einschließt, und wobei die zweite Vorspannungsanordnung eine neigungsneutrale Vorspannungsanordnung umfasst, die zwischen der Basis und dem Rahmen verbunden ist, die entgegengesetzte lateral gerichtete Vorspannungskräfte auf den Rahmen aufbringt, die den Rahmen in Richtung der neigungsneutralen Position drängen.
  2. Übungsausrüstung nach irgendeinem vorhergehenden Anspruch, wobei der Rahmen mit der Stützanordnung, über das Kuppeln eines Paares von Rollen (864, 866) mit einem Paar von Stützelementen (852, 858), in Eingriff ist, wobei die Stützelemente und die Rollen kooperieren, um dem Rahmen Vorwärts-Rückwärts-Bewegung relativ zur Stützanordnung bereitzustellen.
  3. Übungsausrüstung nach Anspruch 2, wobei das Paar von Stützelementen (852, 858) mit dem Rahmen verbunden ist und das Paar von Rollen (864, 866) mit der Stützanordnung verbunden ist.
  4. Übungsausrüstung nach Anspruch 2 oder 3, wobei die relative axiale Vorwärts-Rückwärts-Bewegung zwischen den Stützelementen (852, 858) und den Rollen (864, 866) zur Bewegung des Rahmens in die Vorwärts-Rückwärts-Richtung führt, und wobei Schwenkbewegung der Stützelemente (852, 858) auf den Rollen (864, 866) zu Neigungsbewegung des Rahmens um die Kippachse führt.
  5. Übungsausrüstung nach irgendeinem der Ansprüche 2, 3 oder 4, wobei das Paar von Stützelementen ein vorderes Stützelement, das sich in Richtung eines vorderen durch den Rahmen definierten Endes befindet, und ein hinteres Stützelement umfasst, das sich in Richtung eines hinteren durch den Rahmen definierten Endes befindet, wobei das hintere Stützelement und das vordere Stützelement eine Kippachse definieren, die in eine Rückwärts-Vorwärts-Richtung geneigt ist.
  6. Übungsausrüstung nach irgendeinem der Ansprüche 2 bis 5,
    wobei die erste Vorspannungsanordnung eine bogenförmige Konfiguration der Stützelemente umfasst, die eine Schwerkraftvorspannung des Rahmens in Richtung der neutralen Vorwärts-Rückwärts-Position bereitstellt.
  7. Übungsausrüstung nach Anspruch 1, wobei die Basis (808) ein Paar von lateral beabstandeten Pfosten (812, 814) einschließt, wobei die neigungsneutrale Vorspannungsanordnung ein zentrierendes Führungselement (856), das mit dem Rahmen verbunden ist und sich zwischen dem Paar von Pfosten befindet, ein Paar von flexiblen länglichen Vorspannungselementen (878A, 878B), die mit dem zentrierenden Führungselement verbunden sind und sich in lateral entgegengesetzten Richtungen daraus erstrecken, und eine Vorspannungsanordnung umfasst, die mit jedem der Pfosten assoziiert ist, wobei jedes flexible längliche Vorspannungselement mit einer der Vorspannungsanordnungen verbunden ist, wobei die von den Vorspannungsanordnungen ausgeübten Vorspannungskräfte das zentrierende Führungselement in Richtung einer neutralen Position vorspannen, die der neigungsneutralen Position des Rahmens entspricht.
  8. Übungsausrüstung nach Anspruch 7, wobei das zentrierende Führungselement (856) einen sich axial erstreckenden Innendurchgang (872) definiert, und wobei die flexiblen länglichen Vorspannungselemente (878A, 878B) mit einem Shuttle (876) verbunden sind, das innerhalb des Innendurchgangs des zentrierenden Führungselements beweglich ist, um Vorwärts-Rückwärts-Bewegung des Rahmens relativ zur Basis (808) aufzunehmen.
  9. Übungsausrüstung nach Anspruch 7 oder Anspruch 8, wobei jede Vorspannungsanordnung eine oder mehrere Federn (893A, 893B) umfasst, die zwischen einem der Pfosten (812, 814) und einem der flexiblen länglichen Vorspannungselemente verbunden sind.
EP23156865.0A 2020-03-16 2021-03-12 Beweglich gestützte übungsvorrichtung Active EP4201490B1 (de)

Priority Applications (1)

Application Number Priority Date Filing Date Title
EP24190322.8A EP4464386A3 (de) 2020-03-16 2021-03-12 Beweglich gestützte übungsvorrichtung

Applications Claiming Priority (2)

Application Number Priority Date Filing Date Title
US16/819,956 US11400339B2 (en) 2017-08-17 2020-03-16 Movably supported exercise device
EP21162300.4A EP3881911B1 (de) 2020-03-16 2021-03-12 Beweglich gelagerte übungsvorrichtung

Related Parent Applications (1)

Application Number Title Priority Date Filing Date
EP21162300.4A Division EP3881911B1 (de) 2020-03-16 2021-03-12 Beweglich gelagerte übungsvorrichtung

Related Child Applications (1)

Application Number Title Priority Date Filing Date
EP24190322.8A Division EP4464386A3 (de) 2020-03-16 2021-03-12 Beweglich gestützte übungsvorrichtung

Publications (3)

Publication Number Publication Date
EP4201490A1 EP4201490A1 (de) 2023-06-28
EP4201490B1 true EP4201490B1 (de) 2024-07-24
EP4201490C0 EP4201490C0 (de) 2024-07-24

Family

ID=74873573

Family Applications (3)

Application Number Title Priority Date Filing Date
EP21162300.4A Withdrawn - After Issue EP3881911B1 (de) 2020-03-16 2021-03-12 Beweglich gelagerte übungsvorrichtung
EP23156865.0A Active EP4201490B1 (de) 2020-03-16 2021-03-12 Beweglich gestützte übungsvorrichtung
EP24190322.8A Pending EP4464386A3 (de) 2020-03-16 2021-03-12 Beweglich gestützte übungsvorrichtung

Family Applications Before (1)

Application Number Title Priority Date Filing Date
EP21162300.4A Withdrawn - After Issue EP3881911B1 (de) 2020-03-16 2021-03-12 Beweglich gelagerte übungsvorrichtung

Family Applications After (1)

Application Number Title Priority Date Filing Date
EP24190322.8A Pending EP4464386A3 (de) 2020-03-16 2021-03-12 Beweglich gestützte übungsvorrichtung

Country Status (2)

Country Link
EP (3) EP3881911B1 (de)
CN (1) CN113398525B (de)

Families Citing this family (3)

* Cited by examiner, † Cited by third party
Publication number Priority date Publication date Assignee Title
EP4046693B1 (de) * 2021-02-17 2024-02-21 vision 8 GmbH Ergometer-trainingsgerät, insbesondere fahrrad-ergometer, mit fortschrittsanzeige
CN114768212B (zh) * 2022-05-18 2023-04-07 上海大动科技有限公司 多自由度单车及其控制方法
TWI855810B (zh) * 2023-08-07 2024-09-11 力山工業股份有限公司 自行車訓練裝置

Family Cites Families (8)

* Cited by examiner, † Cited by third party
Publication number Priority date Publication date Assignee Title
DE69811175T2 (de) * 1997-11-10 2003-08-21 Illinois Tool Works Inc., Glenview Crosslauf-Übungsgerät
EP1601419B1 (de) * 2003-02-28 2014-06-25 Nautilus, Inc. Doppeldeck-leibesübungsvorrichtung
US9242162B2 (en) * 2005-09-14 2016-01-26 Larry Papadopoulos Roller trainer assembly with linear bearings
NO20055233D0 (no) * 2005-11-08 2005-11-08 Kalifen As Innendors treningsykkel med vippefunksjon
US20120071301A1 (en) * 2010-09-22 2012-03-22 Jemian Fitness Llc Adjustable inclining and declining exercise bicycle
WO2013110127A1 (en) * 2012-01-25 2013-08-01 Robertson Mark Gordon An exercise device
US10974118B2 (en) * 2017-08-17 2021-04-13 Saris Cycling Group, Inc. Movable support for exercise equipment
KR102018511B1 (ko) * 2019-06-25 2019-09-06 이동건 자전거를 이용한 운동 장치

Also Published As

Publication number Publication date
CN113398525A (zh) 2021-09-17
EP3881911A1 (de) 2021-09-22
CN113398525B (zh) 2025-11-07
EP4201490A1 (de) 2023-06-28
EP4464386A3 (de) 2025-06-18
EP3881911B1 (de) 2023-02-22
EP4201490C0 (de) 2024-07-24
EP4464386A2 (de) 2024-11-20

Similar Documents

Publication Publication Date Title
EP3668618B1 (de) Beweglicher träger für übungsgerät
US11400339B2 (en) Movably supported exercise device
US20220249905A1 (en) Movably Supported Exercise Device
EP4201490B1 (de) Beweglich gestützte übungsvorrichtung
US5967944A (en) Cross-training exercise apparatus
US9868022B2 (en) Systems and methods for a hill training apparatus for a bicycle trainer
US5685804A (en) Stationary exercise device
US20200122011A1 (en) Bicycle trainer permitting steering and tilting motion
US6749540B1 (en) Cross training exercise device
US7963889B2 (en) Indoor exercise cycle with tilt function
CN1296109C (zh) 把手组件
US10071298B1 (en) Workout apparatus for simulating user movement patterns in bicycle sports
US20240350884A1 (en) Bicycle trainer stand and trainer device
EP0858358A1 (de) Stationäres übungsgerät
EP4122560B1 (de) Fahrradtrainingsvorrichtung

Legal Events

Date Code Title Description
PUAI Public reference made under article 153(3) epc to a published international application that has entered the european phase

Free format text: ORIGINAL CODE: 0009012

STAA Information on the status of an ep patent application or granted ep patent

Free format text: STATUS: EXAMINATION IS IN PROGRESS

17P Request for examination filed

Effective date: 20230215

AC Divisional application: reference to earlier application

Ref document number: 3881911

Country of ref document: EP

Kind code of ref document: P

AK Designated contracting states

Kind code of ref document: A1

Designated state(s): AL AT BE BG CH CY CZ DE DK EE ES FI FR GB GR HR HU IE IS IT LI LT LU LV MC MK MT NL NO PL PT RO RS SE SI SK SM TR

GRAP Despatch of communication of intention to grant a patent

Free format text: ORIGINAL CODE: EPIDOSNIGR1

STAA Information on the status of an ep patent application or granted ep patent

Free format text: STATUS: GRANT OF PATENT IS INTENDED

RIC1 Information provided on ipc code assigned before grant

Ipc: A63B 22/00 20060101ALI20240131BHEP

Ipc: A63B 21/00 20060101ALI20240131BHEP

Ipc: A63B 21/04 20060101ALI20240131BHEP

Ipc: A63B 21/02 20060101ALI20240131BHEP

Ipc: A63B 22/16 20060101ALI20240131BHEP

Ipc: A63B 69/16 20060101AFI20240131BHEP

INTG Intention to grant announced

Effective date: 20240216

GRAS Grant fee paid

Free format text: ORIGINAL CODE: EPIDOSNIGR3

GRAA (expected) grant

Free format text: ORIGINAL CODE: 0009210

STAA Information on the status of an ep patent application or granted ep patent

Free format text: STATUS: THE PATENT HAS BEEN GRANTED

AC Divisional application: reference to earlier application

Ref document number: 3881911

Country of ref document: EP

Kind code of ref document: P

AK Designated contracting states

Kind code of ref document: B1

Designated state(s): AL AT BE BG CH CY CZ DE DK EE ES FI FR GB GR HR HU IE IS IT LI LT LU LV MC MK MT NL NO PL PT RO RS SE SI SK SM TR

REG Reference to a national code

Ref country code: GB

Ref legal event code: FG4D

REG Reference to a national code

Ref country code: CH

Ref legal event code: EP

REG Reference to a national code

Ref country code: DE

Ref legal event code: R096

Ref document number: 602021016297

Country of ref document: DE

REG Reference to a national code

Ref country code: IE

Ref legal event code: FG4D

U01 Request for unitary effect filed

Effective date: 20240813

U07 Unitary effect registered

Designated state(s): AT BE BG DE DK EE FI FR IT LT LU LV MT NL PT SE SI

Effective date: 20240827

PG25 Lapsed in a contracting state [announced via postgrant information from national office to epo]

Ref country code: NO

Free format text: LAPSE BECAUSE OF FAILURE TO SUBMIT A TRANSLATION OF THE DESCRIPTION OR TO PAY THE FEE WITHIN THE PRESCRIBED TIME-LIMIT

Effective date: 20241024

PG25 Lapsed in a contracting state [announced via postgrant information from national office to epo]

Ref country code: PL

Free format text: LAPSE BECAUSE OF FAILURE TO SUBMIT A TRANSLATION OF THE DESCRIPTION OR TO PAY THE FEE WITHIN THE PRESCRIBED TIME-LIMIT

Effective date: 20240724

Ref country code: GR

Free format text: LAPSE BECAUSE OF FAILURE TO SUBMIT A TRANSLATION OF THE DESCRIPTION OR TO PAY THE FEE WITHIN THE PRESCRIBED TIME-LIMIT

Effective date: 20241025

PG25 Lapsed in a contracting state [announced via postgrant information from national office to epo]

Ref country code: IS

Free format text: LAPSE BECAUSE OF FAILURE TO SUBMIT A TRANSLATION OF THE DESCRIPTION OR TO PAY THE FEE WITHIN THE PRESCRIBED TIME-LIMIT

Effective date: 20241124

PG25 Lapsed in a contracting state [announced via postgrant information from national office to epo]

Ref country code: HR

Free format text: LAPSE BECAUSE OF FAILURE TO SUBMIT A TRANSLATION OF THE DESCRIPTION OR TO PAY THE FEE WITHIN THE PRESCRIBED TIME-LIMIT

Effective date: 20240724

PG25 Lapsed in a contracting state [announced via postgrant information from national office to epo]

Ref country code: RS

Free format text: LAPSE BECAUSE OF FAILURE TO SUBMIT A TRANSLATION OF THE DESCRIPTION OR TO PAY THE FEE WITHIN THE PRESCRIBED TIME-LIMIT

Effective date: 20241024

Ref country code: ES

Free format text: LAPSE BECAUSE OF FAILURE TO SUBMIT A TRANSLATION OF THE DESCRIPTION OR TO PAY THE FEE WITHIN THE PRESCRIBED TIME-LIMIT

Effective date: 20240724

PG25 Lapsed in a contracting state [announced via postgrant information from national office to epo]

Ref country code: RS

Free format text: LAPSE BECAUSE OF FAILURE TO SUBMIT A TRANSLATION OF THE DESCRIPTION OR TO PAY THE FEE WITHIN THE PRESCRIBED TIME-LIMIT

Effective date: 20241024

Ref country code: PL

Free format text: LAPSE BECAUSE OF FAILURE TO SUBMIT A TRANSLATION OF THE DESCRIPTION OR TO PAY THE FEE WITHIN THE PRESCRIBED TIME-LIMIT

Effective date: 20240724

Ref country code: NO

Free format text: LAPSE BECAUSE OF FAILURE TO SUBMIT A TRANSLATION OF THE DESCRIPTION OR TO PAY THE FEE WITHIN THE PRESCRIBED TIME-LIMIT

Effective date: 20241024

Ref country code: IS

Free format text: LAPSE BECAUSE OF FAILURE TO SUBMIT A TRANSLATION OF THE DESCRIPTION OR TO PAY THE FEE WITHIN THE PRESCRIBED TIME-LIMIT

Effective date: 20241124

Ref country code: HR

Free format text: LAPSE BECAUSE OF FAILURE TO SUBMIT A TRANSLATION OF THE DESCRIPTION OR TO PAY THE FEE WITHIN THE PRESCRIBED TIME-LIMIT

Effective date: 20240724

Ref country code: GR

Free format text: LAPSE BECAUSE OF FAILURE TO SUBMIT A TRANSLATION OF THE DESCRIPTION OR TO PAY THE FEE WITHIN THE PRESCRIBED TIME-LIMIT

Effective date: 20241025

Ref country code: ES

Free format text: LAPSE BECAUSE OF FAILURE TO SUBMIT A TRANSLATION OF THE DESCRIPTION OR TO PAY THE FEE WITHIN THE PRESCRIBED TIME-LIMIT

Effective date: 20240724

PG25 Lapsed in a contracting state [announced via postgrant information from national office to epo]

Ref country code: SM

Free format text: LAPSE BECAUSE OF FAILURE TO SUBMIT A TRANSLATION OF THE DESCRIPTION OR TO PAY THE FEE WITHIN THE PRESCRIBED TIME-LIMIT

Effective date: 20240724

Ref country code: RO

Free format text: LAPSE BECAUSE OF FAILURE TO SUBMIT A TRANSLATION OF THE DESCRIPTION OR TO PAY THE FEE WITHIN THE PRESCRIBED TIME-LIMIT

Effective date: 20240724

PG25 Lapsed in a contracting state [announced via postgrant information from national office to epo]

Ref country code: CZ

Free format text: LAPSE BECAUSE OF FAILURE TO SUBMIT A TRANSLATION OF THE DESCRIPTION OR TO PAY THE FEE WITHIN THE PRESCRIBED TIME-LIMIT

Effective date: 20240724

PG25 Lapsed in a contracting state [announced via postgrant information from national office to epo]

Ref country code: SK

Free format text: LAPSE BECAUSE OF FAILURE TO SUBMIT A TRANSLATION OF THE DESCRIPTION OR TO PAY THE FEE WITHIN THE PRESCRIBED TIME-LIMIT

Effective date: 20240724

PLBE No opposition filed within time limit

Free format text: ORIGINAL CODE: 0009261

STAA Information on the status of an ep patent application or granted ep patent

Free format text: STATUS: NO OPPOSITION FILED WITHIN TIME LIMIT

26N No opposition filed

Effective date: 20250425

PG25 Lapsed in a contracting state [announced via postgrant information from national office to epo]

Ref country code: MC

Free format text: LAPSE BECAUSE OF FAILURE TO SUBMIT A TRANSLATION OF THE DESCRIPTION OR TO PAY THE FEE WITHIN THE PRESCRIBED TIME-LIMIT

Effective date: 20240724

PGFP Annual fee paid to national office [announced via postgrant information from national office to epo]

Ref country code: GB

Payment date: 20250912

Year of fee payment: 5

U21 Renewal fee for the european patent with unitary effect paid with additional fee

Year of fee payment: 5

Effective date: 20250912

REG Reference to a national code

Ref country code: CH

Ref legal event code: H13

Free format text: ST27 STATUS EVENT CODE: U-0-0-H10-H13 (AS PROVIDED BY THE NATIONAL OFFICE)

Effective date: 20251023

PG25 Lapsed in a contracting state [announced via postgrant information from national office to epo]

Ref country code: CH

Free format text: LAPSE BECAUSE OF NON-PAYMENT OF DUE FEES

Effective date: 20250331

PG25 Lapsed in a contracting state [announced via postgrant information from national office to epo]

Ref country code: IE

Free format text: LAPSE BECAUSE OF NON-PAYMENT OF DUE FEES

Effective date: 20250312