EP4190176B1 - Smoking substitute consumable - Google Patents

Smoking substitute consumable Download PDF

Info

Publication number
EP4190176B1
EP4190176B1 EP22208373.5A EP22208373A EP4190176B1 EP 4190176 B1 EP4190176 B1 EP 4190176B1 EP 22208373 A EP22208373 A EP 22208373A EP 4190176 B1 EP4190176 B1 EP 4190176B1
Authority
EP
European Patent Office
Prior art keywords
aerosol
tobacco
flavourant
article
forming substrate
Prior art date
Legal status (The legal status is an assumption and is not a legal conclusion. Google has not performed a legal analysis and makes no representation as to the accuracy of the status listed.)
Active
Application number
EP22208373.5A
Other languages
German (de)
French (fr)
Other versions
EP4190176A1 (en
Inventor
Kate FERRIE
Jill JONES
John Williams
Edward Ross SHENTON
Current Assignee (The listed assignees may be inaccurate. Google has not performed a legal analysis and makes no representation or warranty as to the accuracy of the list.)
IMPERIAL TOBACCO Ltd
Original Assignee
Imperial Tobacco Ltd United Kingdom
Priority date (The priority date is an assumption and is not a legal conclusion. Google has not performed a legal analysis and makes no representation as to the accuracy of the date listed.)
Filing date
Publication date
Family has litigation
First worldwide family litigation filed litigation Critical https://patents.darts-ip.com/?family=64560456&utm_source=google_patent&utm_medium=platform_link&utm_campaign=public_patent_search&patent=EP4190176(B1) "Global patent litigation dataset” by Darts-ip is licensed under a Creative Commons Attribution 4.0 International License.
Application filed by Imperial Tobacco Ltd United Kingdom filed Critical Imperial Tobacco Ltd United Kingdom
Publication of EP4190176A1 publication Critical patent/EP4190176A1/en
Application granted granted Critical
Publication of EP4190176B1 publication Critical patent/EP4190176B1/en
Active legal-status Critical Current
Anticipated expiration legal-status Critical

Links

Images

Classifications

    • AHUMAN NECESSITIES
    • A24TOBACCO; CIGARS; CIGARETTES; SIMULATED SMOKING DEVICES; SMOKERS' REQUISITES
    • A24BMANUFACTURE OR PREPARATION OF TOBACCO FOR SMOKING OR CHEWING; TOBACCO; SNUFF
    • A24B15/00Chemical features or treatment of tobacco; Tobacco substitutes, e.g. in liquid form
    • A24B15/10Chemical features of tobacco products or tobacco substitutes
    • A24B15/12Chemical features of tobacco products or tobacco substitutes of reconstituted tobacco
    • AHUMAN NECESSITIES
    • A24TOBACCO; CIGARS; CIGARETTES; SIMULATED SMOKING DEVICES; SMOKERS' REQUISITES
    • A24BMANUFACTURE OR PREPARATION OF TOBACCO FOR SMOKING OR CHEWING; TOBACCO; SNUFF
    • A24B15/00Chemical features or treatment of tobacco; Tobacco substitutes, e.g. in liquid form
    • A24B15/10Chemical features of tobacco products or tobacco substitutes
    • A24B15/12Chemical features of tobacco products or tobacco substitutes of reconstituted tobacco
    • A24B15/14Chemical features of tobacco products or tobacco substitutes of reconstituted tobacco made of tobacco and a binding agent not derived from tobacco
    • AHUMAN NECESSITIES
    • A24TOBACCO; CIGARS; CIGARETTES; SIMULATED SMOKING DEVICES; SMOKERS' REQUISITES
    • A24BMANUFACTURE OR PREPARATION OF TOBACCO FOR SMOKING OR CHEWING; TOBACCO; SNUFF
    • A24B15/00Chemical features or treatment of tobacco; Tobacco substitutes, e.g. in liquid form
    • A24B15/10Chemical features of tobacco products or tobacco substitutes
    • A24B15/16Chemical features of tobacco products or tobacco substitutes of tobacco substitutes
    • AHUMAN NECESSITIES
    • A24TOBACCO; CIGARS; CIGARETTES; SIMULATED SMOKING DEVICES; SMOKERS' REQUISITES
    • A24BMANUFACTURE OR PREPARATION OF TOBACCO FOR SMOKING OR CHEWING; TOBACCO; SNUFF
    • A24B15/00Chemical features or treatment of tobacco; Tobacco substitutes, e.g. in liquid form
    • A24B15/18Treatment of tobacco products or tobacco substitutes
    • A24B15/28Treatment of tobacco products or tobacco substitutes by chemical substances
    • A24B15/30Treatment of tobacco products or tobacco substitutes by chemical substances by organic substances

Definitions

  • the present disclosure relates to a consumable for use in a smoking substitute system and particularly, although not exclusively, to a heat-not-burn (HNB) consumable.
  • HNB heat-not-burn
  • tobacco waste is produced.
  • the tobacco waste is typically in the form of tobacco dust, leaf or stem.
  • the tobacco waste can be collected and processed to provide what is known as reconstituted tobacco, or "recon”.
  • slurry-type recon Two distinct methods are most commonly employed to manufacture reconstituted tobacco, these are i) a paper-making process (i.e. to provide "Paper Recon”), and ii) slurry casting (to provide "Slurry-type Recon”).
  • a paper-making process i.e. to provide "Paper Recon”
  • slurry casting to provide "Slurry-type Recon”
  • the products that result from these distinct processes have notably different properties and characteristics.
  • slurry-type recon generally has improved aroma/flavour and nicotine content in comparison to paper recon, yet slurry-type recon is typically more easily broken and often has poorer uniformity of quality.
  • the tobacco waste is milled to a fine powder and mixed with an aqueous solvent, typically water, and combined with a binding agent.
  • the resultant slurry may undergo further milling to reduce the particle size of the tobacco material further.
  • the slurry is then cast on a surface and dried to form a sheet.
  • the dried sheet may be shredded to be used within various tobacco products, for example as a cigarette filler.
  • the tobacco waste is mechanically beaten in the presence of an aqueous solvent to digest and process the tobacco into workable fibres. Subsequently, water soluble compounds present in the tobacco are extracted into the aqueous solvent. The aqueous extract and insoluble fibrous portion are separated. The separated fibrous portion, which may also be described as a "pulp", undergoes further processing to form a base sheet via a typical paper-making procedure. The aqueous extract is concentrated and then reapplied to the base sheet. The base sheet is then dried to form a paper.
  • the smoking of tobacco is generally considered to expose a smoker to potentially harmful substances. It is generally thought that a significant amount of the potentially harmful substances are generated through the heat caused by the burning and/or combustion of the tobacco and the constituents of the burnt tobacco in the tobacco smoke itself.
  • Conventional combustible smoking articles such as cigarettes, typically comprise a cylindrical rod of tobacco comprising shreds of tobacco which is surrounded by a wrapper, and usually also a cylindrical filter axially aligned in an abutting relationship with the wrapped tobacco rod.
  • the filter typically comprises a filtration material which is circumscribed by a plug wrap.
  • the wrapped tobacco rod and the filter are joined together by a wrapped band of tipping paper that circumscribes the entire length of the filter and an adjacent portion of the wrapped tobacco rod.
  • a conventional cigarette of this type is used by lighting the end opposite to the filter, and burning the tobacco rod.
  • the smoker receives mainstream smoke into their mouth by drawing on the mouth end or filter end of the cigarette.
  • Combustion of organic material such as tobacco is known to produce tar and other potentially harmful by-products.
  • various smoking substitute systems or "substitute smoking systems" in order to avoid the smoking of tobacco.
  • Such smoking substitute systems can form part of nicotine replacement therapies aimed at people who wish to stop smoking and overcome a dependence on nicotine.
  • Smoking substitute systems include electronic systems that permit a user to simulate the act of smoking by producing an aerosol (also referred to as a "vapour") that is drawn into the lungs through the mouth (inhaled) and then exhaled.
  • aerosol also referred to as a "vapour”
  • the inhaled aerosol typically bears nicotine and/or flavourings without, or with fewer of, the odour and health risks associated with traditional smoking.
  • smoking substitute systems are intended to provide a substitute for the rituals of smoking, whilst providing the user with a similar experience and satisfaction to those experienced with traditional smoking and with combustible tobacco products.
  • Some smoking substitute systems use smoking substitute articles that are designed to resemble a traditional cigarette and are cylindrical in form with a mouthpiece at one end.
  • HNB heat not burn
  • a typical HNB smoking substitute system may include a device and a consumable.
  • the consumable may include the tobacco material.
  • the device and consumable may be configured to be physically coupled together.
  • heat may be imparted to the tobacco material by a heating element of the device, wherein airflow through the tobacco material causes moisture in the tobacco material to be released as vapour.
  • a vapour may also be formed from a carrier in the tobacco material (this carrier may for example include propylene glycol and/or vegetable glycerine) and additionally volatile compounds released from the tobacco. The released vapour may be entrained in the airflow drawn through the tobacco.
  • the vapour passes through the consumable (entrained in the airflow) from an inlet to a mouthpiece (outlet), the vapour cools and condenses to form an aerosol for inhalation by the user.
  • the aerosol will normally contain the volatile compounds.
  • WO2015/075650 A1 pertains to a smoking article comprising an aerosol-forming substrate and a flavour precursor.
  • the present disclosure relates to an aerosol-forming article e.g. an HNB consumable having an increased concentration of volatile compound.
  • the present invention provides an aerosol-forming article (e.g. an HNB consumable) comprising an aerosol-forming substrate dosed with a coating of flavourant, wherein the aerosol-forming substrate is a slurry-type reconstituted plant material, and wherein the flavourant content is up to 20 % by weight of the aerosol-forming substrate.
  • an aerosol-forming article e.g. an HNB consumable
  • the aerosol-forming substrate is a slurry-type reconstituted plant material
  • flavourant content is up to 20 % by weight of the aerosol-forming substrate.
  • slurry-type corresponds to a reconstituted plant material made by slurry-casting as opposed to a paper-making process.
  • an aerosol-forming substrate which will itself include a volatile compound
  • a coating of flavourant By using an aerosol-forming substrate (which will itself include a volatile compound) dosed with a coating of flavourant, the number/concentration of volatile compound(s) can be increased to provide the user with a vapour/aerosol containing a higher concentration of the volatile compound(s). This may provide the user with an enhanced recreational and/or medicinal effect when inhaled. In particular, the user experiences an enhanced flavour. Also, a coating provides an even application of flavourant to the aerosol-forming substrate, therefore providing the user with a more consistent experience.
  • the aerosol-forming article is preferably a heat-not-burn (HNB) consumable.
  • HNB heat-not-burn
  • the aerosol-forming substrate is capable of being heated to release at least one volatile compound that can form an aerosol.
  • the aerosol-forming substrate may be located at the upstream end of the article/consumable.
  • upstream and downstream are intended to refer to the flow direction of the vapour/aerosol i.e. with the downstream end of the article/consumable being the mouth end or outlet where the aerosol exits the article/consumable for inhalation by the user.
  • the upstream end of the article/consumable is the opposing end to the downstream end.
  • the aerosol-forming substrate comprises at least one volatile compound that is intended to be vaporised/aerosolised and that may provide the user with a recreational and/or medicinal effect when inhaled.
  • Suitable chemical and/or physiologically active volatile compounds include the group consisting of: nicotine, cocaine, caffeine, opiates and opoids, cathine and cathinone, kavalactones, mysticin, beta-carboline alkaloids, salvinorin A together with any combinations, functional equivalents to, and/or synthetic alternatives of the foregoing.
  • the flavourant is a non-tobacco flavourant.
  • the use of non-tobacco flavours provides the user with unconventional flavours, which are not typically experienced. Therefore, a varied and enhanced user experience is provided.
  • the aerosol-forming substrate comprises plant material.
  • the plant material may comprise least one plant material selected from the list including Amaranthus dubius, Arctostaphylos uva-ursi (Bearberry), Argemone mexicana, Amica, Artemisia vulgaris, Yellow Tees, Galea zacatechichi, Canavalia maritima (Baybean), Cecropia mexicana (Guamura), Cestrum noctumum, Cynoglossum virginianum (wild comfrey), Cytisus scoparius , Damiana, Entada rheedii, Eschscholzia califomica (California Poppy), Fittonia albivenis, Hippobroma longiflora, Humulus japonica (Japanese Hops), Humulus lupulus (Hops), Lactuca virosa (Lettuce Opium), Laggera alata, Leonotis
  • the plant material is tobacco.
  • Any type of tobacco may be used. This includes, but is not limited to, flue-cured tobacco, burley tobacco, Maryland Tobacco, dark-air cured tobacco, oriental tobacco, dark-fired tobacco, perique tobacco and rustica tobacco. This also includes blends of the above mentioned tobaccos.
  • any suitable parts of the tobacco plant may be used. This includes leaves, stems, roots, bark, seeds and flowers.
  • the tobacco may comprise one or more of leaf tobacco, stem tobacco, tobacco powder, tobacco dust, tobacco derivatives, expanded tobacco, homogenised tobacco, shredded tobacco, extruded tobacco, cut rag tobacco and/or reconstituted tobacco (e.g. slurry recon or paper recon).
  • the aerosol-forming substrate may comprise a gathered sheet of homogenised slurry recon tobacco or gathered shreds/strips formed from such a sheet.
  • the sheet used to form the aerosol-forming substrate has a grammage greater than or equal to 100 g/m 2 , e.g. greater than or equal to 110 g/m 2 such as greater than or equal to 120 g/m 2 .
  • the sheet may have a grammage of less than or equal to 300 g/m 2 e.g. less than or equal to 250 g/m 2 or less than or equal to 200 g/m 2 .
  • the sheet may have a grammage of between 120 and 190 g/m 2 .
  • the sheet used to form the aerosol-forming substrate has a density of less than 1100 mg/cm 3 , preferably less than 1000 mg/cm 3 , and more preferably less than 900 mg/cm 3 .
  • the sheet used to form the aerosol-forming substrate has a mass/surface area of less than 0.09 mg/mm 2 , preferably less than 0.085 mg/mm 2 , preferably less than 0.08 mg/mm 2 and more preferably less than 0.075 mg/mm 2 .
  • the aerosol-forming substrate may have a thickness less than about 1 mm, preferably less than about 0.5 mm, preferably between about 0.1 and 0.3 mm, such as about 0.2 mm.
  • the aerosol-forming substrate may comprise at least 50 wt% plant material, e.g. at least 60 wt% plant material e.g. around 65 wt% plant material.
  • the aerosol-forming substrate may comprise 80 wt% or less plant material e.g. 75 or 70 wt% or less plant material.
  • the aerosol-forming substrate may comprise one or more additives selected from humectants, fillers, aqueous/non-aqueous solvents and binders.
  • Humectants are provided as vapour generators - the resulting vapour helps carry the volatile active compounds and increases visible vapour.
  • Suitable humectants include polyhydric alcohols (e.g. propylene glycol (PG), triethylene glycol, 1,2-butane diol and vegetable glycerine (VG)) and their esters (e.g. glycerol mono-, di- or tri-acetate). They may be present in the aerosol-forming substrate in an amount between 1 and 50 wt%.
  • the humectant content of the aerosol-forming substrate may have a lower limit of at least 1 % by weight of the plant material, such as at least 2 wt %, such as at least 5 wt %, such as at least 10 wt %, such as at least 20 wt %, such as at least 30 wt %, or such as least 40 wt %.
  • the humectant content of the aerosol-forming substrate may have an upper limit of at most 50 % by weight of the plant material, such as at most 40 wt %, such as at most 30 wt %, or such as at most 20 wt %.
  • the humectant content is 1 to 40 wt % of the aerosol-forming substrate, such as 1 to 20 wt %
  • Binders may comprise starches and/or cellulosic binders such as methyl cellulose, ethyl cellulose, hydroxypropyl cellulose, hydroxyethyl cellulose and carboxymethyl cellulose, gums such as xanthan, guar, arabic and/or locust bean gum, organic acids and their salts such as alginic acid/ sodium alginate, agar and pectins.
  • the binder content is 5 to 20 wt% of the aerosol-forming substrate e.g. around 6 to 8 wt%.
  • the upper limit of binder is preferably up to 15 wt. %, such as up to 10 wt. %.
  • the binder content is above 5 wt%.
  • Fillers are known in the art and may act to strengthen the aerosol-forming substrate.
  • Fillers may comprise fibrous (non-tobacco) fillers such as cellulose fibres, lignocellulose fibres (e.g. wood fibres), jute fibres and combinations thereof.
  • the filler content is 5 to 10 wt% of the aerosol-forming substrate e.g. around 6 to 9 wt%.
  • the aerosol-forming substrate may comprise an aqueous and/or non-aqueous solvent.
  • the aerosol forming substrate has a water content of between 5 and 10 wt% e.g. between 6-9 wt% such as between 7-9 wt%.
  • the flavourant may be provided in solid or liquid form. It may include menthol, peppermint, spearmint, liquorice, chocolate, fruit flavour (including e.g. citrus, cherry etc.), vanilla, spice (e.g. ginger, cinnamon) coffee, eucalyptus, and tobacco flavour.
  • the flavourant may be evenly dispersed as a coating on the aerosol-forming substrate or may be provided in isolated locations and/or varying concentrations as a coating on the aerosol-forming substrate. Preferably the flavourant is evenly dispersed as a coating on the aerosol-forming substrate.
  • the flavourant is provided as a coating on the aerosol-forming article.
  • a coating is provided on the aerosol-forming article by surface application of a liquid comprising the flavourant. For example application by brushing, spraying, or immersion into the liquid. It is preferred that the coating is uniform across the surface of the aerosol-forming article.
  • the coating is provided to the sheet of slurry-type reconstituted plant material from which the aerosol-forming article is formed.
  • the coating may be provided to both major surfaces of the sheet, or, alternatively, just to one major surface of the sheet.
  • the coating is provided on the sheet of slurry-type reconstituted plant material before the sheet is divided, e.g. by shredding or slitting, to form the aerosol-forming article.
  • the coating is substantially continuous across the surface of the sheet or the aerosol-forming article when applied.
  • flavourant penetrates into a surface layer of the aerosol-forming article.
  • flavourant is present in a surface layer of the aerosol-forming article only, i.e. not throughout the aerosol-forming article.
  • these flavourants are found to be desired by the user, and also provide the user with a satisfactory flavour "hit”.
  • a varied and enhanced flavour experience is achieved.
  • the dosed flavourant content of the aerosol-forming substrate may have a lower limit of at least 0.1 wt % of the weight of the aerosol-forming substrate, such as at least 0.5 wt%, such as at least 1 wt%, such as at least 2 wt %, such as at least 5 wt %, such as at least 10 wt %, such as at least 15 wt %.
  • the dosed flavourant content of the aerosol-forming substrate has an upper limit of at most 20 wt % of the aerosol-forming substrate, such as at most 15 wt %, such as at most 10 wt %.
  • the flavourant concentration is 0.1 to 15 wt %. Even more preferred is a flavourant concentration of 0.1 to 5 wt % of the aerosol-forming substrate
  • flavourant is menthol.
  • flavourant is synthetically derived menthol.
  • this source of menthol is not naturally derived.
  • naturally derived menthol is provided in the form of mint or mint extracts. Consequently, the use of synthetic menthol excludes the presence of undesired components present in mint or mint extracts.
  • the aerosol-forming substrate may be formed in a substantially cylindrical shape such that the article/consumable resembles a conventional cigarette. It may have a diameter of between 5 and 10mm e.g. between 6 and 9mm or 6 and 8mm e.g. around 7 mm. It may have an axial length of between 10 and 15mm e.g. between 11 and 14mm such as around 12 or 13mm.
  • the aerosol-forming substrate may be circumscribed by a wrapping layer e.g. a paper wrapping layer.
  • the wrapping layer may overlie an inner foil layer or may comprise a paper/foil laminate (with the foil innermost).
  • the article/consumable may comprise at least one filter element.
  • There may be a plurality of filter elements e.g. the terminal filter element and an upstream filter element which may be adjacent one another or which may be spaced apart.
  • Any upstream filter element may be at least partly (e.g. entirely) circumscribed by the (paper) wrapping layer.
  • the or at least one of the filter element(s) may be comprised of cellulose acetate tow.
  • the or at least one of the filter element(s) e.g. the terminal filter element and/or upstream filter element may be comprised of activated charcoal.
  • the or at least one of the filter element(s) e.g. the terminal filter element and/or upstream filter element may be comprised of paper.
  • the or at least one of the filter element(s) (e.g. the terminal filter element and/or upstream filter element may be comprised of plant material e.g. extruded plant material.
  • the or each filter element may be circumscribed with a plug wrap e.g. a paper plug wrap.
  • the or each filter element may have a substantially cylindrical shape with a diameter substantially matching the diameter of the aerosol-forming substrate (with or without its associated wrapping layer).
  • the axial length of the or each filter element may be less than 20mm, e.g. between 8 and 15mm, for example between 9 and 13 mm e.g. between 10 and 12mm.
  • the or at least one of the filter element(s) may be a solid filter element.
  • the or at least one of the filter element(s) may be a hollow bore filter element.
  • the or each hollow bore filter may have a bore diameter of between 1 and 5 mm, e.g. between 2 and 4 mm or between 2 and 3 mm.
  • the terminal filter element (at the downstream end of the article/consumable) may be joined to the upstream elements forming the article/consumable by a circumscribing tipping layer e.g. a tipping paper layer.
  • the tipping paper may have an axial length longer than the axial length of the terminal filter element such that the tipping paper completely circumscribes the terminal filter element plus the wrapping layer surrounding any adjacent upstream element.
  • the or at least one of the filter elements e.g. the terminal filter element may include a capsule e.g. a crushable capsule (crush-ball) containing a liquid flavourant e.g. any of the flavourants listed above.
  • the capsule can be crushed by the user during smoking of the article/consumable to release the flavourant.
  • the capsule may be located at the axial centre of the terminal filter element.
  • the article/consumable may comprise an aerosol-cooling element which is adapted to cool the aerosol generated from the aerosol-forming substrate (by heat exchange) before being inhaled by the user.
  • the aerosol-cooling element will be downstream from the aerosol-forming substrate. For example, it may be between the aerosol-forming substrate and the upstream filter element and/or between the two filter elements.
  • the aerosol cooling element may be at least partly (e.g. completely) circumscribed by the (paper) wrapping layer.
  • the aerosol-cooling element may be formed of a plastics material selected from the group consisting of polylactic acid (PLA), polyvinyl chloride (PVC), polyethylene (PE) and polyethylene terephthalate (PET).
  • the aerosol-cooling element may be formed of a crimped/gathered sheet of material to form a structure having a high surface area with a plurality of longitudinal channels to maximise heat exchange and cooling of the aerosol.
  • the article/consumable may comprise a spacer element that defines a space or cavity between the aerosol-forming substrate and the downstream end of the article/consumable. It may be provided between the aerosol-forming substrate and the upstream filter element and/or between the two filter elements.
  • the spacer element may comprise a tubular element e.g. a cardboard tube.
  • the spacer element may be at least partly (e.g. entirely) circumscribed by the (paper) wrapping layer.
  • the spacer element may have an external diameter of between 5 and 10mm e.g. between 6 and 9mm or 6 and 8mm e.g. around 7 mm. It may have an axial length of between 10 and 15mm e.g. between 12 and 14 mm or 13 and 14mm e.g. around 14mm.
  • a smoking substitute system comprising an aerosol-forming article according to the first aspect and a device comprising a heating element.
  • the device may be a HNB device i.e. a device adapted to heat but not combust the aerosol-forming substrate.
  • the device may comprise a main body for housing the heating element.
  • the heating element may comprise an elongated e.g. rod, tube-shaped or blade heating element.
  • the heating element may project into or surround a cavity within the main body for receiving the article/consumable described above.
  • the device e.g. the main body
  • an electrical power supply e.g. a (rechargeable) battery for powering the heating element.
  • It may further comprise a control unit to control the supply of power to the heating element.
  • a smoking substitute system comprising:
  • the method comprises inserting the article/consumable into a cavity within the main body and penetrating the article/consumable with the heating element upon insertion of the article/consumable.
  • the heating element may penetrate the aerosol-forming substrate in the article/consumable.
  • a method for manufacturing an aerosol-forming substrate wherein the aerosol forming substrate is a slurry-type reconstituted plant material comprising: combining a ground plant material with an aqueous medium to form a slurry; casting the slurry on a surface to form a sheet; and applying a flavourant to the sheet to provide a coating.
  • flavourant by applying flavourant to the sheet as a coating a more even application of flavourant on the aerosol-forming substrate is achieved as compared to provision of flavourant as or in a separate component or constituent of the aerosol-forming substrate or of the article/consumable.
  • This provides the user with enhanced flavour and a more consistent flavour experience.
  • the application of flavourant to the sheet may be carried out in a secondary environment away from the main line of manufacturing. Therefore, contamination on the main line apparatus with undesired flavourant is avoided. Therefore in some embodiments it is preferred to apply the flavourant after winding of the sheet onto a bobbin, for example by unwinding the sheet from the bobbin before application of the flavourant.
  • this application of flavourant may take place after transport of the sheet (e.g. wound onto a bobbin) to a location remote from the casting location.
  • the plant material is ground to a particle size of less than 120 microns. It is undesirable to have a particle size greater than 150 microns as this is associated with the formation of defects and inhomogeneous areas in the sheet formed by casting the slurry. Particularly, preferred is a particle size of 30 to 120 microns.
  • a binder may also be included within the slurry.
  • the amount of binder used is chosen to provide an amount of 5 to 20 weight % of binder in the sheet ultimately produced from the slurry, such as 5 to 15 weight %, such as 5 to 10 weight %.
  • the ground tobacco may be combined with the binder before combination with the aqueous medium.
  • the binder may be combined with the aqueous medium prior to combining the aqueous medium with the ground tobacco.
  • the slurry may also contain fillers, humectants, preservatives, and/or flavours. These may be combined with the ground plant material before combination with the aqueous medium, or alternatively can be added to the slurry separately
  • the total solids content of the slurry is between 15 % and 30 % of the total slurry weight. Of this preferred range about 50 to 90 % of the total solids content of the slurry should be the plant material.
  • the plant material content of the slurry is not critical, but it is preferred that the minimum amount of aqueous medium is used to avoid leaching of plant material solubles into the aqueous medium.
  • the slurry is formed by mixing the various components of the slurry. This may be achieved using a high energy mixer or a high shear mixer to homogenize the slurry. During mixing the slurry may optionally be heated.
  • the slurry may be vibrated to aid homogenization of the slurry. This may be achieved by vibrating a tank or silo in which the slurry is contained.
  • the slurry is cast onto a moving support surface, such as a dryer belt to form a sheet.
  • Casting of the sheet may be achieved by a roll coater system or a laminator, or any other method suitable in the art. It is preferred that the moisture content of the sheet at casting is between 60 and 80 percent of the total weight of the cast slurry.
  • the cast sheet is then dried by exposure to elevated temperatures and/or reduced pressures to remove excess moisture content from the sheet. Suitable drying methods include a steam dryer and/or heated air dryers. Alternatively, the sheet may be dried under ambient conditions,
  • flavourant is applied by spray-coating.
  • flavourant by applying the flavourant to the cast sheet by spray-coating a more uniform application of flavourant is achieved to provide a more homogeneous product. Accordingly, a more consistent user experience results.
  • the flavourant is a non-tobacco flavour.
  • the flavourant is selected from menthol, peppermint, spearmint, liquorice, chocolate, fruit flavour, vanilla, spice, coffee, eucalyptus, and tobacco flavour,
  • the flavourant is synthetically derived menthol.
  • the plant material is tobacco.
  • the use of tobacco provides a slurry-type reconstituted plant material having the inherent properties of tobacco, for examples, the texture, aroma and nicotine content.
  • the method of the fourth aspect comprises a step of drying the sheet, wherein the flavourant is applied to the sheet after drying.
  • flavouring after drying the sheet avoids loss of flavourant by evaporation when drying at elevated temperatures or at reduced pressures.
  • the method of the fourth aspect comprised a step of winding the sheet onto a bobbin, wherein the flavourant is applied to the sheet after winding.
  • this facilitates efficient storage of the sheet and allows the flavourant to be applied in a secondary environment that is separate from the main line of manufacturing. Thereby avoiding contamination of the main line apparatus with undesired flavour.
  • flavourant may be applied to the sheet before winding of the sheet onto the bobbin.
  • the method of the fourth aspect includes a step of making an HNB consumable from the sheet.
  • an aerosol-forming substrate for an HNB device produced by the process according to the fourth aspect.
  • the aerosol-forming substrate according to the fifth aspect has a dosed flavourant content of 0.1 to 20 % by weight of the aerosol-forming substrate.
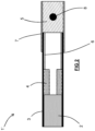
  • the HNB consumable 1 comprises an aerosol-forming substrate 2 at the upstream end of the consumable 1.
  • the aerosol-forming substrate 2 comprises reconstituted tobacco which includes nicotine as a volatile compound and which is dosed with up to 20 wt% of a flavourant coating, where the flavourant is selected from menthol, peppermint, spearmint, liquorice, chocolate, fruit flavour, vanilla, spice, coffee, eucalyptus, and tobacco flavour.
  • a flavourant coating where the flavourant is selected from menthol, peppermint, spearmint, liquorice, chocolate, fruit flavour, vanilla, spice, coffee, eucalyptus, and tobacco flavour.
  • the aerosol-forming substrate 2 comprises 65 wt% tobacco which is provided in the form of gathered shreds produced from a sheet of slurry-type reconstituted tobacco.
  • the tobacco is dosed with 20wt% of a humectant such as propylene glycol (PG) or vegetable glycerine (VG) and has a moisture content of between 7-9 wt%.
  • a humectant such as propylene glycol (PG) or vegetable glycerine (VG) and has a moisture content of between 7-9 wt%.
  • the aerosol-forming substrate further comprises cellulose pulp filler and guar gum binder.
  • the aerosol-forming substrate 2 is formed in a substantially cylindrical shape such that the consumable resembles a conventional cigarette. It has diameter of around 7mm and an axial length of around 12 mm.
  • the aerosol-forming substrate 2 is circumscribed by a paper wrapping layer 3.
  • the consumable 1 comprises an upstream filter element 4 and a downstream (terminal) filter element 5.
  • Both filter elements 4, 5 are formed of cellulose acetate tow and wrapped with a respective paper plug layer (not shown).
  • Both filter elements have a substantially cylindrical shape.
  • the diameter of the upstream filter 4 matches the diameter of the aerosol-forming substrate 2.
  • the diameter of the terminal filter element 5 is slightly larger and matches the combined diameter of the aerosol-forming substrate 2 and the wrapping layer 3.
  • the upstream filter element is slightly shorter in axial length than the terminal filter element at an axial length of 10mm compared to 12mm for the terminal filer element.
  • the cardboard tube spacer is longer than each of the two filter portions having an axial length of around 14mm.
  • Each filter element 4, 5 is a hollow bore filter element with a hollow, longitudinally extending bore.
  • the diameter of the bore in the upstream filter is slightly larger than the diameter of the bore in the terminal filter having a diameter of 3mm compared to 2 mm for the terminal filter element.
  • the cardboard tube spacer 6 and the upstream filter portion 4 are circumscribed by the wrapping layer 3.
  • the terminal filter element 5 is joined to the upstream elements forming the consumable by a circumscribing paper tipping layer 7.
  • the tipping layer 7 encircles the terminal filter portion and has an axial length of around 20mm such that it overlays a portion of the cardboard tube spacer 6.
  • FIG 2 shows a second embodiment of a consumable 1' which is the same as that shown in Figure 1 except that the terminal filter element 5 comprises a crushable capsule 8 (crush-ball) containing a liquid menthol or cherry or vanilla flavourant.
  • the capsule 8 is spherical and has a diameter of 3.5mm. It is positioned within the axial centre of the terminal filter portion 5.
  • Figure 3 shows a third embodiment of a consumable 1" which is the same as the first embodiment except that the wrapping layer 3 does not completely circumscribe the cardboard tube spacer 6 such that there is an annular gap 9 between the tipping layer 7 and the cardboard tube spacer 6 downstream of the end of the wrapping layer 3.
  • Figure 4 shows the first embodiment inserted into an HNB device 10 comprising a rod-shaped heating element (not shown).
  • the heating element projects into a cavity 11 within the main body 12 of the device.
  • the consumable 1 is inserted into the cavity 11 of the main body 12 of the device 10 such that the heating rod penetrates the aerosol-forming substrate 2.
  • Heating of the reconstituted tobacco in the aerosol-forming substrate 2 is effected by powering the heating element (e.g. with a rechargeable battery (not shown)).
  • the heating element e.g. with a rechargeable battery (not shown)
  • moisture and volatile compound e.g. nicotine
  • the aerosol former are released as a vapour and entrained within an airflow generated by inhalation by the user at the terminal filter portion 5.
  • the vapour cools within the upstream filer element 4 and the cardboard tube spacer 6, it condenses to form an aerosol containing the volatile compounds for inhalation by the user.
  • Figure 5 shows an illustrative diagram of an embodiment of the manufacturing process. Tobacco is ground to reduce the particle size to less than 120 microns 101
  • the ground tobacco 101 is then combined with a guar gum binder, cellulose pulp filler, propylene glycol and vegetable glycerine to form a mixture 102.
  • the mixture 102 is combined with an aqueous medium to form a slurry 103.
  • Mixing of the mixture 102 with the aqueous medium is carried out in a high shear mixer.
  • the tobacco content of the slurry is approximately 50 to 90 % of the total solids content of the slurry, where the total solids content is 15 to 30 weight % of the slurry.
  • the resultant slurry is cast onto a dryer belt to form a sheet 104.
  • the sheet is dried using a steam drying apparatus to remove excess moisture content from the sheet until the sheet is self-supporting 105.
  • the sheet is wound onto a bobbin 106 for storage.
  • the moisture content of the cast sheet at winding is about 7 to 15 percent of dry weight of the tobacco sheet.
  • a flavourant is then applied to the sheet using spray-coating to provide a flavourant coating on the sheet 107.
  • the sheet can subsequently be made into a whole or part of an HNB consumable suitable for an HNB device 108. This is achieved by cutting the sheet to an appropriate size.
  • the sheet may be used as whole or part of an HNB consumable for an HNB device 109. In particular, it is a slurry-type reconstituted tobacco product for use in an HNB device.
  • flavourant is applied to the dry sheet 105 before winding onto a bobbin 106 for storage.

Landscapes

  • Chemical & Material Sciences (AREA)
  • Chemical Kinetics & Catalysis (AREA)
  • General Chemical & Material Sciences (AREA)
  • Health & Medical Sciences (AREA)
  • General Health & Medical Sciences (AREA)
  • Toxicology (AREA)
  • Manufacture Of Tobacco Products (AREA)
  • Cigarettes, Filters, And Manufacturing Of Filters (AREA)

Description

    Field of the Disclosure
  • The present disclosure relates to a consumable for use in a smoking substitute system and particularly, although not exclusively, to a heat-not-burn (HNB) consumable.
  • Background
  • During the manufacturing process for tobacco products, such as cigarettes, tobacco waste is produced. The tobacco waste is typically in the form of tobacco dust, leaf or stem. The tobacco waste can be collected and processed to provide what is known as reconstituted tobacco, or "recon".
  • Two distinct methods are most commonly employed to manufacture reconstituted tobacco, these are i) a paper-making process (i.e. to provide "Paper Recon"), and ii) slurry casting (to provide "Slurry-type Recon"). The products that result from these distinct processes have notably different properties and characteristics. For example, slurry-type recon generally has improved aroma/flavour and nicotine content in comparison to paper recon, yet slurry-type recon is typically more easily broken and often has poorer uniformity of quality.
  • In slurry casting the tobacco waste is milled to a fine powder and mixed with an aqueous solvent, typically water, and combined with a binding agent. The resultant slurry may undergo further milling to reduce the particle size of the tobacco material further. The slurry is then cast on a surface and dried to form a sheet. The dried sheet may be shredded to be used within various tobacco products, for example as a cigarette filler.
  • In the paper-making process the tobacco waste is mechanically beaten in the presence of an aqueous solvent to digest and process the tobacco into workable fibres. Subsequently, water soluble compounds present in the tobacco are extracted into the aqueous solvent. The aqueous extract and insoluble fibrous portion are separated. The separated fibrous portion, which may also be described as a "pulp", undergoes further processing to form a base sheet via a typical paper-making procedure. The aqueous extract is concentrated and then reapplied to the base sheet. The base sheet is then dried to form a paper.
  • The smoking of tobacco is generally considered to expose a smoker to potentially harmful substances. It is generally thought that a significant amount of the potentially harmful substances are generated through the heat caused by the burning and/or combustion of the tobacco and the constituents of the burnt tobacco in the tobacco smoke itself.
  • Conventional combustible smoking articles, such as cigarettes, typically comprise a cylindrical rod of tobacco comprising shreds of tobacco which is surrounded by a wrapper, and usually also a cylindrical filter axially aligned in an abutting relationship with the wrapped tobacco rod. The filter typically comprises a filtration material which is circumscribed by a plug wrap. The wrapped tobacco rod and the filter are joined together by a wrapped band of tipping paper that circumscribes the entire length of the filter and an adjacent portion of the wrapped tobacco rod. A conventional cigarette of this type is used by lighting the end opposite to the filter, and burning the tobacco rod. The smoker receives mainstream smoke into their mouth by drawing on the mouth end or filter end of the cigarette. Combustion of organic material such as tobacco is known to produce tar and other potentially harmful by-products. There have been proposed various smoking substitute systems (or "substitute smoking systems") in order to avoid the smoking of tobacco.
  • Such smoking substitute systems can form part of nicotine replacement therapies aimed at people who wish to stop smoking and overcome a dependence on nicotine.
  • Smoking substitute systems include electronic systems that permit a user to simulate the act of smoking by producing an aerosol (also referred to as a "vapour") that is drawn into the lungs through the mouth (inhaled) and then exhaled. The inhaled aerosol typically bears nicotine and/or flavourings without, or with fewer of, the odour and health risks associated with traditional smoking.
  • In general, smoking substitute systems are intended to provide a substitute for the rituals of smoking, whilst providing the user with a similar experience and satisfaction to those experienced with traditional smoking and with combustible tobacco products. Some smoking substitute systems use smoking substitute articles that are designed to resemble a traditional cigarette and are cylindrical in form with a mouthpiece at one end.
  • The popularity and use of smoking substitute systems has grown rapidly in the past few years. Although originally marketed as an aid to assist habitual smokers wishing to quit tobacco smoking, consumers are increasingly viewing smoking substitute systems as desirable lifestyle accessories.
  • There are a number of different categories of smoking substitute systems, each utilising a different smoking substitute approach.
  • One approach for a smoking substitute system is the so-called "heat not burn" ("HNB") approach in which tobacco (rather than an "e-liquid") is heated or warmed to release vapour. The tobacco may be leaf tobacco or reconstituted tobacco. The vapour may contain nicotine and/or flavourings. In the HNB approach the intention is that the tobacco is heated but not burned, i.e. the tobacco does not undergo combustion.
  • A typical HNB smoking substitute system may include a device and a consumable. The consumable may include the tobacco material. The device and consumable may be configured to be physically coupled together. In use, heat may be imparted to the tobacco material by a heating element of the device, wherein airflow through the tobacco material causes moisture in the tobacco material to be released as vapour. A vapour may also be formed from a carrier in the tobacco material (this carrier may for example include propylene glycol and/or vegetable glycerine) and additionally volatile compounds released from the tobacco. The released vapour may be entrained in the airflow drawn through the tobacco.
  • As the vapour passes through the consumable (entrained in the airflow) from an inlet to a mouthpiece (outlet), the vapour cools and condenses to form an aerosol for inhalation by the user. The aerosol will normally contain the volatile compounds.
  • In HNB smoking substitute systems, heating as opposed to burning the tobacco material is believed to cause fewer, or smaller quantities, of the more harmful compounds ordinarily produced during smoking. Consequently, the HNB approach may reduce the odour and/or health risks that can arise through the burning, combustion and pyrolytic degradation of tobacco. WO2015/075650 A1 pertains to a smoking article comprising an aerosol-forming substrate and a flavour precursor.
  • There is a need for improved design of HNB consumables to enhance the user experience and improve the function of the HNB smoking substitute system.
  • The present disclosure has been devised in the light of the above considerations.
  • Summary of the Disclosure
  • At its most general, the present disclosure relates to an aerosol-forming article e.g. an HNB consumable having an increased concentration of volatile compound.
  • According to a first aspect, the present invention provides an aerosol-forming article (e.g. an HNB consumable) comprising an aerosol-forming substrate dosed with a coating of flavourant, wherein the aerosol-forming substrate is a slurry-type reconstituted plant material, and wherein the flavourant content is up to 20 % by weight of the aerosol-forming substrate.
  • Reference to "slurry-type" corresponds to a reconstituted plant material made by slurry-casting as opposed to a paper-making process.
  • By using an aerosol-forming substrate (which will itself include a volatile compound) dosed with a coating of flavourant, the number/concentration of volatile compound(s) can be increased to provide the user with a vapour/aerosol containing a higher concentration of the volatile compound(s). This may provide the user with an enhanced recreational and/or medicinal effect when inhaled. In particular, the user experiences an enhanced flavour. Also, a coating provides an even application of flavourant to the aerosol-forming substrate, therefore providing the user with a more consistent experience.
  • Optional features will now be set out. These are applicable singly or in any combination with any aspect.
  • The aerosol-forming article is preferably a heat-not-burn (HNB) consumable.
  • The aerosol-forming substrate is capable of being heated to release at least one volatile compound that can form an aerosol. The aerosol-forming substrate may be located at the upstream end of the article/consumable.
  • As used herein, the terms "upstream" and "downstream" are intended to refer to the flow direction of the vapour/aerosol i.e. with the downstream end of the article/consumable being the mouth end or outlet where the aerosol exits the article/consumable for inhalation by the user. The upstream end of the article/consumable is the opposing end to the downstream end.
  • In order to generate an aerosol, the aerosol-forming substrate comprises at least one volatile compound that is intended to be vaporised/aerosolised and that may provide the user with a recreational and/or medicinal effect when inhaled. Suitable chemical and/or physiologically active volatile compounds include the group consisting of: nicotine, cocaine, caffeine, opiates and opoids, cathine and cathinone, kavalactones, mysticin, beta-carboline alkaloids, salvinorin A together with any combinations, functional equivalents to, and/or synthetic alternatives of the foregoing.
  • In some embodiments, the flavourant is a non-tobacco flavourant. Advantageously, as the invention is primarily intended to provide a substitute smoking consumable, the use of non-tobacco flavours provides the user with unconventional flavours, which are not typically experienced. Therefore, a varied and enhanced user experience is provided.
  • The aerosol-forming substrate comprises plant material. The plant material may comprise least one plant material selected from the list including Amaranthus dubius, Arctostaphylos uva-ursi (Bearberry), Argemone mexicana, Amica, Artemisia vulgaris, Yellow Tees, Galea zacatechichi, Canavalia maritima (Baybean), Cecropia mexicana (Guamura), Cestrum noctumum, Cynoglossum virginianum (wild comfrey), Cytisus scoparius, Damiana, Entada rheedii, Eschscholzia califomica (California Poppy), Fittonia albivenis, Hippobroma longiflora, Humulus japonica (Japanese Hops), Humulus lupulus (Hops), Lactuca virosa (Lettuce Opium), Laggera alata, Leonotis leonurus, Leonurus cardiaca (Motherwort), Leonurus sibiricus (Honeyweed), Lobelia cardinalis, Lobelia inflata (Indian-tobacco), Lobelia siphilitica, Nepeta cataria (Catnip), Nicotiana species (Tobacco), Nymphaea alba (White Lily), Nymphaea caerulea (Blue Lily), Opium poppy, Passiflora incamata (Passionflower), Pedicularis densiflora (Indian Warrior), Pedicularis groenlandica (Elephant's Head), Salvia divinorum, Salvia dorrii (Tobacco Sage), Salvia species (Sage), Scutellaria galericulata, Scutellaria lateriflora, Scutellaria nana, Scutellaria species (Skullcap), Sida acuta (Wireweed), Sida rhombifolia, Silene capensis, Syzygium aromaticum (Clove), Tagetes lucida (Mexican Tarragon), Tarchonanthus camphoratus, Tumera diffusa (Damiana), Verbascum (Mullein), Zamia latifolia (Maconha Brava) together with any combinations, functional equivalents to, and/or synthetic alternatives of the foregoing.
  • Preferably, the plant material is tobacco. Any type of tobacco may be used. This includes, but is not limited to, flue-cured tobacco, burley tobacco, Maryland Tobacco, dark-air cured tobacco, oriental tobacco, dark-fired tobacco, perique tobacco and rustica tobacco. This also includes blends of the above mentioned tobaccos.
  • Any suitable parts of the tobacco plant may be used. This includes leaves, stems, roots, bark, seeds and flowers.
  • The tobacco may comprise one or more of leaf tobacco, stem tobacco, tobacco powder, tobacco dust, tobacco derivatives, expanded tobacco, homogenised tobacco, shredded tobacco, extruded tobacco, cut rag tobacco and/or reconstituted tobacco (e.g. slurry recon or paper recon).
  • The aerosol-forming substrate may comprise a gathered sheet of homogenised slurry recon tobacco or gathered shreds/strips formed from such a sheet.
  • In some embodiments, the sheet used to form the aerosol-forming substrate has a grammage greater than or equal to 100 g/m2, e.g. greater than or equal to 110 g/m2 such as greater than or equal to 120 g/m2.
  • The sheet may have a grammage of less than or equal to 300 g/m2 e.g. less than or equal to 250 g/m2 or less than or equal to 200 g/m2.
  • The sheet may have a grammage of between 120 and 190 g/m2.
  • In some embodiments, the sheet used to form the aerosol-forming substrate has a density of less than 1100 mg/cm3, preferably less than 1000 mg/cm3, and more preferably less than 900 mg/cm3.
  • In some embodiments, the sheet used to form the aerosol-forming substrate has a mass/surface area of less than 0.09 mg/mm2, preferably less than 0.085 mg/mm2, preferably less than 0.08 mg/mm2 and more preferably less than 0.075 mg/mm2.
  • In some embodiments the aerosol-forming substrate may have a thickness less than about 1 mm, preferably less than about 0.5 mm, preferably between about 0.1 and 0.3 mm, such as about 0.2 mm.
  • The aerosol-forming substrate may comprise at least 50 wt% plant material, e.g. at least 60 wt% plant material e.g. around 65 wt% plant material. The aerosol-forming substrate may comprise 80 wt% or less plant material e.g. 75 or 70 wt% or less plant material.
  • The aerosol-forming substrate may comprise one or more additives selected from humectants, fillers, aqueous/non-aqueous solvents and binders.
  • Humectants are provided as vapour generators - the resulting vapour helps carry the volatile active compounds and increases visible vapour. Suitable humectants include polyhydric alcohols (e.g. propylene glycol (PG), triethylene glycol, 1,2-butane diol and vegetable glycerine (VG)) and their esters (e.g. glycerol mono-, di- or tri-acetate). They may be present in the aerosol-forming substrate in an amount between 1 and 50 wt%.
  • The humectant content of the aerosol-forming substrate may have a lower limit of at least 1 % by weight of the plant material, such as at least 2 wt %, such as at least 5 wt %, such as at least 10 wt %, such as at least 20 wt %, such as at least 30 wt %, or such as least 40 wt %.
  • The humectant content of the aerosol-forming substrate may have an upper limit of at most 50 % by weight of the plant material, such as at most 40 wt %, such as at most 30 wt %, or such as at most 20 wt %.
  • Preferably, the humectant content is 1 to 40 wt % of the aerosol-forming substrate, such as 1 to 20 wt %
  • Suitable binders are known in the art and may act to bind together the components forming the aerosol-forming substrate. Binders may comprise starches and/or cellulosic binders such as methyl cellulose, ethyl cellulose, hydroxypropyl cellulose, hydroxyethyl cellulose and carboxymethyl cellulose, gums such as xanthan, guar, arabic and/or locust bean gum, organic acids and their salts such as alginic acid/ sodium alginate, agar and pectins.
  • Preferably the binder content is 5 to 20 wt% of the aerosol-forming substrate e.g. around 6 to 8 wt%. The upper limit of binder is preferably up to 15 wt. %, such as up to 10 wt. %. Preferably the binder content is above 5 wt%.
  • Suitable fillers are known in the art and may act to strengthen the aerosol-forming substrate. Fillers may comprise fibrous (non-tobacco) fillers such as cellulose fibres, lignocellulose fibres (e.g. wood fibres), jute fibres and combinations thereof.
  • Preferably, the filler content is 5 to 10 wt% of the aerosol-forming substrate e.g. around 6 to 9 wt%.
  • The aerosol-forming substrate may comprise an aqueous and/or non-aqueous solvent. In some embodiments, the aerosol forming substrate has a water content of between 5 and 10 wt% e.g. between 6-9 wt% such as between 7-9 wt%.
  • The flavourant may be provided in solid or liquid form. It may include menthol, peppermint, spearmint, liquorice, chocolate, fruit flavour (including e.g. citrus, cherry etc.), vanilla, spice (e.g. ginger, cinnamon) coffee, eucalyptus, and tobacco flavour. The flavourant may be evenly dispersed as a coating on the aerosol-forming substrate or may be provided in isolated locations and/or varying concentrations as a coating on the aerosol-forming substrate. Preferably the flavourant is evenly dispersed as a coating on the aerosol-forming substrate.
  • The flavourant is provided as a coating on the aerosol-forming article. Such a coating is provided on the aerosol-forming article by surface application of a liquid comprising the flavourant. For example application by brushing, spraying, or immersion into the liquid. It is preferred that the coating is uniform across the surface of the aerosol-forming article.
  • In preferred embodiments the coating is provided to the sheet of slurry-type reconstituted plant material from which the aerosol-forming article is formed. The coating may be provided to both major surfaces of the sheet, or, alternatively, just to one major surface of the sheet. In preferred embodiments the coating is provided on the sheet of slurry-type reconstituted plant material before the sheet is divided, e.g. by shredding or slitting, to form the aerosol-forming article. In some embodiments the coating is substantially continuous across the surface of the sheet or the aerosol-forming article when applied.
  • While the coating is applied to the surface of the aerosol-forming article, in some cases the flavourant penetrates into a surface layer of the aerosol-forming article. Preferably the flavourant is present in a surface layer of the aerosol-forming article only, i.e. not throughout the aerosol-forming article. Advantageously, these flavourants are found to be desired by the user, and also provide the user with a satisfactory flavour "hit". In addition a varied and enhanced flavour experience is achieved.
  • The dosed flavourant content of the aerosol-forming substrate may have a lower limit of at least 0.1 wt % of the weight of the aerosol-forming substrate, such as at least 0.5 wt%, such as at least 1 wt%, such as at least 2 wt %, such as at least 5 wt %, such as at least 10 wt %, such as at least 15 wt %.
  • The dosed flavourant content of the aerosol-forming substrate has an upper limit of at most 20 wt % of the aerosol-forming substrate, such as at most 15 wt %, such as at most 10 wt %.
  • Preferably, the flavourant concentration is 0.1 to 15 wt %. Even more preferred is a flavourant concentration of 0.1 to 5 wt % of the aerosol-forming substrate
  • Preferably, the flavourant is menthol.
  • It is further preferred that the flavourant is synthetically derived menthol. Advantageously, this source of menthol is not naturally derived. Typically, naturally derived menthol is provided in the form of mint or mint extracts. Consequently, the use of synthetic menthol excludes the presence of undesired components present in mint or mint extracts.
  • The aerosol-forming substrate may be formed in a substantially cylindrical shape such that the article/consumable resembles a conventional cigarette. It may have a diameter of between 5 and 10mm e.g. between 6 and 9mm or 6 and 8mm e.g. around 7 mm. It may have an axial length of between 10 and 15mm e.g. between 11 and 14mm such as around 12 or 13mm.
  • The aerosol-forming substrate may be circumscribed by a wrapping layer e.g. a paper wrapping layer. The wrapping layer may overlie an inner foil layer or may comprise a paper/foil laminate (with the foil innermost).
  • The article/consumable may comprise at least one filter element. There may be a terminal filter element at the downstream/mouth end of the article/consumable. There may be a plurality of filter elements (e.g. the terminal filter element and an upstream filter element) which may be adjacent one another or which may be spaced apart. Any upstream filter element may be at least partly (e.g. entirely) circumscribed by the (paper) wrapping layer.
  • The or at least one of the filter element(s) (e.g. the terminal filter element and/or upstream filter element) may be comprised of cellulose acetate tow. The or at least one of the filter element(s) (e.g. the terminal filter element and/or upstream filter element may be comprised of activated charcoal. The or at least one of the filter element(s) (e.g. the terminal filter element and/or upstream filter element may be comprised of paper. The or at least one of the filter element(s) (e.g. the terminal filter element and/or upstream filter element may be comprised of plant material e.g. extruded plant material. The or each filter element may be circumscribed with a plug wrap e.g. a paper plug wrap.
  • The or each filter element may have a substantially cylindrical shape with a diameter substantially matching the diameter of the aerosol-forming substrate (with or without its associated wrapping layer). The axial length of the or each filter element may be less than 20mm, e.g. between 8 and 15mm, for example between 9 and 13 mm e.g. between 10 and 12mm.
  • The or at least one of the filter element(s) may be a solid filter element. The or at least one of the filter element(s) may be a hollow bore filter element. The or each hollow bore filter may have a bore diameter of between 1 and 5 mm, e.g. between 2 and 4 mm or between 2 and 3 mm.
  • The terminal filter element (at the downstream end of the article/consumable) may be joined to the upstream elements forming the article/consumable by a circumscribing tipping layer e.g. a tipping paper layer. The tipping paper may have an axial length longer than the axial length of the terminal filter element such that the tipping paper completely circumscribes the terminal filter element plus the wrapping layer surrounding any adjacent upstream element.
  • The or at least one of the filter elements e.g. the terminal filter element may include a capsule e.g. a crushable capsule (crush-ball) containing a liquid flavourant e.g. any of the flavourants listed above. The capsule can be crushed by the user during smoking of the article/consumable to release the flavourant. The capsule may be located at the axial centre of the terminal filter element.
  • In some embodiments, the article/consumable may comprise an aerosol-cooling element which is adapted to cool the aerosol generated from the aerosol-forming substrate (by heat exchange) before being inhaled by the user.
  • The aerosol-cooling element will be downstream from the aerosol-forming substrate. For example, it may be between the aerosol-forming substrate and the upstream filter element and/or between the two filter elements. The aerosol cooling element may be at least partly (e.g. completely) circumscribed by the (paper) wrapping layer.
  • The aerosol-cooling element may be formed of a plastics material selected from the group consisting of polylactic acid (PLA), polyvinyl chloride (PVC), polyethylene (PE) and polyethylene terephthalate (PET). The aerosol-cooling element may be formed of a crimped/gathered sheet of material to form a structure having a high surface area with a plurality of longitudinal channels to maximise heat exchange and cooling of the aerosol.
  • The article/consumable may comprise a spacer element that defines a space or cavity between the aerosol-forming substrate and the downstream end of the article/consumable. It may be provided between the aerosol-forming substrate and the upstream filter element and/or between the two filter elements. The spacer element may comprise a tubular element e.g. a cardboard tube. The spacer element may be at least partly (e.g. entirely) circumscribed by the (paper) wrapping layer.
  • The spacer element may have an external diameter of between 5 and 10mm e.g. between 6 and 9mm or 6 and 8mm e.g. around 7 mm. It may have an axial length of between 10 and 15mm e.g. between 12 and 14 mm or 13 and 14mm e.g. around 14mm.
  • In a second aspect, there is provided a smoking substitute system comprising an aerosol-forming article according to the first aspect and a device comprising a heating element.
  • The device may be a HNB device i.e. a device adapted to heat but not combust the aerosol-forming substrate.
  • The device may comprise a main body for housing the heating element. The heating element may comprise an elongated e.g. rod, tube-shaped or blade heating element. The heating element may project into or surround a cavity within the main body for receiving the article/consumable described above.
  • The device (e.g. the main body) may further comprise an electrical power supply e.g. a (rechargeable) battery for powering the heating element. It may further comprise a control unit to control the supply of power to the heating element.
  • In a third aspect, there comprises a method of using a smoking substitute system according to the second aspect, the method comprising:
    • inserting the article/consumable into the device; and
    • heating the article/consumable using the heating element.
  • In some embodiments, the method comprises inserting the article/consumable into a cavity within the main body and penetrating the article/consumable with the heating element upon insertion of the article/consumable. For example, the heating element may penetrate the aerosol-forming substrate in the article/consumable.
  • In a fourth aspect, there is provided a method for manufacturing an aerosol-forming substrate, wherein the aerosol forming substrate is a slurry-type reconstituted plant material comprising: combining a ground plant material with an aqueous medium to form a slurry; casting the slurry on a surface to form a sheet; and applying a flavourant to the sheet to provide a coating.
  • Advantageously, by applying flavourant to the sheet as a coating a more even application of flavourant on the aerosol-forming substrate is achieved as compared to provision of flavourant as or in a separate component or constituent of the aerosol-forming substrate or of the article/consumable. This provides the user with enhanced flavour and a more consistent flavour experience. Also, the application of flavourant to the sheet may be carried out in a secondary environment away from the main line of manufacturing. Therefore, contamination on the main line apparatus with undesired flavourant is avoided. Therefore in some embodiments it is preferred to apply the flavourant after winding of the sheet onto a bobbin, for example by unwinding the sheet from the bobbin before application of the flavourant. Advantageously, this application of flavourant may take place after transport of the sheet (e.g. wound onto a bobbin) to a location remote from the casting location.
  • It is preferable that the plant material is ground to a particle size of less than 120 microns. It is undesirable to have a particle size greater than 150 microns as this is associated with the formation of defects and inhomogeneous areas in the sheet formed by casting the slurry. Particularly, preferred is a particle size of 30 to 120 microns.
  • A binder may also be included within the slurry. The amount of binder used is chosen to provide an amount of 5 to 20 weight % of binder in the sheet ultimately produced from the slurry, such as 5 to 15 weight %, such as 5 to 10 weight %. The ground tobacco may be combined with the binder before combination with the aqueous medium. Or alternatively, the binder may be combined with the aqueous medium prior to combining the aqueous medium with the ground tobacco.
  • The slurry may also contain fillers, humectants, preservatives, and/or flavours. These may be combined with the ground plant material before combination with the aqueous medium, or alternatively can be added to the slurry separately
  • It is preferred that the total solids content of the slurry is between 15 % and 30 % of the total slurry weight. Of this preferred range about 50 to 90 % of the total solids content of the slurry should be the plant material. The plant material content of the slurry is not critical, but it is preferred that the minimum amount of aqueous medium is used to avoid leaching of plant material solubles into the aqueous medium.
  • The slurry is formed by mixing the various components of the slurry. This may be achieved using a high energy mixer or a high shear mixer to homogenize the slurry. During mixing the slurry may optionally be heated.
  • Additionally, the slurry may be vibrated to aid homogenization of the slurry. This may be achieved by vibrating a tank or silo in which the slurry is contained.
  • After mixing the slurry is cast onto a moving support surface, such as a dryer belt to form a sheet. Casting of the sheet may be achieved by a roll coater system or a laminator, or any other method suitable in the art. It is preferred that the moisture content of the sheet at casting is between 60 and 80 percent of the total weight of the cast slurry. The cast sheet is then dried by exposure to elevated temperatures and/or reduced pressures to remove excess moisture content from the sheet. Suitable drying methods include a steam dryer and/or heated air dryers. Alternatively, the sheet may be dried under ambient conditions,
  • Preferably, the flavourant is applied by spray-coating.
  • Advantageously, by applying the flavourant to the cast sheet by spray-coating a more uniform application of flavourant is achieved to provide a more homogeneous product. Accordingly, a more consistent user experience results.
  • Preferably, the flavourant is a non-tobacco flavour. In particular, the flavourant is selected from menthol, peppermint, spearmint, liquorice, chocolate, fruit flavour, vanilla, spice, coffee, eucalyptus, and tobacco flavour, In particular, the flavourant is synthetically derived menthol. The advantages of which flavourants is described above.
  • Preferably, the plant material is tobacco.
  • As the invention is primarily intended to provide a smoking consumable, the use of tobacco provides a slurry-type reconstituted plant material having the inherent properties of tobacco, for examples, the texture, aroma and nicotine content.
  • Preferably, the method of the fourth aspect comprises a step of drying the sheet, wherein the flavourant is applied to the sheet after drying.
  • Advantageously, as many flavourants exhibit high volatility, the application of the flavouring after drying the sheet avoids loss of flavourant by evaporation when drying at elevated temperatures or at reduced pressures.
  • Preferably, the method of the fourth aspect comprised a step of winding the sheet onto a bobbin, wherein the flavourant is applied to the sheet after winding.
  • Advantageously, this facilitates efficient storage of the sheet and allows the flavourant to be applied in a secondary environment that is separate from the main line of manufacturing. Thereby avoiding contamination of the main line apparatus with undesired flavour.
  • Alternatively, the flavourant may be applied to the sheet before winding of the sheet onto the bobbin.
  • Preferably, the method of the fourth aspect includes a step of making an HNB consumable from the sheet.
  • According to a fifth aspect there is provided an aerosol-forming substrate for an HNB device produced by the process according to the fourth aspect.
  • Preferably, the aerosol-forming substrate according to the fifth aspect has a dosed flavourant content of 0.1 to 20 % by weight of the aerosol-forming substrate.
  • The skilled person will appreciate that except where mutually exclusive, a feature or parameter described in relation to any one of the above aspects may be applied to any other aspect. Furthermore, except where mutually exclusive, any feature or parameter described herein may be applied to any aspect and/or combined with any other feature or parameter described herein.
  • Summary of the Figures
  • So that the invention may be understood, and so that further aspects and features thereof may be appreciated, embodiments illustrating the principles of the invention will now be discussed in further detail with reference to the accompanying figures, in which:
    • Figure 1 shows a first embodiment of an HNB consumable;
    • Figure 2 shows a second embodiment of an HNB consumable
    • Figure 3 shows a third embodiment of an HNB consumable; and
    • Figure 4 shows the first embodiment within a device forming an HNB system.
    • Figure 5 shows an illustrative diagram of an embodiment of the manufacturing process.
    Detailed Description of the Figures
  • As shown in Figure 1, the HNB consumable 1 comprises an aerosol-forming substrate 2 at the upstream end of the consumable 1.
  • The aerosol-forming substrate 2 comprises reconstituted tobacco which includes nicotine as a volatile compound and which is dosed with up to 20 wt% of a flavourant coating, where the flavourant is selected from menthol, peppermint, spearmint, liquorice, chocolate, fruit flavour, vanilla, spice, coffee, eucalyptus, and tobacco flavour.
  • The aerosol-forming substrate 2 comprises 65 wt% tobacco which is provided in the form of gathered shreds produced from a sheet of slurry-type reconstituted tobacco. The tobacco is dosed with 20wt% of a humectant such as propylene glycol (PG) or vegetable glycerine (VG) and has a moisture content of between 7-9 wt%. The aerosol-forming substrate further comprises cellulose pulp filler and guar gum binder.
  • The aerosol-forming substrate 2 is formed in a substantially cylindrical shape such that the consumable resembles a conventional cigarette. It has diameter of around 7mm and an axial length of around 12 mm.
  • The aerosol-forming substrate 2 is circumscribed by a paper wrapping layer 3.
  • The consumable 1 comprises an upstream filter element 4 and a downstream (terminal) filter element 5. The two filter elements 4, 5 and spaced by a cardboard tube spacer 6. Both filter elements 4, 5 are formed of cellulose acetate tow and wrapped with a respective paper plug layer (not shown).
  • Both filter elements have a substantially cylindrical shape. The diameter of the upstream filter 4 matches the diameter of the aerosol-forming substrate 2. The diameter of the terminal filter element 5 is slightly larger and matches the combined diameter of the aerosol-forming substrate 2 and the wrapping layer 3. The upstream filter element is slightly shorter in axial length than the terminal filter element at an axial length of 10mm compared to 12mm for the terminal filer element.
  • The cardboard tube spacer is longer than each of the two filter portions having an axial length of around 14mm.
  • Each filter element 4, 5 is a hollow bore filter element with a hollow, longitudinally extending bore. The diameter of the bore in the upstream filter is slightly larger than the diameter of the bore in the terminal filter having a diameter of 3mm compared to 2 mm for the terminal filter element.
  • The cardboard tube spacer 6 and the upstream filter portion 4 are circumscribed by the wrapping layer 3.
  • The terminal filter element 5 is joined to the upstream elements forming the consumable by a circumscribing paper tipping layer 7. The tipping layer 7 encircles the terminal filter portion and has an axial length of around 20mm such that it overlays a portion of the cardboard tube spacer 6.
  • Figure 2 shows a second embodiment of a consumable 1' which is the same as that shown in Figure 1 except that the terminal filter element 5 comprises a crushable capsule 8 (crush-ball) containing a liquid menthol or cherry or vanilla flavourant. The capsule 8 is spherical and has a diameter of 3.5mm. It is positioned within the axial centre of the terminal filter portion 5.
  • Figure 3 shows a third embodiment of a consumable 1" which is the same as the first embodiment except that the wrapping layer 3 does not completely circumscribe the cardboard tube spacer 6 such that there is an annular gap 9 between the tipping layer 7 and the cardboard tube spacer 6 downstream of the end of the wrapping layer 3.
  • Figure 4 shows the first embodiment inserted into an HNB device 10 comprising a rod-shaped heating element (not shown). The heating element projects into a cavity 11 within the main body 12 of the device.
  • The consumable 1 is inserted into the cavity 11 of the main body 12 of the device 10 such that the heating rod penetrates the aerosol-forming substrate 2. Heating of the reconstituted tobacco in the aerosol-forming substrate 2 is effected by powering the heating element (e.g. with a rechargeable battery (not shown)). As the tobacco is heated, moisture and volatile compound (e.g. nicotine) within the tobacco and the aerosol former are released as a vapour and entrained within an airflow generated by inhalation by the user at the terminal filter portion 5.
  • As the vapour cools within the upstream filer element 4 and the cardboard tube spacer 6, it condenses to form an aerosol containing the volatile compounds for inhalation by the user.
  • Figure 5 shows an illustrative diagram of an embodiment of the manufacturing process. Tobacco is ground to reduce the particle size to less than 120 microns 101
  • The ground tobacco 101 is then combined with a guar gum binder, cellulose pulp filler, propylene glycol and vegetable glycerine to form a mixture 102.
  • The mixture 102 is combined with an aqueous medium to form a slurry 103. Mixing of the mixture 102 with the aqueous medium is carried out in a high shear mixer. The tobacco content of the slurry is approximately 50 to 90 % of the total solids content of the slurry, where the total solids content is 15 to 30 weight % of the slurry.
  • The resultant slurry is cast onto a dryer belt to form a sheet 104. The sheet is dried using a steam drying apparatus to remove excess moisture content from the sheet until the sheet is self-supporting 105.
  • The sheet is wound onto a bobbin 106 for storage. The moisture content of the cast sheet at winding is about 7 to 15 percent of dry weight of the tobacco sheet. A flavourant is then applied to the sheet using spray-coating to provide a flavourant coating on the sheet 107.
  • The sheet can subsequently be made into a whole or part of an HNB consumable suitable for an HNB device 108. This is achieved by cutting the sheet to an appropriate size. The sheet may be used as whole or part of an HNB consumable for an HNB device 109. In particular, it is a slurry-type reconstituted tobacco product for use in an HNB device.
  • In an alternative embodiment the flavourant is applied to the dry sheet 105 before winding onto a bobbin 106 for storage.
  • For the avoidance of any doubt, any theoretical explanations provided herein are provided for the purposes of improving the understanding of a reader. The inventors do not wish to be bound by any of these theoretical explanations.
  • Any section headings used herein are for organizational purposes only and are not to be construed as limiting the subject matter described.
  • Throughout this specification, including the claims which follow, unless the context requires otherwise, the words "have", "comprise", and "include", and variations such as "having", "comprises", "comprising", and "including" will be understood to imply the inclusion of a stated integer or step or group of integers or steps but not the exclusion of any other integer or step or group of integers or steps.
  • It must be noted that, as used in the specification and the appended claims, the singular forms "a," "an," and "the" include plural referents unless the context clearly dictates otherwise. Ranges may be expressed herein as from "about" one particular value, and/or to "about" another particular value. When such a range is expressed, another embodiment includes from the one particular value and/or to the other particular value. Similarly, when values are expressed as approximations, by the use of the antecedent "about," it will be understood that the particular value forms another embodiment. The term "about" in relation to a numerical value is optional and means, for example, +/- 10%.
  • The words "preferred" and "preferably" are used herein refer to embodiments of the invention that may provide certain benefits under some circumstances. It is to be appreciated, however, that other embodiments may also be preferred under the same or different circumstances. The recitation of one or more preferred embodiments therefore does not mean or imply that other embodiments are not useful, and is not intended to exclude other embodiments from the scope of the disclosure, or from the scope of the claims.

Claims (15)

  1. An aerosol-forming article comprising an aerosol-forming substrate dosed with a coating of flavourant, wherein the aerosol-forming substrate is a slurry-type reconstituted plant material, and wherein the flavourant content is up to 20 % by weight of the aerosol-forming substrate.
  2. An article according to claim 1, wherein the flavourant is selected from menthol, peppermint, spearmint, liquorice, chocolate, fruit flavour, vanilla, spice, coffee, eucalyptus, and tobacco flavour.
  3. An article according to any one of the preceding claims wherein the flavourant is a non-tobacco flavourant
  4. An article according to any one of the preceding claims wherein the plant material is tobacco.
  5. An article according to any one of the preceding claims wherein the article is a heat-not-burn (HNB) consumable.
  6. A system comprising a smoking substitute article according to any one of the preceding claims and a device comprising a heating element.
  7. A system according to claim 6 wherein the device comprises a main body for housing the heating element and the heating element comprises an elongated heating element.
  8. A method of using the system according to claim 6 or 7, the method comprising:
    inserting the article into the device; and
    heating the article using the heating element.
  9. A method according to claim 8 comprising inserting the article into a cavity within a main body of the device and penetrating the article with the heating element upon insertion of the article.
  10. A method for manufacturing an aerosol-forming substrate, wherein the aerosol forming substrate is a slurry-type reconstituted plant material, the method comprising:
    combining a ground plant material with an aqueous medium to form a slurry;
    casting the slurry on a surface to form a sheet; and
    applying a flavourant to the sheet to provide a coating.
  11. A method according to claim 10, wherein the flavourant is applied by spray-coating.
  12. A method according to either claim 10 or claim 11, wherein the flavourant is selected from menthol, peppermint, spearmint, liquorice, chocolate, fruit flavour, vanilla, spice, coffee, eucalyptus, and tobacco flavour.
  13. A method according to any one of claims 10 to 12, wherein the flavourant is a non-tobacco flavour.
  14. A method according to any of claims 10 to 13, wherein the flavourant is synthetically derived menthol.
  15. A method according to any of claims 10 to 14, comprising a step of drying the sheet, wherein the flavourant is applied to the sheet after drying.
EP22208373.5A 2018-10-29 2019-10-25 Smoking substitute consumable Active EP4190176B1 (en)

Applications Claiming Priority (3)

Application Number Priority Date Filing Date Title
GBGB1817557.0A GB201817557D0 (en) 2018-10-29 2018-10-29 Smoking substitute consumable
PCT/EP2019/079180 WO2020089077A1 (en) 2018-10-29 2019-10-25 Smoking substitute consumable
EP19794987.8A EP3873250B1 (en) 2018-10-29 2019-10-25 Smoking substitute consumable

Related Parent Applications (1)

Application Number Title Priority Date Filing Date
EP19794987.8A Division EP3873250B1 (en) 2018-10-29 2019-10-25 Smoking substitute consumable

Publications (2)

Publication Number Publication Date
EP4190176A1 EP4190176A1 (en) 2023-06-07
EP4190176B1 true EP4190176B1 (en) 2025-05-21

Family

ID=64560456

Family Applications (2)

Application Number Title Priority Date Filing Date
EP19794987.8A Revoked EP3873250B1 (en) 2018-10-29 2019-10-25 Smoking substitute consumable
EP22208373.5A Active EP4190176B1 (en) 2018-10-29 2019-10-25 Smoking substitute consumable

Family Applications Before (1)

Application Number Title Priority Date Filing Date
EP19794987.8A Revoked EP3873250B1 (en) 2018-10-29 2019-10-25 Smoking substitute consumable

Country Status (7)

Country Link
EP (2) EP3873250B1 (en)
JP (2) JP7630427B2 (en)
GB (1) GB201817557D0 (en)
HU (2) HUE061266T2 (en)
PL (2) PL4190176T3 (en)
TW (1) TWI825207B (en)
WO (1) WO2020089077A1 (en)

Families Citing this family (4)

* Cited by examiner, † Cited by third party
Publication number Priority date Publication date Assignee Title
GB202110557D0 (en) * 2021-07-22 2021-09-08 Nicoventures Trading Ltd Aerosol generation
KR102768568B1 (en) * 2021-12-31 2025-02-18 주식회사 케이티앤지 Cooling filter and smoking article comprising same
WO2026002847A1 (en) * 2024-06-25 2026-01-02 Philip Morris Products S.A. Aerosol-generating substrate
WO2026002850A1 (en) * 2024-06-25 2026-01-02 Philip Morris Products S.A. Aerosol-generating substrate

Citations (18)

* Cited by examiner, † Cited by third party
Publication number Priority date Publication date Assignee Title
US3136319A (en) 1962-12-13 1964-06-09 Brown & Williamson Tobacco Corp Smoking tobacco product having menthyl keto ester additive
US4449541A (en) 1981-06-02 1984-05-22 R. J. Reynolds Tobacco Company Tobacco treatment process
US5396911A (en) 1990-08-15 1995-03-14 R. J. Reynolds Tobacco Company Substrate material for smoking articles
WO1996032854A2 (en) 1995-04-20 1996-10-24 Philip Morris Products Inc. Cigarette and heater for use in an electrical smoking system
WO2005096850A1 (en) 2004-03-26 2005-10-20 Brown & Williamson Holdings, Inc. Process for making a bandcast tobacco sheet and smoking article therefrom
WO2007091181A2 (en) 2006-02-09 2007-08-16 Philip Morris Products S.A. Gamma cyclodextrin flavoring-release additives
WO2008108889A1 (en) 2006-10-18 2008-09-12 R.J.Reynolds Tobacco Company Tobacco-containing smoking article
US20080228013A1 (en) 2007-03-16 2008-09-18 Takasago International Corporation Process for purifying menthol
WO2012164009A2 (en) 2011-05-31 2012-12-06 Philip Morris Products S.A. Rods for use in smoking articles
CN103263072A (en) 2013-05-23 2013-08-28 红云红河烟草(集团)有限责任公司 Preparation method of medium-temperature tobacco material for non-combustion cigarette
WO2014102070A1 (en) 2012-12-28 2014-07-03 Philip Morris Products S.A. Flavor precursors
WO2015075650A1 (en) 2013-11-22 2015-05-28 Philip Morris Products S.A. Smoking composition comprising flavour precursor
WO2015082648A1 (en) 2013-12-05 2015-06-11 Philip Morris Products S.A. Heated aerosol generating article with thermal spreading wrap
WO2015092749A1 (en) 2013-12-20 2015-06-25 Philip Morris Products, S.A. Wax encapsulated zeolite flavour delivery system for tobacco
WO2016023965A1 (en) 2014-08-13 2016-02-18 Philip Morris Products S.A. Method of making a rod for use as an aerosol-forming substrate having controlled porosity distribution
EP3075266A1 (en) 2015-04-02 2016-10-05 PT. Gudang Garam Tbk. Method of producing an aerosol-generating article containing reconstituted tobacco material, an aerosol-generating article containing reconstituted tobacco material and use of an aerosol-generating article containing reconstituted tobacco material
US20170042216A1 (en) 2012-08-28 2017-02-16 Philip Morris Products S.A. Tobacco composition comprising tobacco flower
EP3263276A1 (en) 2016-04-20 2018-01-03 China Tobacco Guizhou Industrial Co., Ltd. Method for manufacturing heat-not-burn tobacco substrate containing activated carbon

Family Cites Families (18)

* Cited by examiner, † Cited by third party
Publication number Priority date Publication date Assignee Title
JPS468439B1 (en) * 1967-11-24 1971-03-03
US4082098A (en) * 1976-10-28 1978-04-04 Olin Corporation Flavored cigarette
US4306577A (en) * 1979-04-12 1981-12-22 Philip Morris Incorporated Reaction flavors for smoking products
US4687008A (en) * 1986-04-17 1987-08-18 Philip Morris Incorporated Filter cigarette
JP3681410B2 (en) 1992-04-09 2005-08-10 フィリップ・モーリス・プロダクツ・インコーポレイテッド Reconstituted tobacco sheet and method for producing and using the same
CR4906A (en) * 1993-09-10 1994-09-09 Philip Morris Prod ELECTRIC SMOKING SYSTEM TO DISTRIBUTE FLAVORS AND METHOD FOR ITS MANUFACTURE
JP2010088381A (en) 2008-10-10 2010-04-22 Japan Tobacco Inc Method for producing sheetform tobacco
SG2014011621A (en) * 2011-09-09 2014-06-27 Philip Morris Products Sa Smoking article comprising a flavour delivery material
EP2625974A1 (en) * 2012-02-13 2013-08-14 Philip Morris Products S.A. Aerosol-generating article having a flavour-generating component
AR089602A1 (en) 2011-12-30 2014-09-03 Philip Morris Products Sa AEROSOL GENERATOR ARTICLE FOR USE WITH AN AEROSOL GENERATOR DEVICE
EP2854570B1 (en) 2012-05-31 2016-07-27 Philip Morris Products S.A. Flavoured rods for use in aerosol-generating articles
MY170535A (en) 2013-03-21 2019-08-15 Japan Tobacco Inc Method for preparing black liquor and method for preparing flavor component-containing liquid
US9877511B2 (en) * 2013-07-24 2018-01-30 Altria Client Services Llc Electronic smoking article
KR102365893B1 (en) 2013-12-05 2022-02-22 필립모리스 프로덕츠 에스.에이. Heated aerosol generating article with thermal spreading endpiece
TWI666992B (en) * 2014-05-21 2019-08-01 瑞士商菲利浦莫里斯製品股份有限公司 Aerosol-generating system and cartridge for usein the aerosol-generating system
GB201508671D0 (en) 2015-05-20 2015-07-01 British American Tobacco Co Aerosol generating material and devices including the same
CN108882752B (en) 2016-04-11 2022-03-11 菲利普莫里斯生产公司 Aerosol-generating products
WO2018230002A1 (en) * 2017-06-16 2018-12-20 株式会社 東亜産業 Method for manufacturing filler for electronic cigarette cartridge in which non-tobacco plant is used, and filler for electronic cigarette cartridge in which non-tobacco plant is used

Patent Citations (19)

* Cited by examiner, † Cited by third party
Publication number Priority date Publication date Assignee Title
US3136319A (en) 1962-12-13 1964-06-09 Brown & Williamson Tobacco Corp Smoking tobacco product having menthyl keto ester additive
US4449541A (en) 1981-06-02 1984-05-22 R. J. Reynolds Tobacco Company Tobacco treatment process
US5396911A (en) 1990-08-15 1995-03-14 R. J. Reynolds Tobacco Company Substrate material for smoking articles
WO1996032854A2 (en) 1995-04-20 1996-10-24 Philip Morris Products Inc. Cigarette and heater for use in an electrical smoking system
WO2005096850A1 (en) 2004-03-26 2005-10-20 Brown & Williamson Holdings, Inc. Process for making a bandcast tobacco sheet and smoking article therefrom
WO2007091181A2 (en) 2006-02-09 2007-08-16 Philip Morris Products S.A. Gamma cyclodextrin flavoring-release additives
WO2008108889A1 (en) 2006-10-18 2008-09-12 R.J.Reynolds Tobacco Company Tobacco-containing smoking article
US20080228013A1 (en) 2007-03-16 2008-09-18 Takasago International Corporation Process for purifying menthol
WO2012164009A2 (en) 2011-05-31 2012-12-06 Philip Morris Products S.A. Rods for use in smoking articles
US20180199616A1 (en) 2011-05-31 2018-07-19 Philip Morris Products S.A. Rods for use in smoking articles
US20170042216A1 (en) 2012-08-28 2017-02-16 Philip Morris Products S.A. Tobacco composition comprising tobacco flower
WO2014102070A1 (en) 2012-12-28 2014-07-03 Philip Morris Products S.A. Flavor precursors
CN103263072A (en) 2013-05-23 2013-08-28 红云红河烟草(集团)有限责任公司 Preparation method of medium-temperature tobacco material for non-combustion cigarette
WO2015075650A1 (en) 2013-11-22 2015-05-28 Philip Morris Products S.A. Smoking composition comprising flavour precursor
WO2015082648A1 (en) 2013-12-05 2015-06-11 Philip Morris Products S.A. Heated aerosol generating article with thermal spreading wrap
WO2015092749A1 (en) 2013-12-20 2015-06-25 Philip Morris Products, S.A. Wax encapsulated zeolite flavour delivery system for tobacco
WO2016023965A1 (en) 2014-08-13 2016-02-18 Philip Morris Products S.A. Method of making a rod for use as an aerosol-forming substrate having controlled porosity distribution
EP3075266A1 (en) 2015-04-02 2016-10-05 PT. Gudang Garam Tbk. Method of producing an aerosol-generating article containing reconstituted tobacco material, an aerosol-generating article containing reconstituted tobacco material and use of an aerosol-generating article containing reconstituted tobacco material
EP3263276A1 (en) 2016-04-20 2018-01-03 China Tobacco Guizhou Industrial Co., Ltd. Method for manufacturing heat-not-burn tobacco substrate containing activated carbon

Non-Patent Citations (5)

* Cited by examiner, † Cited by third party
Title
"TOBACCO Production, Chemistry and Technology ", 1 January 1999, BLACKWELL SCIENCE, ISBN: 0-632-04791-7, article ALAN NORMAN: "Cigarette Manufacture: Chapter 11B: Cigarette Design and Materials", pages: 352 - 387, XP093014738
ANONYMOUS: "Addictiveness and Attractiveness of Tobacco Additives", EUROPEAN COMMISSION - DIRECTORATE-GENERAL FOR HEALTH & CONSUMERS, 6 July 2010 (2010-07-06), XP093107852, Retrieved from the Internet <URL:https://ec.europa.eu/health/scientific_committees/emerging/docs/scenihr_o_029.pdf>
ANONYMOUS: "Menthol cigarette", WIKIPEDIA (ACCESSED VIA THE WAYBACK MACHINE), 5 September 2017 (2017-09-05), XP093370745, Retrieved from the Internet <URL: https://web.archive.org/web/20170905004407/https://en.wikipedia.org/wiki/Menthol_cigarette>
JOHN C. LEFFINGWELL, HARVEY J. YOUNG, EDWARD BERNASEK: "TOBACCO FLAVORING FOR SMOKING PRODUCTS", 1 June 1972, R. J. REYNOLDS TOBACCO COMPANY, article JOHN C. LEFFINGWELL, HARVEY J. YOUNG, EDWARD BERNASEK, pages: 1 - 74, XP009565417
TAI MARIKO: "Philip Morris rolls out iQOS smokeless smokes", NIKKEI, 31 August 2015 (2015-08-31), XP093107858, Retrieved from the Internet <URL:https://asia.nikkei.com/Business/Philip-Morris-rolls-out-iQOS-smokeless-smokes>

Also Published As

Publication number Publication date
JP2022506178A (en) 2022-01-17
EP3873250A1 (en) 2021-09-08
WO2020089077A1 (en) 2020-05-07
HUE061266T2 (en) 2023-06-28
EP4190176A1 (en) 2023-06-07
EP3873250B1 (en) 2022-11-23
TWI825207B (en) 2023-12-11
PL3873250T3 (en) 2023-06-12
JP2025066843A (en) 2025-04-23
GB201817557D0 (en) 2018-12-12
HUE072445T2 (en) 2025-11-28
JP7630427B2 (en) 2025-02-17
PL4190176T3 (en) 2025-10-06
TW202103587A (en) 2021-02-01

Similar Documents

Publication Publication Date Title
EP3873252B1 (en) Smoking substitute consumable
WO2020089095A1 (en) Smoking substitute consumable
EP3873253B1 (en) Smoking substitute consumable
EP4190176B1 (en) Smoking substitute consumable
WO2020089119A1 (en) Smoking substitute consumable
EP3873261A1 (en) Smoking substitute consumable
EP3873275A1 (en) Smoking substitute consumable
TWI832918B (en) Smoking substitute consumable, method for manufacturing heat-not-burn (hnb) consumable, hnb consumable, system comprising hnb consumable, and method of using the system
WO2020089055A1 (en) Smoking substitute consumable
EP3873269B1 (en) Smoking substitute consumable
EP3873264B1 (en) Smoking substitute consumable
EP3873238A1 (en) Smoking substitute consumable
WO2020089086A1 (en) Smoking substitute consumable
EP3873260B1 (en) Smoking substitute consumable
EP3873258B1 (en) Smoking substitute consumable
EP4442129A2 (en) Smoking substitute consumable
EP3873271A1 (en) Smoking substitute consumable
WO2020089100A1 (en) Smoking substitute consumable
WO2020089070A1 (en) Smoking substitute consumable
WO2020089050A1 (en) Smoking substitute consumable

Legal Events

Date Code Title Description
PUAI Public reference made under article 153(3) epc to a published international application that has entered the european phase

Free format text: ORIGINAL CODE: 0009012

STAA Information on the status of an ep patent application or granted ep patent

Free format text: STATUS: THE APPLICATION HAS BEEN PUBLISHED

AC Divisional application: reference to earlier application

Ref document number: 3873250

Country of ref document: EP

Kind code of ref document: P

AK Designated contracting states

Kind code of ref document: A1

Designated state(s): AL AT BE BG CH CY CZ DE DK EE ES FI FR GB GR HR HU IE IS IT LI LT LU LV MC MK MT NL NO PL PT RO RS SE SI SK SM TR

RAP1 Party data changed (applicant data changed or rights of an application transferred)

Owner name: IMPERIAL TOBACCO LIMITED

STAA Information on the status of an ep patent application or granted ep patent

Free format text: STATUS: REQUEST FOR EXAMINATION WAS MADE

17P Request for examination filed

Effective date: 20231204

RBV Designated contracting states (corrected)

Designated state(s): AL AT BE BG CH CY CZ DE DK EE ES FI FR GB GR HR HU IE IS IT LI LT LU LV MC MK MT NL NO PL PT RO RS SE SI SK SM TR

GRAP Despatch of communication of intention to grant a patent

Free format text: ORIGINAL CODE: EPIDOSNIGR1

STAA Information on the status of an ep patent application or granted ep patent

Free format text: STATUS: GRANT OF PATENT IS INTENDED

INTG Intention to grant announced

Effective date: 20240522

GRAJ Information related to disapproval of communication of intention to grant by the applicant or resumption of examination proceedings by the epo deleted

Free format text: ORIGINAL CODE: EPIDOSDIGR1

STAA Information on the status of an ep patent application or granted ep patent

Free format text: STATUS: REQUEST FOR EXAMINATION WAS MADE

INTC Intention to grant announced (deleted)
GRAP Despatch of communication of intention to grant a patent

Free format text: ORIGINAL CODE: EPIDOSNIGR1

STAA Information on the status of an ep patent application or granted ep patent

Free format text: STATUS: GRANT OF PATENT IS INTENDED

INTG Intention to grant announced

Effective date: 20250130

GRAS Grant fee paid

Free format text: ORIGINAL CODE: EPIDOSNIGR3

GRAA (expected) grant

Free format text: ORIGINAL CODE: 0009210

STAA Information on the status of an ep patent application or granted ep patent

Free format text: STATUS: THE PATENT HAS BEEN GRANTED

P01 Opt-out of the competence of the unified patent court (upc) registered

Free format text: CASE NUMBER: APP_12941/2025

Effective date: 20250314

AC Divisional application: reference to earlier application

Ref document number: 3873250

Country of ref document: EP

Kind code of ref document: P

AK Designated contracting states

Kind code of ref document: B1

Designated state(s): AL AT BE BG CH CY CZ DE DK EE ES FI FR GB GR HR HU IE IS IT LI LT LU LV MC MK MT NL NO PL PT RO RS SE SI SK SM TR

REG Reference to a national code

Ref country code: GB

Ref legal event code: FG4D

REG Reference to a national code

Ref country code: CH

Ref legal event code: EP

REG Reference to a national code

Ref country code: DE

Ref legal event code: R096

Ref document number: 602019070457

Country of ref document: DE

REG Reference to a national code

Ref country code: IE

Ref legal event code: FG4D

REG Reference to a national code

Ref country code: NL

Ref legal event code: FP

PG25 Lapsed in a contracting state [announced via postgrant information from national office to epo]

Ref country code: FI

Free format text: LAPSE BECAUSE OF FAILURE TO SUBMIT A TRANSLATION OF THE DESCRIPTION OR TO PAY THE FEE WITHIN THE PRESCRIBED TIME-LIMIT

Effective date: 20250521

Ref country code: PT

Free format text: LAPSE BECAUSE OF FAILURE TO SUBMIT A TRANSLATION OF THE DESCRIPTION OR TO PAY THE FEE WITHIN THE PRESCRIBED TIME-LIMIT

Effective date: 20250922

Ref country code: ES

Free format text: LAPSE BECAUSE OF FAILURE TO SUBMIT A TRANSLATION OF THE DESCRIPTION OR TO PAY THE FEE WITHIN THE PRESCRIBED TIME-LIMIT

Effective date: 20250521

REG Reference to a national code

Ref country code: LT

Ref legal event code: MG9D

PG25 Lapsed in a contracting state [announced via postgrant information from national office to epo]

Ref country code: NO

Free format text: LAPSE BECAUSE OF FAILURE TO SUBMIT A TRANSLATION OF THE DESCRIPTION OR TO PAY THE FEE WITHIN THE PRESCRIBED TIME-LIMIT

Effective date: 20250821

PGFP Annual fee paid to national office [announced via postgrant information from national office to epo]

Ref country code: GR

Payment date: 20250925

Year of fee payment: 7

PGFP Annual fee paid to national office [announced via postgrant information from national office to epo]

Ref country code: IT

Payment date: 20250923

Year of fee payment: 7

Ref country code: NL

Payment date: 20250923

Year of fee payment: 7

Ref country code: PL

Payment date: 20250929

Year of fee payment: 7

PG25 Lapsed in a contracting state [announced via postgrant information from national office to epo]

Ref country code: BG

Free format text: LAPSE BECAUSE OF FAILURE TO SUBMIT A TRANSLATION OF THE DESCRIPTION OR TO PAY THE FEE WITHIN THE PRESCRIBED TIME-LIMIT

Effective date: 20250521

PGFP Annual fee paid to national office [announced via postgrant information from national office to epo]

Ref country code: GB

Payment date: 20250923

Year of fee payment: 7

PG25 Lapsed in a contracting state [announced via postgrant information from national office to epo]

Ref country code: HR

Free format text: LAPSE BECAUSE OF FAILURE TO SUBMIT A TRANSLATION OF THE DESCRIPTION OR TO PAY THE FEE WITHIN THE PRESCRIBED TIME-LIMIT

Effective date: 20250521

PG25 Lapsed in a contracting state [announced via postgrant information from national office to epo]

Ref country code: RS

Free format text: LAPSE BECAUSE OF FAILURE TO SUBMIT A TRANSLATION OF THE DESCRIPTION OR TO PAY THE FEE WITHIN THE PRESCRIBED TIME-LIMIT

Effective date: 20250821

PGFP Annual fee paid to national office [announced via postgrant information from national office to epo]

Ref country code: CZ

Payment date: 20250929

Year of fee payment: 7

PG25 Lapsed in a contracting state [announced via postgrant information from national office to epo]

Ref country code: IS

Free format text: LAPSE BECAUSE OF FAILURE TO SUBMIT A TRANSLATION OF THE DESCRIPTION OR TO PAY THE FEE WITHIN THE PRESCRIBED TIME-LIMIT

Effective date: 20250921

PG25 Lapsed in a contracting state [announced via postgrant information from national office to epo]

Ref country code: LV

Free format text: LAPSE BECAUSE OF FAILURE TO SUBMIT A TRANSLATION OF THE DESCRIPTION OR TO PAY THE FEE WITHIN THE PRESCRIBED TIME-LIMIT

Effective date: 20250521

REG Reference to a national code

Ref country code: GR

Ref legal event code: EP

Ref document number: 20250401626

Country of ref document: GR

Effective date: 20251009

REG Reference to a national code

Ref country code: CH

Ref legal event code: U11

Free format text: ST27 STATUS EVENT CODE: U-0-0-U10-U11 (AS PROVIDED BY THE NATIONAL OFFICE)

Effective date: 20251101

PGFP Annual fee paid to national office [announced via postgrant information from national office to epo]

Ref country code: HU

Payment date: 20251029

Year of fee payment: 7

REG Reference to a national code

Ref country code: HU

Ref legal event code: AG4A

Ref document number: E072445

Country of ref document: HU

REG Reference to a national code

Ref country code: AT

Ref legal event code: MK05

Ref document number: 1795989

Country of ref document: AT

Kind code of ref document: T

Effective date: 20250521

PGFP Annual fee paid to national office [announced via postgrant information from national office to epo]

Ref country code: DE

Payment date: 20250923

Year of fee payment: 7

PG25 Lapsed in a contracting state [announced via postgrant information from national office to epo]

Ref country code: AT

Free format text: LAPSE BECAUSE OF FAILURE TO SUBMIT A TRANSLATION OF THE DESCRIPTION OR TO PAY THE FEE WITHIN THE PRESCRIBED TIME-LIMIT

Effective date: 20250521

Ref country code: SM

Free format text: LAPSE BECAUSE OF FAILURE TO SUBMIT A TRANSLATION OF THE DESCRIPTION OR TO PAY THE FEE WITHIN THE PRESCRIBED TIME-LIMIT

Effective date: 20250521

Ref country code: DK

Free format text: LAPSE BECAUSE OF FAILURE TO SUBMIT A TRANSLATION OF THE DESCRIPTION OR TO PAY THE FEE WITHIN THE PRESCRIBED TIME-LIMIT

Effective date: 20250521

PGFP Annual fee paid to national office [announced via postgrant information from national office to epo]

Ref country code: CH

Payment date: 20251101

Year of fee payment: 7

PG25 Lapsed in a contracting state [announced via postgrant information from national office to epo]

Ref country code: EE

Free format text: LAPSE BECAUSE OF FAILURE TO SUBMIT A TRANSLATION OF THE DESCRIPTION OR TO PAY THE FEE WITHIN THE PRESCRIBED TIME-LIMIT

Effective date: 20250521

PG25 Lapsed in a contracting state [announced via postgrant information from national office to epo]

Ref country code: SK

Free format text: LAPSE BECAUSE OF FAILURE TO SUBMIT A TRANSLATION OF THE DESCRIPTION OR TO PAY THE FEE WITHIN THE PRESCRIBED TIME-LIMIT

Effective date: 20250521

PGFP Annual fee paid to national office [announced via postgrant information from national office to epo]

Ref country code: RO

Payment date: 20251021

Year of fee payment: 7

REG Reference to a national code

Ref country code: DE

Ref legal event code: R026

Ref document number: 602019070457

Country of ref document: DE

PLBI Opposition filed

Free format text: ORIGINAL CODE: 0009260

REG Reference to a national code

Ref country code: CH

Ref legal event code: L11

Free format text: ST27 STATUS EVENT CODE: U-0-0-L10-L11 (AS PROVIDED BY THE NATIONAL OFFICE)

Effective date: 20260225

PLAB Opposition data, opponent's data or that of the opponent's representative modified

Free format text: ORIGINAL CODE: 0009299OPPO

PLBI Opposition filed

Free format text: ORIGINAL CODE: 0009260

REG Reference to a national code

Ref country code: CH

Ref legal event code: L10

Free format text: ST27 STATUS EVENT CODE: U-0-0-L10-L00 (AS PROVIDED BY THE NATIONAL OFFICE)

Effective date: 20260304

PLAX Notice of opposition and request to file observation + time limit sent

Free format text: ORIGINAL CODE: EPIDOSNOBS2