EP3705392B1 - Apparatus for enhancing propulsion efficiency - Google Patents

Apparatus for enhancing propulsion efficiency Download PDF

Info

Publication number
EP3705392B1
EP3705392B1 EP18872708.5A EP18872708A EP3705392B1 EP 3705392 B1 EP3705392 B1 EP 3705392B1 EP 18872708 A EP18872708 A EP 18872708A EP 3705392 B1 EP3705392 B1 EP 3705392B1
Authority
EP
European Patent Office
Prior art keywords
swirl
duct
propeller
stator
stators
Prior art date
Legal status (The legal status is an assumption and is not a legal conclusion. Google has not performed a legal analysis and makes no representation as to the accuracy of the status listed.)
Active
Application number
EP18872708.5A
Other languages
German (de)
French (fr)
Other versions
EP3705392A4 (en
EP3705392A1 (en
EP3705392C0 (en
Inventor
Hee Dong Lee
Hee Taek Kim
Hyoung Gil PARK
Dae Young An
Sang Hwan Lee
Tae Goo Lee
Ho Jae Lee
Dong Uk Kim
Kyung Hyun Cho
Current Assignee (The listed assignees may be inaccurate. Google has not performed a legal analysis and makes no representation or warranty as to the accuracy of the list.)
Samsung Heavy Industries Co Ltd
Original Assignee
Samsung Heavy Industries Co Ltd
Priority date (The priority date is an assumption and is not a legal conclusion. Google has not performed a legal analysis and makes no representation as to the accuracy of the date listed.)
Filing date
Publication date
Priority claimed from KR1020170143359A external-priority patent/KR102027271B1/en
Priority claimed from KR1020170143239A external-priority patent/KR102027269B1/en
Priority claimed from KR1020170143315A external-priority patent/KR102027270B1/en
Priority claimed from KR1020170143470A external-priority patent/KR20190048483A/en
Application filed by Samsung Heavy Industries Co Ltd filed Critical Samsung Heavy Industries Co Ltd
Publication of EP3705392A1 publication Critical patent/EP3705392A1/en
Publication of EP3705392A4 publication Critical patent/EP3705392A4/en
Application granted granted Critical
Publication of EP3705392B1 publication Critical patent/EP3705392B1/en
Publication of EP3705392C0 publication Critical patent/EP3705392C0/en
Active legal-status Critical Current
Anticipated expiration legal-status Critical

Links

Images

Classifications

    • BPERFORMING OPERATIONS; TRANSPORTING
    • B63SHIPS OR OTHER WATERBORNE VESSELS; RELATED EQUIPMENT
    • B63HMARINE PROPULSION OR STEERING
    • B63H1/00Propulsive elements directly acting on water
    • B63H1/02Propulsive elements directly acting on water of rotary type
    • B63H1/12Propulsive elements directly acting on water of rotary type with rotation axis substantially in propulsive direction
    • B63H1/14Propellers
    • B63H1/28Other means for improving propeller efficiency
    • BPERFORMING OPERATIONS; TRANSPORTING
    • B63SHIPS OR OTHER WATERBORNE VESSELS; RELATED EQUIPMENT
    • B63HMARINE PROPULSION OR STEERING
    • B63H5/00Arrangements on vessels of propulsion elements directly acting on water
    • B63H5/07Arrangements on vessels of propulsion elements directly acting on water of propellers
    • B63H5/16Arrangements on vessels of propulsion elements directly acting on water of propellers characterised by being mounted in recesses; with stationary water-guiding elements; Means to prevent fouling of the propeller, e.g. guards, cages or screens

Definitions

  • the present invention relates to an apparatus for improving propulsion efficiency.
  • One example of energy saving technology is a duct disposed in front of a propeller.
  • the duct generates additional thrust as it passes through a flow moving backwards along a surface of a hull.
  • the duct may be a factor to increase the propulsion efficiency.
  • the duct acts as a resistance on the other side, it is also a factor to reduce the propulsion efficiency.
  • the present invention is intended to provide an apparatus for improving propulsion efficiency.
  • aspects of the present invention provide an apparatus for improving propulsion efficiency, including: a duct disposed in front of a propeller, having an arc shape, and generating thrust; and a plurality of pre-swirl stators for supporting the duct to a stern boss, the plurality of pre-swirl stators generating a swirl flow in a direction opposite to a rotation direction of the propeller.
  • the duct has a camber having a convex shape in a direction toward the stern boss, and the plurality of pre-swirl stators have a camber having a convex shape in the rotation direction of the propeller.
  • the apparatus for improving the propulsion efficiency may further include a first connector for interconnecting a first end of the duct in the rotation direction of the propeller and a first outer stator positioned last in the rotation direction of the propeller among the plurality of pre-swirl stators; and a second connector for interconnecting a second end of the duct in the direction opposite to the rotation direction of the propeller and a second outer pre-swirl stator positioned last in the direction opposite to the rotation direction of the propeller among the plurality of pre-swirl stators, in which the first connector may have a shape in which the first end of the duct and the first outer pre-swirl stator, which have different camber shapes, are continuously connected, and in which the second connector may have a shape in which the second end of the duct and the second outer pre-swirl stator, which have the same camber shape, are continuously connected.
  • the duct may have an arc shape extending from a lower left area to an upper right area with respect to a centerline of an arc formed by the duct, and the plurality of pre-swirl stators may be disposed to be spaced apart from each other from the lower left area to the upper right area with respect to the centerline of the arc formed by the duct.
  • the centerline of the arc formed by the duct may be positioned above a rotation axis of the propeller.
  • a distance between the centerline of the arc formed by the duct and the rotation axis of the propeller may be 0.1 times or more and 0.4 times or less of a radius of the propeller.
  • the duct may be positioned within a rotation area of the propeller.
  • aspects of the present invention also provide an apparatus for improving propulsion efficiency, including: a plurality of pre-swirl stators supported to a stern boss in front of a propeller and generating a swirl flow in a direction opposite to a rotation direction of the propeller; a duct supported to ends of the plurality of pre-swirl stators, having an arc shape, and generating thrust; and a connector for interconnecting the duct and the pre-swirl stators.
  • the duct has a camber having a convex shape in a direction toward the stern boss, and the plurality of pre-swirl stators have a camber having a convex shape in the rotation direction of the propeller.
  • the connector may further include a first connector for interconnecting a first end of the duct in the rotation direction of the propeller and a first outer stator positioned last in the rotation direction of the propeller among the plurality of pre-swirl stators; and a second connector for interconnecting a second end of the duct in the direction opposite to the rotation direction of the propeller and a second outer pre-swirl stator positioned last in the direction opposite to the rotation direction of the propeller among the plurality of pre-swirl stators, in which the first connector may have a shape in which the first end of the duct and the first outer pre-swirl stator, which have different camber shapes, are continuously connected, and in which the second connector may have a shape in which the second end of the duct and the second outer pre-swirl stator, which have the same camber shape, are continuously connected.
  • the first connector and the second connector may be separately manufactured from the duct, the first outer pre-swirl stator, and the second outer pre-swirl stator, respectively, and be coupled to.
  • aspects of the present invention also provide an apparatus for improving propulsion efficiency, including: a duct disposed in front of a propeller, having an arc shape, and generating thrust; and a plurality of pre-swirl stators for supporting the duct to a stern boss, the plurality of pre-swirl stators generating a swirl flow in a direction opposite to a rotation direction of the propeller, in which the duct may have a shape in which a length of cord changes from a first end in the rotation direction of the propeller to a second end in the direction opposite to the rotation direction of the propeller.
  • a first outer pre-swirl stator which is positioned last in the rotation direction of the propeller among the plurality of pre-swirl stators, may have a shape in which a length of cord decreases from a root to a tip
  • the duct may have a shape in which the length of the cord increases and decreases from the first end in the rotation direction of the propeller to the second end in the direction opposite to the rotation direction of the propeller
  • a second outer pre-swirl stator which is positioned last in the direction opposite to the rotation direction of the propeller among the plurality of pre-swirl stators, may have a shape in which a length of cord decreases from a root to a tip.
  • It may further include: a first connector interposed between a first end of the duct in the rotation direction of the propeller and a first outer stator positioned last in the rotation direction of the propeller among the plurality of pre-swirl stators; and a second connector interposed between a second end of the duct in the direction opposite to the rotation direction of the propeller and a second outer pre-swirl stator positioned last in the direction opposite to the rotation direction of the propeller among the plurality of pre-swirl stators, in which the first connector may have a shape in which a length of cord decreases and increases from a tip of the first outer stator to the first end of the duct, and in which the second connector may have a shape in which a length of cord decreases and increases from a tip of the second outer stator to the second end of the duct.
  • a curve formed by a leading edge of the duct may have a single curvature.
  • aspects of the present invention also provide an apparatus for improving propulsion efficiency, including: a duct disposed in front of a propeller, having an arc shape, and generating thrust; and a plurality of pre-swirl stators for supporting the duct to a stern boss, the plurality of pre-swirl stators generating a swirl flow in a direction opposite to a rotation direction of the propeller, in which the plurality of pre-swirl stators are positioned at different positions in a longitudinal direction of a hull.
  • the number of the inner pre-swirl stator may be one or more, in which a front end of a tip of the inner pre-swirl stator fixed to an inner side of the duct may be positioned behind a leading edge of the duct, and a rear end thereof may be positioned in front of a trailing edge of the duct.
  • the inner pre-swirl stator, the first outer pre-swirl stator, and the second outer pre-swirl stator may all have the same length of cord at a root and a tip, and a front-and-rear distance of the inner pre-swirl stator, the first outer pre-swirl stator, and the second outer pre-swirl stator may be 0.05 times or more and 0.15 times or less of a length of cord of a root of the inner pre-swirl stator.
  • a pre-swirl stator which generates a swirl flow in a direction opposite to a rotation direction of the propeller is used as a support for supporting a duct, thereby increasing a propeller thrust and improving the propulsion efficiency unlike the conventional method for supporting a duct using a general support structure.
  • FIG. 1 is a perspective view of an apparatus for improving propulsion efficiency, which is viewed from the left rear.
  • FIG. 2 is a perspective view of a propeller removed in FIG. 1 .
  • FIG. 3 is a view of the apparatus for improving the propulsion efficiency, which is viewed from the rear.
  • FIG. 4 is a view of the apparatus for improving the propulsion efficiency, which is viewed from the left side. It is noted that, in FIGS. 1 to 4 , +X means the front, and +Y means the left direction.
  • the apparatus 100 for improving the propulsion efficiency includes a duct 110 and pre-swirl stators 131, 132, 133, and 134.
  • the duct 110 is disposed in front of a propeller 30.
  • the propeller 30 is disposed behind a stern boss 20.
  • the propeller 30 rotates to generate thrust.
  • the propeller 30 rotates clockwise as seen in FIGS. 1 to 3 .
  • the propeller 30 rotates clockwise when viewed from the rear.
  • the duct 110 has an arc shape.
  • the duct 110 may have an arc shape extending from a lower left area to an upper right area with respect to a centerline A D of an arc formed by the duct 110 as shown in FIGS. 1 to 3 .
  • the duct may have an arc shape extending from an upper left area to an upper right area with respect to the centerline of the arc formed by the duct.
  • An arc angle of the arc formed by the duct 110 is preferably less than 180 degrees.
  • the duct 110 has a structure that partially surrounds the stern boss 20.
  • the centerline A D of the arc formed by the duct 110 may be positioned above a rotation axis A P of the propeller 30 as shown in FIG. 4 .
  • a distance H between the centerline A D of the arc formed by the duct 110 and the rotation axis A P of the propeller 30 may be equal to or more than 0.4 times of a radius of the propeller 30.
  • the range in which the pre-swirl stator may be installed may be significantly limited.
  • the distance H between the centerline A D of the arc formed by the duct 110 and the rotation axis A P of the propeller 30 may be 0.1 times or more and 0.4 times or less of the radius of the propeller 30.
  • the duct 110 is positioned within a rotational area of the propeller 30.
  • a flow that passes through the duct 110 may flow into the propeller 30 in an aligned form, and the propulsion efficiency of the propeller 30 may be improved.
  • a radius of the duct 110 is less than or equal to the radius of the propeller minus the distance between the centerline A D of the arc of the duct 110 and the rotation axis A P of the propeller 30.
  • the duct 110 generates thrust.
  • the duct 110 has an airfoil cross section and has a camber having a convex shape in a direction toward the stern boss 20. This will be described later.
  • a lifting force is generated in the cross section of the duct 110 while a flow moving backward along a hull 10 passes through the duct 110.
  • a component parallel to a longitudinal direction of the hull 10 (e.g., X-axis direction) of the lifting force acts as thrust for pushing the hull 10.
  • the duct 110 may be supported by a stern of the hull 10 by a separate support member (not shown).
  • the pre-swirl stators 131, 132, 133, and 134 support the duct 110 with respect to the stern boss 20.
  • a plurality of pre-swirl stators 131, 132, 133, and 134 are provided.
  • the number of the pre-swirl stators 131, 132, 133, and 134 may be four as shown in FIGS. 1 to 3 .
  • the number of the pre-swirl stators may be three or five, although not shown.
  • the plurality of pre-swirl stators 131, 132, 133, and 134 are disposed to be spaced apart in the rotation direction of the propeller 30 as shown in FIGS. 1 to 3 .
  • the plurality of pre-swirl stators 131, 132, 133, and 134 may be spaced apart in an arc direction about the centerline A D of the arc formed by the duct 110 as shown in FIGS. 2 and 3 .
  • the plurality of pre-swirl stators 131, 132, 133, and 134 may be disposed to be spaced apart from each other from the lower left area to the upper right area with respect to the centerline A D of the arc formed by the duct 110 as shown in FIGS. 2 and 3 .
  • the plurality of pre-swirl stators may be disposed to be spaced apart from each other from the upper left area to the upper right area with respect to the centerline of the arc formed by the duct.
  • the plurality of pre-swirl stators 131, 132, 133, and 134 generate a swirl flow in a direction opposite to the rotation direction of the propeller 30.
  • the swirl flow by the pre-swirl stators 131, 132, 133, and 134 flows into the propeller 30 to improve the propulsion efficiency by reducing the swirl flow in the rotation direction of the propeller 30.
  • an angle of attack of a flow flowing into the propeller 30 is increased to increase the thrust generated in the propeller 30, thereby improving the propulsion efficiency.
  • FIG. 5 is a perspective view of the apparatus for improving the propulsion efficiency, which is viewed from the left rear, in which a cross-sectional shape is added to a duct and a pre-swirl stator.
  • the propeller rotates clockwise when viewed from the rear.
  • the plurality of pre-swirl stators 131, 132, 133, and 134 have the camber having a convex shape in the rotation direction of the propeller (not shown) as shown in FIG. 5 .
  • the apparatus 100 for improving the propulsion efficiency as described above uses the pre-swirl stators 131, 132, 133, and 134 for generating the swirl flow in the direction opposite to the rotation direction of the propeller 30 as a support that supports the duct 110 for generating the thrust with respect to the stern boss 20.
  • a simple shaped support member is typically used to support the duct that is disposed in front of the propeller to generate the thrust.
  • This simple shaped support member acts as a resistance, which is a factor in increasing the resistance of a ship.
  • the apparatus 100 for improving the propulsion uses the pre-swirl stators 131, 132, 133, and 134 to generate the swirl flow in the direction opposite to the rotation direction of the propeller 30 as the support for supporting the duct 110. Therefore, unlike the convention, it increases the thrust of the propeller 30 and improves the propulsion efficiency.
  • the number of pre-swirl stators 132, 133, and 134 positioned at a port of the hull 10 among the plurality of pre-swirl stators 131, 132, 133, and 134 is larger than the number of the pre-swirl stators 131 positioned in a starboard.
  • the wake occurs in the same direction as the rotation direction of the propeller, and in the starboard, the wake occurs in the direction opposite to the rotation direction of the propeller.
  • the pre-swirl stators 132, 133, and 134 may change an inflow flowing into the pre-swirl stators 132, 133, and 134 at a small pitch angle (attachment angle) in the direction opposite to the rotation direction of the propeller 30.
  • the inflow flowing into the pre-swirl stator 131 may be changed in the direction opposite to the rotation direction of the propeller 30 only when the pre-swirl stator 131 is installed at a larger pitch angle (attachment angle) than that of the port.
  • the increase in resistance due to the attachment of the pre-swirl stators 132, 133, 134 is small in the port that may generate the swirl flow in the direction opposite to the rotation direction of the propeller 30 at the small pitch angle.
  • the increase in resistance due to the attachment of the pre-swirl stator 131 becomes excessive in the starboard that may generate the swirl flow in the direction opposite to the rotation direction of the propeller 30 only at the large pitch angle. Therefore, it is desirable to place more pre-swirl stators in the port than the starboard for high propulsion efficiency.
  • a first outer end of the duct 110 in the rotation direction of the propeller 30 and a first outer pre-swirl stator 131 positioned last in the rotation direction of the propeller 30 among the plurality of pre-swirl stators 131, 132, 133, and 134 are connected to each other.
  • the first outer pre-swirl stator 131 may be positioned in the right upper area with respect to the centerline A D of the arc formed by the duct 110.
  • a second outer end of the duct 110 in the rotation direction of the propeller 30 and a second outer pre-swirl stator 132 positioned last in the direction opposite to the rotation direction of the propeller 30 among the plurality of pre-swirl stators 131, 132, 133, and 134 are connected to each other.
  • the second outer pre-swirl stator 132 may be positioned in the lower left area with respect to the centerline A D of the arc formed by the duct 110.
  • the duct 110 and the first outer pre-swirl stator 131 are different in camber shape.
  • the duct 110 has a camber having a convex shape toward the stern boss 20 as shown in FIG. 5
  • the first outer pre-swirl stator 131 has a camber having a convex shape in the rotation direction of the propeller 30.
  • the duct 110 has the camber having the convex shape toward an inside of a space surrounded by the duct 110, the first outer pre-swirl stator 131, and the second outer pre-swirl stator 132.
  • the first outer pre-swirl stator 131 has the camber having the convex shape toward an outside of a space surrounded by the duct 110, the first outer pre-swirl stator 131, and the second outer pre-swirl stator 132.
  • the first end of the duct 110 and the first outer pre-swirl stator 131 which have different camber shapes, are continuously connected.
  • the first end of the duct 110 and the first outer pre-swirl stator 131 which have the cambers having the convex shape in opposite directions, have a shape that the camber gradually disappears toward its boundary.
  • the duct 110 and the second outer pre-swirl stator 132 are identical in camber shape.
  • Both the duct 110 and the second outer pre-swirl stator 132 have the camber having the convex shape toward the inside of the space surrounded by the duct 110, the first outer pre-swirl stator 131, and the second outer pre-swirl stator 132.
  • the second end of the duct 110 and the second outer pre-swirl stator 132 which have the same camber shape, are continuously connected.
  • the first outer pre-swirl stator 131, the second outer pre-swirl stator 132, and the inner pre-swirl stators 133 and 134 may have a swept-back stator shape.
  • the first outer pre-swirl stator 131, the second outer pre-swirl stator 132, and the inner pre-swirl stator 133 and 134 have a shape in which a leading edge is struck rearward from a root to a tip.
  • the plurality of pre-swirl stators 131, 132, 133, and 134 may each be disposed on the same plane where trailing edges are perpendicular to the centerline A D of the arc formed by the duct 110.
  • the plurality of pre-swirl stators 131, 132, 133, and 134 may be as close as possible to the propellers (not shown), and the swirl flow in the direction opposite to the rotation direction of the propeller 30 generated by the pre-swirl stators 131, 132, 133, and 134 may flow directly into the propeller 30, thereby improving the propulsion efficiency .
  • the first outer pre-swirl stator 131, the second outer pre-swirl stator 132, and the inner pre-swirl stator 133 and 134 may all have the same length of cord at the root. Further, the first outer pre-swirl stator 131, the second outer pre-swirl stator 132, and the inner pre-swirl stator 133 and 134 may all have the same length of cord at the tip. In addition, the first outer pre-swirl stator 131, the second outer pre-swirl stator 132, and the inner pre-swirl stator 133 and 134 may all have a length of cord at a root greater than a length of cord at a tip.
  • the tips of the inner pre-swirl stators 133 and 134 may be fixed to an inner surface of the duct 110.
  • front ends of the tips of the inner pre-swirl stators 133 and 134 are positioned behind the leading edge of the duct 110, and rear ends of the tips of the inner pre-swirl stators 133 and 134 are positioned in front of the trailing edge of the duct 110.
  • circular rods constituting leading edges of the inner pre-swirl stators 133 and 134 may not interfere with a circular rod constituting the leading edge of the duct 110, and circular rods constituting trailing edges of the inner pre-swirl stators 133 and 134 may not interfere with a circular rod constituting the trailing edge of the duct 110, thereby improving the workability. It is noted that coupling an end of one rod to a side of another rod is much less workable than coupling an end of one rod to a surface of a plate.
  • FIG. 7 is a view showing an exploded view of an outer surface of a combination of the duct, a first outer pre-swirl stator, and a second outer pre-swirl stator according to the apparatus.
  • a trailing edge 110b of the duct 110 may have a straight shape, and a leading edge 110a of the duct 110 may have a curved shape that is convex forward.
  • the duct 110 having the exploded view as shown in FIG. 7 has a structure in which the peak portion protrudes forward as shown in FIG. 4 .
  • the peak portion is closer to the hull 10 so that a short support member (not shown) may support the duct 110 with respect to the hull 10. Since the short support member is structurally larger in strength than a long support member, the duct 110 may be stably supported with respect to the hull 10.
  • a curve formed by the leading edge 110a of the duct 110 may have a single curvature R.
  • the duct 110 has a shape in which a length of the cord increases and decreases from a first end 110c to a second end 110d.
  • the duct has a structure in which plates constituting a pressure surface and a suction surface are coupled to a circular rod constituting the leading edge.
  • the circular rod in order to manufacture the duct 110 such that the curve formed by the leading edge 110a of the duct 110 has the single curvature R, the circular rod is bending processed to have one curvature. In this case, comparing to a case where the circular rod is bending processed to have two or more curvatures, the workability is greatly improved.
  • the first outer pre-swirl stator 131 has a shape in which the length of the cord decreases from a root 131c to a tip 131d.
  • the second outer pre-swirl stator 132 has a shape in which the length of the cord decreases from a root 132c to a tip 132d.
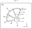
  • FIG. 8 is a perspective view of another apparatus for improving the propulsion efficiency, which is viewed from the left rear.
  • FIG. 9 is a perspective view of a propeller removed in FIG. 8 .
  • FIG. 10 is a view of the another apparatus for improving the propulsion efficiency, which is viewed from the rear.
  • FIG. 11 is a view of the another apparatus for improving the propulsion efficiency, which is viewed from the left side.
  • FIG. 12 is a perspective view of the another apparatus for improving the propulsion efficiency, which is viewed from the left rear, in which a cross-sectional shape is added to a duct and a pre-swirl stator. It is noted that, in FIGS. 8 to 12 , +X means the front, and +Y means the left direction.
  • the another apparatus 100' for improving propulsion efficiency may include the duct 110, the pre-swirl stators 131, 132, 133, and 134, a first connector 150, and a second connector 160.
  • the another apparatus 100' for improving propulsion efficiency differs from the apparatus 100 for improving the propulsion efficiency as described above in that it further includes the first connector 150 and the second connector 160.
  • the first connector 150 interconnects the first outer end of the duct 110 in the rotation direction of the propeller 30 and the first outer pre-swirl stator 131 positioned last in the rotation direction of the propeller 30 among the plurality of pre-swirl stators 131, 132, 133, and 134.
  • the first connector 150 may be manufactured separately from the duct 110 and the first outer pre-swirl stator 131, and both ends of the first connector 150 may be coupled to the first outer pre-swirl stator 131 and the first end of the duct 110, respectively.
  • the second connector 160 interconnects the second outer end of the duct 110 in the rotation direction of the propeller 30 and the second outer pre-swirl stator 132 positioned last in the direction opposite to the rotation direction of the propeller 30 among the plurality of pre-swirl stators 131, 132, 133, and 134.
  • the second connector 160 may be manufactured separately from the duct 110 and the second outer pre-swirl stator 132, and both ends of the second connector 160 may be coupled to the second outer pre-swirl stator 132 and the second end of the duct 110, respectively.
  • the duct 110 and the first outer pre-swirl stator 131 are different in camber shape.
  • the duct 110 has a camber having a convex shape toward the stern boss 20 as shown in FIG. 5
  • the first outer pre-swirl stator 131 has a camber having a convex shape in the rotation direction of the propeller 30.
  • the duct 110 has the camber having the convex shape toward an inside of a space surrounded by the duct 110, the first outer pre-swirl stator 131, and the second outer pre-swirl stator 132.
  • the first outer pre-swirl stator 131 has the camber having the convex shape toward an outside of a space surrounded by the duct 110, the first outer pre-swirl stator 131, and the second outer pre-swirl stator 132.
  • the first connector 150 has a shape in which the first end of the duct 110 and the first outer pre-swirl stator 131, which have different camber shapes as described above, are continuously connected.
  • the first connector 150 includes a first area 151 with the camber having the convex shape in the same direction as the camber of the duct 110 as shown FIG. 5 , and a second area 152 with the camber having the convex shape in the same direction as the camber of the first outer pre-swirl stator 131.
  • the cambers of the first area 151 and the second area 152 gradually disappear as they approach the boundary between the first area 151 and the second area 152, respectively.
  • the duct 110 and the second outer pre-swirl stator 132 are identical in camber shape.
  • the duct 110 has the camber having the convex shape toward the stern boss 20 as shown in FIG. 5
  • the second outer pre-swirl stator 132 has the camber having the convex shape in the rotation direction of the propeller 30.
  • Both the duct 110 and the second outer pre-swirl stator 132 have the camber having the convex shape toward the inside of the space surrounded by the duct 110, the first outer pre-swirl stator 131, and the second outer pre-swirl stator 132.
  • the second connector 160 has a shape in which the second end of the duct 110 and the second outer pre-swirl stator 132, which have the same camber shape, are continuously connected.
  • the second connector 160 has a camber having a convex shape toward an inside of the space surrounded by the duct 110, the first outer pre-swirl stator 131, and the second outer pre-swirl stator 160.
  • FIG. 13 is a view showing an exploded view of an outer surface of a combination of the duct, a first outer pre-swirl stator, and a second outer pre-swirl stator according to the another apparatus.
  • a trailing edge 110b of the duct 110 may have a straight shape, and a leading edge 110a of the duct 110 may have a curved shape that is convex forward.
  • a curve formed by the leading edge 110a of the duct 110 may have a single curvature.
  • the duct 110 has a shape in which a length of the cord increases and decreases from a first end 110c to a second end 110d.
  • the first outer pre-swirl stator 131 has a shape in which the length of the cord decreases from the root 131c to the tip 131d.
  • the second outer pre-swirl stator 132 has a shape in which the length of the cord decreases from the root 132c to the tip 132d.
  • the first connector 150 has a shape in which the length of the cord decreases and increases from the tip 131d of the first outer pre-swirl stator 131 to the first end 110c of the duct 110.
  • a portion where the length of the cord decreases and increases in the first connector 150 becomes the shortest cord 153 in the first connector 150.
  • the shortest code 153 of the first connector 150 corresponds to the boundary between the first area (151 of FIG. 10 ) and the second area (152 of FIG. 10 ).
  • the second connector 160 may have a shape in which a length of cord decreases and increases from a tip 132d of the second outer pre-swirl stator 132 to a second end 110d of the duct 110.
  • Reference numerals 131a, 150a, 110a, 160a, and 132a denote leading edges
  • reference numerals 131b, 150b, 110b, 160b and 132b denote trailing edges.
  • FIG. 14 is a view of the apparatus for improving the propulsion efficiency according to an embodiment of the present invention, which is viewed from the left side.
  • FIG. 15 is a view of a duct removed in FIG. 14 .
  • FIG. 16 is a perspective view of the apparatus for improving the propulsion efficiency according to the embodiment of the present invention, which is viewed from the left rear.
  • an apparatus 100" for improving propulsion efficiency includes the duct 110, the plurality of pre-swirl stators 131, 132, 133, and 134, the first connector 150, and the second connector 160.
  • the apparatus 100" for improving the propulsion efficiency according to the embodiment of the present invention differs from the apparatus 100 for improving the propulsion efficiency in the front and rear positions of the plurality of pre-swirl stators 131, 132, 133, and 134.
  • the inner pre-swirl stators 133 and 134 are positioned in front of the first outer pre-swirl stator 131 and the second outer pre-swirl stator 132.
  • the front ends of the tips of the inner pre-swirl stators 133 and 134 are also positioned behind the leading edge of the duct 110, and the rear ends of the tips of the inner pre-swirl stators 133 and 134 are also positioned in front of the trailing edge of the duct 110.
  • a front-and-rear distance L of the inner pre-swirl stators 133 and 134, the first outer pre-swirl stator 131, and the second outer pre-swirl stator 132 may be 0.05 times or more and 0.15 times or less of a length of cord of a root of the inner pre-swirl stator 133 and 134 or the first outer pre-swirl stator 131 or the second outer pre-swirl stator 132. It is noted that, in this embodiment, lengths of cord of the roots of the inner pre-swirl stators 133 and 134, the first outer pre-swirl stator 131, and the second outer pre-swirl stator 132 are all the same.
  • the resistance acting on the hull 10 is reduced compared to a case where the pre-swirl stators 131, 132, 133, and 134 are all positioned at the same position in a longitudinal direction of the hull 10.
  • the inner pre-swirl stators 133 and 134 are positioned to be separated from the first outer pre-swirl stator 131 and the second outer pre-swirl stator 132 by a predetermined distance L, such that the Venturi effect generated among the inner pre-swirl stators 133 and 134, the first outer pre-swirl stator 131, and the second outer pre-swirl stator 132 are weakened, thereby reducing the resistance applied to the hull 10.
  • the resistance to the hull 10 may increase due to the Venturi effect generated among the inner pre-swirl stators 133 and 134, the first outer pre-swirl stator 131, and the second outer pre-swirl stator 132.
  • FIG. 17 is a perspective view of the apparatus for improving the propulsion efficiency according to the embodiment of the present invention, which is viewed from the rear, and FIG. 18 is a view of a propeller removed in FIG. 17 .
  • an apparatus 100a for improving propulsion efficiency includes the duct 110 and the plurality of pre-swirl stators 131, 132, 133, and 134.
  • the trailing edge 110b of the duct 110 may have a straight shape, and the leading edge 110a of the duct 110 may have a curved shape that is convex forward.
  • the duct 110 has a structure in which a peak portion protrudes forward as shown in FIG. 4 .
  • the peak portion is closer to the hull 10 so that a short support member (not shown) may support the duct 110 with respect to the hull 10. Since the short support member is structurally larger in strength than a long support member, the duct 110 may be stably supported with respect to the hull 10.
  • the separate connectors 150 and 160 may not be included.
  • the inner pre-swirl stators 133 and 134 are positioned in front of the first outer pre-swirl stator 131 and the second outer pre-swirl stator 132.
  • the front ends of the tips of the inner pre-swirl stators 133 and 134 are also positioned behind the leading edge of the duct 110, and the rear ends of the tips of the inner pre-swirl stators 133 and 134 are positioned in front of the trailing edge of the duct 110.
  • FIG. 19 is a case in which only the plurality of pre-swirl stators (see 131, 132, 133, and 134 of FIGS. 1 to 18 ) is installed in front of the propeller.
  • FIG. 20 is a case in which the plurality of pre-swirl stators and a circular duct (i.e., full duct) are installed in front of the propeller. The circular duct is shaped so as to surround the pre-swirl stator in a circle.
  • FIG. 21 is a case in which the plurality of pre-swirl stators and a partial duct are installed in front of the propeller, such as the apparatuses for improving the propulsion efficiency.
  • a stator denotes a pre-swirl stator
  • a full duct denotes a circular duct
  • a partial duct denotes a partial duct
  • the case in which only the pre-swirl stators are installed had a 2.0% fuel saving effect compared to the case to be compared.
  • the case in which the pre-swirl stators and the circular duct are installed had a 1.0% fuel saving effect compared to the case to be compared.
  • the case in which the pre-swirl stators and the partial duct are installed had a 3.0% fuel saving effect compared to the case to be compared.
  • FIGS. 23 and 24 it may be seen from FIG. 23 that the hull pressure drop occurs between under the stern boss and the circular duct (see D1). On the other hand, in FIG. 24 , it may be seen that the hull pressure drop does not occur under the stern boss (see D2). When the hull pressure drop occurs, this causes a negative pressure at a lower part of the hull, which increases the hull resistance. Therefore, the fuel saving effect is lowered.

Landscapes

  • Chemical & Material Sciences (AREA)
  • Engineering & Computer Science (AREA)
  • Combustion & Propulsion (AREA)
  • Mechanical Engineering (AREA)
  • Ocean & Marine Engineering (AREA)
  • Structures Of Non-Positive Displacement Pumps (AREA)

Description

    BACKGROUND 1. Technical Field
  • The present invention relates to an apparatus for improving propulsion efficiency.
  • 2. Description of the Related Art
  • Recently, various technologies have been developed to reduce energy consumed in the operation of ships.
  • One example of energy saving technology is a duct disposed in front of a propeller.
  • The duct generates additional thrust as it passes through a flow moving backwards along a surface of a hull. In this case, the duct may be a factor to increase the propulsion efficiency.
  • However, because the duct acts as a resistance on the other side, it is also a factor to reduce the propulsion efficiency.
  • Document KR 2016 0058370 A discloses the preamble of claim 1.
  • SUMMARY
  • The present invention is intended to provide an apparatus for improving propulsion efficiency.
  • Aspects of the present invention provide an apparatus for improving propulsion efficiency, including: a duct disposed in front of a propeller, having an arc shape, and generating thrust; and a plurality of pre-swirl stators for supporting the duct to a stern boss, the plurality of pre-swirl stators generating a swirl flow in a direction opposite to a rotation direction of the propeller.
  • The duct has a camber having a convex shape in a direction toward the stern boss, and the plurality of pre-swirl stators have a camber having a convex shape in the rotation direction of the propeller.
  • The apparatus for improving the propulsion efficiency may further include a first connector for interconnecting a first end of the duct in the rotation direction of the propeller and a first outer stator positioned last in the rotation direction of the propeller among the plurality of pre-swirl stators; and a second connector for interconnecting a second end of the duct in the direction opposite to the rotation direction of the propeller and a second outer pre-swirl stator positioned last in the direction opposite to the rotation direction of the propeller among the plurality of pre-swirl stators, in which the first connector may have a shape in which the first end of the duct and the first outer pre-swirl stator, which have different camber shapes, are continuously connected, and in which the second connector may have a shape in which the second end of the duct and the second outer pre-swirl stator, which have the same camber shape, are continuously connected.
  • The duct may have an arc shape extending from a lower left area to an upper right area with respect to a centerline of an arc formed by the duct, and the plurality of pre-swirl stators may be disposed to be spaced apart from each other from the lower left area to the upper right area with respect to the centerline of the arc formed by the duct.
  • The propeller may rotate clockwise when viewed from the rear, and the number of the pre-swirl stators positioned in a port of a hull among the plurality of pre-swirl stators may be greater than the number of the pre-swirl stators positioned in a starboard.
  • The centerline of the arc formed by the duct may be positioned above a rotation axis of the propeller.
  • A distance between the centerline of the arc formed by the duct and the rotation axis of the propeller may be 0.1 times or more and 0.4 times or less of a radius of the propeller.
  • The duct may be positioned within a rotation area of the propeller.
  • Aspects of the present invention also provide an apparatus for improving propulsion efficiency, including: a plurality of pre-swirl stators supported to a stern boss in front of a propeller and generating a swirl flow in a direction opposite to a rotation direction of the propeller; a duct supported to ends of the plurality of pre-swirl stators, having an arc shape, and generating thrust; and a connector for interconnecting the duct and the pre-swirl stators.
  • The duct has a camber having a convex shape in a direction toward the stern boss, and the plurality of pre-swirl stators have a camber having a convex shape in the rotation direction of the propeller.
  • The connector may further include a first connector for interconnecting a first end of the duct in the rotation direction of the propeller and a first outer stator positioned last in the rotation direction of the propeller among the plurality of pre-swirl stators; and a second connector for interconnecting a second end of the duct in the direction opposite to the rotation direction of the propeller and a second outer pre-swirl stator positioned last in the direction opposite to the rotation direction of the propeller among the plurality of pre-swirl stators, in which the first connector may have a shape in which the first end of the duct and the first outer pre-swirl stator, which have different camber shapes, are continuously connected, and in which the second connector may have a shape in which the second end of the duct and the second outer pre-swirl stator, which have the same camber shape, are continuously connected.
  • The first connector and the second connector may be separately manufactured from the duct, the first outer pre-swirl stator, and the second outer pre-swirl stator, respectively, and be coupled to.
  • Aspects of the present invention also provide an apparatus for improving propulsion efficiency, including: a duct disposed in front of a propeller, having an arc shape, and generating thrust; and a plurality of pre-swirl stators for supporting the duct to a stern boss, the plurality of pre-swirl stators generating a swirl flow in a direction opposite to a rotation direction of the propeller, in which the duct may have a shape in which a length of cord changes from a first end in the rotation direction of the propeller to a second end in the direction opposite to the rotation direction of the propeller.
  • A first outer pre-swirl stator, which is positioned last in the rotation direction of the propeller among the plurality of pre-swirl stators, may have a shape in which a length of cord decreases from a root to a tip, the duct may have a shape in which the length of the cord increases and decreases from the first end in the rotation direction of the propeller to the second end in the direction opposite to the rotation direction of the propeller, and a second outer pre-swirl stator, which is positioned last in the direction opposite to the rotation direction of the propeller among the plurality of pre-swirl stators, may have a shape in which a length of cord decreases from a root to a tip.
  • It may further include: a first connector interposed between a first end of the duct in the rotation direction of the propeller and a first outer stator positioned last in the rotation direction of the propeller among the plurality of pre-swirl stators; and a second connector interposed between a second end of the duct in the direction opposite to the rotation direction of the propeller and a second outer pre-swirl stator positioned last in the direction opposite to the rotation direction of the propeller among the plurality of pre-swirl stators, in which the first connector may have a shape in which a length of cord decreases and increases from a tip of the first outer stator to the first end of the duct, and in which the second connector may have a shape in which a length of cord decreases and increases from a tip of the second outer stator to the second end of the duct.
  • In an exploded view of one surface facing outward of the duct, a curve formed by a leading edge of the duct may have a single curvature.
  • Aspects of the present invention also provide an apparatus for improving propulsion efficiency, including: a duct disposed in front of a propeller, having an arc shape, and generating thrust; and a plurality of pre-swirl stators for supporting the duct to a stern boss, the plurality of pre-swirl stators generating a swirl flow in a direction opposite to a rotation direction of the propeller, in which the plurality of pre-swirl stators are positioned at different positions in a longitudinal direction of a hull.
  • An inner pre-swirl stator positioned between a first outer pre-swirl stator positioned last in the rotation direction of the propeller and a second outer pre-swirl stator positioned last in the direction opposite to the rotation direction of the propeller, among the plurality of pre-swirl stators, is positioned in front of the first outer pre-swirl stator and the second outer pre-swirl stator.
  • The number of the inner pre-swirl stator may be one or more, in which a front end of a tip of the inner pre-swirl stator fixed to an inner side of the duct may be positioned behind a leading edge of the duct, and a rear end thereof may be positioned in front of a trailing edge of the duct.
  • The inner pre-swirl stator, the first outer pre-swirl stator, and the second outer pre-swirl stator may all have the same length of cord at a root and a tip, and a front-and-rear distance of the inner pre-swirl stator, the first outer pre-swirl stator, and the second outer pre-swirl stator may be 0.05 times or more and 0.15 times or less of a length of cord of a root of the inner pre-swirl stator.
  • However, aspects of the present invention are not restricted to those set forth herein. The above and other aspects of the present invention will become more apparent to one of ordinary skill in the art to which the present invention pertains by referencing the appended claims, which define the invention.
  • According to aspects of the present invention, a pre-swirl stator which generates a swirl flow in a direction opposite to a rotation direction of the propeller is used as a support for supporting a duct, thereby increasing a propeller thrust and improving the propulsion efficiency unlike the conventional method for supporting a duct using a general support structure.
  • BRIEF DESCRIPTION OF THE DRAWINGS
  • The above and other aspects and features of the present invention will become more apparent by describing in detail exemplary embodiments thereof with reference to the attached drawings, in which:
    • FIG. 1 is a perspective view of a not claimed apparatus for improving propulsion efficiency, which is viewed from the left rear;
    • FIG. 2 is a perspective view of a propeller removed in FIG. 1;
    • FIG. 3 is a view of the apparatus for improving the propulsion efficiency, which is viewed from the rear;
    • FIG. 4 is a view of the apparatus for improving the propulsion efficiency, which is viewed from the left side;
    • FIG. 5 is a perspective view of the apparatus for improving the propulsion efficiency, which is viewed from the left rear, in which a cross-sectional shape is added to a duct and a pre-swirl stator;
    • FIG. 6 is a view the left side, in which the duct is omitted;
    • FIG. 7 is a view showing an exploded view of an outer surface of a combination of the duct, a first outer pre-swirl stator, and a second outer pre-swirl stator;
    • FIG. 8 is a perspective view of another apparatus for improving the propulsion efficiency, which is viewed from the left rear;
    • FIG. 9 is a perspective view of a propeller removed in FIG. 8;
    • FIG. 10 is a view of the another apparatus for improving the propulsion efficiency, which is viewed from the rear;
    • FIG. 11 is a view of the another apparatus for improving the propulsion efficiency, which is viewed from the left side;
    • FIG. 12 is a perspective view of the another apparatus for improving the propulsion efficiency, which is viewed from the left rear, in which a cross-sectional shape is added to a duct and a pre-swirl stator;
    • FIG. 13 is a view showing an exploded view of an outer surface of a combination of the duct, a first outer pre-swirl stator, and a second outer pre-swirl stator of the another apparatus for improving the propulsion efficiency;
    • FIG. 14 is a view of the apparatus for improving the propulsion efficiency according to the present invention, which is viewed from the left side;
    • FIG. 15 is a view of a duct removed in FIG. 14;
    • FIG. 16 is a perspective view of the apparatus for improving the propulsion efficiency according to the present invention, which is viewed from the left rear;
    • FIG. 17 is a perspective view of the apparatus for improving the propulsion efficiency according to the present invention, which is viewed from the rear, and FIG. 18 is a view of a propeller removed in FIG. 17; and
    • FIGS. 19 to 24 are views for explaining the effect of the apparatus for improving the propulsion efficiency.
    DETAILED DESCRIPTION OF THE EMBODIMENTS
  • The present invention may add various transformations and may have various embodiments. Therefore, specific embodiments will be illustrated in the drawings and described in detail in the detailed description. However, this is not intended to limit the invention to specific embodiments. In describing the present invention, when it is determined that the detailed description of the related known technology may obscure the subject matter of the present invention, the detailed description thereof will be omitted.
  • Hereinafter, embodiments of the present invention will be described in detail with reference to the accompanying drawings. In the description with reference to the accompanying drawings, the same or corresponding components will be given the same reference numerals, and redundant description thereof will be omitted.
  • FIG. 1 is a perspective view of an apparatus for improving propulsion efficiency, which is viewed from the left rear. FIG. 2 is a perspective view of a propeller removed in FIG. 1. FIG. 3 is a view of the apparatus for improving the propulsion efficiency, which is viewed from the rear. FIG. 4 is a view of the apparatus for improving the propulsion efficiency, which is viewed from the left side. It is noted that, in FIGS. 1 to 4, +X means the front, and +Y means the left direction.
  • Referring to FIGS. 1 to 4, the apparatus 100 for improving the propulsion efficiency includes a duct 110 and pre-swirl stators 131, 132, 133, and 134.
  • The duct 110 is disposed in front of a propeller 30. The propeller 30 is disposed behind a stern boss 20. The propeller 30 rotates to generate thrust. In this apparatus, the propeller 30 rotates clockwise as seen in FIGS. 1 to 3. In other words, the propeller 30 rotates clockwise when viewed from the rear.
  • The duct 110 has an arc shape.
  • For example, the duct 110 may have an arc shape extending from a lower left area to an upper right area with respect to a centerline AD of an arc formed by the duct 110 as shown in FIGS. 1 to 3.
  • As another example, although not shown, the duct may have an arc shape extending from an upper left area to an upper right area with respect to the centerline of the arc formed by the duct.
  • An arc angle of the arc formed by the duct 110 is preferably less than 180 degrees.
  • The duct 110 has a structure that partially surrounds the stern boss 20.
  • The centerline AD of the arc formed by the duct 110 may be positioned above a rotation axis AP of the propeller 30 as shown in FIG. 4.
  • Here, a distance H between the centerline AD of the arc formed by the duct 110 and the rotation axis AP of the propeller 30 may be equal to or more than 0.4 times of a radius of the propeller 30. When the distance H between the centerline AD of the arc formed by the duct 110 and the rotation axis AP of the propeller 30 exceeds 0.4 times of the propeller 30, the range in which the pre-swirl stator may be installed may be significantly limited.
  • Further, the distance H between the centerline AD of the arc formed by the duct 110 and the rotation axis AP of the propeller 30 may be 0.1 times or more and 0.4 times or less of the radius of the propeller 30.
  • The duct 110 is positioned within a rotational area of the propeller 30. Here, a flow that passes through the duct 110 may flow into the propeller 30 in an aligned form, and the propulsion efficiency of the propeller 30 may be improved.
  • Here, a radius of the duct 110 is less than or equal to the radius of the propeller minus the distance between the centerline AD of the arc of the duct 110 and the rotation axis AP of the propeller 30.
  • The duct 110 generates thrust. For example, the duct 110 has an airfoil cross section and has a camber having a convex shape in a direction toward the stern boss 20. This will be described later.
  • A lifting force is generated in the cross section of the duct 110 while a flow moving backward along a hull 10 passes through the duct 110. A component parallel to a longitudinal direction of the hull 10 (e.g., X-axis direction) of the lifting force acts as thrust for pushing the hull 10.
  • The duct 110 may be supported by a stern of the hull 10 by a separate support member (not shown).
  • The pre-swirl stators 131, 132, 133, and 134 support the duct 110 with respect to the stern boss 20.
  • A plurality of pre-swirl stators 131, 132, 133, and 134 are provided.
  • For example, the number of the pre-swirl stators 131, 132, 133, and 134 may be four as shown in FIGS. 1 to 3.
  • As another example, the number of the pre-swirl stators may be three or five, although not shown.
  • The plurality of pre-swirl stators 131, 132, 133, and 134 are disposed to be spaced apart in the rotation direction of the propeller 30 as shown in FIGS. 1 to 3. In other words, the plurality of pre-swirl stators 131, 132, 133, and 134 may be spaced apart in an arc direction about the centerline AD of the arc formed by the duct 110 as shown in FIGS. 2 and 3.
  • For example, the plurality of pre-swirl stators 131, 132, 133, and 134 may be disposed to be spaced apart from each other from the lower left area to the upper right area with respect to the centerline AD of the arc formed by the duct 110 as shown in FIGS. 2 and 3.
  • As another example, although not illustrated, the plurality of pre-swirl stators may be disposed to be spaced apart from each other from the upper left area to the upper right area with respect to the centerline of the arc formed by the duct.
  • The plurality of pre-swirl stators 131, 132, 133, and 134 generate a swirl flow in a direction opposite to the rotation direction of the propeller 30.
  • The swirl flow by the pre-swirl stators 131, 132, 133, and 134 flows into the propeller 30 to improve the propulsion efficiency by reducing the swirl flow in the rotation direction of the propeller 30. In other words, when the swirl flow in the direction opposite to the rotation direction of the propeller 30 is generated by the pre-swirl stators 131, 132, 133, and 134, an angle of attack of a flow flowing into the propeller 30 is increased to increase the thrust generated in the propeller 30, thereby improving the propulsion efficiency.
  • FIG. 5 is a perspective view of the apparatus for improving the propulsion efficiency, which is viewed from the left rear, in which a cross-sectional shape is added to a duct and a pre-swirl stator.
  • Referring to FIG. 5, in the apparatus, the propeller (not shown) rotates clockwise when viewed from the rear. Here, in order to generate the swirl flow in the direction opposite to the rotation direction of the propeller (not shown), the plurality of pre-swirl stators 131, 132, 133, and 134 have the camber having a convex shape in the rotation direction of the propeller (not shown) as shown in FIG. 5.
  • The apparatus 100 for improving the propulsion efficiency as described above uses the pre-swirl stators 131, 132, 133, and 134 for generating the swirl flow in the direction opposite to the rotation direction of the propeller 30 as a support that supports the duct 110 for generating the thrust with respect to the stern boss 20.
  • In this regard, unlike the pre-swirl stators 131, 132, 133, and 134 according to this apparatus, a simple shaped support member is typically used to support the duct that is disposed in front of the propeller to generate the thrust. This simple shaped support member acts as a resistance, which is a factor in increasing the resistance of a ship.
  • However, the apparatus 100 for improving the propulsion uses the pre-swirl stators 131, 132, 133, and 134 to generate the swirl flow in the direction opposite to the rotation direction of the propeller 30 as the support for supporting the duct 110. Therefore, unlike the convention, it increases the thrust of the propeller 30 and improves the propulsion efficiency.
  • In this apparatus, the number of pre-swirl stators 132, 133, and 134 positioned at a port of the hull 10 among the plurality of pre-swirl stators 131, 132, 133, and 134 is larger than the number of the pre-swirl stators 131 positioned in a starboard.
  • More specifically, typically, looking into the distribution of wake into the propeller in a barehull state without the pre-swirl stator, in the port, the wake occurs in the same direction as the rotation direction of the propeller, and in the starboard, the wake occurs in the direction opposite to the rotation direction of the propeller.
  • In the port where the wake in the same direction as the rotation direction of the propeller 30 is generated, the pre-swirl stators 132, 133, and 134 may change an inflow flowing into the pre-swirl stators 132, 133, and 134 at a small pitch angle (attachment angle) in the direction opposite to the rotation direction of the propeller 30. However, in the starboard where the wake in the direction opposite to the rotation direction of the propeller 30 is generated, the inflow flowing into the pre-swirl stator 131 may be changed in the direction opposite to the rotation direction of the propeller 30 only when the pre-swirl stator 131 is installed at a larger pitch angle (attachment angle) than that of the port.
  • In this case, the increase in resistance due to the attachment of the pre-swirl stators 132, 133, 134 is small in the port that may generate the swirl flow in the direction opposite to the rotation direction of the propeller 30 at the small pitch angle. However, the increase in resistance due to the attachment of the pre-swirl stator 131 becomes excessive in the starboard that may generate the swirl flow in the direction opposite to the rotation direction of the propeller 30 only at the large pitch angle. Therefore, it is desirable to place more pre-swirl stators in the port than the starboard for high propulsion efficiency.
  • In this apparatus, a first outer end of the duct 110 in the rotation direction of the propeller 30 and a first outer pre-swirl stator 131 positioned last in the rotation direction of the propeller 30 among the plurality of pre-swirl stators 131, 132, 133, and 134 are connected to each other. As shown in FIG. 3, the first outer pre-swirl stator 131 may be positioned in the right upper area with respect to the centerline AD of the arc formed by the duct 110.
  • A second outer end of the duct 110 in the rotation direction of the propeller 30 and a second outer pre-swirl stator 132 positioned last in the direction opposite to the rotation direction of the propeller 30 among the plurality of pre-swirl stators 131, 132, 133, and 134 are connected to each other. As shown in FIG. 3, the second outer pre-swirl stator 132 may be positioned in the lower left area with respect to the centerline AD of the arc formed by the duct 110.
  • In this apparatus, the duct 110 and the first outer pre-swirl stator 131 are different in camber shape.
  • More specifically, the duct 110 has a camber having a convex shape toward the stern boss 20 as shown in FIG. 5, and the first outer pre-swirl stator 131 has a camber having a convex shape in the rotation direction of the propeller 30.
  • In other words, the duct 110 has the camber having the convex shape toward an inside of a space surrounded by the duct 110, the first outer pre-swirl stator 131, and the second outer pre-swirl stator 132. The first outer pre-swirl stator 131 has the camber having the convex shape toward an outside of a space surrounded by the duct 110, the first outer pre-swirl stator 131, and the second outer pre-swirl stator 132.
  • In this apparatus, as described above, the first end of the duct 110 and the first outer pre-swirl stator 131, which have different camber shapes, are continuously connected.
  • For example, as shown in FIG. 5, the first end of the duct 110 and the first outer pre-swirl stator 131, which have the cambers having the convex shape in opposite directions, have a shape that the camber gradually disappears toward its boundary.
  • In this apparatus, the duct 110 and the second outer pre-swirl stator 132 are identical in camber shape.
  • More specifically, the duct 110 has the camber having the convex shape toward the stern boss 20 as shown in FIG. 5, and the second outer pre-swirl stator 132 has the camber having the convex shape in the rotation direction of the propeller 30.
  • In other words, Both the duct 110 and the second outer pre-swirl stator 132 have the camber having the convex shape toward the inside of the space surrounded by the duct 110, the first outer pre-swirl stator 131, and the second outer pre-swirl stator 132.
  • In this apparatus, as described above, the second end of the duct 110 and the second outer pre-swirl stator 132, which have the same camber shape, are continuously connected.
  • FIG. 6 is a view showing a part according to the apparatus, which is viewed from the left side, in which the duct is omitted.
  • Referring to FIGS. 5 and 6, the first outer pre-swirl stator 131, the second outer pre-swirl stator 132, and the inner pre-swirl stators 133 and 134 may have a swept-back stator shape. Here, the first outer pre-swirl stator 131, the second outer pre-swirl stator 132, and the inner pre-swirl stator 133 and 134 have a shape in which a leading edge is struck rearward from a root to a tip.
  • In this apparatus, the plurality of pre-swirl stators 131, 132, 133, and 134 may each be disposed on the same plane where trailing edges are perpendicular to the centerline AD of the arc formed by the duct 110. Here, the plurality of pre-swirl stators 131, 132, 133, and 134 may be as close as possible to the propellers (not shown), and the swirl flow in the direction opposite to the rotation direction of the propeller 30 generated by the pre-swirl stators 131, 132, 133, and 134 may flow directly into the propeller 30, thereby improving the propulsion efficiency .
  • In this apparatus, the first outer pre-swirl stator 131, the second outer pre-swirl stator 132, and the inner pre-swirl stator 133 and 134 may all have the same length of cord at the root. Further, the first outer pre-swirl stator 131, the second outer pre-swirl stator 132, and the inner pre-swirl stator 133 and 134 may all have the same length of cord at the tip. In addition, the first outer pre-swirl stator 131, the second outer pre-swirl stator 132, and the inner pre-swirl stator 133 and 134 may all have a length of cord at a root greater than a length of cord at a tip.
  • Referring to FIG. 5, in this apparatus, the tips of the inner pre-swirl stators 133 and 134 may be fixed to an inner surface of the duct 110.
  • Here, front ends of the tips of the inner pre-swirl stators 133 and 134 are positioned behind the leading edge of the duct 110, and rear ends of the tips of the inner pre-swirl stators 133 and 134 are positioned in front of the trailing edge of the duct 110.
  • In this case, circular rods constituting leading edges of the inner pre-swirl stators 133 and 134 may not interfere with a circular rod constituting the leading edge of the duct 110, and circular rods constituting trailing edges of the inner pre-swirl stators 133 and 134 may not interfere with a circular rod constituting the trailing edge of the duct 110, thereby improving the workability. It is noted that coupling an end of one rod to a side of another rod is much less workable than coupling an end of one rod to a surface of a plate.
  • FIG. 7 is a view showing an exploded view of an outer surface of a combination of the duct, a first outer pre-swirl stator, and a second outer pre-swirl stator according to the apparatus.
  • Referring to FIG. 7, in the exploded view, a trailing edge 110b of the duct 110 may have a straight shape, and a leading edge 110a of the duct 110 may have a curved shape that is convex forward.
  • In this case, the most convex peak portion in the exploded view of the duct 110 approaches the hull 10, so that the duct 110 is easily fixed to the hull 10.
  • More specifically, the duct 110 having the exploded view as shown in FIG. 7 has a structure in which the peak portion protrudes forward as shown in FIG. 4. Here, the peak portion is closer to the hull 10 so that a short support member (not shown) may support the duct 110 with respect to the hull 10. Since the short support member is structurally larger in strength than a long support member, the duct 110 may be stably supported with respect to the hull 10.
  • Referring to FIG. 7, in the exploded view, a curve formed by the leading edge 110a of the duct 110 may have a single curvature R. In this case, the duct 110 has a shape in which a length of the cord increases and decreases from a first end 110c to a second end 110d.
  • Typically, the duct has a structure in which plates constituting a pressure surface and a suction surface are coupled to a circular rod constituting the leading edge.
  • In the exploded view, in order to manufacture the duct 110 such that the curve formed by the leading edge 110a of the duct 110 has the single curvature R, the circular rod is bending processed to have one curvature. In this case, comparing to a case where the circular rod is bending processed to have two or more curvatures, the workability is greatly improved.
  • Referring to FIG. 7, the first outer pre-swirl stator 131 has a shape in which the length of the cord decreases from a root 131c to a tip 131d. The second outer pre-swirl stator 132 has a shape in which the length of the cord decreases from a root 132c to a tip 132d.
  • FIG. 8 is a perspective view of another apparatus for improving the propulsion efficiency, which is viewed from the left rear. FIG. 9 is a perspective view of a propeller removed in FIG. 8. FIG. 10 is a view of the another apparatus for improving the propulsion efficiency, which is viewed from the rear. FIG. 11 is a view of the another apparatus for improving the propulsion efficiency, which is viewed from the left side. FIG. 12 is a perspective view of the another apparatus for improving the propulsion efficiency, which is viewed from the left rear, in which a cross-sectional shape is added to a duct and a pre-swirl stator. It is noted that, in FIGS. 8 to 12, +X means the front, and +Y means the left direction.
  • Referring to FIGS. 8 to 12, the another apparatus 100' for improving propulsion efficiency may include the duct 110, the pre-swirl stators 131, 132, 133, and 134, a first connector 150, and a second connector 160. The another apparatus 100' for improving propulsion efficiency differs from the apparatus 100 for improving the propulsion efficiency as described above in that it further includes the first connector 150 and the second connector 160.
  • The first connector 150 interconnects the first outer end of the duct 110 in the rotation direction of the propeller 30 and the first outer pre-swirl stator 131 positioned last in the rotation direction of the propeller 30 among the plurality of pre-swirl stators 131, 132, 133, and 134.
  • The first connector 150 may be manufactured separately from the duct 110 and the first outer pre-swirl stator 131, and both ends of the first connector 150 may be coupled to the first outer pre-swirl stator 131 and the first end of the duct 110, respectively.
  • The second connector 160 interconnects the second outer end of the duct 110 in the rotation direction of the propeller 30 and the second outer pre-swirl stator 132 positioned last in the direction opposite to the rotation direction of the propeller 30 among the plurality of pre-swirl stators 131, 132, 133, and 134.
  • The second connector 160 may be manufactured separately from the duct 110 and the second outer pre-swirl stator 132, and both ends of the second connector 160 may be coupled to the second outer pre-swirl stator 132 and the second end of the duct 110, respectively.
  • In this apparatus, the duct 110 and the first outer pre-swirl stator 131 are different in camber shape.
  • More specifically, the duct 110 has a camber having a convex shape toward the stern boss 20 as shown in FIG. 5, and the first outer pre-swirl stator 131 has a camber having a convex shape in the rotation direction of the propeller 30.
  • In other words, the duct 110 has the camber having the convex shape toward an inside of a space surrounded by the duct 110, the first outer pre-swirl stator 131, and the second outer pre-swirl stator 132. The first outer pre-swirl stator 131 has the camber having the convex shape toward an outside of a space surrounded by the duct 110, the first outer pre-swirl stator 131, and the second outer pre-swirl stator 132.
  • The first connector 150 according to this apparatus has a shape in which the first end of the duct 110 and the first outer pre-swirl stator 131, which have different camber shapes as described above, are continuously connected.
  • For example, the first connector 150 includes a first area 151 with the camber having the convex shape in the same direction as the camber of the duct 110 as shown FIG. 5, and a second area 152 with the camber having the convex shape in the same direction as the camber of the first outer pre-swirl stator 131. The cambers of the first area 151 and the second area 152 gradually disappear as they approach the boundary between the first area 151 and the second area 152, respectively.
  • In this embodiment, the duct 110 and the second outer pre-swirl stator 132 are identical in camber shape.
  • More specifically, the duct 110 has the camber having the convex shape toward the stern boss 20 as shown in FIG. 5, and the second outer pre-swirl stator 132 has the camber having the convex shape in the rotation direction of the propeller 30.
  • In other words, Both the duct 110 and the second outer pre-swirl stator 132 have the camber having the convex shape toward the inside of the space surrounded by the duct 110, the first outer pre-swirl stator 131, and the second outer pre-swirl stator 132.
  • The second connector 160 according to this apparatus has a shape in which the second end of the duct 110 and the second outer pre-swirl stator 132, which have the same camber shape, are continuously connected.
  • For example, as shown in FIG. 5, the second connector 160 has a camber having a convex shape toward an inside of the space surrounded by the duct 110, the first outer pre-swirl stator 131, and the second outer pre-swirl stator 160.
  • FIG. 13 is a view showing an exploded view of an outer surface of a combination of the duct, a first outer pre-swirl stator, and a second outer pre-swirl stator according to the another apparatus.
  • Referring to FIG. 13, in the exploded view, a trailing edge 110b of the duct 110 may have a straight shape, and a leading edge 110a of the duct 110 may have a curved shape that is convex forward.
  • In this case, the most convex peak portion in the exploded view of the duct 110 approaches the hull 10, so that the duct 110 is easily fixed to the hull 10.
  • Referring to FIG. 13, in the exploded view, a curve formed by the leading edge 110a of the duct 110 may have a single curvature. In this case, the duct 110 has a shape in which a length of the cord increases and decreases from a first end 110c to a second end 110d.
  • Referring to FIG. 13, the first outer pre-swirl stator 131 has a shape in which the length of the cord decreases from the root 131c to the tip 131d. The second outer pre-swirl stator 132 has a shape in which the length of the cord decreases from the root 132c to the tip 132d.
  • Further, the first connector 150 has a shape in which the length of the cord decreases and increases from the tip 131d of the first outer pre-swirl stator 131 to the first end 110c of the duct 110. In particular, a portion where the length of the cord decreases and increases in the first connector 150 becomes the shortest cord 153 in the first connector 150. The shortest code 153 of the first connector 150 corresponds to the boundary between the first area (151 of FIG. 10) and the second area (152 of FIG. 10). The second connector 160 may have a shape in which a length of cord decreases and increases from a tip 132d of the second outer pre-swirl stator 132 to a second end 110d of the duct 110.
  • Reference numerals 131a, 150a, 110a, 160a, and 132a denote leading edges, and reference numerals 131b, 150b, 110b, 160b and 132b denote trailing edges.
  • FIG. 14 is a view of the apparatus for improving the propulsion efficiency according to an embodiment of the present invention, which is viewed from the left side. FIG. 15 is a view of a duct removed in FIG. 14. FIG. 16 is a perspective view of the apparatus for improving the propulsion efficiency according to the embodiment of the present invention, which is viewed from the left rear.
  • Referring to FIGS. 14 to 16, an apparatus 100" for improving propulsion efficiency according to the embodiment of the present invention includes the duct 110, the plurality of pre-swirl stators 131, 132, 133, and 134, the first connector 150, and the second connector 160.
  • The apparatus 100" for improving the propulsion efficiency according to the embodiment of the present invention differs from the apparatus 100 for improving the propulsion efficiency in the front and rear positions of the plurality of pre-swirl stators 131, 132, 133, and 134.
  • In this embodiment, the inner pre-swirl stators 133 and 134 are positioned in front of the first outer pre-swirl stator 131 and the second outer pre-swirl stator 132.
  • Here, the front ends of the tips of the inner pre-swirl stators 133 and 134 are also positioned behind the leading edge of the duct 110, and the rear ends of the tips of the inner pre-swirl stators 133 and 134 are also positioned in front of the trailing edge of the duct 110.
  • In this embodiment, a front-and-rear distance L of the inner pre-swirl stators 133 and 134, the first outer pre-swirl stator 131, and the second outer pre-swirl stator 132 may be 0.05 times or more and 0.15 times or less of a length of cord of a root of the inner pre-swirl stator 133 and 134 or the first outer pre-swirl stator 131 or the second outer pre-swirl stator 132. It is noted that, in this embodiment, lengths of cord of the roots of the inner pre-swirl stators 133 and 134, the first outer pre-swirl stator 131, and the second outer pre-swirl stator 132 are all the same.
  • As described above, when the inner pre-swirl stators 133 and 134 are positioned in front of the first outer pre-swirl stator 131 and the second outer pre-swirl stator 132, the resistance acting on the hull 10 is reduced compared to a case where the pre-swirl stators 131, 132, 133, and 134 are all positioned at the same position in a longitudinal direction of the hull 10.
  • This is because the inner pre-swirl stators 133 and 134 are positioned to be separated from the first outer pre-swirl stator 131 and the second outer pre-swirl stator 132 by a predetermined distance L, such that the Venturi effect generated among the inner pre-swirl stators 133 and 134, the first outer pre-swirl stator 131, and the second outer pre-swirl stator 132 are weakened, thereby reducing the resistance applied to the hull 10.
  • When the front-and-rear distance of the inner pre-swirl stators 133 and 134, the first outer pre-swirl stator 131, and the second outer pre-swirl stator 132 exceed the range, a distance between the inner pre-swirl stators 133 and 134 and the propeller (not shown) is increased so that a flow induced by the inner pre-swirl stators 133 and 134 may not sufficiently flow into the propeller (not shown), thereby decreasing the propulsion efficiency.
  • When the front-and-rear distance of the inner pre-swirl stators 133 and 134, and the first outer pre-swirl stator 131, and the second outer pre-swirl stator 132 are smaller than the range, the resistance to the hull 10 may increase due to the Venturi effect generated among the inner pre-swirl stators 133 and 134, the first outer pre-swirl stator 131, and the second outer pre-swirl stator 132.
  • FIG. 17 is a perspective view of the apparatus for improving the propulsion efficiency according to the embodiment of the present invention, which is viewed from the rear, and FIG. 18 is a view of a propeller removed in FIG. 17.
  • Referring to FIGS. 17 and 18, an apparatus 100a for improving propulsion efficiency according to the embodiment of the present invention includes the duct 110 and the plurality of pre-swirl stators 131, 132, 133, and 134.
  • As described using FIG. 7, in an exploded view of the duct 110, the trailing edge 110b of the duct 110 may have a straight shape, and the leading edge 110a of the duct 110 may have a curved shape that is convex forward. The duct 110 has a structure in which a peak portion protrudes forward as shown in FIG. 4. Here, the peak portion is closer to the hull 10 so that a short support member (not shown) may support the duct 110 with respect to the hull 10. Since the short support member is structurally larger in strength than a long support member, the duct 110 may be stably supported with respect to the hull 10. Unlike those described in FIGS. 8 to 16, the separate connectors 150 and 160 may not be included.
  • As described in FIGS. 14 to 16, the inner pre-swirl stators 133 and 134 are positioned in front of the first outer pre-swirl stator 131 and the second outer pre-swirl stator 132.
  • The front ends of the tips of the inner pre-swirl stators 133 and 134 are also positioned behind the leading edge of the duct 110, and the rear ends of the tips of the inner pre-swirl stators 133 and 134 are positioned in front of the trailing edge of the duct 110.
  • As described above, when the inner pre-swirl stators 133 and 134 are positioned in front of the first outer pre-swirl stator 131 and the second outer pre-swirl stator 132, the resistance acting on the hull 10 is reduced compared to a case where the pre-swirl stators 131, 132, 133, and 134 are all positioned at the same position in a longitudinal direction of the hull 10.
  • Hereinafter, referring to FIGS. 19 to 22, the fuel saving effect of the apparatuses 100, 100', 100", and 100a for improving the propulsion efficiency will be described in more detail.
  • First, FIG. 19 is a case in which only the plurality of pre-swirl stators (see 131, 132, 133, and 134 of FIGS. 1 to 18) is installed in front of the propeller. FIG. 20 is a case in which the plurality of pre-swirl stators and a circular duct (i.e., full duct) are installed in front of the propeller. The circular duct is shaped so as to surround the pre-swirl stator in a circle. FIG. 21 is a case in which the plurality of pre-swirl stators and a partial duct are installed in front of the propeller, such as the apparatuses for improving the propulsion efficiency.
  • The case in which only the pre-swirl stators are installed (FIG. 19), the case in which the pre-swirl stators and the circular duct are installed (FIG. 20), and the case in which the pre-swirl stators and the partial duct are installed (FIG. 21) are compared with a case in which only the propeller is installed (i.e., a case to be compared). Then, the fuel savings effect was tested and the results are shown in FIG. 22. In FIG. 22, a stator denotes a pre-swirl stator, a full duct denotes a circular duct, and a partial duct denotes a partial duct.
  • Referring to FIG. 22, the case in which only the pre-swirl stators are installed (FIG. 19) had a 2.0% fuel saving effect compared to the case to be compared. The case in which the pre-swirl stators and the circular duct are installed (FIG. 20) had a 1.0% fuel saving effect compared to the case to be compared. The case in which the pre-swirl stators and the partial duct are installed (FIG. 21) had a 3.0% fuel saving effect compared to the case to be compared.
  • In order to confirm why the fuel saving effect of the case in which the pre-swirl stators and the circular ducts are installed (FIG. 20) is relatively low compared to other cases, additional tests were made and the results are shown in FIGS. 23 and 24.
  • Comparing FIGS. 23 and 24, it may be seen from FIG. 23 that the hull pressure drop occurs between under the stern boss and the circular duct (see D1). On the other hand, in FIG. 24, it may be seen that the hull pressure drop does not occur under the stern boss (see D2). When the hull pressure drop occurs, this causes a negative pressure at a lower part of the hull, which increases the hull resistance. Therefore, the fuel saving effect is lowered.
  • Compared to the case in which only the pre-swirl stators are installed (FIG. 19), the reason why the fuel saving effect of the case in which the pre-swirl stator and the partial duct are installed (FIG. 21) is good is as follows.
  • In the case using the duct (FIG. 21), all pre-swirl stators are connected to the partial duct in a multipoint support structure (i.e., a multiple support). Therefore, the case using the partial duct (FIG. 21) has a higher structural stability than the case in which only the cantilever type pre-swirl stators are installed (FIG. 19).
  • In addition, in the pre-swirl stator which generates the swirl flow, cavitation due to end vortex may occur. Therefore, in the case in which only the pre-swirl stators are installed (FIG. 19), an additional shape such as a winglet should be mounted in order to reduce the cavitation of ends. However, since the case using the partial duct (FIG. 21) has a shape in which all the pre-swirl stators are surrounded by the partial duct, the end vortex is essentially blocked. Therefore, no additional device such as the winglet is needed.
  • In the above, an embodiment of the present invention has been described. However, those skilled in the art may variously modify and change the present invention by adding, changing, deleting, or adding components within the scope defined by the claims.
  • Reference Numeral
    • 10: hull
    • 20: stern boss
    • 30: propeller
    • 100: apparatus for improving propulsion efficiency
    • 110: duct
    • 131: first outer pre-swirl stator
    • 132: second outer pre-swirl stator
    • 133, 134: inner pre-swirl stator
    • 150: first connector
    • 160: second connector

Claims (15)

  1. An apparatus (100) for improving propulsion efficiency, comprising:
    a duct (110) configured to be disposed in front of a propeller (30), having an arc shape, and generating thrust; and
    a plurality of pre-swirl stators (131-134) for supporting the duct (110) configured to be fixed to a stern boss (20), the plurality of pre-swirl stators (131-134) generating a swirl flow in a direction opposite to a rotation direction of the propeller (30),
    wherein
    the duct (110) has a camber of convex shape toward the stern boss (20), and
    the plurality of pre-swirl stators (131-134) have a camber having a convex shape in the rotation direction of the propeller (30), wherein the first outer pre-swirl stator (131) is positioned last in the rotation direction of the propeller (30) among the plurality of pre-swirl stators (131-134),
    characterized in that the camber of the duct (110) and the camber of the first outer pre-swirl stator (131) gradually disappear towards the boundary of the duct (110) and the first pre-swirl stator (131),
    wherein the duct (110) and the first outer swirl stator (131) are different in camber shape, and
    wherein when the duct (110) and the plurality of pre-swirl stators (131-134) are viewed from the side, the contact part between inner pre-swirl stators (133-134) and the stern boss (20) is exposed to the outside in front of the duct (110).
  2. The apparatus (100) of claim 1, further comprising:
    a first connector (150 for interconnecting a first end (110c) of the duct (110) in the rotation direction of the propeller (30) and a first outer pre-swirl stator (131) positioned last in the rotation direction of the propeller (30) among the plurality of pre-swirl stators (131-134); and
    a second connector (160) for interconnecting a second end (110d) of the duct (110) in the direction opposite to the rotation direction of the propeller (30) and a second outer pre-swirl stator (132) positioned last in the direction opposite to the rotation direction of the propeller (30) among the plurality of pre-swirl stators (131-134),
    wherein the first connector (150) has a shape in which the first end (110c) of the duct (110) and the first outer pre-swirl stator (131), which have different camber shapes, are continuously connected, and
    wherein the second connector (160) has a shape in which the second end (110d) of the duct (110) and the second outer pre-swirl stator (132), which have the same camber shape, are continuously connected.
  3. The apparatus (100) of claim 1, wherein the duct (110) has an arc shape extending from a lower left area to an upper right area with respect to a centerline of an arc formed by the duct (110), and
    wherein the plurality of pre-swirl stators (131-134) are disposed to be spaced apart from each other from the lower left area to the upper right area with respect to the centerline of the arc formed by the duct (110).
  4. The apparatus (100) of claim 1, wherein the propeller (30) rotates clockwise when viewed from the rear, and
    wherein the number of the pre-swirl stators (131-134) positioned in a port of a hull (10) among the plurality of pre-swirl stators (131-134) is greater than the number of the pre-swirl stators (131-134) positioned in a starboard.
  5. The apparatus (100) of claim 1, wherein a centerline of an arc formed by the duct (110) is positioned above a rotation axis of the propeller (30).
  6. The apparatus (100) of claim 1, wherein a distance between a centerline of an arc formed by the duct (110) and a rotation axis of the propeller (30) is 0.1 times or more and 0.4 times or less of a radius of the propeller (30).
  7. The apparatus (100) of claim 1, wherein the duct (110) is positioned within a rotation area of the propeller (30).
  8. The apparatus (100) of claim 1, further comprising:
    a connector for interconnecting the duct (110) and the pre-swirl stators (131-134).
  9. The apparatus (100) of claim 8, wherein the duct (110) has a camber having a convex shape in a direction toward the stern boss (20), and
    wherein the plurality of pre-swirl stators (131-134) have a camber having a convex shape in the rotation direction of the propeller (30).
  10. The apparatus (100) of claim 9, wherein the connector further comprises:
    a first connector (150) for interconnecting a first end (110c) of the duct (110) in the rotation direction of the propeller (30) and a first outer pre-swirl stator (131) positioned last in the rotation direction of the propeller (30) among the plurality of pre-swirl stators (131-134); and
    a second connector (160) for interconnecting a second end (110d) of the duct (110) in the direction opposite to the rotation direction of the propeller (30) and a second outer pre-swirl stator (132) positioned last in the direction opposite to the rotation direction of the propeller (30) among the plurality of pre-swirl stators (131-134),
    wherein the first connector (150) has a shape in which the first end (110c) of the duct (110) and the first outer pre-swirl stator (131), which have different camber shapes, are continuously connected, and
    wherein the second connector (160) has a shape in which the second end (110d) of the duct (110) and the second outer pre-swirl stator (132), which have the same camber shape, are continuously connected.
  11. The apparatus (100) of claim 10, wherein the first connector (150) and the second connector (160) are separately manufactured from the duct (110), the first outer pre-swirl stator (131), and the second outer pre-swirl stator (132), respectively, and are coupled to the duct (110).
  12. The apparatus (100) of claim 1, further comprising:
    wherein the plurality of pre-swirl stators (131-134) are positioned at different positions in a longitudinal direction of a hull (10).
  13. The apparatus (100) of claim 12, wherein an inner pre-swirl stator (133-134) positioned between a first outer pre-swirl stator (131) positioned last in the rotation direction of the propeller (30) and a second outer pre-swirl stator (132) positioned last in the direction opposite to the rotation direction of the propeller (30), among the plurality of pre-swirl stators (131-134), is positioned in front of the first outer pre-swirl stator (131) and the second outer pre-swirl stator (132).
  14. The apparatus (100) of claim 13, wherein the number of the inner pre-swirl stators (133-134) is one or more, and
    wherein a front end of a tip of the inner pre-swirl stator (133-134) fixed to an inner side of the duct (110) is positioned behind a leading edge (110a) of the duct (110), and a rear end thereof is positioned in front of a trailing edge (110b) of the duct (110).
  15. The apparatus (100) of claim 13, wherein the inner pre-swirl stator (133-134), the first outer pre-swirl stator (131), and the second outer pre-swirl stator (132) all have the same length of cord at a root and a tip, and
    wherein a front-and-rear distance of the inner pre-swirl stator (133-134), the first outer pre-swirl stator (131), and the second outer pre-swirl (132) stator is 0.05 times or more and 0.15 times or less of a length of cord of a root of the inner pre-swirl stator (133-134).
EP18872708.5A 2017-10-31 2018-10-31 Apparatus for enhancing propulsion efficiency Active EP3705392B1 (en)

Applications Claiming Priority (5)

Application Number Priority Date Filing Date Title
KR1020170143359A KR102027271B1 (en) 2017-10-31 2017-10-31 Propulsion efficiency enhancing apparatus
KR1020170143239A KR102027269B1 (en) 2017-10-31 2017-10-31 Propulsion efficiency enhancing apparatus
KR1020170143315A KR102027270B1 (en) 2017-10-31 2017-10-31 Propulsion efficiency enhancing apparatus
KR1020170143470A KR20190048483A (en) 2017-10-31 2017-10-31 Propulsion efficiency enhancing apparatus
PCT/KR2018/013108 WO2019088696A1 (en) 2017-10-31 2018-10-31 Apparatus for enhancing propulsion efficiency

Publications (4)

Publication Number Publication Date
EP3705392A1 EP3705392A1 (en) 2020-09-09
EP3705392A4 EP3705392A4 (en) 2021-08-04
EP3705392B1 true EP3705392B1 (en) 2025-03-05
EP3705392C0 EP3705392C0 (en) 2025-03-05

Family

ID=66332409

Family Applications (1)

Application Number Title Priority Date Filing Date
EP18872708.5A Active EP3705392B1 (en) 2017-10-31 2018-10-31 Apparatus for enhancing propulsion efficiency

Country Status (6)

Country Link
EP (1) EP3705392B1 (en)
JP (1) JP7145945B2 (en)
CN (1) CN111295329A (en)
ES (1) ES3015733T3 (en)
SG (1) SG11202003855RA (en)
WO (1) WO2019088696A1 (en)

Families Citing this family (5)

* Cited by examiner, † Cited by third party
Publication number Priority date Publication date Assignee Title
CN111086611A (en) * 2018-10-23 2020-05-01 东辉休闲运动用品(上海)有限公司 underwater thruster
US20230202628A1 (en) * 2020-05-28 2023-06-29 Becker Marine Systems Gmbh Arrangement to reduce a propulsion power requirement of a watercraft
EP4155190A1 (en) * 2021-09-23 2023-03-29 Damen Components Holding B.V. Flow-guiding system for a ship propulsion system
CN115416832A (en) * 2022-09-05 2022-12-02 大连中远海运重工有限公司 Spiral honeycomb duct energy-saving device for ship
CN116280136A (en) * 2023-03-20 2023-06-23 中船重工(上海)节能技术发展有限公司 Wake self-adaptive pre-swirl guide wheel and its control method

Citations (17)

* Cited by examiner, † Cited by third party
Publication number Priority date Publication date Assignee Title
JP2008239060A (en) * 2007-03-28 2008-10-09 Mitsui Eng & Shipbuild Co Ltd Stern horizontal duct and ship
KR20100103982A (en) * 2009-03-16 2010-09-29 대우조선해양 주식회사 Pre-swirl stator of ship
KR20120094763A (en) * 2011-02-17 2012-08-27 충남대학교산학협력단 Ducted-propeller with pre-swirl stator for vessels
KR20120126910A (en) * 2011-05-13 2012-11-21 현대중공업 주식회사 Propeller Duct Structure of Ship with Multi-Column Fin
KR20140137620A (en) 2013-05-23 2014-12-03 현대중공업 주식회사 Vessel including stern duct structure
WO2015012490A1 (en) 2013-07-26 2015-01-29 부산대학교 산학협력단 Thrust force improvement apparatus for ship
KR20150013962A (en) 2013-07-24 2015-02-06 현대중공업 주식회사 Propulsion improving apparatus of ship
WO2015093048A1 (en) 2013-12-16 2015-06-25 独立行政法人海上技術安全研究所 Stern duct, stern attachment, method of designing stern duct, and ship equipped with stern duct
KR20160000326A (en) 2014-06-24 2016-01-04 현대중공업 주식회사 Ship propulsion unit that apply asymmetry duct
KR20160000450A (en) 2015-10-13 2016-01-04 현대중공업 주식회사 Ship propulsion unit that apply duct
KR20160002232A (en) 2014-06-30 2016-01-07 현대중공업 주식회사 Ship propulsion unit that rectifier unit is applied
KR20160032475A (en) * 2014-09-16 2016-03-24 현대중공업 주식회사 Duct for ship
KR20160058370A (en) * 2014-11-14 2016-05-25 한국해양과학기술원 Asymmetric fan-shaped duct for energy saving of ship
KR20160149877A (en) 2015-06-19 2016-12-28 현대중공업 주식회사 A propulsion apparatus for ship
WO2017038862A1 (en) 2015-08-31 2017-03-09 国立研究開発法人 海上・港湾・航空技術研究所 Ship and stern shape having stern duct
EP3210876A1 (en) 2014-10-24 2017-08-30 Samsung Heavy Ind. Co., Ltd. Propelling efficiency enhancing device
KR20180083463A (en) 2017-01-12 2018-07-23 성동조선해양(주) Pre-swirl stator including annular structure

Family Cites Families (7)

* Cited by examiner, † Cited by third party
Publication number Priority date Publication date Assignee Title
DD241056A1 (en) * 1985-09-23 1986-11-26 Schiffbau Stammbetrieb K DEVICE FOR INCREASING THE EFFICIENCY OF SHIP PROPELLERS
JPH0467594U (en) * 1990-10-20 1992-06-16
CN202368782U (en) * 2011-12-12 2012-08-08 江苏华海船舶设计有限公司 Energy-saving guide pipe for built-in guide vanes
KR20130125628A (en) * 2012-05-09 2013-11-19 에스티엑스조선해양 주식회사 Appendage of fan shape duct for improving stern flow of ship
KR101402534B1 (en) * 2012-07-25 2014-06-02 현대중공업 주식회사 A propulsion apparatus for ship
CN103332281B (en) * 2013-07-19 2017-03-08 上海船舶研究设计院 Triangle conduit of prewhirling for dextrorotation single-blade ship
CN105346698A (en) * 2015-12-02 2016-02-24 南通虹波机械有限公司 Efficient energy-saving guide wheel

Patent Citations (17)

* Cited by examiner, † Cited by third party
Publication number Priority date Publication date Assignee Title
JP2008239060A (en) * 2007-03-28 2008-10-09 Mitsui Eng & Shipbuild Co Ltd Stern horizontal duct and ship
KR20100103982A (en) * 2009-03-16 2010-09-29 대우조선해양 주식회사 Pre-swirl stator of ship
KR20120094763A (en) * 2011-02-17 2012-08-27 충남대학교산학협력단 Ducted-propeller with pre-swirl stator for vessels
KR20120126910A (en) * 2011-05-13 2012-11-21 현대중공업 주식회사 Propeller Duct Structure of Ship with Multi-Column Fin
KR20140137620A (en) 2013-05-23 2014-12-03 현대중공업 주식회사 Vessel including stern duct structure
KR20150013962A (en) 2013-07-24 2015-02-06 현대중공업 주식회사 Propulsion improving apparatus of ship
WO2015012490A1 (en) 2013-07-26 2015-01-29 부산대학교 산학협력단 Thrust force improvement apparatus for ship
WO2015093048A1 (en) 2013-12-16 2015-06-25 独立行政法人海上技術安全研究所 Stern duct, stern attachment, method of designing stern duct, and ship equipped with stern duct
KR20160000326A (en) 2014-06-24 2016-01-04 현대중공업 주식회사 Ship propulsion unit that apply asymmetry duct
KR20160002232A (en) 2014-06-30 2016-01-07 현대중공업 주식회사 Ship propulsion unit that rectifier unit is applied
KR20160032475A (en) * 2014-09-16 2016-03-24 현대중공업 주식회사 Duct for ship
EP3210876A1 (en) 2014-10-24 2017-08-30 Samsung Heavy Ind. Co., Ltd. Propelling efficiency enhancing device
KR20160058370A (en) * 2014-11-14 2016-05-25 한국해양과학기술원 Asymmetric fan-shaped duct for energy saving of ship
KR20160149877A (en) 2015-06-19 2016-12-28 현대중공업 주식회사 A propulsion apparatus for ship
WO2017038862A1 (en) 2015-08-31 2017-03-09 国立研究開発法人 海上・港湾・航空技術研究所 Ship and stern shape having stern duct
KR20160000450A (en) 2015-10-13 2016-01-04 현대중공업 주식회사 Ship propulsion unit that apply duct
KR20180083463A (en) 2017-01-12 2018-07-23 성동조선해양(주) Pre-swirl stator including annular structure

Non-Patent Citations (13)

* Cited by examiner, † Cited by third party
Title
D18a - BMS 10704-01 Photo Report
D18b - 10704-01 Product certificate ABS
D18c - BMS 10704 ABS Approval Letter
D18d - BMS 10704 BECKER TWISTED Fin welded_R-0.1093436_ABS approved
D18e - BMS 10704 BECKER TWISTED Fin fin welded_R-0.1093430_ABS approved
D19a - BMS 10704-02 Photo Report
D19b - 10704-02 Product certificate ABS
D20a - BMS 10680-01 (HHIC-Phil P0149) BTF installation fit-up
D20b - CERT BV OT133-54_BMS10680-01
D20c - BMS 10680 BECKER TWISTED Fin welded_R-0_1070394-B-BV approved
D20d - BMS 10680 BECKER TWISTED Fin fin welded_R-0_1070384-A-BV approved
D21 - CERT BV OT133-55_BMS10680-02
D22 - CERT BV OT133-56_BMS10680-03

Also Published As

Publication number Publication date
EP3705392A4 (en) 2021-08-04
JP2021501089A (en) 2021-01-14
SG11202003855RA (en) 2020-05-28
JP7145945B2 (en) 2022-10-03
CN111295329A (en) 2020-06-16
ES3015733T3 (en) 2025-05-07
WO2019088696A1 (en) 2019-05-09
EP3705392A1 (en) 2020-09-09
EP3705392C0 (en) 2025-03-05

Similar Documents

Publication Publication Date Title
EP3705392B1 (en) Apparatus for enhancing propulsion efficiency
KR101554522B1 (en) Ship propulsion device and ship with same
JP5539025B2 (en) Front fixed wing with duct
KR101506911B1 (en) Ship propulsion device and ship with same
EP3495257B1 (en) Propeller setting small duct, and ship
CN107428403B (en) ship
KR101684367B1 (en) Ducted Pre-Swirl Stator
JP6478228B2 (en) Stern shape and ship with stern duct and fins
KR102060495B1 (en) Propulsion efficiency enhancing apparatus
KR102027269B1 (en) Propulsion efficiency enhancing apparatus
KR20190115719A (en) Ship propeller
KR20090054659A (en) Asymmetric cross section rudder for cavitation reduction
KR102027271B1 (en) Propulsion efficiency enhancing apparatus
KR102027270B1 (en) Propulsion efficiency enhancing apparatus
KR101764400B1 (en) Duct apparatus for ship with twist type stator
JP5244341B2 (en) Marine propulsion device and design method for marine propulsion device
JP2017531594A (en) Propulsion efficiency improvement device
KR20050102971A (en) Propeller with a curved rake
CN102951280A (en) Asymmetrically twisted flow control flap for a marine vessel
KR20190048483A (en) Propulsion efficiency enhancing apparatus
KR20210137337A (en) Full spade rudder having diverge type bulb
KR20230094685A (en) Pre-swirl stator having coanda effect
JP2021091250A (en) Stern structure
WO2014068771A1 (en) Ship propulsion device and ship provided with same
KR20140045660A (en) Ship propeller raked to the stern

Legal Events

Date Code Title Description
STAA Information on the status of an ep patent application or granted ep patent

Free format text: STATUS: THE INTERNATIONAL PUBLICATION HAS BEEN MADE

PUAI Public reference made under article 153(3) epc to a published international application that has entered the european phase

Free format text: ORIGINAL CODE: 0009012

STAA Information on the status of an ep patent application or granted ep patent

Free format text: STATUS: REQUEST FOR EXAMINATION WAS MADE

17P Request for examination filed

Effective date: 20200416

AK Designated contracting states

Kind code of ref document: A1

Designated state(s): AL AT BE BG CH CY CZ DE DK EE ES FI FR GB GR HR HU IE IS IT LI LT LU LV MC MK MT NL NO PL PT RO RS SE SI SK SM TR

AX Request for extension of the european patent

Extension state: BA ME

DAV Request for validation of the european patent (deleted)
DAX Request for extension of the european patent (deleted)
A4 Supplementary search report drawn up and despatched

Effective date: 20210702

RIC1 Information provided on ipc code assigned before grant

Ipc: B63H 5/16 20060101AFI20210628BHEP

Ipc: B63H 1/28 20060101ALI20210628BHEP

STAA Information on the status of an ep patent application or granted ep patent

Free format text: STATUS: EXAMINATION IS IN PROGRESS

17Q First examination report despatched

Effective date: 20231218

GRAP Despatch of communication of intention to grant a patent

Free format text: ORIGINAL CODE: EPIDOSNIGR1

STAA Information on the status of an ep patent application or granted ep patent

Free format text: STATUS: GRANT OF PATENT IS INTENDED

INTG Intention to grant announced

Effective date: 20241113

GRAS Grant fee paid

Free format text: ORIGINAL CODE: EPIDOSNIGR3

GRAA (expected) grant

Free format text: ORIGINAL CODE: 0009210

STAA Information on the status of an ep patent application or granted ep patent

Free format text: STATUS: THE PATENT HAS BEEN GRANTED

AK Designated contracting states

Kind code of ref document: B1

Designated state(s): AL AT BE BG CH CY CZ DE DK EE ES FI FR GB GR HR HU IE IS IT LI LT LU LV MC MK MT NL NO PL PT RO RS SE SI SK SM TR

REG Reference to a national code

Ref country code: GB

Ref legal event code: FG4D

REG Reference to a national code

Ref country code: CH

Ref legal event code: EP

REG Reference to a national code

Ref country code: IE

Ref legal event code: FG4D

REG Reference to a national code

Ref country code: DE

Ref legal event code: R096

Ref document number: 602018079918

Country of ref document: DE

U01 Request for unitary effect filed

Effective date: 20250305

RAP4 Party data changed (patent owner data changed or rights of a patent transferred)

Owner name: SAMSUNG HEAVY INDUSTRIES CO., LTD.

U07 Unitary effect registered

Designated state(s): AT BE BG DE DK EE FI FR IT LT LU LV MT NL PT RO SE SI

Effective date: 20250321

PG25 Lapsed in a contracting state [announced via postgrant information from national office to epo]

Ref country code: RS

Free format text: LAPSE BECAUSE OF FAILURE TO SUBMIT A TRANSLATION OF THE DESCRIPTION OR TO PAY THE FEE WITHIN THE PRESCRIBED TIME-LIMIT

Effective date: 20250605

PG25 Lapsed in a contracting state [announced via postgrant information from national office to epo]

Ref country code: NO

Free format text: LAPSE BECAUSE OF FAILURE TO SUBMIT A TRANSLATION OF THE DESCRIPTION OR TO PAY THE FEE WITHIN THE PRESCRIBED TIME-LIMIT

Effective date: 20250605

PG25 Lapsed in a contracting state [announced via postgrant information from national office to epo]

Ref country code: HR

Free format text: LAPSE BECAUSE OF FAILURE TO SUBMIT A TRANSLATION OF THE DESCRIPTION OR TO PAY THE FEE WITHIN THE PRESCRIBED TIME-LIMIT

Effective date: 20250305

PG25 Lapsed in a contracting state [announced via postgrant information from national office to epo]

Ref country code: GR

Free format text: LAPSE BECAUSE OF FAILURE TO SUBMIT A TRANSLATION OF THE DESCRIPTION OR TO PAY THE FEE WITHIN THE PRESCRIBED TIME-LIMIT

Effective date: 20250606

PG25 Lapsed in a contracting state [announced via postgrant information from national office to epo]

Ref country code: SM

Free format text: LAPSE BECAUSE OF FAILURE TO SUBMIT A TRANSLATION OF THE DESCRIPTION OR TO PAY THE FEE WITHIN THE PRESCRIBED TIME-LIMIT

Effective date: 20250305

PG25 Lapsed in a contracting state [announced via postgrant information from national office to epo]

Ref country code: PL

Free format text: LAPSE BECAUSE OF FAILURE TO SUBMIT A TRANSLATION OF THE DESCRIPTION OR TO PAY THE FEE WITHIN THE PRESCRIBED TIME-LIMIT

Effective date: 20250305

PGFP Annual fee paid to national office [announced via postgrant information from national office to epo]

Ref country code: GB

Payment date: 20250911

Year of fee payment: 8

PG25 Lapsed in a contracting state [announced via postgrant information from national office to epo]

Ref country code: CZ

Free format text: LAPSE BECAUSE OF FAILURE TO SUBMIT A TRANSLATION OF THE DESCRIPTION OR TO PAY THE FEE WITHIN THE PRESCRIBED TIME-LIMIT

Effective date: 20250305

PG25 Lapsed in a contracting state [announced via postgrant information from national office to epo]

Ref country code: SK

Free format text: LAPSE BECAUSE OF FAILURE TO SUBMIT A TRANSLATION OF THE DESCRIPTION OR TO PAY THE FEE WITHIN THE PRESCRIBED TIME-LIMIT

Effective date: 20250305

PG25 Lapsed in a contracting state [announced via postgrant information from national office to epo]

Ref country code: IS

Free format text: LAPSE BECAUSE OF FAILURE TO SUBMIT A TRANSLATION OF THE DESCRIPTION OR TO PAY THE FEE WITHIN THE PRESCRIBED TIME-LIMIT

Effective date: 20250705

U20 Renewal fee for the european patent with unitary effect paid

Year of fee payment: 8

Effective date: 20250922