EP3414352B1 - Al-cu-li-mg-mn-zn alloy wrought product - Google Patents
Al-cu-li-mg-mn-zn alloy wrought product Download PDFInfo
- Publication number
- EP3414352B1 EP3414352B1 EP17702339.7A EP17702339A EP3414352B1 EP 3414352 B1 EP3414352 B1 EP 3414352B1 EP 17702339 A EP17702339 A EP 17702339A EP 3414352 B1 EP3414352 B1 EP 3414352B1
- Authority
- EP
- European Patent Office
- Prior art keywords
- product
- aluminium alloy
- range
- stock
- alloy
- Prior art date
- Legal status (The legal status is an assumption and is not a legal conclusion. Google has not performed a legal analysis and makes no representation as to the accuracy of the status listed.)
- Revoked
Links
- 229910001297 Zn alloy Inorganic materials 0.000 title 1
- 229910045601 alloy Inorganic materials 0.000 claims description 75
- 239000000956 alloy Substances 0.000 claims description 75
- 229910000838 Al alloy Inorganic materials 0.000 claims description 28
- 239000004411 aluminium Substances 0.000 claims description 13
- XAGFODPZIPBFFR-UHFFFAOYSA-N aluminium Chemical compound [Al] XAGFODPZIPBFFR-UHFFFAOYSA-N 0.000 claims description 13
- 229910052782 aluminium Inorganic materials 0.000 claims description 13
- 239000000203 mixture Substances 0.000 claims description 13
- 238000000034 method Methods 0.000 claims description 12
- 230000032683 aging Effects 0.000 claims description 11
- 238000005266 casting Methods 0.000 claims description 10
- 239000012535 impurity Substances 0.000 claims description 7
- 238000005096 rolling process Methods 0.000 claims description 7
- 238000001125 extrusion Methods 0.000 claims description 6
- 238000004519 manufacturing process Methods 0.000 claims description 6
- 238000005242 forging Methods 0.000 claims description 5
- 238000010438 heat treatment Methods 0.000 claims description 5
- 239000000243 solution Substances 0.000 claims description 5
- 238000005482 strain hardening Methods 0.000 claims description 5
- 238000000265 homogenisation Methods 0.000 claims description 4
- 230000035882 stress Effects 0.000 claims description 4
- 238000001816 cooling Methods 0.000 claims description 3
- 235000012438 extruded product Nutrition 0.000 claims description 3
- 239000000126 substance Substances 0.000 claims description 3
- 238000005097 cold rolling Methods 0.000 claims description 2
- 239000000470 constituent Substances 0.000 claims description 2
- 239000006104 solid solution Substances 0.000 claims description 2
- 239000000047 product Substances 0.000 description 53
- 238000007792 addition Methods 0.000 description 19
- 239000010949 copper Substances 0.000 description 18
- 239000011777 magnesium Substances 0.000 description 17
- 239000011572 manganese Substances 0.000 description 16
- 229910052744 lithium Inorganic materials 0.000 description 14
- 229910052749 magnesium Inorganic materials 0.000 description 11
- 229910052802 copper Inorganic materials 0.000 description 10
- 239000011701 zinc Substances 0.000 description 10
- 229910052748 manganese Inorganic materials 0.000 description 9
- 238000010791 quenching Methods 0.000 description 9
- 229910052709 silver Inorganic materials 0.000 description 9
- WHXSMMKQMYFTQS-UHFFFAOYSA-N Lithium Chemical compound [Li] WHXSMMKQMYFTQS-UHFFFAOYSA-N 0.000 description 8
- 238000005275 alloying Methods 0.000 description 8
- 239000010936 titanium Substances 0.000 description 8
- 230000007797 corrosion Effects 0.000 description 7
- 238000005260 corrosion Methods 0.000 description 7
- 230000000171 quenching effect Effects 0.000 description 6
- 229910052725 zinc Inorganic materials 0.000 description 6
- 229910052726 zirconium Inorganic materials 0.000 description 6
- RYGMFSIKBFXOCR-UHFFFAOYSA-N Copper Chemical compound [Cu] RYGMFSIKBFXOCR-UHFFFAOYSA-N 0.000 description 5
- 229910052742 iron Inorganic materials 0.000 description 5
- BQCADISMDOOEFD-UHFFFAOYSA-N Silver Chemical compound [Ag] BQCADISMDOOEFD-UHFFFAOYSA-N 0.000 description 4
- 239000001989 lithium alloy Substances 0.000 description 4
- 239000004332 silver Substances 0.000 description 4
- 229910052719 titanium Inorganic materials 0.000 description 4
- 229910017539 Cu-Li Inorganic materials 0.000 description 3
- FYYHWMGAXLPEAU-UHFFFAOYSA-N Magnesium Chemical compound [Mg] FYYHWMGAXLPEAU-UHFFFAOYSA-N 0.000 description 3
- 229910001093 Zr alloy Inorganic materials 0.000 description 3
- 230000008901 benefit Effects 0.000 description 3
- 229910052804 chromium Inorganic materials 0.000 description 3
- 230000007423 decrease Effects 0.000 description 3
- 230000000694 effects Effects 0.000 description 3
- 229910052735 hafnium Inorganic materials 0.000 description 3
- XLYOFNOQVPJJNP-UHFFFAOYSA-N water Substances O XLYOFNOQVPJJNP-UHFFFAOYSA-N 0.000 description 3
- ZOXJGFHDIHLPTG-UHFFFAOYSA-N Boron Chemical compound [B] ZOXJGFHDIHLPTG-UHFFFAOYSA-N 0.000 description 2
- OKTJSMMVPCPJKN-UHFFFAOYSA-N Carbon Chemical compound [C] OKTJSMMVPCPJKN-UHFFFAOYSA-N 0.000 description 2
- PWHULOQIROXLJO-UHFFFAOYSA-N Manganese Chemical compound [Mn] PWHULOQIROXLJO-UHFFFAOYSA-N 0.000 description 2
- RTAQQCXQSZGOHL-UHFFFAOYSA-N Titanium Chemical compound [Ti] RTAQQCXQSZGOHL-UHFFFAOYSA-N 0.000 description 2
- HCHKCACWOHOZIP-UHFFFAOYSA-N Zinc Chemical compound [Zn] HCHKCACWOHOZIP-UHFFFAOYSA-N 0.000 description 2
- QCWXUUIWCKQGHC-UHFFFAOYSA-N Zirconium Chemical compound [Zr] QCWXUUIWCKQGHC-UHFFFAOYSA-N 0.000 description 2
- 230000002411 adverse Effects 0.000 description 2
- 229910052796 boron Inorganic materials 0.000 description 2
- 229910052799 carbon Inorganic materials 0.000 description 2
- 238000005253 cladding Methods 0.000 description 2
- 238000005098 hot rolling Methods 0.000 description 2
- 238000007654 immersion Methods 0.000 description 2
- 239000000463 material Substances 0.000 description 2
- 229910052751 metal Inorganic materials 0.000 description 2
- 239000002184 metal Substances 0.000 description 2
- 239000007921 spray Substances 0.000 description 2
- 238000012360 testing method Methods 0.000 description 2
- 238000003466 welding Methods 0.000 description 2
- 229910001148 Al-Li alloy Inorganic materials 0.000 description 1
- 239000002970 Calcium lactobionate Substances 0.000 description 1
- 229910000733 Li alloy Inorganic materials 0.000 description 1
- 241000256259 Noctuidae Species 0.000 description 1
- 206010070834 Sensitisation Diseases 0.000 description 1
- FCVHBUFELUXTLR-UHFFFAOYSA-N [Li].[AlH3] Chemical compound [Li].[AlH3] FCVHBUFELUXTLR-UHFFFAOYSA-N 0.000 description 1
- 239000007795 chemical reaction product Substances 0.000 description 1
- 238000010276 construction Methods 0.000 description 1
- 238000009749 continuous casting Methods 0.000 description 1
- 238000007689 inspection Methods 0.000 description 1
- 229910001095 light aluminium alloy Inorganic materials 0.000 description 1
- 230000007774 longterm Effects 0.000 description 1
- 238000012986 modification Methods 0.000 description 1
- 230000004048 modification Effects 0.000 description 1
- 230000001376 precipitating effect Effects 0.000 description 1
- 230000004044 response Effects 0.000 description 1
- 229910052706 scandium Inorganic materials 0.000 description 1
- 238000005204 segregation Methods 0.000 description 1
- 230000035945 sensitivity Effects 0.000 description 1
- 230000008313 sensitization Effects 0.000 description 1
- 238000002791 soaking Methods 0.000 description 1
- 239000003351 stiffener Substances 0.000 description 1
- 238000009827 uniform distribution Methods 0.000 description 1
Images
Classifications
-
- C—CHEMISTRY; METALLURGY
- C22—METALLURGY; FERROUS OR NON-FERROUS ALLOYS; TREATMENT OF ALLOYS OR NON-FERROUS METALS
- C22C—ALLOYS
- C22C21/00—Alloys based on aluminium
- C22C21/12—Alloys based on aluminium with copper as the next major constituent
- C22C21/16—Alloys based on aluminium with copper as the next major constituent with magnesium
-
- C—CHEMISTRY; METALLURGY
- C22—METALLURGY; FERROUS OR NON-FERROUS ALLOYS; TREATMENT OF ALLOYS OR NON-FERROUS METALS
- C22C—ALLOYS
- C22C21/00—Alloys based on aluminium
- C22C21/12—Alloys based on aluminium with copper as the next major constituent
- C22C21/14—Alloys based on aluminium with copper as the next major constituent with silicon
-
- C—CHEMISTRY; METALLURGY
- C22—METALLURGY; FERROUS OR NON-FERROUS ALLOYS; TREATMENT OF ALLOYS OR NON-FERROUS METALS
- C22C—ALLOYS
- C22C21/00—Alloys based on aluminium
- C22C21/12—Alloys based on aluminium with copper as the next major constituent
- C22C21/18—Alloys based on aluminium with copper as the next major constituent with zinc
-
- C—CHEMISTRY; METALLURGY
- C22—METALLURGY; FERROUS OR NON-FERROUS ALLOYS; TREATMENT OF ALLOYS OR NON-FERROUS METALS
- C22F—CHANGING THE PHYSICAL STRUCTURE OF NON-FERROUS METALS AND NON-FERROUS ALLOYS
- C22F1/00—Changing the physical structure of non-ferrous metals or alloys by heat treatment or by hot or cold working
- C22F1/04—Changing the physical structure of non-ferrous metals or alloys by heat treatment or by hot or cold working of aluminium or alloys based thereon
- C22F1/057—Changing the physical structure of non-ferrous metals or alloys by heat treatment or by hot or cold working of aluminium or alloys based thereon of alloys with copper as the next major constituent
Definitions
- the invention relates to an Al-Cu-Li wrought alloy product, more in particular an Al-Cu-Li-Mg-Mn-Zn type alloy product for structural members. Products made from this aluminium alloy product are very suitable for aerospace applications, but not limited to that.
- the alloy can be processed to various product forms, e.g. sheet, thin plate, thick plate, extruded or forged products.
- Aluminium Association alloys such as AA2090 and AA2091 contain about 2.0% lithium, which translates into about a 7% weight savings over alloys containing no lithium. Aluminium alloys AA2094 and AA2095 contain about 1.2% lithium. Another aluminium alloy, AA8090 contains about 2.5% lithium, which translates into an almost 10% weight savings over alloys without lithium.
- Patent document US-2004/0071586 discloses a broad range for an aluminium alloy comprising, 3 to 5% of Cu, 0.5% to 2% of Mg, and 0.01% to 0.9% of Li. It is disclosed that the Li content should remain at a low level in combination with having controlled amounts of Cu and Mg to provide the desired levels of fracture toughness and strength. Preferably the Cu and Mg are present in the alloy in a total amount below a solubility limit of the alloy.
- Patent document WO-2004/106570 discloses an Al-Cu-Li-Mg-Ag-Mn-Zr alloy for use as a structural member.
- the alloy has 2.5% to 5.5% Cu, 0.1% to 2.5% Li, 0.2% to 1% Mg, 0.2% to 0.8% Ag, 0.2% to 0.8% Mn, and up to 0.3% Zr, balance aluminium. It is known in the art that this patent document covers the AA2050 alloy being registered with in Aluminium Association in 2004 and having a registered alloy composition of: Cu 3.2 - 3.9 Li 0.7 - 1.3 Mg 0.20 - 0.6 Ag 0.20 - 0.7 Mn 0.20 - 0.50 Zr 0.06 - 0.14
- Patent document US-2007/0181229 discloses an aluminium alloy having 2.1% to 2.8% Cu, 1.1% to 1.7% Li, 0.1% to 0.8% Ag, 0.2% to 0.6% Mg, 0.2% to 0.6% Mn, a content of Fe and Si less or equal to 0.1% each, balance impurities and aluminium, and wherein the alloy is substantially zirconium free.
- the low Zr content is reported to increase the toughness.
- Patent document WO-2009/036953 discloses an Al-Cu-Li-Mg-Ag-Zn-Mn-Zr alloy for use as an aircraft structural member.
- the alloy has Cu 3.4% to 5.0%, Li 0.9% to 1.7%, Mg 0.2% to 0.8%, Ag 0.1% to 0.8%, Mn 0.1% to 0.9%, Zn max. 1.5%, one or more elements selected from the group (Zr, Cr, Ti, Sc, Hf).
- Patent document WO-2009/073794 discloses an Al-Cu-Li-Mg-Ag-Zn-Mn-Zr alloy for use as an aircraft structural member.
- the alloy has Cu 3.4% to 4.2%, Li 0.9% to 1.4%, Ag 0.3% to 0.7%, Mg 0.1% to 0.6%, Zn 0.2% to 0.8%, Mn 0.1% to 0.6%, and 0.01% to 0.6% of a grain structure control element.
- Patent document WO2015/082779 discloses an Al-Ci-Li alloy product is the form of an rolled or forged product having a thickness of 14 to 100 mm, and wherein the alloy has 1.8% to 2.6% Cu, 1.3% to 1.8% Li, 0.1% to 0.5% Mg, 0.1% to 0.5% Mn with Zr ⁇ 0.05%, or ⁇ 0.05% Mn with 0.10% to 0.16% Zr, 0 to 0.5% Ag, ⁇ 0.20% Zn, 0.01% to 0.15% Ti, ⁇ 0.1% Fe, ⁇ 0.1% Si.
- the material is in particular suitable for manufacturing airplane underwing elements.
- alloy designations and temper designations refer to the Aluminium Association designations in Aluminium Standards and Data and the Registration Records, as published by the Aluminium Association in 2015 and known to the skilled person.
- the term "about" when used to describe a compositional range or amount of an alloying addition means that the actual amount of the alloying addition may vary from the nominal intended amount due to factors such as standard processing variations as understood by those skilled in the art.
- up to 0.07% Fe may include an alloy having no Fe.
- an aluminium alloy wrought product for structural members having a chemical composition consisting of, in wt.%: Cu 3.2% to 4.4%, Li 0.8% to 1.4%, Mg 0.20% to 0.90%, Mn 0.10% to 0.8%, Zn 0.20% to 0.80%, one or more elements selected from the group consisting of: (Zr 0.05% to 0.25%, Cr 0.05% to 0.30%, Ti 0.01% to 0.25%, Sc 0.05% to 0.4%, Hf 0.05% to 0.4%), Ag ⁇ 0.05%, Fe ⁇ 0.15%, Si ⁇ 0.15%, unavoidable impurities and balance aluminium.
- the alloy wrought product may contain normal and inevitable impurities, typically each ⁇ 0.05% and the total ⁇ 0.15%, and the balance is made by aluminium.
- this compositional range offers a good balance of strength, fracture toughness and corrosion resistance meeting the requirements for commercial delivery and also offering a very good thermal stability after being long term aged or exposed for 1000 hours at 85°C.
- Copper is one of the main alloying elements in the alloy product and is added to increase the strength of the alloy product. Care must be taken, however, to not add too much copper since the corrosion resistance can be reduced. Also, copper additions beyond maximum solubility will lead to low fracture toughness and low damage tolerance.
- the upper-limit for the Cu-content is for that reason 4.4%, and preferably about 4.2%, and more preferably about 4.10%.
- a preferred lower-limit is about 3.6%, and more preferably about 3.75%, and most preferably about 3.85%.
- Magnesium is another main alloying element in the alloy product and is added to increase strength and reduce density. Care should be taken, however, to not add too much magnesium in combination with copper since additions beyond maximum solubility will lead to low fracture toughness and low damage tolerance.
- a more preferred lower-limit for the Mg addition is about 0.35%, more preferably 0.38%.
- a more preferred upper-limit is about 0.65%, and more preferably 0.55%. It has been found that at a level of above 0.8% the further addition of Mg may result in a decrease in toughness of the alloy product.
- Lithium is another important alloying element in the wrought product of this invention and added together with the copper and magnesium to obtain an improved combination of fracture toughness and strength.
- a preferred lower-limit for the Li addition is 0.9%, and more preferably 1.0%.
- a preferred upper-limit for the Li addition is less than 1.30%.
- a too high Li content has adverse effect on the damage tolerance properties of the alloy product in particular with the relatively high Cu levels in the alloy product of this invention.
- the zinc is purposively added to improve strength and the corrosion resistance and in addition it has a small effect on the damage tolerance properties of the alloy product.
- the zinc is typically present in a range of 0.2% to 0.80%.
- a preferred lower-limit for the Zn-content is 0.25%.
- a preferred upper-limit for the Zn-content is about 0.70%, and more preferably about 0.65%.
- the silver content is less than 0.05%.
- the silver content is less than about 0.02%, such that the aluminium alloy is substantially free from Ag.
- substantially free or “essentially free” is meant that no purposeful addition was made to the chemical composition but that due to impurities and/or leaking from contact with manufacturing equipment, trace quantities of Ag may nevertheless find their way into the alloy product.
- less than 0.01% is an example of a trace quantity. That the alloy product has a very low Ag content makes the alloy product more cost effective in comparison to the many Al-Cu-Li alloy known in the art having a purposive addition of Ag, while still offering a good balance of engineering properties in combination with a very good thermal stability.
- the manganese addition is to control the grain structure by providing a more uniform distribution of the main precipitating phases, a reduced grain size and thereby further increases strength in particular.
- the Mn addition should not exceed about 0.8% and should be at least about 0.10%.
- a preferred lower-limit for the manganese addition is at least about 0.20%, and more preferably at least 0.30%.
- a preferred upper-limit for the Mn addition is about 0.6%, and more preferably about 0.55%.
- a too high Mn content results in a decrease in both the yield strength and fracture toughness.
- alloy product of the present invention contains at least one element selected from the defined group of Zr, Cr, Ti, Sc, and Hf.
- zirconium to the alloy product in a range of 0.05% to 0.25%, and preferably in a range of 0.05% to 0.15%.
- a too low Zr addition has an adverse on the unit propagation energy of the alloy wrought product.
- Ti can be added to the alloy product amongst others for grain refiner purposes during casting of the alloy stock, e.g. ingots or billets.
- the addition of Ti should not exceed 0.25%.
- a preferred lower limit for the Ti addition is about 0.01%.
- Ti can be added as a sole element or with either boron or carbon serving as a casting aid, for grain size control.
- the Si content in the alloy product is present as an impurity element of less than 0.15%, and should be present at the lower-end of this range, e.g. less than about 0.10%, and more preferably less than 0.07%, to maintain fracture toughness properties at desired levels.
- the Fe content in the alloy product should be less than 0.15%.
- the lower-end of this range is preferred, e.g. less than about 0.1%, and more preferably less than about 0.07% to maintain in particular the toughness at a sufficiently high level.
- a higher Fe content can be tolerated.
- the product is in the form of a rolled, extruded or forged product, and more preferably the product is in the form of a sheet, plate, forging or extrusion as part of an aircraft structural part.
- the alloy product is provided in the form of an extruded product.
- the alloy product is provided in the form of a plate product, preferably having a thickness of 12.0 to 175 mm, and preferably of at least 75 mm.
- the plate product provides a good balance in engineering properties, in particular strength and has shown reduced quench sensitivity.
- the part When used as part of an aircraft structural part the part can be for example a fuselage sheet, upper wing plate, lower wing plate, thick plate for machined parts, forging or thin sheet for stringers.
- Resistance to intergranular corrosion of the alloy products of the present invention is generally high, for example, typically only pitting is detected when the metal is submitted to corrosion testing according to MASTMAASIS (ASTM-69 A2-85).
- the sheet and light gauge plate may also be clad, with preferred cladding thickness of from about 1% to about 8% of the thickness of the sheet or plate.
- the cladding is typically a low composition aluminium alloy.
- the aluminium alloy can be provided as an ingot or slab or billet for fabrication into a suitable wrought product by casting techniques regular in the art for cast products, e.g. DC-casting, EMC-casting, EMS-casting.
- Grain refiners such as those containing titanium and boron, or titanium and carbon, may also be used as is known in the art.
- the ingot is commonly scalped to remove segregation zones near the cast surface of the ingot.
- Homogenisation treatment is typically carried out in one or multiple steps, each step having a temperature in the range of about 475°C to 535°C.
- the pre-heat temperature involves heating the hot working stock to the hot-working entry temperature, which is typically in a temperature range of about 440°C to 490°C.
- the stock can be hot worked by one or more methods selected from the group consisting of rolling, extrusion, and forging, preferably using regular industry practice.
- the method of hot rolling is preferred for the present invention.
- the hot working, and hot rolling in particular, may be performed to a final gauge, e.g. 3 mm or less or alternatively thick gauge products.
- the hot working step can be performed to provide stock at intermediate gauge, typical sheet or thin plate. Thereafter, this stock at intermediate gauge can be cold worked, e.g. by means of rolling, to a final gauge.
- an intermediate anneal may be used before or during the cold working operation.
- Solution heat-treatment is typically carried out within the same temperature range as used for homogenisation, although the soaking times that are chosen can be somewhat shorter.
- a typical SHT is carried out at a temperature of 480°C to 525°C for 15 min to about 5 hours. Lower SHT temperatures generally favour high fracture toughness.
- the stock is rapidly cooled or quenched, preferably by one of spray quenching or immersion quenching in water or other quenching media.
- the SHT and quenched stock may be further cold worked, for example, by stretching in the range of about 0.5% to 15% of its original length to relieve residual stresses therein and to improve the flatness of the product.
- the stretching is in the range of about 0.5% to 6%, more preferably of about 0.5% to 4%.
- the stock After cooling the stock is aged, typically at ambient temperatures, and/or alternatively the stock can be artificially aged.
- the alloy product according to this invention is preferably provided in a slightly under-aged T8 condition, in particular a T84 condition, to provide the best balance in strength and damage tolerance properties.
- a desired structural shape is then machined from these heat treated plate sections, more often generally after artificial ageing, for example, an integral wing spar.
- SHT, quench, optional stress relief operations and artificial ageing are also followed in the manufacture of thick sections made by extrusion and/or forged processing steps.
- the ageing step can be divided into two steps: a pre-ageing step prior to a welding operation, and a final heat treatment to form a welded structural member.
- the AlCuLi-alloy product according to this invention can be used amongst others as in the thickness range of at most 0.5 inch (12.5 mm) the properties will be excellent for fuselage sheet. In the thin plate thickness range of 0.7 to 3 inch (17.7 to 76 mm) the properties will be excellent for wing plate, e.g. lower wing plate.
- the thin plate thickness range can be used also for stringers or to form an integral wing panel and stringer for use in an aircraft wing structure. When processed to thicker gauges of more than 3 inch (75 mm) to about 11 inch (280 mm) excellent properties have been obtained for integral part machined from plates, or to form an integral spar for use in an aircraft wing structure, or in the form of a rib for use in an aircraft wing structure.
- the alloy products according to the invention can also be provided in the form of a stepped extrusion or extruded spar or extruded stiffeners for use in an aircraft structure, or in the form of a forged spar for use in an aircraft
- the yield strength or proof strength of the product When applied in the form of a sheet product the yield strength or proof strength of the product should be at least 460 MPa in the L-direction, and preferably at least 480 MPa.
- the yield strength or proof strength of the product When applied in the form of an extruded product, e.g. as a stringer, or in the form of a plate product the yield strength or proof strength of the product should be at least 470 MPa in the L-direction, and more preferably at least 480 MPa.
- These strength levels can be obtained by a selecting the alloy composition within the claimed ranges, and preferably within the preferred narrower ranges, in combination with the artificial ageing practice to a T8 condition.
- the Ag-free alloy was aged for 16h@150°C and the Ag containing alloy for 10.5h@150°C.
- the difference in ageing time to arrive at the T84 temper is due to the difference in silver-content which has an effect on the ageing response.
Landscapes
- Chemical & Material Sciences (AREA)
- Engineering & Computer Science (AREA)
- Materials Engineering (AREA)
- Mechanical Engineering (AREA)
- Metallurgy (AREA)
- Organic Chemistry (AREA)
- Physics & Mathematics (AREA)
- Thermal Sciences (AREA)
- Crystallography & Structural Chemistry (AREA)
- Heat Treatment Of Steel (AREA)
- Extrusion Of Metal (AREA)
- Conductive Materials (AREA)
- Forging (AREA)
Description
- The invention relates to an Al-Cu-Li wrought alloy product, more in particular an Al-Cu-Li-Mg-Mn-Zn type alloy product for structural members. Products made from this aluminium alloy product are very suitable for aerospace applications, but not limited to that. The alloy can be processed to various product forms, e.g. sheet, thin plate, thick plate, extruded or forged products.
- It is generally known in the aerospace industry that one of the most effective ways to reduce the weight of an aircraft is to reduce the density of aluminium alloys used in the aircraft construction. This desire led to the addition of lithium, the lowest density metal element, to aluminium alloys. Aluminium Association alloys, such as AA2090 and AA2091 contain about 2.0% lithium, which translates into about a 7% weight savings over alloys containing no lithium. Aluminium alloys AA2094 and AA2095 contain about 1.2% lithium. Another aluminium alloy, AA8090 contains about 2.5% lithium, which translates into an almost 10% weight savings over alloys without lithium.
- However, casting of such conventional alloys containing relatively high amounts of lithium is difficult. Furthermore, the combined strength and fracture toughness of such alloys is not optimal. A trade-off exists with conventional aluminium-lithium alloys in which fracture toughness decreases with increasing strength. Another important characteristic of aerospace aluminium alloys is fatigue crack growth resistance. For example, in damage tolerant applications in aircraft, increased fatigue crack growth resistance is desirable. Better fatigue crack growth resistance means that cracks will grow slower, thus making airplanes much safer because small cracks can be detected before they achieve critical size for catastrophic propagation. Furthermore, slower crack growth can have an economic benefit due to the fact that longer inspection intervals can be utilized.
- Patent document
US-2004/0071586 discloses a broad range for an aluminium alloy comprising, 3 to 5% of Cu, 0.5% to 2% of Mg, and 0.01% to 0.9% of Li. It is disclosed that the Li content should remain at a low level in combination with having controlled amounts of Cu and Mg to provide the desired levels of fracture toughness and strength. Preferably the Cu and Mg are present in the alloy in a total amount below a solubility limit of the alloy. It is known in the art that this patent document covers the AA2060 alloy being registered with in Aluminium Association in 2011 and having a registered alloy composition of:Cu 3.4 - 4.5 Li 0.6 - 0.9 Mg 0.6 - 1.1 Ag 0.05 - 0.50 Zn 0.30 0.50 Mn 0.10 - 0.50 Zr 0.05 - 0.15 - Patent document
WO-2004/106570 discloses an Al-Cu-Li-Mg-Ag-Mn-Zr alloy for use as a structural member. The alloy has 2.5% to 5.5% Cu, 0.1% to 2.5% Li, 0.2% to 1% Mg, 0.2% to 0.8% Ag, 0.2% to 0.8% Mn, and up to 0.3% Zr, balance aluminium. It is known in the art that this patent document covers the AA2050 alloy being registered with in Aluminium Association in 2004 and having a registered alloy composition of:Cu 3.2 - 3.9 Li 0.7 - 1.3 Mg 0.20 - 0.6 Ag 0.20 - 0.7 Mn 0.20 - 0.50 Zr 0.06 - 0.14 - Patent document
US-2007/0181229 discloses an aluminium alloy having 2.1% to 2.8% Cu, 1.1% to 1.7% Li, 0.1% to 0.8% Ag, 0.2% to 0.6% Mg, 0.2% to 0.6% Mn, a content of Fe and Si less or equal to 0.1% each, balance impurities and aluminium, and wherein the alloy is substantially zirconium free. The low Zr content is reported to increase the toughness. - Patent document
WO-2009/036953 discloses an Al-Cu-Li-Mg-Ag-Zn-Mn-Zr alloy for use as an aircraft structural member. The alloy has Cu 3.4% to 5.0%, Li 0.9% to 1.7%, Mg 0.2% to 0.8%, Ag 0.1% to 0.8%, Mn 0.1% to 0.9%, Zn max. 1.5%, one or more elements selected from the group (Zr, Cr, Ti, Sc, Hf). - Patent document
WO-2009/073794 discloses an Al-Cu-Li-Mg-Ag-Zn-Mn-Zr alloy for use as an aircraft structural member. The alloy has Cu 3.4% to 4.2%, Li 0.9% to 1.4%, Ag 0.3% to 0.7%, Mg 0.1% to 0.6%, Zn 0.2% to 0.8%, Mn 0.1% to 0.6%, and 0.01% to 0.6% of a grain structure control element. It is known in the art that this patent document covers the AA2050 alloy being registered with in Aluminium Association in 2012 and having a registered alloy composition of:Cu 3.2 - 4.2 Li 1.0 - 1.3 Mg 0.20 - 0.6 Zn 0.30 - 0.7 Ag 0.20 - 0.7 Mn 0.10 - 0.50 Zr 0.05 - 0.15 - Patent document
WO2015/082779 discloses an Al-Ci-Li alloy product is the form of an rolled or forged product having a thickness of 14 to 100 mm, and wherein the alloy has 1.8% to 2.6% Cu, 1.3% to 1.8% Li, 0.1% to 0.5% Mg, 0.1% to 0.5% Mn with Zr <0.05%, or <0.05% Mn with 0.10% to 0.16% Zr, 0 to 0.5% Ag, <0.20% Zn, 0.01% to 0.15% Ti, <0.1% Fe, <0.1% Si. The material is in particular suitable for manufacturing airplane underwing elements. - A need exists for an aluminium alloy that is useful in aircraft application which has an improved thermal stability while providing a good balance in strength and fracture toughness.
- As will be appreciated herein below, except as otherwise indicated, alloy designations and temper designations refer to the Aluminium Association designations in Aluminium Standards and Data and the Registration Records, as published by the Aluminium Association in 2015 and known to the skilled person.
- For any description of alloy compositions or preferred alloy compositions, all references to percentages are by weight percent unless otherwise indicated.
- As used herein, the term "about" when used to describe a compositional range or amount of an alloying addition means that the actual amount of the alloying addition may vary from the nominal intended amount due to factors such as standard processing variations as understood by those skilled in the art.
- The term "up to" and "up to about", as employed herein, explicitly includes, but is not limited to, the possibility of zero weight-percent of the particular alloying component to which it refers. For example, up to 0.07% Fe may include an alloy having no Fe.
- It is an object of the present invention to provide an improved AlCuLi-type alloy wrought product, or at least an alternative product, ideally for structural members, having a good balance of high strength and fracture toughness and providing an increased thermal stability.
- These and other objects and further advantages are met or exceeded by the present invention in which there is provided an aluminium alloy wrought product for structural members having a chemical composition consisting of, in wt.%: Cu 3.2% to 4.4%, Li 0.8% to 1.4%, Mg 0.20% to 0.90%, Mn 0.10% to 0.8%, Zn 0.20% to 0.80%, one or more elements selected from the group consisting of: (Zr 0.05% to 0.25%, Cr 0.05% to 0.30%, Ti 0.01% to 0.25%, Sc 0.05% to 0.4%, Hf 0.05% to 0.4%), Ag <0.05%, Fe <0.15%, Si <0.15%, unavoidable impurities and balance aluminium.
- The alloy wrought product may contain normal and inevitable impurities, typically each <0.05% and the total <0.15%, and the balance is made by aluminium.
- In accordance with the invention it has been found that this compositional range, and with preferred narrower ranges, offers a good balance of strength, fracture toughness and corrosion resistance meeting the requirements for commercial delivery and also offering a very good thermal stability after being long term aged or exposed for 1000 hours at 85°C. These advantages are achieved at least in a T8 condition and by selecting the alloying elements within the defined ranges and wherein it is an important aspect that the subject alloy has a very low silver content.
- Copper is one of the main alloying elements in the alloy product and is added to increase the strength of the alloy product. Care must be taken, however, to not add too much copper since the corrosion resistance can be reduced. Also, copper additions beyond maximum solubility will lead to low fracture toughness and low damage tolerance. The upper-limit for the Cu-content is for that reason 4.4%, and preferably about 4.2%, and more preferably about 4.10%. A preferred lower-limit is about 3.6%, and more preferably about 3.75%, and most preferably about 3.85%.
- Magnesium is another main alloying element in the alloy product and is added to increase strength and reduce density. Care should be taken, however, to not add too much magnesium in combination with copper since additions beyond maximum solubility will lead to low fracture toughness and low damage tolerance. A more preferred lower-limit for the Mg addition is about 0.35%, more preferably 0.38%. A more preferred upper-limit is about 0.65%, and more preferably 0.55%. It has been found that at a level of above 0.8% the further addition of Mg may result in a decrease in toughness of the alloy product.
- Lithium is another important alloying element in the wrought product of this invention and added together with the copper and magnesium to obtain an improved combination of fracture toughness and strength. A preferred lower-limit for the Li addition is 0.9%, and more preferably 1.0%. A preferred upper-limit for the Li addition is less than 1.30%. A too high Li content has adverse effect on the damage tolerance properties of the alloy product in particular with the relatively high Cu levels in the alloy product of this invention.
- The zinc is purposively added to improve strength and the corrosion resistance and in addition it has a small effect on the damage tolerance properties of the alloy product. In the alloy product the zinc is typically present in a range of 0.2% to 0.80%. A preferred lower-limit for the Zn-content is 0.25%. A preferred upper-limit for the Zn-content is about 0.70%, and more preferably about 0.65%.
- It is an important aspect of the invention that the silver content is less than 0.05%. In an embodiment the silver content is less than about 0.02%, such that the aluminium alloy is substantially free from Ag. With "substantially free" or "essentially free" is meant that no purposeful addition was made to the chemical composition but that due to impurities and/or leaking from contact with manufacturing equipment, trace quantities of Ag may nevertheless find their way into the alloy product. For example, less than 0.01% is an example of a trace quantity. That the alloy product has a very low Ag content makes the alloy product more cost effective in comparison to the many Al-Cu-Li alloy known in the art having a purposive addition of Ag, while still offering a good balance of engineering properties in combination with a very good thermal stability.
- The manganese addition is to control the grain structure by providing a more uniform distribution of the main precipitating phases, a reduced grain size and thereby further increases strength in particular. The Mn addition should not exceed about 0.8% and should be at least about 0.10%. A preferred lower-limit for the manganese addition is at least about 0.20%, and more preferably at least 0.30%. A preferred upper-limit for the Mn addition is about 0.6%, and more preferably about 0.55%. A too high Mn content results in a decrease in both the yield strength and fracture toughness.
- In addition the alloy product of the present invention contains at least one element selected from the defined group of Zr, Cr, Ti, Sc, and Hf.
- It is preferred to add zirconium to the alloy product in a range of 0.05% to 0.25%, and preferably in a range of 0.05% to 0.15%. A too low Zr addition has an adverse on the unit propagation energy of the alloy wrought product.
- Ti can be added to the alloy product amongst others for grain refiner purposes during casting of the alloy stock, e.g. ingots or billets. The addition of Ti should not exceed 0.25%. A preferred lower limit for the Ti addition is about 0.01%. Ti can be added as a sole element or with either boron or carbon serving as a casting aid, for grain size control.
- The Si content in the alloy product is present as an impurity element of less than 0.15%, and should be present at the lower-end of this range, e.g. less than about 0.10%, and more preferably less than 0.07%, to maintain fracture toughness properties at desired levels.
- The Fe content in the alloy product should be less than 0.15%. When the alloy product is used for aerospace application the lower-end of this range is preferred, e.g. less than about 0.1%, and more preferably less than about 0.07% to maintain in particular the toughness at a sufficiently high level. Where the alloy product is used for non-aerospace applications, such as tooling plate, a higher Fe content can be tolerated.
- In an embodiment of the alloy product the product is in the form of a rolled, extruded or forged product, and more preferably the product is in the form of a sheet, plate, forging or extrusion as part of an aircraft structural part.
- In a preferred embodiment the alloy product is provided in the form of an extruded product.
- In a preferred embodiment the alloy product is provided in the form of a plate product, preferably having a thickness of 12.0 to 175 mm, and preferably of at least 75 mm. The plate product provides a good balance in engineering properties, in particular strength and has shown reduced quench sensitivity.
- When used as part of an aircraft structural part the part can be for example a fuselage sheet, upper wing plate, lower wing plate, thick plate for machined parts, forging or thin sheet for stringers.
- Resistance to intergranular corrosion of the alloy products of the present invention is generally high, for example, typically only pitting is detected when the metal is submitted to corrosion testing according to MASTMAASIS (ASTM-69 A2-85). However, the sheet and light gauge plate may also be clad, with preferred cladding thickness of from about 1% to about 8% of the thickness of the sheet or plate. The cladding is typically a low composition aluminium alloy.
- In a further aspect of the invention it relates to a method of manufacturing a wrought aluminium alloy product of an Al-Cu-Li alloy, the method comprising the steps of:
- a. casting stock of an ingot of an AlCuLi-alloy according to this invention,
- b. preheating and/or homogenizing the cast stock;
- c. hot working the stock by one or more methods selected from the group consisting of rolling, extrusion, and forging;
- d. optionally cold working the hot worked stock;
- e. solution heat treating ("SHT") of the hot worked and/or optionally cold worked stock, the SHT is carried out at a temperature and time sufficient to place into solid solution the soluble constituents in the aluminium alloy;
- f. cooling the SHT stock, preferably by one of spray quenching or immersion quenching in water or other quenching media;
- g. optionally stretching or compressing the cooled SHT stock or otherwise cold working the cooled SHT stock to relieve stresses, for example levelling or drawing or cold rolling of the cooled SHT stock; and
- h. ageing, preferably artificial ageing, of the cooled and optionally stretched or compressed or otherwise cold worked SHT stock to achieve a desired temper.
- The aluminium alloy can be provided as an ingot or slab or billet for fabrication into a suitable wrought product by casting techniques regular in the art for cast products, e.g. DC-casting, EMC-casting, EMS-casting. Slabs resulting from continuous casting, e.g. belt casters or roll casters, also may be used, which in particular may be advantageous when producing thinner gauge end products. Grain refiners such as those containing titanium and boron, or titanium and carbon, may also be used as is known in the art. After casting the alloy stock, the ingot is commonly scalped to remove segregation zones near the cast surface of the ingot.
- Homogenisation treatment is typically carried out in one or multiple steps, each step having a temperature in the range of about 475°C to 535°C. The pre-heat temperature involves heating the hot working stock to the hot-working entry temperature, which is typically in a temperature range of about 440°C to 490°C.
- Following the preheat and/or homogenisation practice the stock can be hot worked by one or more methods selected from the group consisting of rolling, extrusion, and forging, preferably using regular industry practice. The method of hot rolling is preferred for the present invention.
- The hot working, and hot rolling in particular, may be performed to a final gauge, e.g. 3 mm or less or alternatively thick gauge products. Alternatively, the hot working step can be performed to provide stock at intermediate gauge, typical sheet or thin plate. Thereafter, this stock at intermediate gauge can be cold worked, e.g. by means of rolling, to a final gauge. Depending on the alloy composition and the amount of cold work an intermediate anneal may be used before or during the cold working operation.
- Solution heat-treatment ("SHT") is typically carried out within the same temperature range as used for homogenisation, although the soaking times that are chosen can be somewhat shorter. A typical SHT is carried out at a temperature of 480°C to 525°C for 15 min to about 5 hours. Lower SHT temperatures generally favour high fracture toughness. Following the SHT the stock is rapidly cooled or quenched, preferably by one of spray quenching or immersion quenching in water or other quenching media.
- The SHT and quenched stock may be further cold worked, for example, by stretching in the range of about 0.5% to 15% of its original length to relieve residual stresses therein and to improve the flatness of the product. Preferably the stretching is in the range of about 0.5% to 6%, more preferably of about 0.5% to 4%.
- After cooling the stock is aged, typically at ambient temperatures, and/or alternatively the stock can be artificially aged.
- The alloy product according to this invention is preferably provided in a slightly under-aged T8 condition, in particular a T84 condition, to provide the best balance in strength and damage tolerance properties.
- A desired structural shape is then machined from these heat treated plate sections, more often generally after artificial ageing, for example, an integral wing spar. SHT, quench, optional stress relief operations and artificial ageing are also followed in the manufacture of thick sections made by extrusion and/or forged processing steps.
- In one embodiment of the present invention comprising a welding step, the ageing step can be divided into two steps: a pre-ageing step prior to a welding operation, and a final heat treatment to form a welded structural member.
- The AlCuLi-alloy product according to this invention can be used amongst others as in the thickness range of at most 0.5 inch (12.5 mm) the properties will be excellent for fuselage sheet. In the thin plate thickness range of 0.7 to 3 inch (17.7 to 76 mm) the properties will be excellent for wing plate, e.g. lower wing plate. The thin plate thickness range can be used also for stringers or to form an integral wing panel and stringer for use in an aircraft wing structure. When processed to thicker gauges of more than 3 inch (75 mm) to about 11 inch (280 mm) excellent properties have been obtained for integral part machined from plates, or to form an integral spar for use in an aircraft wing structure, or in the form of a rib for use in an aircraft wing structure. The alloy products according to the invention can also be provided in the form of a stepped extrusion or extruded spar or extruded stiffeners for use in an aircraft structure, or in the form of a forged spar for use in an aircraft wing structure.
- When applied in the form of a sheet product the yield strength or proof strength of the product should be at least 460 MPa in the L-direction, and preferably at least 480 MPa. When applied in the form of an extruded product, e.g. as a stringer, or in the form of a plate product the yield strength or proof strength of the product should be at least 470 MPa in the L-direction, and more preferably at least 480 MPa. These strength levels can be obtained by a selecting the alloy composition within the claimed ranges, and preferably within the preferred narrower ranges, in combination with the artificial ageing practice to a T8 condition.
- In the following, the invention will be explained by the following non-limitative example.
- On a laboratory scale 2 alloys have been cast and machined into rolling blocks of 260x200x80 mm. The alloy compositions are given in Table 1. These were homogenised for 5h@500°C followed by 10h@510°C. After pre-heating to 480°C the rolling blocks were hot rolled from 80 mm to a gauge of 30 mm. Then solution heat-treated for 30min@500°C followed by a cold water quench and within 30 minutes thereafter stretched by 2%.
Table 1. Alloy composition (in wt.%) of the alloys processed. Balance is made by aluminium and unavoidable impurities and with 0.03% Fe and 0.02% Si. Alloy Alloying element Cu Li Mg Mn Zn Zr Ti Ag A 3.9 1.1 0.4 0.4 0.4 0.11 0.02 0.35 B 3.9 1.1 0.4 0.4 0.4 0.11 0.02 0.0 - In order to bring the alloy to a T84 temper the Ag-free alloy was aged for 16h@150°C and the Ag containing alloy for 10.5h@150°C. The difference in ageing time to arrive at the T84 temper is due to the difference in silver-content which has an effect on the ageing response.
- In order to test the thermal stability the samples in T84 were subsequently sensitized or aged for 1,000h@85°C.
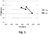
- The materials in the T84 condition and after 1000h@85°C were tested for the tensile yield strength (TYS) in the L-direction in accordance with ASTM B557M and for the fracture toughness (KIC) in the L-T direction in accordance with ASTM E399. The results are listed in Table 2 below. The results of Table 2 are also plotted in
Fig. 1 . - In addition the samples aged after 1000h@85°C were tested for their corrosion resistance in accordance with MASTMAASIS and SCC(ST). All ST-SCC specimens tested at 310 MPa survived without failure for 30 days.
- From the results of Table 2 and
Fig. 1 it can be seen that the Ag-free alloy B compared to alloy A provides a significantly lower drop in fracture toughness after being sensitized while maintaining a high tensile yield strength in combination with a good corrosion resistance. This suggests that alloy B provides an improved thermal stability than the similar alloy containing also a purposive addition of silver.Table 2. Mechanical properties in T84 condition and after sensitization for 1,000h@85°C. Alloy Condition TYS (L) [MPa] KIC [MPa.Vm] A T84 537 43.0 A sensitized 591 35.5 B T84 491 41.1 B sensitized 531 40.2 - Having now fully described the invention, it will be apparent to one of ordinary skill in the art that many changes and modifications can be made without departing from the spirit or scope of the invention as herein described.
Claims (19)
- An aluminium alloy wrought product for structural members having a chemical composition consisting of, in wt.%:
one or more elements selected from the group consisting of:Cu 3.2 to 4.4 Li 0.8 to 1.4 Mg 0.20 to 0.90 Mn 0.10 to 0.8 Zn 0.20 to 0.80, Zr 0.05 to 0.25, Cr 0.05 to 0.30, Ti 0.01 to 0.25, Sc 0.05 to 0.4, Hf 0.05 to 0.4, unavoidable impurities and balance aluminium.Ag < 0.05 Fe < 0.15 Si < 0.15, - An aluminium alloy wrought product according to claim 1, wherein the Cu content is in a range of 3.6% to 4.4%, preferably in a range of 3.75% to 4.20%.
- An aluminium alloy wrought product according to claim 1 or 2, wherein the Li content is in a range of 0.90% to 1.4%, and preferably in a range of 1.0% to 1.30%.
- An aluminium alloy wrought product according to any one of claims 1 to 3, wherein the product contains Zr in a range of 0.05% to 0.15%.
- An aluminium alloy wrought product according to any one of claims, 1 to 4, wherein the Zn-content is maximum 0.70%, preferably maximum 0.65%.
- An aluminium alloy wrought product according to any one of claims 1 to 5, wherein the Ag content is less than 0.02%, and more preferably the alloy product is substantially Ag-free.
- An aluminium alloy wrought product according to any one of claims 1 to 6, wherein the product contains Mn in a range of 0.20% to 0.6%, and preferably 0.20% to 0.55%.
- An aluminium alloy wrought product according to any one of claims 1 to 7, wherein the product contains Mg in a range of 0.20% to 0.8%, and preferably 0.20% to 0.65%, and more preferably 0.35% to 0.65%.
- An aluminium alloy wrought product according to any one of claims 1 to 8, wherein the product is in the form of a rolled, extruded or forged product.
- An aluminium alloy wrought product according to claim 9, wherein the wrought product is in the form of an extruded product.
- An aluminium alloy wrought product according to any one of claims 1 to 9, wherein the wrought product is in the form of a plate product having a thickness of 12.0 mm to 175 mm, and preferably of at least 75 mm.
- An aluminium alloy wrought product according to any one of claims 1 to 11, wherein the product is in an under-aged T8 condition, and preferably in an T84 condition.
- Method of manufacturing an aluminium alloy wrought product according to any of claims 1 to 12, comprising the steps of:a. casting stock of an ingot of an AlCuLi-alloy according to any one of claims 1 to 8,b. preheating and/or homogenizing the cast stock;c. hot working the stock by one or more methods selected from the group consisting of rolling, extrusion, and forging;d. optionally cold working the hot worked stock;e. solution heat treating (SHT) of the hot worked and/or optionally cold worked stock, the SHT is carried out at a temperature and time sufficient to place into solid solution the soluble constituents in the aluminium alloy;f. cooling the SHT stock;g. optionally stretching or compressing the cooled SHT stock or otherwise cold working the cooled SHT stock to relieve stresses, for example levelling or drawing or cold rolling of the cooled SHT stock; andh. ageing, preferably artificial ageing, of the cooled and optionally stretched or compressed or otherwise cold worked SHT stock to achieve a desired temper.
- Method according to claim 13, wherein homogenisation is performed at a temperature in a range of 475°C to 535°C.
- Method according to claim 13 or 14, wherein the hot-working is by rolling and the hot-working entry temperature is at a temperature in the range of 440°C to 490°C.
- Method according to any one of claims 13 to 15, wherein the solution heat treatment is performed at a temperature in a range of 480°C to 525°C.
- Method according to any one of claims 13 to 16, wherein the stretching is performed in a range of 0.5% to 6%, and preferably in a range of 0.5% to 4%.
- Method according to any one of claims 13 to 17, wherein the product has been aged to an under-aged T8 condition.
- Method according to any one of claims 13 to 18, wherein the wrought product is rolled to a plate product having a thickness of at least 12.0 mm, and preferably of at least 75 mm.
Applications Claiming Priority (2)
| Application Number | Priority Date | Filing Date | Title |
|---|---|---|---|
| EP16154856 | 2016-02-09 | ||
| PCT/EP2017/051595 WO2017137260A1 (en) | 2016-02-09 | 2017-01-26 | Al-Cu-Li-Mg-Mn-Zn ALLOY WROUGHT PRODUCT |
Publications (2)
| Publication Number | Publication Date |
|---|---|
| EP3414352A1 EP3414352A1 (en) | 2018-12-19 |
| EP3414352B1 true EP3414352B1 (en) | 2019-12-04 |
Family
ID=55345729
Family Applications (1)
| Application Number | Title | Priority Date | Filing Date |
|---|---|---|---|
| EP17702339.7A Revoked EP3414352B1 (en) | 2016-02-09 | 2017-01-26 | Al-cu-li-mg-mn-zn alloy wrought product |
Country Status (6)
| Country | Link |
|---|---|
| US (1) | US20210207254A1 (en) |
| EP (1) | EP3414352B1 (en) |
| CN (1) | CN109072358A (en) |
| BR (1) | BR112018015112A2 (en) |
| CA (1) | CA3013955A1 (en) |
| WO (1) | WO2017137260A1 (en) |
Families Citing this family (9)
| Publication number | Priority date | Publication date | Assignee | Title |
|---|---|---|---|---|
| US20190233921A1 (en) * | 2018-02-01 | 2019-08-01 | Kaiser Aluminum Fabricated Products, Llc | Low Cost, Low Density, Substantially Ag-Free and Zn-Free Aluminum-Lithium Plate Alloy for Aerospace Application |
| FR3080861B1 (en) * | 2018-05-02 | 2021-03-19 | Constellium Issoire | METHOD OF MANUFACTURING AN ALUMINUM COPPER LITHIUM ALLOY WITH IMPROVED COMPRESSION RESISTANCE AND TENACITY |
| WO2020097169A1 (en) * | 2018-11-07 | 2020-05-14 | Arconic Inc. | 2xxx aluminum lithium alloys |
| CN114025895B (en) | 2019-04-03 | 2024-12-24 | 空中客车简化股份公司 | Method for making high energy hydroformed structures from 2xxx series alloys |
| CN113106311B (en) * | 2021-03-15 | 2022-03-29 | 丽水学院 | A preparation method and equipment of Al-Li-Cu-Mg series aluminum alloy wire for metal 3D printing |
| CN113249665A (en) * | 2021-07-02 | 2021-08-13 | 中国航发北京航空材料研究院 | Forming method of aluminum alloy component |
| CN115386818A (en) * | 2022-08-25 | 2022-11-25 | 中南大学 | A kind of deformation heat treatment method of Al-Cu-Li series alloy hot-rolled slab |
| CN117187642B (en) * | 2023-11-03 | 2024-04-02 | 中铝材料应用研究院有限公司 | An ultra-high strength and high toughness Al-Cu-Li-Mg-Zn-Mn-Zr alloy plate and its preparation method and application |
| CN119061301A (en) * | 2024-11-05 | 2024-12-03 | 湖南大学苏州研究院 | A low-cost, high-strength and tough aluminum alloy ingot for plastic forming and a preparation method thereof |
Citations (9)
| Publication number | Priority date | Publication date | Assignee | Title |
|---|---|---|---|---|
| US5383986A (en) | 1993-03-12 | 1995-01-24 | Reynolds Metals Company | Method of improving transverse direction mechanical properties of aluminum-lithium alloy wrought product using multiple stretching steps |
| US5455003A (en) | 1988-08-18 | 1995-10-03 | Martin Marietta Corporation | Al-Cu-Li alloys with improved cryogenic fracture toughness |
| EP1673484A1 (en) | 2003-10-03 | 2006-06-28 | Alcoa Inc. | Aluminum-copper-magnesium alloys having ancillary additions of lithium |
| WO2009036953A1 (en) | 2007-09-21 | 2009-03-26 | Aleris Aluminum Koblenz Gmbh | Al-cu-li alloy product suitable for aerospace application |
| CN101967588A (en) | 2010-10-27 | 2011-02-09 | 中国航空工业集团公司北京航空材料研究院 | Damage-resistant aluminum-lithium alloy and preparation method thereof |
| CN102021457A (en) | 2010-10-27 | 2011-04-20 | 中国航空工业集团公司北京航空材料研究院 | High-toughness aluminum lithium alloy and preparation method thereof |
| WO2012112942A2 (en) | 2011-02-17 | 2012-08-23 | Alcoa Inc. | 2xxx series aluminum lithium alloys |
| WO2015082779A2 (en) | 2013-12-05 | 2015-06-11 | Constellium France | Aluminum/copper/lithium alloy material for underwing element having enhanced properties |
| WO2017093680A1 (en) | 2015-12-04 | 2017-06-08 | Constellium Issoire | Aluminium-copper-lithium alloy having improved mechanical strength and improved toughness |
Family Cites Families (2)
| Publication number | Priority date | Publication date | Assignee | Title |
|---|---|---|---|---|
| AU2008333796B2 (en) * | 2007-12-04 | 2013-08-22 | Arconic Inc. | Improved aluminum-copper-lithium alloys |
| US9458528B2 (en) * | 2012-05-09 | 2016-10-04 | Alcoa Inc. | 2xxx series aluminum lithium alloys |
-
2017
- 2017-01-26 BR BR112018015112A patent/BR112018015112A2/en not_active Application Discontinuation
- 2017-01-26 EP EP17702339.7A patent/EP3414352B1/en not_active Revoked
- 2017-01-26 US US16/071,319 patent/US20210207254A1/en not_active Abandoned
- 2017-01-26 WO PCT/EP2017/051595 patent/WO2017137260A1/en not_active Ceased
- 2017-01-26 CN CN201780010433.7A patent/CN109072358A/en active Pending
- 2017-01-26 CA CA3013955A patent/CA3013955A1/en not_active Abandoned
Patent Citations (10)
| Publication number | Priority date | Publication date | Assignee | Title |
|---|---|---|---|---|
| US5455003A (en) | 1988-08-18 | 1995-10-03 | Martin Marietta Corporation | Al-Cu-Li alloys with improved cryogenic fracture toughness |
| US5383986A (en) | 1993-03-12 | 1995-01-24 | Reynolds Metals Company | Method of improving transverse direction mechanical properties of aluminum-lithium alloy wrought product using multiple stretching steps |
| EP1673484A1 (en) | 2003-10-03 | 2006-06-28 | Alcoa Inc. | Aluminum-copper-magnesium alloys having ancillary additions of lithium |
| WO2009036953A1 (en) | 2007-09-21 | 2009-03-26 | Aleris Aluminum Koblenz Gmbh | Al-cu-li alloy product suitable for aerospace application |
| CN101967588A (en) | 2010-10-27 | 2011-02-09 | 中国航空工业集团公司北京航空材料研究院 | Damage-resistant aluminum-lithium alloy and preparation method thereof |
| CN102021457A (en) | 2010-10-27 | 2011-04-20 | 中国航空工业集团公司北京航空材料研究院 | High-toughness aluminum lithium alloy and preparation method thereof |
| WO2012112942A2 (en) | 2011-02-17 | 2012-08-23 | Alcoa Inc. | 2xxx series aluminum lithium alloys |
| US20120225271A1 (en) | 2011-02-17 | 2012-09-06 | Alcoa Inc. | 2xxx series aluminum lithium alloys |
| WO2015082779A2 (en) | 2013-12-05 | 2015-06-11 | Constellium France | Aluminum/copper/lithium alloy material for underwing element having enhanced properties |
| WO2017093680A1 (en) | 2015-12-04 | 2017-06-08 | Constellium Issoire | Aluminium-copper-lithium alloy having improved mechanical strength and improved toughness |
Non-Patent Citations (7)
| Title |
|---|
| ANONYMOUS: "Aluminium and Aluminium alloys - wrought products - Temper designation", ISO 2107-2007, 1 February 2007 (2007-02-01), pages 1 - 14, XP055732554 |
| ANONYMOUS: "Aluminium et alliages d'aluminium - Produits corroyés - désignation des états métallurgiques", EN 515, October 1993 (1993-10-01), pages 1 - 23, XP055732556 |
| ANONYMOUS: "International alloy designations and chemical composition limits for wrought aluminum and wrought aluminum alloys", THE ALUMINUM ASSOCIATION, 2015, pages 1 - 38, XP055562328 |
| ANONYMOUS: "Rolling Aluminum : from the mine through the mill", THE ALUMINUM ASSOCIATION, December 2007 (2007-12-01), pages 1 - 135, XP055545409 |
| P. LEQUEU ET AL.: "Aluminum-Copper Lithium Alloy 2050 developed for medium to thick plate", JOURNAL OF MATERIALS ENGINEERING AND PERFORMANCE, vol. 19, no. 6, August 2010 (2010-08-01), pages 841 - 847, XP055190230, DOI: 10.1007/s11665-009-9554-z |
| ROBERTO J RIOJA; JOHN LIU: "The Evolution of Al-Li Base Products for Aerospace and Space Applications", THE MINERAL, METALS AND MATERIALS SOCIETY AND ASM INTERNAL 2012, 2012, pages 1 - 23, XP055732532 |
| STARKE E A; STALEY J T: "Application of modern aluminum alloys to aircraft", PROGRESS IN AEROSPACE SCIENCES, 1996, XP029212053 |
Also Published As
| Publication number | Publication date |
|---|---|
| US20210207254A1 (en) | 2021-07-08 |
| WO2017137260A1 (en) | 2017-08-17 |
| CN109072358A (en) | 2018-12-21 |
| EP3414352A1 (en) | 2018-12-19 |
| BR112018015112A2 (en) | 2018-12-18 |
| CA3013955A1 (en) | 2017-08-17 |
Similar Documents
| Publication | Publication Date | Title |
|---|---|---|
| EP3414352B1 (en) | Al-cu-li-mg-mn-zn alloy wrought product | |
| CA2700250C (en) | Al-cu-li alloy product suitable for aerospace application | |
| EP3911777B1 (en) | 7xxx-series aluminium alloy product | |
| EP3833794B1 (en) | 7xxx-series aluminium alloy product | |
| EP2038446B1 (en) | Method of manufacturing AA7000-series aluminium alloys | |
| US8608876B2 (en) | AA7000-series aluminum alloy products and a method of manufacturing thereof | |
| EP2121997B1 (en) | Ai-cu alloy product suitable for aerospace application | |
| US9039848B2 (en) | Al—Mg—Zn wrought alloy product and method of its manufacture | |
| EP1945825B1 (en) | Al-cu-mg alloy suitable for aerospace application | |
| EP3807434B2 (en) | Method of manufacturing a 7xxx-series aluminium alloy plate product having improved fatigue failure resistance | |
| EP2546373A1 (en) | Method of manufacturing an Al-Mg alloy sheet product | |
| EP4247991B1 (en) | Method of manufacturing 2xxx-series aluminum alloy products |
Legal Events
| Date | Code | Title | Description |
|---|---|---|---|
| STAA | Information on the status of an ep patent application or granted ep patent |
Free format text: STATUS: UNKNOWN |
|
| STAA | Information on the status of an ep patent application or granted ep patent |
Free format text: STATUS: THE INTERNATIONAL PUBLICATION HAS BEEN MADE |
|
| PUAI | Public reference made under article 153(3) epc to a published international application that has entered the european phase |
Free format text: ORIGINAL CODE: 0009012 |
|
| STAA | Information on the status of an ep patent application or granted ep patent |
Free format text: STATUS: REQUEST FOR EXAMINATION WAS MADE |
|
| 17P | Request for examination filed |
Effective date: 20180711 |
|
| AK | Designated contracting states |
Kind code of ref document: A1 Designated state(s): AL AT BE BG CH CY CZ DE DK EE ES FI FR GB GR HR HU IE IS IT LI LT LU LV MC MK MT NL NO PL PT RO RS SE SI SK SM TR |
|
| AX | Request for extension of the european patent |
Extension state: BA ME |
|
| DAV | Request for validation of the european patent (deleted) | ||
| DAX | Request for extension of the european patent (deleted) | ||
| RIN1 | Information on inventor provided before grant (corrected) |
Inventor name: SCHNITTGER, SVEN |
|
| GRAP | Despatch of communication of intention to grant a patent |
Free format text: ORIGINAL CODE: EPIDOSNIGR1 |
|
| STAA | Information on the status of an ep patent application or granted ep patent |
Free format text: STATUS: GRANT OF PATENT IS INTENDED |
|
| INTG | Intention to grant announced |
Effective date: 20190925 |
|
| GRAS | Grant fee paid |
Free format text: ORIGINAL CODE: EPIDOSNIGR3 |
|
| GRAA | (expected) grant |
Free format text: ORIGINAL CODE: 0009210 |
|
| STAA | Information on the status of an ep patent application or granted ep patent |
Free format text: STATUS: THE PATENT HAS BEEN GRANTED |
|
| AK | Designated contracting states |
Kind code of ref document: B1 Designated state(s): AL AT BE BG CH CY CZ DE DK EE ES FI FR GB GR HR HU IE IS IT LI LT LU LV MC MK MT NL NO PL PT RO RS SE SI SK SM TR |
|
| REG | Reference to a national code |
Ref country code: GB Ref legal event code: FG4D |
|
| REG | Reference to a national code |
Ref country code: CH Ref legal event code: EP |
|
| REG | Reference to a national code |
Ref country code: AT Ref legal event code: REF Ref document number: 1209483 Country of ref document: AT Kind code of ref document: T Effective date: 20191215 |
|
| REG | Reference to a national code |
Ref country code: DE Ref legal event code: R096 Ref document number: 602017009369 Country of ref document: DE |
|
| REG | Reference to a national code |
Ref country code: IE Ref legal event code: FG4D |
|
| REG | Reference to a national code |
Ref country code: NL Ref legal event code: MP Effective date: 20191204 |
|
| REG | Reference to a national code |
Ref country code: LT Ref legal event code: MG4D |
|
| PG25 | Lapsed in a contracting state [announced via postgrant information from national office to epo] |
Ref country code: FI Free format text: LAPSE BECAUSE OF FAILURE TO SUBMIT A TRANSLATION OF THE DESCRIPTION OR TO PAY THE FEE WITHIN THE PRESCRIBED TIME-LIMIT Effective date: 20191204 Ref country code: BG Free format text: LAPSE BECAUSE OF FAILURE TO SUBMIT A TRANSLATION OF THE DESCRIPTION OR TO PAY THE FEE WITHIN THE PRESCRIBED TIME-LIMIT Effective date: 20200304 Ref country code: SE Free format text: LAPSE BECAUSE OF FAILURE TO SUBMIT A TRANSLATION OF THE DESCRIPTION OR TO PAY THE FEE WITHIN THE PRESCRIBED TIME-LIMIT Effective date: 20191204 Ref country code: LV Free format text: LAPSE BECAUSE OF FAILURE TO SUBMIT A TRANSLATION OF THE DESCRIPTION OR TO PAY THE FEE WITHIN THE PRESCRIBED TIME-LIMIT Effective date: 20191204 Ref country code: GR Free format text: LAPSE BECAUSE OF FAILURE TO SUBMIT A TRANSLATION OF THE DESCRIPTION OR TO PAY THE FEE WITHIN THE PRESCRIBED TIME-LIMIT Effective date: 20200305 Ref country code: NO Free format text: LAPSE BECAUSE OF FAILURE TO SUBMIT A TRANSLATION OF THE DESCRIPTION OR TO PAY THE FEE WITHIN THE PRESCRIBED TIME-LIMIT Effective date: 20200304 Ref country code: LT Free format text: LAPSE BECAUSE OF FAILURE TO SUBMIT A TRANSLATION OF THE DESCRIPTION OR TO PAY THE FEE WITHIN THE PRESCRIBED TIME-LIMIT Effective date: 20191204 |
|
| PGFP | Annual fee paid to national office [announced via postgrant information from national office to epo] |
Ref country code: DE Payment date: 20200218 Year of fee payment: 4 |
|
| PG25 | Lapsed in a contracting state [announced via postgrant information from national office to epo] |
Ref country code: HR Free format text: LAPSE BECAUSE OF FAILURE TO SUBMIT A TRANSLATION OF THE DESCRIPTION OR TO PAY THE FEE WITHIN THE PRESCRIBED TIME-LIMIT Effective date: 20191204 Ref country code: RS Free format text: LAPSE BECAUSE OF FAILURE TO SUBMIT A TRANSLATION OF THE DESCRIPTION OR TO PAY THE FEE WITHIN THE PRESCRIBED TIME-LIMIT Effective date: 20191204 |
|
| PG25 | Lapsed in a contracting state [announced via postgrant information from national office to epo] |
Ref country code: AL Free format text: LAPSE BECAUSE OF FAILURE TO SUBMIT A TRANSLATION OF THE DESCRIPTION OR TO PAY THE FEE WITHIN THE PRESCRIBED TIME-LIMIT Effective date: 20191204 |
|
| PGFP | Annual fee paid to national office [announced via postgrant information from national office to epo] |
Ref country code: FR Payment date: 20200205 Year of fee payment: 4 |
|
| REG | Reference to a national code |
Ref country code: DE Ref legal event code: R082 Ref document number: 602017009369 Country of ref document: DE Representative=s name: WEICKMANN & WEICKMANN PATENT- UND RECHTSANWAEL, DE |
|
| PG25 | Lapsed in a contracting state [announced via postgrant information from national office to epo] |
Ref country code: RO Free format text: LAPSE BECAUSE OF FAILURE TO SUBMIT A TRANSLATION OF THE DESCRIPTION OR TO PAY THE FEE WITHIN THE PRESCRIBED TIME-LIMIT Effective date: 20191204 Ref country code: NL Free format text: LAPSE BECAUSE OF FAILURE TO SUBMIT A TRANSLATION OF THE DESCRIPTION OR TO PAY THE FEE WITHIN THE PRESCRIBED TIME-LIMIT Effective date: 20191204 Ref country code: CZ Free format text: LAPSE BECAUSE OF FAILURE TO SUBMIT A TRANSLATION OF THE DESCRIPTION OR TO PAY THE FEE WITHIN THE PRESCRIBED TIME-LIMIT Effective date: 20191204 Ref country code: PT Free format text: LAPSE BECAUSE OF FAILURE TO SUBMIT A TRANSLATION OF THE DESCRIPTION OR TO PAY THE FEE WITHIN THE PRESCRIBED TIME-LIMIT Effective date: 20200429 Ref country code: ES Free format text: LAPSE BECAUSE OF FAILURE TO SUBMIT A TRANSLATION OF THE DESCRIPTION OR TO PAY THE FEE WITHIN THE PRESCRIBED TIME-LIMIT Effective date: 20191204 Ref country code: EE Free format text: LAPSE BECAUSE OF FAILURE TO SUBMIT A TRANSLATION OF THE DESCRIPTION OR TO PAY THE FEE WITHIN THE PRESCRIBED TIME-LIMIT Effective date: 20191204 |
|
| PG25 | Lapsed in a contracting state [announced via postgrant information from national office to epo] |
Ref country code: SK Free format text: LAPSE BECAUSE OF FAILURE TO SUBMIT A TRANSLATION OF THE DESCRIPTION OR TO PAY THE FEE WITHIN THE PRESCRIBED TIME-LIMIT Effective date: 20191204 Ref country code: IS Free format text: LAPSE BECAUSE OF FAILURE TO SUBMIT A TRANSLATION OF THE DESCRIPTION OR TO PAY THE FEE WITHIN THE PRESCRIBED TIME-LIMIT Effective date: 20200404 Ref country code: SM Free format text: LAPSE BECAUSE OF FAILURE TO SUBMIT A TRANSLATION OF THE DESCRIPTION OR TO PAY THE FEE WITHIN THE PRESCRIBED TIME-LIMIT Effective date: 20191204 |
|
| REG | Reference to a national code |
Ref country code: CH Ref legal event code: PL |
|
| REG | Reference to a national code |
Ref country code: DE Ref legal event code: R026 Ref document number: 602017009369 Country of ref document: DE |
|
| REG | Reference to a national code |
Ref country code: AT Ref legal event code: MK05 Ref document number: 1209483 Country of ref document: AT Kind code of ref document: T Effective date: 20191204 |
|
| PLAX | Notice of opposition and request to file observation + time limit sent |
Free format text: ORIGINAL CODE: EPIDOSNOBS2 |
|
| PLBI | Opposition filed |
Free format text: ORIGINAL CODE: 0009260 |
|
| PG25 | Lapsed in a contracting state [announced via postgrant information from national office to epo] |
Ref country code: MC Free format text: LAPSE BECAUSE OF FAILURE TO SUBMIT A TRANSLATION OF THE DESCRIPTION OR TO PAY THE FEE WITHIN THE PRESCRIBED TIME-LIMIT Effective date: 20191204 |
|
| REG | Reference to a national code |
Ref country code: BE Ref legal event code: MM Effective date: 20200131 |
|
| 26 | Opposition filed |
Opponent name: ARCONIC CORPORATION Effective date: 20200901 Opponent name: C-TEC CONSTELLIUM TECHNOLOGY CENTER / CONSTELLIUM ISSOIRE Effective date: 20200901 |
|
| PG25 | Lapsed in a contracting state [announced via postgrant information from national office to epo] |
Ref country code: DK Free format text: LAPSE BECAUSE OF FAILURE TO SUBMIT A TRANSLATION OF THE DESCRIPTION OR TO PAY THE FEE WITHIN THE PRESCRIBED TIME-LIMIT Effective date: 20191204 Ref country code: LU Free format text: LAPSE BECAUSE OF NON-PAYMENT OF DUE FEES Effective date: 20200126 |
|
| PG25 | Lapsed in a contracting state [announced via postgrant information from national office to epo] |
Ref country code: AT Free format text: LAPSE BECAUSE OF FAILURE TO SUBMIT A TRANSLATION OF THE DESCRIPTION OR TO PAY THE FEE WITHIN THE PRESCRIBED TIME-LIMIT Effective date: 20191204 Ref country code: BE Free format text: LAPSE BECAUSE OF NON-PAYMENT OF DUE FEES Effective date: 20200131 Ref country code: PL Free format text: LAPSE BECAUSE OF FAILURE TO SUBMIT A TRANSLATION OF THE DESCRIPTION OR TO PAY THE FEE WITHIN THE PRESCRIBED TIME-LIMIT Effective date: 20191204 Ref country code: CH Free format text: LAPSE BECAUSE OF NON-PAYMENT OF DUE FEES Effective date: 20200131 Ref country code: SI Free format text: LAPSE BECAUSE OF FAILURE TO SUBMIT A TRANSLATION OF THE DESCRIPTION OR TO PAY THE FEE WITHIN THE PRESCRIBED TIME-LIMIT Effective date: 20191204 Ref country code: LI Free format text: LAPSE BECAUSE OF NON-PAYMENT OF DUE FEES Effective date: 20200131 |
|
| PG25 | Lapsed in a contracting state [announced via postgrant information from national office to epo] |
Ref country code: IE Free format text: LAPSE BECAUSE OF NON-PAYMENT OF DUE FEES Effective date: 20200126 Ref country code: IT Free format text: LAPSE BECAUSE OF FAILURE TO SUBMIT A TRANSLATION OF THE DESCRIPTION OR TO PAY THE FEE WITHIN THE PRESCRIBED TIME-LIMIT Effective date: 20191204 |
|
| REG | Reference to a national code |
Ref country code: DE Ref legal event code: R119 Ref document number: 602017009369 Country of ref document: DE |
|
| GBPC | Gb: european patent ceased through non-payment of renewal fee |
Effective date: 20210126 |
|
| PG25 | Lapsed in a contracting state [announced via postgrant information from national office to epo] |
Ref country code: FR Free format text: LAPSE BECAUSE OF NON-PAYMENT OF DUE FEES Effective date: 20210131 |
|
| RDAF | Communication despatched that patent is revoked |
Free format text: ORIGINAL CODE: EPIDOSNREV1 |
|
| REG | Reference to a national code |
Ref country code: DE Ref legal event code: R103 Ref document number: 602017009369 Country of ref document: DE Ref country code: DE Ref legal event code: R064 Ref document number: 602017009369 Country of ref document: DE |
|
| PG25 | Lapsed in a contracting state [announced via postgrant information from national office to epo] |
Ref country code: GB Free format text: LAPSE BECAUSE OF NON-PAYMENT OF DUE FEES Effective date: 20210126 Ref country code: DE Free format text: LAPSE BECAUSE OF NON-PAYMENT OF DUE FEES Effective date: 20210803 |
|
| RDAG | Patent revoked |
Free format text: ORIGINAL CODE: 0009271 |
|
| STAA | Information on the status of an ep patent application or granted ep patent |
Free format text: STATUS: PATENT REVOKED |
|
| REG | Reference to a national code |
Ref country code: CH Ref legal event code: PL |
|
| REG | Reference to a national code |
Ref country code: FI Ref legal event code: MGE |
|
| 27W | Patent revoked |
Effective date: 20211127 |
|
| PG25 | Lapsed in a contracting state [announced via postgrant information from national office to epo] |
Ref country code: TR Free format text: LAPSE BECAUSE OF FAILURE TO SUBMIT A TRANSLATION OF THE DESCRIPTION OR TO PAY THE FEE WITHIN THE PRESCRIBED TIME-LIMIT Effective date: 20191204 Ref country code: MT Free format text: LAPSE BECAUSE OF FAILURE TO SUBMIT A TRANSLATION OF THE DESCRIPTION OR TO PAY THE FEE WITHIN THE PRESCRIBED TIME-LIMIT Effective date: 20191204 Ref country code: CY Free format text: LAPSE BECAUSE OF FAILURE TO SUBMIT A TRANSLATION OF THE DESCRIPTION OR TO PAY THE FEE WITHIN THE PRESCRIBED TIME-LIMIT Effective date: 20191204 |
|
| PG25 | Lapsed in a contracting state [announced via postgrant information from national office to epo] |
Ref country code: MK Free format text: LAPSE BECAUSE OF FAILURE TO SUBMIT A TRANSLATION OF THE DESCRIPTION OR TO PAY THE FEE WITHIN THE PRESCRIBED TIME-LIMIT Effective date: 20191204 Ref country code: IS Free format text: LAPSE BECAUSE OF FAILURE TO SUBMIT A TRANSLATION OF THE DESCRIPTION OR TO PAY THE FEE WITHIN THE PRESCRIBED TIME-LIMIT Effective date: 20200404 |
|
| P01 | Opt-out of the competence of the unified patent court (upc) registered |
Effective date: 20230517 |