EP3388198A1 - Reversible ratchet wrench without switch knob - Google Patents

Reversible ratchet wrench without switch knob Download PDF

Info

Publication number
EP3388198A1
EP3388198A1 EP18153670.7A EP18153670A EP3388198A1 EP 3388198 A1 EP3388198 A1 EP 3388198A1 EP 18153670 A EP18153670 A EP 18153670A EP 3388198 A1 EP3388198 A1 EP 3388198A1
Authority
EP
European Patent Office
Prior art keywords
ratchet wheel
trough
detent
ratchet
elastic member
Prior art date
Legal status (The legal status is an assumption and is not a legal conclusion. Google has not performed a legal analysis and makes no representation as to the accuracy of the status listed.)
Granted
Application number
EP18153670.7A
Other languages
German (de)
French (fr)
Other versions
EP3388198B1 (en
Inventor
Zhong-Song Li
Current Assignee (The listed assignees may be inaccurate. Google has not performed a legal analysis and makes no representation or warranty as to the accuracy of the list.)
Hua Wei Tools Co Ltd
Original Assignee
Hua Wei Tools Co Ltd
Priority date (The priority date is an assumption and is not a legal conclusion. Google has not performed a legal analysis and makes no representation as to the accuracy of the date listed.)
Filing date
Publication date
Application filed by Hua Wei Tools Co Ltd filed Critical Hua Wei Tools Co Ltd
Publication of EP3388198A1 publication Critical patent/EP3388198A1/en
Application granted granted Critical
Publication of EP3388198B1 publication Critical patent/EP3388198B1/en
Active legal-status Critical Current
Anticipated expiration legal-status Critical

Links

Images

Classifications

    • BPERFORMING OPERATIONS; TRANSPORTING
    • B25HAND TOOLS; PORTABLE POWER-DRIVEN TOOLS; MANIPULATORS
    • B25BTOOLS OR BENCH DEVICES NOT OTHERWISE PROVIDED FOR, FOR FASTENING, CONNECTING, DISENGAGING OR HOLDING
    • B25B13/00Spanners; Wrenches
    • B25B13/46Spanners; Wrenches of the ratchet type, for providing a free return stroke of the handle
    • B25B13/461Spanners; Wrenches of the ratchet type, for providing a free return stroke of the handle with concentric driving and driven member
    • B25B13/462Spanners; Wrenches of the ratchet type, for providing a free return stroke of the handle with concentric driving and driven member the ratchet parts engaging in a direction radial to the tool operating axis
    • B25B13/463Spanners; Wrenches of the ratchet type, for providing a free return stroke of the handle with concentric driving and driven member the ratchet parts engaging in a direction radial to the tool operating axis a pawl engaging an externally toothed wheel

Definitions

  • the present invention relates to a ratchet wrench, and more particularly to a reversible ratchet wrench without a switch knob.
  • FIG. 1 is an exploded view of a conventional ratchet wrench.
  • the ratchet wrench comprises a main body 200, a ratchet wheel 210, a detent 220, and a switch knob 230.
  • the main body 200 has a first accommodation trough 201, a second accommodation trough 202, and a third accommodation trough 203.
  • the ratchet wheel 210 is disposed in the first accommodation trough 201.
  • the outer peripheral wall of the ratchet wheel 210 is provided with a toothed portion 211.
  • the detent 220 is disposed in the second accommodation trough 202.
  • One side of the detent 220 is provided with meshing teeth 221.
  • the meshing teeth 221 are adapted to mesh with the toothed portion 211.
  • the switch knob 230 is disposed in the third accommodation trough 203.
  • the switch knob 230 is provided with a lever 231 and an elastic member 232.
  • the switch knob 230 drives the elastic member 232 to turn at an angle.
  • the elastic member 232 urges the detent 22 to offset in the second accommodation trough 202, so that the ratchet wrench can be switched for a forward rotation or a reverse rotation to facilitate the user's operation.
  • the conventional ratchet wrench has a complicated structure, and its reversing device is small in size and difficult to assemble and position.
  • the switch knob 230 is connected with the exposed lever 232 by riveting. The user can switch the switch knob 230 to change the direction of turning.
  • the conventional ratchet wrench has too many parts, and the assembly of the parts is extremely complicated.
  • the user wants to perform a reversing operation the user usually holds the main body 200 with one hand and turns the switch knob 230 with the other hand.
  • the reversing operation cannot be implemented with one hand only.
  • the conventional ratchet wrench increases the production cost and working hours. Accordingly, the inventor of the present invention has devoted himself based on his many years of practical experiences to solve these problems.
  • the primary object of the present invention is to provide a reversible ratchet wrench without a switch knob. Its structure is simple. There is no need to use a switch knob to complete the reversing operation with one hand, thereby reducing production costs and working hours.
  • the reversible ratchet wrench without a switch knob of the present invention comprises a wrench body.
  • the wrench body has a handle portion. One end of the handle portion is connected with a head portion.
  • the head portion has an accommodation trough and a detent trough communicating with the accommodation trough.
  • the ratchet trough is provided with a blind hole in the direction of the handle portion.
  • a ratchet wheel is disposed in the accommodation trough.
  • An outer peripheral surface of the ratchet wheel is provided with a plurality of drive teeth. The ratchet wheel is displaceable in the accommodation trough toward the handle portion to form a first position and a second position.
  • the ratchet wheel is normally located at the first position. When the ratchet wheel is located at the second position, the ratchet wheel is displaced toward the handle portion.
  • a detent is disposed in the detent trough. One side of the detent, facing the ratchet wheel, is provided with a toothed surface. The toothed surface is provided with a plurality of detent teeth. The detent teeth are configured to mesh with the drive teeth. Another side of the detent is provided with a limit surface. Left and right sides of the limit surface are formed with push portions, respectively.
  • An elastic member is disposed in the blind hole. The elastic member is pressed against the limit surface. When the ratchet wheel is at the first position, the elastic member is pressed against one of the push portions of the limit surface. When the ratchet wheel is at the second position, the ratchet wheel drives the detent to compress the elastic element.
  • the ratchet wheel is displaced to the second position to compress the elastic member and then the ratchet wheel is turned to drive the detent to move toward the left or the right, so that the elastic member is pressed against the other push portion of the limit surface to complete the reverse switch.
  • FIG. 2 is a perspective view in accordance with a first embodiment of the present invention.
  • FIG. 3 is an exploded view in accordance with the first embodiment of the present invention.
  • FIG. 4 is a longitudinal sectional view in accordance with the first embodiment of the present invention.
  • the present invention discloses a reversible ratchet wrench without a switch knob.
  • the reversible ratchet wrench comprises a wrench body 100.
  • the wrench body 100 has a handle portion 101.
  • One end of the handle portion 101 is connected with a head portion 102.
  • the head portion 102 has an accommodation trough 103 and a detent trough 104 communicating with the accommodation trough 103.
  • the accommodation trough 104 may be in a circular shape, an elliptical shape, or a non-circular shape.
  • the accommodation trough 103 is elliptical in shape.
  • the accommodation trough 103 is circumferentially formed with a first annular groove 105.
  • the first annular groove 105 is provided with a positioning snap ring 106.
  • the detent trough 104 is a crescent-shaped trough.
  • the ratchet trough 104 is provided with a blind hole 107 in the direction of the handle portion 101.
  • a ratchet wheel 10 is positioned in the accommodation trough 103 by the positioning snap ring 106.
  • the outer peripheral surface of the ratchet wheel 10 is provided with a plurality of drive teeth 11.
  • the ratchet wheel 10 is circumferentially formed with a second annular groove 12.
  • the accommodation trough 103 is provided with a C-shaped buckle 13 corresponding to the second annular groove 12.
  • the ratchet wheel 10 is displaceable in the accommodation trough 103 toward the handle portion 101 to form a first position and a second position.
  • the ratchet wheel 10 is normally located at the first position (as shown in FIG. 5 ). When the ratchet wheel 10 is located at the second position (as shown in FIG. 6 ), the ratchet wheel 10 is displaced toward the handle portion 101.
  • FIG. 5 is a lateral sectional view in accordance with the first embodiment of the present invention.
  • a detent 20 is disposed in the detent trough 104.
  • One side of the detent 20, facing the ratchet wheel 10, is provided with a toothed surface 21.
  • the toothed surface 21 is provided with a plurality of detent teeth.
  • the detent teeth are configured to mesh with the drive teeth 11.
  • Another side of the detent 20 is provided with a limit surface 22. Left and right sides of the limit surface 22 are formed with push portions 23, respectively. In this embodiment, the push portions 23 each have a concave shape.
  • An elastic member 30 is disposed in the blind hole 107.
  • the elastic member 30 is pressed against the limit surface 22.
  • the elastic member 30 includes a spring 31 and a steel ball 32.
  • the spring 31 is fitted with the ball 32, and the ball 32 is pressed against the limit surface 22.
  • the ratchet wheel 10 is at the first position, the elastic member 30 is pressed against one of the push portions 23 of the limit surface 22.
  • the ratchet wheel 10 drives the detent 20 to compress the elastic element 30.
  • the ratchet wheel 10 when in use, the ratchet wheel 10 is fitted on a bolt 200, and then the handle portion 101 is turned toward the left or the right to fasten the bolt 200 tightly.
  • the detent 20 since the detent 20 abuts against the left wall of the detent trough 104, when the handle portion 101 is tuned toward the right, the ratchet wheel 10 will rotate and fasten the bolt 200.
  • the handle portion 101 is tuned toward the left, the ratchet wheel 10 will be idle.
  • the handle portion 101 is grasped and pushed against the bolt 200 in the direction of the head portion 102. Since the bolt 200 is in an immovable state, and the ratchet wheel 10 is circular in shape but the accommodation trough 103 is a non-circular trough so that the ratchet wheel 10 is displaceable in the accommodation trough 103 in the direction of the handle portion 102.
  • the ratchet wheel 10 drives the detent 20 to compress the elastic member 30.
  • the user turns the handle portion 101, enabling the ratchet wheel 10 to move the detent 20 to the left or the right.
  • the ratchet wheel 10 drives the detent 20 to the right, so that the elastic member 30 abuts against the other push portion 23 of the limit surface 22, and then the ratchet wheel 10 is returned to the first position.
  • the handle portion 101 is tuned toward the left, the ratchet wheel 10 will rotate and fasten the bolt 200.
  • the handle portion 101 is tuned toward the right, the ratchet wheel 10 will be idle.
  • FIG. 11 is a front view in accordance with the first embodiment of the present invention, showing the shielding effect of the C-shaped buckle.
  • the accommodation trough 103 is a non-circular trough, a gap is formed between the accommodation trough 103 and the ratchet wheel 10, resulting in a poor appearance.
  • the ratchet wheel 10 is circumferentially formed with the second groove 12 (see FIG. 3 ) and the accommodation trough 103 is provided with the C-shaped buckle 13 corresponding to the second annular groove 12, so that the C-shaped buckle 13 is adapted to block the gap so as to improve the appearance.
  • FIG. 12 is a sectional view in accordance with a second embodiment of the present invention.
  • the second embodiment is substantially similar to the first embodiment with the exceptions described hereinafter.
  • the elastic member 30 is a spring 31, and the push portion 23 of the detent 20 is less concave to facilitate the spring 31 to hold against the detent 20 to achieve a simplified component and to reduce the cost of production.
  • FIG. 13 is a sectional view in accordance with a third embodiment of the present invention.
  • the difference between the third embodiment and the first embodiment is that the steel ball 32 has a cylindrical shape.
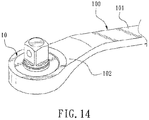
  • FIG. 14 is a sectional view in accordance with a fourth embodiment of the present invention.
  • the difference between the fourth embodiment and the first embodiment is that the wrench body 100 is an H-shaped ratchet wrench.
  • FIG. 15 is a sectional view in accordance with a fifth embodiment of the present invention.
  • the fifth embodiment is substantially similar to the first embodiment with the exceptions described hereinafter.
  • the head portion 102 is further provided with a detachable outer cover 14.
  • the outer cover 14 is configured to cover the accommodation trough 103 to facilitate replacement of the parts.

Landscapes

  • Engineering & Computer Science (AREA)
  • Mechanical Engineering (AREA)
  • Details Of Spanners, Wrenches, And Screw Drivers And Accessories (AREA)

Abstract

A reversible ratchet wrench without a switch knob has a handle portion (101) and a head portion (102). The head portion has an accommodation trough (103), a detent trough (104), and a blind hole (107). A ratchet wheel (10) is disposed in the accommodation trough and displaceable in the accommodation trough toward the handle portion to form a first position and a second position. A detent (20) is disposed in the detent trough. Left and right sides of one surface of the detent are formed with push portions (23), respectively. An elastic member (30) is disposed in the blind hole and pressed against one of the push portions. For a reverse switch, the ratchet wheel is displaced to the second position and then the ratchet wheel is turned, so that the elastic member is pressed against the other push portion.

Description

    FIELD OF THE INVENTION
  • The present invention relates to a ratchet wrench, and more particularly to a reversible ratchet wrench without a switch knob.
  • BACKGROUND OF THE INVENTION
  • FIG. 1 is an exploded view of a conventional ratchet wrench. The ratchet wrench comprises a main body 200, a ratchet wheel 210, a detent 220, and a switch knob 230. The main body 200 has a first accommodation trough 201, a second accommodation trough 202, and a third accommodation trough 203. The ratchet wheel 210 is disposed in the first accommodation trough 201. The outer peripheral wall of the ratchet wheel 210 is provided with a toothed portion 211. The detent 220 is disposed in the second accommodation trough 202. One side of the detent 220 is provided with meshing teeth 221. The meshing teeth 221 are adapted to mesh with the toothed portion 211. The switch knob 230 is disposed in the third accommodation trough 203. The switch knob 230 is provided with a lever 231 and an elastic member 232. When the switch knob 230 is turned in the third accommodation trough 203 of the main body 200, the switch knob 230 drives the elastic member 232 to turn at an angle. The elastic member 232 urges the detent 22 to offset in the second accommodation trough 202, so that the ratchet wrench can be switched for a forward rotation or a reverse rotation to facilitate the user's operation.
  • However, the conventional ratchet wrench has a complicated structure, and its reversing device is small in size and difficult to assemble and position. The switch knob 230 is connected with the exposed lever 232 by riveting. The user can switch the switch knob 230 to change the direction of turning. The conventional ratchet wrench has too many parts, and the assembly of the parts is extremely complicated. When the user wants to perform a reversing operation, the user usually holds the main body 200 with one hand and turns the switch knob 230 with the other hand. The reversing operation cannot be implemented with one hand only. The conventional ratchet wrench increases the production cost and working hours. Accordingly, the inventor of the present invention has devoted himself based on his many years of practical experiences to solve these problems.
  • SUMMARY OF THE INVENTION
  • The primary object of the present invention is to provide a reversible ratchet wrench without a switch knob. Its structure is simple. There is no need to use a switch knob to complete the reversing operation with one hand, thereby reducing production costs and working hours.
  • In order to achieve the aforesaid object, the reversible ratchet wrench without a switch knob of the present invention comprises a wrench body. The wrench body has a handle portion. One end of the handle portion is connected with a head portion. The head portion has an accommodation trough and a detent trough communicating with the accommodation trough. The ratchet trough is provided with a blind hole in the direction of the handle portion. A ratchet wheel is disposed in the accommodation trough. An outer peripheral surface of the ratchet wheel is provided with a plurality of drive teeth. The ratchet wheel is displaceable in the accommodation trough toward the handle portion to form a first position and a second position. The ratchet wheel is normally located at the first position. When the ratchet wheel is located at the second position, the ratchet wheel is displaced toward the handle portion. A detent is disposed in the detent trough. One side of the detent, facing the ratchet wheel, is provided with a toothed surface. The toothed surface is provided with a plurality of detent teeth. The detent teeth are configured to mesh with the drive teeth. Another side of the detent is provided with a limit surface. Left and right sides of the limit surface are formed with push portions, respectively. An elastic member is disposed in the blind hole. The elastic member is pressed against the limit surface. When the ratchet wheel is at the first position, the elastic member is pressed against one of the push portions of the limit surface. When the ratchet wheel is at the second position, the ratchet wheel drives the detent to compress the elastic element.
  • For a reverse switch, the ratchet wheel is displaced to the second position to compress the elastic member and then the ratchet wheel is turned to drive the detent to move toward the left or the right, so that the elastic member is pressed against the other push portion of the limit surface to complete the reverse switch.
  • BRIEF DESCRIPTION OF THE DRAWINGS
    • FIG. 1 is an exploded view of a conventional ratchet wrench;
    • FIG. 2 is a perspective view in accordance with a first embodiment of the present invention;
    • FIG. 3 is an exploded view in accordance with the first embodiment of the present invention;
    • FIG. 4 is a longitudinal sectional view in accordance with the first embodiment of the present invention;
    • FIG. 5 is a lateral sectional view in accordance with the first embodiment of the present invention;
    • FIG. 6 is a sectional view in accordance with the first embodiment of the present invention, showing the ratchet wheel is fitted on a bolt;
    • FIG. 7 is a sectional view in accordance with the first embodiment of the present invention, showing the ratchet wheel is pressed downward;
    • FIG. 8 is a sectional view in accordance with the first embodiment of the present invention, showing the ratchet wheel is turned;
    • FIG. 9 is a sectional view in accordance with the first embodiment of the present invention, showing a reverse switch;
    • FIG. 10 is a schematic view in accordance with the first embodiment of the present invention when in use, showing the reversible operation;
    • FIG. 11 is a front view in accordance with the first embodiment of the present invention, showing the shielding effect of the C-shaped buckle;
    • FIG. 12 is a sectional view in accordance with a second embodiment of the present invention;
    • FIG. 13 is a sectional view in accordance with a third embodiment of the present invention;
    • FIG. 14 is a sectional view in accordance with a fourth embodiment of the present invention; and
    • FIG. 15 is a sectional view in accordance with a fifth embodiment of the present invention.
    DETAILED DESCRIPTION OF THE PREFERRED EMBODIMENTS
  • Embodiments of the present invention will now be described, by way of example only, with reference to the accompanying drawings.
  • FIG. 2 is a perspective view in accordance with a first embodiment of the present invention. FIG. 3 is an exploded view in accordance with the first embodiment of the present invention. FIG. 4 is a longitudinal sectional view in accordance with the first embodiment of the present invention. The present invention discloses a reversible ratchet wrench without a switch knob. The reversible ratchet wrench comprises a wrench body 100. The wrench body 100 has a handle portion 101. One end of the handle portion 101 is connected with a head portion 102. The head portion 102 has an accommodation trough 103 and a detent trough 104 communicating with the accommodation trough 103. The accommodation trough 104 may be in a circular shape, an elliptical shape, or a non-circular shape. In this embodiment, the accommodation trough 103 is elliptical in shape. The accommodation trough 103 is circumferentially formed with a first annular groove 105. The first annular groove 105 is provided with a positioning snap ring 106. The detent trough 104 is a crescent-shaped trough. The ratchet trough 104 is provided with a blind hole 107 in the direction of the handle portion 101.
  • A ratchet wheel 10 is positioned in the accommodation trough 103 by the positioning snap ring 106. The outer peripheral surface of the ratchet wheel 10 is provided with a plurality of drive teeth 11. The ratchet wheel 10 is circumferentially formed with a second annular groove 12. The accommodation trough 103 is provided with a C-shaped buckle 13 corresponding to the second annular groove 12. The ratchet wheel 10 is displaceable in the accommodation trough 103 toward the handle portion 101 to form a first position and a second position. The ratchet wheel 10 is normally located at the first position (as shown in FIG. 5). When the ratchet wheel 10 is located at the second position (as shown in FIG. 6), the ratchet wheel 10 is displaced toward the handle portion 101.
  • FIG. 5 is a lateral sectional view in accordance with the first embodiment of the present invention. A detent 20 is disposed in the detent trough 104. One side of the detent 20, facing the ratchet wheel 10, is provided with a toothed surface 21. The toothed surface 21 is provided with a plurality of detent teeth. The detent teeth are configured to mesh with the drive teeth 11. Another side of the detent 20 is provided with a limit surface 22. Left and right sides of the limit surface 22 are formed with push portions 23, respectively. In this embodiment, the push portions 23 each have a concave shape.
  • An elastic member 30 is disposed in the blind hole 107. The elastic member 30 is pressed against the limit surface 22. In this embodiment, the elastic member 30 includes a spring 31 and a steel ball 32. The spring 31 is fitted with the ball 32, and the ball 32 is pressed against the limit surface 22. When the ratchet wheel 10 is at the first position, the elastic member 30 is pressed against one of the push portions 23 of the limit surface 22. When the ratchet wheel 10 is at the second position, the ratchet wheel 10 drives the detent 20 to compress the elastic element 30.
  • As shown in FIG. 6 to FIG. 10, when in use, the ratchet wheel 10 is fitted on a bolt 200, and then the handle portion 101 is turned toward the left or the right to fasten the bolt 200 tightly. In this embodiment, since the detent 20 abuts against the left wall of the detent trough 104, when the handle portion 101 is tuned toward the right, the ratchet wheel 10 will rotate and fasten the bolt 200. When the handle portion 101 is tuned toward the left, the ratchet wheel 10 will be idle.
  • Next, referring to FIG. 7, when the user needs to perform a reversing operation, the handle portion 101 is grasped and pushed against the bolt 200 in the direction of the head portion 102. Since the bolt 200 is in an immovable state, and the ratchet wheel 10 is circular in shape but the accommodation trough 103 is a non-circular trough so that the ratchet wheel 10 is displaceable in the accommodation trough 103 in the direction of the handle portion 102. When the ratchet wheel 10 is moved to the second position, the ratchet wheel 10 drives the detent 20 to compress the elastic member 30.
  • Next, as shown in FIG. 8 and FIG. 9, the user turns the handle portion 101, enabling the ratchet wheel 10 to move the detent 20 to the left or the right. In this embodiment, the ratchet wheel 10 drives the detent 20 to the right, so that the elastic member 30 abuts against the other push portion 23 of the limit surface 22, and then the ratchet wheel 10 is returned to the first position. There is no need to use a switch knob, and the reversing operation can be implemented with one handle. At this time, when the handle portion 101 is tuned toward the left, the ratchet wheel 10 will rotate and fasten the bolt 200. When the handle portion 101 is tuned toward the right, the ratchet wheel 10 will be idle.
  • FIG. 11 is a front view in accordance with the first embodiment of the present invention, showing the shielding effect of the C-shaped buckle. Since the accommodation trough 103 is a non-circular trough, a gap is formed between the accommodation trough 103 and the ratchet wheel 10, resulting in a poor appearance. In order to improve this condition, the ratchet wheel 10 is circumferentially formed with the second groove 12 (see FIG. 3) and the accommodation trough 103 is provided with the C-shaped buckle 13 corresponding to the second annular groove 12, so that the C-shaped buckle 13 is adapted to block the gap so as to improve the appearance.
  • FIG. 12 is a sectional view in accordance with a second embodiment of the present invention. The second embodiment is substantially similar to the first embodiment with the exceptions described hereinafter. The elastic member 30 is a spring 31, and the push portion 23 of the detent 20 is less concave to facilitate the spring 31 to hold against the detent 20 to achieve a simplified component and to reduce the cost of production.
  • FIG. 13 is a sectional view in accordance with a third embodiment of the present invention. The difference between the third embodiment and the first embodiment is that the steel ball 32 has a cylindrical shape.
  • FIG. 14 is a sectional view in accordance with a fourth embodiment of the present invention. The difference between the fourth embodiment and the first embodiment is that the wrench body 100 is an H-shaped ratchet wrench.
  • FIG. 15 is a sectional view in accordance with a fifth embodiment of the present invention. The fifth embodiment is substantially similar to the first embodiment with the exceptions described hereinafter. The head portion 102 is further provided with a detachable outer cover 14. The outer cover 14 is configured to cover the accommodation trough 103 to facilitate replacement of the parts.
  • Although particular embodiments of the present invention have been described in detail for purposes of illustration, various modifications and enhancements may be made without departing from the spirit and scope of the present invention. Accordingly, the present invention is not to be limited except as by the appended claims.

Claims (9)

  1. A reversible ratchet wrench without a switch knob, comprising a wrench body, the wrench body having a handle portion, one end of the handle portion being connected with a head portion, characterized by:
    the head portion having an accommodation trough and a detent trough communicating with the accommodation trough, the ratchet trough being provided with a blind hole in the direction of the handle portion;
    a ratchet wheel, disposed in the accommodation trough, an outer peripheral surface of the ratchet wheel being provided with a plurality of drive teeth, the ratchet wheel being displaceable in the accommodation trough toward the handle portion to form a first position and a second position, the ratchet wheel being normally located at the first position, wherein when the ratchet wheel is located at the second position, the ratchet wheel is displaced toward the handle portion;
    a detent, disposed in the detent trough, one side of the detent, facing the ratchet wheel, being provided with a toothed surface, the toothed surface being provided with a plurality of detent teeth, the detent teeth being configured to mesh with the drive teeth, another side of the detent being provided with a limit surface, left and right sides of the limit surface being formed with push portions, respectively;
    an elastic member, disposed in the blind hole, the elastic member being pressed against the limit surface, wherein when the ratchet wheel is at the first position, the elastic member is pressed against one of the push portions of the limit surface, wherein when the ratchet wheel is at the second position, the ratchet wheel drives the detent to compress the elastic element;
    wherein for a reverse switch, the ratchet wheel is displaced to the second position to compress the elastic member and then the ratchet wheel is turned to drive the detent to move toward the left or the right, so that the elastic member is pressed against the other push portion of the limit surface to complete the reverse switch.
  2. The reversible ratchet wrench as claimed in claim 1, wherein the accommodation trough is a non-circular trough, and the detent trough is a crescent-shaped trough.
  3. The reversible ratchet wrench as claimed in claim 1, wherein the elastic member is a spring.
  4. The reversible ratchet wrench as claimed in claim 1, wherein the elastic member includes a spring and a steel ball, the spring is fitted with the ball, and the ball is pressed against the limit surface.
  5. The reversible ratchet wrench as claimed in claim 4, wherein the steel ball has a cylindrical shape.
  6. The reversible ratchet wrench as claimed in claim 1, wherein the accommodation trough is circumferentially formed with a first annular groove, the first annular groove is provided with a positioning snap ring, and the positioning snap ring confines the ratchet wheel in the accommodation trough.
  7. The reversible ratchet wrench as claimed in claim 1, wherein the ratchet wheel is circumferentially formed with a second annular groove, and the accommodation trough is provided with a C-shaped buckle corresponding to the second annular groove.
  8. The reversible ratchet wrench as claimed in claim 1, wherein the head portion is provided with an outer cover, and the outer cover is configured to cover the accommodation trough
  9. The reversible ratchet wrench as claimed in claim 1, wherein the push portions each have a concave shape.
EP18153670.7A 2017-04-12 2018-01-26 Reversible ratchet wrench without switch knob Active EP3388198B1 (en)

Applications Claiming Priority (1)

Application Number Priority Date Filing Date Title
TW106112163A TWI608907B (en) 2017-04-12 2017-04-12 Reversible ratchet wrench

Publications (2)

Publication Number Publication Date
EP3388198A1 true EP3388198A1 (en) 2018-10-17
EP3388198B1 EP3388198B1 (en) 2019-06-05

Family

ID=61054245

Family Applications (1)

Application Number Title Priority Date Filing Date
EP18153670.7A Active EP3388198B1 (en) 2017-04-12 2018-01-26 Reversible ratchet wrench without switch knob

Country Status (4)

Country Link
US (1) US10279458B2 (en)
EP (1) EP3388198B1 (en)
JP (1) JP6646096B2 (en)
TW (1) TWI608907B (en)

Families Citing this family (3)

* Cited by examiner, † Cited by third party
Publication number Priority date Publication date Assignee Title
TWI703014B (en) * 2019-09-05 2020-09-01 華偉工具有限公司 High-strength wrench
US11331774B2 (en) * 2019-09-30 2022-05-17 Harbor Freight Tools Usa, Inc. Ratchet tool with improved pawl
TWI722884B (en) * 2020-04-29 2021-03-21 華偉工具有限公司 Ratchet seat, ratchet tool head and two-way ratchet hand tool

Citations (2)

* Cited by examiner, † Cited by third party
Publication number Priority date Publication date Assignee Title
US7823484B1 (en) * 2008-09-15 2010-11-02 Wei-Chu Chen Reversible ratchet wrench whose operation directions are changed easily and quickly
US20110162488A1 (en) * 2010-01-07 2011-07-07 Meng Tsung Chan Ratchet wrench

Family Cites Families (31)

* Cited by examiner, † Cited by third party
Publication number Priority date Publication date Assignee Title
US4270417A (en) * 1980-03-17 1981-06-02 Joseph Tesoro Two-way ratchet wrench
US5709137A (en) * 1995-04-24 1998-01-20 Blacklock; Gordon D. Torque clutched reversible ratchet wrench
US5842391A (en) * 1997-03-07 1998-12-01 Chaconas; Peter Constantine Wrench with ratcheting action
US6134990A (en) * 1999-08-05 2000-10-24 Hand Tool Design Corporation Ratcheting tool with improved gear wheel/pawl engagement
US6745647B2 (en) * 2000-11-29 2004-06-08 Mei-Chen Wang Wrench having a universal-joint ratchet wheel
US6807882B2 (en) * 2001-05-07 2004-10-26 Bobby Hu Wrench with a simplified structure
US6415691B1 (en) * 2001-08-29 2002-07-09 Mu Lin Chen Ratchet wrench structure having a high torsion driving action along dual directions
US6408722B1 (en) * 2001-09-20 2002-06-25 Yu-Tang Chen Ratchet wheel mounting arrangement for wrench
TW506308U (en) * 2002-02-08 2002-10-11 Hou-Fei Hu Improved structure for ratchet wrench
US20040216565A1 (en) * 2002-11-11 2004-11-04 Terence Chen Pawl having at least two supporting protrusions for contacting inside of recess of ratchet wrench
US6874391B2 (en) * 2003-07-01 2005-04-05 One-way ratchet wrench
US7051623B2 (en) * 2003-07-28 2006-05-30 Easco Hand Tools, Inc. Pawl-less ratchet wrench
US7334504B2 (en) * 2003-08-25 2008-02-26 Lin-Lang Liu High torsional force structure of ratchet device
US20080034926A1 (en) * 2006-08-10 2008-02-14 Chaconas Peter C Bi-directional pawl-less wrench
US7444903B1 (en) * 2007-10-30 2008-11-04 Hua Pan Co., Ltd. Ratchet wrench having reinforced strength
CN201361837Y (en) * 2009-01-12 2009-12-16 王宗孚 Shift claw ratchet mechanism
TWM361409U (en) * 2009-03-31 2009-07-21 Jian-Yue Lin Bi-directional ratchet wrench
TW201036764A (en) * 2009-04-03 2010-10-16 Yuan-Jin Ji Structure of twisting-free bi-directional switch-controlled ratchet wrench
US20110113930A1 (en) * 2009-11-16 2011-05-19 Ceo Tool Co., Ltd. Open end ratchet wrench
US8943928B2 (en) * 2011-02-14 2015-02-03 Zhejiang Yiyang Tool Manufacture Co., Ltd. Ratchet wheel wrench
TWM449061U (en) * 2012-08-10 2013-03-21 xiu-li Wei Pass-through ratchet wrench with socket clamping apparatus
TWM456259U (en) * 2012-11-30 2013-07-01 Zuan-Cang Li Tooth structure of ratchet wrench
US20150224631A1 (en) * 2014-02-13 2015-08-13 Yi-Fu Chen Ratchet wrench
US9821441B2 (en) * 2014-02-13 2017-11-21 Yi-Fu Chen Ratchet wrench
US9327389B2 (en) * 2014-02-25 2016-05-03 Yi-Fu Chen Ratchet wrench
US20160167203A1 (en) * 2014-12-16 2016-06-16 Chia-Yu Chen Ratchet wrench able to enhance positioning effect of ratchet
TWM511925U (en) * 2015-03-30 2015-11-11 Yan-Ru Ji Ratchet wrench direction switching control structure
TWI598192B (en) * 2015-03-30 2017-09-11 Yan-Ru Ji Ratchet wrench direction switch structure
US10682744B2 (en) * 2015-05-15 2020-06-16 Ming Liang Zhang Ratchet wrench providing combined functions of ordinary ratchet wrenches
TWM509704U (en) * 2015-07-10 2015-10-01 Jun-Wen Liao Ratchet wrench structure
TWI547350B (en) * 2015-11-18 2016-09-01 Jia-You Chen Ratchet wrench structure

Patent Citations (2)

* Cited by examiner, † Cited by third party
Publication number Priority date Publication date Assignee Title
US7823484B1 (en) * 2008-09-15 2010-11-02 Wei-Chu Chen Reversible ratchet wrench whose operation directions are changed easily and quickly
US20110162488A1 (en) * 2010-01-07 2011-07-07 Meng Tsung Chan Ratchet wrench

Also Published As

Publication number Publication date
TWI608907B (en) 2017-12-21
JP6646096B2 (en) 2020-02-14
EP3388198B1 (en) 2019-06-05
US20180297177A1 (en) 2018-10-18
TW201836772A (en) 2018-10-16
US10279458B2 (en) 2019-05-07
JP2018176418A (en) 2018-11-15

Similar Documents

Publication Publication Date Title
EP3162446B1 (en) Push-button switching structure for hand-held shower head
US5230262A (en) Ratchet wrench
US7082862B2 (en) Hand tool having an adjustable head
US5174176A (en) Reversible rachet wrench with integrated dual pawl and spring and cam unit
US9649751B2 (en) Reversible ratchet wrench with a smaller rotational angle
US6752048B1 (en) Quick rotation wrench having an angle adjustment structure
EP3388198B1 (en) Reversible ratchet wrench without switch knob
US8650991B2 (en) Ratchet wrench
US20100229694A1 (en) Ratchet tool
US20170197298A1 (en) Stepless wrench with toothless drive
US6513409B1 (en) Ratchet wrench structure
US8215207B2 (en) Ratchet wrench
US9333628B2 (en) Driving end of tool
US20130008755A1 (en) Clutch Capable of Force Transmission in a Selected One of Two Directions
US6732613B2 (en) Screwdriver with changeable operation modes
US11491614B2 (en) Ratchet wrench allowing easy change of rotation direction
US9409284B2 (en) Ratchet handle
US20190176301A1 (en) Ratchet wrench
CN212146167U (en) Ratchet wrench
CN108724067B (en) Reversing ratchet wrench without switching button
TW201315575A (en) Ratchet wrench structure
US20150224631A1 (en) Ratchet wrench
US9021920B2 (en) Geared clickless socket wrench
GB2146279A (en) Adjustable wrench
CN105328611A (en) Thin bidirectional ratchet wrench

Legal Events

Date Code Title Description
PUAI Public reference made under article 153(3) epc to a published international application that has entered the european phase

Free format text: ORIGINAL CODE: 0009012

STAA Information on the status of an ep patent application or granted ep patent

Free format text: STATUS: THE APPLICATION HAS BEEN PUBLISHED

STAA Information on the status of an ep patent application or granted ep patent

Free format text: STATUS: REQUEST FOR EXAMINATION WAS MADE

AK Designated contracting states

Kind code of ref document: A1

Designated state(s): AL AT BE BG CH CY CZ DE DK EE ES FI FR GB GR HR HU IE IS IT LI LT LU LV MC MK MT NL NO PL PT RO RS SE SI SK SM TR

AX Request for extension of the european patent

Extension state: BA ME

17P Request for examination filed

Effective date: 20181001

RBV Designated contracting states (corrected)

Designated state(s): AL AT BE BG CH CY CZ DE DK EE ES FI FR GB GR HR HU IE IS IT LI LT LU LV MC MK MT NL NO PL PT RO RS SE SI SK SM TR

GRAP Despatch of communication of intention to grant a patent

Free format text: ORIGINAL CODE: EPIDOSNIGR1

STAA Information on the status of an ep patent application or granted ep patent

Free format text: STATUS: GRANT OF PATENT IS INTENDED

RIC1 Information provided on ipc code assigned before grant

Ipc: B25B 13/46 20060101AFI20190129BHEP

INTG Intention to grant announced

Effective date: 20190218

GRAS Grant fee paid

Free format text: ORIGINAL CODE: EPIDOSNIGR3

GRAA (expected) grant

Free format text: ORIGINAL CODE: 0009210

STAA Information on the status of an ep patent application or granted ep patent

Free format text: STATUS: THE PATENT HAS BEEN GRANTED

AK Designated contracting states

Kind code of ref document: B1

Designated state(s): AL AT BE BG CH CY CZ DE DK EE ES FI FR GB GR HR HU IE IS IT LI LT LU LV MC MK MT NL NO PL PT RO RS SE SI SK SM TR

REG Reference to a national code

Ref country code: GB

Ref legal event code: FG4D

REG Reference to a national code

Ref country code: CH

Ref legal event code: EP

REG Reference to a national code

Ref country code: AT

Ref legal event code: REF

Ref document number: 1139520

Country of ref document: AT

Kind code of ref document: T

Effective date: 20190615

REG Reference to a national code

Ref country code: DE

Ref legal event code: R096

Ref document number: 602018000111

Country of ref document: DE

REG Reference to a national code

Ref country code: IE

Ref legal event code: FG4D

REG Reference to a national code

Ref country code: NL

Ref legal event code: MP

Effective date: 20190605

REG Reference to a national code

Ref country code: LT

Ref legal event code: MG4D

PG25 Lapsed in a contracting state [announced via postgrant information from national office to epo]

Ref country code: HR

Free format text: LAPSE BECAUSE OF FAILURE TO SUBMIT A TRANSLATION OF THE DESCRIPTION OR TO PAY THE FEE WITHIN THE PRESCRIBED TIME-LIMIT

Effective date: 20190605

Ref country code: SE

Free format text: LAPSE BECAUSE OF FAILURE TO SUBMIT A TRANSLATION OF THE DESCRIPTION OR TO PAY THE FEE WITHIN THE PRESCRIBED TIME-LIMIT

Effective date: 20190605

Ref country code: AL

Free format text: LAPSE BECAUSE OF FAILURE TO SUBMIT A TRANSLATION OF THE DESCRIPTION OR TO PAY THE FEE WITHIN THE PRESCRIBED TIME-LIMIT

Effective date: 20190605

Ref country code: FI

Free format text: LAPSE BECAUSE OF FAILURE TO SUBMIT A TRANSLATION OF THE DESCRIPTION OR TO PAY THE FEE WITHIN THE PRESCRIBED TIME-LIMIT

Effective date: 20190605

Ref country code: NO

Free format text: LAPSE BECAUSE OF FAILURE TO SUBMIT A TRANSLATION OF THE DESCRIPTION OR TO PAY THE FEE WITHIN THE PRESCRIBED TIME-LIMIT

Effective date: 20190905

Ref country code: ES

Free format text: LAPSE BECAUSE OF FAILURE TO SUBMIT A TRANSLATION OF THE DESCRIPTION OR TO PAY THE FEE WITHIN THE PRESCRIBED TIME-LIMIT

Effective date: 20190605

Ref country code: LT

Free format text: LAPSE BECAUSE OF FAILURE TO SUBMIT A TRANSLATION OF THE DESCRIPTION OR TO PAY THE FEE WITHIN THE PRESCRIBED TIME-LIMIT

Effective date: 20190605

PG25 Lapsed in a contracting state [announced via postgrant information from national office to epo]

Ref country code: GR

Free format text: LAPSE BECAUSE OF FAILURE TO SUBMIT A TRANSLATION OF THE DESCRIPTION OR TO PAY THE FEE WITHIN THE PRESCRIBED TIME-LIMIT

Effective date: 20190906

Ref country code: BG

Free format text: LAPSE BECAUSE OF FAILURE TO SUBMIT A TRANSLATION OF THE DESCRIPTION OR TO PAY THE FEE WITHIN THE PRESCRIBED TIME-LIMIT

Effective date: 20190905

Ref country code: RS

Free format text: LAPSE BECAUSE OF FAILURE TO SUBMIT A TRANSLATION OF THE DESCRIPTION OR TO PAY THE FEE WITHIN THE PRESCRIBED TIME-LIMIT

Effective date: 20190605

Ref country code: LV

Free format text: LAPSE BECAUSE OF FAILURE TO SUBMIT A TRANSLATION OF THE DESCRIPTION OR TO PAY THE FEE WITHIN THE PRESCRIBED TIME-LIMIT

Effective date: 20190605

REG Reference to a national code

Ref country code: AT

Ref legal event code: MK05

Ref document number: 1139520

Country of ref document: AT

Kind code of ref document: T

Effective date: 20190605

PG25 Lapsed in a contracting state [announced via postgrant information from national office to epo]

Ref country code: EE

Free format text: LAPSE BECAUSE OF FAILURE TO SUBMIT A TRANSLATION OF THE DESCRIPTION OR TO PAY THE FEE WITHIN THE PRESCRIBED TIME-LIMIT

Effective date: 20190605

Ref country code: NL

Free format text: LAPSE BECAUSE OF FAILURE TO SUBMIT A TRANSLATION OF THE DESCRIPTION OR TO PAY THE FEE WITHIN THE PRESCRIBED TIME-LIMIT

Effective date: 20190605

Ref country code: RO

Free format text: LAPSE BECAUSE OF FAILURE TO SUBMIT A TRANSLATION OF THE DESCRIPTION OR TO PAY THE FEE WITHIN THE PRESCRIBED TIME-LIMIT

Effective date: 20190605

Ref country code: AT

Free format text: LAPSE BECAUSE OF FAILURE TO SUBMIT A TRANSLATION OF THE DESCRIPTION OR TO PAY THE FEE WITHIN THE PRESCRIBED TIME-LIMIT

Effective date: 20190605

Ref country code: CZ

Free format text: LAPSE BECAUSE OF FAILURE TO SUBMIT A TRANSLATION OF THE DESCRIPTION OR TO PAY THE FEE WITHIN THE PRESCRIBED TIME-LIMIT

Effective date: 20190605

Ref country code: SK

Free format text: LAPSE BECAUSE OF FAILURE TO SUBMIT A TRANSLATION OF THE DESCRIPTION OR TO PAY THE FEE WITHIN THE PRESCRIBED TIME-LIMIT

Effective date: 20190605

Ref country code: PT

Free format text: LAPSE BECAUSE OF FAILURE TO SUBMIT A TRANSLATION OF THE DESCRIPTION OR TO PAY THE FEE WITHIN THE PRESCRIBED TIME-LIMIT

Effective date: 20191007

PG25 Lapsed in a contracting state [announced via postgrant information from national office to epo]

Ref country code: IS

Free format text: LAPSE BECAUSE OF FAILURE TO SUBMIT A TRANSLATION OF THE DESCRIPTION OR TO PAY THE FEE WITHIN THE PRESCRIBED TIME-LIMIT

Effective date: 20191005

Ref country code: SM

Free format text: LAPSE BECAUSE OF FAILURE TO SUBMIT A TRANSLATION OF THE DESCRIPTION OR TO PAY THE FEE WITHIN THE PRESCRIBED TIME-LIMIT

Effective date: 20190605

Ref country code: IT

Free format text: LAPSE BECAUSE OF FAILURE TO SUBMIT A TRANSLATION OF THE DESCRIPTION OR TO PAY THE FEE WITHIN THE PRESCRIBED TIME-LIMIT

Effective date: 20190605

REG Reference to a national code

Ref country code: DE

Ref legal event code: R097

Ref document number: 602018000111

Country of ref document: DE

PG25 Lapsed in a contracting state [announced via postgrant information from national office to epo]

Ref country code: TR

Free format text: LAPSE BECAUSE OF FAILURE TO SUBMIT A TRANSLATION OF THE DESCRIPTION OR TO PAY THE FEE WITHIN THE PRESCRIBED TIME-LIMIT

Effective date: 20190605

PLBE No opposition filed within time limit

Free format text: ORIGINAL CODE: 0009261

STAA Information on the status of an ep patent application or granted ep patent

Free format text: STATUS: NO OPPOSITION FILED WITHIN TIME LIMIT

PG25 Lapsed in a contracting state [announced via postgrant information from national office to epo]

Ref country code: DK

Free format text: LAPSE BECAUSE OF FAILURE TO SUBMIT A TRANSLATION OF THE DESCRIPTION OR TO PAY THE FEE WITHIN THE PRESCRIBED TIME-LIMIT

Effective date: 20190605

Ref country code: PL

Free format text: LAPSE BECAUSE OF FAILURE TO SUBMIT A TRANSLATION OF THE DESCRIPTION OR TO PAY THE FEE WITHIN THE PRESCRIBED TIME-LIMIT

Effective date: 20190605

26N No opposition filed

Effective date: 20200306

REG Reference to a national code

Ref country code: DE

Ref legal event code: R119

Ref document number: 602018000111

Country of ref document: DE

PG25 Lapsed in a contracting state [announced via postgrant information from national office to epo]

Ref country code: MC

Free format text: LAPSE BECAUSE OF FAILURE TO SUBMIT A TRANSLATION OF THE DESCRIPTION OR TO PAY THE FEE WITHIN THE PRESCRIBED TIME-LIMIT

Effective date: 20190605

REG Reference to a national code

Ref country code: BE

Ref legal event code: MM

Effective date: 20200131

PG25 Lapsed in a contracting state [announced via postgrant information from national office to epo]

Ref country code: FR

Free format text: LAPSE BECAUSE OF NON-PAYMENT OF DUE FEES

Effective date: 20200131

Ref country code: DE

Free format text: LAPSE BECAUSE OF NON-PAYMENT OF DUE FEES

Effective date: 20200801

Ref country code: LU

Free format text: LAPSE BECAUSE OF NON-PAYMENT OF DUE FEES

Effective date: 20200126

PG25 Lapsed in a contracting state [announced via postgrant information from national office to epo]

Ref country code: BE

Free format text: LAPSE BECAUSE OF NON-PAYMENT OF DUE FEES

Effective date: 20200131

PG25 Lapsed in a contracting state [announced via postgrant information from national office to epo]

Ref country code: IE

Free format text: LAPSE BECAUSE OF NON-PAYMENT OF DUE FEES

Effective date: 20200126

REG Reference to a national code

Ref country code: CH

Ref legal event code: PL

PG25 Lapsed in a contracting state [announced via postgrant information from national office to epo]

Ref country code: CH

Free format text: LAPSE BECAUSE OF NON-PAYMENT OF DUE FEES

Effective date: 20210131

Ref country code: LI

Free format text: LAPSE BECAUSE OF NON-PAYMENT OF DUE FEES

Effective date: 20210131

PG25 Lapsed in a contracting state [announced via postgrant information from national office to epo]

Ref country code: MT

Free format text: LAPSE BECAUSE OF FAILURE TO SUBMIT A TRANSLATION OF THE DESCRIPTION OR TO PAY THE FEE WITHIN THE PRESCRIBED TIME-LIMIT

Effective date: 20190605

Ref country code: CY

Free format text: LAPSE BECAUSE OF FAILURE TO SUBMIT A TRANSLATION OF THE DESCRIPTION OR TO PAY THE FEE WITHIN THE PRESCRIBED TIME-LIMIT

Effective date: 20190605

PG25 Lapsed in a contracting state [announced via postgrant information from national office to epo]

Ref country code: MK

Free format text: LAPSE BECAUSE OF FAILURE TO SUBMIT A TRANSLATION OF THE DESCRIPTION OR TO PAY THE FEE WITHIN THE PRESCRIBED TIME-LIMIT

Effective date: 20190605

GBPC Gb: european patent ceased through non-payment of renewal fee

Effective date: 20220126

PG25 Lapsed in a contracting state [announced via postgrant information from national office to epo]

Ref country code: GB

Free format text: LAPSE BECAUSE OF NON-PAYMENT OF DUE FEES

Effective date: 20220126

PG25 Lapsed in a contracting state [announced via postgrant information from national office to epo]

Ref country code: SI

Free format text: LAPSE BECAUSE OF FAILURE TO SUBMIT A TRANSLATION OF THE DESCRIPTION OR TO PAY THE FEE WITHIN THE PRESCRIBED TIME-LIMIT

Effective date: 20190605