EP3371365B1 - Verfahren zur herstellung eines textilprodukts, verwendung davon und vorrichtung zur durchführung des verfahrens - Google Patents

Verfahren zur herstellung eines textilprodukts, verwendung davon und vorrichtung zur durchführung des verfahrens Download PDF

Info

Publication number
EP3371365B1
EP3371365B1 EP16793823.2A EP16793823A EP3371365B1 EP 3371365 B1 EP3371365 B1 EP 3371365B1 EP 16793823 A EP16793823 A EP 16793823A EP 3371365 B1 EP3371365 B1 EP 3371365B1
Authority
EP
European Patent Office
Prior art keywords
sheet
yarns
roughness
textile product
loops
Prior art date
Legal status (The legal status is an assumption and is not a legal conclusion. Google has not performed a legal analysis and makes no representation as to the accuracy of the status listed.)
Active
Application number
EP16793823.2A
Other languages
English (en)
French (fr)
Other versions
EP3371365A1 (de
Inventor
Chris Reutelingsperger
Current Assignee (The listed assignees may be inaccurate. Google has not performed a legal analysis and makes no representation or warranty as to the accuracy of the list.)
DSM IP Assets BV
Original Assignee
DSM IP Assets BV
Priority date (The priority date is an assumption and is not a legal conclusion. Google has not performed a legal analysis and makes no representation as to the accuracy of the date listed.)
Filing date
Publication date
Application filed by DSM IP Assets BV filed Critical DSM IP Assets BV
Priority claimed from PCT/EP2016/076676 external-priority patent/WO2017077036A1/en
Publication of EP3371365A1 publication Critical patent/EP3371365A1/de
Application granted granted Critical
Publication of EP3371365B1 publication Critical patent/EP3371365B1/de
Active legal-status Critical Current
Anticipated expiration legal-status Critical

Links

Images

Classifications

    • DTEXTILES; PAPER
    • D06TREATMENT OF TEXTILES OR THE LIKE; LAUNDERING; FLEXIBLE MATERIALS NOT OTHERWISE PROVIDED FOR
    • D06NWALL, FLOOR, OR LIKE COVERING MATERIALS, e.g. LINOLEUM, OILCLOTH, ARTIFICIAL LEATHER, ROOFING FELT, CONSISTING OF A FIBROUS WEB COATED WITH A LAYER OF MACROMOLECULAR MATERIAL; FLEXIBLE SHEET MATERIAL NOT OTHERWISE PROVIDED FOR
    • D06N7/00Flexible sheet materials not otherwise provided for, e.g. textile threads, filaments, yarns or tow, glued on macromolecular material
    • D06N7/0063Floor covering on textile basis comprising a fibrous top layer being coated at the back with at least one polymer layer, e.g. carpets, rugs, synthetic turf
    • D06N7/0071Floor covering on textile basis comprising a fibrous top layer being coated at the back with at least one polymer layer, e.g. carpets, rugs, synthetic turf characterised by their backing, e.g. pre-coat, back coating, secondary backing, cushion backing
    • D06N7/0081Floor covering on textile basis comprising a fibrous top layer being coated at the back with at least one polymer layer, e.g. carpets, rugs, synthetic turf characterised by their backing, e.g. pre-coat, back coating, secondary backing, cushion backing with at least one extra fibrous layer at the backing, e.g. stabilizing fibrous layer, fibrous secondary backing
    • DTEXTILES; PAPER
    • D06TREATMENT OF TEXTILES OR THE LIKE; LAUNDERING; FLEXIBLE MATERIALS NOT OTHERWISE PROVIDED FOR
    • D06NWALL, FLOOR, OR LIKE COVERING MATERIALS, e.g. LINOLEUM, OILCLOTH, ARTIFICIAL LEATHER, ROOFING FELT, CONSISTING OF A FIBROUS WEB COATED WITH A LAYER OF MACROMOLECULAR MATERIAL; FLEXIBLE SHEET MATERIAL NOT OTHERWISE PROVIDED FOR
    • D06N7/00Flexible sheet materials not otherwise provided for, e.g. textile threads, filaments, yarns or tow, glued on macromolecular material
    • D06N7/0063Floor covering on textile basis comprising a fibrous top layer being coated at the back with at least one polymer layer, e.g. carpets, rugs, synthetic turf
    • D06N7/0065Floor covering on textile basis comprising a fibrous top layer being coated at the back with at least one polymer layer, e.g. carpets, rugs, synthetic turf characterised by the pile
    • DTEXTILES; PAPER
    • D06TREATMENT OF TEXTILES OR THE LIKE; LAUNDERING; FLEXIBLE MATERIALS NOT OTHERWISE PROVIDED FOR
    • D06NWALL, FLOOR, OR LIKE COVERING MATERIALS, e.g. LINOLEUM, OILCLOTH, ARTIFICIAL LEATHER, ROOFING FELT, CONSISTING OF A FIBROUS WEB COATED WITH A LAYER OF MACROMOLECULAR MATERIAL; FLEXIBLE SHEET MATERIAL NOT OTHERWISE PROVIDED FOR
    • D06N7/00Flexible sheet materials not otherwise provided for, e.g. textile threads, filaments, yarns or tow, glued on macromolecular material
    • D06N7/0063Floor covering on textile basis comprising a fibrous top layer being coated at the back with at least one polymer layer, e.g. carpets, rugs, synthetic turf
    • D06N7/0071Floor covering on textile basis comprising a fibrous top layer being coated at the back with at least one polymer layer, e.g. carpets, rugs, synthetic turf characterised by their backing, e.g. pre-coat, back coating, secondary backing, cushion backing
    • DTEXTILES; PAPER
    • D06TREATMENT OF TEXTILES OR THE LIKE; LAUNDERING; FLEXIBLE MATERIALS NOT OTHERWISE PROVIDED FOR
    • D06NWALL, FLOOR, OR LIKE COVERING MATERIALS, e.g. LINOLEUM, OILCLOTH, ARTIFICIAL LEATHER, ROOFING FELT, CONSISTING OF A FIBROUS WEB COATED WITH A LAYER OF MACROMOLECULAR MATERIAL; FLEXIBLE SHEET MATERIAL NOT OTHERWISE PROVIDED FOR
    • D06N7/00Flexible sheet materials not otherwise provided for, e.g. textile threads, filaments, yarns or tow, glued on macromolecular material
    • D06N7/0063Floor covering on textile basis comprising a fibrous top layer being coated at the back with at least one polymer layer, e.g. carpets, rugs, synthetic turf
    • D06N7/0071Floor covering on textile basis comprising a fibrous top layer being coated at the back with at least one polymer layer, e.g. carpets, rugs, synthetic turf characterised by their backing, e.g. pre-coat, back coating, secondary backing, cushion backing
    • D06N7/0078Floor covering on textile basis comprising a fibrous top layer being coated at the back with at least one polymer layer, e.g. carpets, rugs, synthetic turf characterised by their backing, e.g. pre-coat, back coating, secondary backing, cushion backing the back coating or pre-coat being applied as a hot melt
    • DTEXTILES; PAPER
    • D06TREATMENT OF TEXTILES OR THE LIKE; LAUNDERING; FLEXIBLE MATERIALS NOT OTHERWISE PROVIDED FOR
    • D06NWALL, FLOOR, OR LIKE COVERING MATERIALS, e.g. LINOLEUM, OILCLOTH, ARTIFICIAL LEATHER, ROOFING FELT, CONSISTING OF A FIBROUS WEB COATED WITH A LAYER OF MACROMOLECULAR MATERIAL; FLEXIBLE SHEET MATERIAL NOT OTHERWISE PROVIDED FOR
    • D06N2211/00Specially adapted uses
    • D06N2211/06Building materials

Definitions

  • the present invention pertains to a method to manufacture a textile product comprising a first sheet having polymer yarns fastened to this sheet to form a pile thereon, the method comprising providing the sheet, stitching the polymer yarns through the sheet to form the pile on a first surface of the sheet and loops of the yarns at a second surface of the sheet (the second surface being opposite to the first surface), and heating the second surface of the sheet to at least partly melt the loops of the yarns to fasten the yarns to the sheet.
  • the invention also pertains to a method to use a textile product obtained with the new method and a device for applying the said method.
  • EP1598476 (Klieverik Heli ) describes a method for manufacturing a textile product as indicated supra.
  • the first sheet serves as a primary backing, which after the yarns have been fastened thereto, can act as an intermediate for making a carpet or other textile product, in which method the backing does not use a latex to anchor the yarns in place.
  • the backing comprises a sheet with piles of thermoplastic yarns (also called fibres) stitched through the thickness of the sheet and protruding from its upper surface.
  • the yarns extend from the second surface and form loops (either as a result from the stitching process itself or simply due to gravity) to provide for an intermediate anchoring of the yarns to the sheet (the yarns can still be removed easily by applying only a light pulling force by hand).
  • the backing is then fed (yarn upwards) along a heated roller surface and its underside is pressed against the roller so the yarns will melt. Klieverik states that after cooling the yarns are firmly anchored to each other and the backing without the need for a latex polymer.
  • thermoplastic adhesive such as hot melt adhesive
  • pressure may be applied after heating (e.g. by a pressure roller) to the backing and piles in a direction perpendicular to the backing surface (i.e. from below) to smear the plasticised yarns together to enhance their mutual adhesion, thus allowing the heated roller to be held at a lower temperature, below that at which the yarns would fuse by heat alone.
  • WO 2012/076348 (Niaga ) describes a method for manufacturing textile products that even improves the anchor strength of the yarn.
  • this method when the first yarn bearing sheet is pressed against the heated surface, the relative speed of the sheet and surface are adjusted to provide an additional mechanical force between them in the machine direction (i.e. the direction of transport of the sheet) which spreads the material of the yarn whilst it is still molten resulting in a stronger bond between the first sheet and the yarn.
  • the machine direction i.e. the direction of transport of the sheet
  • an additional secondary support layer may no longer be necessary, this document does teach that such a support layer may still be useful, especially if it comprises a reactive adhesive relying on thermally reversible reactions between reactive molecules present at the interface between the textile product and the carrier material.
  • a textile product as known from the art described here above will be glued to either a second sheet (as secondary backing, for example when manufacturing carpet tiles), or glued to a surface to be covered, such as a floor, the interior of a car, the interior of a boat or plane etc.
  • a method to manufacture a textile product as defined in the GENERAL FIELD OF THE INVENTION section comprises measuring a roughness of the second surface with the at least partly molten loops of the yarns thereon, after the at least partly molten loops have solidified (i.e. obtained a temperature below the melting temperature of the polymer) and, if the roughness differs from a predetermined surface roughness, adapting the method to manufacture the textile product, in order to obtain a second surface roughness that differs from the measured surface roughness.
  • the primary strength of the yarn binding i.e. the strength of binding the yarns to the first sheet due to the at least partly melting of the yarns at the second surface of this sheet
  • the surface texture of the second surface after the melting of the loops appears to be of significant influence too.
  • the durability of the adherence to a second sheet or other surface which durability on its turn has a significant influence on the wear of the textile product, seems to be dependent on the resulting surface texture of the second surface of the first sheet. In the art, this has most probably not been recognised as an important factor since one usually strives for a repeated result in manufacturing.
  • the process to manufacture the textile product can be adapted by varying any parameter that has an influence on the surface texture, to obtain a product having a different surface roughness, meeting the required properties, in particular, meeting properties required for a durable adherence of the textile product to a second sheet or other surface.
  • the said different surface roughness meets a predetermined surface roughness or a predetermined range of surface roughness, optionally after a second or further adaptation.
  • the invention also pertains to the use of a textile product obtainable in line with the above described method to cover a surface of a building or any other artificial or natural construction.
  • the invention also pertains to a device for use in manufacturing a textile product comprising a first sheet having polymer yarns fastened to this sheet to form a pile thereon, the yarns being stitched through the sheet to form the pile on a first surface of the sheet and loops of the yarns at a second surface of the sheet, the device comprising a heating element that is able to heat the loops of the yarns to above a melting temperature of the polymer, and transport means for transporting the sheet with the stitched yarns along the heating element, wherein the second surface is directed to the heating element, wherein the device comprises a sensor to measure the surface roughness of the second surface, the sensor being positioned at a section distal of the heating element (that is after the loops of the yarns have been heated).
  • a textile product is a product that comprises textile (i.e. material made mainly of natural or artificial fibres, often referred to as thread or yarn), optionally in combination with other components such as backing layers, carrier layers and/or adhesives.
  • Textile products typically comprise an upper layer of pile attached to a backing (where the raised pile fibres are also denoted as the "nap" of the product), but may also be flat weave.
  • Such products can be of various different constructions such as woven, needle felt, knotted, tufted and/or embroidered, though tufted products are the most common type.
  • the pile may be cut (as in a plush carpet) or form loops (as in a Berber carpet).
  • a polymer yarn is a yarn in which the yarn forming substance is a natural or synthetic thermoplastic polymer.
  • the most widely used polymer yarns for textile products are polyamide and polyester yarns.
  • Polyamide is mostly either PA6 or PA6,6 and the polyester used is mostly polyethylene terephtalate, generally referred to simply as PET.
  • PET polyethylene terephtalate
  • the polymers used for yarns have a melting point (Tm) of about 220 to 280°C and a glass transition temperature (Tg) of about 150 to about 180°C.
  • a loop of a yarn is a length of this yarn that may be curved away from the basic part of the yarn (not excluding that the loop is longer than the main part itself).
  • the basic part of the yarn is the part that forms the upper, visible part of the product.
  • this is the part of the yarns that forms the pile.
  • the loop is the part that extends from the back surface of the product.
  • the glass transition temperature is the temperature at which an amorphous solid becomes soft upon heating or brittle upon cooling.
  • the Tg is the temperature region where the polymer (when heated) transitions from a hard, glassy material to a soft, rubbery material.
  • the glass transition temperature is always lower than the melting temperature (Tm) of the crystalline state of the material.
  • Tg can be established by using Differential Scanning Calorimetry (DSC) at speed of 20K/min as commonly known in the art, typically by defining the midpoint of the said temperature region as Tg.
  • a sheet is a substantially two dimensional mass or material, i.e. broad and thin, typically, but not necessarily, rectangular in form, and inherently has two opposite surfaces.
  • Stitching is a method of mechanically making a yarn part of an object by stitches or as if with stitches, such as by tufting, knitting, sewing, weaving etc.
  • a process step taking place in-line means that this process step constitutes an integral part of a continuous sequence of operations.
  • Calendering is a process of smoothing a surface using pressure and/or heat.
  • a laminate is a structure comprising multiple stacked layers mechanically connected to each other.
  • a hot melt adhesive is a thermoplastic adhesive that is designed to be melted, i.e. heated to transform from a solid state into a liquid state to adhere materials after solidification.
  • Hot melt adhesives are typically non-reactive, crystalline and comprise low or no amount of solvents so curing and drying are typically not necessary in order to provide adequate adhesion.
  • a central processing unit is a hardware system, programmed to process data.
  • the hardware does not need to be one single unit, but may comprise several distributed units operatively connected via for example wireless connections.
  • the measuring of the roughness of the second surface, and the adaptation of the method to manufacture the textile product take place in-line.
  • a measurement of surface roughness is disclosed in US 2011/013176 .
  • measurement of the surface roughness takes place off-line.
  • vibrations of the environment might influence the roughness measurement. Therefore, surface roughness measurements are typically not performed in an industrial manufacturing line, inherently being under the influence of all kinds of vibrations, but off-line in a controlled vibration free environment.
  • in-line measurement of the surface roughness appears to be adequate for improving the known textile product manufacturing methods, apparently since the types of vibrations corresponding to textile producing equipment (mainly large transport drums, rotatably connected to heavy frames for transporting semi-continuous textile products as customary in the art) give raise to vibrations in a totally different spectrum (frequency and/or amplitude) than the surface roughness does, and therefore does not prevent the adequate use of in-line surface roughness measurement.
  • One of the prime advantages of a method according to this embodiment is that the manufacturing process can be adapted in-line instantly, without having to await a complete lane of textile to be produced, with the risk of this lane (which can be up to hundreds of meters long) not fulfilling the predetermined surface roughness parameters.
  • in-line measurement can be non-destructive, whereas the off-line measurement apparatus as used in the art in most cases requires a small sample to be analysed, which sample has to be cut from the textile product.
  • the measuring of the roughness of the second surface takes place after the polymer of the molten loops has cooled down to below its glass transition temperature.
  • Applicant realized that the surface texture might still change even after solidification of the molten polymer of the yarns, namely as long as its temperature remains above the glass transition temperature of the polymer material. Therefore, it is advantageous to await the sufficient cooling down of the surface before its texture is assessed by measuring the surface roughness.
  • the measuring of the roughness takes place using a non-contact measurement method.
  • a contact type of measurement might be fine to arrive at a method that meets the gist of the invention, it is found to be advantageous if the measurement method does not depend on contact between a sensor and the textile product.
  • a contact type of measurement might damage the textile product and also is more sensible to environmental vibrations.
  • a non-contact type of measurement for example an optical measurement method, this can be prevented, at least to a substantial extent.
  • the second surface of the sheet is heated using a hot body that contacts the second surface.
  • the melting step inherently comprises a calendering action. This decreases the window of surface roughness and therewith increases the reliability of the measurement method, this on its turn improving the manufacturing method.
  • the surface of the hot body has a relative speed (and thus moves at a relative speed greater than 0 m/s) with respect to the second surface of the first sheet.
  • the use of a hot body that has a relative speed with respect to the second surface during the melting process of the yarns is known from WO 2012/076348 . It now appears that this feature leads to an increased calendering action and thus is ideally suitable for use in the present method.
  • This combination of features may lead to a durable textile product having durable adherence properties to a second sheet.
  • the surface of the hot body is stationary, whereas the first sheet is transported along the hot body.
  • the manufacturing process of the textile product is adapted by adapting the above described heating of the second surface and/or by performing a calendering step (which in effect might be regarded as an additional calendering step) after the at least partly molten loops of the yarns have solidified.
  • a calendering step which in effect might be regarded as an additional calendering step
  • the surface texture is most conveniently altered, if not meeting predetermined specifications, by adapting the heating step itself.
  • the room to play with the primary heating step may not be very large, since the yarns have to meet basic binding properties (a back surface exactly meeting surface roughness demands, but having the yarns molted loose will not satisfy the properties needed for the end product). Therefore, an additional calendering step may be provided to perform a second smoothing action.
  • this additional calendering step takes place while the molten polymer still has a temperature above its glass transition temperature to ease the calendering.
  • this is advantageously adapted by changing the time period during which the second surface is heated. Although in theory also the temperature itself could be altered, such alteration can often not be obtained very fast, let alone instantly.
  • the time period for heating can be changed very fast, for example by altering the transport speed of the product in the manufacturing line, or by mechanically altering the length of the heating process. This will be explained in more detail in the examples section.
  • the textile product is a laminated textile product, i.e. a laminate of the first sheet and a second sheet
  • an adhesive is applied to this second surface to which adhesive the second sheet is adhered.
  • the adhesive is a hot melt adhesive, for example a hot melt adhesive that comprises at least 50% by weight of a polymer chosen from the group consisting of polyurethane, polycarbonate, polyester, polyamide, poly(ester-amide), polyolefine, mixtures thereof and/or copolymers thereof.
  • an intermediate layer is provided between the first sheet and the second sheet wherein the intermediate layer is resilient to allow local deformation of this layer along the second surface of the first sheet or along the surface of the second sheet adjacent to the intermediate layer.
  • curling of edges or corners is a problem since the edges in general to not coincide with an edge of the surface to be covered, and thus, the curled up edges or corners may lead to irregularities in center areas of the covered surface.
  • internal strain may lead to deformation such that interstices are formed at the joint of two sections of carpet.
  • internal strain may lead to bulges and local excessive wear.
  • the laminate inherently comprises different layers (note: the term “layer” or “sheet” does not exclude that the layer or sheet is actually constituted out different sublayers) that need to provide very different properties to the textile product (from now on also called “carpet”, not excluding other types of textile products such as upholstery, clothing and wall coverings):
  • the first sheet also called primary backing
  • the second sheet also called secondary backing, in general provides dimensional stability to the textile product. For this reason, the structure of the different layers is inherently different. And thus, even when for example the first and second sheet are made of the same material, the occurrence of internal strain due to different deformations by the action of moist and temperature, is inherently present.
  • the intermediate layer is a knitted layer.
  • a knitted layer although the fibres are in essence endless, appears to be perfectly suitable to allow only local deformation. Like a tubular knitted sock that fits every curve of a foot, a knitted layer can easily deform locally without transferring forces to neighboring areas.
  • a knitted layer for use in the present invention is for example Caliweb®, obtainable from TWE, Emsdetten, Germany.
  • this device comprises a central processing unit (CPU) to control the manufacturing process, wherein the sensor is operatively connected to the CPU whilst the CPU is configured to receive surface roughness data from the sensor, the CPU being programmed to adapt the manufacturing process using the said surface roughness data.
  • CPU central processing unit
  • the heating element of the device comprises a hot body and means for contacting the hot body with the second surface of the sheet.
  • Figure 1 is a schematic representation of respective layers of an embodiment of a laminated textile product manufactured according to the invention, in this case a carpet tile.
  • the tile comprises a first sheet 2, the so called primary backing, which may be a tufted nonwoven sealed polyester backing.
  • the polyester yarns 5 extend from the first surface 3 of this first sheet and are sealed to the second surface 4 of the sheet using the yarn melting method as described with reference to figure 2 .
  • the weight of this first sheet is typically about 500-800 g per m 2 .
  • the tile 1 comprises a second sheet 6, in this case a polyester needle felt backing.
  • the weight of this second sheet is typically about 700-900 g/m 2 .
  • first and second sheet In between the first and second sheet is an optional resilient layer 10 (which could for example be a polyester expansion fleece having a weight of 330 g/m 2 , obtainable from TWE, Emsdetten, Germany as Abstandsvliesstof).
  • the three layers are laminated together using a glue, which may be a polyester hot melt glue as obtainable from DSM, Geleen, the Netherlands, applied as layers 11 and 12 at a weight of about 300 g/m 2 .
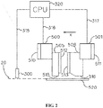
  • FIG. 2 which schematically shows details of a textile manufacturing process according to the invention.
  • a first heating block 500 and a second heating block 501 are present, in order to heat the heating elements, also denoted as heating blades or heating bodies, 505 and 506 respectively.
  • These heating elements have a working surface 515 and 516 respectively, which surfaces are brought in contact with a product to be processed, typically a primary carrier to which yarns are applied via a stitching process such as tufting.
  • the working surfaces both have a working width of 18 mm, and the intermediate distance is 26 mm.
  • the back surface of the product i.e. the second surface of the first sheet as explained with reference to Figure 1 ) is brought in contact with the working surfaces of the heating elements.
  • a Teflon support 520 is present which is used to counteract a pushing force applied to the heating elements.
  • the heating elements are stationary and the product 2 (not indicated in dashed lines in Figure 2 ) is moved relatively to the heating elements in the indicated direction X to become product 20 (indicated in dashed lines).
  • the (intermediate) textile product to be processed with the above described configuration consists of a primary sheet provided with a cut pile of polyester yarns, tufted into the sheet.
  • the yarns typically have a melting temperature of about 260-280°C.
  • This product is processed using a temperature of the heating element 506 of 200-220°C in order to pre-heat the product.
  • the other (distal) heating element 505 is kept at a temperature about 15°C above the melting temperature of the polyester yarns.
  • the heating blocks and heating elements are provided with layers of insulating material 510, 511, 512 and 513 respectively.
  • the product is supplied at a speed of 12 mm per second (0.72 metre per minute) or higher, and the pressure applied with the heating elements is about 1.35 Newton per square centimetre.
  • the loops of the yarns at the second surface of the sheet are partly molten and mechanically spread over the second surface to form a semi-continues layer of molten material that locks the yarns into the first sheet.
  • the pressure applied and the process speed this will result in a second surface having a more or less smoothed surface with some noticeable surface texture.
  • an optical surface roughness measurement sensor 300 Downstream (distal) of the heating blocks, at a section where the molten material will be sufficiently solidified, directed to the second surface of the product 20, is an optical surface roughness measurement sensor 300. With this sensor the 2D surface roughness of the second surface can be measured and data corresponding to this surface roughness are sent to CPU 320 via line 315. In this CPU, the actual surface roughness data are compared to predetermined values. If the data match these values, no adaptation of the manufacturing process will follow. If however the data indicate that the roughness is either too small (surface too smooth) or too large (surface too rough), the time period of heating and/or the heating temperatures of the two blocks may be adapted in order for a next section of product to meet the predetermined surface roughness data. Also, the pressure with which plate 520 is pressed against the heating blocks may be adapted.
  • FIG. 3 schematically shows an overview of a textile manufacturing process according to the invention.
  • the heating bodies 505 and 506 are arranged around a circular support 520'.
  • the intermediate textile product 2 is transported with its second surface 4 towards the heating bodies, while the product 2 is lying with its first surface (actually the pile that extends from the first surface) on the rotating support drum 520'.
  • the intermediate product is transported along transport path 200 and encounters cooling beam 305.
  • the cooling beam is a Teflon® coated aluminum stationary massive beam having a thickness of 20 mm, kept at a temperature below the glass transition temperature of the polyester yarns, typically below 120°C.
  • the beam has a length L 1 of 80 mm in the transport direction, and is situated at a distance L 2 of 76 mm from heating body 505. Depending on the process speed, the beam is actively cooled to prevent that its temperature rises too much. At process speeds below 1-2 meters/minute active cooling of the beam is generally not required. Above a process speed of 3 m/min, active cooling is usually required.
  • the beam is pressed against the second surface 4 of the textile product 2, using rotating counter roller 306, to provide for an additional calendering action.
  • surface roughness sensor 300 is positioned, directed to the second surface.
  • both the heating elements and the beam/roller combination for the additional calendering step are controlled by a CPU (not shown), at least partly based on surface roughness data received by the CPU from sensor 300.
  • Figure 4 schematically represents a laminating configuration for applying a second sheet, in this case a dimensionally stable secondary backing sheet, to the back of the first sheet that is produced with a method as described in conjunction with Figure 2 .
  • the term 'target sheet' denotes either the separate resilient layer and second sheet applied one after the other in that order, or the combined laminate of them both applied together to the first sheet.
  • Both the second sheet and the resilient layer may be of polyester.
  • a first roller 600 is depicted on to which roller is wound a 2 metre wide web of the said (pre-fabricated) product made according to the method described in conjunction with Figure 2 . The product is unwound from the roller 600 to have its back-side 217 to come into contact with a second roller 601.
  • This roller is provided to apply a layer of hot melt adhesive (HMA) 219 to the back side 217.
  • HMA hot melt adhesive
  • a bulk amount of HMA 219 is present and heated between the rollers 601 and 602.
  • the thickness of this layer can be adjusted by adjusting the gap between these two rollers.
  • Downstream of the section where the HMA is applied is the target sheet 215, which sheet is unwound from roller 603.
  • This sheet is pressed against the hot and tacky adhesive and cooled in the unit 700.
  • This unit consists of two belts 701 and 702 which on the one hand press the target sheet 215 against the primary product, i.e. the product that comprises the product of Figure 2 with a layer of HMA 219 applied to it, and on the other hand cools down the adhesive to below its solidification temperature.
  • the resulting end product 201 (corresponding to textile product 1 of Figure 1 ) is thereafter wound on roller 604.
  • the fibre-binding process as described in relation with Figure 2 and the lamination process take place in line.
  • the fibre-binding set-up as shown in Figure 2 could be placed between roller 600 and roller 601.
  • the applied HMA is the polyester of Example D as described in the Research Disclosure RD591084 as mentioned herein before.
  • a suitable temperature of the roller 601 at the site where this HMA is applied to the back-side of the primary backing is 140°C.
  • the HMA at a web speed of 2 m/min, roller 602 not revolving and roller 601 having a circumferential speed of ⁇ 1.6 m/min, will be applied with a thickness of about 500 g/m 2 . This is adequate to glue the target sheet 215 to the primary backing (i.e. the first sheet).
  • the hot melt adhesive may be optionally provided as a layer having a thickness of less than 1 mm, usefully less than 0.5 mm, more usefully from 0.2 to 0.4 mm.
  • the hot melt layer typically has a thickness well above 1 mm, applicant found that when reducing the thickness of this layer to 1 mm or below an adequate adhesion can still be obtained. Therefore, the adhesive layer present in textile products of the present invention may have preferred mean thickness of from 50 microns to 1 mm, more preferably from 0.1 mm to 0.8 mm, most preferably from 0.2 mm to 0.4 mm.
  • the amount of HMA used to form the adhesive layer in textile products of the present invention may be from 0.01 to 1000 g/m 2 of HMA per area of the adhesive layer. In another embodiment the HMA may be applied in an amount of from 0.05 to 800 g/m 2 . In a still yet other embodiment HMA may be applied in an amount from 0.1 to 600 g/m 2 .
  • the MikroCad device can generate multiple different types of surface roughness indicators.
  • Table 1 the results for the following indicators are given:
  • the S pk and S vk indicators correspond well to the quality of the product. Also, the standard deviations are relatively small. This means that one of these parameters might be used to establish a predetermined surface roughness (corresponding for example to an allowed range for one of these indicators). During manufacturing, if it would be established that the roughness differs from this predetermined surface roughness, the method may be adapted in order to obtain a surface roughness that meets the predetermined surface roughness.

Landscapes

  • Engineering & Computer Science (AREA)
  • Textile Engineering (AREA)
  • Treatment Of Fiber Materials (AREA)

Claims (14)

  1. Verfahren zum Herstellen eines Textilprodukts, das eine erste Bahn aufweist, wobei an dieser Bahn Polymergarne befestigt sind, um darauf einen Flor zu bilden, wobei das Verfahren umfasst:
    - Bereitstellen der Bahn,
    - Nähen der Polymergarne durch die Bahn, um den Flor auf einer ersten Fläche der Bahn und Schlingen des Garns an einer zweiten Fläche der Bahn zu bilden,
    - Erwärmen der zweiten Fläche der Bahn, um die Schlingen des Garns mindestens teilweise zu schmelzen, um die Garne an der Bahn zu befestigen,
    dadurch gekennzeichnet, dass das Verfahren ein Messen einer Rauheit der zweiten Fläche mit den darauf befindlichen mindestens teilweise geschmolzenen Schlingen des Garns aufweist, nachdem die mindestens teilweise geschmolzenen Schlingen ausgehärtet sind, und, wenn die Rauheit von einer vorgegebenen Flächenrauheit abweicht, Anpassen des Verfahrens zum Herstellen des Textilprodukts, um eine zweite Flächenrauheit zu erhalten, die sich von der gemessenen Flächenrauheit unterscheidet.
  2. Verfahren nach Anspruch 1, dadurch gekennzeichnet, dass das Messen der Rauheit der zweiten Fläche und das Anpassen des Verfahrens zum Herstellen des Textilprodukts in einer Reihenfolge erfolgen.
  3. Verfahren nach einem beliebigen der vorstehenden Ansprüche, dadurch gekennzeichnet, dass das Messen der Rauheit der zweiten Fläche erfolgt, nachdem das Polymer der geschmolzenen Schlingen bis auf unterhalb seiner Glasübergangstemperatur abgekühlt ist.
  4. Verfahren nach einem beliebigen der vorstehenden Ansprüche, dadurch gekennzeichnet, dass das Messen der Rauheit unter Verwendung eines berührungslosen Messverfahrens erfolgt.
  5. Verfahren nach einem beliebigen der vorstehenden Ansprüche, dadurch gekennzeichnet, dass das Messen der Rauheit unter Verwendung eines optischen Messverfahrens erfolgt.
  6. Verfahren nach einem beliebigen der vorstehenden Ansprüche, dadurch gekennzeichnet, dass die zweite Fläche der Bahn unter Verwendung eines heißen Körpers, der die zweite Fläche berührt, erwärmt wird.
  7. Verfahren nach Anspruch 6, dadurch gekennzeichnet, dass der heiße Körper bezogen auf die zweite Fläche der ersten Bahn eine relative Geschwindigkeit aufweist.
  8. Verfahren nach einem beliebigen der vorstehenden Ansprüche, dadurch gekennzeichnet, dass das Verfahren zum Herstellen des Textilprodukts angepasst wird, indem das Erwärmen der zweiten Fläche angepasst wird und/oder indem ein Kalandrierschritt vorgenommen wird, nachdem die mindestens teilweise geschmolzenen Schlingen des Garns ausgehärtet sind.
  9. Verfahren nach Anspruch 8, dadurch gekennzeichnet, dass das Erwärmen der zweiten Fläche angepasst wird, indem die Zeitspanne, während der die zweite Fläche erwärmt wird, geändert wird.
  10. Verfahren nach einem beliebigen der vorstehenden Ansprüche, wobei das Textilprodukt ein Laminat der ersten Bahn und einer zweiten Bahn ist, dadurch gekennzeichnet, dass, nachdem die zweite Fläche der ersten Bahn nach einem beliebigen der vorstehenden Ansprüche bearbeitet wurde, ein Kleber auf diese zweite Fläche aufgebracht wird und die zweite Bahn mit dem Kleber verklebt wird.
  11. Verfahren nach Anspruch 10, dadurch gekennzeichnet, dass der Kleber ein Heißschmelzkleber ist.
  12. Vorrichtung zur Verwendung beim Herstellen eines Textilprodukts, das eine erste Bahn aufweist, wobei an dieser Bahn Polymergarne befestigt werden, um darauf einen Flor zu bilden, wobei die Garne durch die Bahn genäht werden, um den Flor auf einer ersten Fläche der Bahn und Schlingen der Garne an einer zweiten Fläche der Bahn zu bilden, wobei die Vorrichtung aufweist:
    - ein Erwärmungselement, das in der Lage ist, die Schlingen der Garne auf oberhalb einer Schmelztemperatur des Polymers zu erwärmen,
    - Transportmittel für einen Transport der Bahn mit den vernähten Garnen entlang des Erwärmungselements, wobei die zweite Fläche dem Erwärmungselement zugewandt ist, dadurch gekennzeichnet, dass die Vorrichtung einen Sensor aufweist, um die Flächenrauheit der zweiten Fläche zu messen, wobei der Sensor sich in einem zum Erwärmungselement distalen Abschnitt befindet.
  13. Vorrichtung nach Anspruch 12, wobei die Vorrichtung eine Zentraleinheit (CPU) aufweist, um den Herstellungsprozess zu steuern, dadurch gekennzeichnet, dass der Sensor betriebsfähig mit der Zentraleinheit verbunden ist, während die Zentraleinheit ausgelegt ist, um Flächenrauheitsdaten vom Sensor zu empfangen, wobei die Zentraleinheit programmiert ist, um den Herstellungsprozess unter Verwendung der Flächenrauheitsdaten anzupassen.
  14. Vorrichtung nach einem beliebigen der Ansprüche 12 und 13, dadurch gekennzeichnet, dass das Erwärmungselement einen heißen Körper und Mittel zum Berühren des heißen Körpers mit der zweiten Fläche der Bahn aufweist.
EP16793823.2A 2015-11-05 2016-11-04 Verfahren zur herstellung eines textilprodukts, verwendung davon und vorrichtung zur durchführung des verfahrens Active EP3371365B1 (de)

Applications Claiming Priority (2)

Application Number Priority Date Filing Date Title
EP2015193218 2015-11-05
PCT/EP2016/076676 WO2017077036A1 (en) 2015-11-05 2016-11-04 A method to manufacture a textile product, a use thereof and a device for applying the method

Publications (2)

Publication Number Publication Date
EP3371365A1 EP3371365A1 (de) 2018-09-12
EP3371365B1 true EP3371365B1 (de) 2019-12-25

Family

ID=63077606

Family Applications (1)

Application Number Title Priority Date Filing Date
EP16793823.2A Active EP3371365B1 (de) 2015-11-05 2016-11-04 Verfahren zur herstellung eines textilprodukts, verwendung davon und vorrichtung zur durchführung des verfahrens

Country Status (1)

Country Link
EP (1) EP3371365B1 (de)

Non-Patent Citations (1)

* Cited by examiner, † Cited by third party
Title
None *

Also Published As

Publication number Publication date
EP3371365A1 (de) 2018-09-12

Similar Documents

Publication Publication Date Title
NO317689B1 (no) Fremgangsmate og anlegg til fremstilling av termofikserte baner fra termoplastiske polymer-materialpartikler
CN111002676A (zh) 一种由具有防滑性能的合成纤维织物制成的屋顶膜
US8591793B2 (en) Press felt for paper machine and method and device for producing said felt
EP3371365B1 (de) Verfahren zur herstellung eines textilprodukts, verwendung davon und vorrichtung zur durchführung des verfahrens
US10808354B2 (en) Method to manufacture a textile product, a use thereof and a device for applying the method
CN105899727B (zh) 纺织品及其用途、用于生产这种纺织品的方法以及用于回收该产品的方法
EP3371366B1 (de) Verfahren zur herstellung eines textilprodukts, verwendung davon, das produkt selbst und vorrichtung zur durchführung des verfahrens
US20180002863A1 (en) A method to manufacture a textile product, a use thereof and a device for applying the method
US10815614B2 (en) Methods to manufacture a textile product
WO2017137409A1 (en) A method to manufacture a textile product, a use thereof and a device for applying the method
US11859322B1 (en) Systems and methods for making multi-layer meltblown mats
WO2016110548A1 (en) Method to produce a laminated carpet tile, and tile obtainable with this method
WO2017137410A1 (en) A method to manufacture a textile product, a use thereof and a device for applying the method

Legal Events

Date Code Title Description
STAA Information on the status of an ep patent application or granted ep patent

Free format text: STATUS: UNKNOWN

STAA Information on the status of an ep patent application or granted ep patent

Free format text: STATUS: THE INTERNATIONAL PUBLICATION HAS BEEN MADE

PUAI Public reference made under article 153(3) epc to a published international application that has entered the european phase

Free format text: ORIGINAL CODE: 0009012

STAA Information on the status of an ep patent application or granted ep patent

Free format text: STATUS: REQUEST FOR EXAMINATION WAS MADE

17P Request for examination filed

Effective date: 20180508

AK Designated contracting states

Kind code of ref document: A1

Designated state(s): AL AT BE BG CH CY CZ DE DK EE ES FI FR GB GR HR HU IE IS IT LI LT LU LV MC MK MT NL NO PL PT RO RS SE SI SK SM TR

AX Request for extension of the european patent

Extension state: BA ME

DAV Request for validation of the european patent (deleted)
DAX Request for extension of the european patent (deleted)
GRAP Despatch of communication of intention to grant a patent

Free format text: ORIGINAL CODE: EPIDOSNIGR1

STAA Information on the status of an ep patent application or granted ep patent

Free format text: STATUS: GRANT OF PATENT IS INTENDED

INTG Intention to grant announced

Effective date: 20190614

GRAS Grant fee paid

Free format text: ORIGINAL CODE: EPIDOSNIGR3

GRAA (expected) grant

Free format text: ORIGINAL CODE: 0009210

STAA Information on the status of an ep patent application or granted ep patent

Free format text: STATUS: THE PATENT HAS BEEN GRANTED

AK Designated contracting states

Kind code of ref document: B1

Designated state(s): AL AT BE BG CH CY CZ DE DK EE ES FI FR GB GR HR HU IE IS IT LI LT LU LV MC MK MT NL NO PL PT RO RS SE SI SK SM TR

REG Reference to a national code

Ref country code: GB

Ref legal event code: FG4D

REG Reference to a national code

Ref country code: CH

Ref legal event code: EP

REG Reference to a national code

Ref country code: AT

Ref legal event code: REF

Ref document number: 1217245

Country of ref document: AT

Kind code of ref document: T

Effective date: 20200115

REG Reference to a national code

Ref country code: DE

Ref legal event code: R096

Ref document number: 602016026974

Country of ref document: DE

REG Reference to a national code

Ref country code: IE

Ref legal event code: FG4D

REG Reference to a national code

Ref country code: NL

Ref legal event code: FP

PG25 Lapsed in a contracting state [announced via postgrant information from national office to epo]

Ref country code: GR

Free format text: LAPSE BECAUSE OF FAILURE TO SUBMIT A TRANSLATION OF THE DESCRIPTION OR TO PAY THE FEE WITHIN THE PRESCRIBED TIME-LIMIT

Effective date: 20200326

Ref country code: NO

Free format text: LAPSE BECAUSE OF FAILURE TO SUBMIT A TRANSLATION OF THE DESCRIPTION OR TO PAY THE FEE WITHIN THE PRESCRIBED TIME-LIMIT

Effective date: 20200325

Ref country code: SE

Free format text: LAPSE BECAUSE OF FAILURE TO SUBMIT A TRANSLATION OF THE DESCRIPTION OR TO PAY THE FEE WITHIN THE PRESCRIBED TIME-LIMIT

Effective date: 20191225

Ref country code: LV

Free format text: LAPSE BECAUSE OF FAILURE TO SUBMIT A TRANSLATION OF THE DESCRIPTION OR TO PAY THE FEE WITHIN THE PRESCRIBED TIME-LIMIT

Effective date: 20191225

Ref country code: LT

Free format text: LAPSE BECAUSE OF FAILURE TO SUBMIT A TRANSLATION OF THE DESCRIPTION OR TO PAY THE FEE WITHIN THE PRESCRIBED TIME-LIMIT

Effective date: 20191225

Ref country code: BG

Free format text: LAPSE BECAUSE OF FAILURE TO SUBMIT A TRANSLATION OF THE DESCRIPTION OR TO PAY THE FEE WITHIN THE PRESCRIBED TIME-LIMIT

Effective date: 20200325

Ref country code: FI

Free format text: LAPSE BECAUSE OF FAILURE TO SUBMIT A TRANSLATION OF THE DESCRIPTION OR TO PAY THE FEE WITHIN THE PRESCRIBED TIME-LIMIT

Effective date: 20191225

REG Reference to a national code

Ref country code: LT

Ref legal event code: MG4D

PG25 Lapsed in a contracting state [announced via postgrant information from national office to epo]

Ref country code: RS

Free format text: LAPSE BECAUSE OF FAILURE TO SUBMIT A TRANSLATION OF THE DESCRIPTION OR TO PAY THE FEE WITHIN THE PRESCRIBED TIME-LIMIT

Effective date: 20191225

Ref country code: HR

Free format text: LAPSE BECAUSE OF FAILURE TO SUBMIT A TRANSLATION OF THE DESCRIPTION OR TO PAY THE FEE WITHIN THE PRESCRIBED TIME-LIMIT

Effective date: 20191225

PG25 Lapsed in a contracting state [announced via postgrant information from national office to epo]

Ref country code: AL

Free format text: LAPSE BECAUSE OF FAILURE TO SUBMIT A TRANSLATION OF THE DESCRIPTION OR TO PAY THE FEE WITHIN THE PRESCRIBED TIME-LIMIT

Effective date: 20191225

PG25 Lapsed in a contracting state [announced via postgrant information from national office to epo]

Ref country code: PT

Free format text: LAPSE BECAUSE OF FAILURE TO SUBMIT A TRANSLATION OF THE DESCRIPTION OR TO PAY THE FEE WITHIN THE PRESCRIBED TIME-LIMIT

Effective date: 20200520

Ref country code: CZ

Free format text: LAPSE BECAUSE OF FAILURE TO SUBMIT A TRANSLATION OF THE DESCRIPTION OR TO PAY THE FEE WITHIN THE PRESCRIBED TIME-LIMIT

Effective date: 20191225

Ref country code: RO

Free format text: LAPSE BECAUSE OF FAILURE TO SUBMIT A TRANSLATION OF THE DESCRIPTION OR TO PAY THE FEE WITHIN THE PRESCRIBED TIME-LIMIT

Effective date: 20191225

Ref country code: EE

Free format text: LAPSE BECAUSE OF FAILURE TO SUBMIT A TRANSLATION OF THE DESCRIPTION OR TO PAY THE FEE WITHIN THE PRESCRIBED TIME-LIMIT

Effective date: 20191225

PG25 Lapsed in a contracting state [announced via postgrant information from national office to epo]

Ref country code: SK

Free format text: LAPSE BECAUSE OF FAILURE TO SUBMIT A TRANSLATION OF THE DESCRIPTION OR TO PAY THE FEE WITHIN THE PRESCRIBED TIME-LIMIT

Effective date: 20191225

Ref country code: IS

Free format text: LAPSE BECAUSE OF FAILURE TO SUBMIT A TRANSLATION OF THE DESCRIPTION OR TO PAY THE FEE WITHIN THE PRESCRIBED TIME-LIMIT

Effective date: 20200425

Ref country code: SM

Free format text: LAPSE BECAUSE OF FAILURE TO SUBMIT A TRANSLATION OF THE DESCRIPTION OR TO PAY THE FEE WITHIN THE PRESCRIBED TIME-LIMIT

Effective date: 20191225

REG Reference to a national code

Ref country code: DE

Ref legal event code: R097

Ref document number: 602016026974

Country of ref document: DE

PG25 Lapsed in a contracting state [announced via postgrant information from national office to epo]

Ref country code: DK

Free format text: LAPSE BECAUSE OF FAILURE TO SUBMIT A TRANSLATION OF THE DESCRIPTION OR TO PAY THE FEE WITHIN THE PRESCRIBED TIME-LIMIT

Effective date: 20191225

Ref country code: ES

Free format text: LAPSE BECAUSE OF FAILURE TO SUBMIT A TRANSLATION OF THE DESCRIPTION OR TO PAY THE FEE WITHIN THE PRESCRIBED TIME-LIMIT

Effective date: 20191225

PLBE No opposition filed within time limit

Free format text: ORIGINAL CODE: 0009261

STAA Information on the status of an ep patent application or granted ep patent

Free format text: STATUS: NO OPPOSITION FILED WITHIN TIME LIMIT

REG Reference to a national code

Ref country code: AT

Ref legal event code: MK05

Ref document number: 1217245

Country of ref document: AT

Kind code of ref document: T

Effective date: 20191225

PG25 Lapsed in a contracting state [announced via postgrant information from national office to epo]

Ref country code: SI

Free format text: LAPSE BECAUSE OF FAILURE TO SUBMIT A TRANSLATION OF THE DESCRIPTION OR TO PAY THE FEE WITHIN THE PRESCRIBED TIME-LIMIT

Effective date: 20191225

26N No opposition filed

Effective date: 20200928

PG25 Lapsed in a contracting state [announced via postgrant information from national office to epo]

Ref country code: IT

Free format text: LAPSE BECAUSE OF FAILURE TO SUBMIT A TRANSLATION OF THE DESCRIPTION OR TO PAY THE FEE WITHIN THE PRESCRIBED TIME-LIMIT

Effective date: 20191225

Ref country code: AT

Free format text: LAPSE BECAUSE OF FAILURE TO SUBMIT A TRANSLATION OF THE DESCRIPTION OR TO PAY THE FEE WITHIN THE PRESCRIBED TIME-LIMIT

Effective date: 20191225

PG25 Lapsed in a contracting state [announced via postgrant information from national office to epo]

Ref country code: PL

Free format text: LAPSE BECAUSE OF FAILURE TO SUBMIT A TRANSLATION OF THE DESCRIPTION OR TO PAY THE FEE WITHIN THE PRESCRIBED TIME-LIMIT

Effective date: 20191225

PG25 Lapsed in a contracting state [announced via postgrant information from national office to epo]

Ref country code: MC

Free format text: LAPSE BECAUSE OF FAILURE TO SUBMIT A TRANSLATION OF THE DESCRIPTION OR TO PAY THE FEE WITHIN THE PRESCRIBED TIME-LIMIT

Effective date: 20191225

REG Reference to a national code

Ref country code: CH

Ref legal event code: PL

PG25 Lapsed in a contracting state [announced via postgrant information from national office to epo]

Ref country code: LU

Free format text: LAPSE BECAUSE OF NON-PAYMENT OF DUE FEES

Effective date: 20201104

REG Reference to a national code

Ref country code: DE

Ref legal event code: R081

Ref document number: 602016026974

Country of ref document: DE

Owner name: COVESTRO (NETHERLANDS) B.V., NL

Free format text: FORMER OWNER: DSM IP ASSETS B.V., HEERLEN, NL

Ref country code: DE

Ref legal event code: R081

Ref document number: 602016026974

Country of ref document: DE

Owner name: OBJECT CARPET GMBH, DE

Free format text: FORMER OWNER: DSM IP ASSETS B.V., HEERLEN, NL

PG25 Lapsed in a contracting state [announced via postgrant information from national office to epo]

Ref country code: LI

Free format text: LAPSE BECAUSE OF NON-PAYMENT OF DUE FEES

Effective date: 20201130

Ref country code: CH

Free format text: LAPSE BECAUSE OF NON-PAYMENT OF DUE FEES

Effective date: 20201130

REG Reference to a national code

Ref country code: GB

Ref legal event code: 732E

Free format text: REGISTERED BETWEEN 20210923 AND 20210929

PG25 Lapsed in a contracting state [announced via postgrant information from national office to epo]

Ref country code: IE

Free format text: LAPSE BECAUSE OF NON-PAYMENT OF DUE FEES

Effective date: 20201104

Ref country code: FR

Free format text: LAPSE BECAUSE OF NON-PAYMENT OF DUE FEES

Effective date: 20201130

REG Reference to a national code

Ref country code: BE

Ref legal event code: PD

Owner name: MS HOLDING B.V.; NL

Free format text: DETAILS ASSIGNMENT: CHANGE OF OWNER(S), ASSIGNMENT; FORMER OWNER NAME: DSM IP ASSETS B.V.

Effective date: 20211015

Ref country code: BE

Ref legal event code: HC

Owner name: COVESTRO (NETHERLANDS) B.V.; NL

Free format text: DETAILS ASSIGNMENT: CHANGE OF OWNER(S), CHANGE OF OWNER(S) NAME; FORMER OWNER NAME: MS HOLDING B.V.

Effective date: 20211015

REG Reference to a national code

Ref country code: NL

Ref legal event code: PD

Owner name: COVESTRO (NETHERLANDS) B.V.; NL

Free format text: DETAILS ASSIGNMENT: CHANGE OF OWNER(S), ASSIGNMENT; FORMER OWNER NAME: DSM IP ASSETS B.V.

Effective date: 20211108

PG25 Lapsed in a contracting state [announced via postgrant information from national office to epo]

Ref country code: TR

Free format text: LAPSE BECAUSE OF FAILURE TO SUBMIT A TRANSLATION OF THE DESCRIPTION OR TO PAY THE FEE WITHIN THE PRESCRIBED TIME-LIMIT

Effective date: 20191225

Ref country code: MT

Free format text: LAPSE BECAUSE OF FAILURE TO SUBMIT A TRANSLATION OF THE DESCRIPTION OR TO PAY THE FEE WITHIN THE PRESCRIBED TIME-LIMIT

Effective date: 20191225

Ref country code: CY

Free format text: LAPSE BECAUSE OF FAILURE TO SUBMIT A TRANSLATION OF THE DESCRIPTION OR TO PAY THE FEE WITHIN THE PRESCRIBED TIME-LIMIT

Effective date: 20191225

PG25 Lapsed in a contracting state [announced via postgrant information from national office to epo]

Ref country code: MK

Free format text: LAPSE BECAUSE OF FAILURE TO SUBMIT A TRANSLATION OF THE DESCRIPTION OR TO PAY THE FEE WITHIN THE PRESCRIBED TIME-LIMIT

Effective date: 20191225

REG Reference to a national code

Ref country code: DE

Ref legal event code: R081

Ref document number: 602016026974

Country of ref document: DE

Owner name: COVESTRO (NETHERLANDS) B.V., NL

Free format text: FORMER OWNER: COVESTRO (NETHERLANDS) B.V., NIEUWEGEIN, NL

Ref country code: DE

Ref legal event code: R081

Ref document number: 602016026974

Country of ref document: DE

Owner name: OBJECT CARPET GMBH, DE

Free format text: FORMER OWNER: COVESTRO (NETHERLANDS) B.V., NIEUWEGEIN, NL

PGFP Annual fee paid to national office [announced via postgrant information from national office to epo]

Ref country code: NL

Payment date: 20241024

Year of fee payment: 9

PGFP Annual fee paid to national office [announced via postgrant information from national office to epo]

Ref country code: DE

Payment date: 20241023

Year of fee payment: 9

PGFP Annual fee paid to national office [announced via postgrant information from national office to epo]

Ref country code: BE

Payment date: 20241027

Year of fee payment: 9

PGFP Annual fee paid to national office [announced via postgrant information from national office to epo]

Ref country code: GB

Payment date: 20241017

Year of fee payment: 9

REG Reference to a national code

Ref country code: NL

Ref legal event code: PD

Owner name: OBJECT CARPET GMBH; DE

Free format text: DETAILS ASSIGNMENT: CHANGE OF OWNER(S), ASSIGNMENT; FORMER OWNER NAME: DSM IP ASSETS B.V.

Effective date: 20250414

REG Reference to a national code

Ref country code: GB

Ref legal event code: 732E

Free format text: REGISTERED BETWEEN 20250410 AND 20250416

REG Reference to a national code

Ref country code: DE

Ref legal event code: R081

Ref document number: 602016026974

Country of ref document: DE

Owner name: OBJECT CARPET GMBH, DE

Free format text: FORMER OWNER: COVESTRO (NETHERLANDS) B.V., GELEEN, NL

REG Reference to a national code

Ref country code: BE

Ref legal event code: PD

Owner name: OBJECT CARPET GMBH; DE

Free format text: DETAILS ASSIGNMENT: CHANGE OF OWNER(S), ASSIGNMENT; FORMER OWNER NAME: COVESTRO (NETHERLANDS) B.V.

Effective date: 20250313