EP2927017A1 - A method of covering a substrate - Google Patents

A method of covering a substrate Download PDF

Info

Publication number
EP2927017A1
EP2927017A1 EP14163628.2A EP14163628A EP2927017A1 EP 2927017 A1 EP2927017 A1 EP 2927017A1 EP 14163628 A EP14163628 A EP 14163628A EP 2927017 A1 EP2927017 A1 EP 2927017A1
Authority
EP
European Patent Office
Prior art keywords
substrate
substance
film
panel
radiation
Prior art date
Legal status (The legal status is an assumption and is not a legal conclusion. Google has not performed a legal analysis and makes no representation as to the accuracy of the status listed.)
Granted
Application number
EP14163628.2A
Other languages
German (de)
French (fr)
Other versions
EP2927017B2 (en
EP2927017B1 (en
Inventor
Bruno Paul Louis Vermeulen
Current Assignee (The listed assignees may be inaccurate. Google has not performed a legal analysis and makes no representation or warranty as to the accuracy of the list.)
Flooring Industries Ltd SARL
Original Assignee
Spanolux NV SA
Priority date (The priority date is an assumption and is not a legal conclusion. Google has not performed a legal analysis and makes no representation as to the accuracy of the date listed.)
Filing date
Publication date
Family has litigation
First worldwide family litigation filed litigation Critical https://patents.darts-ip.com/?family=50434109&utm_source=google_patent&utm_medium=platform_link&utm_campaign=public_patent_search&patent=EP2927017(A1) "Global patent litigation dataset” by Darts-ip is licensed under a Creative Commons Attribution 4.0 International License.
Application filed by Spanolux NV SA filed Critical Spanolux NV SA
Priority to PL14163628T priority Critical patent/PL2927017T5/en
Priority to EP14163628.2A priority patent/EP2927017B2/en
Priority to PCT/EP2015/057397 priority patent/WO2015150554A1/en
Publication of EP2927017A1 publication Critical patent/EP2927017A1/en
Application granted granted Critical
Publication of EP2927017B1 publication Critical patent/EP2927017B1/en
Publication of EP2927017B2 publication Critical patent/EP2927017B2/en
Active legal-status Critical Current
Anticipated expiration legal-status Critical

Links

Images

Classifications

    • BPERFORMING OPERATIONS; TRANSPORTING
    • B44DECORATIVE ARTS
    • B44CPRODUCING DECORATIVE EFFECTS; MOSAICS; TARSIA WORK; PAPERHANGING
    • B44C5/00Processes for producing special ornamental bodies
    • B44C5/04Ornamental plaques, e.g. decorative panels, decorative veneers
    • B44C5/0469Ornamental plaques, e.g. decorative panels, decorative veneers comprising a decorative sheet and a core formed by one or more resin impregnated sheets of paper

Definitions

  • the present invention pertains to a method of covering a substrate.
  • a method of covering a substrate, in particular for manufacturing a floor panel, by means of a laminating process is known in the art.
  • a laminating process one or more resin-impregnated paper sheets are placed on a substrate and the entire stack is pressed at elevated temperature.
  • One of the paper sheets may be provided with a decorative pattern. Due to hot pressing the resin flows to the substrate and after cooling down the resulting product the one or more paper sheets are adhered to the substrate.
  • a disadvantage of such a conventional laminating technique is that the method must be performed at relatively high pressure and temperature.
  • conventional laminating techniques appear to provide inferior adherence quality between certain combinations of films and substrates due to less compatible materials, for example a PVC sheet on a substrate including an ink pattern on its surface.
  • a relatively high temperature such as in case of a conventional laminating process may deteriorate a decorative pattern on the substrate, in particular in case of a decorative pattern of UV curable ink.
  • An object of the invention is to provide an improved method of covering a substrate.
  • the method according to the invention comprises the steps of supplying a substrate, a curable substance and a substantially air-tight transparent film, applying a decorative pattern on at least one of the substrate and the film, forming a stack of the substrate, the substance and the film, wherein the substance is sandwiched between the substrate and the film, bringing the film, the substance and the substrate in close contact to each other, curing the substance by means of radiation through the transparent film and fixing the substance to the film and the substrate.
  • the transparency and composition of the film correspond to the type of radiation that is used. It is noted that the method is not finalized by removing the film, but the resulting product includes the film. Removing the film will be difficult or even impossible without damaging the surface of the cured substance.
  • An advantage of the method according to the invention is that the process can be performed at relatively low temperature.
  • the method may be performed at room temperature, i.e. below 30 °C, or below 50 °C. This means that also substrates and films can be used which are sensitive to severe thermal conditions.
  • the curable substance forms a layer between the substrate and the film. Due to the air-tightness of the film it functions as a barrier against oxygen transfer through the transparent film. This means that local inert conditions at the curable substance are created. Therefore, an inert radiation chamber for creating inert conditions for the entire stack is not required.
  • the method can be performed at minimal pressure or without pressure; bringing the film, the substance and the substrate in close contact to each other is sufficient to minimize presence of air between the film and the substrate.
  • the pressure, if applied is far below the level that is applied in conventional laminating techniques such as DPL and HPL, for example below 20 kg/m 2 .
  • the method according to the invention provides the opportunity to laminate materials which are less compatible in conventional laminating techniques such as a PVC sheet on HDF, or a PVC sheet on a substrate including an ink pattern; it is known, for example, that conventional laminating at elevated temperature of a PVC sheet on UV curable ink may lead to inferior adherence quality.
  • the curable substance may comprise a synthetic resin which is polymerized during the radiation treatment, more specifically via free radical polymerization. Radiation generates radicals in the substance. Since the chemical affinity between a radical and oxygen is higher than the affinity of the radicals with each other inert conditions are advantageous.
  • the step of radiation may be performed by UV radiation, X-ray radiation, laser radiation, electron beam radiation, visible light, infrared, or the like. If curing is performed by means of UV light the curable substance may contain photoinitiators for initiating free radical polymerization. In particular, mercury-free UV LEDs appear to be appropriate because of their advantageous penetration characteristics into the curable substance. In case of using electron beam radiation photoinitiators are not required.
  • the transparency and/or composition of the film correspond to the type of radiation that is used.
  • the film should be transparent for electron beam radiation, but may be opaque for visible light.
  • a decorative pattern below the film should be visible the film must be transparent for visible light, as well.
  • the method has a further advantage compared to conventional laminating techniques in that a resin impregnated paper sheet or conventional glue can be omitted between the film and the substrate. Hence, any loss of transparency due to the manufacturing process, such as in case of applying a resin impregnated overlay paper, is minimized. Nevertheless, the method according to the invention may be applied for laminating a film, for example made of PVC, on a resin impregnated substrate when using a compatible curable substance between the film and the resin impregnated substrate.
  • the substance may contain additives for improving its properties during the step of applying it between the substrate and the film, for example plasticizers, fillers, or the like.
  • the substance may also have further functional properties, for example for improving acoustic characteristics of the resulting product. It may also have anti-static properties or UV-filtering properties for protecting an underlying decorative pattern, or the like.
  • the resulting product may be a panel suitable for a floor, wall or ceiling covering or alternative coverings.
  • the product may also be a panel that is suitable for furniture, or the like.
  • the transparent film may be coloured or decorated but should be sufficiently transparent to pass the radiation. It is noted that transparency is related to the type of radiation; in case of applying electron beam radiation curing the film may be opaque for visible light radiation, but must be transparent for electron beam radiation. Furthermore, the film should not be degenerated under influence of the radiation, for example becoming brittle. Of course, if additional layers are applied these should be sufficient transparent, as well.
  • a balancing layer may be applied on the substrate at the side opposite to the side which is provided with the decorative pattern.
  • the stack may be formed by first applying the substance on the substrate, and then placing the film on the substance. It is also possible to apply the curable substance first onto the film, and then laying the substrate and the film including the curable substance onto each other. Alternatively, the curable substance is applied both onto the film and the substrate, after which the substrate and the film including the curable substance are laid onto each other.
  • the contact surfaces of the film and the curable substance and/or the contact surfaces of the curable substance and the substrate should be compatible to each other.
  • the contact surfaces of the film and the substrate may be slightly rough such that the curable substance partly enters into the contact surfaces and adheres thereto upon curing.
  • one or more additional adhesive layers may be applied between the curable substance and the substrate and/or between the curable substance and the film for attaching the respective parts to each other.
  • the additional layers may be cured by other treatments than radiation, for example by thermal treatment.
  • the method may be carried out as a continuous process wherein the step of bringing the film, the substance and the substrate in close contact to each other is performed by means of calandering or rollers.
  • the step of bringing the film, the substance and the substrate in close contact to each other may be performed by a low-pressure or no pressure laminating process, wherein the pressure is lower than 20 kg/m 2 .
  • the decorative pattern may comprise an ink pattern. This may be printed on the substrate and/or the film by means of contact or non-contact printing, preferably by means of a digital printer. Alternative printing means are also possible.
  • the decorative pattern may also be printed on a separate sheet that is attached to the substrate before, after or during printing. Numerous types of patterns are conceivable, for example a wood pattern, stone pattern, etc.
  • the substrate may be pretreated for improving the adherence of the decorative pattern to the substrate, for example a surface treatment such as plasma-treatment or applying a primer, or the like.
  • the ink pattern may be dried before it contacts the substance, but not fully cured yet, for example, in case of a UV curable ink. Curing of the ink may occur at the same time as curing of the substance, but in practice the ink will be dried at least partially before contacting the substance and entirely curing the ink and the substance.
  • the transparent film may be provided with a surface texture.
  • the surface texture may be applied during the step of bringing the film, the substance and the substrate in close contact to each other, but it is also conceivable that a film including a surface texture is supplied. In the latter case the surface texturing can be applied in a separate process and a relatively deep and sharp embossment is possible, whereas the embossment remains stable during the method of covering the substrate. Besides, an efficient process in terms of energy consumption is provided.
  • the calander may be provided with a textured surface.
  • the method according to the invention allows a relatively simple embossing-in-register process compared to a thermal lamination process.
  • Embossing-in-register in this case can be performed more accurately than in conventional laminating processes in which a resin-impregnated paper sheet is provided with a decorative pattern, since the position of the pattern on the paper sheet varies due to the impregnation, in practice.
  • the air-tight transparent film can be aligned with the substrate on which the decorative pattern is applied.
  • the transparent film may be made of PVC or an alternative wear-resistant material. This means that the resulting product may be a panel that is suitable as a floor panel. Additionally, the film may contain anti-wear particles such as corundum particles, glass beads, silica or the like.
  • the curable substance may be applied by means of screen printing, roller printing, spraying, curtain coating or the like.
  • the thickness of the substance may be in a range from 20 to 500 ⁇ m, but a larger or smaller thickness is conceivable.
  • the viscosity may be within a range from 150 centipoise to 500 poise at 20°C and more preferably within a range from 10 to 50 poise at 20°C.
  • the substance may be a pasty liquid.
  • the thickness of the transparent film may be in a range from 5 to 1000 ⁇ m, but a larger or smaller thickness is conceivable.
  • the substrate may be rigid or flexible such that the resulting product may comprise a panel which is rigid or flexible, respectively. It may be made of wood-based material like MDF, HDF, WPC, or vinyl, metal, glass, stone, ceramic, textile, non-woven fabric, polymeric composite or the like. Furthermore, the substrate may be a flexible thin sheet such that the resulting product itself can be an intermediate product that can be attached to a second substrate.
  • the resulting product forms a so-called hybrid product, wherein the substrate is rigid and the film and/or the cured substance is/are elastic or reversed.
  • Conventional laminating techniques including relatively high pressure and temperature are less suitable for manufacturing such hybrid products.
  • a sublimation agent can be applied on the side of the air-tight transparent film which is directed to the curable substance. Then, the film can be pressed at a low pressure level on the curable substance and heat can be supplied so as to transfer the sublimation agent towards the substrate.
  • a calander it may comprise a heated roller or a heated engraved cylinder.
  • the curable substance can be cured by means of radiation as described above.
  • the film can be made of PVC on which the sublimation can be printed at a relatively low resolution. Upon the step of sublimation the agent slightly diverges during travelling towards the substrate. Consequently, the printed pattern is smoothened after sublimation.
  • the decorative pattern may be applied on a side of the film facing the substrate. Additionally, the opposite side of the film may be provided with a layer of thermoplastic polyurethane (TPU). The latter layer may be applied before or after the step of bringing the film, the substance and the substrate in close contact to each other.
  • TPU belongs to a class of polyurethane plastics with many useful properties, including elasticity, transparency and resistance to oil, grease and abrasion. Technically, they are thermoplastic elastomers consisting of linear segmented block copolymers composed of hard and soft segments.
  • the substrate may comprise a decorative sheet, such as a paper sheet, on which the decorative pattern is applied, wherein the decorative sheet absorbs at least a part of the substance.
  • the absorption properties of the decorative sheet and the material properties of the curable substance can be selected such that a desired level of penetration of the substance into the decorative sheet can be achieved before the step of curing the substance.
  • the number of layers of the stack may be extended.
  • a second radiation-curable substance and a second substrate is supplied, wherein the stack is extended by the second substrate and a layer of the second substance which is sandwiched between the substrate and the second substrate, wherein the substances are cured by means of radiation through the transparent film and the substances are fixed to the film, the substrate and the second substrate.
  • the second radiation-curable substance between the substrate and the second substrate may be the same as the curable substance between the transparent film and the decorative sheet.
  • the second substrate may be rigid or flexible and/or thicker than the substrate, for example a board of HDF, but numerous other types of substrates are conceivable.
  • the decorative sheet can absorb the curable substance at its side facing the transparent film, whereas the opposite side facing the second substrate can absorb the second curable substance before the step of curing and fixing.
  • the material properties of the layers can be selected such that the radiation for curing reaches both substances. For example, electron beam radiation can penetrate relatively deeply such that both substances can be cured synchronously which appears to provide a surprisingly advantageous method of covering a substrate.
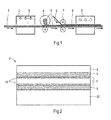
  • Fig. 1 illustrates an embodiment of the method according to the invention.
  • the method is performed as a continuous process.
  • a substrate 1 in the form of a continuous sheet is supplied at the left side in Fig. 1 and transported from left to right.
  • the substrate 1 passes a printing station 2 where a decorative pattern 3 is printed on the substrate 1. This may be performed by means of contact printing, non-contact printing, roller printing, inkjet printing, or the like.
  • a curable substance 5 in the form of a (pasty) liquid is applied onto the substrate 1 including the decorative pattern 3.
  • an air-tight transparent film 6 is supplied and placed on the layer of curable substance 5 and pressed at a low pressure level thereon by means of a calander 7.
  • the curable substance 5 is still in a liquid and non-cured or partly-cured state.
  • the curable substance 5 is cured by means of radiation which is transferred through the transparent film 6. It is also possible to apply the curable substance 5 onto both the substrate 1 and the film 6 or onto the film 6 only.
  • an upper surface of the substrate 1 on which the decorative pattern 3 is printed may be pre-treated, for example by means of applying a primer.
  • the calander 7 may have a textured surface such that the resulting product obtains an embossment. Such a texture may coincide with the decorative pattern 3 in order to achieve embossing-in-register. Alternatively, the film 6 has already a textured surface before it is supplied to the calander 7.
  • the resulting product at the end of the illustrated method in Fig. 1 is a large board which is cut in separate panels. Subsequently, the edges of the separate panels may be provided with locking means, for example tongues and grooves, in order to create a covering by locking similar panels to each other.
  • locking means for example tongues and grooves
  • the curable substance may comprise acrylic acid esters or methacrylic acid esters which can be polymerized by a free radical mechanism by actinic radiation and which are present, on their own or together, in a polymerizable mixture.
  • a component may be a mono- or polyfunctional prepolymer, i.e. a mono- or polyunsaturated prepolymer.
  • the copolymerizable mixture contains, if appropriate, a further component having a diluting action, which is described as a diluent monomer or diluent oligomer.
  • the proportion in the mixture of the polyfunctional prepolymer may be 20 to 100%, in particular 60 to 90%, by weight of the total weight of copolymerizable components. Prepolymers of a low viscosity, less than 100 poise at 20° C may be employed without the monomers or oligomers producing dilution.
  • the components used have a strong tendency to polymerize by a free radical mechanism under the action of actinic radiation.
  • Suitable actinic radiation is a light in the near UV region or high-energy radiation, for example electron, particle or x-ray radiation.
  • a prepolymer which can be polymerized by free radical mechanism is a polyfunctional, unsaturated aliphatic or aromatic acrylate or methacrylate, preferably an unsaturated polyester acrylate oligomer and especially an aliphatic urethane acrylate oligomer or aromatic urethane acrylate oligomers.
  • a mono-, di-, tri-, tetra-, penta- or hexaacrylate or -methacrylate may be used as an additional suitable monomer or oligomer in the mixture which can be copolymerized by a free radical mechanism.
  • These mono- to hexaacrylates or mono-to hexamethacrylates are esters of polyols having 1 to 6 OH groups with acrylic acid or methacrylic acid, respectively, and are therefore also known as polyol acrylates or polyol methacrylates, respectively.
  • Suitable diacrylates are esters of acrylic acid with aliphatic, dihydric alcohols, in particular ethylene glycol, 1,2-propylene glycol, 1,3-propyleneglycol, butane diols, 1,6-hexane diol or neopentylglycol, with aliphatic ether-alcohols, in particular diethylene glycol, dipropylene glycol, dibutylene glycol, polyethylene glycols or polypropylene glycols, with oxyalkylated compounds of the above-mentioned aliphatic alcohols and ether-alcohols or with aromatic dihydroxy compounds, in particular bisphenol A, pyrocatechol, resorcinol, hydroquinone, p-xylyleneglycol or p-hydroxybenzyl alcohol.
  • aliphatic, dihydric alcohols in particular ethylene glycol, 1,2-propylene glycol, 1,3-propyleneglycol, butane diols, 1,6
  • Preferred diacrylates are 1,6-hexanediol diacrylate, dipropyleneglycol diacrylate, acrylic acid 2-(2-vinyloxy-ethoxy)-ethyl ester, propoxylated neopentylglycol diacrylate, isobornyl acrylate, mono-2acrryloyloxyethyl phtalate, tricyclodecane dimethanol diacrylate, 2-carboxyethyl acrylate, Benzyl acrylate, tripropylene glycol diacrylate and 1,4-butanediol diacrylate.
  • Preferred triacrylates are trimethylolpropane triacrylate and pentaerythritol triacrylate.
  • suitable polyfunctional prepolymers are also epoxy-acrylate and silicone-acrylate oligomers, which are preferably used together with the diacrylates or triacrylates mentioned in the mixture which can be copolymerized by a free radical mechanism.
  • the prepolymers are compounds known per se and are prepared, for example, from hydroxylated copolymers in which the hydroxyl groups are distributed statistically along the copolymer chain.
  • Statistically unsaturated acrylic copolymers are obtained from this copolymer by esterifying the hydroxyl groups with acrylic acid.
  • Semi-terminal unsaturated acrylic copolymers are prepared by having the hydroxyl group at the end of the chain in the preparation of the hydroxylated copolymers.
  • Urethane acrylate oligomers are prepared by reacting (meth)acrylic acid esters containing hydroxyl groups, for example, hydroxyethyl methacrylate, with polyfunctional isocyanates, preferably diisocyanates.
  • the diisocyanates or polyisocyanates can preferably be reaction products of diols, polyether-diols or polyester-diols containing a stoichiometric excess of monomeric diisocyanate or polyisocyanate.
  • the polyfunctional prepolymer preponderates in the polymerizable mixture, as the base resin, by virtue of its chemical nature, it determines the properties of the cured surface layer.
  • the monoacrylate to hexaacrylate or monomethacrylate to hexamethacrylate added makes it possible as a diluent monomer or oligomer, to adjust the viscosity of the mixture to be cured, which is normally within a viscosity range from 20 to 100 poise at 20° C, and entirely takes part in the free radical polymerization.
  • the coating is cured through free radical polymerization between the double bonds of the prepolymer and of the diluent monomer or oligomer which may be present.
  • Fig. 2 shows an embodiment of a part of a panel 9 that is manufactured by an alternative method according to the invention.
  • the upper three layers are almost similar as shown in the embodiment according to Fig. 1 : the transparent film 6 forms an upper layer, but the substrate is now formed by a paper sheet 1, whereas the cured substance 5 is sandwiched between the paper sheet 1 and the film 6.
  • the paper sheet 1 is provided with a decorative pattern which remains visible through the transparent film 6.
  • the panel 9 as shown in Fig. 2 also comprises a second substrate in the form of a board 10, for example a HDF board, whereas a layer of the cured substance 5 is also sandwiched between the decorative paper sheet 1 and the board 10.
  • the decorative paper sheet 1 Before the step of curing, the decorative paper sheet 1 has absorbed at least a part of both layers of substance 5, as indicated by reference sign 11 in Fig. 2 .
  • the layers of substance 5 are cured by means of radiation through the transparent film 6 such that all layers of the entire stack are fixed to each other in a single step of applying radiation.
  • This is advantageous compared to conventional manufacturing techniques where the layers 1 and 6 would be attached to each other in a first step, for example by means of gluing, after which the resulting intermediate product would be adhered to the board 10 in a second step.
  • the extended stack as shown in Fig. 2 can be stacked in a similar way as illustrated in Fig. 1 . It is conceivable that the decorative sheet 1 does not absorb the substance 5, but allows to pass the radiation and adheres to the board 10 through the substance 5 upon curing.

Landscapes

  • Laminated Bodies (AREA)

Abstract

A method of covering a substrate comprises the steps of supplying a substrate (1), a curable substance (5) and a substantially air-tight transparent film (6), applying a decorative pattern (3) on at least one of the substrate (1) and the film (6), forming a stack of the substrate (1), the substance (5) and the film (6), wherein the substance (5) is sandwiched between the substrate (1) and the film (6), bringing the film (6), the substance (5) and the substrate (1) in close contact to each other and curing the substance (5) by means of radiation through the transparent film (6) and fixing the substance (5) to the film (6) and the substrate (1).

Description

  • The present invention pertains to a method of covering a substrate.
  • A method of covering a substrate, in particular for manufacturing a floor panel, by means of a laminating process is known in the art. In a well-known laminating process one or more resin-impregnated paper sheets are placed on a substrate and the entire stack is pressed at elevated temperature. One of the paper sheets may be provided with a decorative pattern. Due to hot pressing the resin flows to the substrate and after cooling down the resulting product the one or more paper sheets are adhered to the substrate. A disadvantage of such a conventional laminating technique is that the method must be performed at relatively high pressure and temperature. Besides, conventional laminating techniques appear to provide inferior adherence quality between certain combinations of films and substrates due to less compatible materials, for example a PVC sheet on a substrate including an ink pattern on its surface. Furthermore, a relatively high temperature such as in case of a conventional laminating process may deteriorate a decorative pattern on the substrate, in particular in case of a decorative pattern of UV curable ink.
  • An object of the invention is to provide an improved method of covering a substrate.
  • This is achieved by the method according to the invention, which comprises the steps of supplying a substrate, a curable substance and a substantially air-tight transparent film, applying a decorative pattern on at least one of the substrate and the film, forming a stack of the substrate, the substance and the film, wherein the substance is sandwiched between the substrate and the film, bringing the film, the substance and the substrate in close contact to each other, curing the substance by means of radiation through the transparent film and fixing the substance to the film and the substrate. The transparency and composition of the film correspond to the type of radiation that is used. It is noted that the method is not finalized by removing the film, but the resulting product includes the film. Removing the film will be difficult or even impossible without damaging the surface of the cured substance.
  • An advantage of the method according to the invention is that the process can be performed at relatively low temperature. The method may be performed at room temperature, i.e. below 30 °C, or below 50 °C. This means that also substrates and films can be used which are sensitive to severe thermal conditions.
  • The curable substance forms a layer between the substrate and the film. Due to the air-tightness of the film it functions as a barrier against oxygen transfer through the transparent film. This means that local inert conditions at the curable substance are created. Therefore, an inert radiation chamber for creating inert conditions for the entire stack is not required.
  • The method can be performed at minimal pressure or without pressure; bringing the film, the substance and the substrate in close contact to each other is sufficient to minimize presence of air between the film and the substrate. This means that the pressure, if applied, is far below the level that is applied in conventional laminating techniques such as DPL and HPL, for example below 20 kg/m2. Furthermore, the method according to the invention provides the opportunity to laminate materials which are less compatible in conventional laminating techniques such as a PVC sheet on HDF, or a PVC sheet on a substrate including an ink pattern; it is known, for example, that conventional laminating at elevated temperature of a PVC sheet on UV curable ink may lead to inferior adherence quality.
  • The curable substance may comprise a synthetic resin which is polymerized during the radiation treatment, more specifically via free radical polymerization. Radiation generates radicals in the substance. Since the chemical affinity between a radical and oxygen is higher than the affinity of the radicals with each other inert conditions are advantageous. The step of radiation may be performed by UV radiation, X-ray radiation, laser radiation, electron beam radiation, visible light, infrared, or the like. If curing is performed by means of UV light the curable substance may contain photoinitiators for initiating free radical polymerization. In particular, mercury-free UV LEDs appear to be appropriate because of their advantageous penetration characteristics into the curable substance. In case of using electron beam radiation photoinitiators are not required. As described above, the transparency and/or composition of the film correspond to the type of radiation that is used. For example, in case of applying electron beam radiation the film should be transparent for electron beam radiation, but may be opaque for visible light. Of course, if a decorative pattern below the film should be visible the film must be transparent for visible light, as well.
  • In case the decorative pattern is applied on the substrate the method has a further advantage compared to conventional laminating techniques in that a resin impregnated paper sheet or conventional glue can be omitted between the film and the substrate. Hence, any loss of transparency due to the manufacturing process, such as in case of applying a resin impregnated overlay paper, is minimized. Nevertheless, the method according to the invention may be applied for laminating a film, for example made of PVC, on a resin impregnated substrate when using a compatible curable substance between the film and the resin impregnated substrate.
  • The substance may contain additives for improving its properties during the step of applying it between the substrate and the film, for example plasticizers, fillers, or the like. The substance may also have further functional properties, for example for improving acoustic characteristics of the resulting product. It may also have anti-static properties or UV-filtering properties for protecting an underlying decorative pattern, or the like.
  • The resulting product may be a panel suitable for a floor, wall or ceiling covering or alternative coverings. The product may also be a panel that is suitable for furniture, or the like.
  • The transparent film may be coloured or decorated but should be sufficiently transparent to pass the radiation. It is noted that transparency is related to the type of radiation; in case of applying electron beam radiation curing the film may be opaque for visible light radiation, but must be transparent for electron beam radiation. Furthermore, the film should not be degenerated under influence of the radiation, for example becoming brittle. Of course, if additional layers are applied these should be sufficient transparent, as well.
  • Additional layers may be applied on top of the film, but the film itself may also form the top layer of the final product. In the latter case, the film may have wear-resistant properties, for example containing anti-wear particles, but the composition of the film itself may provide sufficient wear resistance such as in case of a PVC sheet. Similarly, a balancing layer may be applied on the substrate at the side opposite to the side which is provided with the decorative pattern.
  • The stack may be formed by first applying the substance on the substrate, and then placing the film on the substance. It is also possible to apply the curable substance first onto the film, and then laying the substrate and the film including the curable substance onto each other. Alternatively, the curable substance is applied both onto the film and the substrate, after which the substrate and the film including the curable substance are laid onto each other.
  • It is efficient when the substance is fixed to at least one of the film and the substrate upon curing the substance, since separate fixing means can be omitted. In that case, the contact surfaces of the film and the curable substance and/or the contact surfaces of the curable substance and the substrate should be compatible to each other. For example, the contact surfaces of the film and the substrate may be slightly rough such that the curable substance partly enters into the contact surfaces and adheres thereto upon curing. It is also possible to apply a curable substance which reacts chemically with the film and/or the substrate such that adherence is promoted. Alternatively, one or more additional adhesive layers may be applied between the curable substance and the substrate and/or between the curable substance and the film for attaching the respective parts to each other. The additional layers may be cured by other treatments than radiation, for example by thermal treatment.
  • The method may be carried out as a continuous process wherein the step of bringing the film, the substance and the substrate in close contact to each other is performed by means of calandering or rollers. In general terms, the step of bringing the film, the substance and the substrate in close contact to each other may be performed by a low-pressure or no pressure laminating process, wherein the pressure is lower than 20 kg/m2.
  • The decorative pattern may comprise an ink pattern. This may be printed on the substrate and/or the film by means of contact or non-contact printing, preferably by means of a digital printer. Alternative printing means are also possible. The decorative pattern may also be printed on a separate sheet that is attached to the substrate before, after or during printing. Numerous types of patterns are conceivable, for example a wood pattern, stone pattern, etc. It is noted that the substrate may be pretreated for improving the adherence of the decorative pattern to the substrate, for example a surface treatment such as plasma-treatment or applying a primer, or the like. The ink pattern may be dried before it contacts the substance, but not fully cured yet, for example, in case of a UV curable ink. Curing of the ink may occur at the same time as curing of the substance, but in practice the ink will be dried at least partially before contacting the substance and entirely curing the ink and the substance.
  • The transparent film may be provided with a surface texture. The surface texture may be applied during the step of bringing the film, the substance and the substrate in close contact to each other, but it is also conceivable that a film including a surface texture is supplied. In the latter case the surface texturing can be applied in a separate process and a relatively deep and sharp embossment is possible, whereas the embossment remains stable during the method of covering the substrate. Besides, an efficient process in terms of energy consumption is provided. In case of applying the step of bringing the film, the substance and the substrate in close contact to each other by means of a calander, the calander may be provided with a textured surface.
  • It is noted that the method according to the invention allows a relatively simple embossing-in-register process compared to a thermal lamination process. Embossing-in-register in this case can be performed more accurately than in conventional laminating processes in which a resin-impregnated paper sheet is provided with a decorative pattern, since the position of the pattern on the paper sheet varies due to the impregnation, in practice. The air-tight transparent film can be aligned with the substrate on which the decorative pattern is applied.
  • The transparent film may be made of PVC or an alternative wear-resistant material. This means that the resulting product may be a panel that is suitable as a floor panel. Additionally, the film may contain anti-wear particles such as corundum particles, glass beads, silica or the like.
  • The curable substance may be applied by means of screen printing, roller printing, spraying, curtain coating or the like. The thickness of the substance may be in a range from 20 to 500 µm, but a larger or smaller thickness is conceivable. The viscosity may be within a range from 150 centipoise to 500 poise at 20°C and more preferably within a range from 10 to 50 poise at 20°C. In practice, the substance may be a pasty liquid.
  • The thickness of the transparent film may be in a range from 5 to 1000 µm, but a larger or smaller thickness is conceivable.
  • The substrate may be rigid or flexible such that the resulting product may comprise a panel which is rigid or flexible, respectively. It may be made of wood-based material like MDF, HDF, WPC, or vinyl, metal, glass, stone, ceramic, textile, non-woven fabric, polymeric composite or the like. Furthermore, the substrate may be a flexible thin sheet such that the resulting product itself can be an intermediate product that can be attached to a second substrate.
  • It is conceivable that the resulting product forms a so-called hybrid product, wherein the substrate is rigid and the film and/or the cured substance is/are elastic or reversed. Conventional laminating techniques including relatively high pressure and temperature are less suitable for manufacturing such hybrid products.
  • The method as described hereinbefore could also be combined with a sublimation process. For example, a sublimation agent can be applied on the side of the air-tight transparent film which is directed to the curable substance. Then, the film can be pressed at a low pressure level on the curable substance and heat can be supplied so as to transfer the sublimation agent towards the substrate. When limited pressing is performed by a calander it may comprise a heated roller or a heated engraved cylinder. The curable substance can be cured by means of radiation as described above. The film can be made of PVC on which the sublimation can be printed at a relatively low resolution. Upon the step of sublimation the agent slightly diverges during travelling towards the substrate. Consequently, the printed pattern is smoothened after sublimation.
  • The decorative pattern may be applied on a side of the film facing the substrate. Additionally, the opposite side of the film may be provided with a layer of thermoplastic polyurethane (TPU). The latter layer may be applied before or after the step of bringing the film, the substance and the substrate in close contact to each other. TPU belongs to a class of polyurethane plastics with many useful properties, including elasticity, transparency and resistance to oil, grease and abrasion. Technically, they are thermoplastic elastomers consisting of linear segmented block copolymers composed of hard and soft segments.
  • The substrate may comprise a decorative sheet, such as a paper sheet, on which the decorative pattern is applied, wherein the decorative sheet absorbs at least a part of the substance. The absorption properties of the decorative sheet and the material properties of the curable substance can be selected such that a desired level of penetration of the substance into the decorative sheet can be achieved before the step of curing the substance.
  • The number of layers of the stack may be extended. In a particular embodiment a second radiation-curable substance and a second substrate is supplied, wherein the stack is extended by the second substrate and a layer of the second substance which is sandwiched between the substrate and the second substrate, wherein the substances are cured by means of radiation through the transparent film and the substances are fixed to the film, the substrate and the second substrate. The second radiation-curable substance between the substrate and the second substrate may be the same as the curable substance between the transparent film and the decorative sheet. The second substrate may be rigid or flexible and/or thicker than the substrate, for example a board of HDF, but numerous other types of substrates are conceivable. If the substrate comprises the decorative sheet as mentioned above, the decorative sheet can absorb the curable substance at its side facing the transparent film, whereas the opposite side facing the second substrate can absorb the second curable substance before the step of curing and fixing. The material properties of the layers can be selected such that the radiation for curing reaches both substances. For example, electron beam radiation can penetrate relatively deeply such that both substances can be cured synchronously which appears to provide a surprisingly advantageous method of covering a substrate.
  • The invention will hereafter be elucidated with reference to the schematic drawings illustrating embodiments of the invention by way of example.
    • Fig. 1 is an illustrative view of an embodiment of the method according to the invention.
    • Fig. 2 is a cross-sectional view of a panel that is manufactured by an embodiment of the method according to the invention.
  • Fig. 1 illustrates an embodiment of the method according to the invention. In this case the method is performed as a continuous process. A substrate 1 in the form of a continuous sheet is supplied at the left side in Fig. 1 and transported from left to right. The substrate 1 passes a printing station 2 where a decorative pattern 3 is printed on the substrate 1. This may be performed by means of contact printing, non-contact printing, roller printing, inkjet printing, or the like.
  • Subsequently, at a coating station 4 a curable substance 5 in the form of a (pasty) liquid is applied onto the substrate 1 including the decorative pattern 3. Then, an air-tight transparent film 6 is supplied and placed on the layer of curable substance 5 and pressed at a low pressure level thereon by means of a calander 7. At this stage the curable substance 5 is still in a liquid and non-cured or partly-cured state. At a curing station 8 the curable substance 5 is cured by means of radiation which is transferred through the transparent film 6. It is also possible to apply the curable substance 5 onto both the substrate 1 and the film 6 or onto the film 6 only.
  • In an alternative embodiment an upper surface of the substrate 1 on which the decorative pattern 3 is printed may be pre-treated, for example by means of applying a primer.
  • The calander 7 may have a textured surface such that the resulting product obtains an embossment. Such a texture may coincide with the decorative pattern 3 in order to achieve embossing-in-register. Alternatively, the film 6 has already a textured surface before it is supplied to the calander 7.
  • The resulting product at the end of the illustrated method in Fig. 1 is a large board which is cut in separate panels. Subsequently, the edges of the separate panels may be provided with locking means, for example tongues and grooves, in order to create a covering by locking similar panels to each other.
  • The curable substance may comprise acrylic acid esters or methacrylic acid esters which can be polymerized by a free radical mechanism by actinic radiation and which are present, on their own or together, in a polymerizable mixture. A component may be a mono- or polyfunctional prepolymer, i.e. a mono- or polyunsaturated prepolymer. In addition to this predominant component, the copolymerizable mixture contains, if appropriate, a further component having a diluting action, which is described as a diluent monomer or diluent oligomer. The proportion in the mixture of the polyfunctional prepolymer may be 20 to 100%, in particular 60 to 90%, by weight of the total weight of copolymerizable components. Prepolymers of a low viscosity, less than 100 poise at 20° C may be employed without the monomers or oligomers producing dilution.
  • Preferably, the components used have a strong tendency to polymerize by a free radical mechanism under the action of actinic radiation. Suitable actinic radiation is a light in the near UV region or high-energy radiation, for example electron, particle or x-ray radiation. A prepolymer which can be polymerized by free radical mechanism is a polyfunctional, unsaturated aliphatic or aromatic acrylate or methacrylate, preferably an unsaturated polyester acrylate oligomer and especially an aliphatic urethane acrylate oligomer or aromatic urethane acrylate oligomers.
  • In addition to the prepolymer, a mono-, di-, tri-, tetra-, penta- or hexaacrylate or -methacrylate, preferably a diacrylate or triacrylate, may be used as an additional suitable monomer or oligomer in the mixture which can be copolymerized by a free radical mechanism. These mono- to hexaacrylates or mono-to hexamethacrylates are esters of polyols having 1 to 6 OH groups with acrylic acid or methacrylic acid, respectively, and are therefore also known as polyol acrylates or polyol methacrylates, respectively. Suitable diacrylates are esters of acrylic acid with aliphatic, dihydric alcohols, in particular ethylene glycol, 1,2-propylene glycol, 1,3-propyleneglycol, butane diols, 1,6-hexane diol or neopentylglycol, with aliphatic ether-alcohols, in particular diethylene glycol, dipropylene glycol, dibutylene glycol, polyethylene glycols or polypropylene glycols, with oxyalkylated compounds of the above-mentioned aliphatic alcohols and ether-alcohols or with aromatic dihydroxy compounds, in particular bisphenol A, pyrocatechol, resorcinol, hydroquinone, p-xylyleneglycol or p-hydroxybenzyl alcohol. Preferred diacrylates are 1,6-hexanediol diacrylate, dipropyleneglycol diacrylate, acrylic acid 2-(2-vinyloxy-ethoxy)-ethyl ester, propoxylated neopentylglycol diacrylate, isobornyl acrylate, mono-2acrryloyloxyethyl phtalate, tricyclodecane dimethanol diacrylate, 2-carboxyethyl acrylate, Benzyl acrylate, tripropylene glycol diacrylate and 1,4-butanediol diacrylate. Preferred triacrylates are trimethylolpropane triacrylate and pentaerythritol triacrylate.
  • In addition to the urethane acrylate oligomers and unsaturated polyester acrylate oligomers already mentioned, suitable polyfunctional prepolymers are also epoxy-acrylate and silicone-acrylate oligomers, which are preferably used together with the diacrylates or triacrylates mentioned in the mixture which can be copolymerized by a free radical mechanism.
  • The prepolymers are compounds known per se and are prepared, for example, from hydroxylated copolymers in which the hydroxyl groups are distributed statistically along the copolymer chain. Statistically unsaturated acrylic copolymers are obtained from this copolymer by esterifying the hydroxyl groups with acrylic acid. Semi-terminal unsaturated acrylic copolymers are prepared by having the hydroxyl group at the end of the chain in the preparation of the hydroxylated copolymers. Urethane acrylate oligomers are prepared by reacting (meth)acrylic acid esters containing hydroxyl groups, for example, hydroxyethyl methacrylate, with polyfunctional isocyanates, preferably diisocyanates. The diisocyanates or polyisocyanates can preferably be reaction products of diols, polyether-diols or polyester-diols containing a stoichiometric excess of monomeric diisocyanate or polyisocyanate.
  • If the polyfunctional prepolymer preponderates in the polymerizable mixture, as the base resin, by virtue of its chemical nature, it determines the properties of the cured surface layer. The monoacrylate to hexaacrylate or monomethacrylate to hexamethacrylate added makes it possible as a diluent monomer or oligomer, to adjust the viscosity of the mixture to be cured, which is normally within a viscosity range from 20 to 100 poise at 20° C, and entirely takes part in the free radical polymerization. When irradiated, the coating is cured through free radical polymerization between the double bonds of the prepolymer and of the diluent monomer or oligomer which may be present.
  • Fig. 2 shows an embodiment of a part of a panel 9 that is manufactured by an alternative method according to the invention. The upper three layers are almost similar as shown in the embodiment according to Fig. 1: the transparent film 6 forms an upper layer, but the substrate is now formed by a paper sheet 1, whereas the cured substance 5 is sandwiched between the paper sheet 1 and the film 6. The paper sheet 1 is provided with a decorative pattern which remains visible through the transparent film 6. Furthermore, the panel 9 as shown in Fig. 2 also comprises a second substrate in the form of a board 10, for example a HDF board, whereas a layer of the cured substance 5 is also sandwiched between the decorative paper sheet 1 and the board 10. Before the step of curing, the decorative paper sheet 1 has absorbed at least a part of both layers of substance 5, as indicated by reference sign 11 in Fig. 2. The layers of substance 5 are cured by means of radiation through the transparent film 6 such that all layers of the entire stack are fixed to each other in a single step of applying radiation. This is advantageous compared to conventional manufacturing techniques where the layers 1 and 6 would be attached to each other in a first step, for example by means of gluing, after which the resulting intermediate product would be adhered to the board 10 in a second step. During manufacturing the panel 9 the extended stack as shown in Fig. 2 can be stacked in a similar way as illustrated in Fig. 1. It is conceivable that the decorative sheet 1 does not absorb the substance 5, but allows to pass the radiation and adheres to the board 10 through the substance 5 upon curing.
  • The invention is not restricted to the above-described embodiments as shown in the drawing, which can be varied in several ways without departing from the scope of the invention.

Claims (18)

  1. A method of covering a substrate, comprising the steps of:
    supplying a substrate (1), a curable substance (5) and a substantially air-tight transparent film (6),
    applying a decorative pattern (3) on at least one of the substrate (1) and the film (6),
    forming a stack of the substrate (1), the substance (5) and the film (6), wherein the substance (5) is sandwiched between the substrate (1) and the film (6),
    bringing the film (6), the substance (5) and the substrate (1) in close contact to each other,
    curing the substance (5) by means of radiation through the transparent film (6) and fixing the substance (5) to the film (6) and the substrate (1).
  2. A method according to claim 1, wherein the stack is formed by first applying the substance (5) on the substrate (1), and then placing the film (6) on the substance (5).
  3. A method according to claim 1 or 2, wherein the substance (5) is fixed to at least one of the film (6) and the substrate (1) upon curing the substance (5).
  4. A method according to one of the preceding claims, wherein the method is carried out as a continuous process wherein the step of bringing the film (6), the substance (5) and the substrate (1) in close contact to each other is performed by means of calandering.
  5. A method according to one of the preceding claims, wherein the decorative pattern (3) comprises an ink pattern.
  6. A method according to claim 5, wherein the ink pattern (3) is printed by means of contact or non-contact printing.
  7. A method according to one of the preceding claims, wherein the surface of the substrate (1) on which the decorative pattern (3) is applied is provided with a primer for adherence of the decorative pattern (3) and/or the substance (5).
  8. A method according to one of the preceding claims, wherein the curable substance (5) comprises a synthetic resin which is polymerized by radiation.
  9. A method according to one of the preceding claims, wherein the transparent film (6) is provided with a surface texture.
  10. A method according to claim 9, wherein the surface texture is applied during the step of bringing the film, the substance and the substrate in close contact to each other.
  11. A method according to one of the preceding claims, wherein the curable substance (5) is applied by means of screen printing, roller printing, spraying, curtain coating or the like.
  12. A method according to one of the preceding claims, wherein the thickness of the transparent film (6) is in a range from 20 to 1000 µm.
  13. A method according to one of the preceding claims, wherein the thickness of the substance (5) is in a range from 5 to 200 µm.
  14. A method according to one of the preceding claims, wherein the substrate (1) comprises a panel which is provided with locking means for coupling the resulting panel to locking means of an adjacent similar panel.
  15. A method according to one of the preceding claims, wherein the decorative pattern (3) is applied on a side of the film (6) facing the substrate (1), wherein the opposite side of the film (6) is provided with a layer of thermoplastic polyurethane (TPU).
  16. A method according to one of the preceding claims, wherein the substrate (1) comprises a decorative sheet, such as a paper sheet, on which the decorative pattern is applied, which decorative sheet (1) absorbs at least a part of the substance.
  17. A method according to one of the preceding claims, wherein a second radiation-curable substance (5) and a second substrate (10) is supplied, wherein the stack is extended by the second substrate (10) and a layer of the second substance (5) which is sandwiched between the substrate (1) and the second substrate (10), wherein the substances (5) are cured by means of radiation through the transparent film and the substances (5) are fixed to the film (6), the substrate (1) and the second substrate (10).
  18. A method of manufacturing a panel, such as a floor panel, wall panel or a ceiling panel, which is manufactured by means of the method of covering a substrate according to one of the preceding claims, wherein the panel is provided with locking means for coupling the panel to locking means of an adjacent similar panel.
EP14163628.2A 2014-04-04 2014-04-04 Method of covering a substrate Active EP2927017B2 (en)

Priority Applications (3)

Application Number Priority Date Filing Date Title
PL14163628T PL2927017T5 (en) 2014-04-04 2014-04-04 Method of covering a substrate
EP14163628.2A EP2927017B2 (en) 2014-04-04 2014-04-04 Method of covering a substrate
PCT/EP2015/057397 WO2015150554A1 (en) 2014-04-04 2015-04-02 A method of covering a substrate

Applications Claiming Priority (1)

Application Number Priority Date Filing Date Title
EP14163628.2A EP2927017B2 (en) 2014-04-04 2014-04-04 Method of covering a substrate

Publications (3)

Publication Number Publication Date
EP2927017A1 true EP2927017A1 (en) 2015-10-07
EP2927017B1 EP2927017B1 (en) 2018-02-21
EP2927017B2 EP2927017B2 (en) 2022-01-19

Family

ID=50434109

Family Applications (1)

Application Number Title Priority Date Filing Date
EP14163628.2A Active EP2927017B2 (en) 2014-04-04 2014-04-04 Method of covering a substrate

Country Status (3)

Country Link
EP (1) EP2927017B2 (en)
PL (1) PL2927017T5 (en)
WO (1) WO2015150554A1 (en)

Cited By (7)

* Cited by examiner, † Cited by third party
Publication number Priority date Publication date Assignee Title
DE102016124893A1 (en) * 2016-12-20 2018-06-21 Rehau Ag + Co Process for producing a WPC molded part, in particular a WPC covering element
EP3348418A1 (en) * 2017-01-11 2018-07-18 Akzenta Paneele + Profile GmbH Decorated surface-structured wall or floor panel
EP3348419A1 (en) * 2017-01-13 2018-07-18 Akzenta Paneele + Profile GmbH Decorated surface structured wall or floor panel based on fibre cement board
US11203224B2 (en) 2018-08-30 2021-12-21 Interface, Inc. Digital printing for flooring and decorative structures
EP4124467A1 (en) 2021-07-30 2023-02-01 Flooring Industries Limited, SARL A method of manufacturing a panel
WO2024009238A1 (en) 2022-07-07 2024-01-11 Flooring Industries Limited, Sarl Decorative panel and method for manufacturing a decorative panel.
US12345519B1 (en) 2016-09-23 2025-07-01 Columbia Insurance Company Resilient flooring product and methods of making same

Citations (4)

* Cited by examiner, † Cited by third party
Publication number Priority date Publication date Assignee Title
EP0872338A1 (en) * 1996-08-28 1998-10-21 Dai Nippon Printing Co., Ltd. Decorated sheet
EP1203657A1 (en) * 2000-03-24 2002-05-08 Ibiden Co., Ltd. Decorative material and decorative plate
DE102004034790A1 (en) * 2003-07-17 2005-02-03 Kunz Holding Gmbh & Co. Kg Method for producing a decorative coating material, in particular, a foil involves hardening and/or reticulation of base and cover layers on a carrier material by ultraviolet radiation and/or electron bombardment
EP2708375A1 (en) * 2012-09-14 2014-03-19 Spanolux N.V. Div. Balterio A method and an apparatus for decorating a panel

Family Cites Families (11)

* Cited by examiner, † Cited by third party
Publication number Priority date Publication date Assignee Title
DE2812083B1 (en) 1978-03-20 1979-07-26 Graphische Verfahrenstech Kg Method and device for the production of decorative foils with a structured surface
US4490409A (en) 1982-09-07 1984-12-25 Energy Sciences, Inc. Process and apparatus for decorating the surfaces of electron irradiation cured coatings on radiation-sensitive substrates
DE3533737A1 (en) 1985-09-21 1987-03-26 Hoechst Ag DECORATIVE PLATE WITH IMPROVED SURFACE PROPERTIES
GB8609550D0 (en) 1986-04-18 1986-05-21 Mobil Plastics Europ Inc Polypropylene films
DE4219446C3 (en) 1992-06-13 2001-01-18 Wilhelm Taubert Process for applying a decorative layer to a substrate
AU2541399A (en) 1998-05-28 1999-12-13 Adkin Services Limited Method for curing paints by means of uv rays
DE50009033D1 (en) 1999-04-14 2005-01-27 Basf Ag Method for bonding a UV-transparent film with another substrate
ATE277245T1 (en) 2001-05-25 2004-10-15 Windmoeller Consulting Ulrich METHOD FOR PRODUCING A FLOOR PANEL
DE102005015340B4 (en) 2005-04-01 2011-11-17 Jowat Ag Process for the preparation of printed or decorated moldings and moldings produced in this way
DE102006007869A1 (en) 2006-02-17 2007-08-30 Jowat Ag Process for laminating plastic films on wood-based substrates, in particular for producing high-gloss surfaces
DK2263867T3 (en) 2009-06-16 2012-06-25 Huelsta Werke Huels Kg Laminate floor panel

Patent Citations (4)

* Cited by examiner, † Cited by third party
Publication number Priority date Publication date Assignee Title
EP0872338A1 (en) * 1996-08-28 1998-10-21 Dai Nippon Printing Co., Ltd. Decorated sheet
EP1203657A1 (en) * 2000-03-24 2002-05-08 Ibiden Co., Ltd. Decorative material and decorative plate
DE102004034790A1 (en) * 2003-07-17 2005-02-03 Kunz Holding Gmbh & Co. Kg Method for producing a decorative coating material, in particular, a foil involves hardening and/or reticulation of base and cover layers on a carrier material by ultraviolet radiation and/or electron bombardment
EP2708375A1 (en) * 2012-09-14 2014-03-19 Spanolux N.V. Div. Balterio A method and an apparatus for decorating a panel

Cited By (17)

* Cited by examiner, † Cited by third party
Publication number Priority date Publication date Assignee Title
US12352561B2 (en) 2016-09-23 2025-07-08 Columbia Insurance Company Resilient flooring product and methods of making same
US12345519B1 (en) 2016-09-23 2025-07-01 Columbia Insurance Company Resilient flooring product and methods of making same
DE102016124893A1 (en) * 2016-12-20 2018-06-21 Rehau Ag + Co Process for producing a WPC molded part, in particular a WPC covering element
EP3338993A1 (en) * 2016-12-20 2018-06-27 REHAU AG + Co Method for producing a printed wpc part
US11691453B2 (en) 2017-01-11 2023-07-04 Akzenta Paneele + Profile Gmbh Decorated surface-structured wall or floor panel
US10967671B2 (en) 2017-01-11 2021-04-06 Akzenta Paneele + Profile Gmbh Decorated surface-structured wall or floor panel
WO2018130580A1 (en) * 2017-01-11 2018-07-19 Akzenta Paneele + Profile Gmbh Decorated surface-structured wall or floor panel
EP3348418A1 (en) * 2017-01-11 2018-07-18 Akzenta Paneele + Profile GmbH Decorated surface-structured wall or floor panel
WO2018130401A1 (en) * 2017-01-13 2018-07-19 Akzenta Paneele + Profile Gmbh Decorated surface-structured wall or floor panel based on a fiber cement sheet
CN109952206A (en) * 2017-01-13 2019-06-28 阿卡曾塔板材型材有限公司 The wallboard of the surface structuration of decoration based on fiber cement board or floor
KR20190084283A (en) * 2017-01-13 2019-07-16 악첸타 파넬레 + 프로필레 게엠베하 Decorated surface based on fiber cement sheet Structured wall or floor panel
RU2719224C1 (en) * 2017-01-13 2020-04-17 Акцента Панееле + Профиле Гмбх Decorated surface-structured wall or floor panel based on a cement-fiber board
EP3348419A1 (en) * 2017-01-13 2018-07-18 Akzenta Paneele + Profile GmbH Decorated surface structured wall or floor panel based on fibre cement board
US11203224B2 (en) 2018-08-30 2021-12-21 Interface, Inc. Digital printing for flooring and decorative structures
US11697303B2 (en) 2018-08-30 2023-07-11 Interface, Inc. Digital printing for flooring and decorative structures
EP4124467A1 (en) 2021-07-30 2023-02-01 Flooring Industries Limited, SARL A method of manufacturing a panel
WO2024009238A1 (en) 2022-07-07 2024-01-11 Flooring Industries Limited, Sarl Decorative panel and method for manufacturing a decorative panel.

Also Published As

Publication number Publication date
EP2927017B2 (en) 2022-01-19
PL2927017T5 (en) 2022-06-20
EP2927017B1 (en) 2018-02-21
WO2015150554A1 (en) 2015-10-08
PL2927017T3 (en) 2018-09-28

Similar Documents

Publication Publication Date Title
EP2927017B1 (en) Method of covering a substrate
CN112969560B (en) Covered panel and method of manufacturing covered panel
US4789604A (en) Decorative panel having improved surface properties
KR20230149872A (en) Method to produce a coating layer, a building panel and a coated foil
RU2015156473A (en) METHOD FOR MAKING A DIRECT PRINT PANEL
US12384940B2 (en) Partially cured coated sheet
WO2020095196A1 (en) Covered panel and method for manufacturing covered panels
JP2019064132A (en) Transfer sheet and method for producing melamine decorative board using the transfer sheet
KR102270978B1 (en) Decorative material
KR101327756B1 (en) Flooring having wear layer by dual cure system and the Method of manufacturing the same
CN101563223B (en) Decorative sheet and decorative plate using the decorative sheet
CN1624059B (en) Water coating
CN100529300C (en) Laminated wood for floor member
EP4124467B1 (en) A method of manufacturing a panel
JP2009084338A (en) Water-based paint
JP2006207343A (en) Flooring
JP2006207346A (en) Flooring
JP4459404B2 (en) Decorative plate and manufacturing method thereof
US12290836B2 (en) Method of manufacturing a panel
JPH1044331A (en) Decorative paper and decorative material using the same
US20060249251A1 (en) Method of obtaining a covering rubber plate particularly suitable for floorings

Legal Events

Date Code Title Description
PUAI Public reference made under article 153(3) epc to a published international application that has entered the european phase

Free format text: ORIGINAL CODE: 0009012

AK Designated contracting states

Kind code of ref document: A1

Designated state(s): AL AT BE BG CH CY CZ DE DK EE ES FI FR GB GR HR HU IE IS IT LI LT LU LV MC MK MT NL NO PL PT RO RS SE SI SK SM TR

AX Request for extension of the european patent

Extension state: BA ME

17P Request for examination filed

Effective date: 20160407

RBV Designated contracting states (corrected)

Designated state(s): AL AT BE BG CH CY CZ DE DK EE ES FI FR GB GR HR HU IE IS IT LI LT LU LV MC MK MT NL NO PL PT RO RS SE SI SK SM TR

RAP1 Party data changed (applicant data changed or rights of an application transferred)

Owner name: UNILIN, BVBA

GRAP Despatch of communication of intention to grant a patent

Free format text: ORIGINAL CODE: EPIDOSNIGR1

STAA Information on the status of an ep patent application or granted ep patent

Free format text: STATUS: GRANT OF PATENT IS INTENDED

INTG Intention to grant announced

Effective date: 20170918

GRAS Grant fee paid

Free format text: ORIGINAL CODE: EPIDOSNIGR3

GRAA (expected) grant

Free format text: ORIGINAL CODE: 0009210

STAA Information on the status of an ep patent application or granted ep patent

Free format text: STATUS: THE PATENT HAS BEEN GRANTED

AK Designated contracting states

Kind code of ref document: B1

Designated state(s): AL AT BE BG CH CY CZ DE DK EE ES FI FR GB GR HR HU IE IS IT LI LT LU LV MC MK MT NL NO PL PT RO RS SE SI SK SM TR

REG Reference to a national code

Ref country code: GB

Ref legal event code: FG4D

REG Reference to a national code

Ref country code: CH

Ref legal event code: EP

REG Reference to a national code

Ref country code: AT

Ref legal event code: REF

Ref document number: 971294

Country of ref document: AT

Kind code of ref document: T

Effective date: 20180315

REG Reference to a national code

Ref country code: IE

Ref legal event code: FG4D

REG Reference to a national code

Ref country code: DE

Ref legal event code: R096

Ref document number: 602014021106

Country of ref document: DE

REG Reference to a national code

Ref country code: FR

Ref legal event code: PLFP

Year of fee payment: 5

REG Reference to a national code

Ref country code: NL

Ref legal event code: MP

Effective date: 20180221

REG Reference to a national code

Ref country code: LT

Ref legal event code: MG4D

REG Reference to a national code

Ref country code: AT

Ref legal event code: MK05

Ref document number: 971294

Country of ref document: AT

Kind code of ref document: T

Effective date: 20180221

PG25 Lapsed in a contracting state [announced via postgrant information from national office to epo]

Ref country code: NL

Free format text: LAPSE BECAUSE OF FAILURE TO SUBMIT A TRANSLATION OF THE DESCRIPTION OR TO PAY THE FEE WITHIN THE PRESCRIBED TIME-LIMIT

Effective date: 20180221

Ref country code: LT

Free format text: LAPSE BECAUSE OF FAILURE TO SUBMIT A TRANSLATION OF THE DESCRIPTION OR TO PAY THE FEE WITHIN THE PRESCRIBED TIME-LIMIT

Effective date: 20180221

Ref country code: FI

Free format text: LAPSE BECAUSE OF FAILURE TO SUBMIT A TRANSLATION OF THE DESCRIPTION OR TO PAY THE FEE WITHIN THE PRESCRIBED TIME-LIMIT

Effective date: 20180221

Ref country code: CY

Free format text: LAPSE BECAUSE OF FAILURE TO SUBMIT A TRANSLATION OF THE DESCRIPTION OR TO PAY THE FEE WITHIN THE PRESCRIBED TIME-LIMIT

Effective date: 20180221

Ref country code: HR

Free format text: LAPSE BECAUSE OF FAILURE TO SUBMIT A TRANSLATION OF THE DESCRIPTION OR TO PAY THE FEE WITHIN THE PRESCRIBED TIME-LIMIT

Effective date: 20180221

Ref country code: NO

Free format text: LAPSE BECAUSE OF FAILURE TO SUBMIT A TRANSLATION OF THE DESCRIPTION OR TO PAY THE FEE WITHIN THE PRESCRIBED TIME-LIMIT

Effective date: 20180521

Ref country code: ES

Free format text: LAPSE BECAUSE OF FAILURE TO SUBMIT A TRANSLATION OF THE DESCRIPTION OR TO PAY THE FEE WITHIN THE PRESCRIBED TIME-LIMIT

Effective date: 20180221

PG25 Lapsed in a contracting state [announced via postgrant information from national office to epo]

Ref country code: AT

Free format text: LAPSE BECAUSE OF FAILURE TO SUBMIT A TRANSLATION OF THE DESCRIPTION OR TO PAY THE FEE WITHIN THE PRESCRIBED TIME-LIMIT

Effective date: 20180221

Ref country code: BG

Free format text: LAPSE BECAUSE OF FAILURE TO SUBMIT A TRANSLATION OF THE DESCRIPTION OR TO PAY THE FEE WITHIN THE PRESCRIBED TIME-LIMIT

Effective date: 20180521

Ref country code: SE

Free format text: LAPSE BECAUSE OF FAILURE TO SUBMIT A TRANSLATION OF THE DESCRIPTION OR TO PAY THE FEE WITHIN THE PRESCRIBED TIME-LIMIT

Effective date: 20180221

Ref country code: RS

Free format text: LAPSE BECAUSE OF FAILURE TO SUBMIT A TRANSLATION OF THE DESCRIPTION OR TO PAY THE FEE WITHIN THE PRESCRIBED TIME-LIMIT

Effective date: 20180221

Ref country code: GR

Free format text: LAPSE BECAUSE OF FAILURE TO SUBMIT A TRANSLATION OF THE DESCRIPTION OR TO PAY THE FEE WITHIN THE PRESCRIBED TIME-LIMIT

Effective date: 20180522

Ref country code: LV

Free format text: LAPSE BECAUSE OF FAILURE TO SUBMIT A TRANSLATION OF THE DESCRIPTION OR TO PAY THE FEE WITHIN THE PRESCRIBED TIME-LIMIT

Effective date: 20180221

PG25 Lapsed in a contracting state [announced via postgrant information from national office to epo]

Ref country code: RO

Free format text: LAPSE BECAUSE OF FAILURE TO SUBMIT A TRANSLATION OF THE DESCRIPTION OR TO PAY THE FEE WITHIN THE PRESCRIBED TIME-LIMIT

Effective date: 20180221

Ref country code: AL

Free format text: LAPSE BECAUSE OF FAILURE TO SUBMIT A TRANSLATION OF THE DESCRIPTION OR TO PAY THE FEE WITHIN THE PRESCRIBED TIME-LIMIT

Effective date: 20180221

Ref country code: EE

Free format text: LAPSE BECAUSE OF FAILURE TO SUBMIT A TRANSLATION OF THE DESCRIPTION OR TO PAY THE FEE WITHIN THE PRESCRIBED TIME-LIMIT

Effective date: 20180221

Ref country code: IT

Free format text: LAPSE BECAUSE OF FAILURE TO SUBMIT A TRANSLATION OF THE DESCRIPTION OR TO PAY THE FEE WITHIN THE PRESCRIBED TIME-LIMIT

Effective date: 20180221

REG Reference to a national code

Ref country code: DE

Ref legal event code: R026

Ref document number: 602014021106

Country of ref document: DE

PLBI Opposition filed

Free format text: ORIGINAL CODE: 0009260

PG25 Lapsed in a contracting state [announced via postgrant information from national office to epo]

Ref country code: DK

Free format text: LAPSE BECAUSE OF FAILURE TO SUBMIT A TRANSLATION OF THE DESCRIPTION OR TO PAY THE FEE WITHIN THE PRESCRIBED TIME-LIMIT

Effective date: 20180221

Ref country code: SM

Free format text: LAPSE BECAUSE OF FAILURE TO SUBMIT A TRANSLATION OF THE DESCRIPTION OR TO PAY THE FEE WITHIN THE PRESCRIBED TIME-LIMIT

Effective date: 20180221

Ref country code: SK

Free format text: LAPSE BECAUSE OF FAILURE TO SUBMIT A TRANSLATION OF THE DESCRIPTION OR TO PAY THE FEE WITHIN THE PRESCRIBED TIME-LIMIT

Effective date: 20180221

Ref country code: CZ

Free format text: LAPSE BECAUSE OF FAILURE TO SUBMIT A TRANSLATION OF THE DESCRIPTION OR TO PAY THE FEE WITHIN THE PRESCRIBED TIME-LIMIT

Effective date: 20180221

Ref country code: MC

Free format text: LAPSE BECAUSE OF FAILURE TO SUBMIT A TRANSLATION OF THE DESCRIPTION OR TO PAY THE FEE WITHIN THE PRESCRIBED TIME-LIMIT

Effective date: 20180221

PLAX Notice of opposition and request to file observation + time limit sent

Free format text: ORIGINAL CODE: EPIDOSNOBS2

26 Opposition filed

Opponent name: STREHLKE, INGO KURT

Effective date: 20181121

REG Reference to a national code

Ref country code: IE

Ref legal event code: MM4A

GBPC Gb: european patent ceased through non-payment of renewal fee

Effective date: 20180521

PG25 Lapsed in a contracting state [announced via postgrant information from national office to epo]

Ref country code: SI

Free format text: LAPSE BECAUSE OF FAILURE TO SUBMIT A TRANSLATION OF THE DESCRIPTION OR TO PAY THE FEE WITHIN THE PRESCRIBED TIME-LIMIT

Effective date: 20180221

PLBB Reply of patent proprietor to notice(s) of opposition received

Free format text: ORIGINAL CODE: EPIDOSNOBS3

PG25 Lapsed in a contracting state [announced via postgrant information from national office to epo]

Ref country code: IE

Free format text: LAPSE BECAUSE OF NON-PAYMENT OF DUE FEES

Effective date: 20180404

Ref country code: GB

Free format text: LAPSE BECAUSE OF NON-PAYMENT OF DUE FEES

Effective date: 20180521

PG25 Lapsed in a contracting state [announced via postgrant information from national office to epo]

Ref country code: MT

Free format text: LAPSE BECAUSE OF NON-PAYMENT OF DUE FEES

Effective date: 20180404

PG25 Lapsed in a contracting state [announced via postgrant information from national office to epo]

Ref country code: TR

Free format text: LAPSE BECAUSE OF FAILURE TO SUBMIT A TRANSLATION OF THE DESCRIPTION OR TO PAY THE FEE WITHIN THE PRESCRIBED TIME-LIMIT

Effective date: 20180221

PG25 Lapsed in a contracting state [announced via postgrant information from national office to epo]

Ref country code: PT

Free format text: LAPSE BECAUSE OF FAILURE TO SUBMIT A TRANSLATION OF THE DESCRIPTION OR TO PAY THE FEE WITHIN THE PRESCRIBED TIME-LIMIT

Effective date: 20180221

PG25 Lapsed in a contracting state [announced via postgrant information from national office to epo]

Ref country code: HU

Free format text: LAPSE BECAUSE OF FAILURE TO SUBMIT A TRANSLATION OF THE DESCRIPTION OR TO PAY THE FEE WITHIN THE PRESCRIBED TIME-LIMIT; INVALID AB INITIO

Effective date: 20140404

Ref country code: MK

Free format text: LAPSE BECAUSE OF NON-PAYMENT OF DUE FEES

Effective date: 20180221

PG25 Lapsed in a contracting state [announced via postgrant information from national office to epo]

Ref country code: IS

Free format text: LAPSE BECAUSE OF FAILURE TO SUBMIT A TRANSLATION OF THE DESCRIPTION OR TO PAY THE FEE WITHIN THE PRESCRIBED TIME-LIMIT

Effective date: 20180621

REG Reference to a national code

Ref country code: LU

Ref legal event code: PD

Owner name: FLOORING INDUSTRIES LIMITED, SARL; LU

Free format text: FORMER OWNER: UNILIN, BV

Effective date: 20210609

Ref country code: LU

Ref legal event code: HC

Owner name: UNILIN, BV; BE

Free format text: FORMER OWNER: UNILIN, BVBA

Effective date: 20210609

REG Reference to a national code

Ref country code: DE

Ref legal event code: R081

Ref document number: 602014021106

Country of ref document: DE

Owner name: FLOORING INDUSTRIES LIMITED, SARL, LU

Free format text: FORMER OWNER: UNILIN BVBA, WIELSBEKE, BE

Ref country code: DE

Ref legal event code: R081

Ref document number: 602014021106

Country of ref document: DE

Owner name: UNILIN BV, BE

Free format text: FORMER OWNER: UNILIN BVBA, WIELSBEKE, BE

REG Reference to a national code

Ref country code: BE

Ref legal event code: PD

Owner name: FLOORING INDUSTRIES LIMITED, SARL; LU

Free format text: DETAILS ASSIGNMENT: CHANGE OF OWNER(S), CHANGE OF LEGAL ENTITY; FORMER OWNER NAME: UNILIN, BV

Effective date: 20210723

RAP2 Party data changed (patent owner data changed or rights of a patent transferred)

Owner name: FLOORING INDUSTRIES LIMITED, SARL

PUAH Patent maintained in amended form

Free format text: ORIGINAL CODE: 0009272

STAA Information on the status of an ep patent application or granted ep patent

Free format text: STATUS: PATENT MAINTAINED AS AMENDED

27A Patent maintained in amended form

Effective date: 20220119

AK Designated contracting states

Kind code of ref document: B2

Designated state(s): AL AT BE BG CH CY CZ DE DK EE ES FI FR GB GR HR HU IE IS IT LI LT LU LV MC MK MT NL NO PL PT RO RS SE SI SK SM TR

REG Reference to a national code

Ref country code: DE

Ref legal event code: R102

Ref document number: 602014021106

Country of ref document: DE

PGFP Annual fee paid to national office [announced via postgrant information from national office to epo]

Ref country code: LU

Payment date: 20220427

Year of fee payment: 9

Ref country code: FR

Payment date: 20220425

Year of fee payment: 9

PGFP Annual fee paid to national office [announced via postgrant information from national office to epo]

Ref country code: CH

Payment date: 20220503

Year of fee payment: 9

Ref country code: BE

Payment date: 20220427

Year of fee payment: 9

P01 Opt-out of the competence of the unified patent court (upc) registered

Effective date: 20230428

P02 Opt-out of the competence of the unified patent court (upc) changed

Effective date: 20230907

REG Reference to a national code

Ref country code: CH

Ref legal event code: PL

PG25 Lapsed in a contracting state [announced via postgrant information from national office to epo]

Ref country code: LU

Free format text: LAPSE BECAUSE OF NON-PAYMENT OF DUE FEES

Effective date: 20230404

REG Reference to a national code

Ref country code: BE

Ref legal event code: MM

Effective date: 20230430

PG25 Lapsed in a contracting state [announced via postgrant information from national office to epo]

Ref country code: LI

Free format text: LAPSE BECAUSE OF NON-PAYMENT OF DUE FEES

Effective date: 20230430

Ref country code: FR

Free format text: LAPSE BECAUSE OF NON-PAYMENT OF DUE FEES

Effective date: 20230430

Ref country code: CH

Free format text: LAPSE BECAUSE OF NON-PAYMENT OF DUE FEES

Effective date: 20230430

PG25 Lapsed in a contracting state [announced via postgrant information from national office to epo]

Ref country code: BE

Free format text: LAPSE BECAUSE OF NON-PAYMENT OF DUE FEES

Effective date: 20230430

REG Reference to a national code

Ref country code: DE

Ref legal event code: R081

Ref document number: 602014021106

Country of ref document: DE

Owner name: UNILIN BV, BE

Free format text: FORMER OWNER: FLOORING INDUSTRIES LIMITED, SARL, BERTRANGE, LU

PGFP Annual fee paid to national office [announced via postgrant information from national office to epo]

Ref country code: PL

Payment date: 20250402

Year of fee payment: 12

Ref country code: DE

Payment date: 20250429

Year of fee payment: 12