EP2659220B1 - Fuzing system for a submarine signal flare - Google Patents
Fuzing system for a submarine signal flare Download PDFInfo
- Publication number
- EP2659220B1 EP2659220B1 EP11853651.5A EP11853651A EP2659220B1 EP 2659220 B1 EP2659220 B1 EP 2659220B1 EP 11853651 A EP11853651 A EP 11853651A EP 2659220 B1 EP2659220 B1 EP 2659220B1
- Authority
- EP
- European Patent Office
- Prior art keywords
- ignition
- fuzing
- flare
- tube
- cartridge
- Prior art date
- Legal status (The legal status is an assumption and is not a legal conclusion. Google has not performed a legal analysis and makes no representation as to the accuracy of the status listed.)
- Active
Links
- 230000002706 hydrostatic effect Effects 0.000 claims description 43
- XLYOFNOQVPJJNP-UHFFFAOYSA-N water Substances O XLYOFNOQVPJJNP-UHFFFAOYSA-N 0.000 claims description 32
- 230000007246 mechanism Effects 0.000 claims description 20
- 238000010304 firing Methods 0.000 claims description 9
- 230000003213 activating effect Effects 0.000 claims description 8
- 239000000126 substance Substances 0.000 claims description 7
- 230000011664 signaling Effects 0.000 claims description 6
- 230000000977 initiatory effect Effects 0.000 claims description 4
- 230000002401 inhibitory effect Effects 0.000 claims description 2
- 230000000284 resting effect Effects 0.000 claims 1
- 230000004913 activation Effects 0.000 description 9
- 230000033001 locomotion Effects 0.000 description 7
- 230000014759 maintenance of location Effects 0.000 description 6
- 238000010276 construction Methods 0.000 description 5
- 230000009429 distress Effects 0.000 description 5
- 230000000717 retained effect Effects 0.000 description 5
- 239000000203 mixture Substances 0.000 description 3
- 239000000779 smoke Substances 0.000 description 3
- 125000006850 spacer group Chemical group 0.000 description 3
- 230000008901 benefit Effects 0.000 description 2
- 238000007789 sealing Methods 0.000 description 2
- 229920005830 Polyurethane Foam Polymers 0.000 description 1
- 230000006978 adaptation Effects 0.000 description 1
- 238000005422 blasting Methods 0.000 description 1
- 230000008859 change Effects 0.000 description 1
- 230000003111 delayed effect Effects 0.000 description 1
- 239000002360 explosive Substances 0.000 description 1
- 238000005188 flotation Methods 0.000 description 1
- 239000011496 polyurethane foam Substances 0.000 description 1
- 230000002028 premature Effects 0.000 description 1
- 238000011084 recovery Methods 0.000 description 1
- 230000004044 response Effects 0.000 description 1
- 230000004083 survival effect Effects 0.000 description 1
Images
Classifications
-
- F—MECHANICAL ENGINEERING; LIGHTING; HEATING; WEAPONS; BLASTING
- F42—AMMUNITION; BLASTING
- F42B—EXPLOSIVE CHARGES, e.g. FOR BLASTING, FIREWORKS, AMMUNITION
- F42B4/00—Fireworks, i.e. pyrotechnic devices for amusement, display, illumination or signal purposes
- F42B4/26—Flares; Torches
-
- F—MECHANICAL ENGINEERING; LIGHTING; HEATING; WEAPONS; BLASTING
- F42—AMMUNITION; BLASTING
- F42C—AMMUNITION FUZES; ARMING OR SAFETY MEANS THEREFOR
- F42C5/00—Fuzes actuated by exposure to a predetermined ambient fluid pressure
-
- F—MECHANICAL ENGINEERING; LIGHTING; HEATING; WEAPONS; BLASTING
- F42—AMMUNITION; BLASTING
- F42B—EXPLOSIVE CHARGES, e.g. FOR BLASTING, FIREWORKS, AMMUNITION
- F42B12/00—Projectiles, missiles or mines characterised by the warhead, the intended effect, or the material
- F42B12/02—Projectiles, missiles or mines characterised by the warhead, the intended effect, or the material characterised by the warhead or the intended effect
- F42B12/36—Projectiles, missiles or mines characterised by the warhead, the intended effect, or the material characterised by the warhead or the intended effect for dispensing materials; for producing chemical or physical reaction; for signalling ; for transmitting information
- F42B12/46—Projectiles, missiles or mines characterised by the warhead, the intended effect, or the material characterised by the warhead or the intended effect for dispensing materials; for producing chemical or physical reaction; for signalling ; for transmitting information for dispensing gases, vapours, powders or chemically-reactive substances
- F42B12/48—Projectiles, missiles or mines characterised by the warhead, the intended effect, or the material characterised by the warhead or the intended effect for dispensing materials; for producing chemical or physical reaction; for signalling ; for transmitting information for dispensing gases, vapours, powders or chemically-reactive substances smoke-producing, e.g. infrared clouds
-
- F—MECHANICAL ENGINEERING; LIGHTING; HEATING; WEAPONS; BLASTING
- F42—AMMUNITION; BLASTING
- F42C—AMMUNITION FUZES; ARMING OR SAFETY MEANS THEREFOR
- F42C14/00—Mechanical fuzes characterised by the ammunition class or type
- F42C14/04—Mechanical fuzes characterised by the ammunition class or type for torpedoes, marine mines or depth charges
Definitions
- the present invention relates to a fuzing system for a signal flare for use on a submarine vessel, said system comprising an ignition system that is operationally connected to a signalling substance in such a way that said signalling substance can be ignited by activating said ignition system.
- the invention also relates to a signal flare comprising a fuzing system.
- the level of safety required for equipment used on submarine vessels is generally very high, due to the environment inside the vessel and the risks connected with accidents in such an enclosed space located under water. If an emergency should arise, it is essential to be able to emit a distress signal to enable assistance from the surroundings, and for this purpose, signal flares are generally used.
- Such signal flares must be constructed and used following many and very strict safety precautions to on the one hand guarantee that the signal flares when launched will perform as desired and on the other hand to prevent an accidental ignition of the signal flare during handling and transportation, e.g. inside the submarine vessel. For instance, a signal flare should not get affected e.g. in case it is dropped to the ground or subjected to other external forces e.g. during transportation and the like since that would lead to a serious security risk.
- Another problem is to choose a signal flare that is adapted to the water depth where the submarine is currently located, so that the ignition is delayed sufficiently for the flare to reach a desired water depth before the signalling substance is ignited but at the same time occurs before the flare has reached the water surface and possibly been placed in an undesirable position where the signalling substance cannot be activated in a desired way.
- One solution to this problem is to have a series of signal flares labelled with the depth where they can be used and having an operator select the flare that is suitable in a specific situation.
- US 3048111 relating to an arming and firing mechanism for pyrotechnic signals, according to the preamble of claim 1, where arming and firing means are operable in response to the predetermined sequence of hydraulic pressure conditions to which the signal is subjected after being launched.
- US 3048111 is associated with a number of weaknesses which taken together results in that the system essentially lacks fail-safe mechanisms which obviously poses a problem in the strict conditions in a submarine.
- the object of the present invention is to solve or at least to minimise the problems mentioned above. This is achieved through a fuzing system according to claim 1. Thereby, an activation of the signal flare at a desired water depth can be achieved, regardless of the depth where the signal flare was launched from the submarine vessel.
- the need for a crew member to choose from a number of different signal flares for use at different depths can be eliminated, thereby also eliminating the risk of choosing an unsuitable signal flare and thus igniting too early or too late, preventing a signal in the form of light or smoke to be emitted.
- a premature activation of the fuzing system before the signal flare has left the submarine vessel can also be prevented, allowing for plundering if a situation should arise where it is desired to abort a launch of the signal flare and return it to the inside of the submarine vessel. Thanks to this system, along with the additional safety systems used with the invention, an accidental activation of the fuzing system due to handling of the signal flare by a human operator can also be prevented.
- the design of the cartridge 1 comprising in a lower end 14 a fuzing system 2 and inner spaces 13 elongating at the middle and upper portion of said cartridge 1 will lead to that the location of the centre of mass will contribute to the cartridge keeping a proper position during its trajectory through a body of water, i.e. with its nose portion 16 directed upwards and the lower end 14 directed downwards.
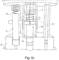
- Fig. 3a-b , Fig. 5a-b and Fig. 6a-c show the fuzing system 2 with the bodies 21, 22 separated by spacers 23, and with the central piston 4 and the hydrostatic piston 6.
- a central ignition spring 44 and an inner ignition ring member 45 are arranged around the central piston 4 inside a central casing 12, and a hydrostatic spring 61 is arranged so that it is abutting the hydrostatic piston 6.
- a ball locker 43 with balls 49 locks the inner ignition ring member 45 to prevent its movement in relation to the ball locker 43 until the moment of initiation of ignition. Furthermore, a locking ring 62 is arranged to lock inner locking balls 49 (see e.g. Fig. 3a ) which are located inside matching holes in the inner ignition ring member 45.
- the flare can be seen from the lower end 14 with the second body 22 and with the rotatable tube sensor 7 extending through the second body 22 and ending in a latch mechanism 71 in the form of a sensor arm that extends along a lower surface of the second body 22.
- the tube sensor 7 is arranged to be rotatable around its longitudinal axis and is spring biased to rotate in a predetermined direction corresponding to said sensor arm being turned outwardly from said second body 22 at an angle, as seen in Fig. 4b .
- the sensor arm 71 Before launch, the sensor arm 71 is held in place by the ejection bracket 3 and as long as the signal flare remains inside the launch tube, the sensor arm 71 remains in the non-operable position shown in Fig. 4a . As soon as the signal flare has left the launch tube and been ejected into the water, the sensor arm 71 is free to rotate to the position shown by Fig. 4b , protruding from the second body 22 at an angle.
- said tube sensor design where a latch mechanism 71 is arranged to pivot in a horizontal direction (in relation to the length of the cartridge) leads to a flare having dimensions which are compatible with conventional launching tubes, i.e. the presence of the latch mechanism 71 per se does not lead to any need for any specially arranged launching tubes which is advantageous from a users perspective.
- Fig. 4b is seen a situation where the retaining means (i.e. the bracket 3) has been removed allowing the latch mechanism 71 to flip outwards in the direction of the biasing force acting on the tube sensor 7, meaning that said tube sensor 7 has been rotated into an operable position whereat ignition of the ignition system is enabled, as will later be described in more detail.
- the retaining means i.e. the bracket 3
- the latch mechanism 71 flip outwards in the direction of the biasing force acting on the tube sensor 7, meaning that said tube sensor 7 has been rotated into an operable position whereat ignition of the ignition system is enabled, as will later be described in more detail.
- Figs. 5a - f are depicting components located at the uppermost side of the first body 21. It is to be understood that the following description of the function and safety aspects of the system are to be seen as merely illustrative for describing the technical function of the invention, and are thus not to be seen as limited to the exact outline of the appended figures.
- the tube sensor 7 As will later be described in more detail, as long as the tube sensor 7 is in a non-rotated position it locks the hydrostatic piston 6 preventing it from moving in a longitudinal direction. Furthermore, as long as the tube sensor 7 is kept in a non-rotated position the ignition chain at the upper side of the first body 21 is broken due to that the safety unit 9 is prevented from moving to an armed position.
- the function of the fuzing system 2 will now be described in detail with reference to the Figures.
- a signal flare is placed into a launch tube for launch into surrounding water.
- a first safety lock in the form of at least one thumbscrew 33 (see Fig. 1a ), that serves to firmly secure the ejection bracket 3 to the second body 22 to prevent an accidental breaking of a break screw 31, is removed.
- the ejection bracket 3 is still retained onto the second body 22 by means of said break screw 31 being connected to the central piston 4.
- the central piston 4 is protruding through the second body 22 via an opening in the second body 22.
- a second opening from said launch tube to a surrounding of the submarine vessel is opened and water fills the launch tube.
- a hydrostatic opening 63 allows the water to penetrate into the hydrostatic chamber 64 located at the lower end of the hydrostatic piston 6 whereupon the piston 6 becomes subjected to the water pressure at the depth where the submarine vessel is currently placed. In this position the water pressure inside the hydrostatic chamber 64 will push against the underside of the piston 6. In this stage the hydrostatic piston 6 is locked (i.e. is fixed into place) by a locking mechanism connected to said tube sensor 7.
- the hydrostatic piston 6 As long as the tube sensor 7 is in a non-rotated position the hydrostatic piston 6 is locked in position, whereas at the same moment as the tube sensor 7 rotates the hydrostatic piston 6 is free to move in a longitudinal direction.
- said hydrostatic piston 6 will be affected in one end by a prebiased spring 61 and in another end by the water pressure inside the chamber 64, meaning that the position of the hydrostatic piston 6 is determined on one hand by the force exerted by said spring 61 and on the other hand by the water pressure.
- the hydrostatic spring 61 is preloaded (i.e. held in a compressed position) already before launch by means of being somewhat compressed by the hydrostatic piston 6 which in its turn is held in place by said tube sensor 7.
- a fuzing system 2 before launch.
- the flare may or may not have been positioned inside a launch tube.
- the ejection bracket 3 is connected to the central piston 4 via the break screw 31 and the tube sensor 7 is retained in an inoperable position by means of said latch mechanism 71 being held inwardly within a matching groove of said ejection bracket 3.
- the central piston 4 is movable in a longitudinal direction, but until launch it is kept in place in a non-operable position by said central spring member 44.
- the spring member 44 is positioned so that it extends between the ring member 45 and a spring support unit 42 (shown in Fig. 3a ).
- the spring support unit 42 is integrated with said central piston 4 and is movable inside and in relation to the central tube 12.
- said ejection bracket 3 has a diameter larger than the launching tube and will therefore not be able to follow the flare as it is launched via the launching tube. Since the central piston 4 is attached to the break screw 31 and is movable in its longitudinal direction, the central piston 4 will initially be retained by the break screw 31 and will thus get pushed in a downward direction in relation to the other components of the flare.
- the central piston 4 is arranged to get locked once it reaches a lowermost position (as in Fig. 3b ) by means of a locking member 47 located at the lower end of the central piston 4, locking the central piston 4 in relation to the lower surface of the second body 22.
- a locking member 47 located at the lower end of the central piston 4, locking the central piston 4 in relation to the lower surface of the second body 22.
- the locking member 47 is mechanically activated so that the central piston 4 is locked in a position where said ignition spring 44 has been compressed.
- the locking member 47 preferably comprises a spring biased latch member 47 which may be manually unlocked, meaning that in case a plundering to bring the launched flare back onboard is desired, the latch member 47 may be easily unlocked releasing the central piston 4 which may thus move upwards to its initial position, whereby also the ignition spring 44 is decompressed and ignition disabled. An accidental ignition inside the submarine may hereby be avoided.
- Said central piston 4 is provided with an annular flange 46 which has a diameter larger than the diameter of the central opening in the second body 22.
- the central piston 4 will be drawn in a relative downward direction until the flange 46 is stopped by the surface around the central opening in the second body 22.
- the break screw 31 is arranged to break so that the flare is released from the ejection bracket 3 and is allowed to continue through the launching tube.
- the break screw 31 and central piston 4 thus form a second safety lock.
- the downward movement of the central piston 4 leads to opening of a third safety lock at the upper side of the first body 21, as will be described in more detail in connection to Fig. 5a - b .
- Fig. 5a - b there is seen the upper side of a first body 21 of a preferred embodiment according to the invention.
- the upper cone shaped end 40 of the central piston 4 is positioned so that it protrudes up from a bore through the first body 21.
- Fig. 5a shows a flare before launch, where said safety unit 9 is locked in an unarmed position.
- Fig. 5f shows a flare after launch, where said safety unit 9 has been unlocked and has moved to an armed position where ignition of the ignition system 5 is enabled.
- the safety unit 9 When the safety unit 9 is in an unarmed position the ignition chain 5 is broken, i.e. even if the ignition thread 8 would light the fuse 5 (as will be explained later) the lightening would be interrupted in case the safety unit 9 is in an unarmed position, and thereby there is no risk that the explosives of the flare composition would fire off e.g. in case of an external fire outbreak. This is achieved in that part of the blasting safety fuse of the ignition system 5 is arranged within the safety unit 9. Thus by separating the safety unit 9 from the rest of the ignition system until the moment when projection of the flare composition is to be enabled a safer fuzing system 2 is attained. When the safety unit 9 is brought into an armed position as seen in Fig. 5f , the previously separated ignition system units 5, 5' are connected via said safety unit 9, and via the fuse contained therein, so that the ignition chain 5 is closed and firing of the signal flare is enabled.
- the central piston 4 protrudes up from the first body 21 to such an extent that its thickest base is exposed above the opening from which it protrudes. Abutting the base of the conical portion 40 there is a first retention pin 92 which in one end rests against the surface of said central piston 4, and in the other end is arranged to partly be introduced into a drill hole in the safety unit 9.
- the retention pin 92 will lock said safety unit 9, keeping it in an unarmed position, as shown in Fig. 5a .
- a major portion of the conical end 40 will move downwards into the bore hole, which is shown in Fig. 5b .
- the retention pin 92 is free to move out of the drill hole in the safety unit 9, for instance by means of a spring member pushing it out from the drill hole, and the third safety lock is hereby unlocked.
- the safety unit 9 is also kept in an unarmed position by means of a second retention pin 93, representing a fourth safety lock, illustrated in Fig. 5c - d .
- the fourth safety lock is released by means of rotation of the tube sensor piston 7.
- Fig. 5c there is seen a situation where the tube sensor 7 end portion is protruding upwardly from the surface of the first body 21.
- Said second retaining pin 93 abuts the tube sensor 7 in one end and is introduced into a drill hole in the safety unit 9 in its other end.
- the safety unit 9 moves to an armed position requires the release of both retention pins 92, 93, i.e. both turning of the tube sensor 7 and a downward movement of the central piston 4.
- the outline of said third safety lock means that if the ignition chain is ignited without the central piston 4 having moved enough downwards, the top portion 40 of the central piston 4 will stop the first retaining pin 92 from moving out from the drilled hole in the safety unit 9 and keeping the safety unit 9 in a position where it will interrupt the ignition chain.
- the outline of said fourth safety lock will lead to that if the ignition chain is ignited without that the tube sensor 7 having rotated, the second retaining means 93 will not be able to release the safety unit 9 and the ignition chain will be interrupted.
- Fig. 5e shows a situation where the safety unit 9 is kept in a lower, unarmed position by means of said first 92 and second 93 retaining members.
- the safety unit 9 is pushed upwards by said spring member 94 to an armed position as shown in Fig. 5f wherein the ignition chain is closed. This leads to that ignition of the smoke signal is now possible.
- the hydrostatic piston 6 is arranged in one end with a hydrostatic spring device 61 exerting a predetermined force onto the piston 6, and in its other end being subjected to surrounding pressure which, in case the signal flare has been launched from a submarine into the water, corresponds to the surrounding water pressure acting on the hydrostatic piston via a hydrostatic opening 63 allowing the water to penetrate into a hydrostatic chamber 64 located at the lower end of the movable piston 6.
- the piston 6 seals against the walls of the chamber 64 with sealing means, such as O-rings, sealing the interior of the fuzing system 2 from ingress of water.
- the force from the hydrostatic spring 61 will overcome the pressure from surrounding water enough for pushing the piston 6 downwards into the chamber 64 to an activating position whereat it is arranged to cause initiation of ignition of the ignition system. This is accomplished as follows. When reaching a predetermined activating position below the water surface the hydrostatic piston 6 has been pushed downwards into the chamber 64 by means of the spring 61. The piston 6 is connected via a projecting arm 65 to a locking ring 62 which is positioned around the circumference of the central tube 12 which surrounds the central piston 4.
- the signal flare can be launched from the submarine vessel without the use of a launch tube, but simply by placing the signal flare in an area that can be opened into the surrounding water and allowing the signal flare to float up through the water towards a surface due to being arranged with a positive buoyancy.
- This type of launch would require manual activation of the system.
- a distress signal can be emitted even if damages have occurred onboard the submarine vessel that affects operation of the launch tube, thus allowing for a distress signal to be sent even in these cases.
- a signal flare can be made without a casing thus allowing for more signal units to be mounted together without using more space than a conventional flare with a casing would and thus giving a larger and more visible signal.
- a signal flare of a lower weight can be constructed, or with flotation elements, for instance in the form of a polyurethane foam, for achieving a faster rise through the water.
- a fuzing system 2 according to the invention may be launched from any water depth, and even from the surface. Firing from the surface would lead to that the hydrostatic piston 6 will be activated immediately upon launch since the hydrostatic spring 61 does not need to overcome any surrounding water pressure, and thus ignition of the flare will be affected without delay.
- hydrostatic piston 6 may be replaced by any movable member 6 suitable for generating a movement as a result of change of surrounding pressure.
Landscapes
- Engineering & Computer Science (AREA)
- General Engineering & Computer Science (AREA)
- Lighters Containing Fuel (AREA)
Applications Claiming Priority (2)
| Application Number | Priority Date | Filing Date | Title |
|---|---|---|---|
| SE1051383 | 2010-12-29 | ||
| PCT/SE2011/051589 WO2012091665A1 (en) | 2010-12-29 | 2011-12-27 | Fuzing system for a submarine signal flare |
Publications (3)
| Publication Number | Publication Date |
|---|---|
| EP2659220A1 EP2659220A1 (en) | 2013-11-06 |
| EP2659220A4 EP2659220A4 (en) | 2014-07-09 |
| EP2659220B1 true EP2659220B1 (en) | 2017-08-02 |
Family
ID=46383401
Family Applications (1)
| Application Number | Title | Priority Date | Filing Date |
|---|---|---|---|
| EP11853651.5A Active EP2659220B1 (en) | 2010-12-29 | 2011-12-27 | Fuzing system for a submarine signal flare |
Country Status (3)
| Country | Link |
|---|---|
| EP (1) | EP2659220B1 (enExample) |
| NO (1) | NO2659220T3 (enExample) |
| WO (1) | WO2012091665A1 (enExample) |
Families Citing this family (1)
| Publication number | Priority date | Publication date | Assignee | Title |
|---|---|---|---|---|
| IT201800003551A1 (it) * | 2018-03-14 | 2019-09-14 | Monetti S R L | Sistema di accoppiamento e trasmissione di corrente per un accenditore elettrico, in particolare per fuochi d’artificio di tipo single shot. |
Family Cites Families (5)
| Publication number | Priority date | Publication date | Assignee | Title |
|---|---|---|---|---|
| US2966849A (en) * | 1948-12-30 | 1961-01-03 | Harold R Joiner | Submarine signalling device |
| US3048111A (en) * | 1953-02-10 | 1962-08-07 | Kenneth L Baker | Submarine signal fuze |
| CH539835A (fr) * | 1971-09-10 | 1973-07-31 | Mefina Sa | Fusée pour projectile à mouvement non giratoire |
| IT1175386B (it) * | 1978-04-07 | 1987-07-01 | Menon Luigi | Segnale a fumata idromeccanico di tipo apirico per sommergibili atto aportare in superficie anche comunicazioni scritte dal sottomarino |
| DE19651974C1 (de) * | 1996-12-13 | 1998-06-10 | Buck Chem Tech Werke | Sicherheitsvorrichtung für einen Zünder |
-
2011
- 2011-12-27 NO NO11853651A patent/NO2659220T3/no unknown
- 2011-12-27 EP EP11853651.5A patent/EP2659220B1/en active Active
- 2011-12-27 WO PCT/SE2011/051589 patent/WO2012091665A1/en not_active Ceased
Non-Patent Citations (1)
| Title |
|---|
| None * |
Also Published As
| Publication number | Publication date |
|---|---|
| EP2659220A4 (en) | 2014-07-09 |
| WO2012091665A1 (en) | 2012-07-05 |
| EP2659220A1 (en) | 2013-11-06 |
| NO2659220T3 (enExample) | 2017-12-30 |
Similar Documents
| Publication | Publication Date | Title |
|---|---|---|
| KR101210582B1 (ko) | 40mm 연습탄 | |
| US5052489A (en) | Apparatus for selectively actuating well tools | |
| EP0088543B1 (en) | Improvements in or relating to safety devices for carrier shells | |
| US5115865A (en) | Method and apparatus for selectively actuating wellbore perforating tools | |
| US4969398A (en) | Lane marker | |
| CA2819964C (en) | Grenade mechanism | |
| EP2659220B1 (en) | Fuzing system for a submarine signal flare | |
| US7530313B2 (en) | Self-destruct fuze delay mechanism | |
| US3154042A (en) | Embedment anchor | |
| US20120037028A1 (en) | Stationary self-destruct fuze mechanism | |
| US5373790A (en) | System for self destruction of a carrier shell submunition by chemical attack | |
| US3112703A (en) | Universal hand grenades and projectiles | |
| KR101519387B1 (ko) | 유탄의 독립형 자폭장치, 슬라이더의 장전위치 고정부 및 이를 포함하는 유탄 | |
| US3205817A (en) | Land mine | |
| EP3690322B1 (en) | Electromechanical contact fuse for multi-purpose aircraft ammunition | |
| KR101879944B1 (ko) | 지연장전부와 격침부 사이의 기폭정렬이 보장되는 충격신관 | |
| US4457232A (en) | Artillery fuze for practice and tactical munitions | |
| US2440702A (en) | Antipersonnel mine | |
| US4901644A (en) | Lane marker | |
| US3368488A (en) | Arming and firing mechanism | |
| KR101541592B1 (ko) | 유탄의 독립형 자폭장치 | |
| US3245346A (en) | Hydrostat-actuated parachute release mechanism | |
| US2405840A (en) | Fuse | |
| IL138823A (en) | Bullet fuse security system | |
| WO2011108980A1 (en) | Safety assembly for ammunition |
Legal Events
| Date | Code | Title | Description |
|---|---|---|---|
| PUAI | Public reference made under article 153(3) epc to a published international application that has entered the european phase |
Free format text: ORIGINAL CODE: 0009012 |
|
| 17P | Request for examination filed |
Effective date: 20130628 |
|
| AK | Designated contracting states |
Kind code of ref document: A1 Designated state(s): AL AT BE BG CH CY CZ DE DK EE ES FI FR GB GR HR HU IE IS IT LI LT LU LV MC MK MT NL NO PL PT RO RS SE SI SK SM TR |
|
| DAX | Request for extension of the european patent (deleted) | ||
| A4 | Supplementary search report drawn up and despatched |
Effective date: 20140612 |
|
| RIC1 | Information provided on ipc code assigned before grant |
Ipc: F42B 4/26 20060101ALI20140605BHEP Ipc: F42C 14/04 20060101ALN20140605BHEP Ipc: F42C 5/00 20060101AFI20140605BHEP Ipc: F42B 12/48 20060101ALN20140605BHEP |
|
| RAP1 | Party data changed (applicant data changed or rights of an application transferred) |
Owner name: LIFE TIME ENGINEERING AKTIEBOLAG |
|
| GRAP | Despatch of communication of intention to grant a patent |
Free format text: ORIGINAL CODE: EPIDOSNIGR1 |
|
| RIC1 | Information provided on ipc code assigned before grant |
Ipc: F42C 5/00 20060101AFI20170216BHEP Ipc: F42C 14/04 20060101ALN20170216BHEP Ipc: F42B 4/26 20060101ALI20170216BHEP Ipc: F42B 12/48 20060101ALN20170216BHEP |
|
| INTG | Intention to grant announced |
Effective date: 20170227 |
|
| GRAS | Grant fee paid |
Free format text: ORIGINAL CODE: EPIDOSNIGR3 |
|
| GRAA | (expected) grant |
Free format text: ORIGINAL CODE: 0009210 |
|
| AK | Designated contracting states |
Kind code of ref document: B1 Designated state(s): AL AT BE BG CH CY CZ DE DK EE ES FI FR GB GR HR HU IE IS IT LI LT LU LV MC MK MT NL NO PL PT RO RS SE SI SK SM TR |
|
| REG | Reference to a national code |
Ref country code: CH Ref legal event code: EP Ref country code: AT Ref legal event code: REF Ref document number: 914950 Country of ref document: AT Kind code of ref document: T Effective date: 20170815 |
|
| REG | Reference to a national code |
Ref country code: IE Ref legal event code: FG4D |
|
| REG | Reference to a national code |
Ref country code: DE Ref legal event code: R096 Ref document number: 602011040271 Country of ref document: DE |
|
| REG | Reference to a national code |
Ref country code: SE Ref legal event code: TRGR |
|
| REG | Reference to a national code |
Ref country code: NL Ref legal event code: MP Effective date: 20170802 |
|
| REG | Reference to a national code |
Ref country code: AT Ref legal event code: MK05 Ref document number: 914950 Country of ref document: AT Kind code of ref document: T Effective date: 20170802 |
|
| REG | Reference to a national code |
Ref country code: FR Ref legal event code: PLFP Year of fee payment: 7 |
|
| REG | Reference to a national code |
Ref country code: LT Ref legal event code: MG4D |
|
| REG | Reference to a national code |
Ref country code: NO Ref legal event code: T2 Effective date: 20170802 |
|
| PG25 | Lapsed in a contracting state [announced via postgrant information from national office to epo] |
Ref country code: FI Free format text: LAPSE BECAUSE OF FAILURE TO SUBMIT A TRANSLATION OF THE DESCRIPTION OR TO PAY THE FEE WITHIN THE PRESCRIBED TIME-LIMIT Effective date: 20170802 Ref country code: NL Free format text: LAPSE BECAUSE OF FAILURE TO SUBMIT A TRANSLATION OF THE DESCRIPTION OR TO PAY THE FEE WITHIN THE PRESCRIBED TIME-LIMIT Effective date: 20170802 Ref country code: HR Free format text: LAPSE BECAUSE OF FAILURE TO SUBMIT A TRANSLATION OF THE DESCRIPTION OR TO PAY THE FEE WITHIN THE PRESCRIBED TIME-LIMIT Effective date: 20170802 Ref country code: AT Free format text: LAPSE BECAUSE OF FAILURE TO SUBMIT A TRANSLATION OF THE DESCRIPTION OR TO PAY THE FEE WITHIN THE PRESCRIBED TIME-LIMIT Effective date: 20170802 Ref country code: LT Free format text: LAPSE BECAUSE OF FAILURE TO SUBMIT A TRANSLATION OF THE DESCRIPTION OR TO PAY THE FEE WITHIN THE PRESCRIBED TIME-LIMIT Effective date: 20170802 |
|
| PG25 | Lapsed in a contracting state [announced via postgrant information from national office to epo] |
Ref country code: IS Free format text: LAPSE BECAUSE OF FAILURE TO SUBMIT A TRANSLATION OF THE DESCRIPTION OR TO PAY THE FEE WITHIN THE PRESCRIBED TIME-LIMIT Effective date: 20171202 Ref country code: LV Free format text: LAPSE BECAUSE OF FAILURE TO SUBMIT A TRANSLATION OF THE DESCRIPTION OR TO PAY THE FEE WITHIN THE PRESCRIBED TIME-LIMIT Effective date: 20170802 Ref country code: ES Free format text: LAPSE BECAUSE OF FAILURE TO SUBMIT A TRANSLATION OF THE DESCRIPTION OR TO PAY THE FEE WITHIN THE PRESCRIBED TIME-LIMIT Effective date: 20170802 Ref country code: GR Free format text: LAPSE BECAUSE OF FAILURE TO SUBMIT A TRANSLATION OF THE DESCRIPTION OR TO PAY THE FEE WITHIN THE PRESCRIBED TIME-LIMIT Effective date: 20171103 Ref country code: BG Free format text: LAPSE BECAUSE OF FAILURE TO SUBMIT A TRANSLATION OF THE DESCRIPTION OR TO PAY THE FEE WITHIN THE PRESCRIBED TIME-LIMIT Effective date: 20171102 Ref country code: PL Free format text: LAPSE BECAUSE OF FAILURE TO SUBMIT A TRANSLATION OF THE DESCRIPTION OR TO PAY THE FEE WITHIN THE PRESCRIBED TIME-LIMIT Effective date: 20170802 Ref country code: RS Free format text: LAPSE BECAUSE OF FAILURE TO SUBMIT A TRANSLATION OF THE DESCRIPTION OR TO PAY THE FEE WITHIN THE PRESCRIBED TIME-LIMIT Effective date: 20170802 |
|
| PG25 | Lapsed in a contracting state [announced via postgrant information from national office to epo] |
Ref country code: CZ Free format text: LAPSE BECAUSE OF FAILURE TO SUBMIT A TRANSLATION OF THE DESCRIPTION OR TO PAY THE FEE WITHIN THE PRESCRIBED TIME-LIMIT Effective date: 20170802 Ref country code: RO Free format text: LAPSE BECAUSE OF FAILURE TO SUBMIT A TRANSLATION OF THE DESCRIPTION OR TO PAY THE FEE WITHIN THE PRESCRIBED TIME-LIMIT Effective date: 20170802 Ref country code: DK Free format text: LAPSE BECAUSE OF FAILURE TO SUBMIT A TRANSLATION OF THE DESCRIPTION OR TO PAY THE FEE WITHIN THE PRESCRIBED TIME-LIMIT Effective date: 20170802 |
|
| REG | Reference to a national code |
Ref country code: DE Ref legal event code: R097 Ref document number: 602011040271 Country of ref document: DE |
|
| PG25 | Lapsed in a contracting state [announced via postgrant information from national office to epo] |
Ref country code: EE Free format text: LAPSE BECAUSE OF FAILURE TO SUBMIT A TRANSLATION OF THE DESCRIPTION OR TO PAY THE FEE WITHIN THE PRESCRIBED TIME-LIMIT Effective date: 20170802 Ref country code: SM Free format text: LAPSE BECAUSE OF FAILURE TO SUBMIT A TRANSLATION OF THE DESCRIPTION OR TO PAY THE FEE WITHIN THE PRESCRIBED TIME-LIMIT Effective date: 20170802 Ref country code: SK Free format text: LAPSE BECAUSE OF FAILURE TO SUBMIT A TRANSLATION OF THE DESCRIPTION OR TO PAY THE FEE WITHIN THE PRESCRIBED TIME-LIMIT Effective date: 20170802 |
|
| PLBE | No opposition filed within time limit |
Free format text: ORIGINAL CODE: 0009261 |
|
| STAA | Information on the status of an ep patent application or granted ep patent |
Free format text: STATUS: NO OPPOSITION FILED WITHIN TIME LIMIT |
|
| 26N | No opposition filed |
Effective date: 20180503 |
|
| REG | Reference to a national code |
Ref country code: CH Ref legal event code: PL |
|
| PG25 | Lapsed in a contracting state [announced via postgrant information from national office to epo] |
Ref country code: SI Free format text: LAPSE BECAUSE OF FAILURE TO SUBMIT A TRANSLATION OF THE DESCRIPTION OR TO PAY THE FEE WITHIN THE PRESCRIBED TIME-LIMIT Effective date: 20170802 |
|
| REG | Reference to a national code |
Ref country code: IE Ref legal event code: MM4A |
|
| PG25 | Lapsed in a contracting state [announced via postgrant information from national office to epo] |
Ref country code: LU Free format text: LAPSE BECAUSE OF NON-PAYMENT OF DUE FEES Effective date: 20171227 Ref country code: MT Free format text: LAPSE BECAUSE OF NON-PAYMENT OF DUE FEES Effective date: 20171227 |
|
| REG | Reference to a national code |
Ref country code: BE Ref legal event code: MM Effective date: 20171231 |
|
| PG25 | Lapsed in a contracting state [announced via postgrant information from national office to epo] |
Ref country code: IE Free format text: LAPSE BECAUSE OF NON-PAYMENT OF DUE FEES Effective date: 20171227 |
|
| PG25 | Lapsed in a contracting state [announced via postgrant information from national office to epo] |
Ref country code: LI Free format text: LAPSE BECAUSE OF NON-PAYMENT OF DUE FEES Effective date: 20171231 Ref country code: BE Free format text: LAPSE BECAUSE OF NON-PAYMENT OF DUE FEES Effective date: 20171231 Ref country code: CH Free format text: LAPSE BECAUSE OF NON-PAYMENT OF DUE FEES Effective date: 20171231 |
|
| PG25 | Lapsed in a contracting state [announced via postgrant information from national office to epo] |
Ref country code: MC Free format text: LAPSE BECAUSE OF FAILURE TO SUBMIT A TRANSLATION OF THE DESCRIPTION OR TO PAY THE FEE WITHIN THE PRESCRIBED TIME-LIMIT Effective date: 20170802 Ref country code: HU Free format text: LAPSE BECAUSE OF FAILURE TO SUBMIT A TRANSLATION OF THE DESCRIPTION OR TO PAY THE FEE WITHIN THE PRESCRIBED TIME-LIMIT; INVALID AB INITIO Effective date: 20111227 |
|
| PG25 | Lapsed in a contracting state [announced via postgrant information from national office to epo] |
Ref country code: CY Free format text: LAPSE BECAUSE OF NON-PAYMENT OF DUE FEES Effective date: 20170802 |
|
| PG25 | Lapsed in a contracting state [announced via postgrant information from national office to epo] |
Ref country code: MK Free format text: LAPSE BECAUSE OF FAILURE TO SUBMIT A TRANSLATION OF THE DESCRIPTION OR TO PAY THE FEE WITHIN THE PRESCRIBED TIME-LIMIT Effective date: 20170802 |
|
| PG25 | Lapsed in a contracting state [announced via postgrant information from national office to epo] |
Ref country code: TR Free format text: LAPSE BECAUSE OF FAILURE TO SUBMIT A TRANSLATION OF THE DESCRIPTION OR TO PAY THE FEE WITHIN THE PRESCRIBED TIME-LIMIT Effective date: 20170802 |
|
| PG25 | Lapsed in a contracting state [announced via postgrant information from national office to epo] |
Ref country code: PT Free format text: LAPSE BECAUSE OF FAILURE TO SUBMIT A TRANSLATION OF THE DESCRIPTION OR TO PAY THE FEE WITHIN THE PRESCRIBED TIME-LIMIT Effective date: 20170802 |
|
| PG25 | Lapsed in a contracting state [announced via postgrant information from national office to epo] |
Ref country code: AL Free format text: LAPSE BECAUSE OF FAILURE TO SUBMIT A TRANSLATION OF THE DESCRIPTION OR TO PAY THE FEE WITHIN THE PRESCRIBED TIME-LIMIT Effective date: 20170802 |
|
| PGFP | Annual fee paid to national office [announced via postgrant information from national office to epo] |
Ref country code: DE Payment date: 20241218 Year of fee payment: 14 |
|
| PGFP | Annual fee paid to national office [announced via postgrant information from national office to epo] |
Ref country code: NO Payment date: 20241220 Year of fee payment: 14 |
|
| PGFP | Annual fee paid to national office [announced via postgrant information from national office to epo] |
Ref country code: GB Payment date: 20241218 Year of fee payment: 14 |
|
| PGFP | Annual fee paid to national office [announced via postgrant information from national office to epo] |
Ref country code: FR Payment date: 20241217 Year of fee payment: 14 |
|
| PGFP | Annual fee paid to national office [announced via postgrant information from national office to epo] |
Ref country code: IT Payment date: 20241218 Year of fee payment: 14 |
|
| PGFP | Annual fee paid to national office [announced via postgrant information from national office to epo] |
Ref country code: SE Payment date: 20241218 Year of fee payment: 14 |