EP2583906A1 - Protector for bottles - Google Patents
Protector for bottles Download PDFInfo
- Publication number
- EP2583906A1 EP2583906A1 EP12382379.1A EP12382379A EP2583906A1 EP 2583906 A1 EP2583906 A1 EP 2583906A1 EP 12382379 A EP12382379 A EP 12382379A EP 2583906 A1 EP2583906 A1 EP 2583906A1
- Authority
- EP
- European Patent Office
- Prior art keywords
- protector
- segments
- segment
- bottles
- closing
- Prior art date
- Legal status (The legal status is an assumption and is not a legal conclusion. Google has not performed a legal analysis and makes no representation as to the accuracy of the status listed.)
- Withdrawn
Links
Images
Classifications
-
- B—PERFORMING OPERATIONS; TRANSPORTING
- B65—CONVEYING; PACKING; STORING; HANDLING THIN OR FILAMENTARY MATERIAL
- B65D—CONTAINERS FOR STORAGE OR TRANSPORT OF ARTICLES OR MATERIALS, e.g. BAGS, BARRELS, BOTTLES, BOXES, CANS, CARTONS, CRATES, DRUMS, JARS, TANKS, HOPPERS, FORWARDING CONTAINERS; ACCESSORIES, CLOSURES, OR FITTINGS THEREFOR; PACKAGING ELEMENTS; PACKAGES
- B65D5/00—Rigid or semi-rigid containers of polygonal cross-section, e.g. boxes, cartons or trays, formed by folding or erecting one or more blanks made of paper
- B65D5/42—Details of containers or of foldable or erectable container blanks
- B65D5/4266—Folding lines, score lines, crease lines
-
- B—PERFORMING OPERATIONS; TRANSPORTING
- B65—CONVEYING; PACKING; STORING; HANDLING THIN OR FILAMENTARY MATERIAL
- B65D—CONTAINERS FOR STORAGE OR TRANSPORT OF ARTICLES OR MATERIALS, e.g. BAGS, BARRELS, BOTTLES, BOXES, CANS, CARTONS, CRATES, DRUMS, JARS, TANKS, HOPPERS, FORWARDING CONTAINERS; ACCESSORIES, CLOSURES, OR FITTINGS THEREFOR; PACKAGING ELEMENTS; PACKAGES
- B65D5/00—Rigid or semi-rigid containers of polygonal cross-section, e.g. boxes, cartons or trays, formed by folding or erecting one or more blanks made of paper
- B65D5/42—Details of containers or of foldable or erectable container blanks
- B65D5/44—Integral, inserted or attached portions forming internal or external fittings
- B65D5/50—Internal supporting or protecting elements for contents
- B65D5/5028—Elements formed separately from the container body
- B65D5/5035—Paper elements
- B65D5/5045—Tubular lining and supporting elements
-
- B—PERFORMING OPERATIONS; TRANSPORTING
- B65—CONVEYING; PACKING; STORING; HANDLING THIN OR FILAMENTARY MATERIAL
- B65D—CONTAINERS FOR STORAGE OR TRANSPORT OF ARTICLES OR MATERIALS, e.g. BAGS, BARRELS, BOTTLES, BOXES, CANS, CARTONS, CRATES, DRUMS, JARS, TANKS, HOPPERS, FORWARDING CONTAINERS; ACCESSORIES, CLOSURES, OR FITTINGS THEREFOR; PACKAGING ELEMENTS; PACKAGES
- B65D81/00—Containers, packaging elements, or packages, for contents presenting particular transport or storage problems, or adapted to be used for non-packaging purposes after removal of contents
- B65D81/02—Containers, packaging elements, or packages, for contents presenting particular transport or storage problems, or adapted to be used for non-packaging purposes after removal of contents specially adapted to protect contents from mechanical damage
- B65D81/05—Containers, packaging elements, or packages, for contents presenting particular transport or storage problems, or adapted to be used for non-packaging purposes after removal of contents specially adapted to protect contents from mechanical damage maintaining contents at spaced relation from package walls, or from other contents
Definitions
- a protector for bottles which presents an essentially prismatic shape of quadrangular base which defines an interior space in which to house a bottle so that it is protected by its flanks, both laterally as well as by the top and the bottom.
- the protector is formed from a sheet of cardboard or similar material, die-cut and cut.
- the present invention characterizes the precise way in which to carry out the top and bottom closure of the protector, which would correspond to the closure of the base and the mouth of the bottle, resulting in a safe and effective closure.
- the present invention is circumscribed within the scope of protectors for bottles and in particular within the constructive characteristics of the same.
- protectors for bottles that are essentially prismatic in shape, which are formed from a die-cut and cut sheet, and which once formed, they define an interior space in which to house the bottles.
- top and bottom closures of the protector which would correspond to the base and mouth or top of the bottle. So far, the way whereby the closure of the ends of the protectors happens is by means of a lid, which presents some areas or flaps separated from what could be called lids, by means ofsome folding lines, so that a part, the one that is used as alid covers the perimeter of the opening of the end of the protector whereas, the flaps are arranged in parallel and by the inside of the sides of the protector, exerting pressure, that is, it is as if the lids fit on the ends of the protector.
- the object of the present invention is to design a protector for bottles formed from die-cut and cut sheets, which will overcome the above draw backs of lack of security in the end closures of protectors, which would correspond to the base and top of the bottles, developing a protector as the one described next and contained in its essence in the first claim.
- the protector for bottles now proposed is formed from a die-cut and cut sheet, with a series of cuttings and slittings such that it forms a prismatic body of quadrangular section in which inside to house a bottle, therefore presenting some side walls and some top and bottom closing lids.
- the die-cut sheet can be of a geometry such that it allows to form a unique prism in which to house a bottle, or two or three, as many as wanted, simply repeating the general configuration of the assembly.
- the sheet from which the protector is formed presents five side parts differentiated, arranged adjacently wherein four of them form the side walls and the fifth part is used as the closure of the assembly.
- the side walls in the connection line with the adjacent side walls present some cut lines and slitting lines, such that when folding the assemblysome perimeter flanges projecting from the protector emerge with the aim to, once the protector is introduced in the box where it will be transported, protect the protector from potential direct impact collisions on its side walls, as they would directly impact on the bottle contained on its inside.
- connection line The arrangement of the cuttings made on the connection lines of the adjacent side walls for the conformation of the protection perimeter flanges is alternated from a connection line with the following, such that it allows a coupled and attached and not spaced arrangement of adjacent protectors.
- one of the side walls in particular the wall from which the flaps that are used as top and bottom lid of the protector emerge, presents a shorter length in relation to the other side walls, being arranged centrally with respect to the other side walls.
- the top and bottom lid remains tucked-in with respect to the ends of the protector.
- Said "L" shaped closure on the diagonally opposite corners of the base and arranged at the ends of the protector, so it can be released once formed, as having to press on both folding areas it forces a simultaneous deformation of the folding areas of the sidewalls, for being the length of the distance that separates the ends from the folding areas shorter than the sum of the length of both folding segments, such that it is impossible for any action as a result of an accident or impact to produce the release of the closures of the lid and base of the protector.
- Figure 1 shows the configuration featuring the die-cut and cut sheet from which a single protector of bottles is formed, and which comprises five adjacent segments (1,2,3,4,5), that have an approximately rectangular shape and are arranged consecutively, connected by one of their greater sides, where segments (1), (2), (3) and (4) form the side walls of the protector, whereas segment (5) is the closing section, configuring a closed assembly.
- the separation of a segment from the adjacent one is by means a folding line (7), where there are also made a series of die-cuts and cuts that define flanges (6) and holes (10), such that once the protector is formed, the flanges are arranged in a projecting manner in order to be used as a spacer and protector of the walls which are directly in contact with the bottle.
- Perimeter flanges (6) are arranged alternately with respect to perimeter flanges (6) made on the same connection side of a segment with the consecutive one, and also with respect to the opposing flanges on the next connection line.
- holes (10) maintain their relative position with respect to the perimeter flanges, but their position is alternated with respectto the folding line facing the adjacent segment, happening to be alternately from the two perimeter flanges to be on one side of the two flanges.
- segments (2), (3), (4) and (5) are of equal length, whereas segment (1) is of shorter length in relation to the above and is arranged centrally with respect to its largest length, having at its ends some flaps that are used as a closing top lid (8) and bottom lid (7) of the protector of bottles.
- the top closing flap (8) has in one of its corners a recess or cut (8.1) in order to facilitate the extraction of the lidby means of the introduction of a finger in the free space left.
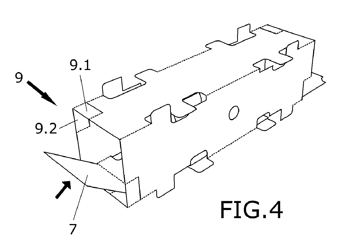
- the top (8) and the bottom (7) there are defined some closures formed by rectangular segments (9.1) and (9.2) arranged on the side segments at their ends at the folding lines that are diagonally opposite in the conformation of the protector.
- Figure 1 shows that closing segments (9.1) and (9.2) are arranged adjacently, and are arranged on folding lines, that once the box is formed, remain diagonally opposite.
- Figure 1 shows that they have been made on the ends of segments (2) and (3) and segments (4) and (5).
- Figures 2 and 3 show how the protector for bottles is made, and how on segment (5) at its free edge and centrally there emerges a closing flange (5.1) that would fit on groove (1.1) made on the folding line of the first segment (1) with the adjacent (2).
- Figure 5 shows how the folding of closure segments (9.1) and (9.2) occurred such that a stepping on the surface of one of the lids blocking its opening movement is formed, being the case depicted that of the bottom closing lid (7).
- Figure 6 shows the arrangement that presents a sheet used for the realization of a double protector, noting that it is an adjacent arrangement of two individual sheets, with the exception that the last segment, which on its edge featured a closing flange, now it is connected to the edge of the last segment, that is, it adopts a symmetrical configuration with respect to the edge of the last segment (5). Showing similarly the afore mentioned closing segments.
Landscapes
- Engineering & Computer Science (AREA)
- Mechanical Engineering (AREA)
- Cartons (AREA)
Abstract
Protector that he has at least five adjacent segments (1,2,3,4,5), consecutive, where segments (1), (2), (3) and (4) form the side walls of the protector, while segment (5) is the closing segment, segments (2), (3), (4) and (5) are of equal length, whereas the first section (1) is of shorter length and presents at its ends some flaps that are used as a closing top lid (8) and bottom lid (7) of the protector of bottles, having some closing means of the top (8) and bottom (7) lids and that are formed on the segments that form the side walls of the protector. A protector for bottles that provides security on the base and at the top of the bottles is achieved thanks to the above configuration.
Description
- It is an object of the present invention, as established by the title of the invention, a protector for bottles, which presents an essentially prismatic shape of quadrangular base which defines an interior space in which to house a bottle so that it is protected by its flanks, both laterally as well as by the top and the bottom.
- The protector is formed from a sheet of cardboard or similar material, die-cut and cut.
- The present invention characterizes the precise way in which to carry out the top and bottom closure of the protector, which would correspond to the closure of the base and the mouth of the bottle, resulting in a safe and effective closure.
- Therefore, the present invention is circumscribed within the scope of protectors for bottles and in particular within the constructive characteristics of the same.
- In the state of the art, there are known protectors for bottles that are essentially prismatic in shape, which are formed from a die-cut and cut sheet, and which once formed, they define an interior space in which to house the bottles.
- One of the areas for improvement is the top and bottom closures of the protector, which would correspond to the base and mouth or top of the bottle. So far, the way whereby the closure of the ends of the protectors happens is by means of a lid, which presents some areas or flaps separated from what could be called lids, by means ofsome folding lines, so that a part, the one that is used as alid covers the perimeter of the opening of the end of the protector whereas, the flaps are arranged in parallel and by the inside of the sides of the protector, exerting pressure, that is, it is as if the lids fit on the ends of the protector.
- This closure is not very reliable as a sudden movement or fall of the box would cause the collision of the neck or base of the bottle against the lid and this could slip partially or totally, so the bottle would not be any longer well protected and immobilised on the inside of the protector.
- Therefore, the object of the present invention is to design a protector for bottles formed from die-cut and cut sheets, which will overcome the above draw backs of lack of security in the end closures of protectors, which would correspond to the base and top of the bottles, developing a protector as the one described next and contained in its essence in the first claim.
- The protector for bottles now proposed is formed from a die-cut and cut sheet, with a series of cuttings and slittings such that it forms a prismatic body of quadrangular section in which inside to house a bottle, therefore presenting some side walls and some top and bottom closing lids.
- The die-cut sheet can be of a geometry such that it allows to form a unique prism in which to house a bottle, or two or three, as many as wanted, simply repeating the general configuration of the assembly.
- The sheet from which the protector is formed presents five side parts differentiated, arranged adjacently wherein four of them form the side walls and the fifth part is used as the closure of the assembly.
- The side walls in the connection line with the adjacent side walls present some cut lines and slitting lines, such that when folding the assemblysome perimeter flanges projecting from the protector emerge with the aim to, once the protector is introduced in the box where it will be transported, protect the protector from potential direct impact collisions on its side walls, as they would directly impact on the bottle contained on its inside.
- The arrangement of the cuttings made on the connection lines of the adjacent side walls for the conformation of the protection perimeter flanges is alternated from a connection line with the following, such that it allows a coupled and attached and not spaced arrangement of adjacent protectors.
- It is important to highlight that one of the side walls, in particular the wall from which the flaps that are used as top and bottom lid of the protector emerge, presents a shorter length in relation to the other side walls, being arranged centrally with respect to the other side walls. Thus the top and bottom lid remains tucked-in with respect to the ends of the protector.
- In order to fasten the lids, at the ends of the connection line of the adjacent side walls some rectangular areas for the subsequent folding are defined, such that upon what could be called projecting part of the sidewalls with respect to the closing lids, at the diagonally opposite corners there are defined some areas that can be folded, and that after their folding towards the inside of the space defined by the highlighted area form an "L" shaped closure.
- Said "L" shaped closure on the diagonally opposite corners of the base and arranged at the ends of the protector, so it can be released once formed, as having to press on both folding areas it forces a simultaneous deformation of the folding areas of the sidewalls, for being the length of the distance that separates the ends from the folding areas shorter than the sum of the length of both folding segments, such that it is impossible for any action as a result of an accident or impact to produce the release of the closures of the lid and base of the protector.
- In order to complement the present description and in order to help a better understanding of the features of the invention, in accordance with a preferred example of embodiment of the same, as an integral part of the description, there is enclosed a set of drawings wherein in an illustrative and non-limited manner, what follows is represented.
-
Figure 1 shows the representation of the base sheet from which a protector as the one that is an object of the invention is formed. -
Figures 2-5 show the folding process for a sheet of a single protector. -
Figure 6 shows the sheet used for the formation of a double protector, being able to expand the configuration shown for triple, quadruple protectors and so on. - In view of the figures a preferred embodiment of the proposed invention is then described.
-
Figure 1 shows the configuration featuring the die-cut and cut sheet from which a single protector of bottles is formed, and which comprises five adjacent segments (1,2,3,4,5), that have an approximately rectangular shape and are arranged consecutively, connected by one of their greater sides, where segments (1), (2), (3) and (4) form the side walls of the protector, whereas segment (5) is the closing section, configuring a closed assembly. - The separation of a segment from the adjacent one is by means a folding line (7), where there are also made a series of die-cuts and cuts that define flanges (6) and holes (10), such that once the protector is formed, the flanges are arranged in a projecting manner in order to be used as a spacer and protector of the walls which are directly in contact with the bottle.
- Perimeter flanges (6) are arranged alternately with respect to perimeter flanges (6) made on the same connection side of a segment with the consecutive one, and also with respect to the opposing flanges on the next connection line.
- On the other hand, holes (10) maintain their relative position with respect to the perimeter flanges, but their position is alternated with respectto the folding line facing the adjacent segment, happening to be alternately from the two perimeter flanges to be on one side of the two flanges.
- It is important to highlight that segments (2), (3), (4) and (5) are of equal length, whereas segment (1) is of shorter length in relation to the above and is arranged centrally with respect to its largest length, having at its ends some flaps that are used asa closing top lid (8) and bottom lid (7) of the protector of bottles.
- The top closing flap (8) has in one of its corners a recess or cut (8.1) in order to facilitate the extraction of the lidby means of the introduction of a finger in the free space left.
- In order to fasten the closing lids, the top (8) and the bottom (7), there are defined some closures formed by rectangular segments (9.1) and (9.2) arranged on the side segments at their ends at the folding lines that are diagonally opposite in the conformation of the protector.
- Thus,
Figure 1 shows that closing segments (9.1) and (9.2) are arranged adjacently, and are arranged on folding lines, that once the box is formed, remain diagonally opposite.Figure 1 shows that they have been made on the ends of segments (2) and (3) and segments (4) and (5). -
Figures 2 and 3 show how the protector for bottles is made, and how on segment (5) at its free edge and centrally there emerges a closing flange (5.1) that would fit on groove (1.1) made on the folding line of the first segment (1) with the adjacent (2). - In
Figure 4 , the protector has already been closed by its sides, the top and bottom closing is missing. -
Figure 5 shows how the folding of closure segments (9.1) and (9.2) occurred such that a stepping on the surface of one of the lids blocking its opening movement is formed, being the case depicted that of the bottom closing lid (7). - In order to make the folding of closing segments (9.1) and (9.2) it might be necessary that in addition to the marked folding lines, a partial cut is made on one of the sides of the folding lines. These cuts will be such that the cutting made on the central folding line is made on the side of the sheet that is oriented towards the interior of the assembly, while the cutting of the end folding lines will take place on the opposite side, that is, the side of the sheet that is oriented towards the exterior.
-
Figure 6 shows the arrangement that presents a sheet used for the realization of a double protector, noting that it is an adjacent arrangement of two individual sheets, with the exception that the last segment, which on its edge featured a closing flange, now it is connected to the edge of the last segment, that is, it adopts a symmetrical configuration with respect to the edge of the last segment (5). Showing similarly the afore mentioned closing segments. - Sufficiently described the nature of the present invention, as well as how to put it into practice, it is noted that, within its essence, it may be brought to the practice in other embodiments that differ in detail from the one shown by way of example, and which will also reach the protection that is sought, provided that its fundamental principle is not altered, changed or modified.
Claims (9)
- Protector for bottles having at least five adjacent segments (1,2,3,4,5), that are approximately rectangular in shape and are arranged consecutively, connected by one of their greatest sides, where segments (1), (2), (3) and (4) form the side walls of the protector, where assegment (5) is the closing segment, configuring a closed assembly, characterised in that segments (2), (3), (4) and (5) are of equal length, whereas the first segment (1) is of shorter length in relation to the previous and is centrally arranged with respect to its greatest length, presenting at its ends some flaps that are used as a closing top lid (8) and bottom lid (7) of the protector of bottles, and in that on the connecting folding lines of the segments that are diagonally opposite once the protector is formed there are some closing means of the top (8) and bottom (7) lids and that are formed on the segments that form the side walls of the protector.
- Protector for bottles according to claim 1, characterised in that the closing means are rectangular segments (9.1) and (9.2) arranged adjacently and on the side segments at their ends at the folding lines that are diagonally opposite in the conformation of the protector.
- Protector for bottles according to claim 2, characterised in that closing segments (9.1) and (9.2) in addition to the folding lines have a partial cut on one of the sides of the folding lines, these cuts will be such that the cutting made on the central folding line is made on the side of the sheet that is oriented towards the interior of the assembly, while the cutting of the end folding lines will take place on the opposite side, that is, the side of the sheet that is oriented towards the exterior.
- Protector for bottles according to claim 1, characterised in that the top closing flap (8) has in one of its corners a recess or cutting (8.1).
- Protector for bottles according to claim 1, characterised in that on segment (5) at its free edge, and centrally there emerges a closing flange (5.1) that fits on groove (1.1) made on the folding line of the first segment (1) with the adjacent (2).
- Protector for bottles according to claim 1, characterised in that the separation of a segment from the adjacent one is by means of a folding line (7), where there are also made a series of die-cuts and cuts that define flanges (6) and holes (10), such that once the protector is formed, the flanges are arranged in an projecting manner.
- Protector for bottles according to claim 6, characterised in that perimeter flanges (6) are arranged alternately with respect to perimeter flanges (6) made on the same connection side of a segment with the consecutive one, and also with respect to the opposing flanges on the next connection line.
- Protector for bottles according to claim 6, characterised in that holes (10) maintain their relative position with respect to the perimeter flanges, but their position is alternated with respect to the folding line facing the adjacent segment, happening to be alternately from the two perimeter flanges to be at one side of the two flanges.
- Protector for bottles according to any of the above claims, characterised in that in case of wanting to form a double protector of bottles there are arranged adjacently two sets of segments (1), (2), (3), (4) and (5), where the last segment, is connected to the edge of the last segment of the next protector, that is, it adopts a symmetrical configuration with respect to the edge of the last segment (5).
Applications Claiming Priority (1)
| Application Number | Priority Date | Filing Date | Title |
|---|---|---|---|
| ES201131075U ES1075626Y (en) | 2011-10-20 | 2011-10-20 | BOTTLE PROTECTOR |
Publications (1)
| Publication Number | Publication Date |
|---|---|
| EP2583906A1 true EP2583906A1 (en) | 2013-04-24 |
Family
ID=44835055
Family Applications (1)
| Application Number | Title | Priority Date | Filing Date |
|---|---|---|---|
| EP12382379.1A Withdrawn EP2583906A1 (en) | 2011-10-20 | 2012-10-01 | Protector for bottles |
Country Status (2)
| Country | Link |
|---|---|
| EP (1) | EP2583906A1 (en) |
| ES (1) | ES1075626Y (en) |
Cited By (9)
| Publication number | Priority date | Publication date | Assignee | Title |
|---|---|---|---|---|
| ITMI20130936A1 (en) * | 2013-06-06 | 2014-12-07 | Roberto Marziali | CONTAINER FOR FRAGILE ITEMS |
| EP2949588A1 (en) | 2014-05-27 | 2015-12-02 | Cartonajes Font, S.A. | Reinforced bottle protector |
| USD853233S1 (en) | 2017-07-25 | 2019-07-09 | Anthony Todd HESSBURG | Packaging container for bottles |
| USD885889S1 (en) | 2018-07-17 | 2020-06-02 | International Paper Company | Blank for shipper insert |
| USD904191S1 (en) | 2018-07-17 | 2020-12-08 | International Paper Company | Shipper insert |
| US10913567B2 (en) * | 2018-07-17 | 2021-02-09 | International Paper Company | Shipping insert and blank for forming same |
| US11111051B2 (en) | 2017-07-25 | 2021-09-07 | Sip Better Inc | Bottle packaging system |
| US11584562B2 (en) | 2019-01-30 | 2023-02-21 | Braun Gmbh | Folded cardboard box |
| PL131493U1 (en) * | 2023-06-01 | 2024-12-02 | Werner Kenkel Spółka Z Ograniczoną Odpowiedzialnością | Protective filler cut-out |
Citations (3)
| Publication number | Priority date | Publication date | Assignee | Title |
|---|---|---|---|---|
| US2749019A (en) * | 1954-05-19 | 1956-06-05 | Robert Gair Co Inc | Bread tray carton and the like |
| EP0062862A1 (en) * | 1981-04-10 | 1982-10-20 | Unilever N.V. | Double-walled container |
| EP1486425A1 (en) * | 2003-06-13 | 2004-12-15 | Smurfit-Socar | Assembly made of semi rigid material for packaging an elongated, fragile item, in particular a bottle |
-
2011
- 2011-10-20 ES ES201131075U patent/ES1075626Y/en not_active Expired - Fee Related
-
2012
- 2012-10-01 EP EP12382379.1A patent/EP2583906A1/en not_active Withdrawn
Patent Citations (3)
| Publication number | Priority date | Publication date | Assignee | Title |
|---|---|---|---|---|
| US2749019A (en) * | 1954-05-19 | 1956-06-05 | Robert Gair Co Inc | Bread tray carton and the like |
| EP0062862A1 (en) * | 1981-04-10 | 1982-10-20 | Unilever N.V. | Double-walled container |
| EP1486425A1 (en) * | 2003-06-13 | 2004-12-15 | Smurfit-Socar | Assembly made of semi rigid material for packaging an elongated, fragile item, in particular a bottle |
Cited By (10)
| Publication number | Priority date | Publication date | Assignee | Title |
|---|---|---|---|---|
| ITMI20130936A1 (en) * | 2013-06-06 | 2014-12-07 | Roberto Marziali | CONTAINER FOR FRAGILE ITEMS |
| EP2949588A1 (en) | 2014-05-27 | 2015-12-02 | Cartonajes Font, S.A. | Reinforced bottle protector |
| USD853233S1 (en) | 2017-07-25 | 2019-07-09 | Anthony Todd HESSBURG | Packaging container for bottles |
| US11111051B2 (en) | 2017-07-25 | 2021-09-07 | Sip Better Inc | Bottle packaging system |
| USD885889S1 (en) | 2018-07-17 | 2020-06-02 | International Paper Company | Blank for shipper insert |
| USD904191S1 (en) | 2018-07-17 | 2020-12-08 | International Paper Company | Shipper insert |
| US10913567B2 (en) * | 2018-07-17 | 2021-02-09 | International Paper Company | Shipping insert and blank for forming same |
| US11584562B2 (en) | 2019-01-30 | 2023-02-21 | Braun Gmbh | Folded cardboard box |
| PL131493U1 (en) * | 2023-06-01 | 2024-12-02 | Werner Kenkel Spółka Z Ograniczoną Odpowiedzialnością | Protective filler cut-out |
| PL73988Y1 (en) * | 2023-06-01 | 2025-07-28 | Werner Kenkel Spolka Z Ograniczona Odpowiedzialnoscia | Protective filler cut-out |
Also Published As
| Publication number | Publication date |
|---|---|
| ES1075626Y (en) | 2012-02-07 |
| ES1075626U (en) | 2011-11-11 |
Similar Documents
| Publication | Publication Date | Title |
|---|---|---|
| EP2583906A1 (en) | Protector for bottles | |
| EP2949588B1 (en) | Reinforced bottle protector | |
| US8608008B2 (en) | Tamper evident container | |
| CA2791601C (en) | Blank and container having an anti-buckling mechanism | |
| CN1910084B (en) | Plastic box | |
| ES2687424T3 (en) | Cardboard box configured with double opening capacities | |
| US20150375891A1 (en) | Container with secure audible closure | |
| EP2735522B1 (en) | Audible cut and crush zipper | |
| EP3814242B1 (en) | Child-resistant or child-deterrent zipper or reclosure | |
| EP3064446B1 (en) | Tamper evident container | |
| EP4538192A1 (en) | Container | |
| EP3466832A1 (en) | Separator for bottle-type objects and associated template | |
| JP6092451B1 (en) | Packaging box | |
| CN110481928B (en) | Tamper evident carton | |
| JP6713914B2 (en) | Packaging box | |
| JP6616701B2 (en) | Packaging box | |
| JP6987568B2 (en) | Packaging box | |
| CN106794930B (en) | Reclosable container | |
| US20200165039A1 (en) | Container equipped with tamper evident closure | |
| US10011397B2 (en) | Enhancements to spaced multi-rib closure | |
| JP2012240736A (en) | Packing box | |
| EP3357835A1 (en) | Box with the tissue dispenser | |
| JP6756604B2 (en) | Packaging box | |
| RU168594U1 (en) | SEPARATOR | |
| JP6468675B2 (en) | Packaging box and its blank sheet |
Legal Events
| Date | Code | Title | Description |
|---|---|---|---|
| PUAI | Public reference made under article 153(3) epc to a published international application that has entered the european phase |
Free format text: ORIGINAL CODE: 0009012 |
|
| AK | Designated contracting states |
Kind code of ref document: A1 Designated state(s): AL AT BE BG CH CY CZ DE DK EE ES FI FR GB GR HR HU IE IS IT LI LT LU LV MC MK MT NL NO PL PT RO RS SE SI SK SM TR |
|
| AX | Request for extension of the european patent |
Extension state: BA ME |
|
| STAA | Information on the status of an ep patent application or granted ep patent |
Free format text: STATUS: THE APPLICATION IS DEEMED TO BE WITHDRAWN |
|
| 18D | Application deemed to be withdrawn |
Effective date: 20131025 |
