EP2431284A1 - Zusammenklappbare Kiste - Google Patents
Zusammenklappbare Kiste Download PDFInfo
- Publication number
- EP2431284A1 EP2431284A1 EP10177623A EP10177623A EP2431284A1 EP 2431284 A1 EP2431284 A1 EP 2431284A1 EP 10177623 A EP10177623 A EP 10177623A EP 10177623 A EP10177623 A EP 10177623A EP 2431284 A1 EP2431284 A1 EP 2431284A1
- Authority
- EP
- European Patent Office
- Prior art keywords
- crate
- side wall
- side walls
- crates
- folded
- Prior art date
- Legal status (The legal status is an assumption and is not a legal conclusion. Google has not performed a legal analysis and makes no representation as to the accuracy of the status listed.)
- Withdrawn
Links
- 235000013399 edible fruits Nutrition 0.000 claims description 7
- 235000013311 vegetables Nutrition 0.000 claims description 6
- 235000013372 meat Nutrition 0.000 claims description 5
- 235000013305 food Nutrition 0.000 claims description 4
- 230000000284 resting effect Effects 0.000 claims description 2
- 230000007246 mechanism Effects 0.000 description 61
- 239000000110 cooling liquid Substances 0.000 description 17
- 239000000463 material Substances 0.000 description 11
- 239000005457 ice water Substances 0.000 description 8
- 239000002245 particle Substances 0.000 description 5
- 230000035939 shock Effects 0.000 description 4
- 238000013459 approach Methods 0.000 description 3
- 230000000903 blocking effect Effects 0.000 description 3
- 238000001746 injection moulding Methods 0.000 description 3
- 239000007788 liquid Substances 0.000 description 3
- 239000000243 solution Substances 0.000 description 3
- XLYOFNOQVPJJNP-UHFFFAOYSA-N water Substances O XLYOFNOQVPJJNP-UHFFFAOYSA-N 0.000 description 3
- 240000008415 Lactuca sativa Species 0.000 description 2
- 235000003228 Lactuca sativa Nutrition 0.000 description 2
- 230000008901 benefit Effects 0.000 description 2
- 238000001816 cooling Methods 0.000 description 2
- 238000009423 ventilation Methods 0.000 description 2
- 244000141359 Malus pumila Species 0.000 description 1
- 240000008790 Musa x paradisiaca Species 0.000 description 1
- 235000021016 apples Nutrition 0.000 description 1
- 235000021015 bananas Nutrition 0.000 description 1
- 238000004140 cleaning Methods 0.000 description 1
- 230000001419 dependent effect Effects 0.000 description 1
- 230000000694 effects Effects 0.000 description 1
- 235000013601 eggs Nutrition 0.000 description 1
- 239000012530 fluid Substances 0.000 description 1
- -1 for example Substances 0.000 description 1
- 235000012055 fruits and vegetables Nutrition 0.000 description 1
- 238000003306 harvesting Methods 0.000 description 1
- 238000011835 investigation Methods 0.000 description 1
- 239000002184 metal Substances 0.000 description 1
- 238000000034 method Methods 0.000 description 1
- 238000012986 modification Methods 0.000 description 1
- 230000004048 modification Effects 0.000 description 1
- 238000000465 moulding Methods 0.000 description 1
- 230000009467 reduction Effects 0.000 description 1
- 239000002023 wood Substances 0.000 description 1
Images
Classifications
-
- B—PERFORMING OPERATIONS; TRANSPORTING
- B65—CONVEYING; PACKING; STORING; HANDLING THIN OR FILAMENTARY MATERIAL
- B65D—CONTAINERS FOR STORAGE OR TRANSPORT OF ARTICLES OR MATERIALS, e.g. BAGS, BARRELS, BOTTLES, BOXES, CANS, CARTONS, CRATES, DRUMS, JARS, TANKS, HOPPERS, FORWARDING CONTAINERS; ACCESSORIES, CLOSURES, OR FITTINGS THEREFOR; PACKAGING ELEMENTS; PACKAGES
- B65D11/00—Containers having bodies formed by interconnecting or uniting two or more rigid, or substantially rigid, components made wholly or mainly of plastics material
- B65D11/18—Containers having bodies formed by interconnecting or uniting two or more rigid, or substantially rigid, components made wholly or mainly of plastics material collapsible, i.e. with walls hinged together or detachably connected
- B65D11/1833—Containers having bodies formed by interconnecting or uniting two or more rigid, or substantially rigid, components made wholly or mainly of plastics material collapsible, i.e. with walls hinged together or detachably connected whereby all side walls are hingedly connected to the base panel
-
- B—PERFORMING OPERATIONS; TRANSPORTING
- B65—CONVEYING; PACKING; STORING; HANDLING THIN OR FILAMENTARY MATERIAL
- B65D—CONTAINERS FOR STORAGE OR TRANSPORT OF ARTICLES OR MATERIALS, e.g. BAGS, BARRELS, BOTTLES, BOXES, CANS, CARTONS, CRATES, DRUMS, JARS, TANKS, HOPPERS, FORWARDING CONTAINERS; ACCESSORIES, CLOSURES, OR FITTINGS THEREFOR; PACKAGING ELEMENTS; PACKAGES
- B65D1/00—Rigid or semi-rigid containers having bodies formed in one piece, e.g. by casting metallic material, by moulding plastics, by blowing vitreous material, by throwing ceramic material, by moulding pulped fibrous material or by deep-drawing operations performed on sheet material
- B65D1/40—Details of walls
- B65D1/42—Reinforcing or strengthening parts or members
-
- B—PERFORMING OPERATIONS; TRANSPORTING
- B65—CONVEYING; PACKING; STORING; HANDLING THIN OR FILAMENTARY MATERIAL
- B65D—CONTAINERS FOR STORAGE OR TRANSPORT OF ARTICLES OR MATERIALS, e.g. BAGS, BARRELS, BOTTLES, BOXES, CANS, CARTONS, CRATES, DRUMS, JARS, TANKS, HOPPERS, FORWARDING CONTAINERS; ACCESSORIES, CLOSURES, OR FITTINGS THEREFOR; PACKAGING ELEMENTS; PACKAGES
- B65D11/00—Containers having bodies formed by interconnecting or uniting two or more rigid, or substantially rigid, components made wholly or mainly of plastics material
- B65D11/20—Details of walls made of plastics material
- B65D11/22—Reinforcing for strengthening parts of members
-
- B—PERFORMING OPERATIONS; TRANSPORTING
- B65—CONVEYING; PACKING; STORING; HANDLING THIN OR FILAMENTARY MATERIAL
- B65D—CONTAINERS FOR STORAGE OR TRANSPORT OF ARTICLES OR MATERIALS, e.g. BAGS, BARRELS, BOTTLES, BOXES, CANS, CARTONS, CRATES, DRUMS, JARS, TANKS, HOPPERS, FORWARDING CONTAINERS; ACCESSORIES, CLOSURES, OR FITTINGS THEREFOR; PACKAGING ELEMENTS; PACKAGES
- B65D2501/00—Containers having bodies formed in one piece
- B65D2501/24—Boxes or like containers with moulded compartments or partitions
- B65D2501/24006—Details relating to bottle crates
- B65D2501/24012—Materials
- B65D2501/24019—Mainly plastics
-
- B—PERFORMING OPERATIONS; TRANSPORTING
- B65—CONVEYING; PACKING; STORING; HANDLING THIN OR FILAMENTARY MATERIAL
- B65D—CONTAINERS FOR STORAGE OR TRANSPORT OF ARTICLES OR MATERIALS, e.g. BAGS, BARRELS, BOTTLES, BOXES, CANS, CARTONS, CRATES, DRUMS, JARS, TANKS, HOPPERS, FORWARDING CONTAINERS; ACCESSORIES, CLOSURES, OR FITTINGS THEREFOR; PACKAGING ELEMENTS; PACKAGES
- B65D2501/00—Containers having bodies formed in one piece
- B65D2501/24—Boxes or like containers with moulded compartments or partitions
- B65D2501/24006—Details relating to bottle crates
- B65D2501/2405—Construction
- B65D2501/24063—Construction of the walls
- B65D2501/2407—Apertured
-
- B—PERFORMING OPERATIONS; TRANSPORTING
- B65—CONVEYING; PACKING; STORING; HANDLING THIN OR FILAMENTARY MATERIAL
- B65D—CONTAINERS FOR STORAGE OR TRANSPORT OF ARTICLES OR MATERIALS, e.g. BAGS, BARRELS, BOTTLES, BOXES, CANS, CARTONS, CRATES, DRUMS, JARS, TANKS, HOPPERS, FORWARDING CONTAINERS; ACCESSORIES, CLOSURES, OR FITTINGS THEREFOR; PACKAGING ELEMENTS; PACKAGES
- B65D2501/00—Containers having bodies formed in one piece
- B65D2501/24—Boxes or like containers with moulded compartments or partitions
- B65D2501/24006—Details relating to bottle crates
- B65D2501/2405—Construction
- B65D2501/24121—Construction of the bottom
- B65D2501/24127—Apertured
-
- B—PERFORMING OPERATIONS; TRANSPORTING
- B65—CONVEYING; PACKING; STORING; HANDLING THIN OR FILAMENTARY MATERIAL
- B65D—CONTAINERS FOR STORAGE OR TRANSPORT OF ARTICLES OR MATERIALS, e.g. BAGS, BARRELS, BOTTLES, BOXES, CANS, CARTONS, CRATES, DRUMS, JARS, TANKS, HOPPERS, FORWARDING CONTAINERS; ACCESSORIES, CLOSURES, OR FITTINGS THEREFOR; PACKAGING ELEMENTS; PACKAGES
- B65D2501/00—Containers having bodies formed in one piece
- B65D2501/24—Boxes or like containers with moulded compartments or partitions
- B65D2501/24006—Details relating to bottle crates
- B65D2501/24363—Handles
- B65D2501/24541—Hand holes
-
- B—PERFORMING OPERATIONS; TRANSPORTING
- B65—CONVEYING; PACKING; STORING; HANDLING THIN OR FILAMENTARY MATERIAL
- B65D—CONTAINERS FOR STORAGE OR TRANSPORT OF ARTICLES OR MATERIALS, e.g. BAGS, BARRELS, BOTTLES, BOXES, CANS, CARTONS, CRATES, DRUMS, JARS, TANKS, HOPPERS, FORWARDING CONTAINERS; ACCESSORIES, CLOSURES, OR FITTINGS THEREFOR; PACKAGING ELEMENTS; PACKAGES
- B65D2501/00—Containers having bodies formed in one piece
- B65D2501/24—Boxes or like containers with moulded compartments or partitions
- B65D2501/24006—Details relating to bottle crates
- B65D2501/24554—Stacking means
- B65D2501/24585—Stacking means for stacking or joining the crates together one upon the other, in the upright or upside-down position
- B65D2501/24598—Crates presenting a continuous stacking profile along the upper edge of at least two opposite side walls
-
- B—PERFORMING OPERATIONS; TRANSPORTING
- B65—CONVEYING; PACKING; STORING; HANDLING THIN OR FILAMENTARY MATERIAL
- B65D—CONTAINERS FOR STORAGE OR TRANSPORT OF ARTICLES OR MATERIALS, e.g. BAGS, BARRELS, BOTTLES, BOXES, CANS, CARTONS, CRATES, DRUMS, JARS, TANKS, HOPPERS, FORWARDING CONTAINERS; ACCESSORIES, CLOSURES, OR FITTINGS THEREFOR; PACKAGING ELEMENTS; PACKAGES
- B65D2501/00—Containers having bodies formed in one piece
- B65D2501/24—Boxes or like containers with moulded compartments or partitions
- B65D2501/24006—Details relating to bottle crates
- B65D2501/24764—Reinforcements
- B65D2501/2477—Parts reinforced
- B65D2501/24777—Side walls
-
- B—PERFORMING OPERATIONS; TRANSPORTING
- B65—CONVEYING; PACKING; STORING; HANDLING THIN OR FILAMENTARY MATERIAL
- B65D—CONTAINERS FOR STORAGE OR TRANSPORT OF ARTICLES OR MATERIALS, e.g. BAGS, BARRELS, BOTTLES, BOXES, CANS, CARTONS, CRATES, DRUMS, JARS, TANKS, HOPPERS, FORWARDING CONTAINERS; ACCESSORIES, CLOSURES, OR FITTINGS THEREFOR; PACKAGING ELEMENTS; PACKAGES
- B65D2501/00—Containers having bodies formed in one piece
- B65D2501/24—Boxes or like containers with moulded compartments or partitions
- B65D2501/24006—Details relating to bottle crates
- B65D2501/24764—Reinforcements
- B65D2501/24789—Means used for reinforcing
- B65D2501/24802—Hollow integral ribs
-
- B—PERFORMING OPERATIONS; TRANSPORTING
- B65—CONVEYING; PACKING; STORING; HANDLING THIN OR FILAMENTARY MATERIAL
- B65D—CONTAINERS FOR STORAGE OR TRANSPORT OF ARTICLES OR MATERIALS, e.g. BAGS, BARRELS, BOTTLES, BOXES, CANS, CARTONS, CRATES, DRUMS, JARS, TANKS, HOPPERS, FORWARDING CONTAINERS; ACCESSORIES, CLOSURES, OR FITTINGS THEREFOR; PACKAGING ELEMENTS; PACKAGES
- B65D2501/00—Containers having bodies formed in one piece
- B65D2501/24—Boxes or like containers with moulded compartments or partitions
- B65D2501/24006—Details relating to bottle crates
- B65D2501/24764—Reinforcements
- B65D2501/24828—Location of the reinforcing means
- B65D2501/2484—Outside the crate
-
- B—PERFORMING OPERATIONS; TRANSPORTING
- B65—CONVEYING; PACKING; STORING; HANDLING THIN OR FILAMENTARY MATERIAL
- B65D—CONTAINERS FOR STORAGE OR TRANSPORT OF ARTICLES OR MATERIALS, e.g. BAGS, BARRELS, BOTTLES, BOXES, CANS, CARTONS, CRATES, DRUMS, JARS, TANKS, HOPPERS, FORWARDING CONTAINERS; ACCESSORIES, CLOSURES, OR FITTINGS THEREFOR; PACKAGING ELEMENTS; PACKAGES
- B65D2501/00—Containers having bodies formed in one piece
- B65D2501/24—Boxes or like containers with moulded compartments or partitions
- B65D2501/24006—Details relating to bottle crates
- B65D2501/24764—Reinforcements
- B65D2501/24828—Location of the reinforcing means
- B65D2501/24847—Oriented mainly vertically
-
- B—PERFORMING OPERATIONS; TRANSPORTING
- B65—CONVEYING; PACKING; STORING; HANDLING THIN OR FILAMENTARY MATERIAL
- B65D—CONTAINERS FOR STORAGE OR TRANSPORT OF ARTICLES OR MATERIALS, e.g. BAGS, BARRELS, BOTTLES, BOXES, CANS, CARTONS, CRATES, DRUMS, JARS, TANKS, HOPPERS, FORWARDING CONTAINERS; ACCESSORIES, CLOSURES, OR FITTINGS THEREFOR; PACKAGING ELEMENTS; PACKAGES
- B65D2501/00—Containers having bodies formed in one piece
- B65D2501/24—Boxes or like containers with moulded compartments or partitions
- B65D2501/24006—Details relating to bottle crates
- B65D2501/24764—Reinforcements
- B65D2501/24828—Location of the reinforcing means
- B65D2501/24853—Oriented mainly horizontally
-
- B—PERFORMING OPERATIONS; TRANSPORTING
- B65—CONVEYING; PACKING; STORING; HANDLING THIN OR FILAMENTARY MATERIAL
- B65D—CONTAINERS FOR STORAGE OR TRANSPORT OF ARTICLES OR MATERIALS, e.g. BAGS, BARRELS, BOTTLES, BOXES, CANS, CARTONS, CRATES, DRUMS, JARS, TANKS, HOPPERS, FORWARDING CONTAINERS; ACCESSORIES, CLOSURES, OR FITTINGS THEREFOR; PACKAGING ELEMENTS; PACKAGES
- B65D85/00—Containers, packaging elements or packages, specially adapted for particular articles or materials
- B65D85/30—Containers, packaging elements or packages, specially adapted for particular articles or materials for articles particularly sensitive to damage by shock or pressure
- B65D85/34—Containers, packaging elements or packages, specially adapted for particular articles or materials for articles particularly sensitive to damage by shock or pressure for fruit, e.g. apples, oranges or tomatoes
Definitions
- Embodiments of the invention concern a crate or container for accommodating products, more specifically, embodiments of the invention concern a plastic crate that is provided for receiving and/or for transporting foods, like fruits, vegetables, meat and the like.
- Crates for storing and transporting products such as fruits and vegetables are widely used in the market.
- Such crates are light and stable which makes them suitable for bringing the crops from the field to the customer.
- other fruits like apples or the like, or vegetables like lettuce or the like, but also meat or eggs may be put into the crates at the producers site and transported using such crates.
- the filled crates are usually stacked on top of each other and arranged side by side on two pallets and the pallets, as a whole, are then transported to respective transport facilities.
- a specific cross-stacking technique is used, for example, a "5-down configuration".
- five crates are arranged adjacent to each other into a rectangular array, such that two of them form a row in the length direction and the other three form a row in the width direction.
- One problem with such kind of arrangement is that upon stacking the crates in this way, the three crates forming the row in the width direction abut with their shorter end walls the longer side walls of the two crates forming the row in the length direction.
- a force acting onto the lateral side walls of the crate arrangement in the length direction is high, especially in the central area of the side walls of the crates arranged in the length direction. This may result in a damaging of the crates during the transport or during stacking.
- the above described crates may be plastic crates that comprise opposing end walls and opposing side walls extending from a bottom having a generally rectangular shape.
- the crates may also be formed from other materials, like wood, carton or the like.
- the crates may be so-called foldable crates, which means that the end walls and the side walls can be folded downward into the direction of the bottom. This allows the transport of empty crates in their folded state, for example to the fields, where the crop is harvested and directly put into the respective crates. This allows for shipping a high number of folded crates, using a minimum amount of transport capacity, thereby bringing the folded crates to the desired locations in an economical way.
- some crates have walls extending from the bottom by a first distance, whereas others extend upward by a second distance that may be more than the first distance.
- the height of the crates, when being unfolded, depends on the products to be received therein and transported.
- the structure of the crate having the foldable walls may be such that the side walls when being folded downward onto the bottom may overlap.
- conventional crates require a specific sequence of folding the respective wall portions. For example, first of all, the two end wall portions are to be folded onto the bottom and then a first of the two side walls is folded downward to rest on the folded-down end walls and then a second of the side walls is folded down afterwards.
- the respective side walls are configured in such a way that a minimum height of the folded crate is obtained without any parts extending beyond this height.
- the crates described above, which are foldable, further comprise a locking mechanism that ensures a secure connection of the side walls and the end walls in the unfolded state of the crate.
- an easy to handle mechanism must be provided for releasing the latch when it is desired to fold the crate after all products have been removed and the crate is to be shipped back to the supplier, for example, for cleaning.
- Crates having foldable walls therefore comprise release mechanisms that act onto the latch elements provided for releasing the latch and thereby allowing folding downward the respective side walls.
- the side walls may comprise respective receptacles formed at a lateral edge thereof, a lateral edge is being adjacent to the end walls.
- movable latch mechanisms may be provided, for example, a hook that is biased into a downward direction and engages with the receptacle in the side wall upon bringing the respective walls into their upright position. For example, when moving a side wall from the bottom position to the upright position, the hook is lifted upon passing the elements of the side wall and then, due to the downward bias, the hook is received in the receptacle. For releasing the latch by means of the release mechanism, the hook is lifted, so that the latch elements are disengaged and the side wall can be folded downward into the direction of the bottom again.
- the crates may be used for transporting foods, like vegetables, fruits and meat or the like. These products may require cooling and it is therefore desired to provide to the interior of the crate a cooling liquid, like ice-water or the like ensuring that the goods stay fresh and/or at a desired temperature. While the crates, in general, have openings in the side walls and the bottom for allowing the circulation of air, these openings may not be sufficient to allow a sufficient flow of cooling liquid into the interior of the crate, for example, when using ice-water, it may well be that ice particles are within the fluid stream which cannot pass the holes provided for air ventilation and, that may actually block the holes, thereby avoiding that the liquid reaches the interior of the crate.
- Embodiments of the invention provide an improved crate overcoming one or more of the problems of conventional crates described above.
- embodiments of the invention provide a crate including a bottom, two end walls, and two side walls.
- Each of the side walls includes a first lateral edge adjacent to the first end wall, a second lateral edge adjacent to the second end wall, a lower edge adjacent to the bottom, and an upper edge distant from the bottom.
- Each side wall includes a continuous stiffening member extending parallel to the lateral edges and at least partly to the upper edge.
- the continuous stiffening member includes a stiffening portion extending at least in one area between the lateral edges from the upper edge in the direction towards the lower edge and back to the upper edge.
- the stiffening portion is U-shaped and extends in a central area of a side wall towards the lower edge. In embodiments of the invention, the stiff ening portion extends towards the lower edge such that a distance to the lower edge is smaller than or equal to half the height of the side wall. Alternatively, the stiffening member may extend to the lower edge of the side wall.
- Embodiments may include a continuous stiffening member having a plurality of stiffening portions extending towards the lower edge of the side wall.
- the plurality of stiffening members may have the same or different distances to the lower edge of the side wall.
- Embodiments of the invention may provide a crate that is made of plastic and the continuous stiffening member may be formed by water injection molding.
- the crate may be foldable such that the end walls and the side walls can be folded with respect to the bottom.
- Embodiments of the invention in accordance with a second aspect provide a crate including a bottom having two projections arranged at opposite length sides and extending upward from the bottom, to opposing end walls extending along width sides of the bottom, and two opposing side walls extending along the length sides of the bottom.
- the end walls and the side walls are configured to be foldable with respect to the bottom.
- the side walls have a height such that the side walls at least partially overlap when being folded.
- Each side wall is coupled to the bottom via at least one hinge, and each hinge is provided slidably in the projection such that the hinge is movable between a lower end of a projection adjacent to the bottom and an upper end of the projection.
- the height of the projection above the bottom corresponds substantially to the thickness of the two side walls.
- the lower ends of the side walls rest on an upper surface of the respective projections with the hinges for both side walls at a lower position close to the bottom, and in the folded state, the lower ends of the side walls are opposite to the inner surfaces of the respective projections with the hinges of the side walls at different heights in the projection, wherein one side wall rests on the end walls folded onto the bottom, and the other side wall, at least in part, rests on the one side wall.
- the hinge of the one side wall resting on the end walls remains at the lower position, and the hinge of the other side wall is in a position above the lower position, thereby allowing the arrangement of the folded side walls to be substantially parallel to the bottom, wherein an outer surface of the other side wall is substantially on the same level as the upper surface of the projections.
- the hinges may be configured such that in the folded state there is a gap between the lower surface of the side walls and the respective inner surfaces of the projections.
- the hinge may comprise an extension rod connecting the hinge element in the projection and the side wall.
- the extension rod defines the gap and has a length defined by the distance between the lower portion of the hinge and the height of the projection.
- Each side wall may include a plurality of hinges.
- Embodiments of the invention in accordance with a third aspect provide a crate including a bottom, two end walls, and two side walls.
- the end walls and the side walls are configured to be foldable with respect to the bottom.
- the end walls and the side walls comprise respective latch elements engaging with each other to form a latch when the end walls and the side walls are in the unfolded state.
- a latch release mechanism is provided at the respective end walls or at the respective side walls, wherein the latch release mechanism and/or the latch elements on the respective walls are configured to be movable so as to extend above an upper edge of the respective wall for releasing the latch.
- Embodiments provide a latch release mechanism that includes a lift bar having opposite ends connected to the latch elements of one of the walls and having a shape that at least a part of the latch release mechanism extends above the upper edge of the wall when being in a releasing position.
- one of the engaging latch members is movable and one is stationary, wherein the movable latch member is configured to extend above the upper edge of the wall when being in a position releasing the stationary edge element.
- the movable latch element when in the releasing position, may be configured to be folded together with a wall being moved towards the bottom.
- a crate including a bottom, two end walls, and two side walls. At least one of the end and side walls comprises an inlet having a dimension allowing to introduce a predefined amount of cooling liquid into the interior of the crate.
- each side wall may comprise a plurality of inlets.
- each side wall includes first and second lateral edges adjacent to respective end walls, a lower edge adjacent to the bottom and an upper edge distant from the bottom.
- a first inlet is arranged adjacent a first upper corner of the side wall adjacent to the first lateral edge and the upper edge
- a second inlet is arranged adjacent a second upper corner of a side wall adjacent to the second lateral edge and the upper edge.
- a second inlet is provided at the right portion of the side wall at a distance from the lower edge with a part of the continuous stiffening member between the second inlet and the second lateral edge, the upper edge and the central area.
- a third inlet in the central area of the side wall a third inlet may be provided at a distance from the upper edge and with a part of the continuous stiffening member between the third inlet and the lower edge, the left portion and the right portion.
- the third inlet may have a dimension that is smaller than the dimension of the first and second inlet.
- the inlets may be provided with a lattice having a mesh size allowing the passage of a liquid, for example, ice-water having ice particles therein.
- Embodiments of the invention in accordance with the first to fourth aspect may provide crates that are formed of plastic and that are provided for receiving and/or transporting foods, like fruits, vegetables, meat and the like.
- a crate In the following description different aspects of a crate will be described, namely the aspect of providing an additional central stiffing element for avoiding damages of the side walls of a crate, the aspect of providing movable hinges of foldable side walls allowing the folding of the side walls of a crate, which are overlapping in the folded state in an arbitrary manner, the aspect providing a latch mechanism/latch release mechanism, avoiding unintentional opening of the latch of stacked crates, and the aspect of providing an inlet for introducing cooling liquid, like ice-water into the interior of the crate.
- elements of the crate being common to all aspects will be described with regard to Fig. 1 below.
- Fig. 1 is a perspective view of the crate 100 comprising a bottom 102 that may comprise a plurality of openings 104.
- the crate 100 further comprises a first end wall 106a and a second end wall 106b being opposed to the first end wall 106a.
- two opposing side walls 108a and 108b are provided opposite to each other.
- the side walls 108a and 108b are longer than the end walls 106a and 106b.
- the side walls and end walls may be foldable towards the bottom 102 such that, for example, first of all the end walls 106a and 106b are folded onto the bottom and then the side walls 108a and 108b are folded towards the bottom.
- the dimension of the side walls in the height direction may be such that upon folding same towards the bottom, the side walls may overlap.
- the advantage of folding the side walls and end walls towards the bottom is that the remaining volume of the crate is minimal, so that in the folded state the crate occupies only a low height, so that a large number of empty crates may be stacked, for example onto a single pallet for transport.
- the crate is made of plastic, thereby providing a low weight and a high stability for storage and/or transport applications.
- holes 110 are formed in the respective walls and may provide vent holes.
- larger holes 112a and 112b are provided in the upper part of the end walls 106a and 106b, the holes 112a and 112b defining grip holes.
- an upper edge 114a and 114b of the end walls may have an increased thickness thereby ensuring that carrying the crate when griping the grip holes 112a and 112b is secure and that a sufficient strength of the portion of the end wall above the grip holes is provided.
- Fig. 2 shows a side view of the crate 100.
- the first side face 108a is shown that extends upward from the bottom 102.
- Fig. 2(a) shows the side wall 108a in its upright position or unfolded position.
- a plurality of vent holes 110 is shown.
- the side wall 108a comprises a stiffening member 116 having a first part extending parallel to a first lateral edge 118 of the side wall 108a.
- the lateral edge 118 is, for example, adjacent to the first end face 106a shown in Fig. 1 .
- the stiffening member 116 also extends parallel to a second lateral edge 120 of the side wall 108a wherein the second lateral edge 120 is adjacent to the second end wall 106b.
- the stiffening member further extends parallel to an upper edge 122 of the side wall 108a wherein the upper edge 122 is distant from a lower edge 124 that, in turn, is adjacent to the bottom 102.
- the stiffening member 116 is a continuous stiffening member that is, for example, obtained during molding the plastic side wall 108a, using the water injection molding process.
- the continuous stiffening member 106 extends, as mentioned above, parallel and adjacent to the first lateral edge, the upper edge and the second lateral edge in a manner as shown in Fig. 1 , and the vent holes 110 are provided in an area of the side wall 108a that is surrounded by the stiffening member 116 and the lower edge 124.
- Fig. 2(b) shows a cross-sectional view of the side wall 108a along the line b-b'.
- the stiffening member 116 has a hollow structure with a cavity 116a there between that is formed by the water injection molding process and provides for a member having a high stiffness with a reduced amount of material and thereby also with a reduced amount of weight.
- Fig. 2(a) The side wall structure shown in Fig. 2(a) is disadvantageous in situations where a plurality of crates are stacked in the above-mentioned 5-down configuration.
- Fig. 3 is a schematic representation of one layer of a stack of crates provided in the 5-down configuration. As can be seen, three crates 100a-100c are arranged side by side, i.e. side walls of the crates 100a-100c are adjacent. In addition, two further crates 100d and 100e are arranged adjacent to the end walls of the crates 100a-100c such that two end walls of the crates 100d and 100e are adjacent. Thus, as can be seen from Fig.
- the shorter end walls of crates 100a-100c abut the longer side walls of the crates 100d and 100e, resulting in the above-mentioned problem that a force that acts onto the side walls of the crates 100d and 100e is high in a central part of the side wall and may result in damaging the crates 100d and 100e in case of a movement of one or more of the crates 100a-100c due to a shock or the like.
- the crates 100e and 100d are provided and then the further crates 100a-100c are added and during the arrangement of the additional crates 100a-100c they may impact onto the side walls of the crates 100d and 100e, resulting in a possible damaging of the side walls.
- a modified stiffening member is provided.
- Fig. 4 shows an embodiment of such a modified stiffening member.
- Fig. 4 shows the side wall 108a having the modified stiffening member 126.
- the stiffening member 126 has a first part 126a extending parallel and adjacent to the first lateral edge 118.
- a second part 126b of the modified stiffening member 126 extends parallel and adjacent to the second lateral edge.
- the modified stiffening member 126 is also a continuous stiffening member extending continuously from the lower left-hand corner of the side wall 108a along the lateral edge 118 and along the upper edge towards the second lateral edge and downward to the lower right-hand corner of the side wall 108a.
- the modified stiffening member 126 further comprises in a central area of the side wall 108a a U-shaped portion 128.
- the U-shaped portion 128 comprises two vertical stiffening member parts 126c and 126d, being substantially parallel to the parts 126a and 126b. Further, a part 126e is provided adjacent to the lower edge 124.
- the modified stiffening member 126 comprises the parts 126f and 126g being arranged adjacent to the upper edge 122.
- the modified stiffening member 126 is a continuous member, i.e. all parts 126a-136e are connected with each other, thereby forming the continuous member in a way as shown in Fig. 4 .
- vent holes 110 are provided in the left and right portions of the side wall with the stiffening member being provided between the vent holes and the lateral edges 118 and 120, respectively, the central area and the upper edge 122. In the central area the vent holes are provided with a stiffening member between the left and right portions and the lower edge 124.
- Fig. 4 provides for an increased stiffness of the side wall 108a and the central part, thereby avoiding damages in situations as described above when the plurality of crates are stacked in a 5-down configuration shown in Fig. 3 .
- Embodiments of the first aspect are not limited to the configuration shown in Fig. 4 , rather different configurations of the modified stiffening member 126 may be provided. Such embodiments are now described with regard to Figs. 5(a) to (c) .
- the respective figures show schematically the side wall 108a also described with regard to Fig. 4 with respective modified stiffening members 126.
- the side wall comprises two U-shaped portions of the modified stiffening member, both of which extend all the way towards the lower edge.
- Fig. 5(b) shows a schematic representation of a different embodiment in accordance with which the U-shaped portion of the stiffening member only extends half the height of the side wall 108a down towards the lower edge.
- Fig. 5(c) shows a schematic representation of yet another embodiment using three U-shaped stiffening member portions with different "depths", i.e., extending by different amounts toward the lower edge of the side wall.
- the portion of the stiffening member extending in an area of the side wall away from the lateral edges toward the bottom may be different, for example the portion may be V-shaped or may have , if desired, also an unsymmetrical shape.
- the second aspect concerns the folding of side walls of the crate which, when being folded down onto the bottom overlap each other.
- the order of folding down the side walls in accordance with the conventional crates needs to be observed so as to correctly fold the crate to obtain a minimum remaining volume of the folded crate.
- Fig. 6 shows a cross-sectional view of a crate, wherein this cross-sectional view is taken at a central position of the crate shown, for example, in Fig. 1 .
- the crate 100 shown in Fig. 6 comprises the bottom 102 and the side walls 108a and 108b.
- the bottom 102 comprises projections 102a and 102b that extend upward from the bottom 102.
- the projections 102a and 102b are at the outer edges of the bottom 102 and may be integral with the bottom 102.
- the first projection 102a comprises a first hinge 150a that is shown schematically in Fig. 6 .
- the first hinge 150a provides for a connection between the projection 102a and the first side wall 108a in such a manner that the side wall can be rotated in a direction as indicated by arrow 152a.
- means may be provided to allow a movement of the side wall 108a only from a position folded down onto the bottom 102 up to a vertical position as it is shown in Fig. 6 such that a lower surface 154a on the side wall 100a is arranged adjacent or at an upper surface of the projection 102a.
- a second hinge 150b is provided in a second projection 102b, however, as can be seen from Fig.4 , the hinges 150a and 150b are arranged at different heights with respect to the bottom 102.
- the hinge 150b is connected by a connecting rod 156, to the side wall 100b that same may be rotated in the direction of arrow 152b towards the bottom 102.
- a crate having a structure as it is shown in Fig. 6 it is required that the side walls 108a and 108b are folded down in the correct order to ensure a minimum volume of the folded crate.
- Fig. 7 shows a correct and an incorrect folding of the crate shown in Fig. 6 .
- the crate shown in Fig. 6 to be correctly folded it is required to first of all to fold down side wall 108b, so that same comes to rest adjacent to the bottom 102. Then the second wall 108a is folded down.
- the outer surface of the side wall 108a will be substantially at the same height from the bottom 102 as the upper surfaces 158a and 158b of the projections 102 a and 102b.
- the side walls 108a and 108b are arranged such that their lower surfaces 154a and 154b are adjacent to inner side walls of the projections 102a and 102b.
- Fig. 7(a) observing the correct folding order results in a folded crate having a minimum volume.
- Fig. 7(b) when folding down the side wall 108(a) first, it is arranged only over the front part or upper part thereof adjacent to the bottom 102 while the second surface 108b rests on the first surface 108a in such a manner that at least partially the outer wall of the second side wall 108b is above a level of the upper surfaces 158a and 158b of the projections 102a and 102b.
- a conventional solution to this problem is to provide the projections 102a and 102b with a height such that independent from the order of folding the side walls 108a and 108b, a top level of the folded down side walls corresponds substantially to the height of the upper surfaces of the projections 102a and 102b. While this solves the problem of possible instable stacks of folded crates, at the same time, it reduces the number of folded crates that can be stacked as the minimum volume of the folded down crates is increased. In accordance with the investigations of the inventors of the invention, it was found out that the increase in minimum volume may be such that the entire amount of crates that may be transported on a common pallet may be reduced by as much as 15%, resulting in increased transport costs which is undesirable.
- Fig. 8 shows a cross-sectional view similar to Fig. 6 , however, illustrating the modified hinge structure.
- the bottom 102 and the projections 102a and 102b are shown as well as the side walls 108a and 108b.
- the hinges 150a and 150b are provided, however, each of the hinge is arranged movably within a recess in the projection 102a and 102b and is connected with respective rods 160a, 160b to the respective side alls 108a and 108b. In the position shown in Fig.
- the side walls are folded up and are in the vertical position such that their lower surfaces are adjacent to upper surfaces of the projections.
- the position of the hinge 150b is substantially the same as the position of the hinge in Fig. 6 , however, the position of the hinge 150a is at the same level as hinge 150b, whereas in Fig. 6 the two hinges were at different levels.
- FIG. 9 shows the situation when the crate of Fig. 8 is folded down either with the side wall 108b folded first or the side wall 108a folded first.
- Fig. 9(a) it can be seen that the second side wall 108b was folded first, so that it is arranged adjacent to the bottom 102.
- the hinge 150b remains substantially at the position as it is shown in Fig. 8 and a gap between the lower surface of the side wall 108b and the inner side wall of the projection 102b is determined by the length of the rod 160b.
- hinge 150a is moved from the position shown in Fig. 8 to an upward position allowing the first side wall 108a to rest on the second side wall 108b in such a manner that the level of the outer surface of the side wall 108a corresponds substantially to the upper surface of the projections 102a and 102b.
- Fig. 9(b) shows a similar arrangement, however, with the first side wall 108a being folded down first, so that a hinge 150a remains at the position as it is in Fig. 8 .
- the hinge 150b of the second side wall 108b is allowed to move upwards so that in this case the outer surface of the side wall 108b is at a level corresponding substantially to an upper surface of the projection 102a and 102b.
- the upper level of the folded-down side walls is always substantially the same as the upper surface of the projections 102a and 102b irrespective as to whether the first side wall 108a or the second side wall 108b is folded down first.
- a cross-sectional view of the crate was shown without the end walls.
- the end walls need to be folded for obtaining a folded-down crate and, in accordance with embodiments, the end walls are folded down first, so that the side walls after being folded down are adjacent to the bottom, but rest at least partially on the folded-down end walls.
- the principles of embodiments of the invention, described with regard to the second aspect apply as well.
- Conventional foldable crates do have respective latch mechanisms that provide for a latching operation holding together the end walls and the side walls in their vertical position.
- An example of such a latch mechanism is the provision of a pair of movable latches in the end walls of a foldable crate which, in the vertical position, engage respective latch receiving elements that are provided in the adjacent side walls.
- respective latches and latch receiving elements may be provided the other way around, i.e. the latches may be provided in the side walls and the latch receiving elements may be provided in the end walls.
- Fig. 10 shows a first example of a conventional latch mechanism.
- the crate 100 shows the first side wall 106a having the plurality of vent openings 110.
- end wall hinges 170a and 170b end wall 106a is rotatably mounted to the bottom 102, allowing the end wall 106a to be rotated towards the bottom when being folded down.
- the side walls 108a and 108b are shown.
- the upper part 172 of the side wall 106a is shown as being enforced so that when carrying the crate sufficient rigidity and strength is ensured and breaking of the upper part above the grip hole 112a is avoided.
- FIG. 10(b) shows an example of the latch mechanism 174a in an enlarged view.
- a latch 176 is mounted in a recess 178 in the end wall 106a.
- the latch 176 is biased into an outward direction by a spring member 180 also provided in the recess 178.
- a recess 182 is provided in the side wall 108a for receiving the latch 176 in such a manner that a latching between the side wall and the end wall is achieved.
- an appropriate actuating element is provided in the latch mechanism 174a that allows moving the latch 176 inward, i.e.
- the end wall may be folded downward onto the bottom and, following this, the side wall may also be folded down.
- Fig. 11 shows a further example of a conventional latch mechanism.
- the latch mechanism comprises a lift bar 186 that can be moved vertically as is shown by arrow 188.
- Fig. 11(b) shows an enlarged view of the latching mechanism in accordance with this example.
- the outer ends of the lift bar 186 are provided with a hook 190 or a latch that is received within the recess 182 of the side wall 108(a) and engages the latching counter element 184.
- the lift bar 186 is biased into a downward direction, so that when the side walls and end walls are in the vertical position, the hook is urged into the element 184, thereby securely latching the side walls and the end walls. For releasing the side walls and the end walls, the lift bar is lifted upwards, thereby disengaging the hook from the element 184 and allowing the end wall 106a to be moved or rotated downwardly onto the bottom.
- the latching mechanisms in general, work fine and provide for a secure fastening of the respective wall portions when being in a vertical state
- the latching mechanisms may be released also in cases when a plurality of crates are stacked on top of each other. This may result in the above-mentioned problems.
- the latching mechanism of one or more of such crates may be released, for example, by a shock that results in a movement of the latching elements in their releasing direction.
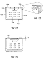
- FIG. 12 shows the locking mechanism in accordance with an embodiment of the invention.
- the mechanism shown in Fig. 12 is similar to the one shown in Fig. 11(a) , except that the lift bar 186 is provided such that for releasing the latch or lock at least one part 186a and 186b must be moved so as to extend above the height of the crate or above an upper edge of the crate.
- the latching mechanism as it is shown in Fig. 12 may be similar to the one shown in Fig.
- FIG. 12(a) shows the crate with the lift bar 186 in the unlocked position and, as can be seen, the parts 186a and 186b extend above an upper edge of the crate by a distance d.
- d This allows simple locking/unlocking of the crates.
- the latching mechanism needs to be moved above the height of the crate for being unlocked. This avoids problems when stacking a plurality of crates on top of each other.
- Fig. 13 shows a side view of a crate having a novel latch mechanism in accordance with another embodiment of the invention.
- Fig. 13(a) shows the crate with the latch mechanism blocking the side wall to the end wall whereas Fig. 13(b) shows the latch mechanism in the released position.
- the crate comprises a bottom 102 and the end wall 106a. It is noted that the opposing end wall 106b has the same structure as the one shown in Fig. 13(a) . Further, the two side walls 108a and 108b are shown.
- each side wall 108a and 108b comprises a protrusion 190a and 190b having a thickness corresponding to a thickness of the end wall 106a.
- the protrusions 190a and 190b may comprise a plurality of slits 192 that are provided by receiving protrusions provided on the front face of the side wall 106a for increasing the stability of the connection between the side wall and the end wall.
- the lift mechanism 186 is formed of an arch-shaped element having the end portions 186a and 186b being flush with an upper edge of the crate in the latched position.
- the lift mechanism 186 comprises two pins 194a and 194b that are extending towards the inside of the crate through slots 196a and 196b extending in a vertical direction and being provided in the end wall 106a.
- the lift mechanism comprises spring elements 198a and 198b having one end connected to the mechanism 106 and another end abutting a lower surface of a top bar 199 of the front wall or side wall 106a.
- the spring elements 198 abut against the bar 199 and need not to be fixed thereto, however, in embodiments also a connection to the bar 199 may be provided.
- the elements 198 are formed of the same material as the lift bar and the crate, for example a plastic material. Alternative embodiments may also use other spring elements formed from a different material like a metal or the like.
- the elements 198 bias the lift bar 196 into the position as shown in Fig. 13(a) .
- Fig. 13(b) shows the lift mechanism 186 in its unlocked position.
- the lift bar 108 was moved against the bias force of the spring elements 190a and 190b into a position that is closer to the bar 199 than in the locked position shown in Fig. 13(a) .
- Moving the mechanism 186 in this direction results in a deflection of the elements 198 so that when releasing the lift mechanism 186, it is urged backward into the position shown in Fig. 13(a) .
- Fig. 13(b) shows the lift mechanism 186 in its unlocked position.
- the lifting of the element 186 results in a lifting of the end portions 186a and 186b so that the element 186a and 186b are released from respective lock pins 187a and 187b arranged on a top surface of the protrusions 192a and 192b which are engaged by a respective opening or a recess in the elements 186a and 186b for locking the end wall and the side walls to each other.
- Another advantage of the solution described with regard to embodiments of the invention concerning the locking mechanism is that it is not necessary to provide an expensive material to form the resilient members 198a and 198b, rather in accordance with the embodiments the same material can be used from which the crate as a whole is formed, for example, the same plastic material.
- Conventional approaches suffer from the disadvantage that the same material is used to form the crate and the resilient members, for example a plastic material.
- the spring member (the material from which it is formed) may loose all or part of its resilient characteristic. In such a situation the force to maintain/bias the lift mechanism into the position shown in Fig. 13(a) is lost or reduced.
- Fig. 14 shows an example in which two crates 100 and 100' are stacked on top of each other. As can be seen from Fig. 14 , due to the stacking a movement of the lift bar 106 in the crate 100 is no longer possible due to the fact that crate 100' is arranged above crate 100. Thus, crate 100 cannot be unlocked and the problems described above are avoided.
- FIGs. 12-14 describe an embodiment of the invention using a lift bar, it is noted that the invention is not restricted to such embodiments. Rather, other latching elements or locking elements may be used that allow for a disengagement of a latch with a latch counterpart and the respective elements may be structured in such a way that for assuming an unlocked position, it is necessary that at least a part of the mechanism moves above the height.
- rotatable elements may be provided at both sides of the end wall that, in the locked position are in a state where they are rotated downward, however, for unlocking the latch it is required that the elements are rotated upwards in such a manner that at least a part thereof extends beyond the upper edge of the crate thereby achieving the same effect as described above when stacking a plurality of crates on top of each other.
- Figs. 12-14 described the latch mechanisms or lock mechanisms to be provided at the end walls, it is noted that the invention is not limited to such embodiments, rather the lift bar or other movable latch elements are provided in the side walls and the end walls may provide for the respective latching counter part elements.
- a crate in accordance with the fourth aspect, may provide one or more inlets for allowing the cooling liquid to be introduced into the interior of the crate, wherein one or more inlets have dimensions ensuring that the cooling liquid can be introduced as desired.
- Fig. 15 shows a side view of the crate in accordance with embodiments of the fourth aspect of the invention.
- Fig. 15 is showing a side wall 108a similar to the one shown in Fig. 2 .
- the side wall 108a comprises the stiffening member 116 and the vent holes 110.
- three inlets 200a-200c are provided, wherein the first inlet 200a is provided at an upper left-hand corner of the side wall 108a adjacent to the stiffening member 116.
- the second inlet 200b is provided at the upper right-hand corner of the side wall 108a.
- the third inlet 200c is provided at a central position of the side wall 108a adjacent to the lower edge 124 of the side wall 108a or adjacent to the bottom 102.
- Fig. 16 shows a similar arrangement as in Fig. 15 , except that the side wall 108a has a structure as shown in Fig. 4 .
- the stiffening member 116 has the two n-shaped portions and the one U-shaped portion there between and the inlets 200a and 200b are arranged to be in the upper end of the n-shaped portions of stiffening member 116 distant from the lower edge 124 of the side wall 108a.
- the third inlet 200c is provided at the bottom of the U-shaped portion of the stiffening member 116 adjacent to the lower edge 124 of the side wall 108a.
- the arrangement of the inlet 200a-200c as shown in Figs. 13 and 14 may be advantageous as the inlets 200a and 200b may be larger than inlet 200c and are provided close to the stiffening members, thereby avoiding any reduction of structural integrity of the side wall due to the provision of the inlets having a dimension being larger than the vent holes.
- the one or more inlets 200a-200c are provided with a mesh having a mesh size that is adapted such that particles provided in the cooling liquid may pass through the mesh without blocking the inlet.
- Figs. 15 and 16 show embodiments of the fourth aspect of the invention having three inlets it is noted that the invention is not limited to such an arrangement. Rather, the number of inlets may be freely selected dependent on the needs, for example one or two inlets only may be provided or more than three inlets. Also, in accordance with embodiments of the invention, the inlets may, alternatively or in addition, be provided on the end walls.
- the fourth aspect of the invention it is ensured that sufficient cooling liquid, like ice-water may be introduced into the interior of the crates even when same are stacked on a pallet as, for example, when stacking the crates on a Euro-pallet, three crates are arranged side by side in two rows with their side walls adjacent.
- the crates in the center of the stack have the side walls adjacent to respective side walls of the respective outer crates, so that when applying the liquid at the outer crates with a sufficient volume it will also pass due to the large inlet to the interior of the crate.
- a 5-down configuration as it may be used in the U.S. and as is shown in Fig. 3 .
- Crates 100a-100c are provided with their side walls adjacent, thereby allowing the flow of the cooling liquid in a manner as just described.
- the cooling liquid can simply be introduced through their side walls facing the outside of the stack.
- embodiments of different aspects of a crate were described separately. However, embodiments of the invention are not limited to crates including only one of the four aspects, rather embodiments of the invention also concern a crate including one or more or all of the aspects described above. In other words, embodiments of the invention may provide a crate comprising one or more of the stiffening members in accordance with the first aspect, the movable hinges in accordance with the second aspect, the latch mechanism in accordance with the third aspect and the cooling liquid inlet in accordance with the fourth aspect.
Landscapes
- Engineering & Computer Science (AREA)
- Mechanical Engineering (AREA)
- Ceramic Engineering (AREA)
- Rigid Containers With Two Or More Constituent Elements (AREA)
Priority Applications (5)
| Application Number | Priority Date | Filing Date | Title |
|---|---|---|---|
| EP10177623A EP2431284A1 (de) | 2010-09-20 | 2010-09-20 | Zusammenklappbare Kiste |
| PCT/EP2011/065104 WO2012038229A1 (en) | 2010-09-20 | 2011-09-01 | Collapsible crate |
| TW100132270A TW201219266A (en) | 2010-09-20 | 2011-09-07 | Crate |
| UY33607A UY33607A (es) | 2010-09-20 | 2011-09-16 | Cajon |
| ARP110103383 AR083012A1 (es) | 2010-09-20 | 2011-09-16 | Cajon plegable |
Applications Claiming Priority (1)
| Application Number | Priority Date | Filing Date | Title |
|---|---|---|---|
| EP10177623A EP2431284A1 (de) | 2010-09-20 | 2010-09-20 | Zusammenklappbare Kiste |
Publications (1)
| Publication Number | Publication Date |
|---|---|
| EP2431284A1 true EP2431284A1 (de) | 2012-03-21 |
Family
ID=43494301
Family Applications (1)
| Application Number | Title | Priority Date | Filing Date |
|---|---|---|---|
| EP10177623A Withdrawn EP2431284A1 (de) | 2010-09-20 | 2010-09-20 | Zusammenklappbare Kiste |
Country Status (1)
| Country | Link |
|---|---|
| EP (1) | EP2431284A1 (de) |
Cited By (1)
| Publication number | Priority date | Publication date | Assignee | Title |
|---|---|---|---|---|
| CN112224602A (zh) * | 2020-10-14 | 2021-01-15 | 徐州鑫路达配送服务有限公司 | 一种物流托盘 |
Citations (3)
| Publication number | Priority date | Publication date | Assignee | Title |
|---|---|---|---|---|
| WO1996040564A1 (en) * | 1995-06-07 | 1996-12-19 | Ropak Corporation | Collapsible container with hinged sidewalls |
| US7331480B1 (en) * | 2002-09-27 | 2008-02-19 | Roger Nolan | Articulated hinge apparatus and related methods |
| US20090151226A1 (en) * | 2007-12-13 | 2009-06-18 | Apps William P | Collapsible container |
-
2010
- 2010-09-20 EP EP10177623A patent/EP2431284A1/de not_active Withdrawn
Patent Citations (3)
| Publication number | Priority date | Publication date | Assignee | Title |
|---|---|---|---|---|
| WO1996040564A1 (en) * | 1995-06-07 | 1996-12-19 | Ropak Corporation | Collapsible container with hinged sidewalls |
| US7331480B1 (en) * | 2002-09-27 | 2008-02-19 | Roger Nolan | Articulated hinge apparatus and related methods |
| US20090151226A1 (en) * | 2007-12-13 | 2009-06-18 | Apps William P | Collapsible container |
Cited By (1)
| Publication number | Priority date | Publication date | Assignee | Title |
|---|---|---|---|---|
| CN112224602A (zh) * | 2020-10-14 | 2021-01-15 | 徐州鑫路达配送服务有限公司 | 一种物流托盘 |
Similar Documents
| Publication | Publication Date | Title |
|---|---|---|
| US9469429B2 (en) | Crate | |
| EP2431287A1 (de) | Kiste | |
| US8424710B2 (en) | Crate | |
| CA2811689C (en) | Crate with continuous stiffening member | |
| EP2431283A1 (de) | Verstärkte Kiste | |
| US20120067880A1 (en) | Crate | |
| EP2431299A1 (de) | Kiste | |
| RU2531265C1 (ru) | Тарный ящик | |
| EP2431284A1 (de) | Zusammenklappbare Kiste | |
| WO2012038229A1 (en) | Collapsible crate |
Legal Events
| Date | Code | Title | Description |
|---|---|---|---|
| PUAI | Public reference made under article 153(3) epc to a published international application that has entered the european phase |
Free format text: ORIGINAL CODE: 0009012 |
|
| AK | Designated contracting states |
Kind code of ref document: A1 Designated state(s): AL AT BE BG CH CY CZ DE DK EE ES FI FR GB GR HR HU IE IS IT LI LT LU LV MC MK MT NL NO PL PT RO SE SI SK SM TR |
|
| AX | Request for extension of the european patent |
Extension state: BA ME RS |
|
| STAA | Information on the status of an ep patent application or granted ep patent |
Free format text: STATUS: THE APPLICATION IS DEEMED TO BE WITHDRAWN |
|
| 18D | Application deemed to be withdrawn |
Effective date: 20120922 |