EP1995273A2 - Verfahren und Vorrichtung zur Herstellung von Styrolpolymerschaum - Google Patents

Verfahren und Vorrichtung zur Herstellung von Styrolpolymerschaum Download PDF

Info

Publication number
EP1995273A2
EP1995273A2 EP08156742A EP08156742A EP1995273A2 EP 1995273 A2 EP1995273 A2 EP 1995273A2 EP 08156742 A EP08156742 A EP 08156742A EP 08156742 A EP08156742 A EP 08156742A EP 1995273 A2 EP1995273 A2 EP 1995273A2
Authority
EP
European Patent Office
Prior art keywords
blowing agent
styrenic polymer
polymer composition
extruder
mixture
Prior art date
Legal status (The legal status is an assumption and is not a legal conclusion. Google has not performed a legal analysis and makes no representation as to the accuracy of the status listed.)
Granted
Application number
EP08156742A
Other languages
English (en)
French (fr)
Other versions
EP1995273B2 (de
EP1995273B1 (de
EP1995273A3 (de
Inventor
Guy Taillieu
Current Assignee (The listed assignees may be inaccurate. Google has not performed a legal analysis and makes no representation or warranty as to the accuracy of the list.)
ORAC holding NV
Original Assignee
ORAC holding NV
Priority date (The priority date is an assumption and is not a legal conclusion. Google has not performed a legal analysis and makes no representation as to the accuracy of the date listed.)
Filing date
Publication date
Family has litigation
First worldwide family litigation filed litigation Critical https://patents.darts-ip.com/?family=38234808&utm_source=google_patent&utm_medium=platform_link&utm_campaign=public_patent_search&patent=EP1995273(A2) "Global patent litigation dataset” by Darts-ip is licensed under a Creative Commons Attribution 4.0 International License.
Application filed by ORAC holding NV filed Critical ORAC holding NV
Publication of EP1995273A2 publication Critical patent/EP1995273A2/de
Publication of EP1995273A3 publication Critical patent/EP1995273A3/de
Application granted granted Critical
Publication of EP1995273B1 publication Critical patent/EP1995273B1/de
Publication of EP1995273B2 publication Critical patent/EP1995273B2/de
Active legal-status Critical Current
Anticipated expiration legal-status Critical

Links

Images

Classifications

    • CCHEMISTRY; METALLURGY
    • C08ORGANIC MACROMOLECULAR COMPOUNDS; THEIR PREPARATION OR CHEMICAL WORKING-UP; COMPOSITIONS BASED THEREON
    • C08JWORKING-UP; GENERAL PROCESSES OF COMPOUNDING; AFTER-TREATMENT NOT COVERED BY SUBCLASSES C08B, C08C, C08F, C08G or C08H
    • C08J9/00Working-up of macromolecular substances to porous or cellular articles or materials; After-treatment thereof
    • C08J9/04Working-up of macromolecular substances to porous or cellular articles or materials; After-treatment thereof using blowing gases generated by a previously added blowing agent
    • C08J9/12Working-up of macromolecular substances to porous or cellular articles or materials; After-treatment thereof using blowing gases generated by a previously added blowing agent by a physical blowing agent
    • C08J9/127Mixtures of organic and inorganic blowing agents
    • BPERFORMING OPERATIONS; TRANSPORTING
    • B29WORKING OF PLASTICS; WORKING OF SUBSTANCES IN A PLASTIC STATE IN GENERAL
    • B29CSHAPING OR JOINING OF PLASTICS; SHAPING OF MATERIAL IN A PLASTIC STATE, NOT OTHERWISE PROVIDED FOR; AFTER-TREATMENT OF THE SHAPED PRODUCTS, e.g. REPAIRING
    • B29C44/00Shaping by internal pressure generated in the material, e.g. swelling or foaming ; Producing porous or cellular expanded plastics articles
    • B29C44/20Shaping by internal pressure generated in the material, e.g. swelling or foaming ; Producing porous or cellular expanded plastics articles for articles of indefinite length
    • B29C44/26Shaping by internal pressure generated in the material, e.g. swelling or foaming ; Producing porous or cellular expanded plastics articles for articles of indefinite length using several expanding steps
    • BPERFORMING OPERATIONS; TRANSPORTING
    • B29WORKING OF PLASTICS; WORKING OF SUBSTANCES IN A PLASTIC STATE IN GENERAL
    • B29CSHAPING OR JOINING OF PLASTICS; SHAPING OF MATERIAL IN A PLASTIC STATE, NOT OTHERWISE PROVIDED FOR; AFTER-TREATMENT OF THE SHAPED PRODUCTS, e.g. REPAIRING
    • B29C44/00Shaping by internal pressure generated in the material, e.g. swelling or foaming ; Producing porous or cellular expanded plastics articles
    • B29C44/34Auxiliary operations
    • B29C44/3442Mixing, kneading or conveying the foamable material
    • B29C44/3446Feeding the blowing agent
    • BPERFORMING OPERATIONS; TRANSPORTING
    • B29WORKING OF PLASTICS; WORKING OF SUBSTANCES IN A PLASTIC STATE IN GENERAL
    • B29CSHAPING OR JOINING OF PLASTICS; SHAPING OF MATERIAL IN A PLASTIC STATE, NOT OTHERWISE PROVIDED FOR; AFTER-TREATMENT OF THE SHAPED PRODUCTS, e.g. REPAIRING
    • B29C44/00Shaping by internal pressure generated in the material, e.g. swelling or foaming ; Producing porous or cellular expanded plastics articles
    • B29C44/34Auxiliary operations
    • B29C44/3469Cell or pore nucleation
    • B29C44/348Cell or pore nucleation by regulating the temperature and/or the pressure, e.g. suppression of foaming until the pressure is rapidly decreased
    • BPERFORMING OPERATIONS; TRANSPORTING
    • B29WORKING OF PLASTICS; WORKING OF SUBSTANCES IN A PLASTIC STATE IN GENERAL
    • B29CSHAPING OR JOINING OF PLASTICS; SHAPING OF MATERIAL IN A PLASTIC STATE, NOT OTHERWISE PROVIDED FOR; AFTER-TREATMENT OF THE SHAPED PRODUCTS, e.g. REPAIRING
    • B29C44/00Shaping by internal pressure generated in the material, e.g. swelling or foaming ; Producing porous or cellular expanded plastics articles
    • B29C44/34Auxiliary operations
    • B29C44/60Measuring, controlling or regulating
    • B29C44/605Calibration following a shaping operation, e.g. extrusion
    • EFIXED CONSTRUCTIONS
    • E04BUILDING
    • E04FFINISHING WORK ON BUILDINGS, e.g. STAIRS, FLOORS
    • E04F19/00Other details of constructional parts for finishing work on buildings
    • E04F19/02Borders; Finishing strips, e.g. beadings; Light coves
    • E04F19/04Borders; Finishing strips, e.g. beadings; Light coves for use between floor or ceiling and wall, e.g. skirtings
    • E04F19/0436Borders; Finishing strips, e.g. beadings; Light coves for use between floor or ceiling and wall, e.g. skirtings between ceiling and wall
    • CCHEMISTRY; METALLURGY
    • C08ORGANIC MACROMOLECULAR COMPOUNDS; THEIR PREPARATION OR CHEMICAL WORKING-UP; COMPOSITIONS BASED THEREON
    • C08JWORKING-UP; GENERAL PROCESSES OF COMPOUNDING; AFTER-TREATMENT NOT COVERED BY SUBCLASSES C08B, C08C, C08F, C08G or C08H
    • C08J2201/00Foams characterised by the foaming process
    • C08J2201/02Foams characterised by the foaming process characterised by mechanical pre- or post-treatments
    • C08J2201/03Extrusion of the foamable blend
    • CCHEMISTRY; METALLURGY
    • C08ORGANIC MACROMOLECULAR COMPOUNDS; THEIR PREPARATION OR CHEMICAL WORKING-UP; COMPOSITIONS BASED THEREON
    • C08JWORKING-UP; GENERAL PROCESSES OF COMPOUNDING; AFTER-TREATMENT NOT COVERED BY SUBCLASSES C08B, C08C, C08F, C08G or C08H
    • C08J2203/00Foams characterized by the expanding agent
    • C08J2203/02CO2-releasing, e.g. NaHCO3 and citric acid
    • CCHEMISTRY; METALLURGY
    • C08ORGANIC MACROMOLECULAR COMPOUNDS; THEIR PREPARATION OR CHEMICAL WORKING-UP; COMPOSITIONS BASED THEREON
    • C08JWORKING-UP; GENERAL PROCESSES OF COMPOUNDING; AFTER-TREATMENT NOT COVERED BY SUBCLASSES C08B, C08C, C08F, C08G or C08H
    • C08J2203/00Foams characterized by the expanding agent
    • C08J2203/14Saturated hydrocarbons, e.g. butane; Unspecified hydrocarbons
    • CCHEMISTRY; METALLURGY
    • C08ORGANIC MACROMOLECULAR COMPOUNDS; THEIR PREPARATION OR CHEMICAL WORKING-UP; COMPOSITIONS BASED THEREON
    • C08JWORKING-UP; GENERAL PROCESSES OF COMPOUNDING; AFTER-TREATMENT NOT COVERED BY SUBCLASSES C08B, C08C, C08F, C08G or C08H
    • C08J2325/00Characterised by the use of homopolymers or copolymers of compounds having one or more unsaturated aliphatic radicals, each having only one carbon-to-carbon double bond, and at least one being terminated by an aromatic carbocyclic ring; Derivatives of such polymers
    • C08J2325/02Homopolymers or copolymers of hydrocarbons
    • C08J2325/04Homopolymers or copolymers of styrene
    • C08J2325/06Polystyrene
    • EFIXED CONSTRUCTIONS
    • E04BUILDING
    • E04FFINISHING WORK ON BUILDINGS, e.g. STAIRS, FLOORS
    • E04F19/00Other details of constructional parts for finishing work on buildings
    • E04F19/02Borders; Finishing strips, e.g. beadings; Light coves
    • E04F19/04Borders; Finishing strips, e.g. beadings; Light coves for use between floor or ceiling and wall, e.g. skirtings
    • E04F2019/0404Borders; Finishing strips, e.g. beadings; Light coves for use between floor or ceiling and wall, e.g. skirtings characterised by the material
    • E04F2019/0413Borders; Finishing strips, e.g. beadings; Light coves for use between floor or ceiling and wall, e.g. skirtings characterised by the material of metal
    • EFIXED CONSTRUCTIONS
    • E04BUILDING
    • E04FFINISHING WORK ON BUILDINGS, e.g. STAIRS, FLOORS
    • E04F19/00Other details of constructional parts for finishing work on buildings
    • E04F19/02Borders; Finishing strips, e.g. beadings; Light coves
    • E04F19/04Borders; Finishing strips, e.g. beadings; Light coves for use between floor or ceiling and wall, e.g. skirtings
    • E04F2019/0454Borders; Finishing strips, e.g. beadings; Light coves for use between floor or ceiling and wall, e.g. skirtings with decorative effects

Definitions

  • the present invention relates to a styrenic polymer foam and a method and apparatus for producing the same.
  • High density foamed polystyrene profiles of 400 kg/m 3 or higher are well known in the art of building decoration. They can be produced with sharp edges and smooth surfaces. Some efforts have been made in the art to obtain polystyrene profiles with a lower density while keeping similar esthetical properties. For instance, the use of supercritical CO 2 gas has been proposed. The use of CO 2 gas for this purpose is far from optimal because it leads to a very fast expansion of the polystyrene, leading to defective cell structures and consequently to shrinkage during the cooling process. As a consequence, complicated and expensive shaping tools are required to obtain acceptable profile shapes in spite of the high degree of shrinkage. Moreover, the homogeneous incorporation of supercritical CO 2 in polystyrene is often problematic.
  • the physical blowing agent preferably having a lower vapour pressure than the gas released by the chemical blowing agent, has its foaming activity extending over a larger range of temperature and permits therefore to extend the foaming activity to lower temperatures where a stronger structural strength exists in the foam.
  • This temperature can for instance be down to 55°C, 50°C, 45°C, 40°C or 35°C.
  • shrinkage of the foam can be remarkably reduced or suppressed.
  • n-pentane can extend its foaming activity down to temperatures as low as 35°C.
  • the present invention relates to a method for producing a styrenic polymer foam.
  • the present invention comprise the steps of:
  • the present invention relates to a method for producing a styrenic polymer foam profile having a density between 160 and 240 Kg/m 3 comprising the steps of:
  • the styrenic polymer foam may be in the form of a profile, preferably a solid, hollow or open profile including sharp edges and/or elements of details having small radiuses.
  • the styrenic polymer foams produced by the method of the present invention are particularly well adapted to form profiles because they combine the advantages of, on one hand, being obtainable with sharp edges and a smooth surface and, on another hand, being light and therefore inexpensive.
  • the method of the first aspect may further comprise the step (iii) of passing the foam trough a calibration system. This is advantageous because it permits to control better the shape of the foam produced.
  • styrenic polymer foams having a density controllable by the addition of blowing agents, e.g. to obtain a density inferior to 400 kg/m 3 .
  • another optional feature to any embodiment of the present invention is a styrenic polymer foam produced having a density between 100 and 400 Kg/m 3 , preferably between 160 and 240 Kg/m 3 . This is advantageous because less material is used to obtain the same visual effect as obtained with higher densities styrenic polymer foams for a much lower production price on one hand and a lower ecological impact on another hand.
  • the styrenic polymer composition may have a calculated or measured melt flow index of between 2.5 and 18 g/10min, preferably of between 9 and 18 g/10min at 200 °C under a load of 5 Kg according to ISO 1133. This range is advantageous because it permits a sufficient expansion of the styrenic polymer composition to obtain e.g. profiles with sharp edges while simultaneously reducing the tendency of the cells to collapse and the apparition of surface defects due to cell openings.
  • the styrenic polymer composition may comprise two or more styrenic polymers of different melt flow indices. This is advantageous because the combining of two polymers having different melt flow indices enables optimisation of the strength of the styrenic polymer foam obtained on one hand and the foamability of the styrenic polymer composition on the other hand.
  • the physical blowing agent may have a vapour pressure at 20°C of 2 Kpa to 1000 Kpa. This is advantageous because within this range, the physical blowing agent allows for a slower expansion of the foam than what would normally be observed when blowing agents of higher vapour pressure are used. This leads to a slower volume increase of the styrenic polymer foam and therefore to less contact forces between the styrenic polymer foam and the optional calibrator. This also leads to stronger cell structures due to a faster cooling of the styrenic polymer foam. A stronger cell structure permits to avoid collapsing of the cells and the resulting shrinkage of the styrenic polymer foam.
  • the physical blowing agent is selected from the group consisting of butane and isomers thereof, pentane and isomers thereof, ethanol, acetone and mixtures thereof.
  • the physical blowing agent is pentane.
  • Pentane is advantageous because it combines a relatively low vapour pressure, a relatively good solubility in the polystyrene, a relatively low toxicity and a relatively high vaporisation enthalpy (helping a fast cooling of the foam). It also diminish less the Tg and/or the Vicatt temperature of the styrenic polymer composition than equivalent amount of CO 2 .
  • Yet another advantage of pentane is that it reduces very efficiently the shrinkage of the foam in the (optional) calibrator.
  • the mixture prior to step (ii), is gradually cooled down to a temperature above 135°C.
  • This is advantageous because by cooling the mixture in this way, the foaming gases are maintained dissolved therein at a pressure not causing excessive mechanical load on the extruder.
  • step (i) comprises the steps of:
  • the styrenic polymer composition comprises or consists of one or more polystyrene polymers. This is advantageous because polystyrene is both cheap and effective when used in the present invention.
  • profile refers to an extruded plastic product, excluding film or sheets having a characteristic constant axial section.
  • Profiles include sections such as but not limited to quadratic, circular, U-shaped, T-shaped, L-shaped or any other shaped section, such as e.g. complex sections of any possible shape.
  • the present invention relates to a method for producing a styrenic polymer foam.
  • the styrenic polymer material comprises greater than 50 and preferably greater than 70 weight percent of styrenic monomeric units. Most preferably, the styrenic polymer material is comprised entirely of styrenic monomeric units. Suitable styrenic polymers include those derived from styrenic compounds such as styrene, alphamethylstyrene, vinyl benzene, vinyl toluene, chlorostyrene, and bromostyrene. Minor amounts of monoethylenically unsaturated compounds may be copolymerized with styrenic compounds.
  • copolymerizable compounds include but are not limited to acrylic acid, methacrylic acid, ethacrylic acid, maleic acid, itaconic acid, acrylonitrile, maleic anhydride, methyl acrylate, ethyl acrylate, butyl acrylate, propyl acrylate, methyl methacrylate, vinyl acetate, vinyl alcohol, amides, 1,3-butadiene, 1,3-pentadiene, and 1,4-hexadiene.
  • Preferred structures comprise substantially polystyrene (that is, greater than 80 percent by weight) and most preferably entirely of polystyrene because polystyrene foam is economical, and may form good profiles with smooth surface and sharp edges when used according to embodiments of the present invention.
  • GPPS general purpose polystyrene
  • the styrenic polymer composition can consist in a blend of a first styrenic polymer having a relatively high melt flow index (MFI) and a second styrenic polymer having a relatively low MFI.
  • MFI melt flow index
  • the use of such a blend can be advantageous because the lower MFI polymer provides improved strength and/or hardness and the higher MFI polymer is easier to foam and/or permits to obtain profiles with sharper edges and/or sharper details. Playing on the ratio of polymers having different MFI permits therefore to optimize the process and the properties of the obtained foam.
  • the styrenic polymer used can be a mixture comprising 50%wt of a first polystyrene having an MFI of 7.5 (e.g. Empera TM 153F from the company NOVA Innovene International SA) and 50%wt of a second polystyrene (e.g. Empera TM 156F from the company NOVA Innovene International SA) having an MFI of 24 ; the resulting calculated MFI for the mixture would than be 13.4.
  • a first polystyrene having an MFI of 7.5 e.g. Empera TM 153F from the company NOVA Innovene International SA
  • a second polystyrene e.g. Empera TM 156F from the company NOVA Innovene International SA
  • a chemical blowing agent is a chemical agent, e.g. particularly a solid but a liquid is not excluded from this invention, which undergoes heat-induced chemical change, e.g. decomposition, in the polymer composition causing formation of a gas.
  • This decomposition is usually triggered by heat, but can alternatively be triggered by the presence of a co-reactant.
  • a chemical blowing agent could be triggered by the presence of water, whereby water is included in the formulation but only becomes available for chemical reaction upon the addition of heat. E.g. such would be the case for certain hydrated salt compounds mixed with the chemical blowing agent sodium borohydride.
  • the chemical blowing agent is preferably used in a quantity of 0.1 to 1.5 % wt.
  • it can be used in a quantity of 0.5 to 1.5 %wt or 0.7 to 1.5 %wt.
  • it is used in a quantity of 0.3 to 1.2 %wt, more preferably 0.5 to 1 %wt, even more preferably 0.5 to 0.8 %wt and most preferably 0.6 to 0.8 %wt related to the weight of the styrenic polymer composition.
  • the chemical blowing agent may be used pure or in the form of a compound combining the chemical blowing agent as such with additives.
  • TRACEL TM NC 7155 is sold under the form of white granules comprising about 70% of the actual blowing agent.
  • the use of such granules has the advantage to enable an easier mixing with the styrenic polymer composition, e.g. when the styrenic polymer composition is also in the form of granules.
  • the use of 1% of TRACEL TM NC 7155 should therefore be interpreted as the use of 0.7% of chemical blowing agent.
  • a chemical blowing agent is also advantageous because it can serve as a nucleating agent for a physical blowing agent.
  • a physical blowing agent is a material that is normally a gas or a low boiling point liquid at room temperature and is introduced into the melt in this form.
  • a proper physical blowing agent can change phase but usually does not decompose significantly at the temperatures reached in the extruder during the extrusion process.
  • Suitable physical blowing agents include but are not limited to lower alcohols such as but not limited to methanol, ethanol, n-propanol and isopropanol; hydrocarbons, especially alkanes having up to six carbon atoms such as methane, ethane, propane, n-butane, isobutane, n-pentane, isopentane, neopentane, hexane, cyclobutane and cyclopentane; ketones such as e.g.
  • Preferred physical blowing agent(s) are methanol, ethanol, n-propanol, isopropanol, n-butane, isobutane, n-pentane, isopentane, neopentane, cyclopentane, acetone, water and mixtures thereof. More preferably, the physical blowing agent is selected from the group consisting of n-butane, isobutane, n-pentane, isopentane, neopentane, cyclopentane, acetone and mixture thereof.
  • the physical blowing agent is preferably used in a quantity of 5*10 -2 to 1.6*10 -1 mol/Kg of styrenic polymer composition, preferably of 7*10 -2 to 1.4*10 -1 mol/Kg of styrenic polymer composition, more preferably of 9*10 -2 to 1.3*10 -1 mol/Kg of styrenic polymer composition, most preferably of 1.0 *10 -1 to 1.2*10 -1 mol/Kg of styrenic polymer composition
  • the dosing units for the styrenic polymer composition, the chemical blowing agent and the optional additives are preferably coupled to the feeder of the extruder while the dosing unit for the physical blowing agent can be either coupled to the feeder or coupled to an injection port downstream to the feeder.
  • the extruder is preferably divided in several zones controllable in temperature.
  • a first part of the extruder is adapted to heat up the fed mixture to a temperature high enough to plastify it and to obtain an homogeneous melt while a second part of the extruder is adapted to progressively cool the plastified mixture down to the extrusion temperature.
  • the first part may have a length to diameter ratio (LD) of 12 to 20, preferably 14 to 18, most preferably 15 to 17.
  • the second part may have a length to diameter ratio (LD) of 15 to 35, preferably 16 to 32, more preferably 18 to 30, even more preferably 20 to 28, even more preferably, 22 to 26, most preferably, 23 to 25.
  • the extruder has preferably a length to diameter ratio of 40 or more.
  • the first part correspond to the first sub-extruder of a tandem extruder and the second part correspond to the second sub-extruder of the tandem extruder.
  • a dosing such as for instance a gravimetric dosing, of the different components is preferably performed.
  • the chemical blowing agent is preferably added to the neat styrenic polymer composition, mixed, and fed into an extruder together with the styrenic polymer composition via the feeder of the extruder.
  • the mixing can for instance be performed in a mixing hopper.
  • the mixture is then heated to a temperature above the Vicat temperature of the styrenic polymer composition to ensure intimate mixing and further heated to the activation temperature of the chemical blowing agent, resulting in decomposition of the chemical blowing agent.
  • the gas formed on activation is substantially dissolved or dispersed in the melt mixture.
  • the temperature and pressure of the system are controlled to maintain substantially a single phase.
  • the introduction of the physical blowing agent is performed at the end of the first part or at the beginning of the second part or between the first part and the second part of the extruder.
  • the physical blowing agent is preferably introduced between the first sub-extruder and the second sub-extruder.
  • the physical blowing agent is preferably added under pressure.
  • a sufficient pressure is used to maintain the physical blowing agent in a liquid form at the temperature of the melt.
  • the mixture (now incorporating the physical blowing agent and the pressurized gas released by the chemical blowing agent) is further plasticized and preferably kept under sufficient pressure to obtain an homogeneous single phase mixture.
  • the method of the present invention may comprise the steps of:
  • the single phase mixture After cooling to a temperature above 135°C, the single phase mixture enters a shaping tool (e.g. a die) that imposes its shape to the polymeric mixture.
  • a shaping tool e.g. a die
  • the polymeric mixture Upon exiting the die, the polymeric mixture is foamed due to a pressure drop.
  • the pressure of the melt is preferably kept at a sufficient level until the melt reaches the outlet of the shaping tool. How rapidly the pressure is preferably decreased at the outlet of the die is better determined experimentally and adapted in function of the rheological properties of the melt as is well known by the person skilled in the art.
  • One way to control the pressure at this level is to play on the size and design of the die endplate split and/or the length of the land. Another way to control the pressure at this level is to control the temperature of the die.
  • the expansion of the styrenic polymer foam operates slowly and is preferably controlled by passing the styrenic polymer foam through a calibration system, optionally controlled in temperature.
  • a calibration system optionally controlled in temperature.
  • the geometry of the calibration unit can preferably be adapted to the changing shape of the die output during foaming
  • the foam surface is preferably kept at a temperature below the Tg of the styrenic polymer
  • the calibration unit is preferably coated on its inside with a low-friction coating.
  • the calibration system preferably participate in the cooling of the foamed polymeric mixture.
  • the styrenic polymer foam may also pass through a water bath for cooling purpose.
  • the formed styrenic polymer foam is most conveniently pulled by e.g. a haul off or any other motorised pulling device known from the person skilled in the art.
  • the haul off preferably comprises pads shaped in such a way as to minimize the contact forces of the pads with the surface of the styrenic polymer foam.
  • the styrenic polymer foam has preferably already a stable geometry before it contacts the pulling device (e.g. the haul off pads). It is also possible to apply decorative motives on the styrenic polymer foam by using e.g. heated embossing rolls.
  • the embossing rolls are preferably installed in the calibration line.
  • the styrenic polymer foam can then be cut to size with e.g. a saw.
  • the styrenic polymer foam obtained has preferably a closed cell structure and a smooth surface. Its density ranges preferably between 100 and 400 Kg/m 3 , most preferably between 150 and 250 Kg/m 3 . Experiments have shown that operating in accordance with the present invention forms profiles with sharp edges and detailed motives.
  • the styrenic polymer foam obtained may contain in some embodiments up to 2%wt of additives.
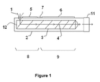
  • FIG. 1 a schematic cross-section of an extruder (2) suitable for performing a method according to a particular embodiment of the present invention is shown.
  • a feeder i.e. a material inlet (1)
  • a single screw (3) is represented in the extruder (2) and the transport direction (4) is indicated by arrows.
  • the feed-end (12) of the screw (3) is shown.
  • the extruder (2) is divided in a first part (8) comprising heating means (5) and a second part (9) comprising cooling means (6).
  • An injection port (7) is represented between the first (8) and second part (9).
  • the extruder (2) ends with a die (11), i.e. a shaping tool.
  • a styrenic polymer composition, a CO 2 releasing chemical blowing agent and optionally other additives are added as a premix in the extruder (2) via the feeder (1).
  • the premix is then heated and plasticised by the heating means (5) and the screw (3) to obtain a plasticised mixture at the end of the first part (8) of the extruder (2).
  • Pentane is then added under pressure through the injection port (7).
  • the plasticised mixture now comprising both the chemical blowing agent and the physical blowing agent is kneaded and pressurized until a single phase mixture is obtained.
  • the single phase mixture, while progressing through the second part (9) of the extruder (2) is gradually cooled down by the cooling means (6) and is extruded through the die (11).
  • the styrenic polymer foam profiles produced according to any embodiments of the present invention may have a surface Shore hardness D of 35 or more.
  • the surface Shore hardness D can be comprised between 35 and 55.
  • Shore hardness D can be measured according to NEN-EN-ISO 868, DIN 53505, or ASTM D2240.
  • These profiles may comprise very sharp elements of detail D or edges E having a radius of 1 mm or less.
  • the radius of an element of detail or of an edge is evaluated as follow in the case of right angles: A right angle is in theory perfectly sharp and has a radius of zero.
  • a right angle such as the right angle of an edge E or the right angle of an element of detail D (see Fig. 2 ) of a profile 13 can be characterized by the radius R of the circle which curvature equal the curvature of the rounded right angle (see Fig 3 for three examples of right angles. From top to bottom, the sharpness decreases and the radius increases). A smaller radius for an element of detail means a sharper detail. A small radius for an edge means a sharp edge.
  • the initial tack may be 140 Kg/cm 2 or more.

Landscapes

  • Chemical & Material Sciences (AREA)
  • Engineering & Computer Science (AREA)
  • Architecture (AREA)
  • Materials Engineering (AREA)
  • Health & Medical Sciences (AREA)
  • Chemical Kinetics & Catalysis (AREA)
  • Medicinal Chemistry (AREA)
  • Polymers & Plastics (AREA)
  • Organic Chemistry (AREA)
  • Inorganic Chemistry (AREA)
  • Civil Engineering (AREA)
  • Structural Engineering (AREA)
  • Manufacture Of Porous Articles, And Recovery And Treatment Of Waste Products (AREA)
  • Extrusion Moulding Of Plastics Or The Like (AREA)
EP08156742.2A 2007-05-22 2008-05-22 Verfahren und Vorrichtung zur Herstellung von Styrolpolymerschaum Active EP1995273B2 (de)

Applications Claiming Priority (1)

Application Number Priority Date Filing Date Title
GBGB0709720.7A GB0709720D0 (en) 2007-05-22 2007-05-22 Process and apparatus for producing foamed styrenic polymers

Publications (4)

Publication Number Publication Date
EP1995273A2 true EP1995273A2 (de) 2008-11-26
EP1995273A3 EP1995273A3 (de) 2009-04-29
EP1995273B1 EP1995273B1 (de) 2013-01-09
EP1995273B2 EP1995273B2 (de) 2023-08-23

Family

ID=38234808

Family Applications (1)

Application Number Title Priority Date Filing Date
EP08156742.2A Active EP1995273B2 (de) 2007-05-22 2008-05-22 Verfahren und Vorrichtung zur Herstellung von Styrolpolymerschaum

Country Status (2)

Country Link
EP (1) EP1995273B2 (de)
GB (1) GB0709720D0 (de)

Cited By (11)

* Cited by examiner, † Cited by third party
Publication number Priority date Publication date Assignee Title
WO2010066331A1 (en) 2008-12-12 2010-06-17 Jackon Gmbh Process for the preparation of an expandable polymer composition in the form of beads
BE1019920A5 (nl) * 2011-05-31 2013-02-05 Orac Holding Nv Werkwijze voor de continue vervaardiging van polystyreen profielen.
EP3162531A1 (de) * 2015-10-30 2017-05-03 Technoform Tailored Solutions Holding GmbH Verfahren zur herstellung geschäumter profile und durch das verfahren erhaltene geschäumte profile
EP3666820A1 (de) * 2018-12-11 2020-06-17 Sunpor Kunststoff GmbH Formkörper aus hochdichtem polystyrol
BE1029273B1 (nl) * 2021-10-01 2022-10-28 Orac Holding Nv Composiet polystyreenprofiel en werkwijze voor de productie van dergelijke profielen
CN118660797A (zh) * 2022-03-17 2024-09-17 株式会社Jsp 热塑性树脂发泡颗粒成形体的制造方法
WO2024206406A1 (en) 2023-03-27 2024-10-03 Henry Company, Llc Continuous insulation sheathing with drainage embossment
WO2025019575A1 (en) 2023-07-17 2025-01-23 Henry Company, Llc Insulation and weather resistant barrier systems
WO2025059138A1 (en) 2023-09-11 2025-03-20 Henry Company, Llc Long-term insulation wall-sheathing and weather-resistant barrier system
EP4603257A1 (de) 2024-02-14 2025-08-20 Döllken Profiles GmbH Profilleiste und verfahren zur herstellung einer profilleiste
WO2026010971A2 (en) 2024-07-01 2026-01-08 Henry Company, Llc Novel insulation and weather resistant barrier systems

Citations (1)

* Cited by examiner, † Cited by third party
Publication number Priority date Publication date Assignee Title
US3922328A (en) 1972-02-18 1975-11-25 Arco Polymers Inc Method for making structural foam profiles

Family Cites Families (8)

* Cited by examiner, † Cited by third party
Publication number Priority date Publication date Assignee Title
GB994073A (en) * 1961-06-06 1965-06-02 Koppers Co Inc Improvements in or relating to improved expandable polymers
DE2507979B1 (de) 1975-02-25 1976-07-29 Marquet & Cie Noel Verfahren und extrusionswerkzeug zur herstellung von profilen durch extrudieren
US4424287A (en) 1980-06-10 1984-01-03 Mobil Oil Corporation Polymer foam process
US5753717A (en) * 1994-03-30 1998-05-19 Aci Operations Pty Ltd. Plastics foam and method of manufacturing same
US6910307B1 (en) * 1999-06-22 2005-06-28 Scott D. Maurer Architectural molding
EP1449876A1 (de) 2003-02-20 2004-08-25 Nmc S.A. Hochflexibler Polyolefinschaumstoff enthaltend chloriertes Polyethylen
US20060052466A1 (en) * 2004-09-03 2006-03-09 Handa Yash P Expanded and extruded thermoplastic foams made with methyl formate-based blowing agents
BE1019920A5 (nl) 2011-05-31 2013-02-05 Orac Holding Nv Werkwijze voor de continue vervaardiging van polystyreen profielen.

Patent Citations (1)

* Cited by examiner, † Cited by third party
Publication number Priority date Publication date Assignee Title
US3922328A (en) 1972-02-18 1975-11-25 Arco Polymers Inc Method for making structural foam profiles

Cited By (15)

* Cited by examiner, † Cited by third party
Publication number Priority date Publication date Assignee Title
WO2010066331A1 (en) 2008-12-12 2010-06-17 Jackon Gmbh Process for the preparation of an expandable polymer composition in the form of beads
BE1019920A5 (nl) * 2011-05-31 2013-02-05 Orac Holding Nv Werkwijze voor de continue vervaardiging van polystyreen profielen.
EP3162531A1 (de) * 2015-10-30 2017-05-03 Technoform Tailored Solutions Holding GmbH Verfahren zur herstellung geschäumter profile und durch das verfahren erhaltene geschäumte profile
EP3666820A1 (de) * 2018-12-11 2020-06-17 Sunpor Kunststoff GmbH Formkörper aus hochdichtem polystyrol
WO2023052618A1 (en) * 2021-10-01 2023-04-06 Orac Holding Nv A composite polystryrene profile and method for manufacturing such profiles
EP4159400A1 (de) * 2021-10-01 2023-04-05 Orac NV Verbundprofil aus polystyrol und verfahren zur herstellung solcher profile
BE1029273B1 (nl) * 2021-10-01 2022-10-28 Orac Holding Nv Composiet polystyreenprofiel en werkwijze voor de productie van dergelijke profielen
EP4427908A3 (de) * 2021-10-01 2024-10-30 Orac NV Polystyrol-verbundprofil und vorrichtung zur herstellung eines solchen profils
CN118660797A (zh) * 2022-03-17 2024-09-17 株式会社Jsp 热塑性树脂发泡颗粒成形体的制造方法
CN118660797B (zh) * 2022-03-17 2025-02-25 株式会社Jsp 热塑性树脂发泡颗粒成形体的制造方法
WO2024206406A1 (en) 2023-03-27 2024-10-03 Henry Company, Llc Continuous insulation sheathing with drainage embossment
WO2025019575A1 (en) 2023-07-17 2025-01-23 Henry Company, Llc Insulation and weather resistant barrier systems
WO2025059138A1 (en) 2023-09-11 2025-03-20 Henry Company, Llc Long-term insulation wall-sheathing and weather-resistant barrier system
EP4603257A1 (de) 2024-02-14 2025-08-20 Döllken Profiles GmbH Profilleiste und verfahren zur herstellung einer profilleiste
WO2026010971A2 (en) 2024-07-01 2026-01-08 Henry Company, Llc Novel insulation and weather resistant barrier systems

Also Published As

Publication number Publication date
EP1995273B2 (de) 2023-08-23
EP1995273B1 (de) 2013-01-09
EP1995273A3 (de) 2009-04-29
GB0709720D0 (en) 2007-06-27

Similar Documents

Publication Publication Date Title
EP1995273B2 (de) Verfahren und Vorrichtung zur Herstellung von Styrolpolymerschaum
US5462974A (en) Expandable composition and process for extruded thermoplastic foams
ES2774336T3 (es) Espuma polimérica
US8598244B2 (en) Reduced-VOC and non-VOC blowing agents for making expanded and extruded thermoplastic foams
US5667728A (en) Blowing agent, expandable composition, and process for extruded thermoplastic foams
JP5350632B2 (ja) 蟻酸メチル系発泡剤で作った膨張及び押出熱可塑性発泡体
US6030696A (en) Extruded polyolefin foam in thicker grades and plank and process therefor
KR100881874B1 (ko) 발포제로서 134a 및 알코올에 의한 압출 비닐 방향족발포체
CA2681769C (en) Alkenyl aromatic foam with low solubility hydrofluorocarbon
KR100699202B1 (ko) 발포 폴리머 재료의 제조 방법 및 그 제조 방법을수행하는 압출기
US7307105B2 (en) Thermoplastic foams made with methyl formate-based blowing agents
JP5438272B2 (ja) 蟻酸メチル系発泡剤で形成される断熱熱可塑性発泡体
JP5281003B2 (ja) 熱可塑性発泡樹脂製品用発泡剤組成物
WO1999016815A1 (en) High productivity, low fugitive voc emission foam process
US20030113527A1 (en) Extruded polyolefin foam in thicker grades and plank and process therefor
JP3270109B2 (ja) スチレン系樹脂発泡体及びその製法
WO2001053399A1 (en) Extruded polyolefin foam in thicker grades and plank and process therefor

Legal Events

Date Code Title Description
PUAI Public reference made under article 153(3) epc to a published international application that has entered the european phase

Free format text: ORIGINAL CODE: 0009012

AK Designated contracting states

Kind code of ref document: A2

Designated state(s): AT BE BG CH CY CZ DE DK EE ES FI FR GB GR HR HU IE IS IT LI LT LU LV MC MT NL NO PL PT RO SE SI SK TR

AX Request for extension of the european patent

Extension state: AL BA MK RS

PUAL Search report despatched

Free format text: ORIGINAL CODE: 0009013

AK Designated contracting states

Kind code of ref document: A3

Designated state(s): AT BE BG CH CY CZ DE DK EE ES FI FR GB GR HR HU IE IS IT LI LT LU LV MC MT NL NO PL PT RO SE SI SK TR

AX Request for extension of the european patent

Extension state: AL BA MK RS

RIC1 Information provided on ipc code assigned before grant

Ipc: B29C 44/34 20060101ALI20090325BHEP

Ipc: B29C 44/08 20060101ALI20090325BHEP

Ipc: C08J 9/12 20060101AFI20080915BHEP

17P Request for examination filed

Effective date: 20091029

AKX Designation fees paid

Designated state(s): AT BE BG CH CY CZ DE DK EE ES FI FR GB GR HR HU IE IS IT LI LT LU LV MC MT NL NO PL PT RO SE SI SK TR

AXX Extension fees paid

Extension state: AL

Payment date: 20091029

Extension state: RS

Payment date: 20091029

Extension state: BA

Payment date: 20091029

Extension state: MK

Payment date: 20091029

17Q First examination report despatched

Effective date: 20110811

REG Reference to a national code

Ref country code: DE

Ref legal event code: R079

Ref document number: 602008021483

Country of ref document: DE

Free format text: PREVIOUS MAIN CLASS: C08J0009120000

Ipc: B29C0044080000

GRAJ Information related to disapproval of communication of intention to grant by the applicant or resumption of examination proceedings by the epo deleted

Free format text: ORIGINAL CODE: EPIDOSDIGR1

GRAP Despatch of communication of intention to grant a patent

Free format text: ORIGINAL CODE: EPIDOSNIGR1

GRAP Despatch of communication of intention to grant a patent

Free format text: ORIGINAL CODE: EPIDOSNIGR1

TPAC Observations filed by third parties

Free format text: ORIGINAL CODE: EPIDOSNTIPA

RIC1 Information provided on ipc code assigned before grant

Ipc: E04F 19/04 20060101ALI20120217BHEP

Ipc: C08J 9/12 20060101ALI20120217BHEP

Ipc: B29C 44/60 20060101ALI20120217BHEP

Ipc: B29C 44/34 20060101ALI20120217BHEP

Ipc: B29C 44/26 20060101ALI20120217BHEP

Ipc: B29C 44/08 20060101AFI20120217BHEP

GRAJ Information related to disapproval of communication of intention to grant by the applicant or resumption of examination proceedings by the epo deleted

Free format text: ORIGINAL CODE: EPIDOSDIGR1

GRAP Despatch of communication of intention to grant a patent

Free format text: ORIGINAL CODE: EPIDOSNIGR1

GRAJ Information related to disapproval of communication of intention to grant by the applicant or resumption of examination proceedings by the epo deleted

Free format text: ORIGINAL CODE: EPIDOSDIGR1

GRAJ Information related to disapproval of communication of intention to grant by the applicant or resumption of examination proceedings by the epo deleted

Free format text: ORIGINAL CODE: EPIDOSDIGR1

GRAP Despatch of communication of intention to grant a patent

Free format text: ORIGINAL CODE: EPIDOSNIGR1

GRAP Despatch of communication of intention to grant a patent

Free format text: ORIGINAL CODE: EPIDOSNIGR1

GRAS Grant fee paid

Free format text: ORIGINAL CODE: EPIDOSNIGR3

GRAA (expected) grant

Free format text: ORIGINAL CODE: 0009210

AK Designated contracting states

Kind code of ref document: B1

Designated state(s): AT BE BG CH CY CZ DE DK EE ES FI FR GB GR HR HU IE IS IT LI LT LU LV MC MT NL NO PL PT RO SE SI SK TR

AX Request for extension of the european patent

Extension state: AL BA MK RS

REG Reference to a national code

Ref country code: GB

Ref legal event code: FG4D

REG Reference to a national code

Ref country code: CH

Ref legal event code: EP

Ref country code: AT

Ref legal event code: REF

Ref document number: 592468

Country of ref document: AT

Kind code of ref document: T

Effective date: 20130115

REG Reference to a national code

Ref country code: IE

Ref legal event code: FG4D

REG Reference to a national code

Ref country code: DE

Ref legal event code: R096

Ref document number: 602008021483

Country of ref document: DE

Effective date: 20130307

PG25 Lapsed in a contracting state [announced via postgrant information from national office to epo]

Ref country code: SI

Free format text: LAPSE BECAUSE OF FAILURE TO SUBMIT A TRANSLATION OF THE DESCRIPTION OR TO PAY THE FEE WITHIN THE PRESCRIBED TIME-LIMIT

Effective date: 20130109

REG Reference to a national code

Ref country code: NL

Ref legal event code: VDEP

Effective date: 20130109

REG Reference to a national code

Ref country code: AT

Ref legal event code: MK05

Ref document number: 592468

Country of ref document: AT

Kind code of ref document: T

Effective date: 20130109

REG Reference to a national code

Ref country code: LT

Ref legal event code: MG4D

PG25 Lapsed in a contracting state [announced via postgrant information from national office to epo]

Ref country code: ES

Free format text: LAPSE BECAUSE OF FAILURE TO SUBMIT A TRANSLATION OF THE DESCRIPTION OR TO PAY THE FEE WITHIN THE PRESCRIBED TIME-LIMIT

Effective date: 20130420

Ref country code: AT

Free format text: LAPSE BECAUSE OF FAILURE TO SUBMIT A TRANSLATION OF THE DESCRIPTION OR TO PAY THE FEE WITHIN THE PRESCRIBED TIME-LIMIT

Effective date: 20130109

Ref country code: SE

Free format text: LAPSE BECAUSE OF FAILURE TO SUBMIT A TRANSLATION OF THE DESCRIPTION OR TO PAY THE FEE WITHIN THE PRESCRIBED TIME-LIMIT

Effective date: 20130109

Ref country code: LT

Free format text: LAPSE BECAUSE OF FAILURE TO SUBMIT A TRANSLATION OF THE DESCRIPTION OR TO PAY THE FEE WITHIN THE PRESCRIBED TIME-LIMIT

Effective date: 20130109

Ref country code: CY

Free format text: LAPSE BECAUSE OF FAILURE TO SUBMIT A TRANSLATION OF THE DESCRIPTION OR TO PAY THE FEE WITHIN THE PRESCRIBED TIME-LIMIT

Effective date: 20130109

Ref country code: IS

Free format text: LAPSE BECAUSE OF FAILURE TO SUBMIT A TRANSLATION OF THE DESCRIPTION OR TO PAY THE FEE WITHIN THE PRESCRIBED TIME-LIMIT

Effective date: 20130509

Ref country code: NO

Free format text: LAPSE BECAUSE OF FAILURE TO SUBMIT A TRANSLATION OF THE DESCRIPTION OR TO PAY THE FEE WITHIN THE PRESCRIBED TIME-LIMIT

Effective date: 20130409

Ref country code: BG

Free format text: LAPSE BECAUSE OF FAILURE TO SUBMIT A TRANSLATION OF THE DESCRIPTION OR TO PAY THE FEE WITHIN THE PRESCRIBED TIME-LIMIT

Effective date: 20130409

PG25 Lapsed in a contracting state [announced via postgrant information from national office to epo]

Ref country code: FI

Free format text: LAPSE BECAUSE OF FAILURE TO SUBMIT A TRANSLATION OF THE DESCRIPTION OR TO PAY THE FEE WITHIN THE PRESCRIBED TIME-LIMIT

Effective date: 20130109

Ref country code: NL

Free format text: LAPSE BECAUSE OF FAILURE TO SUBMIT A TRANSLATION OF THE DESCRIPTION OR TO PAY THE FEE WITHIN THE PRESCRIBED TIME-LIMIT

Effective date: 20130109

Ref country code: LV

Free format text: LAPSE BECAUSE OF FAILURE TO SUBMIT A TRANSLATION OF THE DESCRIPTION OR TO PAY THE FEE WITHIN THE PRESCRIBED TIME-LIMIT

Effective date: 20130109

Ref country code: PL

Free format text: LAPSE BECAUSE OF FAILURE TO SUBMIT A TRANSLATION OF THE DESCRIPTION OR TO PAY THE FEE WITHIN THE PRESCRIBED TIME-LIMIT

Effective date: 20130109

Ref country code: PT

Free format text: LAPSE BECAUSE OF FAILURE TO SUBMIT A TRANSLATION OF THE DESCRIPTION OR TO PAY THE FEE WITHIN THE PRESCRIBED TIME-LIMIT

Effective date: 20130509

Ref country code: GR

Free format text: LAPSE BECAUSE OF FAILURE TO SUBMIT A TRANSLATION OF THE DESCRIPTION OR TO PAY THE FEE WITHIN THE PRESCRIBED TIME-LIMIT

Effective date: 20130410

PG25 Lapsed in a contracting state [announced via postgrant information from national office to epo]

Ref country code: HR

Free format text: LAPSE BECAUSE OF FAILURE TO SUBMIT A TRANSLATION OF THE DESCRIPTION OR TO PAY THE FEE WITHIN THE PRESCRIBED TIME-LIMIT

Effective date: 20130109

PG25 Lapsed in a contracting state [announced via postgrant information from national office to epo]

Ref country code: EE

Free format text: LAPSE BECAUSE OF FAILURE TO SUBMIT A TRANSLATION OF THE DESCRIPTION OR TO PAY THE FEE WITHIN THE PRESCRIBED TIME-LIMIT

Effective date: 20130109

Ref country code: SK

Free format text: LAPSE BECAUSE OF FAILURE TO SUBMIT A TRANSLATION OF THE DESCRIPTION OR TO PAY THE FEE WITHIN THE PRESCRIBED TIME-LIMIT

Effective date: 20130109

Ref country code: RO

Free format text: LAPSE BECAUSE OF FAILURE TO SUBMIT A TRANSLATION OF THE DESCRIPTION OR TO PAY THE FEE WITHIN THE PRESCRIBED TIME-LIMIT

Effective date: 20130109

Ref country code: DK

Free format text: LAPSE BECAUSE OF FAILURE TO SUBMIT A TRANSLATION OF THE DESCRIPTION OR TO PAY THE FEE WITHIN THE PRESCRIBED TIME-LIMIT

Effective date: 20130109

Ref country code: CZ

Free format text: LAPSE BECAUSE OF FAILURE TO SUBMIT A TRANSLATION OF THE DESCRIPTION OR TO PAY THE FEE WITHIN THE PRESCRIBED TIME-LIMIT

Effective date: 20130109

PLBI Opposition filed

Free format text: ORIGINAL CODE: 0009260

PLAX Notice of opposition and request to file observation + time limit sent

Free format text: ORIGINAL CODE: EPIDOSNOBS2

26 Opposition filed

Opponent name: NMC S.A.

Effective date: 20131009

PG25 Lapsed in a contracting state [announced via postgrant information from national office to epo]

Ref country code: MC

Free format text: LAPSE BECAUSE OF FAILURE TO SUBMIT A TRANSLATION OF THE DESCRIPTION OR TO PAY THE FEE WITHIN THE PRESCRIBED TIME-LIMIT

Effective date: 20130109

Ref country code: IT

Free format text: LAPSE BECAUSE OF FAILURE TO SUBMIT A TRANSLATION OF THE DESCRIPTION OR TO PAY THE FEE WITHIN THE PRESCRIBED TIME-LIMIT

Effective date: 20130109

REG Reference to a national code

Ref country code: CH

Ref legal event code: PL

REG Reference to a national code

Ref country code: DE

Ref legal event code: R026

Ref document number: 602008021483

Country of ref document: DE

Effective date: 20131009

PG25 Lapsed in a contracting state [announced via postgrant information from national office to epo]

Ref country code: CH

Free format text: LAPSE BECAUSE OF NON-PAYMENT OF DUE FEES

Effective date: 20130531

Ref country code: LI

Free format text: LAPSE BECAUSE OF NON-PAYMENT OF DUE FEES

Effective date: 20130531

REG Reference to a national code

Ref country code: IE

Ref legal event code: MM4A

REG Reference to a national code

Ref country code: FR

Ref legal event code: ST

Effective date: 20140131

PLAF Information modified related to communication of a notice of opposition and request to file observations + time limit

Free format text: ORIGINAL CODE: EPIDOSCOBS2

PG25 Lapsed in a contracting state [announced via postgrant information from national office to epo]

Ref country code: IE

Free format text: LAPSE BECAUSE OF NON-PAYMENT OF DUE FEES

Effective date: 20130522

RAP2 Party data changed (patent owner data changed or rights of a patent transferred)

Owner name: ORAC HOLDING NV

PG25 Lapsed in a contracting state [announced via postgrant information from national office to epo]

Ref country code: FR

Free format text: LAPSE BECAUSE OF NON-PAYMENT OF DUE FEES

Effective date: 20130531

PLBB Reply of patent proprietor to notice(s) of opposition received

Free format text: ORIGINAL CODE: EPIDOSNOBS3

PG25 Lapsed in a contracting state [announced via postgrant information from national office to epo]

Ref country code: MT

Free format text: LAPSE BECAUSE OF FAILURE TO SUBMIT A TRANSLATION OF THE DESCRIPTION OR TO PAY THE FEE WITHIN THE PRESCRIBED TIME-LIMIT

Effective date: 20130109

PG25 Lapsed in a contracting state [announced via postgrant information from national office to epo]

Ref country code: TR

Free format text: LAPSE BECAUSE OF FAILURE TO SUBMIT A TRANSLATION OF THE DESCRIPTION OR TO PAY THE FEE WITHIN THE PRESCRIBED TIME-LIMIT

Effective date: 20130109

PG25 Lapsed in a contracting state [announced via postgrant information from national office to epo]

Ref country code: LU

Free format text: LAPSE BECAUSE OF NON-PAYMENT OF DUE FEES

Effective date: 20130522

Ref country code: HU

Free format text: LAPSE BECAUSE OF FAILURE TO SUBMIT A TRANSLATION OF THE DESCRIPTION OR TO PAY THE FEE WITHIN THE PRESCRIBED TIME-LIMIT; INVALID AB INITIO

Effective date: 20080522

APBM Appeal reference recorded

Free format text: ORIGINAL CODE: EPIDOSNREFNO

APBP Date of receipt of notice of appeal recorded

Free format text: ORIGINAL CODE: EPIDOSNNOA2O

APAH Appeal reference modified

Free format text: ORIGINAL CODE: EPIDOSCREFNO

APBM Appeal reference recorded

Free format text: ORIGINAL CODE: EPIDOSNREFNO

APBP Date of receipt of notice of appeal recorded

Free format text: ORIGINAL CODE: EPIDOSNNOA2O

APBQ Date of receipt of statement of grounds of appeal recorded

Free format text: ORIGINAL CODE: EPIDOSNNOA3O

APBU Appeal procedure closed

Free format text: ORIGINAL CODE: EPIDOSNNOA9O

PLAY Examination report in opposition despatched + time limit

Free format text: ORIGINAL CODE: EPIDOSNORE2

PLBC Reply to examination report in opposition received

Free format text: ORIGINAL CODE: EPIDOSNORE3

PLAY Examination report in opposition despatched + time limit

Free format text: ORIGINAL CODE: EPIDOSNORE2

PLBC Reply to examination report in opposition received

Free format text: ORIGINAL CODE: EPIDOSNORE3

PLAT Information related to reply to examination report in opposition deleted

Free format text: ORIGINAL CODE: EPIDOSDORE3

PLBC Reply to examination report in opposition received

Free format text: ORIGINAL CODE: EPIDOSNORE3

PUAH Patent maintained in amended form

Free format text: ORIGINAL CODE: 0009272

STAA Information on the status of an ep patent application or granted ep patent

Free format text: STATUS: PATENT MAINTAINED AS AMENDED

27A Patent maintained in amended form

Effective date: 20230823

AK Designated contracting states

Kind code of ref document: B2

Designated state(s): AT BE BG CH CY CZ DE DK EE ES FI FR GB GR HR HU IE IS IT LI LT LU LV MC MT NL NO PL PT RO SE SI SK TR

REG Reference to a national code

Ref country code: DE

Ref legal event code: R102

Ref document number: 602008021483

Country of ref document: DE

PGFP Annual fee paid to national office [announced via postgrant information from national office to epo]

Ref country code: DE

Payment date: 20250521

Year of fee payment: 18

PGFP Annual fee paid to national office [announced via postgrant information from national office to epo]

Ref country code: GB

Payment date: 20250530

Year of fee payment: 18

PGFP Annual fee paid to national office [announced via postgrant information from national office to epo]

Ref country code: BE

Payment date: 20250428

Year of fee payment: 18