EP1967655A2 - Excavator bucket and crusher for a loader or excavator - Google Patents

Excavator bucket and crusher for a loader or excavator Download PDF

Info

Publication number
EP1967655A2
EP1967655A2 EP08151792A EP08151792A EP1967655A2 EP 1967655 A2 EP1967655 A2 EP 1967655A2 EP 08151792 A EP08151792 A EP 08151792A EP 08151792 A EP08151792 A EP 08151792A EP 1967655 A2 EP1967655 A2 EP 1967655A2
Authority
EP
European Patent Office
Prior art keywords
crusher
excavator bucket
excavator
crushing mechanism
projections
Prior art date
Legal status (The legal status is an assumption and is not a legal conclusion. Google has not performed a legal analysis and makes no representation as to the accuracy of the status listed.)
Withdrawn
Application number
EP08151792A
Other languages
German (de)
French (fr)
Inventor
Kaj Dam-Rasmussen
Current Assignee (The listed assignees may be inaccurate. Google has not performed a legal analysis and makes no representation or warranty as to the accuracy of the list.)
Viby Jern Danmark AS
Original Assignee
Viby Jern Danmark AS
Priority date (The priority date is an assumption and is not a legal conclusion. Google has not performed a legal analysis and makes no representation as to the accuracy of the date listed.)
Filing date
Publication date
Application filed by Viby Jern Danmark AS filed Critical Viby Jern Danmark AS
Publication of EP1967655A2 publication Critical patent/EP1967655A2/en
Withdrawn legal-status Critical Current

Links

Images

Classifications

    • EFIXED CONSTRUCTIONS
    • E02HYDRAULIC ENGINEERING; FOUNDATIONS; SOIL SHIFTING
    • E02FDREDGING; SOIL-SHIFTING
    • E02F3/00Dredgers; Soil-shifting machines
    • E02F3/04Dredgers; Soil-shifting machines mechanically-driven
    • E02F3/28Dredgers; Soil-shifting machines mechanically-driven with digging tools mounted on a dipper- or bucket-arm, i.e. there is either one arm or a pair of arms, e.g. dippers, buckets
    • E02F3/36Component parts
    • E02F3/40Dippers; Buckets ; Grab devices, e.g. manufacturing processes for buckets, form, geometry or material of buckets
    • E02F3/402Dippers; Buckets ; Grab devices, e.g. manufacturing processes for buckets, form, geometry or material of buckets with means for facilitating the loading thereof, e.g. conveyors
    • E02F3/404Dippers; Buckets ; Grab devices, e.g. manufacturing processes for buckets, form, geometry or material of buckets with means for facilitating the loading thereof, e.g. conveyors comprising two parts movable relative to each other, e.g. for gripping
    • BPERFORMING OPERATIONS; TRANSPORTING
    • B02CRUSHING, PULVERISING, OR DISINTEGRATING; PREPARATORY TREATMENT OF GRAIN FOR MILLING
    • B02CCRUSHING, PULVERISING, OR DISINTEGRATING IN GENERAL; MILLING GRAIN
    • B02C1/00Crushing or disintegrating by reciprocating members
    • B02C1/02Jaw crushers or pulverisers
    • B02C1/04Jaw crushers or pulverisers with single-acting jaws
    • BPERFORMING OPERATIONS; TRANSPORTING
    • B02CRUSHING, PULVERISING, OR DISINTEGRATING; PREPARATORY TREATMENT OF GRAIN FOR MILLING
    • B02CCRUSHING, PULVERISING, OR DISINTEGRATING IN GENERAL; MILLING GRAIN
    • B02C1/00Crushing or disintegrating by reciprocating members
    • B02C1/02Jaw crushers or pulverisers
    • B02C1/10Shape or construction of jaws
    • EFIXED CONSTRUCTIONS
    • E02HYDRAULIC ENGINEERING; FOUNDATIONS; SOIL SHIFTING
    • E02FDREDGING; SOIL-SHIFTING
    • E02F3/00Dredgers; Soil-shifting machines
    • E02F3/04Dredgers; Soil-shifting machines mechanically-driven
    • E02F3/28Dredgers; Soil-shifting machines mechanically-driven with digging tools mounted on a dipper- or bucket-arm, i.e. there is either one arm or a pair of arms, e.g. dippers, buckets
    • E02F3/36Component parts
    • E02F3/40Dippers; Buckets ; Grab devices, e.g. manufacturing processes for buckets, form, geometry or material of buckets
    • E02F3/402Dippers; Buckets ; Grab devices, e.g. manufacturing processes for buckets, form, geometry or material of buckets with means for facilitating the loading thereof, e.g. conveyors
    • E02F3/405Dippers; Buckets ; Grab devices, e.g. manufacturing processes for buckets, form, geometry or material of buckets with means for facilitating the loading thereof, e.g. conveyors using vibrating means
    • EFIXED CONSTRUCTIONS
    • E02HYDRAULIC ENGINEERING; FOUNDATIONS; SOIL SHIFTING
    • E02FDREDGING; SOIL-SHIFTING
    • E02F3/00Dredgers; Soil-shifting machines
    • E02F3/04Dredgers; Soil-shifting machines mechanically-driven
    • E02F3/96Dredgers; Soil-shifting machines mechanically-driven with arrangements for alternate or simultaneous use of different digging elements
    • E02F3/965Dredgers; Soil-shifting machines mechanically-driven with arrangements for alternate or simultaneous use of different digging elements of metal-cutting or concrete-crushing implements
    • EFIXED CONSTRUCTIONS
    • E04BUILDING
    • E04GSCAFFOLDING; FORMS; SHUTTERING; BUILDING IMPLEMENTS OR AIDS, OR THEIR USE; HANDLING BUILDING MATERIALS ON THE SITE; REPAIRING, BREAKING-UP OR OTHER WORK ON EXISTING BUILDINGS
    • E04G23/00Working measures on existing buildings
    • E04G23/08Wrecking of buildings
    • E04G23/082Wrecking of buildings using shears, breakers, jaws and the like

Definitions

  • the present invention concerns an excavator bucket and crusher for a loader or excavator and of the kind specified in the preamble of claim 1.
  • Prior art excavator buckets and crushers are very large and complicated tools requiring very large and space-consuming loaders or excavators which additionally are very expensive in acquisition and service.
  • the excavator bucket and crusher is characterised in that the movable part of the crushing mechanism includes gripping means arranged to grip and clamp an object which is to be picked up for crushing by means of the crushing mechanism, and that the stationary part of the crushing mechanism is constituted by a grating-shaped wall section of the excavator bucket and crusher.
  • the excavator bucket and crusher according to the invention may be suitably designed so that the stationary part of the crushing mechanism is designed with rows of tooth-like projections, and that the movable part of the crushing mechanism is also designed with rows of tooth-like projections arranged to engage the tooth-like projections of the stationary part of the crushing mechanism, as respective tooth-like projections of respective parts of the crushing mechanism are mutually complementary in position, i.e. engaging between and with each other.
  • the excavator bucket and crusher according to the invention may advantageously be further designed so that the tooth-like projections on the stationary, grate-shaped open wall section of the excavator bucket are narrow and mutually spaced apart so that the tooth-like projections of the movable part of the crushing mechanism may be inserted between the narrow projections of the stationary grate-shaped wall section of the excavator bucket and crusher.
  • the excavator bucket and crusher according to the invention may be designed so that the tooth-like narrow projections of the stationary part of the excavator bucket and crusher are designed with transverse grooves.
  • the excavator bucket and crusher according to the invention may be designed so that the said stationary part of the crusher mechanism is constituted by a plate-shaped wall section of the excavator bucket, the wall section including a convex, curving, plate-shaped reinforcement which is designed with rows of tooth-like projections that positionally are complementary to rows of tooth-like projections of the movable part of the crushing mechanism.
  • the excavator bucket and crusher is closed downwards by means of a plate-shaped wall section constituting the stationary part of the crushing mechanism, so that it becomes easier to control the discharge of crushed material from the crushing mechanism.
  • the discharge of crushed material may hereby e.g. be loaded more easily into a container constituting a temporary depot, as the crushed material - as mentioned in the introduction - according to official requirements is to be recycled to the greatest possible extent at the demolition site as filler material at the construction of new buildings replacing demolished buildings.
  • the excavator bucket and crusher according to the invention is suitably designed so that the crushing mechanism is drivingly connected with or includes two hydraulic cylinders which are disposed with mutually spacing at each their side of the excavator bucket and crusher.
  • this may suitably designed with a socket part adapted to interact with a fast-action coupling disposed at the said extreme end of the excavator arm.
  • the excavator bucket and crusher according to the invention may advantageously be designed so as to include a vibrator mechanism mounted either at the stationary part or the movable part of the crushing mechanism.
  • the excavator bucket and crusher according to the invention may in an optimal way be designed so that vibrator mechanism is constituted by a hydraulic vibrator which is effectively connected with the movable part of the crushing mechanism.
  • FIG. 1 An embodiment of a combined excavator bucket and crusher 2 is shown in Fig. 1 , where the excavator bucket and crusher 2 is mounted by means of a fast-action coupling 4 at the extreme end 6 of an articulated excavator arm 8 of an medium-sized excavator 10.
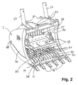
  • the excavator bucket and crusher 2 cf. Fig. 1 , is shown separately in Figs. 2-4 , in which it clearly appears that the excavator bucket and crusher 2 is predominantly designed as a common medium-sized excavator bucket where a stationary part 11 of a crushing mechanism 12 is constituted by a grate-shaped wall 14 of the excavator bucket and crusher 2 which is provided with standard digging teeth 16 and connecting parts 18, 20 adapted for connecting the excavator bucket and crusher 2 with the fast-action coupling 4 so that the excavator bucket and crusher 2 may be rapidly substituted by another tool.
  • the crushing mechanism 12 is driven by two hydraulic cylinders 22 and includes a movable part 24 which by means of plate-shaped pivoting arms 26 are pivotably suspended about a transverse axis of pivot 28 arranged between sidewalls 30 of the excavator bucket and crusher 2.
  • the movable part 24 is provided along a free outer edge 32 with projecting gripping means 34 intended for use in picking up objects to be crushed by means of the excavator bucket and crusher 2, as such a crushing object is jammed between the stationary part 11, i.e. the grate-shaped wall 14 and the gripping means 34, before the excavator bucket and crusher 2 is pivoted upwards to a position where its opening is predominantly facing upwards, so that the crushing object is brought in place between respective active parts of the crushing mechanism 12, after which the latter is activated by means of the hydraulic cylinders 22 so that crushing object or objects are crushed before discharge from the excavator bucket and crusher 2 through the grate-shaped wall 14. It may be necessary to activate the crushing mechanism several times until the crushing object has been comminuted so much that all parts thereof can pass out through the grate-shaped wall 14.
  • movable part 24 is provided with rows of tooth-like projections 36 which by disposition are complementary to projections 38 on single plate slats 40 of the grate-shaped wall 14.
  • the grate-shaped wall 14 of the excavator bucket and crusher 2 includes strong transverse rods 42 that run through the slats 40 and which are connected with these and with the sidewalls 30 of the bucket.
  • the projections 38 on the slats 40 are disposed opposite the tooth-like projections 36 of the movable part 24 so that these positionally complementary parts contribute to make efficient the crushing action of the excavator bucket and crusher 2.
  • the excavator bucket and crusher 2 may advantageously - as shown with punctuated lines in Fig. 4 - be provided with a preferably hydraulic vibrating mechanism 58 which has been fitted upon the bucket between the hydraulic cylinders 22, and which via an actuator arm 60 is effectively connected with the movable part 24 of the crushing mechanism 12.
  • a hydraulic vibration mechanism may be placed inside the excavator bucket and crusher 2 directly on top of the movable part 24 of the crushing mechanism 12.
  • Fig. 5 an alternative embodiment of a excavator bucket and crusher 44 which instead of the grate-shaped wall 14 is provided with a closed plate-shaped wall 46 which opposite tooth-like projections 48 of a movable part 50 is provided with a convex, curving reinforcement plate 52 provided with tooth-like projections 54 which positionally are complementary to the projections 48, i.e. may interact with these with the intention of making efficient the crushing action of the excavator bucket and crusher 44.
  • the movable part 50 is provided with gripping means 56 which are intended for use in collecting crushing objects which thereby may be clamped between the gripping means 56 and the stationary part in the form of the closed plate-shaped wall 46.
  • gripping means 56 which are intended for use in collecting crushing objects which thereby may be clamped between the gripping means 56 and the stationary part in the form of the closed plate-shaped wall 46.
  • identical parts of the excavator bucket and crushers 2 and 44, respectively, are provided with identical reference terms.

Landscapes

  • Engineering & Computer Science (AREA)
  • Mechanical Engineering (AREA)
  • Structural Engineering (AREA)
  • Architecture (AREA)
  • Civil Engineering (AREA)
  • Mining & Mineral Resources (AREA)
  • General Engineering & Computer Science (AREA)
  • Food Science & Technology (AREA)
  • Chemical & Material Sciences (AREA)
  • Chemical Kinetics & Catalysis (AREA)
  • Electrochemistry (AREA)
  • Crushing And Grinding (AREA)
  • Working Measures On Existing Buildindgs (AREA)
  • Shovels (AREA)

Abstract

An excavator bucket and crusher (2) for a loader or excavator (10), adapted for being mounted at an extreme end (6) of a articulated excavator arm (8) of the excavator or loader (10), the excavator bucket and crusher (2) including a crushing mechanism (12) with a stationary part (11) and a movable part (24) which is pivotably suspended in relation to the stationary part (11), and which is drivingly connected with one or more hydraulic cylinders (22), wherein the movable part (24) of the crushing mechanism (12) includes gripping means (34) arranged to grip and clamp an object which is to be picked up for crushing by means of the crushing mechanism (12), and that the stationary part (11) of the crushing mechanism (12) is constituted by a grating-shaped wall section (14) of the excavator bucket and crusher (2). By means of simple technical measures there is hereby enabled an efficient three-in-one excavator bucket and crusher that optionally may be used for excavation, crushing or sorting work and which is particularly suited for work in densely populated areas, as it may be handled by a small or intermediately sized loader or excavator.

Description

    Field of the Invention
  • The present invention concerns an excavator bucket and crusher for a loader or excavator and of the kind specified in the preamble of claim 1.
  • Background of the invention
  • By demolition works it is expected in the future that official requirements will be encountered more often prohibiting moving away demolished material from the construction site, and which instead is to be reused on the spot. In the UK and in the Netherlands, for example, these kind of requirements are already established by the authorities when the case is demolition and/or enlargement of buildings in densely populated areas, i.e. in particular urban areas.
  • Prior art excavator buckets and crushers are very large and complicated tools requiring very large and space-consuming loaders or excavators which additionally are very expensive in acquisition and service.
  • Object of the Invention
  • On this background, it is the object of the invention to indicate a new and improved excavator bucket and crusher for a loader or excavator of the kind indicated in the introduction, and which by means of simple technical measures enables achieving a very efficient excavator bucket and crusher which is particularly suited for work in densely populated areas, and which may be handled by a small or medium-sized loader or excavator.
  • Description of the Invention
  • The excavator bucket and crusher is characterised in that the movable part of the crushing mechanism includes gripping means arranged to grip and clamp an object which is to be picked up for crushing by means of the crushing mechanism, and that the stationary part of the crushing mechanism is constituted by a grating-shaped wall section of the excavator bucket and crusher.
  • By means of simple technical measures there is hereby enabled achieving a very efficient excavator bucket and crusher which is particularly suited for work in densely populated areas, as it may be handled by a small or medium-sized loader or excavator.
  • In other words, we are speaking of a three-in-one excavator bucket and crusher that optionally may be used for excavation, crushing or sorting work. By crushing and sorting work it is at the same time possible to achieve a rapid and efficient emptying of crushed material as the stationary part of the crushing mechanism is constituted by a grate-shaped, open wall section of the stationary part of the excavator bucket and crusher.
  • With the intention of making efficient the crushing mechanism itself, the excavator bucket and crusher according to the invention may be suitably designed so that the stationary part of the crushing mechanism is designed with rows of tooth-like projections, and that the movable part of the crushing mechanism is also designed with rows of tooth-like projections arranged to engage the tooth-like projections of the stationary part of the crushing mechanism, as respective tooth-like projections of respective parts of the crushing mechanism are mutually complementary in position, i.e. engaging between and with each other.
  • With the intention of achieving an efficient comminution of the crushed material, the excavator bucket and crusher according to the invention may advantageously be further designed so that the tooth-like projections on the stationary, grate-shaped open wall section of the excavator bucket are narrow and mutually spaced apart so that the tooth-like projections of the movable part of the crushing mechanism may be inserted between the narrow projections of the stationary grate-shaped wall section of the excavator bucket and crusher.
  • In order to make efficient the gripping action when picking up stone or concrete objects to be crushed, the excavator bucket and crusher according to the invention may be designed so that the tooth-like narrow projections of the stationary part of the excavator bucket and crusher are designed with transverse grooves.
  • In an alternative embodiment, the excavator bucket and crusher according to the invention may be designed so that the said stationary part of the crusher mechanism is constituted by a plate-shaped wall section of the excavator bucket, the wall section including a convex, curving, plate-shaped reinforcement which is designed with rows of tooth-like projections that positionally are complementary to rows of tooth-like projections of the movable part of the crushing mechanism.
  • In some situations it may be advantageous that the excavator bucket and crusher is closed downwards by means of a plate-shaped wall section constituting the stationary part of the crushing mechanism, so that it becomes easier to control the discharge of crushed material from the crushing mechanism.
  • In practice, the discharge of crushed material may hereby e.g. be loaded more easily into a container constituting a temporary depot, as the crushed material - as mentioned in the introduction - according to official requirements is to be recycled to the greatest possible extent at the demolition site as filler material at the construction of new buildings replacing demolished buildings.
  • The excavator bucket and crusher according to the invention is suitably designed so that the crushing mechanism is drivingly connected with or includes two hydraulic cylinders which are disposed with mutually spacing at each their side of the excavator bucket and crusher.
  • With the intention of rapid mounting and dismounting of the excavator bucket and crusher according to the invention, this may suitably designed with a socket part adapted to interact with a fast-action coupling disposed at the said extreme end of the excavator arm.
  • With the object of making the excavator bucket and crusher according to the invention more efficient, it may advantageously be designed so as to include a vibrator mechanism mounted either at the stationary part or the movable part of the crushing mechanism.
  • The excavator bucket and crusher according to the invention may in an optimal way be designed so that vibrator mechanism is constituted by a hydraulic vibrator which is effectively connected with the movable part of the crushing mechanism.
  • Description of the Drawing
  • The invention is explained in more detail below in connection with the drawing, on which:
  • Fig. 1
    shows a plan view of an embodiment of an excavator bucket and crusher according to the invention, shown mounted at an extreme end of an articulated excavator arm of an excavator;
    Fig. 2
    shows a perspective view of an embodiment of an excavator bucket and crusher according to the invention, viewed obliquely from above and with a crushing mechanism in an intermediate position;
    Fig. 3
    shows a perspective view of the excavator bucket and crusher according to Fig. 2, as seen with completely open crushing mechanism;
    Fig. 4
    shows a perspective view of the excavator bucket and crusher according to Fig. 2, viewed obliquely from below and with the crushing mechanism in an intermediate position; and
    Fig. 5
    shows a plan view of a second embodiment of an excavator bucket and crusher according to the invention, as seen with the crushing mechanism in open and closed positions, respectively.
    Detailed Description of the Invention
  • An embodiment of a combined excavator bucket and crusher 2 is shown in Fig. 1, where the excavator bucket and crusher 2 is mounted by means of a fast-action coupling 4 at the extreme end 6 of an articulated excavator arm 8 of an medium-sized excavator 10.
  • The excavator bucket and crusher 2, cf. Fig. 1, is shown separately in Figs. 2-4, in which it clearly appears that the excavator bucket and crusher 2 is predominantly designed as a common medium-sized excavator bucket where a stationary part 11 of a crushing mechanism 12 is constituted by a grate-shaped wall 14 of the excavator bucket and crusher 2 which is provided with standard digging teeth 16 and connecting parts 18, 20 adapted for connecting the excavator bucket and crusher 2 with the fast-action coupling 4 so that the excavator bucket and crusher 2 may be rapidly substituted by another tool.
  • The crushing mechanism 12 is driven by two hydraulic cylinders 22 and includes a movable part 24 which by means of plate-shaped pivoting arms 26 are pivotably suspended about a transverse axis of pivot 28 arranged between sidewalls 30 of the excavator bucket and crusher 2.
  • The movable part 24 is provided along a free outer edge 32 with projecting gripping means 34 intended for use in picking up objects to be crushed by means of the excavator bucket and crusher 2, as such a crushing object is jammed between the stationary part 11, i.e. the grate-shaped wall 14 and the gripping means 34, before the excavator bucket and crusher 2 is pivoted upwards to a position where its opening is predominantly facing upwards, so that the crushing object is brought in place between respective active parts of the crushing mechanism 12, after which the latter is activated by means of the hydraulic cylinders 22 so that crushing object or objects are crushed before discharge from the excavator bucket and crusher 2 through the grate-shaped wall 14. It may be necessary to activate the crushing mechanism several times until the crushing object has been comminuted so much that all parts thereof can pass out through the grate-shaped wall 14.
  • In Figs. 3 and 4 is clearly seen that the movable part 24 is provided with rows of tooth-like projections 36 which by disposition are complementary to projections 38 on single plate slats 40 of the grate-shaped wall 14.
  • In Figs. 2 and 3 it also appears that the grate-shaped wall 14 of the excavator bucket and crusher 2 includes strong transverse rods 42 that run through the slats 40 and which are connected with these and with the sidewalls 30 of the bucket. The projections 38 on the slats 40 are disposed opposite the tooth-like projections 36 of the movable part 24 so that these positionally complementary parts contribute to make efficient the crushing action of the excavator bucket and crusher 2.
  • The excavator bucket and crusher 2 may advantageously - as shown with punctuated lines in Fig. 4 - be provided with a preferably hydraulic vibrating mechanism 58 which has been fitted upon the bucket between the hydraulic cylinders 22, and which via an actuator arm 60 is effectively connected with the movable part 24 of the crushing mechanism 12. Alternatively, a hydraulic vibration mechanism may be placed inside the excavator bucket and crusher 2 directly on top of the movable part 24 of the crushing mechanism 12.
  • In Fig. 5 is shown an alternative embodiment of a excavator bucket and crusher 44 which instead of the grate-shaped wall 14 is provided with a closed plate-shaped wall 46 which opposite tooth-like projections 48 of a movable part 50 is provided with a convex, curving reinforcement plate 52 provided with tooth-like projections 54 which positionally are complementary to the projections 48, i.e. may interact with these with the intention of making efficient the crushing action of the excavator bucket and crusher 44.
  • This is particularly efficient in crushing small crushing objects contained in more fine-grained material, and which by means of the closed excavator bucket and crusher 44 is easier to handle and to unload for temporary storage in a container depot.
  • Along a front edge, the movable part 50 is provided with gripping means 56 which are intended for use in collecting crushing objects which thereby may be clamped between the gripping means 56 and the stationary part in the form of the closed plate-shaped wall 46. Besides, identical parts of the excavator bucket and crushers 2 and 44, respectively, are provided with identical reference terms.

Claims (9)

  1. An excavator bucket and crusher (2) for a loader or excavator (10), adapted for being mounted at an extreme end (6) of a articulated excavator arm (8) of the excavator or loader (10), the excavator bucket and crusher (2) including a crushing mechanism (12) with a stationary part (11) and a movable part (24) which is pivotably suspended in relation to the stationary part (11), and which is drivingly connected with one or more hydraulic cylinders (22), characterised in that the movable part (24) of the crushing mechanism (12) includes gripping means (34) arranged to grip and clamp an object which is to be picked up for crushing by means of the crushing mechanism (12), and that the stationary part (11) of the crushing mechanism (12) is constituted by a grating-shaped wall section (14) of the excavator bucket and crusher (2).
  2. Excavator bucket and crusher (2) according to claim 1, characterised in that the stationary part (11) of the crushing mechanism (12) is designed with rows of tooth-like projections (38), and that the movable part (24) of the crushing mechanism (12) is designed with rows of tooth-like projections (36) arranged to engage the tooth-like projections (38) of the stationary part (11) of the crushing mechanism (12), as respective tooth-like projections (36, 38) of respective parts (12, 24) of the crushing mechanism (12) are mutually complementary in position, i.e. engaging between and with each other.
  3. Excavator bucket and crusher (2) according to claims 1-2, characterised in that the tooth-like projections (38) on the stationary, grate-shaped open wall section (14) of the excavator bucket are narrow and mutually spaced apart so that the tooth-like projections (36) of the movable part (24) of the crushing mechanism (12) may be inserted between the narrow projections (38) of the stationary grate-shaped wall section (14) of the excavator bucket and crusher (2).
  4. Excavator bucket and crusher (2) according to claim 3, characterised in that the tooth-like narrow projections (38) of the stationary part (11) of the excavator bucket and crusher (2) are designed with transverse grooves.
  5. Excavator bucket and crusher according to claim 1, characterised in that the stationary part of the crusher mechanism is constituted by a plate-shaped wall section of the excavator bucket, the wall section including a convex, curving, plate-shaped reinforcement which is designed with rows of tooth-like projections that positionally are complementary to rows of tooth-like projections of the movable part of the crushing mechanism.
  6. Excavator bucket and crusher (2) according to claim 1, characterised in that the crushing mechanism (12) is drivingly connected with or includes two hydraulic cylinders (22) which are disposed with mutually spacing at each their side of the excavator bucket and crusher (2).
  7. Excavator bucket and crusher according to claim 1, characterised in that it is provided with a socket part (18, 20) adapted to interact with a fast-action coupling disposed at the said extreme end (6) of the excavator arm (8).
  8. Excavator bucket and crusher according to claim 1, characterised in that it includes a vibrator mechanism (58) mounted either at the stationary part (11) or the movable part (24) of the crushing mechanism (12).
  9. Excavator bucket and crusher according to claim 1 and 8, characterised in that vibrator mechanism is constituted by a hydraulic vibrator (58) which is effectively connected with the movable part (24) of the crushing mechanism (12).
EP08151792A 2007-03-07 2008-02-22 Excavator bucket and crusher for a loader or excavator Withdrawn EP1967655A2 (en)

Applications Claiming Priority (1)

Application Number Priority Date Filing Date Title
DKPA200700353 2007-03-07

Publications (1)

Publication Number Publication Date
EP1967655A2 true EP1967655A2 (en) 2008-09-10

Family

ID=39651094

Family Applications (1)

Application Number Title Priority Date Filing Date
EP08151792A Withdrawn EP1967655A2 (en) 2007-03-07 2008-02-22 Excavator bucket and crusher for a loader or excavator

Country Status (1)

Country Link
EP (1) EP1967655A2 (en)

Cited By (5)

* Cited by examiner, † Cited by third party
Publication number Priority date Publication date Assignee Title
KR100966650B1 (en) * 2007-11-27 2010-06-29 박정열 Vibrating nippers
JP2016125212A (en) * 2014-12-26 2016-07-11 株式会社小松製作所 Multipurpose bucket device and work vehicle equipped with the same
US10519621B2 (en) 2011-05-02 2019-12-31 Joy Global Surface Mining Inc Straight taper dipper
JP2020100946A (en) * 2018-12-20 2020-07-02 小倉商事株式会社 Demolition method and protective member
JP2020122265A (en) * 2019-01-29 2020-08-13 五洋建設株式会社 Treatment device for viscous soil, treatment method of viscous soil, and bucket

Cited By (6)

* Cited by examiner, † Cited by third party
Publication number Priority date Publication date Assignee Title
KR100966650B1 (en) * 2007-11-27 2010-06-29 박정열 Vibrating nippers
US10519621B2 (en) 2011-05-02 2019-12-31 Joy Global Surface Mining Inc Straight taper dipper
US10934682B2 (en) 2011-05-02 2021-03-02 Joy Global Surface Mining Inc Straight taper dipper
JP2016125212A (en) * 2014-12-26 2016-07-11 株式会社小松製作所 Multipurpose bucket device and work vehicle equipped with the same
JP2020100946A (en) * 2018-12-20 2020-07-02 小倉商事株式会社 Demolition method and protective member
JP2020122265A (en) * 2019-01-29 2020-08-13 五洋建設株式会社 Treatment device for viscous soil, treatment method of viscous soil, and bucket

Similar Documents

Publication Publication Date Title
US4838493A (en) Concrete crusher
US4217000A (en) Cutter device for breaking and crushing reinforced concrete
US8464972B2 (en) Concrete pulverizer
US20020124442A1 (en) Demo-Dozer
KR20080050563A (en) Shredding device for excavators with replaceable jaw assemblies
EP1967655A2 (en) Excavator bucket and crusher for a loader or excavator
EP0582746A1 (en) Concrete breaker
US6129298A (en) Concrete pulverizer with adjustable ripping element
AU2002302058A1 (en) Excavator Sizing Bucket
US6523284B1 (en) Multi-purpose material handling apparatus
US6601891B1 (en) Grapple attachment
US20110013982A1 (en) Compaction Apparatus and Method of Use
US9127442B1 (en) Bucket, breaker, and gripping apparatus for an excavator boom stick
JP2005220513A (en) Open / close crushing bucket and crushing method
WO1992018708A1 (en) Concrete deck pulverizer
JP2000220163A (en) Hydraulic shovel with bucket and pinching tool
AU2008202666B2 (en) Improved jaw crusher bucket
GB2243358A (en) Multipurpose attachment for excavators and the like
CN100575621C (en) Crusher bucket with crushing cover
JPH0720336U (en) Drilling bucket
GB2343472A (en) Apparatus and method for recycling materials
WO1991014835A1 (en) Multipurpose attachment for excavators and the like
JP3395110B2 (en) Bucket with separated opening
JP6626863B2 (en) Pavement slab breaking bucket, construction machine using the bucket, and pavement slab breaking method
EP0698688B1 (en) Machine for removing and breaking pavement

Legal Events

Date Code Title Description
PUAI Public reference made under article 153(3) epc to a published international application that has entered the european phase

Free format text: ORIGINAL CODE: 0009012

AK Designated contracting states

Kind code of ref document: A2

Designated state(s): AT BE BG CH CY CZ DE DK EE ES FI FR GB GR HR HU IE IS IT LI LT LU LV MC MT NL NO PL PT RO SE SI SK TR

AX Request for extension of the european patent

Extension state: AL BA MK RS

STAA Information on the status of an ep patent application or granted ep patent

Free format text: STATUS: THE APPLICATION IS DEEMED TO BE WITHDRAWN

18D Application deemed to be withdrawn

Effective date: 20120901