EP1908700A2 - Wrap-around carton with dispensing feature - Google Patents
Wrap-around carton with dispensing feature Download PDFInfo
- Publication number
- EP1908700A2 EP1908700A2 EP07024266A EP07024266A EP1908700A2 EP 1908700 A2 EP1908700 A2 EP 1908700A2 EP 07024266 A EP07024266 A EP 07024266A EP 07024266 A EP07024266 A EP 07024266A EP 1908700 A2 EP1908700 A2 EP 1908700A2
- Authority
- EP
- European Patent Office
- Prior art keywords
- panel
- carrier
- dispenser
- flap
- partially
- Prior art date
- Legal status (The legal status is an assumption and is not a legal conclusion. Google has not performed a legal analysis and makes no representation as to the accuracy of the status listed.)
- Granted
Links
- 230000004044 response Effects 0.000 claims abstract description 7
- 230000014759 maintenance of location Effects 0.000 claims description 26
- 239000000463 material Substances 0.000 description 14
- 230000008901 benefit Effects 0.000 description 5
- 239000000969 carrier Substances 0.000 description 5
- 238000000034 method Methods 0.000 description 3
- 230000002829 reductive effect Effects 0.000 description 3
- 230000000717 retained effect Effects 0.000 description 3
- 239000000853 adhesive Substances 0.000 description 2
- 230000001070 adhesive effect Effects 0.000 description 2
- 239000004927 clay Substances 0.000 description 2
- 239000011248 coating agent Substances 0.000 description 2
- 238000000576 coating method Methods 0.000 description 2
- 239000012050 conventional carrier Substances 0.000 description 2
- 239000000123 paper Substances 0.000 description 2
- 239000011087 paperboard Substances 0.000 description 2
- 230000000284 resting effect Effects 0.000 description 2
- 230000003313 weakening effect Effects 0.000 description 2
- 238000007792 addition Methods 0.000 description 1
- 230000004888 barrier function Effects 0.000 description 1
- 235000013361 beverage Nutrition 0.000 description 1
- 239000011111 cardboard Substances 0.000 description 1
- 230000001010 compromised effect Effects 0.000 description 1
- 239000003292 glue Substances 0.000 description 1
- 238000004519 manufacturing process Methods 0.000 description 1
- 238000012986 modification Methods 0.000 description 1
- 230000004048 modification Effects 0.000 description 1
- 230000036961 partial effect Effects 0.000 description 1
- 230000008569 process Effects 0.000 description 1
- 230000000452 restraining effect Effects 0.000 description 1
- 239000002966 varnish Substances 0.000 description 1
Images
Classifications
-
- B—PERFORMING OPERATIONS; TRANSPORTING
- B65—CONVEYING; PACKING; STORING; HANDLING THIN OR FILAMENTARY MATERIAL
- B65D—CONTAINERS FOR STORAGE OR TRANSPORT OF ARTICLES OR MATERIALS, e.g. BAGS, BARRELS, BOTTLES, BOXES, CANS, CARTONS, CRATES, DRUMS, JARS, TANKS, HOPPERS, FORWARDING CONTAINERS; ACCESSORIES, CLOSURES, OR FITTINGS THEREFOR; PACKAGING ELEMENTS; PACKAGES
- B65D71/00—Bundles of articles held together by packaging elements for convenience of storage or transport, e.g. portable segregating carrier for plural receptacles such as beer cans or pop bottles; Bales of material
- B65D71/06—Packaging elements holding or encircling completely or almost completely the bundle of articles, e.g. wrappers
- B65D71/12—Packaging elements holding or encircling completely or almost completely the bundle of articles, e.g. wrappers the packaging elements, e.g. wrappers being formed by folding a single blank
- B65D71/14—Packaging elements holding or encircling completely or almost completely the bundle of articles, e.g. wrappers the packaging elements, e.g. wrappers being formed by folding a single blank having the shape of a tube, without, or not being characterised by, end walls
- B65D71/34—Packaging elements holding or encircling completely or almost completely the bundle of articles, e.g. wrappers the packaging elements, e.g. wrappers being formed by folding a single blank having the shape of a tube, without, or not being characterised by, end walls characterised by weakened lines or other opening devices
-
- B—PERFORMING OPERATIONS; TRANSPORTING
- B65—CONVEYING; PACKING; STORING; HANDLING THIN OR FILAMENTARY MATERIAL
- B65D—CONTAINERS FOR STORAGE OR TRANSPORT OF ARTICLES OR MATERIALS, e.g. BAGS, BARRELS, BOTTLES, BOXES, CANS, CARTONS, CRATES, DRUMS, JARS, TANKS, HOPPERS, FORWARDING CONTAINERS; ACCESSORIES, CLOSURES, OR FITTINGS THEREFOR; PACKAGING ELEMENTS; PACKAGES
- B65D71/00—Bundles of articles held together by packaging elements for convenience of storage or transport, e.g. portable segregating carrier for plural receptacles such as beer cans or pop bottles; Bales of material
- B65D71/06—Packaging elements holding or encircling completely or almost completely the bundle of articles, e.g. wrappers
- B65D71/12—Packaging elements holding or encircling completely or almost completely the bundle of articles, e.g. wrappers the packaging elements, e.g. wrappers being formed by folding a single blank
- B65D71/14—Packaging elements holding or encircling completely or almost completely the bundle of articles, e.g. wrappers the packaging elements, e.g. wrappers being formed by folding a single blank having the shape of a tube, without, or not being characterised by, end walls
-
- B—PERFORMING OPERATIONS; TRANSPORTING
- B65—CONVEYING; PACKING; STORING; HANDLING THIN OR FILAMENTARY MATERIAL
- B65D—CONTAINERS FOR STORAGE OR TRANSPORT OF ARTICLES OR MATERIALS, e.g. BAGS, BARRELS, BOTTLES, BOXES, CANS, CARTONS, CRATES, DRUMS, JARS, TANKS, HOPPERS, FORWARDING CONTAINERS; ACCESSORIES, CLOSURES, OR FITTINGS THEREFOR; PACKAGING ELEMENTS; PACKAGES
- B65D2571/00—Bundles of articles held together by packaging elements for convenience of storage or transport, e.g. portable segregating carrier for plural receptacles such as beer cans, pop bottles; Bales of material
- B65D2571/00123—Bundling wrappers or trays
- B65D2571/00129—Wrapper locking means
- B65D2571/00135—Wrapper locking means integral with the wrapper
- B65D2571/00141—Wrapper locking means integral with the wrapper glued
-
- B—PERFORMING OPERATIONS; TRANSPORTING
- B65—CONVEYING; PACKING; STORING; HANDLING THIN OR FILAMENTARY MATERIAL
- B65D—CONTAINERS FOR STORAGE OR TRANSPORT OF ARTICLES OR MATERIALS, e.g. BAGS, BARRELS, BOTTLES, BOXES, CANS, CARTONS, CRATES, DRUMS, JARS, TANKS, HOPPERS, FORWARDING CONTAINERS; ACCESSORIES, CLOSURES, OR FITTINGS THEREFOR; PACKAGING ELEMENTS; PACKAGES
- B65D2571/00—Bundles of articles held together by packaging elements for convenience of storage or transport, e.g. portable segregating carrier for plural receptacles such as beer cans, pop bottles; Bales of material
- B65D2571/00123—Bundling wrappers or trays
- B65D2571/00129—Wrapper locking means
- B65D2571/00135—Wrapper locking means integral with the wrapper
- B65D2571/00154—Wrapper locking means integral with the wrapper interlocked
- B65D2571/0016—Wrapper locking means integral with the wrapper interlocked by tabs protruding from one end and co-operating with openings at the other end
-
- B—PERFORMING OPERATIONS; TRANSPORTING
- B65—CONVEYING; PACKING; STORING; HANDLING THIN OR FILAMENTARY MATERIAL
- B65D—CONTAINERS FOR STORAGE OR TRANSPORT OF ARTICLES OR MATERIALS, e.g. BAGS, BARRELS, BOTTLES, BOXES, CANS, CARTONS, CRATES, DRUMS, JARS, TANKS, HOPPERS, FORWARDING CONTAINERS; ACCESSORIES, CLOSURES, OR FITTINGS THEREFOR; PACKAGING ELEMENTS; PACKAGES
- B65D2571/00—Bundles of articles held together by packaging elements for convenience of storage or transport, e.g. portable segregating carrier for plural receptacles such as beer cans, pop bottles; Bales of material
- B65D2571/00123—Bundling wrappers or trays
- B65D2571/00129—Wrapper locking means
- B65D2571/00135—Wrapper locking means integral with the wrapper
- B65D2571/00154—Wrapper locking means integral with the wrapper interlocked
- B65D2571/0016—Wrapper locking means integral with the wrapper interlocked by tabs protruding from one end and co-operating with openings at the other end
- B65D2571/00166—Wrapper locking means integral with the wrapper interlocked by tabs protruding from one end and co-operating with openings at the other end and serving as contents separators or locators
-
- B—PERFORMING OPERATIONS; TRANSPORTING
- B65—CONVEYING; PACKING; STORING; HANDLING THIN OR FILAMENTARY MATERIAL
- B65D—CONTAINERS FOR STORAGE OR TRANSPORT OF ARTICLES OR MATERIALS, e.g. BAGS, BARRELS, BOTTLES, BOXES, CANS, CARTONS, CRATES, DRUMS, JARS, TANKS, HOPPERS, FORWARDING CONTAINERS; ACCESSORIES, CLOSURES, OR FITTINGS THEREFOR; PACKAGING ELEMENTS; PACKAGES
- B65D2571/00—Bundles of articles held together by packaging elements for convenience of storage or transport, e.g. portable segregating carrier for plural receptacles such as beer cans, pop bottles; Bales of material
- B65D2571/00123—Bundling wrappers or trays
- B65D2571/00129—Wrapper locking means
- B65D2571/00135—Wrapper locking means integral with the wrapper
- B65D2571/00154—Wrapper locking means integral with the wrapper interlocked
- B65D2571/00172—Wrapper locking means integral with the wrapper interlocked by tabs cut within one end and facing towards the other end when blank is unfolded, and co-operting with openings at the other end
-
- B—PERFORMING OPERATIONS; TRANSPORTING
- B65—CONVEYING; PACKING; STORING; HANDLING THIN OR FILAMENTARY MATERIAL
- B65D—CONTAINERS FOR STORAGE OR TRANSPORT OF ARTICLES OR MATERIALS, e.g. BAGS, BARRELS, BOTTLES, BOXES, CANS, CARTONS, CRATES, DRUMS, JARS, TANKS, HOPPERS, FORWARDING CONTAINERS; ACCESSORIES, CLOSURES, OR FITTINGS THEREFOR; PACKAGING ELEMENTS; PACKAGES
- B65D2571/00—Bundles of articles held together by packaging elements for convenience of storage or transport, e.g. portable segregating carrier for plural receptacles such as beer cans, pop bottles; Bales of material
- B65D2571/00123—Bundling wrappers or trays
- B65D2571/00246—Locating elements for the contents
- B65D2571/00253—Locating elements for the contents integral with the wrapper
- B65D2571/00277—Slits or openings formed along a fold line
-
- B—PERFORMING OPERATIONS; TRANSPORTING
- B65—CONVEYING; PACKING; STORING; HANDLING THIN OR FILAMENTARY MATERIAL
- B65D—CONTAINERS FOR STORAGE OR TRANSPORT OF ARTICLES OR MATERIALS, e.g. BAGS, BARRELS, BOTTLES, BOXES, CANS, CARTONS, CRATES, DRUMS, JARS, TANKS, HOPPERS, FORWARDING CONTAINERS; ACCESSORIES, CLOSURES, OR FITTINGS THEREFOR; PACKAGING ELEMENTS; PACKAGES
- B65D2571/00—Bundles of articles held together by packaging elements for convenience of storage or transport, e.g. portable segregating carrier for plural receptacles such as beer cans, pop bottles; Bales of material
- B65D2571/00123—Bundling wrappers or trays
- B65D2571/00246—Locating elements for the contents
- B65D2571/00253—Locating elements for the contents integral with the wrapper
- B65D2571/00302—Locating elements for the contents integral with the wrapper consisting of an inward deformation of at least a wall, e.g. embossed, keels
-
- B—PERFORMING OPERATIONS; TRANSPORTING
- B65—CONVEYING; PACKING; STORING; HANDLING THIN OR FILAMENTARY MATERIAL
- B65D—CONTAINERS FOR STORAGE OR TRANSPORT OF ARTICLES OR MATERIALS, e.g. BAGS, BARRELS, BOTTLES, BOXES, CANS, CARTONS, CRATES, DRUMS, JARS, TANKS, HOPPERS, FORWARDING CONTAINERS; ACCESSORIES, CLOSURES, OR FITTINGS THEREFOR; PACKAGING ELEMENTS; PACKAGES
- B65D2571/00—Bundles of articles held together by packaging elements for convenience of storage or transport, e.g. portable segregating carrier for plural receptacles such as beer cans, pop bottles; Bales of material
- B65D2571/00123—Bundling wrappers or trays
- B65D2571/00432—Handles or suspending means
- B65D2571/00438—Holes
- B65D2571/00444—Holes for fingers
-
- B—PERFORMING OPERATIONS; TRANSPORTING
- B65—CONVEYING; PACKING; STORING; HANDLING THIN OR FILAMENTARY MATERIAL
- B65D—CONTAINERS FOR STORAGE OR TRANSPORT OF ARTICLES OR MATERIALS, e.g. BAGS, BARRELS, BOTTLES, BOXES, CANS, CARTONS, CRATES, DRUMS, JARS, TANKS, HOPPERS, FORWARDING CONTAINERS; ACCESSORIES, CLOSURES, OR FITTINGS THEREFOR; PACKAGING ELEMENTS; PACKAGES
- B65D2571/00—Bundles of articles held together by packaging elements for convenience of storage or transport, e.g. portable segregating carrier for plural receptacles such as beer cans, pop bottles; Bales of material
- B65D2571/00123—Bundling wrappers or trays
- B65D2571/00555—Wrapper opening devices
- B65D2571/00561—Lines of weakness
- B65D2571/00574—Lines of weakness whereby contents can still be carried after the line has been torn
-
- B—PERFORMING OPERATIONS; TRANSPORTING
- B65—CONVEYING; PACKING; STORING; HANDLING THIN OR FILAMENTARY MATERIAL
- B65D—CONTAINERS FOR STORAGE OR TRANSPORT OF ARTICLES OR MATERIALS, e.g. BAGS, BARRELS, BOTTLES, BOXES, CANS, CARTONS, CRATES, DRUMS, JARS, TANKS, HOPPERS, FORWARDING CONTAINERS; ACCESSORIES, CLOSURES, OR FITTINGS THEREFOR; PACKAGING ELEMENTS; PACKAGES
- B65D2571/00—Bundles of articles held together by packaging elements for convenience of storage or transport, e.g. portable segregating carrier for plural receptacles such as beer cans, pop bottles; Bales of material
- B65D2571/00123—Bundling wrappers or trays
- B65D2571/00648—Elements used to form the wrapper
- B65D2571/00654—Blanks
- B65D2571/0066—Blanks formed from one single sheet
-
- B—PERFORMING OPERATIONS; TRANSPORTING
- B65—CONVEYING; PACKING; STORING; HANDLING THIN OR FILAMENTARY MATERIAL
- B65D—CONTAINERS FOR STORAGE OR TRANSPORT OF ARTICLES OR MATERIALS, e.g. BAGS, BARRELS, BOTTLES, BOXES, CANS, CARTONS, CRATES, DRUMS, JARS, TANKS, HOPPERS, FORWARDING CONTAINERS; ACCESSORIES, CLOSURES, OR FITTINGS THEREFOR; PACKAGING ELEMENTS; PACKAGES
- B65D2571/00—Bundles of articles held together by packaging elements for convenience of storage or transport, e.g. portable segregating carrier for plural receptacles such as beer cans, pop bottles; Bales of material
- B65D2571/00123—Bundling wrappers or trays
- B65D2571/00709—Shape of the formed wrapper, i.e. shape of each formed element if the wrapper is made from more than one element
- B65D2571/00722—Shape of the formed wrapper, i.e. shape of each formed element if the wrapper is made from more than one element tubular with end walls, e.g. walls not extending on the whole end surface
- B65D2571/00759—Shape of the formed wrapper, i.e. shape of each formed element if the wrapper is made from more than one element tubular with end walls, e.g. walls not extending on the whole end surface the end walls having a part tucked between side, top or bottom wall and contents or between two articles
-
- B—PERFORMING OPERATIONS; TRANSPORTING
- B65—CONVEYING; PACKING; STORING; HANDLING THIN OR FILAMENTARY MATERIAL
- B65D—CONTAINERS FOR STORAGE OR TRANSPORT OF ARTICLES OR MATERIALS, e.g. BAGS, BARRELS, BOTTLES, BOXES, CANS, CARTONS, CRATES, DRUMS, JARS, TANKS, HOPPERS, FORWARDING CONTAINERS; ACCESSORIES, CLOSURES, OR FITTINGS THEREFOR; PACKAGING ELEMENTS; PACKAGES
- B65D2571/00—Bundles of articles held together by packaging elements for convenience of storage or transport, e.g. portable segregating carrier for plural receptacles such as beer cans, pop bottles; Bales of material
- B65D2571/00123—Bundling wrappers or trays
- B65D2571/00709—Shape of the formed wrapper, i.e. shape of each formed element if the wrapper is made from more than one element
- B65D2571/00722—Shape of the formed wrapper, i.e. shape of each formed element if the wrapper is made from more than one element tubular with end walls, e.g. walls not extending on the whole end surface
- B65D2571/00765—Shape of the formed wrapper, i.e. shape of each formed element if the wrapper is made from more than one element tubular with end walls, e.g. walls not extending on the whole end surface the end walls being retained in closed position by their own rigidity
-
- B—PERFORMING OPERATIONS; TRANSPORTING
- B65—CONVEYING; PACKING; STORING; HANDLING THIN OR FILAMENTARY MATERIAL
- B65D—CONTAINERS FOR STORAGE OR TRANSPORT OF ARTICLES OR MATERIALS, e.g. BAGS, BARRELS, BOTTLES, BOXES, CANS, CARTONS, CRATES, DRUMS, JARS, TANKS, HOPPERS, FORWARDING CONTAINERS; ACCESSORIES, CLOSURES, OR FITTINGS THEREFOR; PACKAGING ELEMENTS; PACKAGES
- B65D2571/00—Bundles of articles held together by packaging elements for convenience of storage or transport, e.g. portable segregating carrier for plural receptacles such as beer cans, pop bottles; Bales of material
- B65D2571/00123—Bundling wrappers or trays
- B65D2571/00833—Other details of wrappers
- B65D2571/00845—Windows
Definitions
- the present invention relates to a carrier package comprising a carrier and a plurality of containers located within said carrier.
- a wrap-around carrier is conventionally formed by wrapping a carrier blank around a set of containers, and connecting opposite ends of the blank to one another with adhesive material or mechanical locks.
- a conventional wrap-around carrier is typically separated at the connected blank ends, or portions of the carrier are torn at the ends of the carrier, to allow removal of the containers held within the carrier.
- the present invention aims at improving such carriers for containers to be packaged therein in that the risk for containers to fall out of the carrier is reduced.
- the carrier package of the present invention thus, comprises a specific retention panel extending completely across the first end of the carrier or a retention flap that is not in contact with either of the first and second side panels respectively.
- wrap-around carriers typically do not have a dispensing feature that is defined where containers contained in the carrier can be dispensed in a controlled manner.
- conventional wrap-around carriers suffer from the disadvantage that once open, they can no longer hold containers or the overall integrity of the carrier is compromised.
- wrap-around carriers that have dispensing features. More generally described, there is a need for wrap-around carriers that provide a new balance of properties.
- the wrap-around carrier further comprises a drop down gusset on its rear end to further restrain the articles within the carrier from falling out of the carrier.
- the drop down gusset provides an additional area for printed information or the like.
- the present invention generally relates to a wrap-around article carrier with tuck-in flaps, gussets and a dispensing feature.
- the carrier generally is held together by a locking system and accommodates a plurality of containers to form a carrier package.
- the tuck-in flaps and gussets are proximate on the open ends of the wrap-around article carrier to retain the articles securely inside the carrier package and to allow information printed on the articles such as product information, brand information, logos, and other information to be viewed by potential customers.
- the carrier package may occupy less area than conventional carrier packages.
- the carrier package when dispensing is desired, the carrier package is placed on its side panel and the dispensing feature is removed from the carrier package to form an opening from which articles are dispensed.
- the integrity of the carrier is substantially preserved after the dispensing feature is removed.
- the remaining tuck-in flaps and gussets can help to retain the articles inside the carrier package so the articles can be dispensed in a controlled fashion after the removal of the dispensing feature.
- the wrap-around carrier package is constructed by engaging primary or secondary locks. In another embodiment of the present invention, the wrap-around carrier package is constructed by engaging primary or secondary locks with a divider guard feature to further restrain the articles within the carrier from falling out of the carrier.
- the wrap-around carrier in addition has push-in tabs on its rear end to further restrain the articles within the carrier from falling out of the carrier.
- the carrier package comprises a carrier and a plurality of containers located within the carrier, the carrier comprising a top panel, a first side panel adjacent to the top panel, a second side panel adjacent to the top panel and disposed on a side of the carrier package opposite to the first side panel, a bottom panel adjacent to each of the first and second side panels and opposite from the top panel, a first upper gusset at least partially closing an upper part of a first end of the carrier, a first lower gusset at least partially closing a lower part of the first end of the carrier, a second upper gusset at least partially closing an upper part of a second end of the carrier, a second lower gusset at least partially closing a lower part of the second end of the carrier, and a dispenser pattern extending at least partially across each of the top panel, the bottom panel, and at least one of the first and second side panels, with the dispenser pattern defining a dispenser flap that is at least partially removable from a remainder of the carrier so that a dispenser opening is defined by the remainder
- the dispenser pattern may comprise at least one tear line.
- the carrier package further may comprise a retention panel, wherein the carrier includes opposite first and second ends that are each open, the retention panel extends completely across the first end, and the dispenser flap is adjacent the second end.
- the carrier package may further comprise a retention flap that is not in contact with either of the first and second side panels and extends downwardly from the top panel to partially obstruct an open end of the carrier.
- the carrier package may further comprise a retention flap that is not in contact with either of the first and second side panels and extends upwardly from the bottom panel to partially obstruct an open end of the carrier.
- a blank for erecting into a wrap-around carrier may comprise a top panel, a first side panel foldably connected to the top panel, a second side panel that is opposite from the first side panel and is foldably connected to the top panel, a first bottom panel foldably connected to the first side panel, and a second bottom panel foldably connected to the second side panel, wherein the first bottom panel and the second bottom panel are for being secured together when the blank is erected into the wrap-around carrier, and wherein a dispenser pattern extends at least partially across each of the top panel, at least one of the first and second side panels, and at least one of the first and second bottom panels, with the dispenser pattern defining a dispenser flap for being at least partially removable from a remainder of the blank.
- the dispenser pattern may comprise at least one tear line.
- the first bottom panel may include securing features for operatively interacting with securing features of the second bottom panel to secure the first and second bottom panels together when the blank is erected into the wrap-around carrier.
- the securing features of the first bottom panel may include at least one locking flap, and the securing features of the second bottom panel may include at least one opening for at least partially holding the locking flap.
- the blank may further comprise at least one retaining flap in the second bottom panel, wherein the retaining flap is for being held in an erected configuration by the locking flap when the carrier is erected from the blank.
- the blank may further comprise a push-in tab defined by at least one cut in a rear end of the top panel.
- the blank may further comprise a push-in tab defined by at least one cut in a rear end of the top panel.
- the blank may further comprise a first front tuck-in panel connected to a front end of the first side panel, a first rear tuck-in panel connected to a rear end of the first side panel, a second front tuck-in panel connected to a front end of the second side panel, a second rear tuck-in panel connected to a rear end of the second side panel, a first front retaining panel foldably connected between the first front tuck-in panel and a right front truncated corner of the first bottom panel, a first rear retaining panel foldably connected between the first rear tuck-in panel and a right rear truncated corner of the first bottom panel, a second front retaining panel foldably connected between the first front tuck-in panel and a left front truncated corner of the top panel, a second rear retaining panel foldably connected between the first rear tuck-in panel and
- the blank may further comprise a dividing fold line that divides the second rear retaining panel into two foldably connected portions along the dividing fold line.
- the blank may further comprise a dividing fold line that divides the third rear retaining panel into two foldably connected portions along the dividing fold line.
- the blank may further comprise a cut line separating a portion of the top panel defined by the area between the second rear retaining panel and the third rear retaining panel from the top panel to form a drop down gusset.
- a carrier package comprises a carrier and a plurality of containers located within the carrier, the carrier comprising a top panel, a first side panel adjacent to the top panel, a second side panel adjacent to the top panel and disposed on a side of the carrier package opposite to the first side panel, a bottom panel adjacent to each of the first and second side panels and opposite from the top panel, the bottom panel comprising a first bottom panel joined to a second bottom panel by at least primary male and primary female locking elements, at least one first gusset at least partially closing a first end of the carrier, at least one second gusset at least partially closing a second end of the carrier, and a dispenser pattern extending at least partially across each of the top panel, the bottom panel, and at least one of the first and second side panels, with the dispenser pattern defining a dispenser flap that is at least partially removable from a remainder of the carrier so that a dispenser opening is defined by the remainder of the carrier in response to the dispenser flap having been at least partially removed from the remainder of the
- the first and second bottom panels may be further secured by secondary male and secondary female locking elements.
- the dispenser pattern may comprise at least one tear line.
- the carrier package may further comprise a retention panel, wherein the carrier includes opposite first and second ends that are each open, the retention panel extends completely across the first end, and the dispenser flap is adjacent the second end.
- the carrier package may further comprise a retention flap that is not in contact with either of the first and second side panels and extends downwardly from the top panel to partially obstruct an open end of the carrier.
- the carrier package may further comprise a retention flap that is not in contact with either of the first and second side panels and extends upwardly from the bottom panel to partially obstruct an open end of the carrier.
- a carrier package comprises a carrier and a plurality of containers located within the carrier, the carrier comprising a top panel, a first side panel adjacent to the top panel, a second side panel adjacent to the top panel and disposed on a side of the carrier package opposite to the first side panel, a bottom panel adjacent to each of the first and second side panels and opposite from the top panel, the bottom panel comprising a first bottom panel joined to a second bottom panel, and a dispenser pattern extending at least partially across each of the top panel, the bottom panel, and at least one of the first and second side panels, with the dispenser pattern defining a dispenser flap that is at least partially removable from a remainder of the carrier so that a dispenser opening is defined by the remainder of the carrier in response to the dispenser flap having been at least partially removed from the remainder of the carrier; wherein the dispenser flap is configured so that when the dispenser flap is at least partially removed so that the dispenser opening is defined by the remainder of the carrier, the containers can be dispensed through the dispenser opening.
- first and second bottom panels may be secured by primary male and primary female locking elements.
- the first and second bottom panels may be further secured by secondary male and secondary female locking elements.
- the carrier package may further comprise a retention panel, wherein the carrier includes opposite first and second ends that are each open, the retention panel extends completely across the first end, and the dispenser flap is adjacent the second end.
- the carrier package may further comprise a retention flap that is not in contact with either of the first and second side panels and extends downwardly from the top panel to partially obstruct an open end of the carrier.
- the carrier package may further comprise a retention flap that is not in contact with either of the first and second side panels and extends upwardly from the bottom panel to partially obstruct an open end of the carrier.
- FIG. 1 is a plan view of a blank 8 used to form a carrier package 150 (illustrated in FIGS. 4-12 ) according to a first embodiment of the present invention.
- the blank 8 comprises a first or inner bottom panel 30 foldably connected to a first side panel 50 at a fold line 33, a top panel 20 foldably connected to the first side panel 50 at a fold line 25, a second side panel 60 foldably connected to the top panel 20 at a fold line 29, and a second or outer bottom panel 40 foldably connected to the second side panel 60 at a fold line 45.
- the blank 8 is generally rectangular in shape.
- the exterior or print side of the blank 8 is illustrated in FIG. 1 , whereas the interior side of the blank is partially shown in FIGS. 2-3 .
- the top panel 20 has a generally rectangular shape with truncated corners and curved cut outs 21a, 21b.
- the curved cut outs 21a, 21b can be shaped and sized so that the top panel 20 generally conforms to shapes of the containers C held within the finished carrier package 150 ( FIG. 7 ).
- the inner bottom panel 30 includes cut outs forming primary female locking edges 38a, 38b, 38c that are adapted to respectively engage primary male locking tabs 48a, 48b, 48c of the outer bottom panel 40.
- the inner bottom panel 30 also includes slits 32a, 32b, 32c adapted to respectively receive secondary male locking flaps 42a, 42b, 42c extending from the outer bottom panel 40.
- the outer bottom panel 40 includes a fold line 47 which is interrupted by the slits that define the primary male locking tabs 48a, 48b, 48c.
- the secondary male locking flaps 42a, 42b, 42c are connected along the interrupted fold line 47 and each flap includes an intermediate fold line 43a-c.
- bottom panel locking means may be employed.
- glue or other adhesive material, or other suitable fastening means may be used to secure the bottom panels 30, 40 together.
- a description of an alternative locking system is discussed below with reference to FIG. 14 .
- a first front tuck-in panel 52a is foldably connected to the front end of the first side panel 50 at a fold line 51a .
- a first rear tuck-in panel 52b is foldably connected to the rear end of the first side panel 50 at a fold line 51b.
- a second front tuck-in panel 62a is foldably connected to the front end of the second side panel 60 at a fold line 61 a.
- a second rear tuck-in panel 62b is foldably connected to the rear end of the second side panel 60 at a fold line 61b.
- a first front retaining panel 56a is foldably connected to a right front truncated corner of the inner bottom panel 30 at a fold line 53a, and to the first front tuck-in panel 52a at a fold line 55a.
- a first rear retaining panel 56b is foldably connected to a right rear truncated corner of the inner bottom panel 30 at a fold line 53b, and to the first rear tuck-in panel 52b at a fold line 55b.
- a second front retaining panel 54a is foldably connected to the first front tuck-in panel 52a at a fold line 57a, and to a left front truncated corner of the top panel 20 at a fold line 59a.
- a second rear retaining panel 54b is foldably connected to the first rear tuck-in panel 52b at a fold line 57b, and to a left rear truncated corner of the top panel 20 at a fold line 59b.
- a third front retaining panel 64a is foldably connected to a right front truncated corner of the top panel 20 at a fold line 63a, and to the second front tuck-in panel 62a at a fold line 65a.
- a third rear retaining panel 64b is foldably connected to a right rear truncated corner of the top panel 20 at a fold line 63b, and to the second rear tuck-in panel 62b at a fold line 65b.
- a fourth front retaining panel 66a is foldably connected to the second front tuck-in panel 62a at a fold line 67a, and to a left front truncated corner of the outer bottom panel 40 at a fold line 69a.
- a fourth rear retaining panel 66b is foldably connected to the second rear tuck-in panel 62b at a fold line 67b and to a left rear truncated corner of the outer bottom panel 40 at a fold line 69b.
- One or more of the fold lines 55a, 57a, 55b, 57b, 65a, 67a, 65b, 67b may include, for example, one or more slits.
- the slits may extend to the respective edges of the blank 8 to facilitate folding of the tuck-in panels.
- a dispenser pattern 100 is defined in the blank 8.
- the dispenser pattern 100 may be defined by tear lines 71 and 75.
- the illustrated dispenser pattern 100 extends across a portion of each of the top panel 20, the second side panel 60 and the outer bottom panel 40 proximate the front end of the blank 8.
- the dispenser pattern 100 defines a dispensing feature 70.
- the illustrated dispenser pattern 100 also includes a fold line 73, a curved fold line 77, and slits 78 respectively extending from the two ends of the curved fold line 77 to the tear line 75.
- the lines 73, 77 define a pulling tab 74 in the dispensing feature 70.
- the portion of the dispensing feature 70 that is surrounded by cut lines 71 and the fold line 73 forms an extension pulling tab 72 that is an extension of the pulling tab 74.
- Cut outs 84a-g are respectively formed between each retaining panel and associated side panel. Compressing cut outs 82a-f are respectively formed in the inner bottom panel 30 and the outer bottom panel 40 along fold lines 33 and 45. The compressing cut outs 82a-f can receive the heels of the containers C retained in the erected carrier 150.
- a viewing aperture 80 can be formed in the blank 8 by removing a portion of the outer bottom panel 40. Apertures 80a, 80b can also be formed in the top panel 20 (shown in FIG. 13 ) or in the first side panel 50 (not shown).
- FIG. 2 illustrates an initial step in erection of the carrier package 150, in which containers C are placed top side down on the interior side of the top panel 20 of the blank 8.
- the side panels 50, 60 are then folded upwardly toward the containers C.
- the tuck-in panels 52a, 52b, 62a, 62b are tucked inwardly about the fold lines 51a, 51b, 61a, 61b respectively.
- the retaining panels 54a, 54b, 56a, 56b, 64a, 64b, 66a, 66b are drawn inwardly so as to respectively partially wrap around portions of the containers C and to form gussets.
- the tuck-in panels 52a, 52b, 62a, 62b and retaining panels 54a, 54b, 56a, 56b, 64a, 64b, 66a, 66b are held in place by virtue of the tuck-in panels 52a, 52b, 62a, 62b being respectively sandwiched between the cans C and the side panels 50, 60.
- the outer bottom panel 40 is secured to the inner bottom panel 30 by first respectively engaging primary male locking tabs 48a, 48b, 48c with primary female locking edges 38a, 38b, 38c.
- the male locking flaps 42a, 42b, 42c are respectively inserted through, and cooperatively interact with, the slits 32a, 32b, 32c to further secure the outer bottom panel 40 to the inner bottom panel 30.
- the secured together inner bottom panel 30 and outer bottom panel 40 form a bottom panel 125.
- the heels of containers C are respectively associated with the compressing cut outs 82a-f to allow tighter wrapping of the carrier package 150 around containers C.
- FIG. 5 is a front view of the erected carrier package 150.
- the retaining panels 54a, 56a respectively abut the containers C adjacent thereto and form a pair of gussets 54a, 56a.
- the retaining panels 64a, 66a respectively abut the adjacent containers C and form a pair of gussets 64a, 66a.
- the gussets 54a, 64a secure the top portion of the containers C from the front end.
- FIG. 6 is a rear view of the erected carrier package 150.
- the retaining panels 54b, 56b respectively abut the adjacent containers C and form a pair of gussets 54b, 56b.
- the retaining panels 64b, 66b respectively abut the adjacent containers C and form a pair of gussets 64b, 66b.
- the upper gussets 54b, 64b secure the top portion of the containers C from the rear end.
- the lower gussets 56b, 66b secure the bottom portion of the containers C from the rear end.
- FIGS. 7-9 are perspective views of the erected carrier package 150.
- the carrier package 150 rests on its bottom panel 125.
- the carrier package 150 rests on its first side panel 50 with the dispensing feature 70 facing upwardly.
- the dispensing panel 70 is defined by the dispenser pattern 100.
- the containers C are retained by gussets 64a, 66a, 54a, 56a from the front end, and by gussets 64b, 66b, 54b, 56b from the rear end.
- FIG. 10 the carrier package 150 rests on the first side panel 50.
- a user starts to open the dispensing feature 70 by pulling the pulling tab 74 and the extension pulling tab 72 outwardly.
- FIG. 11 illustrates the dispensing feature 70 being further pulled away from the carrier 150.
- FIG. 12 illustrates the dispensing feature 70 being completely removed with the containers C retained within the carrier package 150.
- the carrier package 150 can be opened to allow dispensing of individual containers in a controlled manner.
- the carrier is wrapped very tightly around the containers, the package allows for efficient use of shipping, storage, and display space.
- FIG. 13 is a plan view of a blank 208 used to form a carrier package according to a second embodiment of the present invention.
- the second embodiment of the present invention is like the first embodiment of the present invention, except for variations noted and variations that will be apparent to those of ordinary skill in the art in view of this disclosure.
- the dispensing panel of the second embodiment of the present invention is different from the dispensing panel in the first embodiment of the present invention.
- the dispensing panel 270 has the pulling tab 274 but does not include the extension pulling tab 72 ( FIG. 1 ).
- the pulling tab 274 is defined by a portion of the cut line 275 and the curved fold line 277.
- the apertures 80a, 80b are each shown to be removably obstructed by a flap, but the apertures as well as the flaps covering them are optional.
- FIG. 14 is a plan view of a blank 408 used to form a wrap-around carrier package 550 (illustrated in FIGS. 15-18 ) according to a third embodiment of the present invention.
- the blank 408 of the third embodiment is identical to the blank 8 of the first embodiment, which is illustrated in FIG. 1 , except for variations noted and variations that will be apparent to those of ordinary skill in the art in view of this disclosure.
- Some of the features of the third embodiment that have some general similarity to, or are identical to, features of the first embodiment are respectively identified with the same reference numbers except that four hundred has been added to the subject reference numbers of the third embodiment.
- the locking system of the third embodiment of the present invention is different from the locking system in the first embodiment of the present invention.
- the carrier 550 formed from the blank 408 includes divider guards 128a, 128b ( FIGS. 16 and 17 ) that serve to further retain containers C within the carrier 550.
- the blank 408 comprises a first or inner bottom panel 430 foldably connected to a first side panel 50 at a fold line 33, a top panel 20 foldably connected to the first side panel 50 at a fold line 25, a second side panel 60 foldably connected to the top panel 20 at a fold line 29, and a second or outer bottom panel 440 foldably connected to the second side panel 60 at a fold line 45.
- the inner bottom panel 430 includes cutouts forming primary female locking edges 438a, 438b, 438c that are adapted to engage primary male locking tabs 448a, 448b, 448c respectively on the outer bottom panel 440.
- the inner bottom panel 430 also includes slits 432a, 432b, 432c adapted to respectively receive secondary male locking flaps 442a, 442b, 442c extending from the outer bottom panel 440.
- the outer bottom panel 440 includes a fold line 447 which is interrupted by the slits that define the primary male locking tabs 448a, 448b, 448c.
- the secondary male locking flaps 442a, 442b, 442c are connected along the interrupted fold line 447 and each flap includes an intermediate fold line 443a-c.
- Primary female locking edges 438a proximate the front end of the blank 408 and primary locking edge 438b proximate the rear end of the blank 408 respectively have flaps 120a and 120b associated therewith.
- the flaps 120a and 120b are separated from the inner bottom panel 430 by cut lines 127a and 127b respectively and are foldably connected to the inner bottom panel 430 at fold lines 121a and 121b, respectively.
- On flap 120a two additional fold lines 123a and 125a converge at a slit 113a, generally forming a triangle with the fold line 121a.
- flap 120b two additional fold lines 123b and 125b converge at a slit 113b, generally forming a triangle with the fold line 121b.
- the male locking flap 442a has two asymmetrical edges 112a and 114a.
- the male locking flap 442b has two asymmetrical edges 112b and 114b.
- the flaps 120a, 120b are folded inwardly so that they each engage a respective outer pair of the containers C, and at least the male locking flaps 442a, 442b are folded about ninety degrees about their fold lines 443a, 443b so that the locking flaps 442a, 442b respectively extend between adjacent containers C.
- Each of the flaps 120a, 120b will respectively engage lower portions of two adjacent cans, as illustrated in at least FIGS. 16 and 17 .
- the male locking flap 442c is also folded about ninety degrees about its fold line 443c so that the locking flap 442c extends between the interior pair of adjacent containers C.
- the erected carrier 550 is held closed, in part, by the edge 114b of the male locking flap 442b engaging the inner bottom panel 430 proximate a curved end portion of the slit 432b, the edges 115a, 115b of the male locking flap 442 respectively engaging the inner bottom panel 430 proximate the opposite curved end portions of the slit 432c, and the edge 114a of the male locking flap 442a engaging the inner bottom panel 430 proximate an end portion of the slit 432.
- edges 112a and 112b respectively of the male locking flaps 442a, 442b respectively engage with the slits 113a and 113b of the flaps 120a, 120b to secure the flaps in their erected positions and thereby form divider guards 128a (shown in FIGS. 16 and 18 ) and 128b (shown in FIG. 17 ) respectively.
- the edges 112a and 112b of the male locking flaps 442a, 442b can be at least somewhat hook-shaped to enhance their respective holding of the flaps 120a, 120b in their erected positions to thereby form the divider guards 128a, 128b
- FIG. 15 is a bottom plan view of the carrier package 550 erected from the blank 408.
- the outer bottom panel 440 engages the inner bottom panel 430 to form a bottom panel 525. Erecting the divider guards 128a and 128b leaves apertures 88a and 88b respectively in the bottom panel 525.
- the fold lines 443a, 443b, 443c are in line with slits 432a, 432b, 432c, to facilitate the male locking flaps 442a, 442b, 442c being erected to be upright or substantially perpendicular to the bottom panel 525.
- FIGS. 16 and 17 illustrate opposite ends of the carrier package 550 showing the divider guards 128a and 128b respectively.
- the divider guards 128a and 128b in the carrier package 550 further restrain the containers C so the containers C can be dispensed in a controlled manner.
- FIG. 18 illustrates the carrier package 550 in its dispensing configuration.
- the edge 112a of erected male locking flap 442a extends into the slit 113a to engage and secure the flap 120a to thereby form the divider guard 128a.
- This arrangement illustrated in FIG. 18 is representative of the manner in which the edge 112b of the erected male locking flap 442b engages with respect to the slit 113b in the flap 120b to form the divider guard 128b.
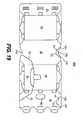
- FIG. 19 is a plan view of a blank 608 used to form a wrap-around carrier package 750 according to the fourth embodiment of the present invention.
- the fourth embodiment of the present invention is like the first embodiment of the present invention, except for variations noted and variations that will be apparent to those of ordinary skill in the art in view of this disclosure.
- Some of the features of the fourth embodiment that have some general similarity to, or are identical to, features of the first embodiment are respectively identified with the same reference numbers except that six hundred has been added to selected reference numbers of the fourth embodiment.
- the fourth embodiment of the present invention has cut lines 23 and 43 respectively in the top panel 20 and bottom panel 40 of the blank 608, to define push-in tabs 24 and 44.
- the carrier 750 formed from the blank 608 includes the push-in tabs 24 and 44 because they further retain containers C within the carrier 750.
- the cut lines 23 and 43 do not extend all the way to the rear edge of the blank 608. That is, the opposite ends of each of the cut lines 23 and 43 terminate proximate, yet distant from, the rear edge of the blank 608.
- fold lines 131 and 133 respectively extend from the opposite ends of the cut line 23 to the rear edge of the blank 608, and fold lines 135 and 137 respectively extend from the opposite ends of the cut line 43 to the rear edge of the blank 608.
- the push-in tab 24 is foldably connected to the top panel 20 at fold lines 131 and 133.
- the push-in tab 44 is foldably connected to the outer bottom panel 40 at fold lines 135 and 137.
- FIG. 20 illustrates the two push-in tabs 24 and 44 respectively restraining the top and bottom portions of containers C.
- FIG. 21 is a rear view of the erected carrier package 750 showing the two push-in tabs 24 and 44.
- FIG. 22 illustrates carrier package 750 resting on its first side panel 50, so that the push-in tab 44 on the bottom panel 40 is seen.
- FIG. 23 illustrates the carrier package 750 after the dispensing feature 70 ( FIGS. 19 , 21 and 22 ) has been removed.
- FIG. 24 is a plan view of a blank 808 used to form a wrap-around carrier package 950 according to a fifth embodiment of the present invention.
- the fifth embodiment of the present invention is like the first embodiment of the present invention, except for variations noted and variations that will be apparent to those of ordinary skill in the art in view of this disclosure.
- Some of the features of the fifth embodiment that have some general similarity to, or are identical to, features of the first embodiment are respectively identified with the same reference numbers except that eight hundred has been added to selected reference numbers of the fifth embodiment.
- the fifth embodiment of the present invention includes a drop down gusset 90. More specifically, the carrier 950 formed from the blank 808 includes the drop down gusset 90 to further retain containers C within the carrier 950.
- the blank 808 comprises a first or inner bottom panel 30 foldably connected to a first side panel 50 at a fold line 33, a top panel 820 foldably connected to the first side panel 50 at a fold line 25, a second side panel 60 foldably connected to the top panel 820 at a fold line 29, and a second or outer bottom panel 40 foldably connected to the second side panel 60 at a fold line 45.
- the top panel 820 has truncated corners defined by fold lines 59a, 63a, 859b and 863b respectively.
- a portion of the top panel 820 defined by the area between the fold lines 859b and 863b is separated from the top panel 820 by a cut line 27 and forms the drop down gusset 90.
- the cut line 27 is a slit in the top panel 820 that extends continuously between the fold lines 25, 29 by way of which the top panel 820 is respectively foldably connected to the side panels 50, 60.
- a first rear tuck-in panel 852b is foldably connected to the rear end of the first side panel 50 at a fold line 551b.
- a second rear tuck-in panel 862b is foldably connected to the rear end of the second side panel 60 at a fold line 661b.
- the area between the first rear tuck-in panel 852b and the drop down gusset 90 is divided into two foldably connected portions 92 and 94 along a fold line 91.
- the portion 92 is foldably connected to the first rear tuck-in panel 852b at a fold line 857b.
- the portion 94 is foldably connected to the drop down gusset 90 at the fold line 859b.
- the area between the drop down gusset 90 and the second rear tuck-in panel 862b is divided into two foldably connected portions 96 and 98 along a fold line 97.
- the portion 96 is foldably connected to the drop down gusset 90 at the fold line 863b.
- the portion 98 is foldably connected to the second rear tuck-in panel 862b at a fold line 865b.
- Cut out 884d is formed at an area that is generally between the first rear tuck-in panel 852b, the panels 92, 94 and the first side panel 50.
- Cut out 884f is formed at an area that is generally between the second rear tuck-in panel 862b, the panels 96, 98 and the second side panel 60.
- cut outs 84a-c, e, g, h are respectively formed between each retaining panel and associated side panel.
- the tuck-in panels 852b, 862b are respectively tucked inwardly about the fold lines 551b, 661 a.
- folding respectively occurs along fold lines 857b, 91, 859b, 863b, 97, 865b so that the drop down gusset 90 and portions 92, 94, 96, 98 become arranged as illustrated in FIGS. 25-27 .
- FIG. 25 is a rear view of a carrier package 950 erected from the blank 808 showing the drop down gusset 90.
- FIG. 26 is a rear perspective view of the carrier package 950 showing the drop down gusset 90.
- the drop down gusset 90 runs across the top of containers C and thus further restrains the containers C.
- the drop down gusset 90 as a unique design feature can be utilized to display information.
- FIG. 27 is a top view of the erected carrier package 950 resting on its first side panel, and this view illustrates that the drop down gusset 90 function to at least partially retain containers C (e.g., FIG. 27 ) in the carrier package 950 after the removal of the dispensing feature 70 (e.g., FIGS. 24 and 27 ).
- the drop down gusset 90 can also be folded inwardly so that the outwardly facing side of the gusset 90 shown in FIG. 26 abuts the containers C.
- FIGS. 1-12 illustrate a first aspect of the present invention that relates to the dispensing feature 70.
- FIG. 13 illustrates a second aspect of the present invention, wherein the pulling tab of the dispensing feature does not have an extension pulling tab.
- FIGS. 14- 18 illustrate a third aspect of the present invention, wherein an alternative type of locks are used to additionally form divider guards.
- FIGS. 19-23 illustrate a fourth aspect of the present invention wherein push-in tabs as a portion of the rear ends of the top panel and the outer bottom panel are used to further secure the containers inside the carrier packages.
- FIGS. 24-27 illustrate a fifth aspect of the present invention wherein a drop down gusset is used to further secure the containers inside the carrier package and as a site to display information.
- a blank utilizing locks disclosed in the blank 408 can be combined with the dispensing feature from the blank 208 ( FIG. 13 ) and can also have the drop down gusset feature from the blank 808 ( FIG. 24 ), with the rest of the features being the same as in the blank 8 ( FIG. 1 ).
- a blank utilizing the drop down gusset feature from the blank 808 can be combined with a push-in tab on the outer bottom panel as in the blank 608 ( FIG. 19 ), with the rest of the features being the same as in the blank 8.
- the carrier packages are shown as accommodating beverage containers. Other types of containers, however, can be accommodated within a carrier package according to the present invention.
- the dimensions of the blank 8 may also be altered, for example, to accommodate various container forms.
- various numbers of containers C can be accommodated in a carrier package according to principles of the present invention, for example, by adjusting the size of the blank 8.
- the top panel 20 and the first and second bottom panel 50, 60 can be enlarged or reduced in order to accommodate additional or less containers C.
- a carrier may be constructed to accommodate four containers arranged in two columns and two rows (2 x 2).
- a carrier may be constructed that accommodates eight containers arranged in two columns and four rows (2 x 4).
- a carrier may be constructed that accommodates six contains arranged in two columns and three rows (2 x 3).
- the blanks according to the present invention can be, for example, formed from coated paperboard and similar materials.
- the interior and/or exterior sides of the blanks can be coated with a clay coating.
- the clay coating may then be printed over with product, advertising, price coding, and other information or images.
- the blanks may then be coated with a varnish to protect any information printed on the blanks.
- the blanks may also be coated with, for example, a moisture barrier layer, on either or both sides of the blanks.
- the blanks may be constructed of paperboard of a caliper such that it is heavier and more rigid than ordinary paper.
- the blanks can also be constructed of other materials, such as cardboard, hard paper, or any other material having properties suitable for enabling the carrier package to function at least generally as described above.
- the blanks can also be laminated to or coated with one or more sheet-like materials at selected panels or panel sections.
- the carrier can be constructed from a blank that occupies less area than conventional carriers, and the blank may be stagger nested with similar blanks during production.
- a fold line can be any at least somewhat line-like arranged, although not necessarily straight, form of weakening that facilitates folding therealong; and a tear line can be any at least somewhat line-like arranged, although not necessarily straight, form of weakening that facilitates tearing therealong.
- conventional fold lines include: a crease, such as formed by folding; a score line, such as formed with a blunt scoring knife, or the like, which creates a crushed portion in the material along the desired line of weakness; a slit that extends partially into the material along the desired line of weakness, and/or a series of spaced apart slits that extend partially into and/or completely through the material along the desired line of weakness; or various combinations of these features.
- conventional tear lines include: a slit that extends partially into the material along the desired line of weakness, and/or a series of spaced apart slits that extend partially into and/or completely through the material along the desired line of weakness, or various combinations of these features.
- one type of conventional tear line is in the form of a series of spaced apart slits that extend completely through the material, with adjacent slits being spaced apart slightly so that a nick (e.g., a small somewhat bridging-like piece of the material) is defined between the adjacent slits for typically temporarily connecting the material across the tear line.
- the nicks are broken during tearing along the tear line.
- the nicks typically are a relatively small percentage of the tear line, and alternatively the nicks can be omitted from or torn in a tear line such that the tear line is a continuous cut line. That is, it is within the scope of the present invention for each of the tear lines to be replaced with a continuous slit, or the like.
Landscapes
- Engineering & Computer Science (AREA)
- Mechanical Engineering (AREA)
- Packages (AREA)
- Cartons (AREA)
- Containers And Packaging Bodies Having A Special Means To Remove Contents (AREA)
- Container Filling Or Packaging Operations (AREA)
Abstract
Description
- This application claims the benefit of
, andU.S. Provisional Application No. 60/657,133, filed February 28, 2005 , both of which are entirely incorporated herein by reference.U.S. Provisional Application No. 60/683,612, filed May 23, 2005 - The present invention relates to a carrier package comprising a carrier and a plurality of containers located within said carrier. Generally described, a wrap-around carrier is conventionally formed by wrapping a carrier blank around a set of containers, and connecting opposite ends of the blank to one another with adhesive material or mechanical locks. A conventional wrap-around carrier is typically separated at the connected blank ends, or portions of the carrier are torn at the ends of the carrier, to allow removal of the containers held within the carrier.
- The present invention aims at improving such carriers for containers to be packaged therein in that the risk for containers to fall out of the carrier is reduced.
- This object is achieved by carrier packages defined in
independent claims 1, 3, and 5. As identified in detail in the respective claims the carrier package of the present invention, thus, comprises a specific retention panel extending completely across the first end of the carrier or a retention flap that is not in contact with either of the first and second side panels respectively. - Further aspects and benefits of the present invention are readily ascertainable from the claims and the description of preferred embodiments.
- Conventional wrap-around carriers typically do not have a dispensing feature that is defined where containers contained in the carrier can be dispensed in a controlled manner. As a result, conventional wrap-around carriers suffer from the disadvantage that once open, they can no longer hold containers or the overall integrity of the carrier is compromised.
- There is therefore a need for wrap-around carriers that have dispensing features. More generally described, there is a need for wrap-around carriers that provide a new balance of properties.
- In a second aspect of the present invention, the wrap-around carrier further comprises a drop down gusset on its rear end to further restrain the articles within the carrier from falling out of the carrier. The drop down gusset provides an additional area for printed information or the like.
- In accordance with one further aspect, the present invention generally relates to a wrap-around article carrier with tuck-in flaps, gussets and a dispensing feature. The carrier generally is held together by a locking system and accommodates a plurality of containers to form a carrier package. The tuck-in flaps and gussets are proximate on the open ends of the wrap-around article carrier to retain the articles securely inside the carrier package and to allow information printed on the articles such as product information, brand information, logos, and other information to be viewed by potential customers. In addition, the carrier package may occupy less area than conventional carrier packages. In accordance with one example, when dispensing is desired, the carrier package is placed on its side panel and the dispensing feature is removed from the carrier package to form an opening from which articles are dispensed. The integrity of the carrier is substantially preserved after the dispensing feature is removed. Further, the remaining tuck-in flaps and gussets can help to retain the articles inside the carrier package so the articles can be dispensed in a controlled fashion after the removal of the dispensing feature.
- In one embodiment of the present invention, the wrap-around carrier package is constructed by engaging primary or secondary locks. In another embodiment of the present invention, the wrap-around carrier package is constructed by engaging primary or secondary locks with a divider guard feature to further restrain the articles within the carrier from falling out of the carrier.
- In one aspect of the present invention, the wrap-around carrier in addition has push-in tabs on its rear end to further restrain the articles within the carrier from falling out of the carrier.
- Those skilled in the art will appreciate the above stated advantages and other advantages and benefits of various additional aspects reading the following detailed description of the embodiments with reference to the below-listed drawing figures.
- According to common practice, the various features of the drawings discussed below are not necessarily drawn to scale. Dimensions of various features and elements in the drawings may be expanded or reduced to more clearly illustrate the embodiments of the invention.
- According to another aspect the carrier package comprises a carrier and a plurality of containers located within the carrier, the carrier comprising a top panel, a first side panel adjacent to the top panel, a second side panel adjacent to the top panel and disposed on a side of the carrier package opposite to the first side panel, a bottom panel adjacent to each of the first and second side panels and opposite from the top panel, a first upper gusset at least partially closing an upper part of a first end of the carrier, a first lower gusset at least partially closing a lower part of the first end of the carrier, a second upper gusset at least partially closing an upper part of a second end of the carrier, a second lower gusset at least partially closing a lower part of the second end of the carrier, and a dispenser pattern extending at least partially across each of the top panel, the bottom panel, and at least one of the first and second side panels, with the dispenser pattern defining a dispenser flap that is at least partially removable from a remainder of the carrier so that a dispenser opening is defined by the remainder of the carrier in response to the dispenser flap having been at least partially removed from the remainder of the carrier, wherein the dispenser flap is configured so that, when the dispenser flap is at least partially removed so that the dispenser opening is defined by the remainder of the carrier, the containers can be dispensed through a dispenser opening in the carrier.
- In the carrier package defined above the dispenser pattern may comprise at least one tear line. The carrier package further may comprise a retention panel, wherein the carrier includes opposite first and second ends that are each open, the retention panel extends completely across the first end, and the dispenser flap is adjacent the second end. The carrier package may further comprise a retention flap that is not in contact with either of the first and second side panels and extends downwardly from the top panel to partially obstruct an open end of the carrier. The carrier package may further comprise a retention flap that is not in contact with either of the first and second side panels and extends upwardly from the bottom panel to partially obstruct an open end of the carrier.
- According to another aspect of the present invention a blank for erecting into a wrap-around carrier may comprise a top panel, a first side panel foldably connected to the top panel, a second side panel that is opposite from the first side panel and is foldably connected to the top panel, a first bottom panel foldably connected to the first side panel, and a second bottom panel foldably connected to the second side panel, wherein the first bottom panel and the second bottom panel are for being secured together when the blank is erected into the wrap-around carrier, and wherein a dispenser pattern extends at least partially across each of the top panel, at least one of the first and second side panels, and at least one of the first and second bottom panels, with the dispenser pattern defining a dispenser flap for being at least partially removable from a remainder of the blank.
- In the carrier blank defined above the dispenser pattern may comprise at least one tear line. The first bottom panel may include securing features for operatively interacting with securing features of the second bottom panel to secure the first and second bottom panels together when the blank is erected into the wrap-around carrier. The securing features of the first bottom panel may include at least one locking flap, and the securing features of the second bottom panel may include at least one opening for at least partially holding the locking flap. The blank may further comprise at least one retaining flap in the second bottom panel, wherein the retaining flap is for being held in an erected configuration by the locking flap when the carrier is erected from the blank. The blank may further comprise a push-in tab defined by at least one cut in a rear end of the top panel. The blank may further comprise a push-in tab defined by at least one cut in a rear end of the top panel. The blank may further comprise a first front tuck-in panel connected to a front end of the first side panel, a first rear tuck-in panel connected to a rear end of the first side panel, a second front tuck-in panel connected to a front end of the second side panel, a second rear tuck-in panel connected to a rear end of the second side panel, a first front retaining panel foldably connected between the first front tuck-in panel and a right front truncated corner of the first bottom panel, a first rear retaining panel foldably connected between the first rear tuck-in panel and a right rear truncated corner of the first bottom panel, a second front retaining panel foldably connected between the first front tuck-in panel and a left front truncated corner of the top panel, a second rear retaining panel foldably connected between the first rear tuck-in panel and a left rear truncated corner of the top panel, a third front retaining panel foldably connected between the second front tuck-in panel and a right front truncated corner of the top panel, a third rear retaining panel foldably connected between the second rear tuck-in panel and a right rear truncated corner of the top panel and, a forth front retaining panel foldably connected between the second front tuck-in panel and a left front truncated corner of the second bottom panel; and a fourth rear retaining panel foldably connected between the second rear tuck-in panel and a left rear truncated corner of the second bottom panel. The blank may further comprise a dividing fold line that divides the second rear retaining panel into two foldably connected portions along the dividing fold line. The blank may further comprise a dividing fold line that divides the third rear retaining panel into two foldably connected portions along the dividing fold line. The blank may further comprise a cut line separating a portion of the top panel defined by the area between the second rear retaining panel and the third rear retaining panel from the top panel to form a drop down gusset.
- According to a still further aspect of the present invention a carrier package comprises a carrier and a plurality of containers located within the carrier, the carrier comprising a top panel, a first side panel adjacent to the top panel, a second side panel adjacent to the top panel and disposed on a side of the carrier package opposite to the first side panel, a bottom panel adjacent to each of the first and second side panels and opposite from the top panel, the bottom panel comprising a first bottom panel joined to a second bottom panel by at least primary male and primary female locking elements, at least one first gusset at least partially closing a first end of the carrier, at least one second gusset at least partially closing a second end of the carrier, and a dispenser pattern extending at least partially across each of the top panel, the bottom panel, and at least one of the first and second side panels, with the dispenser pattern defining a dispenser flap that is at least partially removable from a remainder of the carrier so that a dispenser opening is defined by the remainder of the carrier in response to the dispenser flap having been at least partially removed from the remainder of the carrier; wherein the dispenser flap is configured so that when the dispenser flap is at least partially removed, the containers can be dispensed through the dispenser opening. In the above identified carrier package the first and second bottom panels may be further secured by secondary male and secondary female locking elements. Further the dispenser pattern may comprise at least one tear line. The carrier package may further comprise a retention panel, wherein the carrier includes opposite first and second ends that are each open, the retention panel extends completely across the first end, and the dispenser flap is adjacent the second end. The carrier package may further comprise a retention flap that is not in contact with either of the first and second side panels and extends downwardly from the top panel to partially obstruct an open end of the carrier. The carrier package may further comprise a retention flap that is not in contact with either of the first and second side panels and extends upwardly from the bottom panel to partially obstruct an open end of the carrier.
According to a still further aspect of the present invention a carrier package comprises a carrier and a plurality of containers located within the carrier, the carrier comprising a top panel, a first side panel adjacent to the top panel, a second side panel adjacent to the top panel and disposed on a side of the carrier package opposite to the first side panel, a bottom panel adjacent to each of the first and second side panels and opposite from the top panel, the bottom panel comprising a first bottom panel joined to a second bottom panel, and a dispenser pattern extending at least partially across each of the top panel, the bottom panel, and at least one of the first and second side panels, with the dispenser pattern defining a dispenser flap that is at least partially removable from a remainder of the carrier so that a dispenser opening is defined by the remainder of the carrier in response to the dispenser flap having been at least partially removed from the remainder of the carrier; wherein the dispenser flap is configured so that when the dispenser flap is at least partially removed so that the dispenser opening is defined by the remainder of the carrier, the containers can be dispensed through the dispenser opening. In the carrier package identified above the first and second bottom panels may be secured by primary male and primary female locking elements. The first and second bottom panels may be further secured by secondary male and secondary female locking elements. The carrier package may further comprise a retention panel, wherein the carrier includes opposite first and second ends that are each open, the retention panel extends completely across the first end, and the dispenser flap is adjacent the second end. The carrier package may further comprise a retention flap that is not in contact with either of the first and second side panels and extends downwardly from the top panel to partially obstruct an open end of the carrier. The carrier package may further comprise a retention flap that is not in contact with either of the first and second side panels and extends upwardly from the bottom panel to partially obstruct an open end of the carrier. -
-
FIG. 1 is a plan view of a blank used to form a wrap-around carrier package having a dispensing feature according to a first embodiment of the present invention. -
FIGS. 2-3 are perspective views of loading and partial erection of the first carrier package embodiment. -
FIG. 4 is a bottom view of the erected first carrier package embodiment. -
FIG. 5 is a front view of the first carrier package embodiment. -
FIG. 6 is a rear view of the first carrier package embodiment. -
FIG. 7 is a front perspective view of the first carrier package embodiment. -
FIG. 8 is a bottom perspective view of the first carrier package embodiment. -
FIG. 9 is a perspective view of the first carrier package embodiment. -
FIG. 10 illustrates a user opening the dispensing feature of the first carrier package embodiment. -
FIG. 11 illustrates a user further opening the dispensing feature of the first carrier package embodiment. -
FIG. 12 illustrates the first carrier package embodiment with its dispensing feature removed. -
FIG. 13 is a plan view of a blank used to form a wrap-around carrier package having a dispensing feature according to a second embodiment of the present invention. -
FIG. 14 is a plan view of a blank used to form a wrap-around carrier package having a dispensing feature according to a third embodiment of the present invention. -
FIG. 15 is a bottom view of the third carrier package embodiment. -
FIG. 16 is a front view of the third carrier package embodiment. -
FIG. 17 is a rear view of the third carrier package embodiment. -
FIG. 18 illustrates the third carrier package embodiment with its dispensing feature removed. -
FIG. 19 is a plan view of a blank used to form a wrap-around carrier package having a dispensing feature according to a fourth embodiment of the present invention. -
FIG. 20 is a rear view of the fourth carrier package embodiment. -
FIG. 21 is a perspective view of the fourth carrier package embodiment. -
FIG. 22 is a bottom perspective view of the fourth carrier package embodiment. -
FIG. 23 illustrates the fourth carrier package embodiment with its dispensing feature removed. -
FIG. 24 is a plan view of a blank used to form a wrap-around carrier package having a dispensing feature according to a fifth embodiment of the present invention. -
FIG. 25 is a rear view of the fifth carrier package embodiment. -
FIG. 26 is a perspective view of the fifth carrier package embodiment. -
FIG. 27 illustrates the fifth carrier package embodiment with its dispensing feature removed. -
FIG. 1 is a plan view of a blank 8 used to form a carrier package 150 (illustrated inFIGS. 4-12 ) according to a first embodiment of the present invention. The blank 8 comprises a first or innerbottom panel 30 foldably connected to afirst side panel 50 at afold line 33, atop panel 20 foldably connected to thefirst side panel 50 at afold line 25, asecond side panel 60 foldably connected to thetop panel 20 at afold line 29, and a second or outerbottom panel 40 foldably connected to thesecond side panel 60 at afold line 45. Overall, the blank 8 is generally rectangular in shape. The exterior or print side of the blank 8 is illustrated inFIG. 1 , whereas the interior side of the blank is partially shown inFIGS. 2-3 . - The
top panel 20 has a generally rectangular shape with truncated corners and 21a, 21b. Thecurved cut outs 21a, 21b can be shaped and sized so that thecurved cut outs top panel 20 generally conforms to shapes of the containers C held within the finished carrier package 150 (FIG. 7 ). - The
inner bottom panel 30 includes cut outs forming primary 38a, 38b, 38c that are adapted to respectively engage primaryfemale locking edges 48a, 48b, 48c of themale locking tabs outer bottom panel 40. Theinner bottom panel 30 also includes 32a, 32b, 32c adapted to respectively receive secondary male locking flaps 42a, 42b, 42c extending from theslits outer bottom panel 40. Theouter bottom panel 40 includes afold line 47 which is interrupted by the slits that define the primary 48a, 48b, 48c. The secondary male locking flaps 42a, 42b, 42c are connected along the interruptedmale locking tabs fold line 47 and each flap includes anintermediate fold line 43a-c. Although the locking elements are illustrated to demonstrate a typical bottom panel locking arrangement suitable for use with the carrier package of the present invention, it should be understood that any desired form of bottom panel locking means may be employed. For example, glue or other adhesive material, or other suitable fastening means, may be used to secure the 30, 40 together. For example, a description of an alternative locking system is discussed below with reference tobottom panels FIG. 14 . - A first front tuck-in
panel 52a is foldably connected to the front end of thefirst side panel 50 at afold line 51a. A first rear tuck-inpanel 52b is foldably connected to the rear end of thefirst side panel 50 at afold line 51b. A second front tuck-inpanel 62a is foldably connected to the front end of thesecond side panel 60 at afold line 61 a. A second rear tuck-inpanel 62b is foldably connected to the rear end of thesecond side panel 60 at afold line 61b. - A first
front retaining panel 56a is foldably connected to a right front truncated corner of theinner bottom panel 30 at afold line 53a, and to the first front tuck-inpanel 52a at afold line 55a. A firstrear retaining panel 56b is foldably connected to a right rear truncated corner of theinner bottom panel 30 at afold line 53b, and to the first rear tuck-inpanel 52b at afold line 55b. A secondfront retaining panel 54a is foldably connected to the first front tuck-inpanel 52a at afold line 57a, and to a left front truncated corner of thetop panel 20 at afold line 59a. A secondrear retaining panel 54b is foldably connected to the first rear tuck-inpanel 52b at afold line 57b, and to a left rear truncated corner of thetop panel 20 at afold line 59b. - A third
front retaining panel 64a is foldably connected to a right front truncated corner of thetop panel 20 at afold line 63a, and to the second front tuck-inpanel 62a at afold line 65a. A thirdrear retaining panel 64b is foldably connected to a right rear truncated corner of thetop panel 20 at afold line 63b, and to the second rear tuck-inpanel 62b at afold line 65b. A fourthfront retaining panel 66a is foldably connected to the second front tuck-inpanel 62a at afold line 67a, and to a left front truncated corner of theouter bottom panel 40 at afold line 69a. A fourthrear retaining panel 66b is foldably connected to the second rear tuck-inpanel 62b at afold line 67b and to a left rear truncated corner of theouter bottom panel 40 at afold line 69b. - One or more of the
55a, 57a, 55b, 57b, 65a, 67a, 65b, 67b may include, for example, one or more slits. The slits may extend to the respective edges of the blank 8 to facilitate folding of the tuck-in panels.fold lines - According to one exemplary aspect of the invention, a
dispenser pattern 100 is defined in the blank 8. Thedispenser pattern 100 may be defined by 71 and 75. The illustratedtear lines dispenser pattern 100 extends across a portion of each of thetop panel 20, thesecond side panel 60 and theouter bottom panel 40 proximate the front end of the blank 8. Thedispenser pattern 100 defines a dispensingfeature 70. The illustrateddispenser pattern 100 also includes a fold line 73, a curved fold line 77, and slits 78 respectively extending from the two ends of the curved fold line 77 to thetear line 75. The lines 73, 77 define a pullingtab 74 in the dispensingfeature 70. The portion of the dispensingfeature 70 that is surrounded bycut lines 71 and the fold line 73 forms anextension pulling tab 72 that is an extension of the pullingtab 74. - Cut
outs 84a-g are respectively formed between each retaining panel and associated side panel. Compressingcut outs 82a-f are respectively formed in theinner bottom panel 30 and theouter bottom panel 40 along 33 and 45. The compressing cutfold lines outs 82a-f can receive the heels of the containers C retained in the erectedcarrier 150. Aviewing aperture 80 can be formed in the blank 8 by removing a portion of theouter bottom panel 40. 80a, 80b can also be formed in the top panel 20 (shown inApertures FIG. 13 ) or in the first side panel 50 (not shown). - An exemplary method of erecting the
carrier 150 will now be discussed with reference toFIGS. 2-4 .FIG. 2 illustrates an initial step in erection of thecarrier package 150, in which containers C are placed top side down on the interior side of thetop panel 20 of the blank 8. Referring toFIG. 3 , the 50, 60 are then folded upwardly toward the containers C. As theside panels 50, 60 are folded upwardly, the tuck-inside panels 52a, 52b, 62a, 62b are tucked inwardly about thepanels 51a, 51b, 61a, 61b respectively. At the same time and as a result, the retainingfold lines 54a, 54b, 56a, 56b, 64a, 64b, 66a, 66b are drawn inwardly so as to respectively partially wrap around portions of the containers C and to form gussets. After thepanels outer bottom panel 40 is secured to theinner bottom panel 30 as discussed below, the tuck-in 52a, 52b, 62a, 62b and retainingpanels 54a, 54b, 56a, 56b, 64a, 64b, 66a, 66b are held in place by virtue of the tuck-inpanels 52a, 52b, 62a, 62b being respectively sandwiched between the cans C and thepanels 50, 60.side panels - Referring to
FIG. 4 , theouter bottom panel 40 is secured to theinner bottom panel 30 by first respectively engaging primary 48a, 48b, 48c with primarymale locking tabs 38a, 38b, 38c. The male locking flaps 42a, 42b, 42c are respectively inserted through, and cooperatively interact with, thefemale locking edges 32a, 32b, 32c to further secure theslits outer bottom panel 40 to theinner bottom panel 30. The secured together innerbottom panel 30 and outerbottom panel 40 form abottom panel 125. The heels of containers C are respectively associated with the compressing cutouts 82a-f to allow tighter wrapping of thecarrier package 150 around containers C. -
FIG. 5 is a front view of the erectedcarrier package 150. As shown inFIG. 5 , when the tuck-inpanel 52a is folded inwardly about thefold line 51a, the retaining 54a, 56a respectively abut the containers C adjacent thereto and form a pair ofpanels 54a, 56a. When the tuck-ingussets panel 62a is folded inwardly about thefold line 61 a, the retaining 64a, 66a respectively abut the adjacent containers C and form a pair ofpanels 64a, 66a. Thegussets 54a, 64a secure the top portion of the containers C from the front end. Thegussets 56a, 66a secure the bottom portion of the containers C from the front end.gussets FIG. 6 is a rear view of the erectedcarrier package 150. As shown inFIG. 6 , when the tuck-inpanel 52b is folded inwardly about thefold line 51b, the retaining 54b, 56b respectively abut the adjacent containers C and form a pair ofpanels 54b, 56b. When the tuck-ingussets panel 62b is folded inwardly about thefold line 61b, the retaining 64b, 66b respectively abut the adjacent containers C and form a pair ofpanels 64b, 66b. Thegussets 54b, 64b secure the top portion of the containers C from the rear end. Theupper gussets 56b, 66b secure the bottom portion of the containers C from the rear end.lower gussets -
FIGS. 7-9 are perspective views of the erectedcarrier package 150. InFIG. 7 , thecarrier package 150 rests on itsbottom panel 125. InFIG. 8 , thecarrier package 150 rests on itsfirst side panel 50 with the dispensingfeature 70 facing upwardly. The dispensingpanel 70 is defined by thedispenser pattern 100. The containers C are retained by 64a, 66a, 54a, 56a from the front end, and bygussets 64b, 66b, 54b, 56b from the rear end.gussets - An exemplary method of opening of the dispensing
feature 70 will now be discussed with reference toFIGS. 10-12 . InFIG. 10 , thecarrier package 150 rests on thefirst side panel 50. A user starts to open the dispensingfeature 70 by pulling the pullingtab 74 and theextension pulling tab 72 outwardly.FIG. 11 illustrates the dispensingfeature 70 being further pulled away from thecarrier 150.FIG. 12 illustrates the dispensingfeature 70 being completely removed with the containers C retained within thecarrier package 150. - According to one aspect of the present invention, the
carrier package 150 can be opened to allow dispensing of individual containers in a controlled manner. In addition, because the carrier is wrapped very tightly around the containers, the package allows for efficient use of shipping, storage, and display space. -
FIG. 13 is a plan view of a blank 208 used to form a carrier package according to a second embodiment of the present invention. The second embodiment of the present invention is like the first embodiment of the present invention, except for variations noted and variations that will be apparent to those of ordinary skill in the art in view of this disclosure. The dispensing panel of the second embodiment of the present invention is different from the dispensing panel in the first embodiment of the present invention. As shown inFIG. 13 , the dispensingpanel 270 has the pullingtab 274 but does not include the extension pulling tab 72 (FIG. 1 ). The pullingtab 274 is defined by a portion of thecut line 275 and thecurved fold line 277. Referring toFIG. 13 , in addition toaperture 80, there are two 80a, 80b. Theadditional apertures 80a, 80b are each shown to be removably obstructed by a flap, but the apertures as well as the flaps covering them are optional.apertures -
FIG. 14 is a plan view of a blank 408 used to form a wrap-around carrier package 550 (illustrated inFIGS. 15-18 ) according to a third embodiment of the present invention. The blank 408 of the third embodiment is identical to the blank 8 of the first embodiment, which is illustrated inFIG. 1 , except for variations noted and variations that will be apparent to those of ordinary skill in the art in view of this disclosure. Some of the features of the third embodiment that have some general similarity to, or are identical to, features of the first embodiment are respectively identified with the same reference numbers except that four hundred has been added to the subject reference numbers of the third embodiment. - The locking system of the third embodiment of the present invention is different from the locking system in the first embodiment of the present invention. On a related note and for example, the
carrier 550 formed from the blank 408 includes 128a, 128b (divider guards FIGS. 16 and 17 ) that serve to further retain containers C within thecarrier 550. - As shown in
FIG. 14 , the blank 408 comprises a first or innerbottom panel 430 foldably connected to afirst side panel 50 at afold line 33, atop panel 20 foldably connected to thefirst side panel 50 at afold line 25, asecond side panel 60 foldably connected to thetop panel 20 at afold line 29, and a second or outerbottom panel 440 foldably connected to thesecond side panel 60 at afold line 45. - The
inner bottom panel 430 includes cutouts forming primary 438a, 438b, 438c that are adapted to engage primaryfemale locking edges 448a, 448b, 448c respectively on the outermale locking tabs bottom panel 440. Theinner bottom panel 430 also includes 432a, 432b, 432c adapted to respectively receive secondary male locking flaps 442a, 442b, 442c extending from the outerslits bottom panel 440. The outerbottom panel 440 includes afold line 447 which is interrupted by the slits that define the primary 448a, 448b, 448c. The secondary male locking flaps 442a, 442b, 442c are connected along the interruptedmale locking tabs fold line 447 and each flap includes anintermediate fold line 443a-c. - Primary female locking edges 438a proximate the front end of the blank 408 and
primary locking edge 438b proximate the rear end of the blank 408 respectively have 120a and 120b associated therewith. Theflaps 120a and 120b are separated from theflaps inner bottom panel 430 by 127a and 127b respectively and are foldably connected to thecut lines inner bottom panel 430 at 121a and 121b, respectively. Onfold lines flap 120a, two 123a and 125a converge at aadditional fold lines slit 113a, generally forming a triangle with thefold line 121a. Onflap 120b, twoadditional fold lines 123b and 125b converge at aslit 113b, generally forming a triangle with thefold line 121b. Themale locking flap 442a has two 112a and 114a. Theasymmetrical edges male locking flap 442b has two 112b and 114b.asymmetrical edges - When the
carrier 550 is erected, the 120a, 120b are folded inwardly so that they each engage a respective outer pair of the containers C, and at least the male locking flaps 442a, 442b are folded about ninety degrees about theirflaps 443a, 443b so that the locking flaps 442a, 442b respectively extend between adjacent containers C. Each of thefold lines 120a, 120b will respectively engage lower portions of two adjacent cans, as illustrated in at leastflaps FIGS. 16 and 17 . Typically themale locking flap 442c is also folded about ninety degrees about itsfold line 443c so that thelocking flap 442c extends between the interior pair of adjacent containers C. The erectedcarrier 550 is held closed, in part, by theedge 114b of themale locking flap 442b engaging theinner bottom panel 430 proximate a curved end portion of theslit 432b, the edges 115a, 115b of the male locking flap 442 respectively engaging theinner bottom panel 430 proximate the opposite curved end portions of theslit 432c, and theedge 114a of themale locking flap 442a engaging theinner bottom panel 430 proximate an end portion of the slit 432. The 112a and 112b respectively of the male locking flaps 442a, 442b respectively engage with theedges 113a and 113b of theslits 120a, 120b to secure the flaps in their erected positions and thereby formflaps divider guards 128a (shown inFIGS. 16 and18 ) and 128b (shown inFIG. 17 ) respectively. The 112a and 112b of the male locking flaps 442a, 442b can be at least somewhat hook-shaped to enhance their respective holding of theedges 120a, 120b in their erected positions to thereby form theflaps 128a, 128bdivider guards -
FIG. 15 is a bottom plan view of thecarrier package 550 erected from the blank 408. The outerbottom panel 440 engages theinner bottom panel 430 to form abottom panel 525. Erecting the 128a and 128b leavesdivider guards 88a and 88b respectively in theapertures bottom panel 525. The 443a, 443b, 443c are in line withfold lines 432a, 432b, 432c, to facilitate the male locking flaps 442a, 442b, 442c being erected to be upright or substantially perpendicular to theslits bottom panel 525. -
FIGS. 16 and 17 illustrate opposite ends of thecarrier package 550 showing the 128a and 128b respectively. The divider guards 128a and 128b in thedivider guards carrier package 550 further restrain the containers C so the containers C can be dispensed in a controlled manner. -
FIG. 18 illustrates thecarrier package 550 in its dispensing configuration. As shown inFIG. 18 , theedge 112a of erectedmale locking flap 442a extends into theslit 113a to engage and secure theflap 120a to thereby form thedivider guard 128a. This arrangement illustrated inFIG. 18 is representative of the manner in which theedge 112b of the erectedmale locking flap 442b engages with respect to theslit 113b in theflap 120b to form thedivider guard 128b. -
FIG. 19 is a plan view of a blank 608 used to form a wrap-aroundcarrier package 750 according to the fourth embodiment of the present invention. The fourth embodiment of the present invention is like the first embodiment of the present invention, except for variations noted and variations that will be apparent to those of ordinary skill in the art in view of this disclosure. Some of the features of the fourth embodiment that have some general similarity to, or are identical to, features of the first embodiment are respectively identified with the same reference numbers except that six hundred has been added to selected reference numbers of the fourth embodiment. - The fourth embodiment of the present invention has cut
23 and 43 respectively in thelines top panel 20 andbottom panel 40 of the blank 608, to define push-in 24 and 44. Thetabs carrier 750 formed from the blank 608 includes the push-in 24 and 44 because they further retain containers C within thetabs carrier 750. - In accordance with the fourth embodiment of the present invention, the cut lines 23 and 43 do not extend all the way to the rear edge of the blank 608. That is, the opposite ends of each of the cut lines 23 and 43 terminate proximate, yet distant from, the rear edge of the blank 608. In accordance with the fourth embodiment of the present invention, fold
131 and 133 respectively extend from the opposite ends of thelines cut line 23 to the rear edge of the blank 608, and fold 135 and 137 respectively extend from the opposite ends of thelines cut line 43 to the rear edge of the blank 608. The push-intab 24 is foldably connected to thetop panel 20 at 131 and 133. The push-infold lines tab 44 is foldably connected to theouter bottom panel 40 at 135 and 137.fold lines -
FIG. 20 illustrates the two push-in 24 and 44 respectively restraining the top and bottom portions of containers C.tabs FIG. 21 is a rear view of the erectedcarrier package 750 showing the two push-in 24 and 44.tabs FIG. 22 illustratescarrier package 750 resting on itsfirst side panel 50, so that the push-intab 44 on thebottom panel 40 is seen.FIG. 23 illustrates thecarrier package 750 after the dispensing feature 70 (FIGS. 19 ,21 and22 ) has been removed. -
FIG. 24 is a plan view of a blank 808 used to form a wrap-aroundcarrier package 950 according to a fifth embodiment of the present invention. The fifth embodiment of the present invention is like the first embodiment of the present invention, except for variations noted and variations that will be apparent to those of ordinary skill in the art in view of this disclosure. Some of the features of the fifth embodiment that have some general similarity to, or are identical to, features of the first embodiment are respectively identified with the same reference numbers except that eight hundred has been added to selected reference numbers of the fifth embodiment. - The fifth embodiment of the present invention includes a drop down
gusset 90. More specifically, thecarrier 950 formed from the blank 808 includes the drop downgusset 90 to further retain containers C within thecarrier 950. - The blank 808 comprises a first or inner
bottom panel 30 foldably connected to afirst side panel 50 at afold line 33, atop panel 820 foldably connected to thefirst side panel 50 at afold line 25, asecond side panel 60 foldably connected to thetop panel 820 at afold line 29, and a second or outerbottom panel 40 foldably connected to thesecond side panel 60 at afold line 45. Thetop panel 820 has truncated corners defined by 59a, 63a, 859b and 863b respectively. A portion of thefold lines top panel 820 defined by the area between the 859b and 863b is separated from thefold lines top panel 820 by acut line 27 and forms the drop downgusset 90. In accordance with the fifth embodiment of the present invention, thecut line 27 is a slit in thetop panel 820 that extends continuously between the fold lines 25, 29 by way of which thetop panel 820 is respectively foldably connected to the 50, 60.side panels - A first rear tuck-in
panel 852b is foldably connected to the rear end of thefirst side panel 50 at afold line 551b. A second rear tuck-inpanel 862b is foldably connected to the rear end of thesecond side panel 60 at afold line 661b. - The area between the first rear tuck-in
panel 852b and the drop downgusset 90 is divided into two foldably 92 and 94 along aconnected portions fold line 91. Theportion 92 is foldably connected to the first rear tuck-inpanel 852b at afold line 857b. Theportion 94 is foldably connected to the drop downgusset 90 at thefold line 859b. Similarly, The area between the drop downgusset 90 and the second rear tuck-inpanel 862b is divided into two foldably 96 and 98 along aconnected portions fold line 97. Theportion 96 is foldably connected to the drop downgusset 90 at thefold line 863b. Theportion 98 is foldably connected to the second rear tuck-inpanel 862b at afold line 865b. - Cut out 884d is formed at an area that is generally between the first rear tuck-in
panel 852b, the 92, 94 and thepanels first side panel 50. Cut out 884f is formed at an area that is generally between the second rear tuck-inpanel 862b, the 96, 98 and thepanels second side panel 60. In addition, cutouts 84a-c, e, g, h are respectively formed between each retaining panel and associated side panel. - As part of erecting the
carrier package 950 from the blank 808, the tuck-in 852b, 862b are respectively tucked inwardly about thepanels fold lines 551b, 661 a. As part of this process, folding respectively occurs along 857b, 91, 859b, 863b, 97, 865b so that the drop downfold lines gusset 90 and 92, 94, 96, 98 become arranged as illustrated inportions FIGS. 25-27 . -
FIG. 25 is a rear view of acarrier package 950 erected from the blank 808 showing the drop downgusset 90.FIG. 26 is a rear perspective view of thecarrier package 950 showing the drop downgusset 90. The drop downgusset 90 runs across the top of containers C and thus further restrains the containers C. In addition, the drop downgusset 90 as a unique design feature can be utilized to display information.FIG. 27 is a top view of the erectedcarrier package 950 resting on its first side panel, and this view illustrates that the drop downgusset 90 function to at least partially retain containers C (e.g.,FIG. 27 ) in thecarrier package 950 after the removal of the dispensing feature 70 (e.g.,FIGS. 24 and27 ). Referring toFIG. 26 , the drop downgusset 90 can also be folded inwardly so that the outwardly facing side of thegusset 90 shown inFIG. 26 abuts the containers C. - In summary and generally described,
FIGS. 1-12 illustrate a first aspect of the present invention that relates to the dispensingfeature 70.FIG. 13 illustrates a second aspect of the present invention, wherein the pulling tab of the dispensing feature does not have an extension pulling tab.FIGS. 14- 18 illustrate a third aspect of the present invention, wherein an alternative type of locks are used to additionally form divider guards.FIGS. 19-23 illustrate a fourth aspect of the present invention wherein push-in tabs as a portion of the rear ends of the top panel and the outer bottom panel are used to further secure the containers inside the carrier packages.FIGS. 24-27 illustrate a fifth aspect of the present invention wherein a drop down gusset is used to further secure the containers inside the carrier package and as a site to display information. Although specific examples of aspect of the present invention are identified in the foregoing, it is to be understood that there are other aspects of the present invention. In addition, these and other aspects of the present invention can be combined in various combinations to create other blanks and packages that are within the scope of the present invention. For example, a blank utilizing locks disclosed in the blank 408 (FIG. 14 ) can be combined with the dispensing feature from the blank 208 (FIG. 13 ) and can also have the drop down gusset feature from the blank 808 (FIG. 24 ), with the rest of the features being the same as in the blank 8 (FIG. 1 ). As another example, a blank utilizing the drop down gusset feature from the blank 808 (FIG. 24 ) can be combined with a push-in tab on the outer bottom panel as in the blank 608 (FIG. 19 ), with the rest of the features being the same as in the blank 8. - It is also understood that although only exemplary types of locking systems are discussed in the specification, the inner bottom panel and the outer bottom panel can be locked together using other known locking systems. Although pluralities of cut outs, panels, gussets, fold lines, flaps, slits, cuts, or openings may appear identical in size in the accompanying drawings, it is to be understood that the sizes of the cut outs, panels, gussets, fold lines, flaps, slits, cuts, or openings can vary.
- In the above embodiments, the carrier packages are shown as accommodating beverage containers. Other types of containers, however, can be accommodated within a carrier package according to the present invention. The dimensions of the blank 8 may also be altered, for example, to accommodate various container forms. In addition, various numbers of containers C can be accommodated in a carrier package according to principles of the present invention, for example, by adjusting the size of the blank 8. For example, the
top panel 20 and the first and second 50, 60 can be enlarged or reduced in order to accommodate additional or less containers C. In one such embodiment, a carrier may be constructed to accommodate four containers arranged in two columns and two rows (2 x 2). In another embodiment, a carrier may be constructed that accommodates eight containers arranged in two columns and four rows (2 x 4). In a preferred embodiment, a carrier may be constructed that accommodates six contains arranged in two columns and three rows (2 x 3).bottom panel - The blanks according to the present invention can be, for example, formed from coated paperboard and similar materials. For example, the interior and/or exterior sides of the blanks can be coated with a clay coating. The clay coating may then be printed over with product, advertising, price coding, and other information or images. The blanks may then be coated with a varnish to protect any information printed on the blanks. The blanks may also be coated with, for example, a moisture barrier layer, on either or both sides of the blanks.
- In accordance with the exemplary embodiments, the blanks may be constructed of paperboard of a caliper such that it is heavier and more rigid than ordinary paper. The blanks can also be constructed of other materials, such as cardboard, hard paper, or any other material having properties suitable for enabling the carrier package to function at least generally as described above. The blanks can also be laminated to or coated with one or more sheet-like materials at selected panels or panel sections. Also according to the first embodiment, the carrier can be constructed from a blank that occupies less area than conventional carriers, and the blank may be stagger nested with similar blanks during production.
- In accordance with the exemplary embodiments of the present invention, a fold line can be any at least somewhat line-like arranged, although not necessarily straight, form of weakening that facilitates folding therealong; and a tear line can be any at least somewhat line-like arranged, although not necessarily straight, form of weakening that facilitates tearing therealong. More specifically, but not for the purpose of narrowing the scope of the present invention, conventional fold lines include: a crease, such as formed by folding; a score line, such as formed with a blunt scoring knife, or the like, which creates a crushed portion in the material along the desired line of weakness; a slit that extends partially into the material along the desired line of weakness, and/or a series of spaced apart slits that extend partially into and/or completely through the material along the desired line of weakness; or various combinations of these features. More specifically, but not for the purpose of narrowing the scope of the present invention, conventional tear lines include: a slit that extends partially into the material along the desired line of weakness, and/or a series of spaced apart slits that extend partially into and/or completely through the material along the desired line of weakness, or various combinations of these features.
- As a more specific example, one type of conventional tear line is in the form of a series of spaced apart slits that extend completely through the material, with adjacent slits being spaced apart slightly so that a nick (e.g., a small somewhat bridging-like piece of the material) is defined between the adjacent slits for typically temporarily connecting the material across the tear line. The nicks are broken during tearing along the tear line. The nicks typically are a relatively small percentage of the tear line, and alternatively the nicks can be omitted from or torn in a tear line such that the tear line is a continuous cut line. That is, it is within the scope of the present invention for each of the tear lines to be replaced with a continuous slit, or the like.
- It will be understood by those skilled in the art that while the present invention has been discussed above with reference to exemplary embodiments, various additions, modifications and changes can be made thereto without departing from the spirit and scope of the invention as set forth in the following claims.
Claims (28)
- A carrier package, comprising:a carrier, comprisingwherein the dispenser flap is configured so that, when the dispenser flap is at least partially removed so that the dispenser opening is defined by the remainder of the carrier, the containers can be dispensed through a dispenser opening in the carrier.
a top panel,
a first side panel adjacent to the top panel,
a second side panel adjacent to the top panel and disposed on a side of the carrier package opposite to the first side panel,
a bottom panel adjacent to each of the first and second side panels and opposite from the top panel,
a first upper gusset at least partially closing an upper part of a first end of the carrier,
a first lower gusset at least partially closing a lower part of the first end of the carrier,
a second upper gusset at least partially closing an upper part of a second end of the carrier,
a second lower gusset at least partially closing a lower part of the second end of the carrier, and
a dispenser pattern extending at least partially across each of the top panel, the bottom panel, and at least one of the first and second side panels, with the dispenser pattern defining a dispenser flap that is at least partially removable from a remainder of the carrier so that a dispenser opening is defined by the remainder of the carrier in response to the dispenser flap having been at least partially removed from the remainder of the carrier; and
a plurality of containers located within the carrier, - The carrier package according to claim 1, wherein the dispenser pattern comprises at least one tear line.
- The carrier package according to claim 1, further comprising a retention panel, wherein the carrier includes opposite first and second ends that are each open, the retention panel extends completely across the first end, and the dispenser flap is adjacent the second end.
- The carrier package according to claim 1, further comprising a retention flap that is not in contact with either of the first and second side panels and extends downwardly from the top panel to partially obstruct an open end of the carrier.
- The carrier package according to claim 1, further comprising a retention flap that is not in contact with either of the first and second side panels and extends upwardly from the bottom panel to partially obstruct an open end of the carrier.
- A blank for erecting into a wrap-around carrier, the blank comprising:a top panel;a first side panel foldably connected to the top panel;a second side panel that is opposite from the first side panel and is foldably connected to the top panel;a first bottom panel foldably connected to the first side panel; anda second bottom panel foldably connected to the second side panel,wherein the first bottom panel and the second bottom panel are for being secured together when the blank is erected into the wrap-around carrier, and
wherein a dispenser pattern extends at least partially across each of the top panel, at least one of the first and second side panels, and at least one of the first and second bottom panels, with the dispenser pattern defining a dispenser flap for being at least partially removable from a remainder of the blank. - The blank according to claim 6, wherein the dispenser pattern comprises at least one tear line.
- The blank according to claim 6, wherein the first bottom panel includes securing features for operatively interacting with securing features of the second bottom panel to secure the first and second bottom panels together when the blank is erected into the wrap-around carrier.
- The blank according to claim 8, wherein:the securing features of the first bottom panel includes at least one locking flap, andthe securing features of the second bottom panel include at least one opening for at least partially holding the locking flap.
- The blank according to claim 9, further comprising at least one retaining flap in the second bottom panel, wherein the retaining flap is for being held in an erected configuration by the locking flap when the carrier is erected from the blank.
- The blank according to claim 6, further comprising a push-in tab defined by at least one cut in a rear end of the top panel.
- The blank according to claim 6, further comprising a push-in tab defined by at least one cut in a rear end of the top panel.
- The blank according to claim 6, further comprising:a first front tuck-in panel connected to a front end of the first side panel;a first rear tuck-in panel connected to a rear end of the first side panel;a second front tuck-in panel connected to a front end of the second side panel;a second rear tuck-in panel connected to a rear end of the second side panel;a first front retaining panel foldably connected between the first front tuck-in panel and a right front truncated corner of the first bottom panel;a first rear retaining panel foldably connected between the first rear tuck-in panel and a right rear truncated corner of the first bottom panel;a second front retaining panel foldably connected between the first front tuck-in panel and a left front truncated corner of the top panel;a second rear retaining panel foldably connected between the first rear tuck-in panel and a left rear truncated corner of the top panel;a third front retaining panel foldably connected between the second front tuck-in panel and a right front truncated corner of the top panel;a third rear retaining panel foldably connected between the second rear tuck-in panel and a right rear truncated corner of the top panel and;a forth front retaining panel foldably connected between the second front tuck-in panel and a left front truncated corner of the second bottom panel; anda fourth rear retaining panel foldably connected between the second rear tuck-in panel and a left rear truncated corner of the second bottom panel.
- The blank according to claim 13, further comprising a dividing fold line that divides the second rear retaining panel into two foldably connected portions along the dividing fold line.
- The blank according to claim 13, further comprising a dividing fold line that divides the third rear retaining panel into two foldably connected portions along the dividing fold line.
- The blank according to claim 13, further comprising a cut line separating a portion of the top panel defined by the area between the second rear retaining panel and the third rear retaining panel from the top panel to form a drop down gusset.
- A carrier package, comprising:a carrier, comprisingwherein the dispenser flap is configured so that when the dispenser flap is at least partially removed, the containers can be dispensed through the dispenser opening.
a top panel,
a first side panel adjacent to the top panel,
a second side panel adjacent to the top panel and disposed on a side of the carrier package opposite to the first side panel,
a bottom panel adjacent to each of the first and second side panels and opposite from the top panel, the bottom panel comprising a first bottom panel joined to a second bottom panel by at least primary male and primary female locking elements,
at least one first gusset at least partially closing a first end of the carrier,
at least one second gusset at least partially closing a second end of the carrier, and
a dispenser pattern extending at least partially across each of the top panel, the bottom panel, and at least one of the first and second side panels, with the dispenser pattern defining a dispenser flap that is at least partially removable from a remainder of the carrier so that a dispenser opening is defined by the remainder of the carrier in response to the dispenser flap having been at least partially removed from the remainder of the carrier; and
a plurality of containers located within the carrier, - The carrier package according to claim 17, wherein the first and second bottom panels are further secured by secondary male and secondary female locking elements.
- The carrier package according to claim 17, wherein the dispenser pattern comprises at least one tear line.
- The carrier package according to claim 19, further comprising a retention panel, wherein the carrier includes opposite first and second ends that are each open, the retention panel extends completely across the first end, and the dispenser flap is adjacent the second end.
- The carrier package according to claim 19, further comprising a retention flap that is not in contact with either of the first and second side panels and extends downwardly from the top panel to partially obstruct an open end of the carrier.
- The carrier package according to claim 19, further comprising a retention flap that is not in contact with either of the first and second side panels and extends upwardly from the bottom panel to partially obstruct an open end of the carrier.
- A carrier package, comprising:a carrier, comprisingwherein the dispenser flap is configured so that when the dispenser flap is at least partially removed so that the dispenser opening is defined by the remainder of the carrier, the containers can be dispensed through the dispenser opening.
a top panel,
a first side panel adjacent to the top panel,
a second side panel adjacent to the top panel and disposed on a side of the carrier package opposite to the first side panel,
a bottom panel adjacent to each of the first and second side panels and opposite from the top panel, the bottom panel comprising a first bottom panel joined to a second bottom panel, and
a dispenser pattern extending at least partially across each of the top panel, the bottom panel, and at least one of the first and second side panels, with the dispenser pattern defining a dispenser flap that is at least partially removable from a remainder of the carrier so that a dispenser opening is defined by the remainder of the carrier in response to the dispenser flap having been at least partially removed from the remainder of the carrier; and
a plurality of containers located within the carrier, - The carrier package according to claim 23, wherein the first and second bottom panels are secured by primary male and primary female locking elements.
- The carrier package according to claim 24, wherein the first and second bottom panels are further secured by secondary male and secondary female locking elements.
- The carrier package according to any of claims 24-35, further comprising a retention panel, wherein the carrier includes opposite first and second ends that are each open, the retention panel extends completely across the first end, and the dispenser flap is adjacent the second end.
- The carrier package according to any of claims 24-36, further comprising a retention flap that is not in contact with either of the first and second side panels and extends downwardly from the top panel to partially obstruct an open end of the carrier.
- The carrier package according to any of claims 24-26, further comprising a retention flap that is not in contact with either of the first and second side panels and extends upwardly from the bottom panel to partially obstruct an open end of the carrier.
Applications Claiming Priority (3)
| Application Number | Priority Date | Filing Date | Title |
|---|---|---|---|
| US65713305P | 2005-02-28 | 2005-02-28 | |
| US68361205P | 2005-05-23 | 2005-05-23 | |
| EP06736620A EP1868912A2 (en) | 2005-02-28 | 2006-02-28 | Wrap-around carton with dispensing feature |
Related Parent Applications (2)
| Application Number | Title | Priority Date | Filing Date |
|---|---|---|---|
| EP06736620.3 Division | 2006-02-28 | ||
| EP06736620A Division EP1868912A2 (en) | 2005-02-28 | 2006-02-28 | Wrap-around carton with dispensing feature |
Publications (3)
| Publication Number | Publication Date |
|---|---|
| EP1908700A2 true EP1908700A2 (en) | 2008-04-09 |
| EP1908700A3 EP1908700A3 (en) | 2008-08-13 |
| EP1908700B1 EP1908700B1 (en) | 2011-04-06 |
Family
ID=36570313
Family Applications (2)
| Application Number | Title | Priority Date | Filing Date |
|---|---|---|---|
| EP06736620A Withdrawn EP1868912A2 (en) | 2005-02-28 | 2006-02-28 | Wrap-around carton with dispensing feature |
| EP07024266A Expired - Lifetime EP1908700B1 (en) | 2005-02-28 | 2006-02-28 | Wrap-around carton with dispensing feature |
Family Applications Before (1)
| Application Number | Title | Priority Date | Filing Date |
|---|---|---|---|
| EP06736620A Withdrawn EP1868912A2 (en) | 2005-02-28 | 2006-02-28 | Wrap-around carton with dispensing feature |
Country Status (12)
| Country | Link |
|---|---|
| US (1) | US20060191811A1 (en) |
| EP (2) | EP1868912A2 (en) |
| JP (1) | JP4563459B2 (en) |
| CN (1) | CN101128368A (en) |
| AT (1) | ATE504518T1 (en) |
| AU (1) | AU2006218620B2 (en) |
| BR (1) | BRPI0608396A2 (en) |
| CA (1) | CA2595408C (en) |
| DE (1) | DE602006021182D1 (en) |
| MX (1) | MX2007010347A (en) |
| NZ (1) | NZ560602A (en) |
| WO (1) | WO2006094080A2 (en) |
Families Citing this family (30)
| Publication number | Priority date | Publication date | Assignee | Title |
|---|---|---|---|---|
| DE602006014163D1 (en) * | 2005-07-22 | 2010-06-17 | Graphic Packaging Int Inc | WRAPPING CARRIER AND CUTTING |
| JP5452922B2 (en) | 2005-09-13 | 2014-03-26 | アフィメトリックス・インコーポレーテッド | Coded microparticles |
| US7762397B2 (en) * | 2006-01-12 | 2010-07-27 | Graphic Packaging International, Inc. | Carrier package |
| CN101432204B (en) * | 2006-03-29 | 2012-04-25 | 印刷包装国际公司 | Transport package and method of assembling the same |
| US7762395B2 (en) * | 2006-04-17 | 2010-07-27 | Graphic Packaging International, Inc. | Carrier packages and methods of erecting carrier packages |
| CA2668641C (en) * | 2006-11-07 | 2013-09-03 | Graphic Packaging International, Inc. | Interconnected carton blanks comprising locating apertures |
| EP2170713A4 (en) * | 2007-07-26 | 2012-01-04 | Graphic Packaging Int Inc | Carrier with retention features |
| GB0722410D0 (en) * | 2007-11-15 | 2007-12-27 | Meadwestvaco Packaging Systems | Carton and carton blank |
| EP2326566B1 (en) | 2008-09-24 | 2012-12-12 | Graphic Packaging International, Inc. | Carton with locking sections |
| MX2011003932A (en) * | 2008-10-14 | 2011-05-03 | Graphic Packaging Int Inc | Carrier with locking features. |
| EP2630057A4 (en) | 2010-10-18 | 2014-05-07 | Graphic Packaging Int Inc | Carton with handle |
| ES2788303T3 (en) * | 2011-04-20 | 2020-10-21 | Graphic Packaging Int Llc | Transport device with locking features |
| US8997986B2 (en) | 2011-05-12 | 2015-04-07 | Graphic Packaging International, Inc. | Carrier with retention features |
| JP6140714B2 (en) * | 2011-10-19 | 2017-05-31 | グラフィック パッケージング インターナショナル インコーポレイテッドGraphic Packaging International,Inc. | System and method for functioning an article protection feature of a carton |
| US8850642B2 (en) * | 2012-04-18 | 2014-10-07 | Steven W. Rasmussen | Support device and methods |
| US9809332B2 (en) * | 2012-11-02 | 2017-11-07 | Westrock Shared Services, Llc | Lidding device |
| BR112015029075B1 (en) | 2013-05-24 | 2022-03-15 | Graphic Packaging International, Llc | Package for housing a plurality of articles, die for forming a package for housing a plurality of articles, method of forming a package for housing a plurality of articles, package containing a package and a plurality of articles, and method of forming a package containing a plurality of articles |
| US9845182B2 (en) | 2015-05-07 | 2017-12-19 | Graphic Packaging International, Inc. | Carton with handle |
| US10384846B2 (en) | 2013-05-24 | 2019-08-20 | Graphic Packaging International, Llc | Arrangement of containers in a carton |
| MX2016004854A (en) | 2013-10-25 | 2016-07-06 | Graphic Packaging Int Inc | Carton with retention features. |
| BR112017012542B1 (en) | 2014-12-16 | 2022-05-10 | Graphic Packaging International, Llc | Package for holding a plurality of articles, blanket for forming a package for housing a plurality of articles, and method for forming a package comprising a package containing a plurality of articles |
| WO2017139733A1 (en) | 2016-02-12 | 2017-08-17 | Graphic Packaging International, Inc. | Carton with handle |
| MX2018009699A (en) | 2016-02-12 | 2019-01-24 | Graphic Packaging Int Llc | Carton with handle. |
| MX2019004833A (en) | 2016-11-02 | 2019-06-20 | Graphic Packaging Int Llc | Carton with asymmetrical corners. |
| ES2948302T3 (en) | 2018-01-23 | 2023-09-08 | Graphic Packaging Int Llc | Support with characteristic handle features |
| USD854412S1 (en) | 2018-02-22 | 2019-07-23 | Graphic Packaging International, Llc | Carrier |
| USD867900S1 (en) | 2018-03-01 | 2019-11-26 | Graphic Packaging International, Llc | Carrier |
| NZ769932A (en) | 2018-06-20 | 2023-02-24 | Graphic Packaging Int Llc | Carrier, blank, and method of forming carrier |
| USD898565S1 (en) | 2019-04-23 | 2020-10-13 | Graphic Packaging International, Llc | Carton |
| US20240351763A1 (en) * | 2023-04-24 | 2024-10-24 | Graphic Packaging International, Llc | Carrier For Containers |
Citations (1)
| Publication number | Priority date | Publication date | Assignee | Title |
|---|---|---|---|---|
| US4566593A (en) | 1984-01-23 | 1986-01-28 | The Mead Corporation | Carton formed from a plurality of packages |
Family Cites Families (98)
| Publication number | Priority date | Publication date | Assignee | Title |
|---|---|---|---|---|
| US2849111A (en) * | 1955-10-17 | 1958-08-26 | Lengsfield Brothers Inc | Article carrier |
| US2922561A (en) * | 1956-11-01 | 1960-01-26 | Carton Associates Inc | Cartons |
| US2928541A (en) * | 1957-11-12 | 1960-03-15 | Lengsfield Brothers Inc | Carton |
| US2929497A (en) * | 1958-02-19 | 1960-03-22 | Container Corp | Tuck-in type can carrier and package and blank therefor |
| US3178242A (en) * | 1963-05-13 | 1965-04-13 | Anheuser Busch | One-piece dispensing carton for cylindrical objects |
| US3237762A (en) * | 1964-08-19 | 1966-03-01 | Mead Corp | Can wrapper |
| US3252649A (en) * | 1964-08-31 | 1966-05-24 | Olin Mathieson | End panel top lock for wraparound carrier |
| US3339723A (en) * | 1964-10-30 | 1967-09-05 | Mead Corp | Bottle carrier |
| US3300115A (en) * | 1965-04-05 | 1967-01-24 | Boise Cascade Corp | Compartmented dispensing carton formed from a single blank |
| US3306519A (en) * | 1966-07-25 | 1967-02-28 | Mead Corp | Bottle carrier |
| US3373867A (en) * | 1967-05-22 | 1968-03-19 | Mead Corp | Article carrier |
| US3429496A (en) * | 1967-10-30 | 1969-02-25 | Packaging Corp America | Wrap-around type carrier and blank therefor |
| US3517858A (en) * | 1968-08-08 | 1970-06-30 | Revnolds Metals Co | Reclosable dispensing carton |
| US3593849A (en) * | 1969-08-28 | 1971-07-20 | Container Corp | Wraparound carrier |
| US3669342A (en) * | 1969-12-11 | 1972-06-13 | Mead Corp | Article carrier |
| US3635452A (en) * | 1970-01-19 | 1972-01-18 | Container Corp | Wraparound carrier |
| US3669343A (en) * | 1971-03-01 | 1972-06-13 | Darwin R Howard | Holder for tetrahedron packages |
| US3767042A (en) * | 1971-11-30 | 1973-10-23 | Federal Paper Board Co Inc | Bottle carrier with gusseted ends |
| US3747835A (en) * | 1971-12-21 | 1973-07-24 | Olinkraft Inc | Wrap-around article carrier with secondary retention end panels |
| US4096985A (en) * | 1978-01-16 | 1978-06-27 | The Mead Corporation | Article carrier and blank therefor |
| US4010593A (en) * | 1975-03-19 | 1977-03-08 | Graham Robert H | Method for packaging bottles |
| US3963121A (en) * | 1975-07-21 | 1976-06-15 | Container Corporation Of America | Carrier carton with display panel |
| US4101069A (en) * | 1977-10-26 | 1978-07-18 | The Mead Corporation | Article carrier |
| US4202446A (en) * | 1978-11-13 | 1980-05-13 | Federal Paper Board Company, Inc. | Bottle package |
| DE3070787D1 (en) * | 1979-11-15 | 1985-07-25 | Mead Corp | Wrap-around type package for bottles |
| US4328893A (en) * | 1980-10-15 | 1982-05-11 | The Mead Corporation | Bottle carrier |
| CA1203207A (en) * | 1981-05-29 | 1986-04-15 | Martinus C.M. Bakx | Fully enclosed wrap-around carton |
| US4424901A (en) * | 1982-05-17 | 1984-01-10 | The Mead Corporation | Convertible article carrier |
| US4875585A (en) * | 1986-08-18 | 1989-10-24 | The Shelby Paper Box Co. | Carton having a horizontal object holding panel and blank |
| US4747487A (en) * | 1987-09-29 | 1988-05-31 | The Mead Corporation | End loaded carton |
| US4901849A (en) * | 1987-10-26 | 1990-02-20 | Manville Corporation | Wrap-around article carrier with end panel lock |
| US4804089A (en) * | 1987-12-07 | 1989-02-14 | Manville Corporation | Wrap-around article carrier with end fold-in panel |
| US4919266A (en) * | 1989-06-09 | 1990-04-24 | The C. W. Zumbiel Co. | Carton with end wall display window |
| US5042660A (en) * | 1989-10-25 | 1991-08-27 | Coburn, Inc. | Collapsible display carrier and method of making |
| US5000313A (en) * | 1990-05-29 | 1991-03-19 | The Mead Corporation | Can carton |
| GB9108057D0 (en) * | 1991-04-16 | 1991-06-05 | Mead Corp | Improvements relating to cartons |
| US5421458A (en) * | 1991-08-09 | 1995-06-06 | Riverwood International Ltd. | Carton for a plurality of articles and blank therefor |
| US5131588A (en) * | 1991-10-15 | 1992-07-21 | The Mead Corporation | Panel interlock |
| FR2687634B1 (en) * | 1992-02-20 | 1994-05-13 | Otor | PROCESS AND FLAN FOR THE REALIZATION OF A CASE AROUND A LOAD, AND CASE THUS OBTAINED. |
| US5180100A (en) * | 1992-05-20 | 1993-01-19 | Oak Tree Packaging Corporation | Wraparound carton lock |
| US5246112A (en) * | 1992-09-03 | 1993-09-21 | The Mead Corporation | Enclosed bottle carrier |
| US5297673A (en) * | 1993-05-17 | 1994-03-29 | Riverwood International Corporation | Warp-around carrier with end panels |
| US5664401A (en) * | 1993-09-24 | 1997-09-09 | The Mead Corporation | Carton folding mechanism for wraparound cartons |
| US5485915A (en) * | 1994-09-21 | 1996-01-23 | Riverwood International Corporation | Wrap-around carrier with article heel lock |
| US5443203A (en) * | 1994-10-03 | 1995-08-22 | Riverwood International Corporation | Carton panel lock |
| US5505372A (en) * | 1994-10-28 | 1996-04-09 | Graphic Packaging Corporation | Carton blank and carton |
| US5558212A (en) * | 1994-11-08 | 1996-09-24 | Riverwood International Corporation | Wrap-around carrier with bar code blocker |
| US5937620A (en) * | 1995-03-03 | 1999-08-17 | The Mead Corporation | Packaging machine for multi-packs |
| US5943847A (en) * | 1995-03-30 | 1999-08-31 | The Mead Corporation | Packaging machine for multi-packs |
| US5542536A (en) * | 1995-05-11 | 1996-08-06 | Riverwood International Corporation | Wrap-around carrier with bar code blocking end panel |
| US5597071A (en) * | 1995-05-15 | 1997-01-28 | Riverwood International Corporation | Wrap-around carrier with corner bed restraints |
| US5551556A (en) * | 1995-06-14 | 1996-09-03 | Riverwood International Corporation | Wrap-around carrier with bar code blocking end panels |
| US5609251A (en) * | 1995-12-01 | 1997-03-11 | Riverwood International Corporation | Wrap-around carrier with partial end panels |
| US5782343A (en) * | 1997-01-24 | 1998-07-21 | Riverwood International Corporation | Warp-around carrier with improved locking means |
| US5704542A (en) * | 1997-01-24 | 1998-01-06 | Riverwood International Corporation | Wrap-around carrier with improved locking means |
| US6289651B1 (en) * | 1997-02-07 | 2001-09-18 | The Mead Corporation | Panel interlocking means for cartons |
| US5947367A (en) * | 1997-02-10 | 1999-09-07 | The C. W. Zumbiel Co. | Sleeve style bottle carton |
| US5855318A (en) * | 1997-10-23 | 1999-01-05 | The Mead Corporation | Interlocking arrangement for panels |
| US5931300A (en) * | 1998-05-16 | 1999-08-03 | Riverwood International Corporation | Wrap-around carrier with bar code blocking webs |
| US5941453A (en) * | 1998-05-29 | 1999-08-24 | The Mead Corporation | Locking arrangement for panels |
| KR100612795B1 (en) * | 1998-06-11 | 2006-08-17 | 브리스톨-마이어스 스퀴브 파마 컴파니 | Crystalline Epavirs |
| US6021899A (en) * | 1999-02-03 | 2000-02-08 | Riverwood International Corporation | Wrap-around article carrier |
| US6109438A (en) * | 1999-02-03 | 2000-08-29 | Riverwood International Corporation | Wrap-around article carrier |
| US6019220A (en) * | 1999-02-03 | 2000-02-01 | Riverwood International Corporation | Wrap-around article carrier |
| US6021898A (en) * | 1999-02-03 | 2000-02-08 | Riverwood International Corporation | Wrap-around article carrier |
| US6378265B1 (en) * | 1999-03-01 | 2002-04-30 | Matias Konstandt | Space frame construction assembly |
| US6550616B2 (en) * | 1999-08-23 | 2003-04-22 | Meadwestvaco Packaging Systems, Llc | Carton and carton blank |
| US20030000182A1 (en) * | 1999-12-10 | 2003-01-02 | Pascal Portrait | Packaging machine and apparatus for wraparound cartons |
| US6283293B1 (en) * | 2000-04-04 | 2001-09-04 | C. Brown Lingamfelter | Container for providing easy access to beverage cans |
| US6227367B1 (en) * | 2000-06-09 | 2001-05-08 | Riverwood International Corporation | Fully enclosed carton with diamond corner panels |
| US6378697B1 (en) * | 2000-10-17 | 2002-04-30 | Riverwood International Corporation | Beverage multiple packaging lock system |
| US6578736B2 (en) * | 2001-01-09 | 2003-06-17 | Riverwood International Corporation | Carton with an improved dispensing feature |
| US6378765B1 (en) * | 2001-01-09 | 2002-04-30 | Riverwood International Corporation | Carton panel lock |
| ATE313493T1 (en) * | 2001-09-19 | 2006-01-15 | Meadwestvaco Packaging Systems | ARTICLE CARRIER WITH AUTOMATIC END STOCKING MEANS |
| GB0202809D0 (en) * | 2002-02-07 | 2002-03-27 | Riverwood Int Corp | A paperboard carton |
| US20040000582A1 (en) * | 2002-06-27 | 2004-01-01 | Sutherland Robert L. | Carton lock |
| US6866185B2 (en) * | 2002-10-01 | 2005-03-15 | Graphic Packaging International, Inc. | Dispenser carton with tilt platform |
| US6814228B2 (en) * | 2002-10-10 | 2004-11-09 | Graphic Packaging International, Inc. | Wrap around carrier for petaloid pet bottles |
| US20040089671A1 (en) * | 2002-11-07 | 2004-05-13 | The C.W. Zumbiel Company | Carton with dispenser |
| US6988617B2 (en) * | 2003-03-10 | 2006-01-24 | Graphic Packaging International, Inc. | Bottom locking carton |
| US7237674B2 (en) * | 2003-03-26 | 2007-07-03 | Meadwestvaco Packaging Systems, Llc | Carton with dispenser |
| US6902104B2 (en) * | 2003-03-26 | 2005-06-07 | Meadwestvaco Packaging Systems, Llc | Carton with dispenser |
| US7048113B2 (en) * | 2003-03-28 | 2006-05-23 | Graphic Packaging International, Inc. | Minimalist can wrap |
| US6981631B2 (en) * | 2003-05-13 | 2006-01-03 | Graphic Packaging International, Inc. | Carton for brick-shaped containers with a top dispenser |
| US20060157545A1 (en) * | 2003-06-10 | 2006-07-20 | Jean-Michel Auclair | Returnable carton for bottles |
| RU2006118783A (en) * | 2003-10-31 | 2007-12-10 | МИДВЕСТВАКО ПЭКЭДЖИНГ СИСТЕМЗ ЭлЭлСи (US) | BOX WITH THE SIGN OF ISSUANCE OF JARS |
| GB2408039B (en) * | 2003-11-13 | 2007-06-06 | Graphic Packaging Int Inc | Carton with removable portion |
| US7000803B2 (en) * | 2003-12-02 | 2006-02-21 | The C.W. Zumbiel Company | Contoured carton with dispenser |
| US7093713B2 (en) * | 2004-01-30 | 2006-08-22 | Graphic Packaging International, Inc. | Fully enclosed pack with interlocking separator pad and dispenser |
| US20050189405A1 (en) * | 2004-02-27 | 2005-09-01 | Jean-Manuel Gomes | Three by four can package dispensing carton |
| US7175020B2 (en) * | 2004-03-15 | 2007-02-13 | Graphic Packaging International, Inc. | Flat primary and secondary locking system |
| US7159759B2 (en) * | 2004-06-03 | 2007-01-09 | Graphic Packaging International, Inc. | Fully enclosed wrap-around carton |
| US7448492B2 (en) * | 2005-07-22 | 2008-11-11 | Graphic Packaging International, Inc. | Carrier package and blank |
| DE602006014163D1 (en) * | 2005-07-22 | 2010-06-17 | Graphic Packaging Int Inc | WRAPPING CARRIER AND CUTTING |
| US7762397B2 (en) * | 2006-01-12 | 2010-07-27 | Graphic Packaging International, Inc. | Carrier package |
| US7762395B2 (en) * | 2006-04-17 | 2010-07-27 | Graphic Packaging International, Inc. | Carrier packages and methods of erecting carrier packages |
| WO2007150057A2 (en) * | 2006-06-23 | 2007-12-27 | Graphic Packaging International, Inc. | Carrier for containers |
| EP2326566B1 (en) * | 2008-09-24 | 2012-12-12 | Graphic Packaging International, Inc. | Carton with locking sections |
-
2006
- 2006-02-28 DE DE602006021182T patent/DE602006021182D1/en not_active Expired - Lifetime
- 2006-02-28 EP EP06736620A patent/EP1868912A2/en not_active Withdrawn
- 2006-02-28 EP EP07024266A patent/EP1908700B1/en not_active Expired - Lifetime
- 2006-02-28 AT AT07024266T patent/ATE504518T1/en not_active IP Right Cessation
- 2006-02-28 WO PCT/US2006/007331 patent/WO2006094080A2/en not_active Ceased
- 2006-02-28 CN CNA2006800061437A patent/CN101128368A/en active Pending
- 2006-02-28 BR BRPI0608396-0A patent/BRPI0608396A2/en not_active IP Right Cessation
- 2006-02-28 US US11/364,244 patent/US20060191811A1/en not_active Abandoned
- 2006-02-28 NZ NZ560602A patent/NZ560602A/en unknown
- 2006-02-28 AU AU2006218620A patent/AU2006218620B2/en not_active Ceased
- 2006-02-28 MX MX2007010347A patent/MX2007010347A/en not_active Application Discontinuation
- 2006-02-28 CA CA2595408A patent/CA2595408C/en not_active Expired - Fee Related
- 2006-02-28 JP JP2007558190A patent/JP4563459B2/en not_active Expired - Fee Related
Patent Citations (1)
| Publication number | Priority date | Publication date | Assignee | Title |
|---|---|---|---|---|
| US4566593A (en) | 1984-01-23 | 1986-01-28 | The Mead Corporation | Carton formed from a plurality of packages |
Also Published As
| Publication number | Publication date |
|---|---|
| CA2595408A1 (en) | 2006-09-08 |
| MX2007010347A (en) | 2007-09-27 |
| WO2006094080A3 (en) | 2006-11-30 |
| JP2008531423A (en) | 2008-08-14 |
| WO2006094080A2 (en) | 2006-09-08 |
| ATE504518T1 (en) | 2011-04-15 |
| EP1908700B1 (en) | 2011-04-06 |
| JP4563459B2 (en) | 2010-10-13 |
| AU2006218620A1 (en) | 2006-09-08 |
| US20060191811A1 (en) | 2006-08-31 |
| NZ560602A (en) | 2010-11-26 |
| EP1868912A2 (en) | 2007-12-26 |
| BRPI0608396A2 (en) | 2010-06-22 |
| CN101128368A (en) | 2008-02-20 |
| CA2595408C (en) | 2011-02-01 |
| DE602006021182D1 (en) | 2011-05-19 |
| EP1908700A3 (en) | 2008-08-13 |
| AU2006218620B2 (en) | 2010-07-01 |
Similar Documents
| Publication | Publication Date | Title |
|---|---|---|
| CA2595408C (en) | Wrap-around carton with dispensing feature | |
| AU2008279071B2 (en) | Carrier with retention features | |
| US7427011B2 (en) | Carton and insert and blank for forming the same | |
| US8127980B2 (en) | Carton with interlocking divider | |
| AU2005252189B2 (en) | Fully enclosed wrap-around carton | |
| EP2707306B1 (en) | Carrier with retention features | |
| US20230312206A1 (en) | Packaging system and blanks therefor | |
| EP4153503B1 (en) | Carrier with lid | |
| WO2019136338A1 (en) | Carrier with gusset | |
| US20220250820A1 (en) | Carton and blank therefor | |
| US20070023491A1 (en) | Carton with dispenser | |
| CA2920034A1 (en) | Carton and carton blank | |
| US20240067390A1 (en) | Divider Construct For Cartons, Related Systems And Methods | |
| US20220258941A1 (en) | Carton and blank therefor |
Legal Events
| Date | Code | Title | Description |
|---|---|---|---|
| PUAI | Public reference made under article 153(3) epc to a published international application that has entered the european phase |
Free format text: ORIGINAL CODE: 0009012 |
|
| 17P | Request for examination filed |
Effective date: 20071214 |
|
| AC | Divisional application: reference to earlier application |
Ref document number: 1868912 Country of ref document: EP Kind code of ref document: P |
|
| AK | Designated contracting states |
Kind code of ref document: A2 Designated state(s): AT BE BG CH CY CZ DE DK EE ES FI FR GB GR HU IE IS IT LI LT LU LV MC NL PL PT RO SE SI SK TR |
|
| PUAL | Search report despatched |
Free format text: ORIGINAL CODE: 0009013 |
|
| AK | Designated contracting states |
Kind code of ref document: A3 Designated state(s): AT BE BG CH CY CZ DE DK EE ES FI FR GB GR HU IE IS IT LI LT LU LV MC NL PL PT RO SE SI SK TR |
|
| 17Q | First examination report despatched |
Effective date: 20081114 |
|
| AKX | Designation fees paid |
Designated state(s): AT BE BG CH CY CZ DE DK EE ES FI FR GB GR HU IE IS IT LI LT LU LV MC NL PL PT RO SE SI SK TR |
|
| GRAP | Despatch of communication of intention to grant a patent |
Free format text: ORIGINAL CODE: EPIDOSNIGR1 |
|
| GRAS | Grant fee paid |
Free format text: ORIGINAL CODE: EPIDOSNIGR3 |
|
| GRAA | (expected) grant |
Free format text: ORIGINAL CODE: 0009210 |
|
| AC | Divisional application: reference to earlier application |
Ref document number: 1868912 Country of ref document: EP Kind code of ref document: P |
|
| AK | Designated contracting states |
Kind code of ref document: B1 Designated state(s): AT BE BG CH CY CZ DE DK EE ES FI FR GB GR HU IE IS IT LI LT LU LV MC NL PL PT RO SE SI SK TR |
|
| REG | Reference to a national code |
Ref country code: GB Ref legal event code: FG4D |
|
| REG | Reference to a national code |
Ref country code: CH Ref legal event code: EP |
|
| REG | Reference to a national code |
Ref country code: IE Ref legal event code: FG4D |
|
| REF | Corresponds to: |
Ref document number: 602006021182 Country of ref document: DE Date of ref document: 20110519 Kind code of ref document: P |
|
| REG | Reference to a national code |
Ref country code: DE Ref legal event code: R096 Ref document number: 602006021182 Country of ref document: DE Effective date: 20110519 |
|
| REG | Reference to a national code |
Ref country code: ES Ref legal event code: FG2A Ref document number: 2359742 Country of ref document: ES Kind code of ref document: T3 Effective date: 20110526 |
|
| REG | Reference to a national code |
Ref country code: NL Ref legal event code: VDEP Effective date: 20110406 |
|
| PG25 | Lapsed in a contracting state [announced via postgrant information from national office to epo] |
Ref country code: SI Free format text: LAPSE BECAUSE OF FAILURE TO SUBMIT A TRANSLATION OF THE DESCRIPTION OR TO PAY THE FEE WITHIN THE PRESCRIBED TIME-LIMIT Effective date: 20110406 |
|
| LTIE | Lt: invalidation of european patent or patent extension |
Effective date: 20110406 |
|
| PG25 | Lapsed in a contracting state [announced via postgrant information from national office to epo] |
Ref country code: LT Free format text: LAPSE BECAUSE OF FAILURE TO SUBMIT A TRANSLATION OF THE DESCRIPTION OR TO PAY THE FEE WITHIN THE PRESCRIBED TIME-LIMIT Effective date: 20110406 Ref country code: PT Free format text: LAPSE BECAUSE OF FAILURE TO SUBMIT A TRANSLATION OF THE DESCRIPTION OR TO PAY THE FEE WITHIN THE PRESCRIBED TIME-LIMIT Effective date: 20110808 Ref country code: SE Free format text: LAPSE BECAUSE OF FAILURE TO SUBMIT A TRANSLATION OF THE DESCRIPTION OR TO PAY THE FEE WITHIN THE PRESCRIBED TIME-LIMIT Effective date: 20110406 |
|
| PG25 | Lapsed in a contracting state [announced via postgrant information from national office to epo] |
Ref country code: LV Free format text: LAPSE BECAUSE OF FAILURE TO SUBMIT A TRANSLATION OF THE DESCRIPTION OR TO PAY THE FEE WITHIN THE PRESCRIBED TIME-LIMIT Effective date: 20110406 Ref country code: GR Free format text: LAPSE BECAUSE OF FAILURE TO SUBMIT A TRANSLATION OF THE DESCRIPTION OR TO PAY THE FEE WITHIN THE PRESCRIBED TIME-LIMIT Effective date: 20110707 Ref country code: CY Free format text: LAPSE BECAUSE OF FAILURE TO SUBMIT A TRANSLATION OF THE DESCRIPTION OR TO PAY THE FEE WITHIN THE PRESCRIBED TIME-LIMIT Effective date: 20110406 Ref country code: IS Free format text: LAPSE BECAUSE OF FAILURE TO SUBMIT A TRANSLATION OF THE DESCRIPTION OR TO PAY THE FEE WITHIN THE PRESCRIBED TIME-LIMIT Effective date: 20110806 Ref country code: AT Free format text: LAPSE BECAUSE OF FAILURE TO SUBMIT A TRANSLATION OF THE DESCRIPTION OR TO PAY THE FEE WITHIN THE PRESCRIBED TIME-LIMIT Effective date: 20110406 Ref country code: FI Free format text: LAPSE BECAUSE OF FAILURE TO SUBMIT A TRANSLATION OF THE DESCRIPTION OR TO PAY THE FEE WITHIN THE PRESCRIBED TIME-LIMIT Effective date: 20110406 |
|
| PG25 | Lapsed in a contracting state [announced via postgrant information from national office to epo] |
Ref country code: NL Free format text: LAPSE BECAUSE OF FAILURE TO SUBMIT A TRANSLATION OF THE DESCRIPTION OR TO PAY THE FEE WITHIN THE PRESCRIBED TIME-LIMIT Effective date: 20110406 |
|
| PG25 | Lapsed in a contracting state [announced via postgrant information from national office to epo] |
Ref country code: EE Free format text: LAPSE BECAUSE OF FAILURE TO SUBMIT A TRANSLATION OF THE DESCRIPTION OR TO PAY THE FEE WITHIN THE PRESCRIBED TIME-LIMIT Effective date: 20110406 Ref country code: CZ Free format text: LAPSE BECAUSE OF FAILURE TO SUBMIT A TRANSLATION OF THE DESCRIPTION OR TO PAY THE FEE WITHIN THE PRESCRIBED TIME-LIMIT Effective date: 20110406 |
|
| PLBE | No opposition filed within time limit |
Free format text: ORIGINAL CODE: 0009261 |
|
| STAA | Information on the status of an ep patent application or granted ep patent |
Free format text: STATUS: NO OPPOSITION FILED WITHIN TIME LIMIT |
|
| PG25 | Lapsed in a contracting state [announced via postgrant information from national office to epo] |
Ref country code: PL Free format text: LAPSE BECAUSE OF FAILURE TO SUBMIT A TRANSLATION OF THE DESCRIPTION OR TO PAY THE FEE WITHIN THE PRESCRIBED TIME-LIMIT Effective date: 20110406 Ref country code: RO Free format text: LAPSE BECAUSE OF FAILURE TO SUBMIT A TRANSLATION OF THE DESCRIPTION OR TO PAY THE FEE WITHIN THE PRESCRIBED TIME-LIMIT Effective date: 20110406 Ref country code: DK Free format text: LAPSE BECAUSE OF FAILURE TO SUBMIT A TRANSLATION OF THE DESCRIPTION OR TO PAY THE FEE WITHIN THE PRESCRIBED TIME-LIMIT Effective date: 20110406 Ref country code: SK Free format text: LAPSE BECAUSE OF FAILURE TO SUBMIT A TRANSLATION OF THE DESCRIPTION OR TO PAY THE FEE WITHIN THE PRESCRIBED TIME-LIMIT Effective date: 20110406 |
|
| 26N | No opposition filed |
Effective date: 20120110 |
|
| PGFP | Annual fee paid to national office [announced via postgrant information from national office to epo] |
Ref country code: FR Payment date: 20120306 Year of fee payment: 7 |
|
| REG | Reference to a national code |
Ref country code: DE Ref legal event code: R097 Ref document number: 602006021182 Country of ref document: DE Effective date: 20120110 |
|
| PGFP | Annual fee paid to national office [announced via postgrant information from national office to epo] |
Ref country code: DE Payment date: 20120228 Year of fee payment: 7 |
|
| PGFP | Annual fee paid to national office [announced via postgrant information from national office to epo] |
Ref country code: GB Payment date: 20120224 Year of fee payment: 7 Ref country code: BE Payment date: 20120227 Year of fee payment: 7 |
|
| PG25 | Lapsed in a contracting state [announced via postgrant information from national office to epo] |
Ref country code: MC Free format text: LAPSE BECAUSE OF NON-PAYMENT OF DUE FEES Effective date: 20120229 |
|
| REG | Reference to a national code |
Ref country code: CH Ref legal event code: PL |
|
| PG25 | Lapsed in a contracting state [announced via postgrant information from national office to epo] |
Ref country code: LI Free format text: LAPSE BECAUSE OF NON-PAYMENT OF DUE FEES Effective date: 20120229 Ref country code: CH Free format text: LAPSE BECAUSE OF NON-PAYMENT OF DUE FEES Effective date: 20120229 |
|
| REG | Reference to a national code |
Ref country code: IE Ref legal event code: MM4A |
|
| PG25 | Lapsed in a contracting state [announced via postgrant information from national office to epo] |
Ref country code: IE Free format text: LAPSE BECAUSE OF NON-PAYMENT OF DUE FEES Effective date: 20120228 |
|
| PG25 | Lapsed in a contracting state [announced via postgrant information from national office to epo] |
Ref country code: BG Free format text: LAPSE BECAUSE OF FAILURE TO SUBMIT A TRANSLATION OF THE DESCRIPTION OR TO PAY THE FEE WITHIN THE PRESCRIBED TIME-LIMIT Effective date: 20110706 |
|
| PGFP | Annual fee paid to national office [announced via postgrant information from national office to epo] |
Ref country code: ES Payment date: 20120227 Year of fee payment: 7 |
|
| BERE | Be: lapsed |
Owner name: GRAPHIC PACKAGING INTERNATIONAL, INC. Effective date: 20130228 |
|
| GBPC | Gb: european patent ceased through non-payment of renewal fee |
Effective date: 20130228 |
|
| REG | Reference to a national code |
Ref country code: FR Ref legal event code: ST Effective date: 20131031 |
|
| REG | Reference to a national code |
Ref country code: DE Ref legal event code: R119 Ref document number: 602006021182 Country of ref document: DE Effective date: 20130903 |
|
| PG25 | Lapsed in a contracting state [announced via postgrant information from national office to epo] |
Ref country code: FR Free format text: LAPSE BECAUSE OF NON-PAYMENT OF DUE FEES Effective date: 20130228 Ref country code: DE Free format text: LAPSE BECAUSE OF NON-PAYMENT OF DUE FEES Effective date: 20130903 Ref country code: GB Free format text: LAPSE BECAUSE OF NON-PAYMENT OF DUE FEES Effective date: 20130228 Ref country code: BE Free format text: LAPSE BECAUSE OF NON-PAYMENT OF DUE FEES Effective date: 20130228 |
|
| PG25 | Lapsed in a contracting state [announced via postgrant information from national office to epo] |
Ref country code: TR Free format text: LAPSE BECAUSE OF FAILURE TO SUBMIT A TRANSLATION OF THE DESCRIPTION OR TO PAY THE FEE WITHIN THE PRESCRIBED TIME-LIMIT Effective date: 20110406 |
|
| REG | Reference to a national code |
Ref country code: ES Ref legal event code: FD2A Effective date: 20140509 |
|
| PG25 | Lapsed in a contracting state [announced via postgrant information from national office to epo] |
Ref country code: LU Free format text: LAPSE BECAUSE OF NON-PAYMENT OF DUE FEES Effective date: 20120228 |
|
| PG25 | Lapsed in a contracting state [announced via postgrant information from national office to epo] |
Ref country code: HU Free format text: LAPSE BECAUSE OF FAILURE TO SUBMIT A TRANSLATION OF THE DESCRIPTION OR TO PAY THE FEE WITHIN THE PRESCRIBED TIME-LIMIT Effective date: 20060228 Ref country code: IT Free format text: LAPSE BECAUSE OF FAILURE TO SUBMIT A TRANSLATION OF THE DESCRIPTION OR TO PAY THE FEE WITHIN THE PRESCRIBED TIME-LIMIT Effective date: 20110406 |
|
| PG25 | Lapsed in a contracting state [announced via postgrant information from national office to epo] |
Ref country code: ES Free format text: LAPSE BECAUSE OF NON-PAYMENT OF DUE FEES Effective date: 20130301 |