EP1752665A1 - Aktorvorrichtung mit einer Mikrowellen-Positionsmesseinrichtung - Google Patents
Aktorvorrichtung mit einer Mikrowellen-Positionsmesseinrichtung Download PDFInfo
- Publication number
- EP1752665A1 EP1752665A1 EP05017445A EP05017445A EP1752665A1 EP 1752665 A1 EP1752665 A1 EP 1752665A1 EP 05017445 A EP05017445 A EP 05017445A EP 05017445 A EP05017445 A EP 05017445A EP 1752665 A1 EP1752665 A1 EP 1752665A1
- Authority
- EP
- European Patent Office
- Prior art keywords
- actuator
- protective cover
- microwave antenna
- housing
- actuator device
- Prior art date
- Legal status (The legal status is an assumption and is not a legal conclusion. Google has not performed a legal analysis and makes no representation as to the accuracy of the status listed.)
- Granted
Links
- 230000001681 protective effect Effects 0.000 claims abstract description 72
- 230000033001 locomotion Effects 0.000 claims description 32
- 239000012530 fluid Substances 0.000 claims description 16
- 230000005855 radiation Effects 0.000 claims description 2
- 238000005259 measurement Methods 0.000 abstract description 5
- 238000013459 approach Methods 0.000 abstract description 3
- 230000000694 effects Effects 0.000 abstract 1
- 230000002093 peripheral effect Effects 0.000 description 7
- 230000008878 coupling Effects 0.000 description 6
- 238000010168 coupling process Methods 0.000 description 6
- 238000005859 coupling reaction Methods 0.000 description 6
- 238000011156 evaluation Methods 0.000 description 5
- 239000000523 sample Substances 0.000 description 4
- 239000004033 plastic Substances 0.000 description 3
- 229920003023 plastic Polymers 0.000 description 3
- PEDCQBHIVMGVHV-UHFFFAOYSA-N Glycerine Chemical compound OCC(O)CO PEDCQBHIVMGVHV-UHFFFAOYSA-N 0.000 description 2
- 229920004142 LEXAN™ Polymers 0.000 description 2
- 239000004418 Lexan Substances 0.000 description 2
- 238000004026 adhesive bonding Methods 0.000 description 2
- 239000004020 conductor Substances 0.000 description 2
- 238000013016 damping Methods 0.000 description 2
- 238000013461 design Methods 0.000 description 2
- 239000002184 metal Substances 0.000 description 2
- 229920000515 polycarbonate Polymers 0.000 description 2
- 238000003466 welding Methods 0.000 description 2
- 229920001634 Copolyester Polymers 0.000 description 1
- 239000004425 Makrolon Substances 0.000 description 1
- 239000000853 adhesive Substances 0.000 description 1
- 230000001070 adhesive effect Effects 0.000 description 1
- 230000005540 biological transmission Effects 0.000 description 1
- 238000005266 casting Methods 0.000 description 1
- 230000001419 dependent effect Effects 0.000 description 1
- 239000003989 dielectric material Substances 0.000 description 1
- 239000013013 elastic material Substances 0.000 description 1
- 230000007613 environmental effect Effects 0.000 description 1
- 238000001746 injection moulding Methods 0.000 description 1
- 238000009413 insulation Methods 0.000 description 1
- 239000007788 liquid Substances 0.000 description 1
- 239000004973 liquid crystal related substance Substances 0.000 description 1
- 239000000463 material Substances 0.000 description 1
- 238000000034 method Methods 0.000 description 1
- 239000004417 polycarbonate Substances 0.000 description 1
- 229920000642 polymer Polymers 0.000 description 1
- 230000002787 reinforcement Effects 0.000 description 1
- 239000007787 solid Substances 0.000 description 1
Images
Classifications
-
- F—MECHANICAL ENGINEERING; LIGHTING; HEATING; WEAPONS; BLASTING
- F15—FLUID-PRESSURE ACTUATORS; HYDRAULICS OR PNEUMATICS IN GENERAL
- F15B—SYSTEMS ACTING BY MEANS OF FLUIDS IN GENERAL; FLUID-PRESSURE ACTUATORS, e.g. SERVOMOTORS; DETAILS OF FLUID-PRESSURE SYSTEMS, NOT OTHERWISE PROVIDED FOR
- F15B15/00—Fluid-actuated devices for displacing a member from one position to another; Gearing associated therewith
- F15B15/20—Other details, e.g. assembly with regulating devices
- F15B15/28—Means for indicating the position, e.g. end of stroke
- F15B15/2815—Position sensing, i.e. means for continuous measurement of position, e.g. LVDT
- F15B15/2869—Position sensing, i.e. means for continuous measurement of position, e.g. LVDT using electromagnetic radiation, e.g. radar or microwaves
-
- F—MECHANICAL ENGINEERING; LIGHTING; HEATING; WEAPONS; BLASTING
- F15—FLUID-PRESSURE ACTUATORS; HYDRAULICS OR PNEUMATICS IN GENERAL
- F15B—SYSTEMS ACTING BY MEANS OF FLUIDS IN GENERAL; FLUID-PRESSURE ACTUATORS, e.g. SERVOMOTORS; DETAILS OF FLUID-PRESSURE SYSTEMS, NOT OTHERWISE PROVIDED FOR
- F15B15/00—Fluid-actuated devices for displacing a member from one position to another; Gearing associated therewith
- F15B15/20—Other details, e.g. assembly with regulating devices
- F15B15/28—Means for indicating the position, e.g. end of stroke
- F15B15/2892—Means for indicating the position, e.g. end of stroke characterised by the attachment means
Definitions
- the invention relates to an actuator device, with a linearly movable in a movement space of an actuator housing actuator member, with a microwave position measuring device for detecting the position of Aktorglieds in the movement space, wherein the actuator member generates an acting on the position measuring device pressure wave when approaching the position measuring device with a high-frequency microwave antenna arrangement for transmitting and receiving microwaves, which are at least partially reflected by the actuator member.
- Such an actuator device is for example from the German Offenlegungsschrift DE 102 05 904 A1 known.
- the position measuring device includes a high frequency microwave antenna assembly for measuring a position of the piston from an annular stop annularly surrounding the microwave antenna assembly.
- the piston pushes a pressure wave in front of it, which mechanically loads the microwave antenna arrangement and thus, for example, alters the position of the microwave antenna arrangement relative to the housing.
- the distance measurement signal that generates the position-measuring device is influenced relatively strongly. It can also lead to a failure of the measurement signal.
- an actuator device of the type mentioned has a front of the microwave antenna array arranged dielectric protective cover device for mechanical protection of the microwave antenna assembly, and that between the protective cover device and the microwave antenna assembly for mechanical decoupling of the protective cover device of the microwave antenna assembly, there is a distance into which the protective cover device can deform as a result of the pressure wave.
- the position of the microwave antenna arrangement of pressure and temperature influences is unaffected constant or at least substantially constant.
- the protective cover device may deform as a result of the pressure wave, but remains mechanically removed from the microwave antenna assembly and initiates any residual kinetic energy of the Aktorglieds, such as a piston of a pneumatic cylinder, in the actuator housing, so that the microwave antenna assembly by the Pressure wave or other mechanical influences is not affected. There is thus a mechanical decoupling between the housing and the microwave antenna arrangement.
- the protective cover device expediently consists of a plastic which has a small temperature-dependent volume change.
- a plastic which has a small temperature-dependent volume change.
- LCP liquid crystal copolyester
- the protective cover device is electrically non-conductive and forms a dielectric, so that it does not affect the propagation of the microwaves, which have, for example, a frequency range of 10 MHz to 25 GHz.
- a particularly expedient variant of the invention can even provide that the protective cover device forms a type of secondary emission system, wherein, for example, the dielectric constant and / or the geometry of the protective covering device are matched to the microwave antenna arrangement and / or the geometry of the actuator housing, so that propagate the microwaves in a predetermined mode or modes in the motion space.
- the protective cover means is pressure-tightly connected to at least one wall of the housing to shield the microwave antenna assembly pressure-tight.
- This pressure-tightness is produced for example by gluing, screwing, snapping, welding or the like.
- the wall can be a side wall, a circumferential wall or an end wall.
- the protective cover device is advantageously applied to a side wall of the housing.
- This side wall can be a peripheral wall of the movement space and / or the lid, an end wall of the lid or the like.
- Between the respective side wall of the housing and the protective cover device is expediently arranged at least one seal.
- the protective cover device is molded or glued to the housing, such a seal is advantageous, but not essential.
- the protective cover device advantageously protrudes into the movement space.
- the protective cover device has an end stop for the actuator member in an advantageous variant of the invention.
- the protective cover device forms a type of impact body and / or end-stop damper for the actuator member, e.g. the piston of a pneumatic cylinder.
- the protective cover device advantageously forms part of a fluid drive, in particular a pneumatic working cylinder. It is understood that the protective cover device can also be used in principle in electrical drives.
- the actuator member is formed by a piston or a rotor of the respective drive.
- Another variant of the invention may provide that the protective cover device forms part of a fluid valve, for example a pneumatic valve.
- the actuator member is expediently provided for driving the valve member.
- the actuator member may form part of the valve member.
- the protective cover device expediently has at least one fluid channel connected to the movement space.
- This fluid channel is used for example for connecting the movement space or the piston chamber with a fluid connection, for example a compressed air connection.
- the fluid channel of the protective cover device is expediently a corresponding one Recess, for example, a blind channel, and / or associated with a projection.
- Such compensation means cause the microwaves in the movement space to propagate substantially symmetrically.
- the protective cover device expediently has at least one stop section, which forms an end stop for the actuator member.
- the fluid channel is provided, for example, in the stopper portion.
- the end stop projects in front of a cover portion of the protective cover device for protecting the microwave antenna assembly in the direction of the movement space, so that the actuator member impinges on the stopper portion, but not on the cover portion.
- the abutment portion carries mechanical energy laterally past the microwave antenna assembly and is supported on a rear wall and / or a side wall of the housing.
- the stopper portion is, for example, annular and annularly surrounds the microwave antenna arrangement. It is understood that a kind of supports or struts can be provided which protrude away from a rear wall of the housing in the direction of the movement space and form an end stop for the actuator member.
- the microwave antenna arrangement is expediently connected to a rear wall of the actuator housing, which is formed for example by a cover of the actuator housing.
- the protective cover device is connected to this cover.
- a Anspritz-, an adhesive or a screw method are suitable.
- the cover be attached as a kind of cover module with attached protective cover device to the actuator housing and can be fastened there, for example by means of bolts, clamps, by gluing, welding or the like.
- the actuator housing for example a cover of the actuator housing, expediently forms part of the microwave antenna arrangement.
- the microwave antenna assembly includes a coupling probe that cooperates with the housing, which is an electrical conduction structure.
- the protective cover device according to the invention protects the sensitive coupling probe against mechanical stress.
- the protective cover device is expediently an injection-molded part.
- the protective cover device can be produced away from the actuator housing and later be inserted into the actuator housing, for example screwed in and / or glued and / or locked. However, it is particularly preferred to inject the protective cover device to the actuator housing, for example a housing cover.
- a pneumatic working cylinder 10 forms an actuator device 11, in particular a fluidic actuator device.
- a piston 13 which forms an actuator member 14, mounted linearly movable back and forth.
- Via fluid or compressed air connections 15, 16, compressed air 17 can be introduced or discharged into a chamber 18, which forms a movement space 19 for the actuator member 14, in order to drive the piston 13.
- a middle part 20 of the housing 12, for example made of metal, is designed like a tube and has an inner cross-section which correlates with an outer contour of the actuator member 14 and, for example, is substantially circular.
- a bearing cover 23 and a closure cover 24 at the front and rear ends 21, 22 of the housing 12 seal the chamber 18 pressure-tight.
- a side wall or peripheral wall 25 of the central part 20, which bounds the chamber 18 on the outside, and the particular metal lids 23, 24 seals 26, 27 are arranged, for example O-rings.
- the covers 23, 24 are screwed by means of bolts 28 to the central part 20.
- the bolts 28 are screwed, for example, in bead-like reinforcement and retaining webs 29 which extend in the longitudinal direction 30 of the working cylinder 10 along the outer circumference of the housing 12 and are arranged in the corner regions of the housing 12, for example, has a substantially rectangular outer contour.
- the holding webs 29 contain, for example in the region of the end cover 24 holes 74 through which the bolts 28 are pushed through.
- the piston 13 is screwed by means of a screw arrangement 31 to a piston rod 32.
- an end position damping device can also be arranged in the region of the piston 13.
- the piston rod 32 forms a Kraftabgriffsglied, which penetrates the bearing cap 23.
- fastening means 34 for example an annular flange, arranged for attachment to actuated objects.
- the piston rod 32 is guided on a bearing 35 of the bearing cap 23. A penetrated by the piston rod 32 seal 36 of the bearing cap 23 forms a pressure-tight closure of the chamber 18th
- the actuator device 11 is attachable to a bracket.
- the piston 13 is longitudinally movable in the longitudinal direction 30 between the bearing cover 23 and the end cover 24 (arrow 30 ').
- a position measuring device 40 measures the distance 41 of the actuator member 14 relative to an end position 42 in the region of the end cover 24.
- the position measuring device 40 operates with the aid of microwaves, for example in the range of 1 MHz to about 25 GHz, suitably about 3 to 10 GHz, which emits a microwave antenna assembly 43 with a coupling probe 44 in the movement space 19, which is at least substantially electrically on its inside is conductive and thus forms a line structure 45 for the microwaves.
- the actuator member 14 forms a measuring object 46, which reflects the microwaves.
- a position of the actuator element 14 remote from the end position 42 is shown in dashed lines-the phase of microwaves emitted and received by the microwave antenna arrangement 43 changes.
- an evaluation device 47 of the position measuring device 40 can determine the position of the actuator member 14 in the movement space 19 and report, for example, to a control device (not shown) for controlling the actuator device 11, e.g. a programmable logic controller.
- the evaluation device 47 contains, for example, a transmitting device and a receiving device for transmitting and receiving the microwaves by means of the coupling probe 44, and other components 80, e.g. a digital signal processor, a bus coupling, a transmitting and / or receiving device for wired and / or wireless transmission and reception of position signals by means of an antenna 38 to the higher-level control and the like.
- other components 80 e.g. a digital signal processor, a bus coupling, a transmitting and / or receiving device for wired and / or wireless transmission and reception of position signals by means of an antenna 38 to the higher-level control and the like.
- the evaluation device 47 includes, for example, a high-frequency board 48 with unspecified components and interconnects for generating or transmitting and receiving microwaves and an evaluation board 49, for example contains a bus connection.
- the circuit boards 48, 49 are electrically connected to each other, for example with a connector cable 50.
- a lid 51 protects the boards 48, 49, which are arranged for example in a chamber 55 of the housing 12 and the end cover 24, from environmental influences.
- the microwave antenna arrangement 43 contains an electrically insulating or dielectric holding body 52 which, for example, has a stepped, cylindrical shape and is, for example, an electrically insulating plastic, in particular a low thermal expansion.
- the holding body 52 holds centrally, in particular coaxially, an antenna pole body 54 of the microwave antenna arrangement 43 which is electrically conductive at least on the outside.
- the holding body 52 and thus the microwave antenna arrangement 43 are central, in particular coaxial with the measuring or movement space 19 at a rear end wall 53 arranged the end cover 24, for example, inserted into a corresponding recess or receptacle 85 on the end wall 53, glued, screwed or fastened in any other way.
- First pole faces of the antenna pole body 54 cooperate with second pole faces of the housing 12 / the line structure 45.
- the antenna pole body 54 penetrates the holding body 52 and is electrically connected to the high-frequency board 48 through a line 84.
- the electrically conductive end wall 53 and thus the housing 12 are connected via a e.g. flexible line 56 connected to the high-frequency board 48.
- a front mushroom-like end wall 76 of the antenna pole body 54 which is arranged at the front on a central cylindrical antenna part 77, which may have, for example, an annular groove 86, protrudes toward the measuring or movement space 19 and is connected to the high-frequency circuit board by means of an electrical conductor section 78 48 connected.
- the conductor section 78 is guided through the holding body 52 and a channel 87 of the end wall 53, expediently with insulation distance to the end wall 53, to the high-frequency board 48 and mechanically or directly coupled via the suitably flexible line 84 to the high-frequency board 48 ,
- the front wall 76 rests on an end face 88 of a front part 81 of the holding body 52, in particular on circular segment-like projections 79.
- the front part 81 has a larger circumference than a rear section 82 of the holding body 52, which is received in the receptacle 85.
- the front part 81 rests on the front wall 53 at the front or projects in front of the end wall 53.
- the microwaves go from a coaxial mode to a waveguide mode.
- the antenna pole body 54 is, for example, a substantially metallic insert which is glued and / or welded to the holding body 52, in particular glued or welded into the receiving space 59.
- a variant of the invention provides that the antenna pole body 54 is encapsulated with the holding body 52 in a casting process, in particular an injection molding process.
- the position of the microwave antenna arrangement 43 relative to the housing 12 or the movement space 19, but in particular the position of the antenna pole body 54 relative to the line structure 45 with which the microwave antenna arrangement 43 cooperates, are essential for the exact position determination of the distance 41. So that these distances are maintained and thus a high measurement accuracy is achieved, are in the actuator device 11, the following measures are taken.
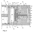
- a protective cover device 60 In front of the microwave antenna arrangement, a protective cover device 60 is arranged, which protects the microwave antenna arrangement 43 against mechanical loading by the actuator member 14.
- the protective cover device 60 includes an annular abutment portion 61 which protrudes forward of a lid-like cover portion 62 toward the movement space 19 and forms a stopper 63 for the actuator member 14.
- the piston 13 strikes, for example, with a ring-like projection 37 on the stop 63.
- the projection 37 may be a solid or elastic, resilient ring.
- the stopper portion 61 forms a kind of ring which extends around the microwave antenna assembly 43 and is supported on the rear wall or rear end wall 53 of the end cover 24.
- the cover portion 62 forms a kind of floor or false ceiling in the stop ring 64, which is integral with the stopper portion 61 in the present case.
- a multi-part design with, for example, screwed together and / or glued components of a protective cover device according to the invention is also possible.
- the protective cover device 60 seals the microwave antenna arrangement 43 against the pressure chamber or movement space 19 in a pressure-tight manner.
- the cover portion 62 is integral with the stop ring 64, so that there is no pressure wave in the direction of the microwave antenna arrangement between these two parts 43 can penetrate.
- seals 65, 66 for example O-rings between the outer periphery of the stop ring 64 and the peripheral wall 25 of the middle part 20 and a peripheral wall 67 of the end cover 24 are arranged.
- the protective cover device 60 has, for example, receptacles 65 ', 66', for example circumferential grooves, for receiving the seals 65, 66.
- the stop ring 64 protrudes in front of the end cover 24 and extends into the middle part 20. At its front portion, between the stop 63 and the false ceiling, which forms the cover portion 62, the stop ring 64 defines a receiving space 68 for the screw assembly 31 or an end-of-stroke damping device, not shown.
- the protective cover device 60 and the microwave antenna arrangement there is a distance 69 into which the cover section 62 can deform, for example due to a pressure wave which causes the actuator element 14.
- the protective cover device 60 and the microwave antenna assembly 43 are mechanically decoupled from each other and the microwave antenna assembly 43 is protected from compressive loading.
- the protective cover device 60 includes a fluid channel 70 for connecting the chamber 18 to the compressed air connection 16, which extends through the stop ring 64, for example.
- the microwaves in the movement space 19 can spread substantially symmetrically, the fluid channel 70 as a compensation means 71 associated with a blind channel 72, the at the fluid channel 70 opposite side of the stop ring 64 extends.
- the blind channel 72 terminates at the peripheral wall 67, ie the peripheral wall 67 closes the blind channel 72 radially outward.
- the compensation means 71 may also have a projection 73 instead of the blind channel 72, for example.
- the projection 73 is eg a ring, a ring segment, a cone or the like.
- the protective cover device 60 is made of a dielectric material, in particular a plastic with a small volume change as a function of thermal changes, e.g. from Lexan, Vectra or the like.
- the protective cover device 60 is tuned to the radiation behavior of the microwave antenna arrangement 43, so that the microwaves emitted by the microwave antenna arrangement 43 propagate in a predetermined fashion in the line structure 45 and the movement space 19, respectively.
- the protective cover device 60 is suitably used as a whole, e.g. shown in Figure 3b, pre-assembled on the end cover 24, for example, inserted, glued, snapped and / or screwed.
- the end cover 24 can be attached with the protective cover device 60 already mounted on the central part 20 as a whole module.
- the protective cover device 60 also forms a kind of cover which prevents pressure waves from passing via the microwave antenna arrangement 43 to the evaluation device 47, which is arranged protected on the rear side of the rear wall or end wall 53 of the end cover 24.
- a front part 90 of the protective cover device 60 has a larger diameter than a rear part 91, so that between the front and the rear part 90, 91 a stop 92, for example a Versprung, is formed. If the Protective cover device 60 is inserted into a receptacle 93 of the end cover 24, the stop 92 is located on an end face 94 of the peripheral wall 67 of the end cover 24 at. Thus, the protective cover means 60 is supported not only on the rear end wall 53 of the end cover 24, which forms the bottom of the receptacle 93, but also on the end face 94th
- the front part 81 of the holding body 52 projecting in front of the end wall 53 is enclosed pressure-tight by the protective cover device 60 in order to prevent mechanical loading by the actuator element 14 as it approaches the microwave antenna arrangement 43.
- the front part 81 and the end wall 76 of the antenna pole body 54 are arranged in a chamber 57 of the protective cover device 60 with the distance 69.
- the chamber 67 is formed by the bottom-like cover portion 62 and a rear side wall 58, which is a part of the stopper portion 61.
- the same or similar components are shown in FIG. 6 as in the previous embodiment, the same reference numerals or partially with an index' changed indices used.
- the protective cover device projects less far in the direction of the measuring or movement space 19 '. It contains no fluid channels, so that no compensation means are required.
- the protective cover device 60 ' is completely supported on a front end wall 53' of a closure lid 24 '.
- a stop ring 64 ' which forms a stop section 61', projects in the direction of the movement space 19 '. and forms a stop 63 'for the piston 14'.
- a cover section 62 ' is set back behind the stop 63' and rests with an edge region 95 on the end wall 53 '.
- a receptacle 85 'of the end cover 24' for the microwave antenna assembly 43 is lower relative to the end wall 53 ', so that the microwave antenna assembly 43 is set back relative to the end wall 53' and a distance 69 'to the protective cover floor or cover 62nd ' having.
- the distance 69 'into the cover 62' may deform, for example, as a result of a pressure wave caused by the actuator member 14 '.
- the coupling board 49 ' is connected via a line 96 to a control device, not shown, for the working cylinder 10' wired, which sends position measuring signals on the position of the Aktorglieds 14 'in the movement space 19'.
- the distance 69 ' may also be at least partially filled with a resilient, in particular elastic material.
Landscapes
- Engineering & Computer Science (AREA)
- Physics & Mathematics (AREA)
- Fluid Mechanics (AREA)
- General Engineering & Computer Science (AREA)
- Mechanical Engineering (AREA)
- Electromagnetism (AREA)
- Toxicology (AREA)
- Remote Sensing (AREA)
- Radar, Positioning & Navigation (AREA)
- Health & Medical Sciences (AREA)
- Actuator (AREA)
- Length-Measuring Devices Using Wave Or Particle Radiation (AREA)
- Length Measuring Devices Characterised By Use Of Acoustic Means (AREA)
- Radar Systems Or Details Thereof (AREA)
Abstract
Description
- Die Erfindung betrifft eine Aktorvorrichtung, mit einem in einem Bewegungsraum eines Aktor-Gehäuses linear beweglichen Aktorglied, mit einer Mikrowellen-Positionsmesseinrichtung zur Positionserfassung des Aktorglieds in dem Bewegungsraum, wobei das Aktorglied bei einer Annäherung an die Positionsmesseinrichtung eine auf die Positionsmesseinrichtung wirkende Druckwelle erzeugt, mit einer Hochfrequenz-Mikrowellen-Antennenanordnung zum Senden und Empfangen von Mikrowellen, die von dem Aktorglied zumindest teilweise reflektiert werden.
- Eine derartige Aktorvorrichtung ist beispielsweise aus der
deutschen Offenlegungsschrift DE 102 05 904 A1 bekannt. Dort ist als eine Aktorvorrichtung ein pneumatischer Zylinder mit einem Aktorglied, das durch einen Kolben des Zylinders gebildet wird, beschrieben. Die Positionsmesseinrichtung enthält eine Hochfrequenz-Mikrowellen-Antennenanordnung zum Messen eines Abstandes bzw. einer Position des Kolbens von einem ringförmigen Anschlag, der die Mikrowellen-Antennenanordnung ringförmig umgibt. Der Kolben schiebt bei seiner Annäherung an die Mikrowellen-Antennenanordnung eine Druckwelle vor sich her, die die Mikrowellen-Antennenanordnung mechanisch belastet und so beispielsweise die Lage der Mikrowellen-Antennenanordnung relativ zu dem Gehäuse verändert. Dadurch wird das Abstandssmesssignal, das die Positionsmesseinrichtung erzeugt, verhältnismäßig stark beeinflusst. Es kann auch zu einem Ausfall des Messsignals kommen. - Es ist daher die Aufgabe der Erfindung, eine Aktorvorrichtung der eingangs genannten Art gegenüber mechanischen Einflüssen unempfindlicher auszugestalten.
- Zur Lösung der Aufgabe ist bei einer Aktorvorrichtung der eingangs genannten Art vorgesehen, dass sie eine vor der Mikrowellen-Antennenanordnung angeordnete dielektrische Schutzabdeckungseinrichtung zum mechanischen Schutz der Mikrowellen-Antennenanordnung aufweist, und dass zwischen der Schutzabdeckungseinrichtung und der Mikrowellen-Antennenanordnung zur mechanischen Entkopplung der Schutzabdeckungseinrichtung von der Mikrowellen-Antennenanordnung ein Abstand vorhanden ist, in den hinein sich die Schutzabdeckungseinrichtung infolge der Druckwelle verformen kann.
- Durch die erfindungsgemäße Schutzabdeckungseinrichtung ist die Position der Mikrowellen-Antennenanordnung von Druck- und Temperatureinflüssen unbeeinflusst konstant oder zumindest im wesentlichen konstant.
- Die Schutzabdeckungseinrichtung kann sich in Folge der Druckwelle verformen, bleibt aber mechanisch von der Mikrowellen-Antennenanordnung entfernt und leitet gegebenenfalls vorhandene kinetische Restenergie des Aktorglieds, beispielsweise eines Kolbens eines pneumatischen Zylinders, in das Aktor-Gehäuse ein, so dass die Mikrowellen-Antennenanordnung durch die Druckwelle oder sonstige mechanische Einflüsse nicht beeinträchtigt wird. Es ist also eine mechanische Entkopplung zwischen dem Gehäuse und der Mikrowellen-Antennenanordnung vorhanden.
- Die Schutzabdeckungseinrichtung besteht zweckmäßigerweise aus einem Kunststoff, der eine kleine temperaturabhängige Volumenänderung aufweist. Als zweckmäßig haben sich beispielsweise Polycarbonat-Werkstoffe, z.B. Lexan, Makrolon oder dergleichen, oder flüssigkristalliner Copolyester (Liquid Cristal Polymere = LCP), z.B. Vectra, herausgestellt, der gute Festigkeitseigenschaften und eine niedrige Wärmeausdehnung aufweist.
- Die Schutzabdeckungseinrichtung ist elektrisch nicht leitfähig und bildet ein Dielektrikum, so dass sie die Ausbreitung der Mikrowellen, die beispielsweise einen Frequenzbereich von 10 MHz bis 25 GHz haben, nicht beeinträchtigt. Eine besonders zweckmäßige Variante der Erfindung kann sogar vorsehen, dass die Schutzabdeckungseinrichtung eine Art sekundäres Abstrahlsystem bildet, wobei beispielsweise die Dielektrizitätskonstante und/oder die Geometrie der Schutzabdeckungseinrichtung auf die Mikrowellen-Antennenanordnung und/oder die Geometrie des Aktor-Gehäuses abgestimmt sind, so dass sich die Mikrowellen in einem vorbestimmten Mode oder in vorbestimmten Modes in dem Bewegungsraum ausbreiten.
- Zweckmäßigerweise ist die Schutzabdeckungseinrichtung mit mindestens einer Wandung des Gehäuses druckdicht verbunden, um die Mikrowellen-Antennenanordnung druckdicht abzuschirmen. Diese Druckdichtigkeit wird beispielsweise durch Verkleben, Verschrauben, Einrasten, Verschweißen oder dergleichen hergestellt. Bei der Wandung kann es sich um eine Seitenwandungen, eine Umfangswandung oder eine Stirnwandung handeln. Die Schutzabdeckungseinrichtung liegt vorteilhafterweise an einer Seitenwandung des Gehäuses an. Bei dieser Seitenwandung kann es sich um eine Umfangswandung des Bewegungsraums und/oder des Deckels, einer Stirnwandung des Deckels oder dergleichen handeln. Zwischen der jeweiligen Seitenwandung des Gehäuses und der Schutzabdeckungseinrichtung ist zweckmäßigerweise mindestens eine Dichtung angeordnet. Wenn die Schutzabdeckungseinrichtung an das Gehäuse angespritzt oder angeklebt ist, ist eine solche Dichtung zwar vorteilhaft, jedoch nicht unbedingt erforderlich.
- Die Schutzabdeckungseinrichtung steht vorteilhafterweise in den Bewegungsraum hinein vor. Die Schutzabdeckungseinrichtung weist in einer vorteilhaften Variante der Erfindung einen Endanschlag für das Aktorglied auf. Beispielsweise bildet die Schutzabdeckungseinrichtung eine Art Prallkörper und/oder Endlagendämpfer für das Aktorglied, z.B. den Kolben eines pneumatischen Zylinders.
- Die Schutzabdeckungseinrichtung bildet vorteilhafterweise einen Bestandteil eines Fluidantriebs, insbesondere eines pneumatischen Arbeitszylinders. Es versteht sich, dass die Schutzabdeckungseinrichtung auch bei elektrischen Antrieben prinzipiell einsetzbar ist. Das Aktorglied wird durch einen Kolben bzw. einen Läufer des jeweiligen Antriebes gebildet. Eine andere Variante der Erfindung kann vorsehen, dass die Schutzabdeckungseinrichtung einen Bestandteil eines Fluidventils bildet, beispielsweise eines pneumatischen Ventils. Das Aktorglied ist zweckmäßigerweise zum Antreiben des Ventilglieds vorgesehen. Beispielsweise kann das Aktorglied einen Bestandteil des Ventilglieds bilden.
- Bei den beiden letztgenannten Varianten hat die erfindungsgemäße Schutzabdeckungseinrichtung zweckmäßigerweise mindestens einen mit dem Bewegungsraum verbundenen Fluidkanal. Dieser Fluidkanal dient beispielsweise zum Verbinden des Bewegungsraums bzw. der Kolbenkammer mit einem Fluidanschluss, beispielsweise einem Druckluftanschluss. Dem Fluidkanal der Schutzabdeckungseinrichtung ist zweckmäßigerweise eine korrespondierende Ausnehmung, beispielsweise ein Blindkanal, und/oder ein Vorsprung zugeordnet. Solche Kompensationsmittel bewirken, dass sich die Mikrowellen in dem Bewegungsraum im wesentlichen symmetrisch ausbreiten können.
- Die Schutzabdeckungseinrichtung weist zweckmäßigerweise nämlich mindestens einen Anschlagabschnitt auf, der einen Endanschlag für das Aktorglied bildet. Der Fluidkanal ist beispielsweise in dem Anschlagabschnitt vorgesehen. Der Endanschlag steht vor einen Abdeckabschnitt der Schutzabdeckungseinrichtung zum Schutz der Mikrowellen-Antennenanordnung in Richtung des Bewegungsraumes vor, so dass das Aktorglied auf den Anschlagabschnitt auftrifft, nicht jedoch auf den Abdeckabschnitt. Der Anschlagabschnitt führt mechanische Energie seitlich an der Mikrowellen-Antennenanordnung vorbei und stützt sich an einer Rückwand und/oder einer Seitenwandung des Gehäuses ab. Der Anschlagabschnitt ist beispielsweise ringförmig und umgibt ringförmig die Mikrowellen-Antennenanordnung. Es versteht sich, dass auch eine Art Stützen oder Streben vorgesehen sein können, die von einer Rückwand des Gehäuses weg in Richtung des Bewegungsraumes vorstehen und einen Endanschlag für das Aktorglied bilden.
- Die Mikrowellen-Antennenanordnung ist zweckmäßigerweise mit einer hinteren Wandung des Aktor-Gehäuses verbunden, die beispielsweise durch einen Deckel des Aktor-Gehäuses gebildet ist. Zweckmäßigerweise ist auch die Schutzabdeckungseinrichtung mit diesem Deckel verbunden. Zur Verbindung eignen sich beispielsweise ein Anspritz-, ein Klebe- oder ein Schraubeverfahren. Insgesamt ist es zweckmäßig, dass der Deckel als eine Art Deckelmodul mit angesetzter Schutzabdeckungseinrichtung an das Aktor-Gehäuse angesetzt werden und dort befestigt werden kann, beispielsweise mit Hilfe von Bolzen, Klammern, durch Kleben, Verschweißen oder dergleichen.
- Das Aktor-Gehäuse, beispielsweise ein Deckel des Aktor-Gehäuses, bildet zweckmäßigerweise einen Bestandteil der Mikrowellen-Antennenanordnung. Beispielsweise enthält die Mikrowellen-Antennenanordnung eine Koppelsonde, die mit dem Gehäuse, das eine elektrische Leitungsstruktur darstellt, zusammenwirkt. Die erfindungsgemäße Schutzabdeckungseinrichtung schützt die empfindliche Koppelsonde vor mechanischer Belastung.
- Die Schutzabdeckungseinrichtung ist zweckmäßigerweise ein Spritzgussteil. Die Schutzabdeckungseinrichtung kann abseits von dem Aktor-Gehäuse hergestellt werden und später in das Aktor-Gehäuse eingesetzt werden, beispielsweise eingeschraubt und/oder eingeklebt und/oder eingerastet werden. Besonders bevorzugt ist aber, die Schutzabdeckungseinrichtung an das Aktor-Gehäuse, beispielsweise einen Gehäusedeckel, anzuspritzen.
- Nachfolgend werden Ausführungsbeispiele anhand der Zeichnung beschrieben. Es zeigen:
- Figur 1
- eine Querschnittsansicht einer Aktorvorrichtung, die mit einer erfindungsgemäße Positionsmesseinrichtung ausgestattet ist, etwa entsprechend einer Linie A-A in Figur 2,
- Figur 2
- eine hintere Ansicht eines Deckels der Aktorvorrichtung gemäß Figur 1,
- Figur 3a
- eine perspektivische Explosionsdarstellung des Deckels der Aktorvorrichtung gemäß Figur 2 mit einer Schutzabdeckungseinrichtung, einem Antennenpolkörper, und einem Haltekörper zum Halten des Antennenpolkörpers im von dem Deckel entfernten Zustand,
- Figur 3b
- den Deckel mit den Komponenten gemäß Figur 3a im montierten Zustand,
- Figur 4
- eine perspektivische Ansicht des Antennenpolkörpers gemäß Figur 3a,
- Figur 5
- eine teilweise schematische Ansicht der Positionsmessvorrichtung der Aktorvorrichtung gemäß Figur 1 im Querschnitt, und
- Figur 6
- eine Querschnittsansicht etwa entsprechend Figur 5 einer weiteren Aktorvorrichtung mit einem zweiten Ausführungsbeispiel einer erfindungsgemäßen Schutzabdeckungseinrichtung.
- Ein pneumatischer Arbeitszylinder 10 bildet eine Aktorvorrichtung 11, insbesondere eine fluidtechnische Aktorvorrichtung. In einem Gehäuse 12 ist ein Kolben 13, der ein Aktorglied 14 bildet, linear hin und her beweglich gelagert. Über Fluid- bzw. Druckluftanschlüsse 15, 16 kann Druckluft 17 in eine Kammer 18, die einen Bewegungsraum 19 für das Aktorglied 14 bildet, eingebracht bzw. ausgelassen werden, um den Kolben 13 anzutreiben.
- Ein Mittelteil 20 des Gehäuses 12, z.B. aus Metall, ist rohrartig ausgestaltet und hat einen Innenquerschnitt, der mit einer Außenkontur des Aktorglieds 14 korreliert und beispielsweise im wesentlichen kreisrund ist. Ein Lager-Deckel 23 und ein Abschluss-Deckel 24 am vorderen und hinteren Ende 21, 22 des Gehäuses 12 verschließen die Kammer 18 druckdicht. Beispielsweise sind zwischen einer Seitenwandung oder Umfangswandung 25 des Mittelteils 20, die die Kammer 18 außenseitig begrenzt, und den insbesondere aus Metall bestehenden Deckeln 23, 24 Dichtungen 26, 27 angeordnet, beispielsweise O-Ringe. Die Deckel 23, 24 sind mittels Bolzen 28 an das Mittelteil 20 angeschraubt. Die Bolzen 28 sind beispielsweise in wulstartige Verstärkungs- und Haltestege 29 eingeschraubt, die sich in Längserstreckungsrichtung 30 des Arbeitszylinders 10 am Außenumfang des Gehäuses 12 entlang erstrecken und in den Eckbereichen des Gehäuses 12 angeordnet sind, das z.B. eine im wesentlichen rechteckige Außenkontur hat. Die Haltestege 29 enthalten z.B. im Bereich des Abschluss-Deckels 24 Bohrungen 74, durch die die Bolzen 28 durchgesteckt sind.
- Der Kolben 13 ist mittels einer Schraubenanordnung 31 an eine Kolbenstange 32 angeschraubt. Anstelle der Schraubenanordnung 31 kann auch eine Endlagendämpfungseinrichtung im Bereich des Kolbens 13 angeordnet sein. Um den Kolben 13 herum verläuft ringförmig eine Dichtung 33, die die Kammer 18 in zwei druckdicht voneinander isolierte Teilräume unterteilt. Die Kolbenstange 32 bildet ein Kraftabgriffsglied, das den Lager-Deckel 23 durchdringt. An dem freien Ende der Kolbenstange 32 sind Befestigungsmittel 34, beispielsweise ein Ringflansch, zur Befestigung zu betätigender Gegenstände angeordnet. Die Kolbenstange 32 ist an einem Lager 35 des Lager-Deckels 23 geführt. Eine von der Kolbenstange 32 durchdrungene Dichtung 36 des Lager-Deckels 23 bildet einen druckdichten Abschluss der Kammer 18.
- Mit Hilfe von Montagemitteln, die z.B. eine Montagebohrung am Lager-Deckel 23 umfassen, ist die Aktorvorrichtung 11 an einer Halterung befestigbar.
- Der Kolben 13 ist in Längserstreckungsrichtung 30 zwischen dem Lager-Deckel 23 und dem Abschluss-Deckel 24 längsbeweglich (Pfeil 30'). Eine Positionsmesseinrichtung 40 misst den Abstand 41 des Aktorglieds 14 relativ zu einer Endlage 42 im Bereich des Abschluss-Deckels 24. Die Positionsmesseinrichtung 40 arbeitet mit Hilfe von Mikrowellen, beispielsweise im Bereich von 1 MHz bis ca. 25 GHz, zweckmäßigerweise etwa 3 bis 10 GHz, die eine Mikrowellen-Antennenanordnung 43 mit einer Koppelsonde 44 in den Bewegungsraum 19 aussendet, der zumindest an seiner Innenseite im wesentlichen elektrisch leitfähig ist und somit eine Leitungsstruktur 45 für die Mikrowellen bildet.
- Das Aktorglied 14 bildet ein Messobjekt 46, das die Mikrowellen reflektiert. In Abhängigkeit von der jeweiligen Position des Messobjekts 46 in dem Bewegungsraum 19 - eine von der Endlage 42 entfernte Stellung des Aktorglieds 14 ist in gestrichelten Linien dargestellt - ändert sich die Phase von der Mikrowellen-Antennenanordnung 43 ausgesendeten und empfangenen Mikrowellen. Anhand der Phasenlage und/oder der Laufzeit der Mikrowellen kann eine Auswerteeinrichtung 47 der Positionsmesseinrichtung 40 die Position des Aktorglieds 14 im Bewegungsraum 19 ermitteln und beispielsweise an eine nicht dargestellte Steuerungsvorrichtung zur Steuerung der Aktorvorrichtung 11 melden, z.B. eine speicherprogrammierbare Steuerungsvorrichtung. Die Auswerteeinrichtung 47 enthält beispielsweise eine Sendeeinrichtung und eine Empfangseinrichtung zum Senden und Empfangen der Mikrowellen mittels der Koppelsonde 44, und sonstige Bauteile 80, z.B. einen digitalen Signalprozessor, eine Busankopplung, eine Sende- und/oder Empfangseinrichtung zum drahtgebundenen und/oder drahtlosen Senden und Empfangen von Positionssignalen mittels einer Antenne 38 an die übergeordnete Steuerung und dergleichen.
- Die Auswerteeinrichtung 47 enthält beispielsweise eine Hochfrequenz-Platine 48 mit nicht näher bezeichneten Bauteilen und Leiterbahnen zum Erzeugen bzw. Senden und Empfangen von Mikrowellen sowie eine Auswerteplatine 49, die beispielsweise eine Busankopplung enthält. Die Platinen 48, 49 sind elektrisch miteinander verbunden, beispielsweise mit einem Steckerkabel 50. Ein Deckel 51 schützt die Platinen 48, 49, die z.B. in einer Kammer 55 des Gehäuses 12 bzw. des Abschluss-Deckels 24 angeordnet sind, vor Umwelteinflüssen.
- Die Mikrowellen-Antennenanordnung 43 enthält einen elektrisch isolierenden bzw. dielektrischen Haltekörper 52, der beispielsweise eine gestufte, zylindrische Gestalt aufweist und beispielsweise aus eine elektrisch isolierenden, insbesondere eine geringe Wärmeausdehnung aufweisenden Kunststoff ist. Der Haltekörper 52 hält zentral, insbesondere koaxial, einen zumindest außenseitig elektrisch leitfähigen Antennenpolkörper 54 der Mikrowellen-Antennenanordnung 43. Der Haltekörper 52 und somit die Mikrowellen-Antennenanordnung 43 sind zentral, insbesondere koaxial mit dem Mess- bzw. Bewegungsraum 19 an einer hinteren Stirnwandung 53 des Abschluss-Deckels 24 angeordnet, beispielsweise in eine entsprechende Ausnehmung oder Aufnahme 85 an der Stirnwandung 53 eingesteckt, eingeklebt, eingeschraubt oder in sonstiger Weise befestigt.
- Erste Polflächen des Antennenpolkörpers 54 wirken mit zweiten Polflächen des Gehäuses 12/der Leitungsstruktur 45 zusammen. Der Antennenpolkörper 54 durchdringt den Haltekörper 52 und ist durch eine Leitung 84 elektrisch mit der Hochfrequenz-Platine 48 verbunden. Die elektrisch leitende Stirnwand 53 und somit das Gehäuse 12 sind über eine z.B. flexible Leitung 56 mit der Hochfrequenz-Platine 48 verbunden.
- Eine vordere pilzartige Stirnwand 76 des Antennenpolkörpers 54, die vorn an einem mittleren zylindrischen Antennenteil 77 angeordnet ist, das z.B. eine Ringnut 86 aufweisen kann, steht zum Mess- bzw. Bewegungsraum 19 hin vor und ist mittels eines elektrischen Leiterabschnitts 78 mit der Hochfrequenz-Platine 48 verbunden. Der Leiterabschnitt 78 ist durch den Haltekörper 52 und einen Kanal 87 der Stirnwandung 53 hindurch, zweckmäßigerweise mit Isolationsabstand zu der Stirnwand 53, zu der Hochfrequenz-Platine 48 geführt und direkt oder über die zweckmäßigerweise flexible Leitung 84 mechanisch entkoppelt an die Hochfrequenz-Platine 48 angeschlossen. Die Stirnwand 76 liegt auf einer Stirnseite 88 eines Vorderteils 81 des Haltekörpers 52 auf, insbesondere auf kreissegmentartigen Vorsprüngen 79. Das Vorderteil 81 weist einen größeren Umfang als ein hinterer Abschnitt 82 des Haltekörpers 52 auf, der in der Aufnahme 85 aufgenommen ist. Das Vorderteil 81 liegt auf der Stirnwand 53 vorn auf bzw. steht vor die Stirnwand 53 vor.
- Von der Stirnwand 76 in Richtung des Bewegungsraums 19 weg gehen die Mikrowellen von einem Koaxial-Mode in einen Hohlleitermode über.
- Der Antennenpolkörper 54 ist beispielsweise ein im wesentlichen metallisches Einsatzstück, das an den Haltekörper 52 geklebt und/oder geschweißt ist, insbesondere in den Aufnahmeraum 59 eingeklebt oder eingeschweißt ist. Eine Variante der Erfindung sieht vor, dass der Antennenpolkörper 54 in einem Gussverfahren, insbesondere einem Spritzgussverfahren mit dem Haltekörper 52 umspritzt wird.
- Die Position der Mikrowellen-Antennenanordnung 43 relativ zu dem Gehäuse 12 bzw. dem Bewegungsraum 19, insbesondere aber die Position des Antennenpolkörpers 54 relativ zu der Leitungsstruktur 45, mit der die Mikrowellen-Antennenanordnung 43 zusammenwirkt, sind zur exakten Positionsbestimmung des Abstandes 41 wesentlich. Damit dieses Abstände eingehalten werden und somit eine hohe Messgenauigkeit erzielt wird, sind bei der Aktorvorrichtung 11 die nachfolgenden Maßnahmen getroffen.
- Vor der Mikrowellen-Antennenanordnung ist eine Schutzabdeckungseinrichtung 60 angeordnet, die die Mikrowellen-Antennenanordnung 43 vor mechanischer Belastung durch das Aktorglied 14 schützt. Die Schutzabdeckungseinrichtung 60 enthält einen ringartigen Anschlagabschnitt 61, der vor einen deckelartigen Abdeckabschnitt 62 nach vorn in Richtung des Bewegungsraums 19 vorsteht und einen Anschlag 63 für das Aktorglied 14 bildet. Der Kolben 13 schlägt beispielsweise mit einem ringartigen Vorsprung 37 an dem Anschlag 63 an. Der Vorsprung 37 kann ein fester oder elastischer, federnder Ring sein. Der Anschlagabschnitt 61 bildet eine Art Ring, der um die Mikrowellen-Antennenanordnung 43 herum verläuft und sich an der Rückwand bzw. hinteren Stirnwand 53 des Abschluss-Deckels 24 abstützt. Somit werden mechanische Kräfte, die durch einen Aufprall des Aktorglieds 14 am Anschlag 63 hervorgerufen werden, in den Abschluss-Deckel 24 und so in das Gehäuse 12 eingeleitet und von der Mikrowellen-Antennenanordnung 43 ferngehalten.
- Der Abdeckabschnitt 62 bildet eine Art Boden oder Zwischendecke in dem Anschlagring 64, der im vorliegenden Fall einstückig mit dem Anschlagabschnitt 61 ist. Eine mehrteilige Ausführung mit beispielsweise miteinander verschraubten und/oder verklebten Komponenten einer erfindungsgemäßen Schutzabdeckungseinrichtung ist auch möglich.
- Die Schutzabdeckungseinrichtung 60 dichtet die Mikrowellen-Antennenanordnung 43 gegenüber dem Druckraum bzw. Bewegungsraum 19 druckdicht ab. Beispielsweise ist der Abdeckabschnitt 62 einstückig mit dem Anschlagring 64, so dass zwischen diesen beiden Teilen keine Druckwelle in Richtung der Mikrowellen-Antennenanordnung 43 vordringen kann. Ferner sind außenseitig an dem Anschlagring 64 angeordnete Dichtungen 65, 66, z.B. O-Ringe zwischen dem Außenumfang des Anschlagsrings 64 und der Umfangswandung 25 des Mittelteils 20 sowie einer Umfangswandung 67 des Abschluss-Deckels 24 angeordnet. Die Schutzabdeckungseinrichtung 60 hat beispielsweise Aufnahmen 65', 66', z.B. umlaufende Nuten, zur Aufnahme der Dichtungen 65, 66.
- Der Anschlagring 64 steht vor den Abschluss-Deckel 24 vor und erstreckt sich in das Mittelteil 20 hinein. An seinem vorderen Abschnitt, zwischen dem Anschlag 63 und der Zwischendecke, die den Abdeckabschnitt 62 bildet, begrenzt der Anschlagring 64 einen Aufnahmeraum 68 für die Schraubenanordnung 31 oder eine nicht dargestellte Endlagendämpfungseinrichtung.
- Zwischen der Schutzabdeckungseinrichtung 60 und der Mikrowellen-Antennenanordnung ist ein Abstand 69 vorhanden, in den hinein sich der Abdeckabschnitt 62 verformen kann, beispielsweise in Folge einer Druckwelle, die das Aktorglied 14 verursacht. Somit sind die Schutzabdeckungseinrichtung 60 und die Mikrowellen-Antennenanordnung 43 mechanisch voneinander entkoppelt und die Mikrowellen-Antennenanordnung 43 vor Druckbelastung geschützt.
- Die Schutzabdeckungseinrichtung 60 enthält einen Fluidkanal 70 zur Verbindung der Kammer 18 mit dem Druckluftanschluss 16, der beispielsweise durch den Anschlagring 64 hindurch verläuft.
- Damit sich die Mikrowellen in dem Bewegungsraum 19 im wesentlichen symmetrisch ausbreiten können, ist dem Fluidkanal 70 als Kompensationsmittel 71 ein Blindkanal 72 zugeordnet, der an der dem Fluidkanal 70 entgegengesetzten Seite des Anschlagrings 64 verläuft. Der Blindkanal 72 endet an der Umfangswandung 67, d.h. die Umfangswandung 67 verschließt den Blindkanal 72 radial außen. Die Kompensationsmittel 71 können auch beispielsweise anstelle des Blindkanals 72 einen Vorsprung 73 aufweisen. Der Vorsprung 73 ist z.B. ein Ring, ein Ringsegment, ein Kegel oder dergleichen.
- Die Schutzabdeckungseinrichtung 60 besteht aus einem dielektrischen Material, insbesondere aus einem Kunststoff mit geringer Volumenänderung in Abhängigkeit von thermischen Änderungen, z.B. aus Lexan, Vectra oder dergleichen. Die Schutzabdeckungseinrichtung 60 ist auf das Abstrahlverhalten der Mikrowellen-Antennenanordnung 43 abgestimmt, so dass sich die Mikrowellen, die von der Mikrowellen-Antennenanordnung 43 ausgesendet werden, in einem vorbestimmten Mode in der Leitungsstruktur 45 bzw. dem Bewegungsraum 19 ausbreiten.
- Die Schutzabdeckungseinrichtung 60 ist zweckmäßigerweise als Ganzes, wie z.B. in Figur 3b dargestellt, an dem Abschluss-Deckel 24 vormontiert, beispielsweise eingesteckt, eingeklebt, eingerastet und/oder eingeschraubt. Somit kann der Abschluss-Deckel 24 mit bereits montierter Schutzabdeckungseinrichtung 60 an dem Mittelteil 20 als ganzes Modul befestigt werden. Die Schutzabdeckungseinrichtung 60 bildet zudem eine Art Deckel, der verhindert, dass Druckwellen über die Mikrowellen-Antennenanordnung 43 hinweg zu der Auswerteeinrichtung 47 gelangen, die an der Rückseite der Rückwand oder Stirnwand 53 des Abschluss-Deckels 24 geschützt angeordnet ist.
- Ein vorderer Teil 90 der Schutzabdeckungseinrichtung 60 weist einen größeren Durchmesser auf als ein hinterer Teil 91, so dass zwischen dem vorderen und dem hinteren Teil 90, 91 ein Anschlag 92, z.B. ein Versprung, gebildet ist. Wenn die Schutzabdeckungseinrichtung 60 in eine Aufnahme 93 des Abschluss-Deckels 24 eingesteckt wird, liegt der Anschlag 92 an einer Stirnfläche 94 der Umfangswandung 67 des Abschluss-Deckels 24 an. Somit stützt sich die Schutzabdeckungseinrichtung 60 nicht nur an der hinteren Stirnwandung 53 des Abschluss-Deckels 24 ab, die den Boden der Aufnahme 93 bildet, sondern zusätzlich auch an der Stirnfläche 94.
- Das vor die Stirnwand 53 vorstehende Vorderteil 81 des Haltekörpers 52 wird von der Schutzabdeckungseinrichtung 60 druckdicht umschlossen, um mechanische Belastungen durch das Aktorglied 14 bei dessen Annäherung an die Mikrowellen-Antennenanordnung 43 zu verhindern. Das Vorderteil 81 bzw. die Stirnwand 76 des Antennenpolkörpers 54 sind in einer Kammer 57 der Schutzabdeckungseinrichtung 60 mit dem Abstand 69 angeordnet. Die Kammer 67 wird durch den bodenartigen Abdeckabschnitt 62 sowie eine hintere Seitenwandung 58 gebildet, die einen Bestandteil des Anschlagabschnitts 61 ist.
- Ein in Figur 6 dargestellter pneumatischer Arbeitszylinder 10', das heißt eine Aktorvorrichtung 11, gleicht im wesentlichen dem Arbeitszylinder 10. Soweit in Figur 6 gleiche oder gleichartige Komponenten dargestellt sind wie bei dem vorherigen Ausführungsbeispiel, sind dieselben Bezugszeichen oder teilweise mit einem Index' veränderte Indizes verwendet.
- Im Unterschied zu der Schutzabdeckungseinrichtung 60 steht die Schutzabdeckungseinrichtung weniger weit in Richtung des Mess- bzw. Bewegungsraums 19' vor. Sie enthält keine Fluidkanäle, so dass auch keine Kompensationsmittel erforderlich sind. Die Schutzabdeckungseinrichtung 60' stützt sich vollständig an einer vorderen Stirnwand 53' eines Abschluss-Deckels 24' ab. Ein Anschlagring 64', der einen Anschlagabschnitt 61' bildet, steht in Richtung des Bewegungsraums 19' vor und bildet einen Anschlag 63' für den Kolben 14'. Ein Abdeckabschnitt 62' ist nach hinten hinter den Anschlag 63' zurückversetzt und liegt mit einem Randbereich 95 an der Stirnwand 53' an.
- Eine Aufnahme 85' des Abschluss-Deckels 24' für die Mikrowellen-Antennenanordnung 43 ist gegenüber der Stirnwand 53' tiefer, so dass die Mikrowellen-Antennenanordnung 43 gegenüber der Stirnwand 53' zurückversetzt ist und einen Abstand 69' zu dem Schutzdeckelboden bzw. Abdeckabschnitt 62' aufweist. In den Abstand 69' hinein kann sich der Abdeckabschnitt 62' beispielsweise in Folge einer durch das Aktorglied 14' verursachten Druckwelle verformen. Die Ankopplungsplatine 49' ist über eine Leitung 96 mit einer nicht dargestellten Steuerungsvorrichtung für den Arbeitszylinder 10' drahtgebunden verbunden, der sie Positionsmesssignale über die Position des Aktorglieds 14' im Bewegungsraum 19' sendet.
- Der Abstand 69' kann auch zumindest teilweise mit einem nachgiebigen, insbesondere elastischen Material ausgefüllt sein.
Claims (18)
- Aktorvorrichtung, mit einem in einem Bewegungsraum (19, 19') eines Aktor-Gehäuses (12, 12') linear beweglichen Aktorglied (14, 14'), mit einer Mikrowellen-Positionsmesseinrichtung (40) zur Positionserfassung des Aktorglieds in dem Bewegungsraum (19, 19'), wobei das Aktorglied bei einer Annäherung an die Positionsmesseinrichtung eine auf die Positionsmesseinrichtung (40) wirkende Druckwelle erzeugt, mit einer Hochfrequenz-Mikrowellen-Antennenanordnung (43) zum Senden und Empfangen von Mikrowellen, die von dem Aktorglied (14, 14') zumindest teilweise reflektiert werden, dadurch gekennzeichnet, dass sie eine vor der Mikrowellen-Antennenanordnung angeordnete dielektrische Schutzabdeckungseinrichtung (60, 60') zum mechanischen Schutz der Mikrowellen-Antennenanordnung aufweist, und dass zwischen der Schutzabdeckungseinrichtung und der Mikrowellen-Antennenanordnung zur mechanischen Entkopplung der Schutzabdeckungseinrichtung (60, 60') von der Mikrowellen-Antennenanordnung ein Abstand (69) vorhanden ist, in den hinein sich die Schutzabdeckungseinrichtung infolge der Druckwelle verformen kann.
- Aktorvorrichtung nach Anspruch 1, dadurch gekennzeichnet, dass die Schutzabdeckungseinrichtung (60, 60') mit mindestens einer Wandung (25, 67) des Gehäuses (12, 12') druckdicht verbunden ist, so dass die Mikrowellen-Antennenanordnung (43) druckdicht abgeschirmt ist.
- Aktorvorrichtung nach Anspruch 1 oder 2, dadurch gekennzeichnet, dass die Schutzabdeckungseinrichtung (60, 60') auf das Abstrahlverhalten und/oder das Empfangsverhalten der Mikrowellen-Antennenanordnung (43) abgestimmt ist.
- Aktorvorrichtung nach einem der vorhergehenden Ansprüche, dadurch gekennzeichnet, dass die Schutzabdeckungseinrichtung (60, 60') an einer Seitenwandung (25, 67) des Gehäuses (12, 12'), insbesondere einer Seitenwandung (67) eines Deckels und/oder einer Seitenwandung (25) des Bewegungsraums (19, 19'), anliegt.
- Aktorvorrichtung nach Anspruch 4, dadurch gekennzeichnet, dass zwischen der Seitenwandung (25, 67) des Gehäuses (12, 12') und der Schutzabdeckungseinrichtung (60, 60') mindestens eine Dichtung (65, 66) angeordnet ist.
- Aktorvorrichtung nach einem der vorhergehenden Ansprüche, dadurch gekennzeichnet, dass der Abstand (69) zwischen der Schutzabdeckungseinrichtung (60, 60') und der Mikrowellen-Antennenanordnung (43) durch die Schutzabdeckungseinrichtung, insbesondere eine Kammer (57) in der Schutzabdeckungseinrichtung, gebildet ist.
- Aktorvorrichtung nach einem der vorhergehenden Ansprüche, dadurch gekennzeichnet, dass die Schutzabdeckungseinrichtung (60, 60') in den Bewegungsraum (19, 19') hinein vorsteht.
- Aktorvorrichtung nach einem der vorhergehenden Ansprüche, dadurch gekennzeichnet, dass die Schutzabdeckungseinrichtung (60, 60') einen End-Anschlag (63, 63') für das Aktorglied (14, 14') bildet.
- Aktorvorrichtung nach Anspruch 8, dadurch gekennzeichnet, dass die Schutzabdeckungseinrichtung (60, 60') mindestens einen Anschlagabschnitt (61, 61') aufweist, der einen End-Anschlag für das Aktorglied (14, 14') bildet und vor einen Abdeckabschnitt (62, 62') der Schutzabdeckungseinrichtung zum Schutz der Mikrowellen-Antennenanordnung (43) in Richtung des Bewegungsraums (19, 19') vorsteht, und dass der mindestens eine Anschlagabschnitt (61, 61') seitlich an der Mikrowellen-Antennenanordnung (43) vorbei verläuft und sich an einer Rückwand und/oder einer Seitenwand (67) des Gehäuses (12, 12') abstützt.
- Aktorvorrichtung nach Anspruch 9, dadurch gekennzeichnet, dass der mindestens eine Anschlagabschnitt (61, 61') im wesentlichen ringförmig ist.
- Aktorvorrichtung nach einem der vorhergehenden Ansprüche, dadurch gekennzeichnet, dass die Mikrowellen-Antennenanordnung (43) mit einer hinteren Wandung des Aktor-Gehäuses (12, 12') (12, 12'), insbesondere einem Deckel des Aktor-Gehäuses (12, 12'), verbunden ist.
- Aktorvorrichtung nach einem der vorhergehenden Ansprüche, dadurch gekennzeichnet, dass das Aktor-Gehäuse (12, 12') (12, 12'), insbesondere ein Deckel des Aktor-Gehäuses, einen Bestandteil der Mikrowellen-Antennenanordnung (43) bildet.
- Aktorvorrichtung nach einem der vorhergehenden Ansprüche, dadurch gekennzeichnet, dass die Schutzabdeckungseinrichtung (60, 60') einen Bestandteil des Aktor-Gehäuses (12, 12'), insbesondere eines Deckels des Aktor-Gehäuses, bildet.
- Aktorvorrichtung nach einem der vorhergehenden Ansprüche, dadurch gekennzeichnet, dass die Schutzabdeckungseinrichtung (60, 60') in das Aktor-Gehäuse (12, 12') eingeschraubt und/oder eingeklebt und/oder eingerastet und/oder an das Aktor-Gehäuse (12, 12'), insbesondere einen Deckel (24) des Aktor-Gehäuses (12, 12'), angespritzt ist.
- Aktorvorrichtung nach einem der vorhergehenden Ansprüche, dadurch gekennzeichnet, dass sie einen Fluidantrieb, insbesondere einen pneumatischen Arbeitszylinder (10, 10'), bildet, und dass das Aktorglied (14, 14') durch einen Kolben (13, 13') gebildet ist.
- Aktorvorrichtung nach einem der Ansprüche 1 bis 14, dadurch gekennzeichnet, dass sie ein Fluidventil, insbesondere ein pneumatisches Ventil, bildet, und dass das Aktorglied (14, 14') zum Antreiben des Ventilgliedes vorgesehen ist.
- Aktorvorrichtung nach Anspruch 15 oder 16, dadurch gekennzeichnet, dass die Schutzabdeckungseinrichtung (60, 60') mindestens einen mit dem Bewegungsraum (19, 19') verbundenen Fluidkanal (70) aufweist.
- Aktorvorrichtung nach Anspruch 17, dadurch gekennzeichnet, dass dem mindestens einen Fluidkanal (70) ein Kompensationsmittel (71), insbesondere eine korrespondierende Ausnehmung oder ein Blindkanal (72), zugeordnet ist, so dass sich die Mikrowellen in dem Bewegungsraum (19, 19') im wesentlichen symmetrisch ausbreiten können.
Priority Applications (4)
| Application Number | Priority Date | Filing Date | Title |
|---|---|---|---|
| DE502005007242T DE502005007242D1 (de) | 2005-08-11 | 2005-08-11 | Aktorvorrichtung mit einer Mikrowellen-Positionsmesseinrichtung |
| EP05017445A EP1752665B1 (de) | 2005-08-11 | 2005-08-11 | Aktorvorrichtung mit einer Mikrowellen-Positionsmesseinrichtung |
| AT05017445T ATE430881T1 (de) | 2005-08-11 | 2005-08-11 | Aktorvorrichtung mit einer mikrowellen- positionsmesseinrichtung |
| US11/492,565 US7451684B2 (en) | 2005-08-11 | 2006-07-25 | Actuator device with a microwave position detecting device |
Applications Claiming Priority (1)
| Application Number | Priority Date | Filing Date | Title |
|---|---|---|---|
| EP05017445A EP1752665B1 (de) | 2005-08-11 | 2005-08-11 | Aktorvorrichtung mit einer Mikrowellen-Positionsmesseinrichtung |
Publications (2)
| Publication Number | Publication Date |
|---|---|
| EP1752665A1 true EP1752665A1 (de) | 2007-02-14 |
| EP1752665B1 EP1752665B1 (de) | 2009-05-06 |
Family
ID=35466072
Family Applications (1)
| Application Number | Title | Priority Date | Filing Date |
|---|---|---|---|
| EP05017445A Expired - Lifetime EP1752665B1 (de) | 2005-08-11 | 2005-08-11 | Aktorvorrichtung mit einer Mikrowellen-Positionsmesseinrichtung |
Country Status (4)
| Country | Link |
|---|---|
| US (1) | US7451684B2 (de) |
| EP (1) | EP1752665B1 (de) |
| AT (1) | ATE430881T1 (de) |
| DE (1) | DE502005007242D1 (de) |
Cited By (6)
| Publication number | Priority date | Publication date | Assignee | Title |
|---|---|---|---|---|
| WO2008101530A1 (de) * | 2007-02-24 | 2008-08-28 | Festo Ag & Co. Kg | Aktor mit positionsmessvorrichtung |
| EP2017644A1 (de) | 2007-07-20 | 2009-01-21 | Festo AG & Co. KG | Verfahren und Messvorrichtung zur Erfassung der Kolbenposition eines Kolbens in einem fluidischen Zylinder mittels einer Mikrowellen-Koppelsonde |
| WO2009021755A3 (de) * | 2007-08-16 | 2009-04-23 | Astyx Gmbh | Doppelkolbenstange |
| DE102008048673A1 (de) * | 2008-09-24 | 2010-04-08 | Festo Ag & Co. Kg | Fluidische Zylinderanordnung mit einer Mikrowellen-Messvorrichtung zur Erfassung der Kolbenposition |
| EP3830895A1 (de) * | 2018-07-31 | 2021-06-09 | ASTYX GmbH | Vorrichtung verbindungsstruktur zwischen auswerteelektronik und sonde in zylindersystemen |
| DE102023127894A1 (de) * | 2023-10-12 | 2025-04-17 | Vega Grieshaber Kg | Bodendeckel mit einem Radarsensor |
Families Citing this family (11)
| Publication number | Priority date | Publication date | Assignee | Title |
|---|---|---|---|---|
| USD570236S1 (en) * | 2005-07-21 | 2008-06-03 | Curtis Roys | Cycle indicator for fluid distribution systems |
| US7461670B1 (en) * | 2004-07-23 | 2008-12-09 | Curtis Roys | Cycle indicator for fluid distribution systems |
| DE502005002233D1 (de) * | 2005-08-11 | 2008-01-24 | Festo Ag & Co | Abstandsmessvorrichtung mit einer Mikrowellen-Antennenanordnung |
| DE102007035252A1 (de) * | 2007-07-27 | 2009-02-12 | Truma Gerätetechnik GmbH & Co. KG | Vorrichtung zum Bestimmen der Position eines Kolbens in einem Zylinder |
| DE102010014668A1 (de) | 2010-04-12 | 2011-10-13 | Samson Aktiengesellschaft | Stellantrieb zum Stellen eines Stellglieds und Verfahren zum Erfassen der Stellung des Stellglieds |
| DE102011008381A1 (de) * | 2011-01-12 | 2012-07-12 | Liebherr-Elektronik Gmbh | Kolben-Zylinder-Einheit mit Vorrichtung zur Positionsbestimmung |
| US9285206B1 (en) * | 2012-02-07 | 2016-03-15 | Pile Dynamics, Inc. | Measurement device for pile displacement and method for use of the same |
| DE102013018342A1 (de) * | 2013-10-31 | 2015-04-30 | Liebherr-Elektronik Gmbh | Kolbenzylindereinheit mit Auswerteeinheit zur Positionsbestimmung des Kolbens |
| DE102014104479A1 (de) | 2014-03-31 | 2015-10-15 | Steinel Normalien Ag | Gasdruckfeder |
| TWI612310B (zh) * | 2016-12-28 | 2018-01-21 | 致茂電子股份有限公司 | 吸附式測試裝置 |
| DE102019122121A1 (de) * | 2019-08-16 | 2021-02-18 | Precision Nanosensors Inc | Kolben-Zylinder-Einheit mit radial verbauter Kolbenpositionserfassungseinheit |
Citations (3)
| Publication number | Priority date | Publication date | Assignee | Title |
|---|---|---|---|---|
| US5856745A (en) * | 1996-12-19 | 1999-01-05 | Caterpillar Inc. | Hydraulic cylinder end member arrangement for a piston position sensing system |
| DE19833220A1 (de) * | 1997-12-15 | 1999-06-17 | Mikrowellen Technologie Und Se | Abstandsmeßvorrichtung und Verfahren zur Bestimmung eines Abstandes |
| DE10205904A1 (de) | 2002-02-13 | 2003-08-21 | Mikrowellen Technologie Und Se | Abstandsmessvorrichtung und Verfahren zur Bestimmung eines Abstands |
Family Cites Families (8)
| Publication number | Priority date | Publication date | Assignee | Title |
|---|---|---|---|---|
| US4477052A (en) * | 1983-03-18 | 1984-10-16 | Bergwerksverband Gmbh | Gate valve |
| US4901628A (en) * | 1983-08-11 | 1990-02-20 | General Motors Corporation | Hydraulic actuator having a microwave antenna |
| US4936143A (en) * | 1989-04-28 | 1990-06-26 | Eaton Corporation | Cylinders having piston position measurement |
| WO1999031463A2 (de) * | 1997-12-15 | 1999-06-24 | Mikrowellen-Technologie Und Sensoren Gmbh | Abstandsmessvorrichtung und verfahren zur bestimmung eines abstandes |
| JP2001063986A (ja) * | 1999-08-27 | 2001-03-13 | Toyota Autom Loom Works Ltd | 流体圧シリンダの位置検出装置及び位置検出方法 |
| US7180053B2 (en) * | 2000-10-17 | 2007-02-20 | Motion Controls, Llc | Apparatus, a system and method for determining a position within a cylinder |
| US6484620B2 (en) * | 2000-12-28 | 2002-11-26 | Case Corporation | Laser based reflective beam cylinder sensor |
| US7098671B2 (en) * | 2003-03-07 | 2006-08-29 | Fred Bassali | Microwave measurement system for piston displacement |
-
2005
- 2005-08-11 AT AT05017445T patent/ATE430881T1/de not_active IP Right Cessation
- 2005-08-11 DE DE502005007242T patent/DE502005007242D1/de not_active Expired - Lifetime
- 2005-08-11 EP EP05017445A patent/EP1752665B1/de not_active Expired - Lifetime
-
2006
- 2006-07-25 US US11/492,565 patent/US7451684B2/en not_active Expired - Fee Related
Patent Citations (3)
| Publication number | Priority date | Publication date | Assignee | Title |
|---|---|---|---|---|
| US5856745A (en) * | 1996-12-19 | 1999-01-05 | Caterpillar Inc. | Hydraulic cylinder end member arrangement for a piston position sensing system |
| DE19833220A1 (de) * | 1997-12-15 | 1999-06-17 | Mikrowellen Technologie Und Se | Abstandsmeßvorrichtung und Verfahren zur Bestimmung eines Abstandes |
| DE10205904A1 (de) | 2002-02-13 | 2003-08-21 | Mikrowellen Technologie Und Se | Abstandsmessvorrichtung und Verfahren zur Bestimmung eines Abstands |
Cited By (9)
| Publication number | Priority date | Publication date | Assignee | Title |
|---|---|---|---|---|
| WO2008101530A1 (de) * | 2007-02-24 | 2008-08-28 | Festo Ag & Co. Kg | Aktor mit positionsmessvorrichtung |
| EP2017644A1 (de) | 2007-07-20 | 2009-01-21 | Festo AG & Co. KG | Verfahren und Messvorrichtung zur Erfassung der Kolbenposition eines Kolbens in einem fluidischen Zylinder mittels einer Mikrowellen-Koppelsonde |
| WO2009012851A1 (de) * | 2007-07-20 | 2009-01-29 | Festo Ag & Co. Kg | Verfahren und messvorrichtung zur erfassung der kolbenposition eines kolbens in einem fluidischen zylinder mittels einer mikrowellen-koppelsonde |
| WO2009021755A3 (de) * | 2007-08-16 | 2009-04-23 | Astyx Gmbh | Doppelkolbenstange |
| US8362788B2 (en) | 2007-08-16 | 2013-01-29 | Astyx Gmbh | Double piston rod |
| US9377289B2 (en) | 2007-08-16 | 2016-06-28 | Astyx Gmbh | Double piston rod |
| DE102008048673A1 (de) * | 2008-09-24 | 2010-04-08 | Festo Ag & Co. Kg | Fluidische Zylinderanordnung mit einer Mikrowellen-Messvorrichtung zur Erfassung der Kolbenposition |
| EP3830895A1 (de) * | 2018-07-31 | 2021-06-09 | ASTYX GmbH | Vorrichtung verbindungsstruktur zwischen auswerteelektronik und sonde in zylindersystemen |
| DE102023127894A1 (de) * | 2023-10-12 | 2025-04-17 | Vega Grieshaber Kg | Bodendeckel mit einem Radarsensor |
Also Published As
| Publication number | Publication date |
|---|---|
| DE502005007242D1 (de) | 2009-06-18 |
| US20070035310A1 (en) | 2007-02-15 |
| US7451684B2 (en) | 2008-11-18 |
| EP1752665B1 (de) | 2009-05-06 |
| ATE430881T1 (de) | 2009-05-15 |
Similar Documents
| Publication | Publication Date | Title |
|---|---|---|
| EP1752665B1 (de) | Aktorvorrichtung mit einer Mikrowellen-Positionsmesseinrichtung | |
| EP1544585B1 (de) | Koaxiale spaltfreie Durchführung für einen Füllstandsensor | |
| EP0834722B1 (de) | Mit Mikrowellen arbeitendes Füllstandsmessgerät | |
| EP3605032B1 (de) | Radarsensor zur füllstand- oder grenzstandmessung | |
| EP2172749B1 (de) | Mikrowellenantenne für ein Füllstandmessgerät | |
| DE3933474C2 (de) | Füllstandsmeßgerät | |
| EP1336224B1 (de) | Hornantenne für ein radargerät | |
| EP2593757B1 (de) | Füllstandsmessgerät zur ermittlung und überwachung eines füllstandes eines im prozessraum eines behälters befindlichen mediums mittels einem mikrowellen-laufzeitmessverfahren | |
| WO2007085518A2 (de) | Vorrichtung zur ermittlung und überwachung des füllstandes eines mediums in einem behälter | |
| EP0924792B1 (de) | Antenneneinrichtung für ein Füllstandmess-Radargerät | |
| EP3704452B1 (de) | Dielektrisches füllelement mit mikrowellenabsorbierendem element | |
| EP2003730B1 (de) | Antenne für ein Füllstandsradar für Hochtemperatur- und/oder Hochdruckanwendung | |
| EP2752941A1 (de) | Parabolantenne mit einem im Radom integrierten Subreflektor | |
| DE102007003389A1 (de) | Aktor mit Positionsmessvorrichtung | |
| EP0669673A1 (de) | Antenneneinrichtung für ein Füllstandmessradargerät | |
| EP2511685B1 (de) | Messzelle mit einem Gehäuse zur Aufnahme eines Sensors, insbesondere eines Druckmessumformers | |
| DE102007003384B4 (de) | Aktor mit Aktorglied | |
| DE102008061227A1 (de) | Abstandsmessvorrichtung und Verfahren zur Ermittlung eines Abstands in einer Leitungsstruktur | |
| EP1752791B1 (de) | Abstandsmessvorrichtung mit einer Mikrowellen-Antennenanordnung und Verfahren zu ihrer Herstellung | |
| WO2008101530A1 (de) | Aktor mit positionsmessvorrichtung | |
| WO2015096958A2 (de) | Antennen-näherungssensor | |
| DE29806355U1 (de) | Hochspannungsgerät, insbesondere Überspannungsableiter | |
| DE102008056886B3 (de) | Fluidischer Zylinder mit einer Mikrowellen-Messanordnung zur Erfassung wenigstens eines Parameters | |
| EP0858844B1 (de) | Schallkopf | |
| DE102012208866A1 (de) | Pneumatischer Bremskraftverstärker mit einer Sensorvorrichtung zur berührungslosen Überwachung von Position und Bewegung einer beweglichen Wand |
Legal Events
| Date | Code | Title | Description |
|---|---|---|---|
| PUAI | Public reference made under article 153(3) epc to a published international application that has entered the european phase |
Free format text: ORIGINAL CODE: 0009012 |
|
| AK | Designated contracting states |
Kind code of ref document: A1 Designated state(s): AT BE BG CH CY CZ DE DK EE ES FI FR GB GR HU IE IS IT LI LT LU LV MC NL PL PT RO SE SI SK TR |
|
| AX | Request for extension of the european patent |
Extension state: AL BA HR MK YU |
|
| 17P | Request for examination filed |
Effective date: 20070622 |
|
| AKX | Designation fees paid |
Designated state(s): AT BE BG CH CY CZ DE DK EE ES FI FR GB GR HU IE IS IT LI LT LU LV MC NL PL PT RO SE SI SK TR |
|
| 17Q | First examination report despatched |
Effective date: 20080108 |
|
| RAP1 | Party data changed (applicant data changed or rights of an application transferred) |
Owner name: FESTO AG & CO. KG |
|
| GRAP | Despatch of communication of intention to grant a patent |
Free format text: ORIGINAL CODE: EPIDOSNIGR1 |
|
| GRAS | Grant fee paid |
Free format text: ORIGINAL CODE: EPIDOSNIGR3 |
|
| GRAA | (expected) grant |
Free format text: ORIGINAL CODE: 0009210 |
|
| AK | Designated contracting states |
Kind code of ref document: B1 Designated state(s): AT BE BG CH CY CZ DE DK EE ES FI FR GB GR HU IE IS IT LI LT LU LV MC NL PL PT RO SE SI SK TR |
|
| REG | Reference to a national code |
Ref country code: GB Ref legal event code: FG4D Free format text: NOT ENGLISH |
|
| REG | Reference to a national code |
Ref country code: CH Ref legal event code: EP Ref country code: CH Ref legal event code: NV Representative=s name: TROESCH SCHEIDEGGER WERNER AG |
|
| REG | Reference to a national code |
Ref country code: IE Ref legal event code: FG4D |
|
| REF | Corresponds to: |
Ref document number: 502005007242 Country of ref document: DE Date of ref document: 20090618 Kind code of ref document: P |
|
| PG25 | Lapsed in a contracting state [announced via postgrant information from national office to epo] |
Ref country code: LT Free format text: LAPSE BECAUSE OF FAILURE TO SUBMIT A TRANSLATION OF THE DESCRIPTION OR TO PAY THE FEE WITHIN THE PRESCRIBED TIME-LIMIT Effective date: 20090506 Ref country code: ES Free format text: LAPSE BECAUSE OF FAILURE TO SUBMIT A TRANSLATION OF THE DESCRIPTION OR TO PAY THE FEE WITHIN THE PRESCRIBED TIME-LIMIT Effective date: 20090817 Ref country code: FI Free format text: LAPSE BECAUSE OF FAILURE TO SUBMIT A TRANSLATION OF THE DESCRIPTION OR TO PAY THE FEE WITHIN THE PRESCRIBED TIME-LIMIT Effective date: 20090506 Ref country code: PT Free format text: LAPSE BECAUSE OF FAILURE TO SUBMIT A TRANSLATION OF THE DESCRIPTION OR TO PAY THE FEE WITHIN THE PRESCRIBED TIME-LIMIT Effective date: 20090906 |
|
| NLV1 | Nl: lapsed or annulled due to failure to fulfill the requirements of art. 29p and 29m of the patents act | ||
| PG25 | Lapsed in a contracting state [announced via postgrant information from national office to epo] |
Ref country code: SI Free format text: LAPSE BECAUSE OF FAILURE TO SUBMIT A TRANSLATION OF THE DESCRIPTION OR TO PAY THE FEE WITHIN THE PRESCRIBED TIME-LIMIT Effective date: 20090506 Ref country code: IS Free format text: LAPSE BECAUSE OF FAILURE TO SUBMIT A TRANSLATION OF THE DESCRIPTION OR TO PAY THE FEE WITHIN THE PRESCRIBED TIME-LIMIT Effective date: 20090906 Ref country code: LV Free format text: LAPSE BECAUSE OF FAILURE TO SUBMIT A TRANSLATION OF THE DESCRIPTION OR TO PAY THE FEE WITHIN THE PRESCRIBED TIME-LIMIT Effective date: 20090506 Ref country code: SE Free format text: LAPSE BECAUSE OF FAILURE TO SUBMIT A TRANSLATION OF THE DESCRIPTION OR TO PAY THE FEE WITHIN THE PRESCRIBED TIME-LIMIT Effective date: 20090806 Ref country code: NL Free format text: LAPSE BECAUSE OF FAILURE TO SUBMIT A TRANSLATION OF THE DESCRIPTION OR TO PAY THE FEE WITHIN THE PRESCRIBED TIME-LIMIT Effective date: 20090506 Ref country code: PL Free format text: LAPSE BECAUSE OF FAILURE TO SUBMIT A TRANSLATION OF THE DESCRIPTION OR TO PAY THE FEE WITHIN THE PRESCRIBED TIME-LIMIT Effective date: 20090506 |
|
| REG | Reference to a national code |
Ref country code: IE Ref legal event code: FD4D |
|
| PG25 | Lapsed in a contracting state [announced via postgrant information from national office to epo] |
Ref country code: DK Free format text: LAPSE BECAUSE OF FAILURE TO SUBMIT A TRANSLATION OF THE DESCRIPTION OR TO PAY THE FEE WITHIN THE PRESCRIBED TIME-LIMIT Effective date: 20090506 Ref country code: EE Free format text: LAPSE BECAUSE OF FAILURE TO SUBMIT A TRANSLATION OF THE DESCRIPTION OR TO PAY THE FEE WITHIN THE PRESCRIBED TIME-LIMIT Effective date: 20090506 Ref country code: CZ Free format text: LAPSE BECAUSE OF FAILURE TO SUBMIT A TRANSLATION OF THE DESCRIPTION OR TO PAY THE FEE WITHIN THE PRESCRIBED TIME-LIMIT Effective date: 20090506 Ref country code: IE Free format text: LAPSE BECAUSE OF FAILURE TO SUBMIT A TRANSLATION OF THE DESCRIPTION OR TO PAY THE FEE WITHIN THE PRESCRIBED TIME-LIMIT Effective date: 20090506 Ref country code: RO Free format text: LAPSE BECAUSE OF FAILURE TO SUBMIT A TRANSLATION OF THE DESCRIPTION OR TO PAY THE FEE WITHIN THE PRESCRIBED TIME-LIMIT Effective date: 20090506 |
|
| PLBI | Opposition filed |
Free format text: ORIGINAL CODE: 0009260 |
|
| PG25 | Lapsed in a contracting state [announced via postgrant information from national office to epo] |
Ref country code: SK Free format text: LAPSE BECAUSE OF FAILURE TO SUBMIT A TRANSLATION OF THE DESCRIPTION OR TO PAY THE FEE WITHIN THE PRESCRIBED TIME-LIMIT Effective date: 20090506 |
|
| BERE | Be: lapsed |
Owner name: FESTO A.G. & CO. KG Effective date: 20090831 |
|
| PLAX | Notice of opposition and request to file observation + time limit sent |
Free format text: ORIGINAL CODE: EPIDOSNOBS2 |
|
| 26 | Opposition filed |
Opponent name: ASTYX GMBH Effective date: 20100208 |
|
| PG25 | Lapsed in a contracting state [announced via postgrant information from national office to epo] |
Ref country code: BG Free format text: LAPSE BECAUSE OF FAILURE TO SUBMIT A TRANSLATION OF THE DESCRIPTION OR TO PAY THE FEE WITHIN THE PRESCRIBED TIME-LIMIT Effective date: 20090806 Ref country code: MC Free format text: LAPSE BECAUSE OF NON-PAYMENT OF DUE FEES Effective date: 20090831 |
|
| PLBB | Reply of patent proprietor to notice(s) of opposition received |
Free format text: ORIGINAL CODE: EPIDOSNOBS3 |
|
| PG25 | Lapsed in a contracting state [announced via postgrant information from national office to epo] |
Ref country code: BE Free format text: LAPSE BECAUSE OF NON-PAYMENT OF DUE FEES Effective date: 20090831 |
|
| PLAB | Opposition data, opponent's data or that of the opponent's representative modified |
Free format text: ORIGINAL CODE: 0009299OPPO |
|
| R26 | Opposition filed (corrected) |
Opponent name: ASTYX GMBH Effective date: 20100208 |
|
| PG25 | Lapsed in a contracting state [announced via postgrant information from national office to epo] |
Ref country code: GR Free format text: LAPSE BECAUSE OF FAILURE TO SUBMIT A TRANSLATION OF THE DESCRIPTION OR TO PAY THE FEE WITHIN THE PRESCRIBED TIME-LIMIT Effective date: 20090807 |
|
| PG25 | Lapsed in a contracting state [announced via postgrant information from national office to epo] |
Ref country code: AT Free format text: LAPSE BECAUSE OF NON-PAYMENT OF DUE FEES Effective date: 20090811 |
|
| PG25 | Lapsed in a contracting state [announced via postgrant information from national office to epo] |
Ref country code: LU Free format text: LAPSE BECAUSE OF NON-PAYMENT OF DUE FEES Effective date: 20090811 |
|
| PG25 | Lapsed in a contracting state [announced via postgrant information from national office to epo] |
Ref country code: HU Free format text: LAPSE BECAUSE OF FAILURE TO SUBMIT A TRANSLATION OF THE DESCRIPTION OR TO PAY THE FEE WITHIN THE PRESCRIBED TIME-LIMIT Effective date: 20091107 |
|
| PLAB | Opposition data, opponent's data or that of the opponent's representative modified |
Free format text: ORIGINAL CODE: 0009299OPPO |
|
| PG25 | Lapsed in a contracting state [announced via postgrant information from national office to epo] |
Ref country code: TR Free format text: LAPSE BECAUSE OF FAILURE TO SUBMIT A TRANSLATION OF THE DESCRIPTION OR TO PAY THE FEE WITHIN THE PRESCRIBED TIME-LIMIT Effective date: 20090506 |
|
| R26 | Opposition filed (corrected) |
Opponent name: ASTYX GMBH Effective date: 20100208 |
|
| PG25 | Lapsed in a contracting state [announced via postgrant information from national office to epo] |
Ref country code: CY Free format text: LAPSE BECAUSE OF FAILURE TO SUBMIT A TRANSLATION OF THE DESCRIPTION OR TO PAY THE FEE WITHIN THE PRESCRIBED TIME-LIMIT Effective date: 20090506 |
|
| PGFP | Annual fee paid to national office [announced via postgrant information from national office to epo] |
Ref country code: CH Payment date: 20110901 Year of fee payment: 7 |
|
| PLCK | Communication despatched that opposition was rejected |
Free format text: ORIGINAL CODE: EPIDOSNREJ1 |
|
| PLBN | Opposition rejected |
Free format text: ORIGINAL CODE: 0009273 |
|
| STAA | Information on the status of an ep patent application or granted ep patent |
Free format text: STATUS: OPPOSITION REJECTED |
|
| 27O | Opposition rejected |
Effective date: 20120828 |
|
| PGFP | Annual fee paid to national office [announced via postgrant information from national office to epo] |
Ref country code: GB Payment date: 20120711 Year of fee payment: 8 |
|
| REG | Reference to a national code |
Ref country code: DE Ref legal event code: R100 Ref document number: 502005007242 Country of ref document: DE Effective date: 20120828 |
|
| PGFP | Annual fee paid to national office [announced via postgrant information from national office to epo] |
Ref country code: IT Payment date: 20120817 Year of fee payment: 8 |
|
| REG | Reference to a national code |
Ref country code: CH Ref legal event code: PL |
|
| GBPC | Gb: european patent ceased through non-payment of renewal fee |
Effective date: 20130811 |
|
| PG25 | Lapsed in a contracting state [announced via postgrant information from national office to epo] |
Ref country code: CH Free format text: LAPSE BECAUSE OF NON-PAYMENT OF DUE FEES Effective date: 20130831 Ref country code: LI Free format text: LAPSE BECAUSE OF NON-PAYMENT OF DUE FEES Effective date: 20130831 |
|
| PG25 | Lapsed in a contracting state [announced via postgrant information from national office to epo] |
Ref country code: IT Free format text: LAPSE BECAUSE OF NON-PAYMENT OF DUE FEES Effective date: 20130811 |
|
| PG25 | Lapsed in a contracting state [announced via postgrant information from national office to epo] |
Ref country code: GB Free format text: LAPSE BECAUSE OF NON-PAYMENT OF DUE FEES Effective date: 20130811 |
|
| REG | Reference to a national code |
Ref country code: FR Ref legal event code: PLFP Year of fee payment: 11 |
|
| PGFP | Annual fee paid to national office [announced via postgrant information from national office to epo] |
Ref country code: DE Payment date: 20150626 Year of fee payment: 11 |
|
| PGFP | Annual fee paid to national office [announced via postgrant information from national office to epo] |
Ref country code: FR Payment date: 20150824 Year of fee payment: 11 |
|
| REG | Reference to a national code |
Ref country code: DE Ref legal event code: R119 Ref document number: 502005007242 Country of ref document: DE |
|
| REG | Reference to a national code |
Ref country code: FR Ref legal event code: ST Effective date: 20170428 |
|
| PG25 | Lapsed in a contracting state [announced via postgrant information from national office to epo] |
Ref country code: FR Free format text: LAPSE BECAUSE OF NON-PAYMENT OF DUE FEES Effective date: 20160831 Ref country code: DE Free format text: LAPSE BECAUSE OF NON-PAYMENT OF DUE FEES Effective date: 20170301 |