EP1647499A1 - Fluid-storing container and fluid discharge device - Google Patents
Fluid-storing container and fluid discharge device Download PDFInfo
- Publication number
- EP1647499A1 EP1647499A1 EP05447230A EP05447230A EP1647499A1 EP 1647499 A1 EP1647499 A1 EP 1647499A1 EP 05447230 A EP05447230 A EP 05447230A EP 05447230 A EP05447230 A EP 05447230A EP 1647499 A1 EP1647499 A1 EP 1647499A1
- Authority
- EP
- European Patent Office
- Prior art keywords
- fluid
- storing container
- main body
- discharge device
- container main
- Prior art date
- Legal status (The legal status is an assumption and is not a legal conclusion. Google has not performed a legal analysis and makes no representation as to the accuracy of the status listed.)
- Withdrawn
Links
- 239000012530 fluid Substances 0.000 title claims abstract description 235
- 239000000463 material Substances 0.000 claims abstract description 14
- 238000004891 communication Methods 0.000 claims description 24
- 230000008878 coupling Effects 0.000 claims description 21
- 238000010168 coupling process Methods 0.000 claims description 21
- 238000005859 coupling reaction Methods 0.000 claims description 21
- 230000002265 prevention Effects 0.000 claims description 8
- 238000010276 construction Methods 0.000 description 10
- 238000000034 method Methods 0.000 description 10
- 230000008901 benefit Effects 0.000 description 7
- -1 semifluids Substances 0.000 description 7
- 239000000499 gel Substances 0.000 description 4
- 239000004698 Polyethylene Substances 0.000 description 3
- 230000008859 change Effects 0.000 description 3
- 239000006071 cream Substances 0.000 description 3
- 238000007599 discharging Methods 0.000 description 3
- 239000007788 liquid Substances 0.000 description 3
- 229920000573 polyethylene Polymers 0.000 description 3
- 239000004743 Polypropylene Substances 0.000 description 2
- 239000002537 cosmetic Substances 0.000 description 2
- 230000000704 physical effect Effects 0.000 description 2
- 229920001155 polypropylene Polymers 0.000 description 2
- 229920000122 acrylonitrile butadiene styrene Polymers 0.000 description 1
- 239000004676 acrylonitrile butadiene styrene Substances 0.000 description 1
- 239000000853 adhesive Substances 0.000 description 1
- 230000001070 adhesive effect Effects 0.000 description 1
- 230000002411 adverse Effects 0.000 description 1
- 230000003796 beauty Effects 0.000 description 1
- 230000000903 blocking effect Effects 0.000 description 1
- 238000000071 blow moulding Methods 0.000 description 1
- 239000008294 cold cream Substances 0.000 description 1
- 230000006866 deterioration Effects 0.000 description 1
- 239000003814 drug Substances 0.000 description 1
- 229940079593 drug Drugs 0.000 description 1
- 230000000694 effects Effects 0.000 description 1
- 235000013305 food Nutrition 0.000 description 1
- 239000011521 glass Substances 0.000 description 1
- 235000015110 jellies Nutrition 0.000 description 1
- 239000008274 jelly Substances 0.000 description 1
- 239000006210 lotion Substances 0.000 description 1
- 239000002184 metal Substances 0.000 description 1
- 239000000203 mixture Substances 0.000 description 1
- 238000012986 modification Methods 0.000 description 1
- 230000004048 modification Effects 0.000 description 1
- 239000004033 plastic Substances 0.000 description 1
- 229920003023 plastic Polymers 0.000 description 1
- 229920000139 polyethylene terephthalate Polymers 0.000 description 1
- 239000005020 polyethylene terephthalate Substances 0.000 description 1
- 230000008569 process Effects 0.000 description 1
- 229920005989 resin Polymers 0.000 description 1
- 239000011347 resin Substances 0.000 description 1
- 229920002379 silicone rubber Polymers 0.000 description 1
- 239000002904 solvent Substances 0.000 description 1
- 229920003051 synthetic elastomer Polymers 0.000 description 1
- 239000005061 synthetic rubber Substances 0.000 description 1
- 229920005992 thermoplastic resin Polymers 0.000 description 1
- 238000003466 welding Methods 0.000 description 1
Images
Classifications
-
- B—PERFORMING OPERATIONS; TRANSPORTING
- B65—CONVEYING; PACKING; STORING; HANDLING THIN OR FILAMENTARY MATERIAL
- B65D—CONTAINERS FOR STORAGE OR TRANSPORT OF ARTICLES OR MATERIALS, e.g. BAGS, BARRELS, BOTTLES, BOXES, CANS, CARTONS, CRATES, DRUMS, JARS, TANKS, HOPPERS, FORWARDING CONTAINERS; ACCESSORIES, CLOSURES, OR FITTINGS THEREFOR; PACKAGING ELEMENTS; PACKAGES
- B65D47/00—Closures with filling and discharging, or with discharging, devices
- B65D47/04—Closures with discharging devices other than pumps
- B65D47/20—Closures with discharging devices other than pumps comprising hand-operated members for controlling discharge
- B65D47/30—Closures with discharging devices other than pumps comprising hand-operated members for controlling discharge with plug valves, i.e. valves that open and close a passageway by turning a cylindrical or conical plug without axial passageways
-
- B—PERFORMING OPERATIONS; TRANSPORTING
- B65—CONVEYING; PACKING; STORING; HANDLING THIN OR FILAMENTARY MATERIAL
- B65D—CONTAINERS FOR STORAGE OR TRANSPORT OF ARTICLES OR MATERIALS, e.g. BAGS, BARRELS, BOTTLES, BOXES, CANS, CARTONS, CRATES, DRUMS, JARS, TANKS, HOPPERS, FORWARDING CONTAINERS; ACCESSORIES, CLOSURES, OR FITTINGS THEREFOR; PACKAGING ELEMENTS; PACKAGES
- B65D47/00—Closures with filling and discharging, or with discharging, devices
- B65D47/04—Closures with discharging devices other than pumps
- B65D47/32—Closures with discharging devices other than pumps with means for venting
-
- B—PERFORMING OPERATIONS; TRANSPORTING
- B65—CONVEYING; PACKING; STORING; HANDLING THIN OR FILAMENTARY MATERIAL
- B65D—CONTAINERS FOR STORAGE OR TRANSPORT OF ARTICLES OR MATERIALS, e.g. BAGS, BARRELS, BOTTLES, BOXES, CANS, CARTONS, CRATES, DRUMS, JARS, TANKS, HOPPERS, FORWARDING CONTAINERS; ACCESSORIES, CLOSURES, OR FITTINGS THEREFOR; PACKAGING ELEMENTS; PACKAGES
- B65D83/00—Containers or packages with special means for dispensing contents
- B65D83/771—Containers or packages with special means for dispensing contents for dispensing fluent contents by means of a flexible bag or a deformable membrane or diaphragm
-
- B—PERFORMING OPERATIONS; TRANSPORTING
- B65—CONVEYING; PACKING; STORING; HANDLING THIN OR FILAMENTARY MATERIAL
- B65D—CONTAINERS FOR STORAGE OR TRANSPORT OF ARTICLES OR MATERIALS, e.g. BAGS, BARRELS, BOTTLES, BOXES, CANS, CARTONS, CRATES, DRUMS, JARS, TANKS, HOPPERS, FORWARDING CONTAINERS; ACCESSORIES, CLOSURES, OR FITTINGS THEREFOR; PACKAGING ELEMENTS; PACKAGES
- B65D2205/00—Venting means
Definitions
- the present invention generally relates to a fluid discharge device and a fluid container provided therewith for discharging a fluid stored inside the fluid container through the fluid discharge device in a downward direction, for example.
- a container e.g., Japanese Patent Laid-open No. 1997-124099.
- Japanese Patent Laid-open No. 1997-124099 discloses a container comprising a container portion for accommodating a fluid (concrete), an outflow opening disposed at the lower portion of the container portion for allowing the fluid to flow out, a closing and opening means for controlling the fluid flow from the outflow opening, and a tubular body having flexibility to guide the fluid flow from the outflow opening through the closing and opening means.
- An object of the present invention is to provide a fluid container and a fluid discharge device for the fluid container which can prevent a fluid stored inside the fluid container from being exposed to outside air and can be used as a general-purpose container.
- the present invention provides a fluid discharge device configured to be attached to a container (e.g., 10, 90), comprising: (A) a pouch member (e.g., 20) having an opening portion (e.g., 21) and being composed of a flexible, collapsible material and configured to be disposed inside the container; and (B) a communication member (e.g., 30, 30', 80, 100) configured to be attached to a neck portion (e.g., 12) of the container when in use, said communication member comprising: (i) a joined portion (e.g., 31, 81, 101) which is joined with the opening portion of the pouch member, (ii) a fluid outflow passage (e.g., 32, 32', 82, 102) through which the inside and the outside of the container are communicated when in use, and (iii) a gas inflow passage (e.g., 33, 83, 103) through which the inside of the pouch member and the outside of the container are communicated when in use
- the above aspect further includes, but is not limited to, the following embodiments:
- the communication member may be an integrally formed single piece.
- the communication member may have a column shape fitted inside the neck portion.
- the fluid discharge device may further comprise a coupling member (e.g., 60, 60', 60") which encloses the communication member to couple the communication member to the neck portion wherein the neck portion is interposed between the communication member and the coupling member.
- the fluid discharge device may further comprise a lid member (e.g., 50) detachably attached to an end portion of the communication member for closing the fluid outflow passage and the gas inflow passage.
- the fluid outflow passage and the gas inflow passage may be formed in parallel to each other.
- the fluid outflow passage and the gas inflow passage may be formed in an axial direction of the communication member.
- the joined portion of the communication member may have an annular protrusion (e.g., 31, 81, 101) around which the opening portion of the pouch member is attached.
- annular protrusion e.g., 31, 81, 101
- the fluid outflow passage may be provided with an outflow prevention member (e.g., 40, 110) for shutting off fluid flowing between the inside and the outside of the container when in use.
- an outflow prevention member e.g., 40, 110 for shutting off fluid flowing between the inside and the outside of the container when in use.
- the outflow prevention member may be a valve member (e.g., 110) provided in the fluid outflow passage.
- the valve member may comprise a rotatable shaft (e.g., 42) crossing the fluid outflow passage in a direction perpendicular to an axis of the fluid outflow passage, said rotatable shaft being provided with a valve portion (e.g., 41) disposed in the fluid outflow passage, said valve portion being configured to close and open the fluid outflow passage depending on a rotated angle of the rotatable shaft.
- the fluid outflow passage may have an inwardly extended portion (e.g., 104) having a circular opening (e.g., 106) which serves as a valve seat, and the valve member may comprise a valve body (e.g., 112) for closing the circular opening of the valve seat, said valve body being urged to close the circular opening and open the circular opening when pressure inside the container increases.
- the valve member may further comprise an annular support portion (e.g., 111) fixed in the fluid outflow passage and plural coupling portions (e.g., 113) which couple the support portion and the valve body. Each coupling portion may have at least one flexion (e.g., 114) to urge the valve body toward the circular opening of the valve seat.
- the communication member may have a tubular extension (e.g., 86) which extends the fluid outflow passage toward the inside of the container.
- the tubular extension may have an open end (e.g., 88) and at least one hole (e.g., 87) on a wall of the tubular extension, through which the fluid flows into the fluid outflow passage.
- the fluid discharge device may be configured to substantially or nearly balance a volume of the fluid discharged from the fluid outflow passage and a volume of gas coming into the pouch member through the gas inflow passage when in use.
- the present invention provides a fluid container comprising: (a) a container main body (e.g., 10, 90) for storing a fluid inside, which has a neck portion (e.g., 12); and (b) any of the fluid discharge devices described above attached to the neck portion.
- a container main body e.g., 10, 90
- neck portion e.g., 12
- the above aspect further includes, but is not limited to, the following embodiments:
- the fluid discharge device may be detachably attached to the neck portion.
- the container main body e.g., 90
- the communication member may have a length in an axial direction which is longer than that of the neck portion.
- the pouch member may have a capacity which is equal to or greater than that of the container main body.
- any element used in an aspect or embodiment can interchangeably or additionally be used in another embodiment or aspect unless such a replacement or addition is not feasible or causes adverse effect. Further, the present invention can equally be applied to apparatuses and methods.
- FIG. 1 is a sectional view showing the fluid-storing container according to a first embodiment of the present invention.
- FIGS. 2(a)-2(c) are explanatory views showing a flow member 30 disclosed in FIG. 1.
- FIG. 2(a) is a top view
- FIG. 2(b) is a cross sectional view
- FIG. 2(c) is a bottom view.
- FIGS. 3(a)-3(c) are explanatory views showing a valve member 40 disclosed in FIG. 1.
- FIG. 3(a) is a right side view
- FIG. 3(b) is a top view
- FIG. 3(c) is a left side view.
- FIGS. 4(a)-4(c) are explanatory views showing a lid member 50 disclosed in FIG. 1.
- FIG. 4(a) is a top view
- FIG. 4(b) is a cross sectional view
- FIG. 4(c) is a bottom view.
- FIG. 5 is an explanatory view showing a state in which a fluid stored inside the fluid-storing container main body 10 is let flow out from the fluid-storing container.
- FIG. 6 is an explanatory view showing a state in which a fluid is filled up into the fluid-storing container main body 10 using a first method.
- FIG. 7 is an explanatory view showing a state in which a fluid is filled up into the fluid-storing container main body 10 using another method.
- FIG. 8 is a sectional view showing a fluid-storing container according to a second embodiment of the present invention.
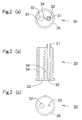
- FIGS. 9(a)-9(c) are explanatory views showing a flow member 80 disclosed in FIG. 8.
- FIG. 9(a) is a top view
- FIG. 9(b) is a cross sectional view
- FIG. 9(c) is a bottom view.
- FIG. 10 is an explanatory view showing a state in which a fluid stored inside the fluid-storing container main body 10 is let flow out from the fluid-storing container according to the second embodiment.
- FIG. 11 is a sectional view showing a fluid-storing container according to a third embodiment of the present invention.
- FIG. 12 an explanatory view showing a state in which a fluid stored inside the fluid-storing container main body 10 is let flow out from the fluid-storing container according to the third embodiment of the present invention.
- FIG. 13 is a sectional view showing a fluid-storing container according to a fourth embodiment of the present invention.
- FIG. 14 is an explanatory view showing a state in which a fluid stored inside the fluid-storing container main body 90 is let flow out from the fluid-storing container according to the fourth embodiment of the present invention.
- FIG. 15 is an explanatory view showing a state in which a fluid stored inside the fluid-storing container main body 90 is let flow out from the fluid-storing container according to the fourth embodiment of the present invention.
- FIG. 16 is a sectional view showing a fluid-storing container according to a fifth embodiment of the present invention.
- FIGS. 17(a)-17(c) are explanatory views showing a flow member 100 disclosed in FIG. 16.
- FIG. 17(a) is a top view
- FIG. 17(b) is a cross sectional view
- FIG. 17(c) is a bottom view.
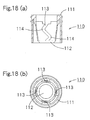
- FIGS. 18(a)-18(b) are explanatory views showing a valve member 110 disclosed in FIG. 16.
- FIG. 18(a) is a cross sectional view
- FIG. 18(b) is a bottom view.
- FIG. 19 is an explanatory view showing a state in which a fluid stored inside the fluid-storing container main body 90 is let flow out from the fluid-storing container according to the fifth embodiment.
- FIG. 20 is an explanatory view showing a state in which a fluid stored inside the fluid-storing container main body 90 is let flow out from the fluid-storing container according to the fifth embodiment.
- FIG. 1 is a sectional view showing a fluid-storing container according to the first embodiment of the present invention.
- the fluid-storing container according to a first embodiment of the present invention is to allow a fluid stored inside the fluid-storing container main body to flow down from an opening portion 11 formed at a lower-end portion of the fluid-storing container main body.
- This fluid-storing container is used as a container for beauty products for storing gels such as hair gels and cleansing gels, creams such as nourishing creams and cold creams or liquids such as skin lotions used in the cosmetic field. Additionally, this fluid-storing container also can be used as a container for general medicines, solvents or foods, etc.
- high-viscosity liquids, semifluids, gels that sol solidifies to a jelly, and creams and regular liquids are all referred to as fluids.
- This fluid-storing container comprises a fluid-storing container main body 10 which stores a fluid inside it, a pouch member 20 composed of a flexible material and disposed inside the fluid-storing container main body 10, a flow member 30 having a shape easily detachable from an opening portion 11 in the fluid-storing container main body, a valve member 40 and a lid member 50 for shutting off fluid flowing between the inside and the outside of the fluid-storing container main body, and a joined member 60 fixing the fluid-storing container main body 10 and the flow member 30.
- the fluid-storing container main body 10 and the flow member 30 are airtightly attached to each other in the opening 11 in the fluid-storing container main body 10. Additionally, the fluid-storing container main body 10 and a joined member 60 are joined by screwing a male screw portion 12 formed in the periphery of the opening portion 11 of the fluid-storing container main body 10 into a female screw portion 61 formed on an inner side face of the joined member 60 together. Additionally, the flow member 30 and the joined member 60 are joined by engaging an engaging portion 35 formed in the flow member 30 with an engaging portion 62 formed in the joined member 60. Further, the lid member 50 and the joined member 60 are joined by screwing a male screw portion 63 formed in the joined member 60 into a female screw portion 51 formed on an inner side face of the lid member 50.
- the container main body 10 need not be flexible and can be made of glass, metal, or plastic.
- FIGS. 2(a)-2(c) are explanatory views showing the flow member 30.
- FIGS. 2(a)-2(c) are a top view, a sectional view and a back view, respectively, showing the flow member 30.
- the flow member 30 is tubular and can be fitted into an opening portion of a general-purpose bottle, etc.
- a joined portion 31 to be joined with an opening portion 21 of the pouch member a fluid flow passage 32 formed between the upper base and the lower base and communicatively connecting the inside and the outside of the fluid-storing container main body 10, and a gas flow passage 33 formed between the upper base and the lower base and communicatively connecting the inside of the pouch member 20 and the outside of the fluid-storing container main body 10 are formed.
- a bearing portion 34 of a rotating shaft 42 in a valve member 40 described later and the engaging portion 35 to be joined with the joined member 60 are formed.
- the fluid flow passage 32 may have an inner diameter of about 2 mm to about 20 mm (preferably 5 mm to 10 mm), depending on the consistency and other physical properties of the fluid. If the inner diameter is too great, air tends to enter inside the container through the fluid flow passage 32 while discharging the fluid therethrough.
- the gas flow passage 33 may have an inner diameter of about 1 mm to about 10 mm (preferably 2 mm to 5 mm). Regardless of the inner diameter of the gas outflow passage, the outer diameter of the joined member 31 can be enlarged so as to allow the pouch member 20 to be fixed thereto easily.
- the cross section of the fluid flow passage 32 and/or the gas flow passage 33 may be a circle but can be an oval or any other suitable shapes.
- the gas flow passage 33 can be shaped into a slit.
- the inner diameter of the fluid flow passage may be greater than that of the gas flow passage 33, preferably two to six times greater than that of the gas flow passage 33.
- the fluid flow passage 32 and the gas flow passage 33 may have a length (in an axial direction) of about 10 mm to about 50 mm (preferably 20 mm to 30 mm), depending on the consistency and other physical properties of the fluid. If the length is too great, air tends to enter inside the container through the fluid flow passage 32 while discharging the fluid therethrough.
- the flow member 30 may have a diameter of about 8 mm to about 50 mm (preferably 15 mm to 30 mm) or any diameter adaptable to a neck portion of a container.
- the flow member 30 may have a column shape but can be an oval shape or any other shape adaptable to a neck portion of a container.
- the flow member 30 can be fitted in the neck portion similarly to a plug, without the joined member 60.
- the flow member can be made of ABS, polypropylene, or polyethylene, for example.
- FIGS. 3(a)-3(c) are explanatory views showing the valve member 40.
- FIGS. 3(a)-3(c) are a right side view, a top view and a left side view, respectively, showing the valve member 40.
- the valve member 40 has a valve portion 41, the rotating shaft 42 to be joined with the valve portion, and a control portion 43 to be joined with the rotating shaft 42.
- the valve portion 41 has a shape fitting in the fluid flow passage 32 in the flow member 30.
- the rotating shaft 42 has a function to rotate/move the valve portion 41 in planar and vertical directions by being inserted/fitted in the bearing portion 34 in the flow member 30. By this, it becomes possible that the valve member 40 rotates and travels between an open position enabling fluid flowing between the inside and the outside of the fluid-storing container main body 10, and a closed position disabling fluid flowing between the inside and the outside of the fluid-storing container main body 10.
- FIGS. 4(a)-4(c) are explanatory views showing the lid member 50. Of these, FIGS. 4(a)-4(c) are a top view, a sectional view and a back view, respectively, showing the lid member 50.
- the lid member 50 has a tubular shape with a bottom, and on its inner side face, a female screw portion 51 to be screwed with the joined member 60 is formed. By this, with the lid member being screwed together with the joined member 60, it becomes possible to shut off the fluid flow passage 32 in the flow member 30 and the gas flow passage 33 in the flow member 30.
- the lid member can be press-fitted on the joined member without the threads.
- the joined member can also be press-fitted at the neck portion of the container without the threads, depending on the shape of the neck portion.
- FIG. 5 is an explanatory view showing a state in which a fluid stored inside the fluid-storing container main body 10 is let flow out from the fluid-storing container.
- a fluid stored inside the fluid-storing container main body 10 When a fluid stored inside the fluid-storing container main body 10 is let flow out from this fluid-storing container, by removing the lid member 50 from the joined member 60, and turning the control portion 43 in the valve member 40, the valve member 40 is moved to an open position. By this, a fluid is enabled to flow between the inside and the outside of the fluid-storing container main body 10, and at the same time, a gas is enabled to flow between the inside and the outside of the pouch member 20. Because of this, a fluid stored inside the fluid-storing container main body 10 passes through the fluid flow passage 32 in the flow member 30 by its empty weight and flows down to the outside of the fluid-storing container.
- this fluid-storing container it becomes possible to prevent occurrence of a pressure difference between the inside and the outside of the fluid-storing container main body 10. Additionally, according to this fluid-storing container, it becomes possible to prevent a fluid stored inside the fluid-storing container main body 10 from being exposed to outside air.
- valve member 40 When an outflow of a fluid stored inside the fluid-storing container main body 10 from the fluid-storing container is stopped, the valve member 40 is made to move to a closed position by turning the control portion 43 in the valve member 40. Further, the lid member 50 is re-attached to the joined member 60. By this, the fluid is disabled to flow between the inside and the outside of the fluid-storing container main body 10, and at the same time, a gas is disabled to flow between the inside and the outside of the pouch member 20.
- FIG. 6 is an explanatory view showing a state in which a fluid is filled up into the fluid-storing container main body 10 using a first method.
- FIG. 7 is an explanatory view showing a state in which a fluid is filled up into the fluid-storing container main body 10 using another method.
- a fluid container 70 for filling up a fluid in the fluid-storing container has a shape that an outflow opening 71 for the fluid can be inserted into the fluid flow passage 32 in the flow member 30 comprising the fluid-storing container. With the outflow opening 71 in this fluid container 70 being inserted in the fluid flow passage 32 in the flow member 30, the fluid is filled up into the fluid-storing container main body 10.
- the pouch member 20 can be made of polyethylene, for example, and have a thickness of about 10 ⁇ m to about 200 ⁇ m (preferably 20 ⁇ m to 50 ⁇ m) so that the pouch member is flexible and collapsible when the container is filled with the fluid.
- the pouch member may be shaped corresponding to the inner shape of the container and/or have a capacity larger than that of the container so that when the pouch member is filled with air, the pouch member can expand toward the inner wall of the container without leaving a dead space.
- the pouch member may also be a conventional rectangular bag.
- the pouch member can be fixed to the joined portion 31 using adhesive or string or by welding.
- FIG. 8 is a sectional view showing a fluid-storing container according to a second embodiment of the present invention.
- the end of the flow member is substantially or nearly leveled with an inner surface of a shoulder portion of the container.
- a tubular flow portion 86 protrudes toward inside the container.
- the fluid-storing container according to the second embodiment differs from the fluid-storing container according to the first embodiment in that a flow member 80 is provided in place of the flow member 30.
- FIGS. 9(a)-9(c) are explanatory views showing the flow member 80.
- the flow member 80 in the fluid-storing container according to the second embodiment is also tubular and can be fitted in an opening portion of a general-purpose bottle, etc.
- a tubular flow portion 86 forming a fluid flow passage going from the fluid flow passage 82 toward the inside of the fluid-storing container main body 10 is further provided.
- a hole portion 87 which a fluid can pass through is formed in the tubular flow portion 86.
- the fluid-storing container according to the second embodiment has the tubular flow portion 86, it becomes possible to prevent the fluid flow passage from being closed by the pouch member 20, etc. Additionally, because the hole portion 87 is formed in the tubular flow portion 86, it becomes possible to allow a fluid to flow out even if an amount of a fluid stored inside the fluid-storing container main body becomes low.
- FIG. 10 is an explanatory view showing a state in which a fluid stored inside the fluid-storing container main body 10 is let flow out from the fluid-storing container.
- a fluid stored inside the fluid-storing container main body 10 When a fluid stored inside the fluid-storing container main body 10 is let flow out from this fluid-storing container, by removing a lid member 50 from the joined member 60, and turning a control portion 43 in the valve member 40, the valve member 40 is made to move to an open position. By this, a fluid is enabled to flow between the inside and the outside of the fluid-storing container main body 10, and at the same time, a gas is enabled to flow between the inside and the outside of the pouch member 20. Because of this, a fluid stored inside the fluid-storing container main body 10 flows out to the fluid flow passage 82 in the flow member 80 by its empty weight via the tubular flow portion 86; and then it flows down to the outside of the fluid-storing container after passing through the fluid flow passage 82.
- this fluid-storing container it becomes possible to prevent occurrence of a pressure difference between the inside and the outside of the fluid-storing container main body 10. Additionally, according to this fluid-storing container, it becomes possible to prevent a fluid stored inside the fluid-storing container main body 10 from being exposed to outside air.
- valve member 40 When an outflow of a fluid stored inside the fluid-storing container main body 10 from the fluid-storing container is stopped, the valve member 40 is moved to a closed position by turning the control portion 43 in the valve member 40. Further, the lid member 50 is re-attached to the joined member 60. By this, the fluid is disabled to flow between the inside and the outside of the fluid-storing container main body 10, and at the same time, a gas is disabled to flow between the inside and the outside of the pouch member 20.
- the number of the hole 87 is not limited, but may be two to ten.
- the end 88 of the fluid flow passage 82 is open, but can be closed as long as there are sufficient holes formed on the side wall.
- the hole can be shaped into a slit or any other shapes.
- a simple protrusion such as stick extending toward the inside of the container, can be provided at the end of the flow member so that the protrusion can prevent the pouch member from blocking the fluid flow passage.
- FIG. 11 is a sectional view showing a fluid-storing container according to a third embodiment of the present invention.
- the fluid-storing container according to the third embodiment differs from the fluid-storing container according to the first embodiment in that the valve member 40 in the first embodiment is not provided.
- valve member 40 is not provided in a fluid flow passage 32' of a flow member 30', it becomes possible to prevent occurrence of a pressure difference between the inside and the outside of a fluid-storing container main body 10 and to prevent a fluid stored inside the fluid-storing container from being exposed to outside air while its construction is simple. Accordingly, a joined member 60' is not configured to use the valve member 40.
- FIG. 12 an explanatory view showing a state in which the fluid stored inside the fluid-storing container main body 10 is let flow out from the fluid-storing container according to the third embodiment of the present invention.
- a fluid is enabled to flow between the inside and the outside of the fluid-storing container main body 10, and at the same time, a gas is enabled to flow between the inside and the outside of the pouch member 20. Because of this, a fluid stored inside the fluid-storing container main body 10 passes through the fluid flow passage 32' in the flow member 30 by its empty weight and flows down to the outside of the fluid-storing container.
- this fluid-storing container it becomes possible to prevent occurrence of a pressure difference between the inside and the outside of the fluid-storing container main body 10. Additionally, according to this fluid-storing container, it becomes possible to prevent a fluid stored inside the fluid-storing container main body 10 from being exposed to outside air.
- the lid member 50 When an outflow of the fluid stored inside the fluid-storing container main body 10 from the fluid-storing container is stopped, the lid member 50 is re-attached to a joined member 60. By this, the fluid is disabled to flow between the inside and the outside of the fluid-storing container main body 10, and at the same time, a gas is disabled to flow between the inside and the outside of the pouch member 20.
- FIG. 13 is a sectional view showing a fluid-storing container according to a fourth embodiment of the present invention.
- the fluid-storing container according to the fourth embodiment differs from the fluid-storing container according to the third embodiment in that a fluid-storing container main body 90 is provided in place of the fluid-storing container main body 10 in the fluid-storing container according to the third embodiment.
- the fluid-storing container main body 90 in the fluid-storing container according to the fourth embodiment is composed of a material having flexibility.
- this fluid-storing container main body 90 is composed of a flexible material and has a pouch member 20 disposed inside the fluid-storing container main body 90, the flow member 30' having a shape easily detachable from an opening portion 91 of the fluid-storing container main body, a valve member 40 and a lid member 50 for shutting off fluid flowing between the inside and the outside of the fluid-storing container main body, and a joined member 60 fixing the fluid-storing container main body 90 and the flow member 30'.
- the fluid-storing container main body 90 and the flow member 30' are airtightly attached to each other in an opening 91 in the fluid-storing container main body 90.
- the fluid-storing container main body 90 is composed of a material having flexibility, it becomes possible to let a fluid stored inside the fluid-storing container main body flow out to the outside by pressurizing the fluid by pressing the fluid-storing container main body 90 from the outside even if viscosity of the fluid stored inside the fluid-storing container main body 90 is high.
- FIG. 14 and FIG. 15 are explanatory views showing a state in which a fluid stored inside the fluid-storing container main body 90 is let flow out from the fluid-storing container according to the fourth embodiment of the present invention.
- this fluid-storing container it becomes possible to prevent occurrence of a pressure difference between the inside and the outside of the fluid-storing container main body 90. Additionally, according to this fluid-storing container, it becomes possible to prevent a fluid stored inside the fluid-storing container main body 90 from being exposed to outside air.
- the container main body 90 may be made by blow molding using a thermoplastic resin such as polyethylene terephthalate and have a thickness of about 0.1 mm to about 1 mm (preferably 0.3 mm to 0.5 mm).
- FIG. 16 is a sectional view showing a fluid-storing container according to a fifth embodiment of the present invention.
- the fluid-storing container according to the fifth embodiment differs from the fluid-storing container according to the fourth embodiment in that a flow member 100 and a valve member 110 are provided in place of the flow member 30 in the fluid-storing container according to the fourth embodiment.
- FIGS. 17(a)-17(c) are explanatory views showing the flow member 100.
- FIGS. 17(a)-17(c) are a top view, a sectional view and a back view, respectively, showing the flow member 100.
- the valve seat portion 104 has a circular opening portion functioning as a valve seat for the valve member 110 described later inside the fluid flow passage 102. On a side contacting the valve member 110 in the valve seat portion, a pair of flexions is formed.
- FIGS. 18(a)-18(b) are explanatory views showing the valve member 110.
- FIGS. 18(a)-18(b) are a sectional view and a top view, respectively, showing the valve member 110.
- the valve member 110 has an annular support portion 111 fixed inside a fluid flow passage 102 in the flow member 100, a valve body 112 having a shape corresponding to the circular opening portion in the valve seat portion 104, and four coupling portions 113 coupling the support portion 111 and the valve body 112.
- the respective four coupling portions 113 have a pair of flexions 114.
- the valve body 112 is adapted to be movable between a closed portion in which it shuts off the opening in the valve seat portion 104 and an open position in which it opens the opening.
- the support portion 111 and the valve body 112 are coupled by three or more coupling portions 113, it becomes possible to prevent occurrence of an inappropriate lean in the valve body 112. Additionally, having the flexions 114, the coupling portion 113 has appropriate elastic retaining force, thereby allowing the valve body 112 to travel more satisfactorily between a closed position and an open position.
- the fluid-storing container according to the fifth embodiment which uses the valve member 110 and the valve seat portion 104 having the above-mentioned construction as an outflow prevention member, flowing of a fluid is reliably disabled between the inside and the outside of the fluid-storing container main body, and it becomes possible to arbitrarily change a flow rate of the fluid passing through the fluid flow passage according to pressure applied to the valve body 112 while its construction is simple.
- FIG. 19 and FIG. 20 are explanatory views showing a state in which a fluid stored inside the fluid-storing container main body 90 is let flow out from the fluid-storing container according to the fifth embodiment.
- the inside of the fluid-storing container main body 90 is pressurized by pressing the fluid-storing container main body 90 from the outside as shown in FIG. 19.
- the fluid stored inside the fluid-storing container main body 90 pressurized applies pressure to the valve body 112 inside the fluid flow passage 102 in the flow member 100.
- the valve body 112 moves to an open position in which it opens an opening in the valve seat portion 104 from a closed position in which it shuts off the opening, and a fluid flows out to the outside of the fluid-storing container after passing through the opening in the valve seat portion 104.
- this fluid-storing container it becomes possible to prevent occurrence of a pressure difference between the inside and the outside of the fluid-storing container main body 90. Additionally, according to this fluid-storing container, it becomes possible to prevent a fluid stored inside the fluid-storing container main body 90 from being exposed to outside air.
- all of the elements can be composed of a material using a resin such as polyethylene and polypropylene, synthetic rubber such as silicon rubber, or a mixture of the foregoing unless described otherwise.
- a fluid-storing container allowing a fluid stored inside the fluid-storing container main body to flow down from an opening portion formed at a lower-end portion of the fluid-storing container main body, which is characterized by possessing a pouch member composed of a flexible material and disposed inside the fluid-storing container main body, and a flow member having a shape easily detachable from the opening portion of the fluid-storing container main body, in which a joined portion to be joined with an opening portion of the pouch member, a fluid flow passage communicatively connecting the inside and the outside of the fluid-storing container main body, and a gas flow passage communicatively connecting the inside of the pouch member and the outside of the fluid-storing container main body are formed.
- an outflow prevention member for shutting off fluid flowing between the inside and the outside of the fluid-storing container main body is provided.
- the outflow prevention member is a lid member shutting off the fluid flow passage in the flow member and the gas flow passage in the flow member.
- the outflow prevention member is a valve member provided in the fluid flow passage in the flow member and traveling between an open position enabling fluid flowing between the inside and the outside of the fluid-storing container main body and a closed position disabling fluid flowing between the inside and the outside of the fluid-storing container main body.
- the valve member comprises a valve portion fitting in the fluid flow passage in the flow member in a planar direction, and a rotating shaft to be joined with the valve portion and rotating and moving the valve portion in planar and vertical directions. According to the embodiment described in 5), it becomes possible to reliably prevent a fluid stored inside the fluid-storing container main body from being exposed to outside air while its construction is simple.
- the fluid-storing container main body is composed of a material having flexibility. According to the embodiment described in 6), because the fluid-storing container main body is composed of a material having flexibility, it becomes possible to let a fluid stored inside the fluid-storing container main body flow out to the outside by pressurizing the fluid by pressing the fluid-storing container main body from the outside even if viscosity of the fluid stored inside the fluid-storing container main body is high.
- a tubular flow portion forming a fluid flow passage going from the fluid flow passage toward the inner side of the fluid-storing container main body is attached to the flow member. According to the embodiment described in 7), it becomes possible to prevent the fluid flow passage from being closed by the pouch member, etc.
- a fluid discharge device for a fluid-storing container attached to an opening portion of the fluid-storing container allowing a fluid stored inside the fluid-storing container main body to flow down from an opening portion formed at a lower-end portion of the fluid-storing container main body which is characterized by comprising a pouch member composed of a flexible material, and a flow member having a tubular main body, a joined portion to be joined with an opening portion of the pouch member, a fluid flow passage formed between the upper base and the lower base of the main body, and a gas flow passage formed between the upper base and the lower base of the main body and communicatively connecting the inside and the outside of the pouch member via the joined portion.
- a pouch member composed of a flexible material
- a flow member having a tubular main body, a joined portion to be joined with an opening portion of the pouch member, a fluid flow passage formed between the upper base and the lower base of the main body, and a gas flow passage formed between the upper base and the lower base of the main body and communicatively connecting the inside and the
- a valve seat portion having a circular opening functioning as a valve seat is formed inside the fluid flow passage;
- the valve member has an annular support portion fixed in the fluid flow passage, a valve body having a shape corresponding to the circular opening portion in the valve seat portion, and plural coupling portions coupling the support portion and the valve body; and by the flexibility of the plural coupling portions, the valve body is adapted to be movable between a closed portion in which it shuts off the opening in the valve seat portion and an open position in which it opens the opening.
- flowing of a fluid can be reliably shut off between the inside and the outside of the fluid-storing container main body while its construction is simple. Additionally, it becomes possible to change a flow rate of a fluid passing through the fluid flow passage arbitrarily in proportion to a pressure applied to the valve body.
- the support portion and the valve body are coupled by three or more coupling portions. According to the embodiment described in 11), it becomes possible to prevent occurrence of an inappropriate lean in the valve body.
- the coupling portion has a flexion.
- the coupling portion has a flexion, it has appropriate elastic retaining force, thereby allowing the valve body to travel more satisfactorily between a closed position and an open position.
Landscapes
- Engineering & Computer Science (AREA)
- Mechanical Engineering (AREA)
- Containers And Packaging Bodies Having A Special Means To Remove Contents (AREA)
Abstract
Description
- The present invention generally relates to a fluid discharge device and a fluid container provided therewith for discharging a fluid stored inside the fluid container through the fluid discharge device in a downward direction, for example.
- For example, in the technical field of concrete transportation, as a fluid-storing container allowing a fluid (concrete) to flow down from an opening formed at the lower end of a fluid-storing container main body, a container is known (e.g., Japanese Patent Laid-open No. 1997-124099).
- Japanese Patent Laid-open No. 1997-124099 discloses a container comprising a container portion for accommodating a fluid (concrete), an outflow opening disposed at the lower portion of the container portion for allowing the fluid to flow out, a closing and opening means for controlling the fluid flow from the outflow opening, and a tubular body having flexibility to guide the fluid flow from the outflow opening through the closing and opening means.
- According to the above container, due to the tubular body, it becomes possible to allow the fluid to reliably flow out in a target direction.
- However, the structures of the conventional container disclosed in Japanese Patent Laid-open No. 1997-124099 cannot be applied to a container for storing a fluid reactive to air such as a cosmetic. This is because it is necessary to prevent the fluid from being exposed to outside air as much as possible so as to prevent its quality deterioration. The conventional container allows outside air to enter inside the container. Consequently, there is a possibility that the fluid may change in quality.
- Additionally, because the configuration of the closing and opening means disclosed in Japanese Patent Laid-open No. 1997-124099 is complicated, it is difficult to apply the closing and opening means to a general-purpose container.
- The present invention was achieved to solve at least one of the above-mentioned problems. An object of the present invention is to provide a fluid container and a fluid discharge device for the fluid container which can prevent a fluid stored inside the fluid container from being exposed to outside air and can be used as a general-purpose container.
- The present invention can be practiced in various ways including, but not limited to, embodiments described below, wherein numerals used in the drawings are used solely for the purpose of ease in understanding of the embodiments which should not be limited to the numerals. Further, in the present specification, different terms or names may be assigned to the same element, and in that case, one of the different terms or names may functionally or structurally overlap or include the other or be used interchangeably with the other.
- In an aspect, the present invention provides a fluid discharge device configured to be attached to a container (e.g., 10, 90), comprising: (A) a pouch member (e.g., 20) having an opening portion (e.g., 21) and being composed of a flexible, collapsible material and configured to be disposed inside the container; and (B) a communication member (e.g., 30, 30', 80, 100) configured to be attached to a neck portion (e.g., 12) of the container when in use, said communication member comprising: (i) a joined portion (e.g., 31, 81, 101) which is joined with the opening portion of the pouch member, (ii) a fluid outflow passage (e.g., 32, 32', 82, 102) through which the inside and the outside of the container are communicated when in use, and (iii) a gas inflow passage (e.g., 33, 83, 103) through which the inside of the pouch member and the outside of the container are communicated when in use.
- The above aspect further includes, but is not limited to, the following embodiments:
- The communication member may be an integrally formed single piece. The communication member may have a column shape fitted inside the neck portion. The fluid discharge device may further comprise a coupling member (e.g., 60, 60', 60") which encloses the communication member to couple the communication member to the neck portion wherein the neck portion is interposed between the communication member and the coupling member. The fluid discharge device may further comprise a lid member (e.g., 50) detachably attached to an end portion of the communication member for closing the fluid outflow passage and the gas inflow passage.
- The fluid outflow passage and the gas inflow passage may be formed in parallel to each other. The fluid outflow passage and the gas inflow passage may be formed in an axial direction of the communication member.
- The joined portion of the communication member may have an annular protrusion (e.g., 31, 81, 101) around which the opening portion of the pouch member is attached.
- The fluid outflow passage may be provided with an outflow prevention member (e.g., 40, 110) for shutting off fluid flowing between the inside and the outside of the container when in use.
- The outflow prevention member may be a valve member (e.g., 110) provided in the fluid outflow passage. The valve member may comprise a rotatable shaft (e.g., 42) crossing the fluid outflow passage in a direction perpendicular to an axis of the fluid outflow passage, said rotatable shaft being provided with a valve portion (e.g., 41) disposed in the fluid outflow passage, said valve portion being configured to close and open the fluid outflow passage depending on a rotated angle of the rotatable shaft.
- The fluid outflow passage may have an inwardly extended portion (e.g., 104) having a circular opening (e.g., 106) which serves as a valve seat, and the valve member may comprise a valve body (e.g., 112) for closing the circular opening of the valve seat, said valve body being urged to close the circular opening and open the circular opening when pressure inside the container increases. The valve member may further comprise an annular support portion (e.g., 111) fixed in the fluid outflow passage and plural coupling portions (e.g., 113) which couple the support portion and the valve body. Each coupling portion may have at least one flexion (e.g., 114) to urge the valve body toward the circular opening of the valve seat.
- The communication member may have a tubular extension (e.g., 86) which extends the fluid outflow passage toward the inside of the container. The tubular extension may have an open end (e.g., 88) and at least one hole (e.g., 87) on a wall of the tubular extension, through which the fluid flows into the fluid outflow passage.
- The fluid discharge device may be configured to substantially or nearly balance a volume of the fluid discharged from the fluid outflow passage and a volume of gas coming into the pouch member through the gas inflow passage when in use.
- In another aspect, the present invention provides a fluid container comprising: (a) a container main body (e.g., 10, 90) for storing a fluid inside, which has a neck portion (e.g., 12); and (b) any of the fluid discharge devices described above attached to the neck portion.
- The above aspect further includes, but is not limited to, the following embodiments:
- The fluid discharge device may be detachably attached to the neck portion. The container main body (e.g., 90) may be composed of a material having shape-restorable flexibility. The communication member may have a length in an axial direction which is longer than that of the neck portion. The pouch member may have a capacity which is equal to or greater than that of the container main body.
- In all of the aforesaid aspects and embodiments, any element used in an aspect or embodiment can interchangeably or additionally be used in another embodiment or aspect unless such a replacement or addition is not feasible or causes adverse effect. Further, the present invention can equally be applied to apparatuses and methods.
- For purposes of summarizing the invention and the advantages achieved over the related art, certain objects and advantages of the invention have been described above. Of course, it is to be understood that not necessarily all such objects or advantages may be achieved in accordance with any particular embodiment of the invention. Thus, for example, those skilled in the art will recognize that the invention may be embodied or carried out in a manner that achieves or optimizes one advantage or group of advantages as taught herein without necessarily achieving other objects or advantages as may be taught or suggested herein.
- Further aspects, features and advantages of this invention will become apparent from the detailed description of the preferred embodiments which follow.
- These and other features of this invention will now be described with reference to the drawings of preferred embodiments which are intended to illustrate and not to limit the invention. The drawings are oversimplified for illustrative purposes.
- FIG. 1 is a sectional view showing the fluid-storing container according to a first embodiment of the present invention.
- FIGS. 2(a)-2(c) are explanatory views showing a
flow member 30 disclosed in FIG. 1. FIG. 2(a) is a top view, FIG. 2(b) is a cross sectional view, and FIG. 2(c) is a bottom view. - FIGS. 3(a)-3(c) are explanatory views showing a
valve member 40 disclosed in FIG. 1. FIG. 3(a) is a right side view, FIG. 3(b) is a top view, and FIG. 3(c) is a left side view. - FIGS. 4(a)-4(c) are explanatory views showing a
lid member 50 disclosed in FIG. 1. FIG. 4(a) is a top view, FIG. 4(b) is a cross sectional view, and FIG. 4(c) is a bottom view. - FIG. 5 is an explanatory view showing a state in which a fluid stored inside the fluid-storing container
main body 10 is let flow out from the fluid-storing container. - FIG. 6 is an explanatory view showing a state in which a fluid is filled up into the fluid-storing container
main body 10 using a first method. - FIG. 7 is an explanatory view showing a state in which a fluid is filled up into the fluid-storing container
main body 10 using another method. - FIG. 8 is a sectional view showing a fluid-storing container according to a second embodiment of the present invention.
- FIGS. 9(a)-9(c) are explanatory views showing a
flow member 80 disclosed in FIG. 8. FIG. 9(a) is a top view, FIG. 9(b) is a cross sectional view, and FIG. 9(c) is a bottom view. - FIG. 10 is an explanatory view showing a state in which a fluid stored inside the fluid-storing container
main body 10 is let flow out from the fluid-storing container according to the second embodiment. - FIG. 11 is a sectional view showing a fluid-storing container according to a third embodiment of the present invention.
- FIG. 12 an explanatory view showing a state in which a fluid stored inside the fluid-storing container
main body 10 is let flow out from the fluid-storing container according to the third embodiment of the present invention. - FIG. 13 is a sectional view showing a fluid-storing container according to a fourth embodiment of the present invention.
- FIG. 14 is an explanatory view showing a state in which a fluid stored inside the fluid-storing container
main body 90 is let flow out from the fluid-storing container according to the fourth embodiment of the present invention. - FIG. 15 is an explanatory view showing a state in which a fluid stored inside the fluid-storing container
main body 90 is let flow out from the fluid-storing container according to the fourth embodiment of the present invention. - FIG. 16 is a sectional view showing a fluid-storing container according to a fifth embodiment of the present invention.
- FIGS. 17(a)-17(c) are explanatory views showing a
flow member 100 disclosed in FIG. 16. FIG. 17(a) is a top view, FIG. 17(b) is a cross sectional view, and FIG. 17(c) is a bottom view. - FIGS. 18(a)-18(b) are explanatory views showing a
valve member 110 disclosed in FIG. 16. FIG. 18(a) is a cross sectional view, and FIG. 18(b) is a bottom view. - FIG. 19 is an explanatory view showing a state in which a fluid stored inside the fluid-storing container
main body 90 is let flow out from the fluid-storing container according to the fifth embodiment. - FIG. 20 is an explanatory view showing a state in which a fluid stored inside the fluid-storing container
main body 90 is let flow out from the fluid-storing container according to the fifth embodiment. - Explanation of symbols used in the drawings are as follows: 10: Fluid-storing container main body; 11: Opening portion; 12: Male screw portion; 20: Pouch member; 21: Opening portion; 30: Flow member; 31: Joined portion; 32: Fluid flow passage; 33: Air flow passage; 34: Bearing portion; 35: Engaging portion; 40: Valve member; 41: Valve portion; 42: Rotating shaft; 43: Control portion; 50: Lid member; 51: Female screw portion; 60: Joined member; 61: Female screw portion; 62: Engaging portion; 63: Male screw portion; 70: Fluid container; 71: Outflow opening; 80: Flow member; 81: Joined portion; 82: Fluid flow passage; 83: Air flow passage; 84: Bearing portion; 85: Engaging portion; 86: Tubular flow portion; 87: Hole portion; 90: Fluid-storing container main body; 91: opening portion; 100: Flow Member; 101: Joined portion; 102: Fluid flow passage; 103: Air flow passage; 104: Valve seat portion; 105: Engaging portion; 110: Valve member; 111: Support portion; 112: Valve body; 113: Coupling portion; 114: Flexion.
- The present invention will be explained with respect to preferred embodiments and drawings. However, the preferred embodiments or drawings are not intended to limit the present invention
- FIG. 1 is a sectional view showing a fluid-storing container according to the first embodiment of the present invention.
- The fluid-storing container according to a first embodiment of the present invention is to allow a fluid stored inside the fluid-storing container main body to flow down from an opening
portion 11 formed at a lower-end portion of the fluid-storing container main body. - This fluid-storing container is used as a container for beauty products for storing gels such as hair gels and cleansing gels, creams such as nourishing creams and cold creams or liquids such as skin lotions used in the cosmetic field. Additionally, this fluid-storing container also can be used as a container for general medicines, solvents or foods, etc. In this specification, high-viscosity liquids, semifluids, gels that sol solidifies to a jelly, and creams and regular liquids are all referred to as fluids.
- This fluid-storing container comprises a fluid-storing container
main body 10 which stores a fluid inside it, apouch member 20 composed of a flexible material and disposed inside the fluid-storing containermain body 10, aflow member 30 having a shape easily detachable from an openingportion 11 in the fluid-storing container main body, avalve member 40 and alid member 50 for shutting off fluid flowing between the inside and the outside of the fluid-storing container main body, and a joinedmember 60 fixing the fluid-storing containermain body 10 and theflow member 30. - The fluid-storing container
main body 10 and theflow member 30 are airtightly attached to each other in theopening 11 in the fluid-storing containermain body 10. Additionally, the fluid-storing containermain body 10 and a joinedmember 60 are joined by screwing amale screw portion 12 formed in the periphery of the openingportion 11 of the fluid-storing containermain body 10 into afemale screw portion 61 formed on an inner side face of the joinedmember 60 together. Additionally, theflow member 30 and the joinedmember 60 are joined by engaging an engagingportion 35 formed in theflow member 30 with an engagingportion 62 formed in the joinedmember 60. Further, thelid member 50 and the joinedmember 60 are joined by screwing amale screw portion 63 formed in the joinedmember 60 into afemale screw portion 51 formed on an inner side face of thelid member 50. The containermain body 10 need not be flexible and can be made of glass, metal, or plastic. - FIGS. 2(a)-2(c) are explanatory views showing the
flow member 30. FIGS. 2(a)-2(c) are a top view, a sectional view and a back view, respectively, showing theflow member 30. - The
flow member 30 is tubular and can be fitted into an opening portion of a general-purpose bottle, etc. In thisflow member 30, a joinedportion 31 to be joined with an openingportion 21 of the pouch member, afluid flow passage 32 formed between the upper base and the lower base and communicatively connecting the inside and the outside of the fluid-storing containermain body 10, and agas flow passage 33 formed between the upper base and the lower base and communicatively connecting the inside of thepouch member 20 and the outside of the fluid-storing containermain body 10 are formed. Additionally, in theflow member 30, a bearingportion 34 of arotating shaft 42 in avalve member 40 described later and the engagingportion 35 to be joined with the joinedmember 60 are formed. - The
fluid flow passage 32 may have an inner diameter of about 2 mm to about 20 mm (preferably 5 mm to 10 mm), depending on the consistency and other physical properties of the fluid. If the inner diameter is too great, air tends to enter inside the container through thefluid flow passage 32 while discharging the fluid therethrough. Thegas flow passage 33 may have an inner diameter of about 1 mm to about 10 mm (preferably 2 mm to 5 mm). Regardless of the inner diameter of the gas outflow passage, the outer diameter of the joinedmember 31 can be enlarged so as to allow thepouch member 20 to be fixed thereto easily. The cross section of thefluid flow passage 32 and/or thegas flow passage 33 may be a circle but can be an oval or any other suitable shapes. Thegas flow passage 33 can be shaped into a slit. The inner diameter of the fluid flow passage may be greater than that of thegas flow passage 33, preferably two to six times greater than that of thegas flow passage 33. Thefluid flow passage 32 and thegas flow passage 33 may have a length (in an axial direction) of about 10 mm to about 50 mm (preferably 20 mm to 30 mm), depending on the consistency and other physical properties of the fluid. If the length is too great, air tends to enter inside the container through thefluid flow passage 32 while discharging the fluid therethrough. - Further, the
flow member 30 may have a diameter of about 8 mm to about 50 mm (preferably 15 mm to 30 mm) or any diameter adaptable to a neck portion of a container. Theflow member 30 may have a column shape but can be an oval shape or any other shape adaptable to a neck portion of a container. In an embodiment, theflow member 30 can be fitted in the neck portion similarly to a plug, without the joinedmember 60. The flow member can be made of ABS, polypropylene, or polyethylene, for example. - FIGS. 3(a)-3(c) are explanatory views showing the
valve member 40. FIGS. 3(a)-3(c) are a right side view, a top view and a left side view, respectively, showing thevalve member 40. - The
valve member 40 has avalve portion 41, the rotatingshaft 42 to be joined with the valve portion, and acontrol portion 43 to be joined with the rotatingshaft 42. - The
valve portion 41 has a shape fitting in thefluid flow passage 32 in theflow member 30. The rotatingshaft 42 has a function to rotate/move thevalve portion 41 in planar and vertical directions by being inserted/fitted in the bearingportion 34 in theflow member 30. By this, it becomes possible that thevalve member 40 rotates and travels between an open position enabling fluid flowing between the inside and the outside of the fluid-storing containermain body 10, and a closed position disabling fluid flowing between the inside and the outside of the fluid-storing containermain body 10. - FIGS. 4(a)-4(c) are explanatory views showing the
lid member 50. Of these, FIGS. 4(a)-4(c) are a top view, a sectional view and a back view, respectively, showing thelid member 50. - The
lid member 50 has a tubular shape with a bottom, and on its inner side face, afemale screw portion 51 to be screwed with the joinedmember 60 is formed. By this, with the lid member being screwed together with the joinedmember 60, it becomes possible to shut off thefluid flow passage 32 in theflow member 30 and thegas flow passage 33 in theflow member 30. In an embodiment, the lid member can be press-fitted on the joined member without the threads. The joined member can also be press-fitted at the neck portion of the container without the threads, depending on the shape of the neck portion. - FIG. 5 is an explanatory view showing a state in which a fluid stored inside the fluid-storing container
main body 10 is let flow out from the fluid-storing container. - When a fluid stored inside the fluid-storing container
main body 10 is let flow out from this fluid-storing container, by removing thelid member 50 from the joinedmember 60, and turning thecontrol portion 43 in thevalve member 40, thevalve member 40 is moved to an open position. By this, a fluid is enabled to flow between the inside and the outside of the fluid-storing containermain body 10, and at the same time, a gas is enabled to flow between the inside and the outside of thepouch member 20. Because of this, a fluid stored inside the fluid-storing containermain body 10 passes through thefluid flow passage 32 in theflow member 30 by its empty weight and flows down to the outside of the fluid-storing container. - With the fluid flowing down to the outside of the fluid-storing container, the inside of the fluid-storing container
main body 10 is depressurized. Because of this, outside air flows into thepouch member 20 after passing through thegas flow passage 33 in theflow member 30 by suction generated by depressurization of the inside of the fluid-storing containermain body 10. - With this construction, according to this fluid-storing container, it becomes possible to prevent occurrence of a pressure difference between the inside and the outside of the fluid-storing container
main body 10. Additionally, according to this fluid-storing container, it becomes possible to prevent a fluid stored inside the fluid-storing containermain body 10 from being exposed to outside air. - When an outflow of a fluid stored inside the fluid-storing container
main body 10 from the fluid-storing container is stopped, thevalve member 40 is made to move to a closed position by turning thecontrol portion 43 in thevalve member 40. Further, thelid member 50 is re-attached to the joinedmember 60. By this, the fluid is disabled to flow between the inside and the outside of the fluid-storing containermain body 10, and at the same time, a gas is disabled to flow between the inside and the outside of thepouch member 20. - In this fluid-storing container, because the
flow member 30 in which thefluid flow passage 32 and thegas flow passage 33 are formed is provided, it is not necessary to process the fluid-storing container main body to produce a fluid flow passage, a gas flow passage, etc. Consequently, when this flow member can be airtightly fitted in a shape of the openingportion 11 of the fluid-storing containermain body 10, it becomes possible to use the fluid-storing containermain body 10 for a general-purpose container. - Additionally, in this fluid-storing container, because the
fluid flow passage 32 for allowing only a fluid to pass through and thegas flow passage 33 for allowing only a gas to pass through are separately provided, it becomes possible to letting a fluid stored inside the fluid-storing container flow out smoothly. - FIG. 6 is an explanatory view showing a state in which a fluid is filled up into the fluid-storing container
main body 10 using a first method. - When a fluid is filled up into the fluid-storing container
main body 10 using this method, the fluid-storing container is turned upside down; and the fluid-storing containermain body 10, theflow member 30 and the joinedmember 60 are removed. In this state, a fluid is filled up into the fluid-storing containermain body 10 from the openingportion 11 which is opened. - FIG. 7 is an explanatory view showing a state in which a fluid is filled up into the fluid-storing container
main body 10 using another method. - When a fluid is filled up into the fluid-storing container
main body 10 using this method, in the same way as used in the first method, the fluid-storing container is turned upside down; and thelid member 50 is removed from the joinedmember 60; further, thevalve member 40 is moved to an open position. Afluid container 70 for filling up a fluid in the fluid-storing container has a shape that an outflow opening 71 for the fluid can be inserted into thefluid flow passage 32 in theflow member 30 comprising the fluid-storing container. With the outflow opening 71 in thisfluid container 70 being inserted in thefluid flow passage 32 in theflow member 30, the fluid is filled up into the fluid-storing containermain body 10. - In the fill-up using the second method, because the fluid is filled up with the outflow opening 71 of the
fluid container 70 being inserted into the fluid-storing containermain body 10, it becomes possible to prevent the fluid from being exposed to outside air when filled up. Additionally, it becomes possible to prevent the fluid from scattering outside the fluid-storing container. - An alternative embodiment of the present invention is explained below based on drawings attached. Additionally, for the portions identical to those of the first embodiment described above, detailed descriptions are omitted by marking them with the same symbols.
- The
pouch member 20 can be made of polyethylene, for example, and have a thickness of about 10 µm to about 200 µm (preferably 20 µm to 50 µm) so that the pouch member is flexible and collapsible when the container is filled with the fluid. The pouch member may be shaped corresponding to the inner shape of the container and/or have a capacity larger than that of the container so that when the pouch member is filled with air, the pouch member can expand toward the inner wall of the container without leaving a dead space. The pouch member may also be a conventional rectangular bag. The pouch member can be fixed to the joinedportion 31 using adhesive or string or by welding. - FIG. 8 is a sectional view showing a fluid-storing container according to a second embodiment of the present invention. In the first embodiment, the end of the flow member is substantially or nearly leveled with an inner surface of a shoulder portion of the container. In the second embodiment, a
tubular flow portion 86 protrudes toward inside the container. - The fluid-storing container according to the second embodiment differs from the fluid-storing container according to the first embodiment in that a
flow member 80 is provided in place of theflow member 30. - FIGS. 9(a)-9(c) are explanatory views showing the
flow member 80. - The
flow member 80 in the fluid-storing container according to the second embodiment is also tubular and can be fitted in an opening portion of a general-purpose bottle, etc. - In this
flow member 80, a joinedportion 81 to be joined with an openingportion 21 of apouch member 20, afluid flow passage 82 formed between the upper base and the lower base and communicatively connecting the inside and the outside of the fluid-storing containermain body 10, agas flow passage 83 formed between the upper base and the lower base and communicatively connecting the inside of thepouch member 20 and the outside of the fluid-storing containermain body 10, a bearingportion 84 of arotating shaft 42 in avalve member 40, and an engagingportion 85 to be engaged with the joinedmember 60 are formed. - In this
flow member 80, atubular flow portion 86 forming a fluid flow passage going from thefluid flow passage 82 toward the inside of the fluid-storing containermain body 10 is further provided. In thetubular flow portion 86, ahole portion 87 which a fluid can pass through is formed. - Because the fluid-storing container according to the second embodiment has the
tubular flow portion 86, it becomes possible to prevent the fluid flow passage from being closed by thepouch member 20, etc. Additionally, because thehole portion 87 is formed in thetubular flow portion 86, it becomes possible to allow a fluid to flow out even if an amount of a fluid stored inside the fluid-storing container main body becomes low. - FIG. 10 is an explanatory view showing a state in which a fluid stored inside the fluid-storing container
main body 10 is let flow out from the fluid-storing container. - When a fluid stored inside the fluid-storing container
main body 10 is let flow out from this fluid-storing container, by removing alid member 50 from the joinedmember 60, and turning acontrol portion 43 in thevalve member 40, thevalve member 40 is made to move to an open position. By this, a fluid is enabled to flow between the inside and the outside of the fluid-storing containermain body 10, and at the same time, a gas is enabled to flow between the inside and the outside of thepouch member 20. Because of this, a fluid stored inside the fluid-storing containermain body 10 flows out to thefluid flow passage 82 in theflow member 80 by its empty weight via thetubular flow portion 86; and then it flows down to the outside of the fluid-storing container after passing through thefluid flow passage 82. - With the fluid flowing out to the outside of the fluid-storing container, the inside of the fluid-storing container
main body 10 is depressurized. Because of this, outside air passes through theair flow passage 33 in theflow member 30 by suction generated by depressurization of the inside of the fluid-storing containermain body 10 and flows into thepouch member 20. - With this construction, according to this fluid-storing container, it becomes possible to prevent occurrence of a pressure difference between the inside and the outside of the fluid-storing container
main body 10. Additionally, according to this fluid-storing container, it becomes possible to prevent a fluid stored inside the fluid-storing containermain body 10 from being exposed to outside air. - When an outflow of a fluid stored inside the fluid-storing container
main body 10 from the fluid-storing container is stopped, thevalve member 40 is moved to a closed position by turning thecontrol portion 43 in thevalve member 40. Further, thelid member 50 is re-attached to the joinedmember 60. By this, the fluid is disabled to flow between the inside and the outside of the fluid-storing containermain body 10, and at the same time, a gas is disabled to flow between the inside and the outside of thepouch member 20. - The number of the
hole 87 is not limited, but may be two to ten. In FIG. 9(b), theend 88 of thefluid flow passage 82 is open, but can be closed as long as there are sufficient holes formed on the side wall. The hole can be shaped into a slit or any other shapes. - In another embodiment, instead of the
flow member 88, a simple protrusion, such as stick extending toward the inside of the container, can be provided at the end of the flow member so that the protrusion can prevent the pouch member from blocking the fluid flow passage. - FIG. 11 is a sectional view showing a fluid-storing container according to a third embodiment of the present invention.
- The fluid-storing container according to the third embodiment differs from the fluid-storing container according to the first embodiment in that the
valve member 40 in the first embodiment is not provided. - According to the fluid-storing container according to the third embodiment, because the
valve member 40 is not provided in a fluid flow passage 32' of a flow member 30', it becomes possible to prevent occurrence of a pressure difference between the inside and the outside of a fluid-storing containermain body 10 and to prevent a fluid stored inside the fluid-storing container from being exposed to outside air while its construction is simple. Accordingly, a joined member 60' is not configured to use thevalve member 40. - FIG. 12 an explanatory view showing a state in which the fluid stored inside the fluid-storing container
main body 10 is let flow out from the fluid-storing container according to the third embodiment of the present invention. - When a fluid stored inside the fluid-storing container
main body 10 is let flow out from this fluid-storing container, thelid member 50 is removed from the joined member 60'. - By this, a fluid is enabled to flow between the inside and the outside of the fluid-storing container
main body 10, and at the same time, a gas is enabled to flow between the inside and the outside of thepouch member 20. Because of this, a fluid stored inside the fluid-storing containermain body 10 passes through the fluid flow passage 32' in theflow member 30 by its empty weight and flows down to the outside of the fluid-storing container. - With the fluid flowing down to the outside of the fluid-storing container, the inside of the fluid-storing container
main body 10 is depressurized. Because of this, outside air flows into thepouch member 20 after passing through thegas flow passage 33 in the flow member 30' by suction generated by depressurization of the inside of the fluid-storing containermain body 10. - With this construction, according to this fluid-storing container, it becomes possible to prevent occurrence of a pressure difference between the inside and the outside of the fluid-storing container
main body 10. Additionally, according to this fluid-storing container, it becomes possible to prevent a fluid stored inside the fluid-storing containermain body 10 from being exposed to outside air. - When an outflow of the fluid stored inside the fluid-storing container
main body 10 from the fluid-storing container is stopped, thelid member 50 is re-attached to a joinedmember 60. By this, the fluid is disabled to flow between the inside and the outside of the fluid-storing containermain body 10, and at the same time, a gas is disabled to flow between the inside and the outside of thepouch member 20. - FIG. 13 is a sectional view showing a fluid-storing container according to a fourth embodiment of the present invention.
- The fluid-storing container according to the fourth embodiment differs from the fluid-storing container according to the third embodiment in that a fluid-storing container
main body 90 is provided in place of the fluid-storing containermain body 10 in the fluid-storing container according to the third embodiment. - The fluid-storing container
main body 90 in the fluid-storing container according to the fourth embodiment is composed of a material having flexibility. Similarly to the fluid-storing container according to the third embodiment, this fluid-storing containermain body 90 is composed of a flexible material and has apouch member 20 disposed inside the fluid-storing containermain body 90, the flow member 30' having a shape easily detachable from an openingportion 91 of the fluid-storing container main body, avalve member 40 and alid member 50 for shutting off fluid flowing between the inside and the outside of the fluid-storing container main body, and a joinedmember 60 fixing the fluid-storing containermain body 90 and the flow member 30'. In the fluid-storing container according to the fourth embodiment, the fluid-storing containermain body 90 and the flow member 30' are airtightly attached to each other in anopening 91 in the fluid-storing containermain body 90. - According to the fluid-storing container according to the fourth embodiment, because the fluid-storing container
main body 90 is composed of a material having flexibility, it becomes possible to let a fluid stored inside the fluid-storing container main body flow out to the outside by pressurizing the fluid by pressing the fluid-storing containermain body 90 from the outside even if viscosity of the fluid stored inside the fluid-storing containermain body 90 is high. - FIG. 14 and FIG. 15 are explanatory views showing a state in which a fluid stored inside the fluid-storing container
main body 90 is let flow out from the fluid-storing container according to the fourth embodiment of the present invention. - When a fluid stored inside the fluid-storing container
main body 90 is let flow out from this fluid-storing container, thelid member 50 is removed from the joinedmember 60. By this, a fluid is enabled to flow between the inside and the outside of the fluid-storing containermain body 90, and at the same time, a gas is enabled to flow between the inside and the outside of thepouch member 20. In this state, by pressing the fluid-storing containermain body 90 from the outside as shown in FIG. 14, the inside of the fluid-storing containermain body 90 itself is pressurized; and a fluid stored inside the fluid-storing containermain body 90 pressurized flows out to the outside of the fluid-storing container after passing through thefluid flow passage 32 in the flow member 30'. - With the fluid flowing out to the outside of the fluid-storing container, the inside of the fluid-storing container
main body 90 is depressurized. Because of this, outside air flows into thepouch member 20 after passing through thegas flow passage 33 in the flow member 30' by suction generated by depressurization of the inside of the fluid-storing containermain body 90 as shown in FIG. 15. - With this construction, according to this fluid-storing container, it becomes possible to prevent occurrence of a pressure difference between the inside and the outside of the fluid-storing container
main body 90. Additionally, according to this fluid-storing container, it becomes possible to prevent a fluid stored inside the fluid-storing containermain body 90 from being exposed to outside air. - The container
main body 90 may be made by blow molding using a thermoplastic resin such as polyethylene terephthalate and have a thickness of about 0.1 mm to about 1 mm (preferably 0.3 mm to 0.5 mm). - FIG. 16 is a sectional view showing a fluid-storing container according to a fifth embodiment of the present invention.
- The fluid-storing container according to the fifth embodiment differs from the fluid-storing container according to the fourth embodiment in that a
flow member 100 and avalve member 110 are provided in place of theflow member 30 in the fluid-storing container according to the fourth embodiment. - FIGS. 17(a)-17(c) are explanatory views showing the
flow member 100. FIGS. 17(a)-17(c) are a top view, a sectional view and a back view, respectively, showing theflow member 100. - In the
flow member 100 according to the fifth embodiment, a joinedportion 101 to be joined with an openingportion 21 of apouch member 20, afluid flow passage 102 formed between the upper base and the lower base and communicatively connecting the inside and the outside of the fluid-storing containermain body 90, agas flow passage 103 formed between the upper base and the lower base and communicatively connecting the inside of thepouch member 20 and the outside of the fluid-storing containermain body 90, avalve seat portion 104, and an engagingportion 105 to be engaged with the joinedportion 60" are formed. Thevalve seat portion 104 has a circular opening portion functioning as a valve seat for thevalve member 110 described later inside thefluid flow passage 102. On a side contacting thevalve member 110 in the valve seat portion, a pair of flexions is formed. - FIGS. 18(a)-18(b) are explanatory views showing the
valve member 110. FIGS. 18(a)-18(b) are a sectional view and a top view, respectively, showing thevalve member 110. - The
valve member 110 according to the fifth embodiment has anannular support portion 111 fixed inside afluid flow passage 102 in theflow member 100, avalve body 112 having a shape corresponding to the circular opening portion in thevalve seat portion 104, and fourcoupling portions 113 coupling thesupport portion 111 and thevalve body 112. The respective fourcoupling portions 113 have a pair offlexions 114. In thisvalve member 110, by the flexibility of the fourcoupling portions 113, thevalve body 112 is adapted to be movable between a closed portion in which it shuts off the opening in thevalve seat portion 104 and an open position in which it opens the opening. As described, because thesupport portion 111 and thevalve body 112 are coupled by three ormore coupling portions 113, it becomes possible to prevent occurrence of an inappropriate lean in thevalve body 112. Additionally, having theflexions 114, thecoupling portion 113 has appropriate elastic retaining force, thereby allowing thevalve body 112 to travel more satisfactorily between a closed position and an open position. - According to the fluid-storing container according to the fifth embodiment which uses the
valve member 110 and thevalve seat portion 104 having the above-mentioned construction as an outflow prevention member, flowing of a fluid is reliably disabled between the inside and the outside of the fluid-storing container main body, and it becomes possible to arbitrarily change a flow rate of the fluid passing through the fluid flow passage according to pressure applied to thevalve body 112 while its construction is simple. - FIG. 19 and FIG. 20 are explanatory views showing a state in which a fluid stored inside the fluid-storing container
main body 90 is let flow out from the fluid-storing container according to the fifth embodiment. - When a fluid stored inside the fluid-storing container
main body 90 is let flow out from this fluid-storing container, the inside of the fluid-storing containermain body 90 is pressurized by pressing the fluid-storing containermain body 90 from the outside as shown in FIG. 19. Thus, the fluid stored inside the fluid-storing containermain body 90 pressurized applies pressure to thevalve body 112 inside thefluid flow passage 102 in theflow member 100. By this, thevalve body 112 moves to an open position in which it opens an opening in thevalve seat portion 104 from a closed position in which it shuts off the opening, and a fluid flows out to the outside of the fluid-storing container after passing through the opening in thevalve seat portion 104. - With the fluid flowing out to the outside of the fluid-storing container, the capacity of the inside of the fluid-storing container
main body 90 becomes smaller. In this state, when pressing the fluid-storing containermain body 90 from the outside is stopped, the inside of the fluid-storing containermain body 90 is depressurized because the fluid-storing containermain body 90 having flexibility tries to restore to its original state. Because of this, outside air flows into thepouch member 20 after passing through thegas flow passage 33 in theflow member 30 by suction generated by depressurization of the inside of the fluid-storing containermain body 90 as shown in FIG. 20. - With this construction, according to this fluid-storing container, it becomes possible to prevent occurrence of a pressure difference between the inside and the outside of the fluid-storing container
main body 90. Additionally, according to this fluid-storing container, it becomes possible to prevent a fluid stored inside the fluid-storing containermain body 90 from being exposed to outside air. - In the aforesaid embodiments, all of the elements can be composed of a material using a resin such as polyethylene and polypropylene, synthetic rubber such as silicon rubber, or a mixture of the foregoing unless described otherwise.
- The present invention includes the above mentioned embodiments and other various embodiments including the following:
- 1) A fluid-storing container allowing a fluid stored inside the fluid-storing container main body to flow down from an opening portion formed at a lower-end portion of the fluid-storing container main body, which is characterized by possessing a pouch member composed of a flexible material and disposed inside the fluid-storing container main body, and a flow member having a shape easily detachable from the opening portion of the fluid-storing container main body, in which a joined portion to be joined with an opening portion of the pouch member, a fluid flow passage communicatively connecting the inside and the outside of the fluid-storing container main body, and a gas flow passage communicatively connecting the inside of the pouch member and the outside of the fluid-storing container main body are formed. According to the above embodiment, it becomes possible to prevent occurrence of a pressure difference between the inside and the outside of the fluid-storing container main body and to prevent a fluid stored inside the fluid-storing container from being exposed to outside air. Additionally, it becomes possible to use this as a fluid-storing container main body for a general-purpose container.
- 2) In the fluid-storing container described in 1), an outflow prevention member for shutting off fluid flowing between the inside and the outside of the fluid-storing container main body is provided.
- 3) In the fluid-storing container described in 2), the outflow prevention member is a lid member shutting off the fluid flow passage in the flow member and the gas flow passage in the flow member.
- 4) In the fluid-storing container described in 2), the outflow prevention member is a valve member provided in the fluid flow passage in the flow member and traveling between an open position enabling fluid flowing between the inside and the outside of the fluid-storing container main body and a closed position disabling fluid flowing between the inside and the outside of the fluid-storing container main body.
- According to the embodiments described in 2) to 4), it becomes possible to reliably prevent a fluid stored inside the fluid-storing container main body from being exposed to outside air.
- 5) In the fluid-storing container described in 4), the valve member comprises a valve portion fitting in the fluid flow passage in the flow member in a planar direction, and a rotating shaft to be joined with the valve portion and rotating and moving the valve portion in planar and vertical directions. According to the embodiment described in 5), it becomes possible to reliably prevent a fluid stored inside the fluid-storing container main body from being exposed to outside air while its construction is simple.
- 6) In the fluid-storing container described in any one of 1) to 5), the fluid-storing container main body is composed of a material having flexibility. According to the embodiment described in 6), because the fluid-storing container main body is composed of a material having flexibility, it becomes possible to let a fluid stored inside the fluid-storing container main body flow out to the outside by pressurizing the fluid by pressing the fluid-storing container main body from the outside even if viscosity of the fluid stored inside the fluid-storing container main body is high.
- 7) In the fluid-storing container described in any one of 1) to 6), a tubular flow portion forming a fluid flow passage going from the fluid flow passage toward the inner side of the fluid-storing container main body is attached to the flow member. According to the embodiment described in 7), it becomes possible to prevent the fluid flow passage from being closed by the pouch member, etc.
- 8) In the fluid-storing container described in 7), a hole portion which a fluid can go through is formed in the tubular flow portion. According to the embodiment described in 8), it becomes possible to allow a fluid to flow out even if an amount of the fluid stored inside the fluid-storing container main body becomes low.
- 9) A fluid discharge device for a fluid-storing container attached to an opening portion of the fluid-storing container allowing a fluid stored inside the fluid-storing container main body to flow down from an opening portion formed at a lower-end portion of the fluid-storing container main body which is characterized by comprising a pouch member composed of a flexible material, and a flow member having a tubular main body, a joined portion to be joined with an opening portion of the pouch member, a fluid flow passage formed between the upper base and the lower base of the main body, and a gas flow passage formed between the upper base and the lower base of the main body and communicatively connecting the inside and the outside of the pouch member via the joined portion. According to the embodiment described in 9), it becomes possible to apply it to a general-purpose container.
- 10) In the fluid-storing container described in 4), a valve seat portion having a circular opening functioning as a valve seat is formed inside the fluid flow passage; the valve member has an annular support portion fixed in the fluid flow passage, a valve body having a shape corresponding to the circular opening portion in the valve seat portion, and plural coupling portions coupling the support portion and the valve body; and by the flexibility of the plural coupling portions, the valve body is adapted to be movable between a closed portion in which it shuts off the opening in the valve seat portion and an open position in which it opens the opening. According to the embodiment described in 10), flowing of a fluid can be reliably shut off between the inside and the outside of the fluid-storing container main body while its construction is simple. Additionally, it becomes possible to change a flow rate of a fluid passing through the fluid flow passage arbitrarily in proportion to a pressure applied to the valve body.
- 11) In the fluid-storing container described in 10), the support portion and the valve body are coupled by three or more coupling portions. According to the embodiment described in 11), it becomes possible to prevent occurrence of an inappropriate lean in the valve body.
- 12) In the fluid-storing container described in 11), the coupling portion has a flexion. According to the embodiment described in 12), because the coupling portion has a flexion, it has appropriate elastic retaining force, thereby allowing the valve body to travel more satisfactorily between a closed position and an open position.
- The present application claims priority to Japanese Patent Application No. 2004-298840, filed October 13, 2004, and No. 2005-263179, filed September 12, 2005, the disclosure of which is incorporated herein by reference in its their entirety.
- It will be understood by those of skill in the art that numerous and various modifications can be made without departing from the spirit of the present invention. Therefore, it should be clearly understood that the forms of the present invention are illustrative only and are not intended to limit the scope of the present invention.
Claims (22)
- A fluid discharge device configured to be attached to a container, comprising:a pouch member having an opening portion and being composed of a flexible, collapsible material and configured to be disposed inside the container; anda communication member configured to be attached to a neck portion of the container when in use, said communication member comprising: (i) a joined portion which is joined with the opening portion of the pouch member, (ii) a fluid outflow passage through which the inside and the outside of the container are communicated when in use, and (iii) a gas inflow passage through which the inside of the pouch member and the outside of the container are communicated when in use.
- The fluid discharge device according to Claim 1, wherein the communication member is an integrally formed single piece.
- The fluid discharge device according to Claim 1, wherein the fluid outflow passage and the gas inflow passage are formed in parallel to each other.
- The fluid discharge device according to Claim 3, wherein the fluid outflow passage and the gas inflow passage are formed in an axial direction of the communication member.
- The fluid discharge device according to Claim 1, wherein the communication member has a column shape fitted inside the neck portion.
- The fluid discharge device according to Claim 5, further comprising a coupling member which encloses the communication member to couple the communication member to the neck portion wherein the neck portion is interposed between the communication member and the coupling member.
- The fluid discharge device according to Claim 1, further comprising a lid member detachably attached to an end portion of the communication member for closing the fluid outflow passage and the gas inflow passage.
- The fluid discharge device according to Claim 1, wherein the joined portion of the communication member has an annular protrusion around which the opening portion of the pouch member is attached.
- The fluid discharge device according to Claim 1, wherein the fluid outflow passage is provided with an outflow prevention member for shutting off fluid flowing between the inside and the outside of the container when in use.
- The fluid discharge device according to Claim 9, wherein the outflow prevention member is a valve member provided in the fluid outflow passage.
- The fluid discharge device according to Claim 10, wherein the valve member comprises a rotatable shaft crossing the fluid outflow passage in a direction perpendicular to an axis of the fluid outflow passage, said rotatable shaft being provided with a valve portion disposed in the fluid outflow passage, said valve portion being configured to close and open the fluid outflow passage depending on a rotated angle of the rotatable shaft.
- The fluid discharge device according to Claim 10, wherein the fluid outflow passage has an inwardly extended portion having a circular opening which serves as a valve seat, and the valve member comprises a valve body for closing the circular opening of the valve seat, said valve body being urged to close the circular opening and open the circular opening when pressure inside the container increases.
- The fluid discharge device according to Claim 12, wherein the valve member further comprises an annular support portion fixed in the fluid outflow passage and plural coupling portions which couple the support portion and the valve body.
- The fluid discharge device according to Claim 13, wherein each coupling portion has at least one flexion to urge the valve body toward the circular opening of the valve seat.
- The fluid discharge device according to Claim 1, wherein the communication member has a tubular extension which extends the fluid outflow passage toward the inside of the container.
- The fluid discharge device according to Claim 15, wherein the tubular extension has an open end and at least one hole on a wall of the tubular extension, through which the fluid flows into the fluid outflow passage.
- The fluid discharge device according to Claim 1, which is configured to substantially or nearly balance a volume of the fluid discharged from the fluid outflow passage and a volume of gas coming into the pouch member through the gas inflow passage when in use.
- A fluid container comprising:a container main body for storing a fluid inside, which has a neck portion; andthe fluid discharge device of Claim 1 attached to the neck portion.
- The fluid container according to Claim 18, wherein the fluid discharge device is detachably attached to the neck portion.
- The fluid container according to Claim 18, wherein the container main body is composed of a material having shape-restorable flexibility.
- The fluid container according to Claim 18, wherein the communication member has a length in an axial direction which is longer than that of the neck portion.
- The fluid container according to Claim 18, wherein the pouch member has a capacity which is equal to or greater than that of the container main body.
Applications Claiming Priority (2)
| Application Number | Priority Date | Filing Date | Title |
|---|---|---|---|
| JP2004298840 | 2004-10-13 | ||
| JP2005263179A JP2006137491A (en) | 2004-10-13 | 2005-09-12 | Fluid storage container and fluid outflow device |
Publications (1)
| Publication Number | Publication Date |
|---|---|
| EP1647499A1 true EP1647499A1 (en) | 2006-04-19 |
Family
ID=35610127
Family Applications (1)
| Application Number | Title | Priority Date | Filing Date |
|---|---|---|---|
| EP05447230A Withdrawn EP1647499A1 (en) | 2004-10-13 | 2005-10-12 | Fluid-storing container and fluid discharge device |
Country Status (3)
| Country | Link |
|---|---|
| US (1) | US20060076362A1 (en) |
| EP (1) | EP1647499A1 (en) |
| JP (1) | JP2006137491A (en) |
Cited By (7)
| Publication number | Priority date | Publication date | Assignee | Title |
|---|---|---|---|---|
| NL2002851C2 (en) * | 2009-05-07 | 2010-11-10 | Dispensing Technologies Bv | METHOD AND DEVICE FOR DOSED DELIVERY OF A LIQUID INCLUDED IN A HOLDER. |
| EP2447208A1 (en) | 2010-10-29 | 2012-05-02 | AB InBev NV | Dispensing appliance provided with a hinged hood |
| EP2447207A1 (en) | 2010-10-29 | 2012-05-02 | AB InBev NV | Dispensing appliance provided with means for positionning a container |
| EP2447205A1 (en) | 2010-10-29 | 2012-05-02 | AB InBev NV | Dispensing appliance provided with a removable dispensing cartridge |
| EP2452914A1 (en) | 2010-11-10 | 2012-05-16 | AB InBev NV | Liquid dispensing appliance provided with an anti-drip valve system |
| EP2531415A4 (en) * | 2010-02-02 | 2014-01-22 | Diversey Inc | Liquid dispensing container and method |
| EP3257783A1 (en) * | 2016-06-14 | 2017-12-20 | Diatron MI ZRT. | Reagent pack with integrated waste reservoir |
Families Citing this family (7)
| Publication number | Priority date | Publication date | Assignee | Title |
|---|---|---|---|---|
| US20110233236A1 (en) * | 2010-03-25 | 2011-09-29 | Brown Craig E | Continuous, complete, automatic, non-leaking, non-aerating, positive pressure one-piece vent and pouring combination utilizing one direct venting aperture |
| US10138034B2 (en) * | 2008-01-29 | 2018-11-27 | Craig E Brown | Singular cap compound vented nursing and related bottle |
| US20160046421A1 (en) * | 2010-03-25 | 2016-02-18 | Craig E. Brown | Sectionalized fluids container |
| KR200470695Y1 (en) * | 2013-08-14 | 2014-01-15 | 박국서 | pumping container for air blocking |
| US20190210775A1 (en) * | 2014-06-24 | 2019-07-11 | Craig E. Brown | Universal Single Piece Venting Insert For Container |
| US20190077555A1 (en) * | 2017-09-08 | 2019-03-14 | Katherine M. Paisley | Fixed volume fluid dispenser |
| KR101955208B1 (en) * | 2017-12-18 | 2019-03-07 | 엘앤피코스메틱 (주) | Ampoule for storing cosmetic liquid |
Citations (6)
| Publication number | Priority date | Publication date | Assignee | Title |
|---|---|---|---|---|
| US3072296A (en) * | 1958-12-31 | 1963-01-08 | Technicon Instr | Pumping apparatus |
| GB2168314A (en) * | 1984-12-14 | 1986-06-18 | Waddington & Duval Ltd | Container for pressurised liquid |
| FR2602222A1 (en) * | 1986-08-01 | 1988-02-05 | Couesmes Serge | Method for emptying a container containing a perishable liquid |
| US5033647A (en) * | 1990-03-09 | 1991-07-23 | Allergan, Inc. | Value controlled squeezable fluid dispenser |
| US5108007A (en) * | 1990-03-09 | 1992-04-28 | Allergan, Inc. | Valve controlled squeezable fluid dispenser |
| DE10229257C1 (en) * | 2002-06-28 | 2003-04-17 | Dittrich & Co | Bottle cap has base section with lower inlet cooperating with slit in rotating tap, lower inlet being covered by security strip which is torn off when bottle is first used |
Family Cites Families (4)
| Publication number | Priority date | Publication date | Assignee | Title |
|---|---|---|---|---|
| JPS5398040U (en) * | 1977-01-12 | 1978-08-09 | ||
| JP2549109Y2 (en) * | 1989-11-28 | 1997-09-30 | 誠一 北林 | Extrusion container |
| JP2552483Y2 (en) * | 1992-09-10 | 1997-10-29 | ザ、プロクター、エンド、ギャンブル、カンパニー | Stacked container |
| JP2003160184A (en) * | 2001-11-22 | 2003-06-03 | Union Sangyo Kk | Lid with air inlet |
-
2005
- 2005-09-12 JP JP2005263179A patent/JP2006137491A/en active Pending
- 2005-10-07 US US11/245,817 patent/US20060076362A1/en not_active Abandoned
- 2005-10-12 EP EP05447230A patent/EP1647499A1/en not_active Withdrawn
Patent Citations (6)
| Publication number | Priority date | Publication date | Assignee | Title |
|---|---|---|---|---|
| US3072296A (en) * | 1958-12-31 | 1963-01-08 | Technicon Instr | Pumping apparatus |
| GB2168314A (en) * | 1984-12-14 | 1986-06-18 | Waddington & Duval Ltd | Container for pressurised liquid |
| FR2602222A1 (en) * | 1986-08-01 | 1988-02-05 | Couesmes Serge | Method for emptying a container containing a perishable liquid |
| US5033647A (en) * | 1990-03-09 | 1991-07-23 | Allergan, Inc. | Value controlled squeezable fluid dispenser |
| US5108007A (en) * | 1990-03-09 | 1992-04-28 | Allergan, Inc. | Valve controlled squeezable fluid dispenser |
| DE10229257C1 (en) * | 2002-06-28 | 2003-04-17 | Dittrich & Co | Bottle cap has base section with lower inlet cooperating with slit in rotating tap, lower inlet being covered by security strip which is torn off when bottle is first used |
Cited By (20)
| Publication number | Priority date | Publication date | Assignee | Title |
|---|---|---|---|---|
| NL2002851C2 (en) * | 2009-05-07 | 2010-11-10 | Dispensing Technologies Bv | METHOD AND DEVICE FOR DOSED DELIVERY OF A LIQUID INCLUDED IN A HOLDER. |
| WO2010128151A1 (en) * | 2009-05-07 | 2010-11-11 | Dispensing Technologies B.V. | Method and apparatus for pressure equalized dispensing of a pressurized liquid in a container (flair beverage valves) |
| US8998042B2 (en) | 2010-02-02 | 2015-04-07 | Diversey, Inc. | Liquid dispensng container and method |
| EP2531415A4 (en) * | 2010-02-02 | 2014-01-22 | Diversey Inc | Liquid dispensing container and method |
| WO2012056019A1 (en) | 2010-10-29 | 2012-05-03 | Ab Inbev Nv | Dispensing appliance provided with a removable dispensing cartridge |
| US9670048B2 (en) | 2010-10-29 | 2017-06-06 | Anheuser-Busch Inbev S.A. | Dispensing appliance provided with a removable dispensing cartridge |
| WO2012056018A1 (en) | 2010-10-29 | 2012-05-03 | Ab Inbev Nv | Dispensing appliance provided with a hinged hood |
| WO2012056017A1 (en) | 2010-10-29 | 2012-05-03 | Ab Inbev Nv | Dispensing appliance provided with means for positionning a container |
| EP2447205A1 (en) | 2010-10-29 | 2012-05-02 | AB InBev NV | Dispensing appliance provided with a removable dispensing cartridge |
| US9540223B2 (en) | 2010-10-29 | 2017-01-10 | Anheuser-Busch Inbev S.A. | Dispensing appliance provided with means for positioning a container |
| EP2447207A1 (en) | 2010-10-29 | 2012-05-02 | AB InBev NV | Dispensing appliance provided with means for positionning a container |
| EP2447208A1 (en) | 2010-10-29 | 2012-05-02 | AB InBev NV | Dispensing appliance provided with a hinged hood |
| US9221666B2 (en) | 2010-10-29 | 2015-12-29 | Anheuser-Busch Inbev S.A. | Dispensing appliance provided with a hinged hood |
| WO2012062609A1 (en) | 2010-11-10 | 2012-05-18 | Ab-Inbev Nv | Liquid dispensing appliance provided with an anti-drip valve system |
| EP2452914A1 (en) | 2010-11-10 | 2012-05-16 | AB InBev NV | Liquid dispensing appliance provided with an anti-drip valve system |
| US10112821B2 (en) | 2010-11-10 | 2018-10-30 | Anheuser-Busch Inbev S.A. | Liquid dispensing appliance provided with an anti-drip valve system |
| EP3257783A1 (en) * | 2016-06-14 | 2017-12-20 | Diatron MI ZRT. | Reagent pack with integrated waste reservoir |
| WO2017216591A1 (en) * | 2016-06-14 | 2017-12-21 | Diatron Mi Zrt. | Reagent pack with integrated waste reservoir |
| RU2746696C2 (en) * | 2016-06-14 | 2021-04-19 | Диатрон Ми Зрт. | Container for reagent kit, integrated with waste tank |
| US11752502B2 (en) | 2016-06-14 | 2023-09-12 | Diatron Mi Zrt. | Reagent pack with integrated waste reservoir |
Also Published As
| Publication number | Publication date |
|---|---|
| US20060076362A1 (en) | 2006-04-13 |
| JP2006137491A (en) | 2006-06-01 |
Similar Documents
| Publication | Publication Date | Title |
|---|---|---|
| EP1647499A1 (en) | Fluid-storing container and fluid discharge device | |
| RU2296087C2 (en) | Closing device with pressure operated valve and sealed cover | |
| US7021495B2 (en) | Device for dispensing product having flexible-walled pouch and airless pump | |
| US7249694B2 (en) | Valve mechanism for tube-type fluid container | |
| EP1371579B1 (en) | Valve mechanism for tube-type fluid container | |
| US7823756B2 (en) | Alternative flexible gate restrictors | |
| US7059499B2 (en) | Fluid-dispensing pump and container provided therewith | |
| JP2005511440A (en) | Closure with internal flow control device for pressure on / off valve in telescopic nozzle | |
| NZ231331A (en) | Dispensing apparatus: slidable cap measures dose | |
| CN107028335A (en) | Container for drink and the method from container for drink pouring liquid | |
| RU2017106580A (en) | Beverage dispenser for multiple containers | |
| US20050184101A1 (en) | Fluid-storing and -dispensing container | |
| JP5449790B2 (en) | Liquid dispensing end piece and liquid containing and dispensing assembly comprising such an end piece | |
| US20050067441A1 (en) | Flexible gate restrictor membrane apparatus | |
| EP1630108B1 (en) | Double walled fluid-storing container | |
| US20070262092A1 (en) | Fluid dispensing container | |
| EP1621474A1 (en) | Fluid storing container | |
| JP2010534598A (en) | Container insert for zero headspace | |
| US5067638A (en) | Device for dispensing measures of a given volume of a liquid contained in a deformable container comprising a safety element | |
| EP0011394A1 (en) | Dispensing apparatus | |
| US6227418B1 (en) | Dosing and measuring device for flowing media | |
| WO2004064756A3 (en) | Controlled drop dispensing container | |
| US20220105527A1 (en) | Fluid dispensing system | |
| JP2008296948A (en) | Fluid discharge pump | |
| EP4200224B1 (en) | Inverted dispensing container |
Legal Events
| Date | Code | Title | Description |
|---|---|---|---|
| PUAI | Public reference made under article 153(3) epc to a published international application that has entered the european phase |
Free format text: ORIGINAL CODE: 0009012 |
|
| AK | Designated contracting states |
Kind code of ref document: A1 Designated state(s): AT BE BG CH CY CZ DE DK EE ES FI FR GB GR HU IE IS IT LI LT LU LV MC NL PL PT RO SE SI SK TR |
|
| AX | Request for extension of the european patent |
Extension state: AL BA HR MK YU |
|
| 17P | Request for examination filed |
Effective date: 20060828 |
|
| 17Q | First examination report despatched |
Effective date: 20061005 |
|
| AKX | Designation fees paid |
Designated state(s): AT BE BG CH CY CZ DE DK EE ES FI FR GB GR HU IE IS IT LI LT LU LV MC NL PL PT RO SE SI SK TR |
|
| STAA | Information on the status of an ep patent application or granted ep patent |
Free format text: STATUS: THE APPLICATION IS DEEMED TO BE WITHDRAWN |
|
| 18D | Application deemed to be withdrawn |
Effective date: 20090504 |