EP1626203A2 - Vehicle-use automatic transmission device - Google Patents

Vehicle-use automatic transmission device Download PDF

Info

Publication number
EP1626203A2
EP1626203A2 EP05008814A EP05008814A EP1626203A2 EP 1626203 A2 EP1626203 A2 EP 1626203A2 EP 05008814 A EP05008814 A EP 05008814A EP 05008814 A EP05008814 A EP 05008814A EP 1626203 A2 EP1626203 A2 EP 1626203A2
Authority
EP
European Patent Office
Prior art keywords
gears
group
gear
shaft
main shaft
Prior art date
Legal status (The legal status is an assumption and is not a legal conclusion. Google has not performed a legal analysis and makes no representation as to the accuracy of the status listed.)
Granted
Application number
EP05008814A
Other languages
German (de)
French (fr)
Other versions
EP1626203A3 (en
EP1626203B1 (en
Inventor
Yoshiaki Hori
Current Assignee (The listed assignees may be inaccurate. Google has not performed a legal analysis and makes no representation or warranty as to the accuracy of the list.)
Honda Motor Co Ltd
Original Assignee
Honda Motor Co Ltd
Priority date (The priority date is an assumption and is not a legal conclusion. Google has not performed a legal analysis and makes no representation as to the accuracy of the date listed.)
Filing date
Publication date
Application filed by Honda Motor Co Ltd filed Critical Honda Motor Co Ltd
Publication of EP1626203A2 publication Critical patent/EP1626203A2/en
Publication of EP1626203A3 publication Critical patent/EP1626203A3/en
Application granted granted Critical
Publication of EP1626203B1 publication Critical patent/EP1626203B1/en
Anticipated expiration legal-status Critical
Expired - Lifetime legal-status Critical Current

Links

Images

Classifications

    • FMECHANICAL ENGINEERING; LIGHTING; HEATING; WEAPONS; BLASTING
    • F16ENGINEERING ELEMENTS AND UNITS; GENERAL MEASURES FOR PRODUCING AND MAINTAINING EFFECTIVE FUNCTIONING OF MACHINES OR INSTALLATIONS; THERMAL INSULATION IN GENERAL
    • F16HGEARING
    • F16H3/00Toothed gearings for conveying rotary motion with variable gear ratio or for reversing rotary motion
    • F16H3/006Toothed gearings for conveying rotary motion with variable gear ratio or for reversing rotary motion power being selectively transmitted by parallel flow paths, e.g. dual clutch transmissions
    • FMECHANICAL ENGINEERING; LIGHTING; HEATING; WEAPONS; BLASTING
    • F16ENGINEERING ELEMENTS AND UNITS; GENERAL MEASURES FOR PRODUCING AND MAINTAINING EFFECTIVE FUNCTIONING OF MACHINES OR INSTALLATIONS; THERMAL INSULATION IN GENERAL
    • F16HGEARING
    • F16H2200/00Transmissions for multiple ratios
    • F16H2200/003Transmissions for multiple ratios characterised by the number of forward speeds
    • F16H2200/0039Transmissions for multiple ratios characterised by the number of forward speeds the gear ratios comprising three forward speeds
    • FMECHANICAL ENGINEERING; LIGHTING; HEATING; WEAPONS; BLASTING
    • F16ENGINEERING ELEMENTS AND UNITS; GENERAL MEASURES FOR PRODUCING AND MAINTAINING EFFECTIVE FUNCTIONING OF MACHINES OR INSTALLATIONS; THERMAL INSULATION IN GENERAL
    • F16HGEARING
    • F16H2200/00Transmissions for multiple ratios
    • F16H2200/003Transmissions for multiple ratios characterised by the number of forward speeds
    • F16H2200/0043Transmissions for multiple ratios characterised by the number of forward speeds the gear ratios comprising four forward speeds
    • FMECHANICAL ENGINEERING; LIGHTING; HEATING; WEAPONS; BLASTING
    • F16ENGINEERING ELEMENTS AND UNITS; GENERAL MEASURES FOR PRODUCING AND MAINTAINING EFFECTIVE FUNCTIONING OF MACHINES OR INSTALLATIONS; THERMAL INSULATION IN GENERAL
    • F16HGEARING
    • F16H3/00Toothed gearings for conveying rotary motion with variable gear ratio or for reversing rotary motion
    • F16H3/02Toothed gearings for conveying rotary motion with variable gear ratio or for reversing rotary motion without gears having orbital motion
    • F16H3/08Toothed gearings for conveying rotary motion with variable gear ratio or for reversing rotary motion without gears having orbital motion exclusively or essentially with continuously meshing gears, that can be disengaged from their shafts
    • F16H3/087Toothed gearings for conveying rotary motion with variable gear ratio or for reversing rotary motion without gears having orbital motion exclusively or essentially with continuously meshing gears, that can be disengaged from their shafts characterised by the disposition of the gears
    • F16H3/089Toothed gearings for conveying rotary motion with variable gear ratio or for reversing rotary motion without gears having orbital motion exclusively or essentially with continuously meshing gears, that can be disengaged from their shafts characterised by the disposition of the gears all of the meshing gears being supported by a pair of parallel shafts, one being the input shaft and the other the output shaft, there being no countershaft involved
    • YGENERAL TAGGING OF NEW TECHNOLOGICAL DEVELOPMENTS; GENERAL TAGGING OF CROSS-SECTIONAL TECHNOLOGIES SPANNING OVER SEVERAL SECTIONS OF THE IPC; TECHNICAL SUBJECTS COVERED BY FORMER USPC CROSS-REFERENCE ART COLLECTIONS [XRACs] AND DIGESTS
    • Y10TECHNICAL SUBJECTS COVERED BY FORMER USPC
    • Y10TTECHNICAL SUBJECTS COVERED BY FORMER US CLASSIFICATION
    • Y10T74/00Machine element or mechanism
    • Y10T74/19Gearing
    • YGENERAL TAGGING OF NEW TECHNOLOGICAL DEVELOPMENTS; GENERAL TAGGING OF CROSS-SECTIONAL TECHNOLOGIES SPANNING OVER SEVERAL SECTIONS OF THE IPC; TECHNICAL SUBJECTS COVERED BY FORMER USPC CROSS-REFERENCE ART COLLECTIONS [XRACs] AND DIGESTS
    • Y10TECHNICAL SUBJECTS COVERED BY FORMER USPC
    • Y10TTECHNICAL SUBJECTS COVERED BY FORMER US CLASSIFICATION
    • Y10T74/00Machine element or mechanism
    • Y10T74/19Gearing
    • Y10T74/19219Interchangeably locked
    • Y10T74/19223Disconnectable counter shaft
    • YGENERAL TAGGING OF NEW TECHNOLOGICAL DEVELOPMENTS; GENERAL TAGGING OF CROSS-SECTIONAL TECHNOLOGIES SPANNING OVER SEVERAL SECTIONS OF THE IPC; TECHNICAL SUBJECTS COVERED BY FORMER USPC CROSS-REFERENCE ART COLLECTIONS [XRACs] AND DIGESTS
    • Y10TECHNICAL SUBJECTS COVERED BY FORMER USPC
    • Y10TTECHNICAL SUBJECTS COVERED BY FORMER US CLASSIFICATION
    • Y10T74/00Machine element or mechanism
    • Y10T74/19Gearing
    • Y10T74/19219Interchangeably locked
    • Y10T74/19233Plurality of counter shafts

Definitions

  • the present invention relates to an automatic transmission device of a vehicle-use power unit.
  • Fig. 13 is a constitutional developed view of a conventional power unit 01 which is mounted on a buggy car or the like including respective rotary shafts thereof (for example, see JP-A-2004-36835).
  • a left side (indicated by an arrow F) is a front side of a vehicle.
  • the power unit 01 is formed of an integral body constituted of an internal combustion engine 02 and a transmission 03 and includes a crankshaft 04 which extends in the fore-and-aft direction of a vehicle body, a main shaft 05 of the transmission, a counter shaft 06 of the transmission 03, an output shaft 07 and a backward driving changeover intermediate shaft 08.
  • the internal combustion engine 02 is a single-cylinder internal combustion engine, wherein a piston 010 is connected to the crankshaft 04 by way of a connecting rod 09 and the piston 010 performs the reciprocating movement in a cylinder 011 to generate a power.
  • a torque converter 012 is mounted on a front end portion of the crankshaft 04.
  • the torque converter 012 is constituted of a pump impeller 013 which is fixed to the crankshaft 04, a turbine runner 014 which is freely rotatable while facing the pump impeller 013 in an opposed manner and a stator 015 which is held by a crankcase member 017 by way of a one way clutch 016.
  • a primary driving gear 018 which is rotatable with respect to the crankshaft 04 is integrally joined.
  • a power generated by the internal combustion engine 02 is transmitted to the pump impeller 013 from the crankshaft 04, is transmitted to the turbine runner 014 by way of a working oil and hence, the primary driving gear 018 is driven.
  • a primary follower gear 019 which is constantly meshed with the primary driving gear 018 is fixed.
  • the rotation of the crankshaft 04 is transmitted to the main shaft 05 of the transmission by way of a primary speed reduction which is constituted of the primary driving gear 018 and the primary follower gear 019.
  • a first hydraulic multi-plate clutch 020 is arranged close to the above-mentioned primary follower gear 019 fixed to the front end portion of the main shaft 05.
  • a clutch outer 021 of the above-mentioned multi-plate clutch 020 is fixed to the main shaft, while a clutch inner 022 is joined to a first-speed driving gear M01 which is freely rotatable with respect to the main shaft 05.
  • a second-speed driving gear M02 and a third-speed driving gear M03 are fixed.
  • a first-speed follower gear C01 which is constantly meshed with the above-mentioned first-speed driving gear M01 is fixed.
  • a second-speed hydraulic multi-plate clutch 023 and a third-speed hydraulic multi-plate clutch 026 are mounted. Both of clutch outers 024, 027 of the above-mentioned clutches are fixed to the counter shaft 06.
  • a clutch inner 025 of the above-mentioned second-speed multi-plate clutch 023 is joined to a second-speed follower gear C02 which is freely rotatable with respect to the counter shaft 06, while a clutch inner 028 of the above-mentioned third-speed multi-plate clutch 026 is joined to a third-speed follower gear C03 which is freely rotatable with respect to the counter shaft 06.
  • a forward output gear 029 and a backward output gear 030 are mounted in a state that these gears are rotatable with respect to the counter shaft 06.
  • a dog clutch 031 which is fitted on the counter shaft 06 in spline fitting and is movable in the fore-and-aft direction is provided.
  • a backward driving changeover intermediate shaft 08 which is arranged close to and in parallel to the counter shaft 06 and rotatably, a first intermediate gear 032 which is constantly meshed with the above-mentioned backward output gear 030 and a second intermediate gear 033 which is constantly meshed with an output follower gear 034 described later are fixed, and both of these intermediate gears 032, 033 are interlocked with each other by way of the backward driving changeover intermediate shaft 08.
  • an output shaft follower gear 034 which is constantly meshed with the above-mentioned forward output shaft 029 and the second intermediate gear 033 is fixed.
  • An output of the power unit 01 is transmitted to a front wheel from a front end of the output shaft 07 and is transmitted to the rear wheel from the rear end of the output shaft 07.
  • a forward and backward changeover device 035 is provided in the vicinity of the counter shaft 06.
  • the forward and backward changeover device 035 is constituted of a shift drum 036 which is rotatably supported in parallel to the counter shaft 06, one shifter 037 which is driven in the fore-and-aft direction along one cam groove which is formed in an outer periphery of the shift drum 036, and a manual rotating device which serves to rotatably drive the shift drum 036.
  • the above-mentionedmanual rotating device is constituted of a shift spindle 038, a change lever 039 which is formed on an end portion of the shift spindle 038, a sector gear 040 which is mounted on the shift spindle, and a gear 041 which is integrally formed on a shaft 036a of the shift drum 036 and is meshed with the above-mentioned sector gear 040.
  • the shifter 037 is engaged with the dog clutch 031 and moves the dog clutch 031 in the fore-and-aft direction so as to perform the changeover of the forward driving and the backward driving.
  • an alternating current generator 042 which generates an electric power by the rotation of the crankshaft 04 is mounted on the rear end of the crankshaft 04.
  • the selection of the forward driving and the backward driving is decided based on whether, using the forward and backward changeover device 035, the shifter 037 is moved to the forward output gear 029 side so as to allow the dog clutch 031 to be engaged with the above-mentioned gear 029 or the shifter 037 is moved to the backward output gear 030 side so as to allow the dog clutch 031 to be engaged with the above-mentioned gear 030.
  • the selection of the transmission ratio in the forward driving state is determined based on which one of three multi-plate clutches 020, 023, 026 is selectively connected and which one of the gears M01, C02, C03 is selectively joined to the shaft.
  • Fig. 14 is an automatic transmission manipulation table which arranges the selective manipulations of the clutches and the shifter in the above-mentioned conventional power unit.
  • the conventional transmission adopts the three-stage automatic transmission, there has been a demand for a multi-stage automatic transmission having a larger number of stages. Further, it has also been a task to reduce the number of parts of a multi-plate clutch having a large weight.
  • the present invention has overcome the above-mentioned tasks and the invention described in claim 1 relates to a vehicle-use automatic transmission device including a main shaft and a counter shaft, wherein the transmission device includes: a first group of driving gears which are fixed to an tubular auxiliary main shaft which is concentrically and rotatably mounted on the main shaft; a first group of follower gears which are rotatably mounted on the counter shaft and are constantly meshed with the first group of driving gears so as to be selectively joined to the counter shaft; a first clutch which performs the power connection and power disconnection between the main shaft and the tubular auxiliary main shaft; a second group of driving gears which are rotatably mounted on the main shaft and are selectively jointed to the main shaft; a second group of follower gears which are fixed to an tubular auxiliary counter shaft which is concentrically and rotatably mounted on the counter shaft and are constantly meshed with the second group of driving gears; and a second clutch which performs the power connection and disconnection between the counter shaft and
  • the invention described in claim 2 is, in the vehicle-use automatic transmission device described in claim 1, characterized in that either one of a first group of gears which are constituted of the first group of driving gears and the first group of follower gears and a second group of gears which are constituted of the second group of driving gears and the second group of follower gears is constituted of a group of odd-numbered-stage gears and another group of gears is constituted of a group of even-numbered-stage gears.
  • the invention described in claim 3 is, in the vehicle-use automatic transmission device described in claim 1 or claim 2, characterized in that the transmission device further includes a backward driving gear which is fixed to the tubular auxiliary main shaft and a backward follower gear which is rotatably mounted on the counter shaft and is constantly meshed with the backward driving gear by way of an intermediate gear so as to be selectively jointed to the counter shaft.
  • the invention described in claim 4 is, in the vehicle-use automatic transmission device described in claim 1 or claim 2, characterized in that the transmission device further includes a backward driving gear which is rotatably mounted on the main shaft and is selectively joined to the main shaft and a backward follower gear which is fixed to the tubular auxiliary counter shaft and is constantly meshed with the backward driving gear by way of an intermediate gear.
  • the invention described in claim 5 is, in the vehicle-use automatic transmission device described in claim 1 to claim 4, characterized in that a means which selectively joins the gear to the shaft is configured to include a shifter which is driven by an electrically-operated motor and a means which is driven by the shifter, is slidable in the axial direction and is engaged with or is disengaged from the gear which is rotatable with respect to the shaft.
  • the number of clutches having a large weight is decreased to two and hence, it is possible to provide a light-weightedmulti-stage automatic transmission.
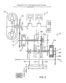
  • Fig. 1 is a constitutional developed view including respective rotary shafts of a power unit 1A according to the first embodiment of the present invention which is mounted on a buggy vehicle or the like.
  • a left side (indicated by an arrow F) is a front side of a vehicle.
  • the power unit 1A is formed of an integral body constituted of an internal combustion engine 2 and a transmission 3 and includes a crankshaft 4 which is arranged to extend in the fore-and-aft direction of a vehicle body, a main shaft 5 of the transmission, a counter shaft 6 of the transmission, an output shaft 7 and a backward driving changeover intermediate shaft 8.
  • the internal combustion engine 2 is a two-cylinder internal combustion engine, wherein pistons 10a, 10b are connected to the crankshaft 4 by way of connecting rods 9a, 9b and the pistons 10a, 10b perform the reciprocating movement in cylinders 11a, 11b respectively to generate a power.
  • An AC power generator 38 which generates a power by the rotation of the crankshaft 4 is mounted on a rear end of the crankshaft 4, while a torque converter 12 is mounted on a front end portion of the crankshaft 4.
  • the torque converter 12 is constituted of a pump impeller 13 which is fixedto the crankshaft 4, a turbine runner 14 which is freely rotatable while facing the pump impeller 13 in an opposed manner and a stator 15 which is held by a crankcase portion 17 by way of a one way clutch 16.
  • a primary driving gear 18 which is rotatable with respect to the crankshaft 4 is connected to the turbine runner 14 which is rotatable with respect to the crankshaft 4.
  • a power generated by the internal combustion engine 2 is transmitted to the pump impeller 13 from the crankshaft 4, is transmitted to the turbine runner 14 by way of a working oil and hence, the primary driving gear 18 is driven.
  • a primary follower gear 19 which is constantly meshed with the primary driving gear 18 is fixed.
  • the rotation of the crankshaft 4 is transmitted to the main shaft 5 of the transmission 3 by way of a primary reduction which is constituted of the primary driving gear 18 and the primary follower gear 19.
  • a first hydraulic multi-plate clutch 20 is arranged close to the above-mentioned primary follower gear 19 fixed to the front end portion of the main shaft 5.
  • a clutch outer 21 of the above-mentioned multi-plate clutch 20 is fixed to the main shaft 5, while to a clutch inner 22 of the above-mentioned multi-plate clutch 20, a tubular auxiliary main shaft 23 which covers the outside of a front half portion of the main shaft 5 and is rotatable with respect to the main shaft 5 is joined and the tubular auxiliary main shaft 23 is rotated together with the clutch inner 22.
  • a first-speed driving gear M1 a third-speed driving gear M3 and a backward driving gear R1 are fixed in order from the front side.
  • a second-speed driving gear M2 and a fourth-speed driving gear M4 are rotatably supported with respect to the main shaft 5.
  • a dog clutch Md which is fitted on the main shaft 5 by spline fitting and is movable in the fore-and-aft direction is provided.
  • a backward first intermediate gear R2 which is constantly meshed with the above-mentioned backward driving gear R1 and a backward second intermediate gear R3 which is interlocked with the backward first intermediate gear R2 by way or the backward changeover intermediate shaft 8 are mounted.
  • a first-speed follower gear C1 which is constantly meshed with the above-mentioned first-speed driving gear M1 and a third-speed follower gear C3 which is constantly meshed with the above-mentioned third-speed driving gear M3 are rotatably supported.
  • a dog clutch Cd which is fitted on the counter shaft 6 in spline fitting and is movable in the fore-and-aft direction is provided.
  • a backward follower gear R4 which is constantly meshed with the above-mentioned backward second intermediate gear R3 is rotatably supported on the counter shaft 6.
  • a dog clutch Rd which is fitted on the counter shaft 6 in spline fitting and is movable in the fore-and-aft direction is provided.
  • a second hydraulic multi-plate clutch 24 is mounted on a rear end portion of the counter shaft 6.
  • a clutch outer 25 of the above-mentioned multi-plate clutch 24 is fixed to the counter shaft 6.
  • a tubular auxiliary counter shaft 27 which covers the outside of a rear half portion of the counter shaft 6 and is rotatable with respect to the counter shaft 6 is joined. The tubular auxiliary counter shaft 27 is rotated together with the clutch inner 26.
  • a second-speed follower gear C2 which is constantly meshed with the above-mentioned second-speed driving gear M2 and a fourth-speed follower gear C4 which is constantly meshed with the above-mentioned fourth-speed driving gearM4 are fixed in order from the front side.
  • Acounter shaft output gear 28 is fixed to a rearmost portion of the counter shaft 6.
  • an output shaft follower gear 29 which is constantly meshed with the above-mentioned counter shaft output gear 28 is fixed.
  • An output of the power unit 1A is transmitted to the front wheel from a front end of the output shaft 7 and is transmitted to the rear wheel from a rear end of the output shaft 7.
  • a gear changeover device 30 is provided in the vicinity of the main shaft 5 and the counter shaft 6.
  • the gear changeover device 30 is constituted of a shift drum 31 which is rotatably supported in parallel to the main shaft 5 and the counter shaft 6, three shifters consisting of a first shifter 32, a second shifter 33, a third shifter 34 which are driven in the fore-and-aft direction along three cam grooves formed in an outer periphery of the shift drum 31, and a drive device for rotatably driving the shift drum 31 such as an electrically-operated motor 35.
  • a gear 36 is mounted on a shaft 31a of the shift drum and is meshed with an output pinion 35a of the above-mentioned electrically-operated motor 35 by way of a group of speed reduction gears 37. Due to the actuation of the above-mentioned electrically-operated motor 35, the shift drum 31 is rotated to a suitable position and three shifters 32, 33, 34 are selectively moved.
  • the above-mentioned first shifter 32 is meshed with the dog clutch Cd
  • the second shifter 33 is meshed with the dog clutch Md
  • the third shifter 34 is meshed with the dog clutch Rd respectively so as to move these dog clutches in the for-and-aft direction.
  • the electrically-operated motor 35 is manipulated by a switch mounted on a handle.
  • the dog clutch Cd can assume a first-speed-side position where the dog clutch Cd is engaged with the first-speed follower gear C1, a third-speed-side position where the dog clutch Cd is engaged with the third-speed follower gear C3 and a neutral position in the midst of the above-mentioned both positions.
  • the dog clutch Md can assume a second-speed-side position where the dog clutch Md is engaged with the second-speed driver gear M2, a fourth-speed-side position where the dog clutch Md is engaged with the fourth-speed driving gear M4 and a neutral position in the midst of the above-mentioned both positions.
  • the dog clutch Rd can assume a backward-side position where the dog clutch Rd is engaged with the backward follower gear R4 and a neutral position which is remote from the backward follower gear R4.
  • the selective joining of the respective gears consisting of the frontward first-speed to fourth-speed gears and the backward gear with respect to the shaft is performed by moving the above-mentioned dog clutches in the fore-and-aft direction by way of three shifters thus allowing the dog clutches to be engaged with the gears mounted rotatably with respect to the shaft thus selectively joining the gears to the shaft.
  • the positions of the shifters are determined by cam grooves which are preliminarily programmed and are formed in the shift drum.
  • the rotation of the shift drum is performed based on a control of the above-mentioned electrically-operated motor 35.
  • the front side is set as the first-speed-side position
  • the rear side is set as the third-speed-side position and the intermediate between both sides is set as the neutral position.
  • the front side is set as the second-speed-side position
  • the rear side is set as the fourth-speed-side position and the intermediate between both sides is set as the neutral position.
  • the front side is set as the backward-side position and the rear side is set as the neutral position.
  • Fig. 2 to Fig. 8 are explanatory views of the manipulation of the above-mentioned transmission.
  • the power generated by the internal combustion engine 2 is transmitted to the primary driving gear 18 bywayof the crankshaft 4 and the torque converter 12.
  • the power transmission path up to this primary driving gear 18 is equal irrelevant to the transmission mode.
  • the above-mentioned manipulation explanatory views indicate the power transmission paths from the primary driving gear 18 to the output shaft follower gear 29 corresponding to the transmission stages in a bold line.
  • Fig. 2 is a view which shows the first-speed starting operation.
  • the first shifter 32 is shifted to the first-speed side so as to allow the dog clutch Cd to be meshed with the first-speed follower gear C1
  • the second shifter 33 is shifted to the second-speed side so as to allow the dog clutch Md to be meshed with the second-speed driving gearM2
  • the third shifter 34 is held at the neutral position.
  • the third shifter 34 is always held in the neutral position during the forward driving.
  • the power from the primary driving gear 18 is transmitted to the output shaft 7 by way of the primary follower gear 19, the main shaft 5, the first multi-plate clutch 20, the tubular auxiliary main shaft 23, the first-speed driving gear M1, the first-speed follower gear C1, the counter shaft 6, the counter shaft output gear 28 and the output shaft follower gear 29 and, thereafter, the power is outputted to the wheel.
  • the second-speed driving gear M2 is fixed to the shaft by way of the dog clutch Md, the second multi-plate clutch 24 is not connected and hence, the power is not transmitted to the counter shaft 6.
  • Fig. 3 is a view which shows the changeover manipulation from the first speed to the second speed.
  • the positions of the shifters are not moved and are held at positions taken in the first speed shown in Fig.2.
  • the power from the primary driving gear 18 is transmitted to the output shaft 7 by way of the primary follower gear 19, the main shaft 5, the dog clutch Md, the second-speed driving gear M2, the second follower gear C2, the tubular auxiliary counter shaft 27, the second multi-plate clutch 24, the counter shaft 6, the counter shaft output gear 28, and the output shaft follower gear 29.
  • Fig. 4 is a view showing the manipulation during the second-speed cruising.
  • the hydraulic pressure destination clutch is held at the second multi-plate clutch 24 and is not changed.
  • the power transmission path is equal to the power transmission path of the second speed shown in Fig. 3.
  • the first shifter 32 is moved, the dog clutch Cd which is disposed outside the second-speedpower transmission path is moved to the third-speed side from the first-speed side so as to allow the dog clutch Cd to be meshed with the third-speed follower gear C3.
  • Fig. 5 is a view showing the changeover manipulation to the third speed from the second speed.
  • the shifter positions are held at the positions at the time of completion of the second-speed cruising shown in Fig.4 and are not moved.
  • the transmission to the third speed is performed.
  • the power from the primary driving gear 18 is transmitted to the output shaft 7 by way of the primary follower gear 19, the main shaft 5, the first multi-plate clutch 20, the tubular auxiliary main shaft 23, the third-speed driving gear M3, the third-speed follower gear C3, the dog clutch Cd, the counter shaft 6, the counter shaft output gear 28, and the output shaft follower gear 29.
  • Fig. 6 is a view showing the manipulation during the third-speed cruising.
  • the hydraulic pressure destination clutch is held at the first multi-plate clutch 20 and is not changed.
  • the power transmission path is equal to the third-speed power transmission path shown in Fig. 5.
  • the dog clutch Md which is disposed outside the third-speed power transmission path is moved to the fourth-speed side from the second-speed side so as to allow the dog clutch Md to be meshed with the fourth-speed driving gear M4.
  • Fig. 7 is a view showing the changeover manipulation to the fourth speed from the third speed.
  • the shifter positions are held at the positions at the time of completion of the third-speed cruising as shown in Fig.6 and are not moved.
  • the transmission to the fourth speed is performed.
  • the power from the primary driving gear 18 is transmitted to the output shaft 7 by way of the primary follower gear 19, the main shaft 5, the dog clutch Md, the fourth-speed driving gear M4, the fourth follower gear C4, the second multi-plate clutch 24, the counter shaft 6, the counter shaft output gear 28, and the output shaft follower gear 29.
  • Fig. 8 is a view showing the backward manipulation.
  • the first shifter 32 and the second shifter 33 are held at the neutral positions, while the third shifter 34 is moved to the backward side to allow the dog clutch Rd to be meshed with the backward follower gear R4.
  • the vehicle moves backward.
  • the power from the primary driving gear 18 is transmitted to the output shaft 7 by way of the primary follower gear 19, the main shaft 5, the first multi-plate clutch 20, the tubular auxiliary main shaft 23, the backward driving gear R1, the first intermediate gear R2, the second intermediate gear R3, the backward follower gear R4, the dog clutch Rd, the counter shaft 6, the counter shaft output gear 28 and the output shaft follower gear 29. Since the first intermediate gear R2 and the second intermediate gear R3 are interposed, the counter shaft 6, the output shaft 7 and the like are rotated in the reverse direction so that the wheel is driven backwardly.
  • the groups of gears except for the backward driving gears are given collective names.
  • the group of gears which are fixed to the tubular auxiliary main shaft which is subjected to the power connection and disconnection with respect to the main shaft by the first clutch is named as the first group of driving gears
  • the group of gears which are mounted on the counter shaft are constantly meshed with the above-mentioned first group of driving gears and are selectively joined to the counter shaft are named as the first group of follower gears. Both of these groups of gears are generally named as the first group of gears.
  • the group of gears which are mounted on the main shaft and are selectively joined to the main shaft are named as the second group of driving gears
  • the group of gears which are fixed to the tubular auxiliary counter shaft which is subj ected to the connection and the disconnection with respect to the counter shaft by the second clutch and are constantly meshed with the above-mentioned second group of driving gears are named as the second group of follower gears and both of these groups of gears are generally named as the second group of gears.
  • Fig. 9 is an automatic transmission manipulation table which arranges the selective manipulations of the clutches and the shifters in the power unit 1A of the above-mentioned first embodiment.
  • the odd-numbered-stage gears and the even-numbered-stage gears are arranged in a divided manner as the first group of gears and the second group of gears and hence, it is possible to prevent the clutches and the selective joining means from being manipulated simultaneously at the time of transmission whereby it is possible to realize the smooth transmission.
  • Fig. 10 is an explanatory view of a power unit 1B according to the second embodiment of the present invention wherein the transmission of the power unit 1A of the first embodiment and the transmission of the power unit 2B of the second embodiment are depicted in parallel.
  • the crankshaft, the torque converter, the output shaft and the like are omitted.
  • the second embodiment is configured such that the position of odd-numbered stage gears and the position of the even-numbered stage gears are exchanged thus constituting the first group of gears using the even-numbered stage gears (second speed, fourth speed) and the second group of gears using the odd-numbered stage gears (first speed, third speed).
  • the second-speed driving gears and the fourth-speed driving gears constitute the first group of driving gears
  • the second-speed follower gears and the fourth-speed follower gears constitute the first group of follower gears
  • the first-speed driving gear and the third-speed driving gear constitute the second group of driving gears
  • the first-speed follower gear and the thirds-speed follower gear constitute the second group of follower gears.
  • the even-numbered stage gears and the odd-numbered stage gears are arranged in a divided manner into the first group of gears and the second group of gears and hence, it is possible to prevent the clutches and the selective joining means from being manipulated simultaneously at the time of transmission whereby it is possible to realize the smooth transmission.
  • the backward gears are arranged substantially in accordance with the arrangement of the backward gears in the first embodiment.
  • Fig. 11 is a constitutional developed view of a power unit 1C according to the third embodiment of the present invention.
  • the power unit 1C of this embodiment is, compared to the power unit 1A of the first embodiment, characterized in that a fifth-speed driving gear M5 is additionally fixed onto the tubular auxiliary main shaft 23 close to the backward driving gear R1, a fifth-speed follower gear is rotatablymounted on the counter shaft 6, and a dog clutch Rx which is engaged with the backward follower gear and the fifth-speed follower gear is provided in place of the backward dedicated dog clutch Rd.
  • members which do not differ in functions from the corresponding members of the first embodiment are given same symbols as the symbols used in the first embodiment. According to this embodiment, it is possible to realize the fifth-speed automatic transmission.
  • the present invention is not limited to the fifth-stage transmission of this embodiment and the transmission in a multi-stage can be realized in general.
  • Fig. 12 is a constitutional developed view of a power unit 1D according to the fourth embodiment of the present invention.
  • the power unit 1D of this embodiment is characterized in that the positions of the group of backward gears shown in the first embodiment are changed and gears S1 to S4 and a dog clutch Sd are provided in place of the gears R1 to R4 and the dog clutch Rd.
  • Member which have identical functions as the member in the first embodiment are given the same symbols used in the first embodiment.
  • a backward driving gear S1 which is rotatable with respect to the main shaft 5 and a dog clutch Sd which is fitted on the main shaft 5 in spline fitting and is movable in the fore-and-aft direction are provided.
  • a backward changeover intermediate shaft 8 which is rotatably supported in parallel to the above-mentioned main shaft 5
  • a backward first intermediate gear S2 which is constantly meshed with the above-mentioned backward driving gear S1 and a backward second intermediate gear S3 which is interlocked with the backward first intermediate gear S2 by way of the backward changeover intermediate shaft 8 are provided.
  • a backward follower gear S4 which is constantly meshed with the above-mentioned backward second intermediate gear S3 is fixed.
  • the first shifter 32 and the second shifter 33 are held at the neutral position, the third shifter 34 is moved in the backward side so as to allow the dog clutch Sd to be meshed with the backward driving gear S1.
  • the second multi-plate clutch 24 is connected in this state, the vehicle moves backwardly.
  • the transmission includes: a first group of driving gears which are fixed to an tubular auxiliary main shaft which is concentrically and rotatably mounted on the main shaft; a first group of follower gears which are rotatably mounted on the counter shaft and are constantly meshed with the first group of driving gears so as to be selectively joined to the counter shaft; a first clutch which performs the power engagement and power disengagement between the main shaft and the tubular auxiliary main shaft; a second group of driving gears which are rotatably mounted on the main shaft and are selectively jointed to the main shaft; a second group of follower gears which are fixed to a tubular auxiliary counter shaft which is concentrically and rotatably mounted on the counter shaft and are constantlymeshedwith the second group of driving gears; and a second clutch which performs the power connection and disconnection between the counter shaft and the tubular auxiliary counter shaft

Landscapes

  • Engineering & Computer Science (AREA)
  • General Engineering & Computer Science (AREA)
  • Mechanical Engineering (AREA)
  • Structure Of Transmissions (AREA)
  • Gear-Shifting Mechanisms (AREA)

Abstract

The transmission includes: a first group of driving gears (M1,M3) which are fixed to an tubular auxiliary main shaft (23) which is concentrically and rotatably mounted on the main shaft (5); a first group of follower gears (C1,C3) which are rotatably mounted on the counter shaft (6) and are constantly meshed with the first group of driving gears (M1,M3) so as to be selectively joined to the counter shaft (6); a first clutch (20) which performs the power engagement and power disengagement between the main shaft (5) and the tubular auxiliary main shaft (23); a second group of driving gears (M2,M4) which are rotatably mounted on the main shaft (5) and are selectively jointed to the main shaft (5); a second group of follower gears (C2,C4) which are fixed to a tubular auxiliary counter shaft (27) which is concentrically and rotatably mounted on the counter shaft (27) and are constantly meshed with the second group of driving gears (M2,M4); and a second clutch (24) which performs the power connection and disconnection between the counter shaft (6) and the tubular auxiliary counter shaft (27).

Description

  • The present invention relates to an automatic transmission device of a vehicle-use power unit.
  • Fig. 13 is a constitutional developed view of a conventional power unit 01 which is mounted on a buggy car or the like including respective rotary shafts thereof (for example, see JP-A-2004-36835). In the drawing, a left side (indicated by an arrow F) is a front side of a vehicle. The power unit 01 is formed of an integral body constituted of an internal combustion engine 02 and a transmission 03 and includes a crankshaft 04 which extends in the fore-and-aft direction of a vehicle body, a main shaft 05 of the transmission, a counter shaft 06 of the transmission 03, an output shaft 07 and a backward driving changeover intermediate shaft 08. These rotary shafts are arranged in parallel to each other and are rotatably supported by front and rear crankcase members and a power is transmitted to an output shaft 07 from the crankshaft 04 by way of a transmission step. In this example, the internal combustion engine 02 is a single-cylinder internal combustion engine, wherein a piston 010 is connected to the crankshaft 04 by way of a connecting rod 09 and the piston 010 performs the reciprocating movement in a cylinder 011 to generate a power.
  • A torque converter 012 is mounted on a front end portion of the crankshaft 04. The torque converter 012 is constituted of a pump impeller 013 which is fixed to the crankshaft 04, a turbine runner 014 which is freely rotatable while facing the pump impeller 013 in an opposed manner and a stator 015 which is held by a crankcase member 017 by way of a one way clutch 016. To the turbine runner 014 which is rotatable with respect to the crankshaft 04, a primary driving gear 018 which is rotatable with respect to the crankshaft 04 is integrally joined. A power generated by the internal combustion engine 02 is transmitted to the pump impeller 013 from the crankshaft 04, is transmitted to the turbine runner 014 by way of a working oil and hence, the primary driving gear 018 is driven.
  • To a front end portion of the main shaft 05 of the transmission, a primary follower gear 019 which is constantly meshed with the primary driving gear 018 is fixed. The rotation of the crankshaft 04 is transmitted to the main shaft 05 of the transmission by way of a primary speed reduction which is constituted of the primary driving gear 018 and the primary follower gear 019. A first hydraulic multi-plate clutch 020 is arranged close to the above-mentioned primary follower gear 019 fixed to the front end portion of the main shaft 05. A clutch outer 021 of the above-mentioned multi-plate clutch 020 is fixed to the main shaft, while a clutch inner 022 is joined to a first-speed driving gear M01 which is freely rotatable with respect to the main shaft 05. To a rear portion of the main shaft 05 which extends while penetrating the center of the first multi-plate clutch 020 and a center hole of the first-speed driving gear M01, a second-speed driving gear M02 and a third-speed driving gear M03 are fixed.
  • To a front end portion of the counter shaft 06 which is rotatably supported in parallel to the above-mentioned main shaft 05, a first-speed follower gear C01 which is constantly meshed with the above-mentioned first-speed driving gear M01 is fixed. On a center portion of the counter shaft 06, a second-speed hydraulic multi-plate clutch 023 and a third-speed hydraulic multi-plate clutch 026 are mounted. Both of clutch outers 024, 027 of the above-mentioned clutches are fixed to the counter shaft 06. A clutch inner 025 of the above-mentioned second-speed multi-plate clutch 023 is joined to a second-speed follower gear C02 which is freely rotatable with respect to the counter shaft 06, while a clutch inner 028 of the above-mentioned third-speed multi-plate clutch 026 is joined to a third-speed follower gear C03 which is freely rotatable with respect to the counter shaft 06.
  • On a rear portion of the counter shaft 06, a forward output gear 029 and a backward output gear 030 are mounted in a state that these gears are rotatable with respect to the counter shaft 06. Between both gears, a dog clutch 031 which is fitted on the counter shaft 06 in spline fitting and is movable in the fore-and-aft direction is provided. To a backward driving changeover intermediate shaft 08 which is arranged close to and in parallel to the counter shaft 06 and rotatably, a first intermediate gear 032 which is constantly meshed with the above-mentioned backward output gear 030 and a second intermediate gear 033 which is constantly meshed with an output follower gear 034 described later are fixed, and both of these intermediate gears 032, 033 are interlocked with each other by way of the backward driving changeover intermediate shaft 08.
  • To the output shaft 07 which is arranged in parallel to the above-mentioned counter shaft, an output shaft follower gear 034 which is constantly meshed with the above-mentioned forward output shaft 029 and the second intermediate gear 033 is fixed. An output of the power unit 01 is transmitted to a front wheel from a front end of the output shaft 07 and is transmitted to the rear wheel from the rear end of the output shaft 07.
  • In the vicinity of the counter shaft 06, a forward and backward changeover device 035 is provided. The forward and backward changeover device 035 is constituted of a shift drum 036 which is rotatably supported in parallel to the counter shaft 06, one shifter 037 which is driven in the fore-and-aft direction along one cam groove which is formed in an outer periphery of the shift drum 036, and a manual rotating device which serves to rotatably drive the shift drum 036. The above-mentionedmanual rotating device is constituted of a shift spindle 038, a change lever 039 which is formed on an end portion of the shift spindle 038, a sector gear 040 which is mounted on the shift spindle, and a gear 041 which is integrally formed on a shaft 036a of the shift drum 036 and is meshed with the above-mentioned sector gear 040. The shifter 037 is engaged with the dog clutch 031 and moves the dog clutch 031 in the fore-and-aft direction so as to perform the changeover of the forward driving and the backward driving. Here, an alternating current generator 042 which generates an electric power by the rotation of the crankshaft 04 is mounted on the rear end of the crankshaft 04.
  • In the above-mentioned transmission 03, the selection of the forward driving and the backward driving is decided based on whether, using the forward and backward changeover device 035, the shifter 037 is moved to the forward output gear 029 side so as to allow the dog clutch 031 to be engaged with the above-mentioned gear 029 or the shifter 037 is moved to the backward output gear 030 side so as to allow the dog clutch 031 to be engaged with the above-mentioned gear 030. The selection of the transmission ratio in the forward driving state is determined based on which one of three multi-plate clutches 020, 023, 026 is selectively connected and which one of the gears M01, C02, C03 is selectively joined to the shaft. Here, when the backward driving state is selected, the first multi-plate clutch 020 is selectively connected so that the first-speed driving gear M01 is selectively joined to the shaft. The operation and the changeover of the hydraulic multi-plate clutch are performed using a hydraulic device not shown in the drawing. Fig. 14 is an automatic transmission manipulation table which arranges the selective manipulations of the clutches and the shifter in the above-mentioned conventional power unit.
  • However, since the conventional transmission adopts the three-stage automatic transmission, there has been a demand for a multi-stage automatic transmission having a larger number of stages. Further, it has also been a task to reduce the number of parts of a multi-plate clutch having a large weight.
  • Further, in the conventional transmission, to perform the changeover of the forward driving and the backward driving, a change lever is manually manipulated so as to change over gears, the manipulation becomes cumbersome.
  • [Means for Solving the problems]
  • The present invention has overcome the above-mentioned tasks and the invention described in claim 1 relates to a vehicle-use automatic transmission device including a main shaft and a counter shaft, wherein the transmission device includes: a first group of driving gears which are fixed to an tubular auxiliary main shaft which is concentrically and rotatably mounted on the main shaft; a first group of follower gears which are rotatably mounted on the counter shaft and are constantly meshed with the first group of driving gears so as to be selectively joined to the counter shaft; a first clutch which performs the power connection and power disconnection between the main shaft and the tubular auxiliary main shaft; a second group of driving gears which are rotatably mounted on the main shaft and are selectively jointed to the main shaft; a second group of follower gears which are fixed to an tubular auxiliary counter shaft which is concentrically and rotatably mounted on the counter shaft and are constantly meshed with the second group of driving gears; and a second clutch which performs the power connection and disconnection between the counter shaft and the tubular auxiliary counter shaft.
  • The invention described in claim 2 is, in the vehicle-use automatic transmission device described in claim 1, characterized in that either one of a first group of gears which are constituted of the first group of driving gears and the first group of follower gears and a second group of gears which are constituted of the second group of driving gears and the second group of follower gears is constituted of a group of odd-numbered-stage gears and another group of gears is constituted of a group of even-numbered-stage gears.
  • The invention described in claim 3 is, in the vehicle-use automatic transmission device described in claim 1 or claim 2, characterized in that the transmission device further includes a backward driving gear which is fixed to the tubular auxiliary main shaft and a backward follower gear which is rotatably mounted on the counter shaft and is constantly meshed with the backward driving gear by way of an intermediate gear so as to be selectively jointed to the counter shaft.
  • The invention described in claim 4 is, in the vehicle-use automatic transmission device described in claim 1 or claim 2, characterized in that the transmission device further includes a backward driving gear which is rotatably mounted on the main shaft and is selectively joined to the main shaft and a backward follower gear which is fixed to the tubular auxiliary counter shaft and is constantly meshed with the backward driving gear by way of an intermediate gear.
  • The invention described in claim 5 is, in the vehicle-use automatic transmission device described in claim 1 to claim 4, characterized in that a means which selectively joins the gear to the shaft is configured to include a shifter which is driven by an electrically-operated motor and a means which is driven by the shifter, is slidable in the axial direction and is engaged with or is disengaged from the gear which is rotatable with respect to the shaft.
  • According to the invention described in claim 1, the number of clutches having a large weight is decreased to two and hence, it is possible to provide a light-weightedmulti-stage automatic transmission.
  • According to the invention described in claim 2, since the odd-numbered stage gears and the even-numbered stage gears are arranged in a state that these gears are divided into the first group of gears and the second group of gears, it is possible to avoid a situation that the clutches and the gear selection and joining means are simultaneously manipulated at the time of transmission whereby the smooth transmission is ensured.
  • According to the invention described in claim 3, it is possible to perform the light-weighted multi-stage automatic transmission having the frontward and backward driving changeover function.
  • According to the invention described in claim 4, it is possible to perform the light-weighted multi-stage automatic transmission in another mode having the frontward and backward driving changeover function.
  • According to the invention described in claim 5, since the selective fixing of the gear is performed using the electrically-operated motor whichismanipulated with a switch, the transmission and the forward/backward changeover manipulation are facilitated. Further, since the mechanical gear selection manual lever is replaced with the switch which operates the electrically-operated motor, a layout of a periphery of a handle becomes concise.
  • Preferred embodiments of the invention will be explained with reference to the accompanying drawings.
    • Fig. 1 is a
      constitutional developed view of power unit 1A according to the first embodiment of the present invention.
    • Fig. 2 is a
      view showing a first-speed starting manipulation.
    • Fig. 3 is a
      view showing a changeover manipulation from the first speed to the second speed.
    • Fig. 4 is a
      view showing a manipulation during the second-speed cruising.
    • Fig. 5 is a
      view showing a changeover manipulation from the second speed to the third speed.
    • Fig. 6 is a
      view showing a manipulation during the third-speed cruising.
    • Fig. 7 is a
      view showing a changeover manipulation from the third speed to the fourth speed.
    • Fig. 8 is a
      view showing a backward driving manipulation.
    • Fig. 9 is an
      automatic transmission manipulation table in a power unit of the present invention.
    • Fig. 10 is an
      explanatory view of a power unit 1B according to the second embodiment of the present invention.
    • Fig. 11 is a
      constitutional developed view of a power unit 1C according to the third embodiment of the present invention.
    • Fig. 12 is a
      constitutional developed view of a power unit 1D according to the fourth embodiment of the present invention.
    • Fig. 13 is a
      constitutional developed view of a conventional power unit.
    • Fig. 14 is an
      automatic transmission manipulation table in the conventional power unit.
  • Fig. 1 is a constitutional developed view including respective rotary shafts of a power unit 1A according to the first embodiment of the present invention which is mounted on a buggy vehicle or the like. In the drawing, a left side (indicated by an arrow F) is a front side of a vehicle. The power unit 1A is formed of an integral body constituted of an internal combustion engine 2 and a transmission 3 and includes a crankshaft 4 which is arranged to extend in the fore-and-aft direction of a vehicle body, a main shaft 5 of the transmission, a counter shaft 6 of the transmission, an output shaft 7 and a backward driving changeover intermediate shaft 8. These rotary shafts are arranged in parallel to each other and are rotatably supported by front and rear crankcase members and a power is transmitted to an output shaft 7 from the crankshaft 4 by way of a transmission step. In this embodiment, the internal combustion engine 2 is a two-cylinder internal combustion engine, wherein pistons 10a, 10b are connected to the crankshaft 4 by way of connecting rods 9a, 9b and the pistons 10a, 10b perform the reciprocating movement in cylinders 11a, 11b respectively to generate a power.
  • An AC power generator 38 which generates a power by the rotation of the crankshaft 4 is mounted on a rear end of the crankshaft 4, while a torque converter 12 is mounted on a front end portion of the crankshaft 4. The torque converter 12 is constituted of a pump impeller 13 which is fixedto the crankshaft 4, a turbine runner 14 which is freely rotatable while facing the pump impeller 13 in an opposed manner and a stator 15 which is held by a crankcase portion 17 by way of a one way clutch 16. To the turbine runner 14 which is rotatable with respect to the crankshaft 4, a primary driving gear 18 which is rotatable with respect to the crankshaft 4 is connected. A power generated by the internal combustion engine 2 is transmitted to the pump impeller 13 from the crankshaft 4, is transmitted to the turbine runner 14 by way of a working oil and hence, the primary driving gear 18 is driven.
  • To a front end portion of the main shaft 5 of the transmission, a primary follower gear 19 which is constantly meshed with the primary driving gear 18 is fixed. The rotation of the crankshaft 4 is transmitted to the main shaft 5 of the transmission 3 by way of a primary reduction which is constituted of the primary driving gear 18 and the primary follower gear 19.
  • A first hydraulic multi-plate clutch 20 is arranged close to the above-mentioned primary follower gear 19 fixed to the front end portion of the main shaft 5. A clutch outer 21 of the above-mentioned multi-plate clutch 20 is fixed to the main shaft 5, while to a clutch inner 22 of the above-mentioned multi-plate clutch 20, a tubular auxiliary main shaft 23 which covers the outside of a front half portion of the main shaft 5 and is rotatable with respect to the main shaft 5 is joined and the tubular auxiliary main shaft 23 is rotated together with the clutch inner 22. To the tubular auxiliary main shaft 23, a first-speed driving gear M1, a third-speed driving gear M3 and a backward driving gear R1 are fixed in order from the front side.
  • On a rear portion of the main shaft 5 which extends in a state that the main shaft 5 penetrates the center of the first hydraulic multi-plate clutch 20 and the center hole of the tubular auxiliary main shaft 23, a second-speed driving gear M2 and a fourth-speed driving gear M4 are rotatably supported with respect to the main shaft 5. Between these gears, a dog clutch Md which is fitted on the main shaft 5 by spline fitting and is movable in the fore-and-aft direction is provided.
  • On the backward driving changeover intermediate shaft 8 which is supported rotatably in parallel with the above-mentioned main shaft 5, a backward first intermediate gear R2 which is constantly meshed with the above-mentioned backward driving gear R1 and a backward second intermediate gear R3 which is interlocked with the backward first intermediate gear R2 by way or the backward changeover intermediate shaft 8 are mounted.
  • On a front half portion of the counter shaft 6 which is rotatably supported in parallel to the above-mentioned main shaft 5, a first-speed follower gear C1 which is constantly meshed with the above-mentioned first-speed driving gear M1 and a third-speed follower gear C3 which is constantly meshed with the above-mentioned third-speed driving gear M3 are rotatably supported. Between these gears, a dog clutch Cdwhich is fitted on the counter shaft 6 in spline fitting and is movable in the fore-and-aft direction is provided. Close to and behind these gears, a backward follower gear R4 which is constantly meshed with the above-mentioned backward second intermediate gear R3 is rotatably supported on the counter shaft 6. Behind the backward follower gear R4, a dog clutch Rd which is fitted on the counter shaft 6 in spline fitting and is movable in the fore-and-aft direction is provided.
  • On a rear end portion of the counter shaft 6, a second hydraulic multi-plate clutch 24 is mounted. A clutch outer 25 of the above-mentioned multi-plate clutch 24 is fixed to the counter shaft 6. To a clutch inner 26 of the above-mentioned multi-plate clutch 24, a tubular auxiliary counter shaft 27 which covers the outside of a rear half portion of the counter shaft 6 and is rotatable with respect to the counter shaft 6 is joined. The tubular auxiliary counter shaft 27 is rotated together with the clutch inner 26. To the tubular auxiliary counter shaft 27, a second-speed follower gear C2 which is constantly meshed with the above-mentioned second-speed driving gear M2 and a fourth-speed follower gear C4 which is constantly meshed with the above-mentioned fourth-speed driving gearM4 are fixed in order from the front side. Acounter shaft output gear 28 is fixed to a rearmost portion of the counter shaft 6.
  • To an output shaft 7 which is arranged in parallel with the above-mentioned counter shaft 6, an output shaft follower gear 29 which is constantly meshed with the above-mentioned counter shaft output gear 28 is fixed. An output of the power unit 1A is transmitted to the front wheel from a front end of the output shaft 7 and is transmitted to the rear wheel from a rear end of the output shaft 7.
  • A gear changeover device 30 is provided in the vicinity of the main shaft 5 and the counter shaft 6. The gear changeover device 30 is constituted of a shift drum 31 which is rotatably supported in parallel to the main shaft 5 and the counter shaft 6, three shifters consisting of a first shifter 32, a second shifter 33, a third shifter 34 which are driven in the fore-and-aft direction along three cam grooves formed in an outer periphery of the shift drum 31, and a drive device for rotatably driving the shift drum 31 such as an electrically-operated motor 35. A gear 36 is mounted on a shaft 31a of the shift drum and is meshed with an output pinion 35a of the above-mentioned electrically-operated motor 35 by way of a group of speed reduction gears 37. Due to the actuation of the above-mentioned electrically-operated motor 35, the shift drum 31 is rotated to a suitable position and three shifters 32, 33, 34 are selectively moved. The above-mentioned first shifter 32 is meshed with the dog clutch Cd, the second shifter 33 is meshed with the dog clutch Md and the third shifter 34 is meshed with the dog clutch Rd respectively so as to move these dog clutches in the for-and-aft direction. The electrically-operated motor 35 is manipulated by a switch mounted on a handle.
  • In the above-mentioned transmission, the dog clutch Cd can assume a first-speed-side position where the dog clutch Cd is engaged with the first-speed follower gear C1, a third-speed-side position where the dog clutch Cd is engaged with the third-speed follower gear C3 and a neutral position in the midst of the above-mentioned both positions. The dog clutch Md can assume a second-speed-side position where the dog clutch Md is engaged with the second-speed driver gear M2, a fourth-speed-side position where the dog clutch Md is engaged with the fourth-speed driving gear M4 and a neutral position in the midst of the above-mentioned both positions. The dog clutch Rd can assume a backward-side position where the dog clutch Rd is engaged with the backward follower gear R4 and a neutral position which is remote from the backward follower gear R4.
  • The selective joining of the respective gears consisting of the frontward first-speed to fourth-speed gears and the backward gear with respect to the shaft is performed by moving the above-mentioned dog clutches in the fore-and-aft direction by way of three shifters thus allowing the dog clutches to be engaged with the gears mounted rotatably with respect to the shaft thus selectively joining the gears to the shaft. The positions of the shifters are determined by cam grooves which are preliminarily programmed and are formed in the shift drum. The rotation of the shift drum is performed based on a control of the above-mentioned electrically-operated motor 35. With respect to the position of the first shifter 32, the front side is set as the first-speed-side position, the rear side is set as the third-speed-side position and the intermediate between both sides is set as the neutral position. With respect to the position of the second shifter 33, the front side is set as the second-speed-side position, the rear side is set as the fourth-speed-side position and the intermediate between both sides is set as the neutral position. With respect to the position of the third shifter 34, the front side is set as the backward-side position and the rear side is set as the neutral position.
  • Fig. 2 to Fig. 8 are explanatory views of the manipulation of the above-mentioned transmission. The power generated by the internal combustion engine 2 is transmitted to the primary driving gear 18 bywayof the crankshaft 4 and the torque converter 12. The power transmission path up to this primary driving gear 18 is equal irrelevant to the transmission mode. The above-mentioned manipulation explanatory views indicate the power transmission paths from the primary driving gear 18 to the output shaft follower gear 29 corresponding to the transmission stages in a bold line.
  • Fig. 2 is a view which shows the first-speed starting operation. At this point of time, the first shifter 32 is shifted to the first-speed side so as to allow the dog clutch Cd to be meshed with the first-speed follower gear C1, the second shifter 33 is shifted to the second-speed side so as to allow the dog clutch Md to be meshed with the second-speed driving gearM2, and the third shifter 34 is held at the neutral position. Here, the third shifter 34 is always held in the neutral position during the forward driving. When the first multi-plate clutch 20 is connected in the above-mentioned state, the vehicle travels with the first-speed starting. The power from the primary driving gear 18 is transmitted to the output shaft 7 by way of the primary follower gear 19, the main shaft 5, the first multi-plate clutch 20, the tubular auxiliary main shaft 23, the first-speed driving gear M1, the first-speed follower gear C1, the counter shaft 6, the counter shaft output gear 28 and the output shaft follower gear 29 and, thereafter, the power is outputted to the wheel. Although the second-speed driving gear M2 is fixed to the shaft by way of the dog clutch Md, the second multi-plate clutch 24 is not connected and hence, the power is not transmitted to the counter shaft 6.
  • Fig. 3 is a view which shows the changeover manipulation from the first speed to the second speed. The positions of the shifters are not moved and are held at positions taken in the first speed shown in Fig.2. By changing over the hydraulic pressure supply destination from the first multi-plate clutch 20 to the second multi-plate clutch 24 in such a state, the transmission to the second speed is performed. The power from the primary driving gear 18 is transmitted to the output shaft 7 by way of the primary follower gear 19, the main shaft 5, the dog clutch Md, the second-speed driving gear M2, the second follower gear C2, the tubular auxiliary counter shaft 27, the second multi-plate clutch 24, the counter shaft 6, the counter shaft output gear 28, and the output shaft follower gear 29.
  • Fig. 4 is a view showing the manipulation during the second-speed cruising. The hydraulic pressure destination clutch is held at the second multi-plate clutch 24 and is not changed. The power transmission path is equal to the power transmission path of the second speed shown in Fig. 3. As the preparation for changeover to the third speed, the first shifter 32 is moved, the dog clutch Cd which is disposed outside the second-speedpower transmission path is moved to the third-speed side from the first-speed side so as to allow the dog clutch Cd to be meshed with the third-speed follower gear C3.
  • Fig. 5 is a view showing the changeover manipulation to the third speed from the second speed. The shifter positions are held at the positions at the time of completion of the second-speed cruising shown in Fig.4 and are not moved. By changing over the hydraulic pressure supply destination from the secondmulti-plate clutch 24 to the first multi-plate clutch 20 in such a state, the transmission to the third speed is performed. The power from the primary driving gear 18 is transmitted to the output shaft 7 by way of the primary follower gear 19, the main shaft 5, the first multi-plate clutch 20, the tubular auxiliary main shaft 23, the third-speed driving gear M3, the third-speed follower gear C3, the dog clutch Cd, the counter shaft 6, the counter shaft output gear 28, and the output shaft follower gear 29.
  • Fig. 6 is a view showing the manipulation during the third-speed cruising. The hydraulic pressure destination clutch is held at the first multi-plate clutch 20 and is not changed. The power transmission path is equal to the third-speed power transmission path shown in Fig. 5. As the preparation for changeover to the fourth speed, the second shifter 33 is moved, the dog clutch Md which is disposed outside the third-speed power transmission path is moved to the fourth-speed side from the second-speed side so as to allow the dog clutch Md to be meshed with the fourth-speed driving gear M4.
  • Fig. 7 is a view showing the changeover manipulation to the fourth speed from the third speed. The shifter positions are held at the positions at the time of completion of the third-speed cruising as shown in Fig.6 and are not moved. By changing over the hydraulic pressure supply destination from the first multi-plate clutch 20 to the secondmulti-plate clutch 24 in such a state, the transmission to the fourth speed is performed. The power from the primary driving gear 18 is transmitted to the output shaft 7 by way of the primary follower gear 19, the main shaft 5, the dog clutch Md, the fourth-speed driving gear M4, the fourth follower gear C4, the second multi-plate clutch 24, the counter shaft 6, the counter shaft output gear 28, and the output shaft follower gear 29.
  • Fig. 8 is a view showing the backward manipulation. The first shifter 32 and the second shifter 33 are held at the neutral positions, while the third shifter 34 is moved to the backward side to allow the dog clutch Rd to be meshed with the backward follower gear R4. When the first multi-plate clutch 20 is connected in such a state, the vehicle moves backward. The power from the primary driving gear 18 is transmitted to the output shaft 7 by way of the primary follower gear 19, the main shaft 5, the first multi-plate clutch 20, the tubular auxiliary main shaft 23, the backward driving gear R1, the first intermediate gear R2, the second intermediate gear R3, the backward follower gear R4, the dog clutch Rd, the counter shaft 6, the counter shaft output gear 28 and the output shaft follower gear 29. Since the first intermediate gear R2 and the second intermediate gear R3 are interposed, the counter shaft 6, the output shaft 7 and the like are rotated in the reverse direction so that the wheel is driven backwardly.
  • In the above-mentioned respective manipulation stages, the manner of operation and the changeover of the hydraulic multi-plate clutches are performed using a hydraulic device not shown in the drawing.
  • In the constitution of the above-mentioned automatic transmission, the groups of gears except for the backward driving gears are given collective names. The group of gears which are fixed to the tubular auxiliary main shaft which is subjected to the power connection and disconnection with respect to the main shaft by the first clutch is named as the first group of driving gears, the group of gears which are mounted on the counter shaft, are constantly meshed with the above-mentioned first group of driving gears and are selectively joined to the counter shaft are named as the first group of follower gears. Both of these groups of gears are generally named as the first group of gears. Further, the group of gears which are mounted on the main shaft and are selectively joined to the main shaft are named as the second group of driving gears, the group of gears which are fixed to the tubular auxiliary counter shaft which is subj ected to the connection and the disconnection with respect to the counter shaft by the second clutch and are constantly meshed with the above-mentioned second group of driving gears are named as the second group of follower gears and both of these groups of gears are generally named as the second group of gears.
  • Fig. 9 is an automatic transmission manipulation table which arranges the selective manipulations of the clutches and the shifters in the power unit 1A of the above-mentioned first embodiment. In the above-mentioned embodiment, the odd-numbered-stage gears and the even-numbered-stage gears are arranged in a divided manner as the first group of gears and the second group of gears and hence, it is possible to prevent the clutches and the selective joining means from being manipulated simultaneously at the time of transmission whereby it is possible to realize the smooth transmission.
  • Fig. 10 is an explanatory view of a power unit 1B according to the second embodiment of the present invention wherein the transmission of the power unit 1A of the first embodiment and the transmission of the power unit 2B of the second embodiment are depicted in parallel. In the drawing, the crankshaft, the torque converter, the output shaft and the like are omitted. Although the first group of gears are constituted of the odd-numbered stage gears (first speed, third speed) and the second group of gears are constituted of the even-numbered stage gears (second speed, fourth speed) in the first embodiment, the second embodiment is configured such that the position of odd-numbered stage gears and the position of the even-numbered stage gears are exchanged thus constituting the first group of gears using the even-numbered stage gears (second speed, fourth speed) and the second group of gears using the odd-numbered stage gears (first speed, third speed). That is, to explain the second embodiment inmore detail, the second-speed driving gears and the fourth-speed driving gears constitute the first group of driving gears, the second-speed follower gears and the fourth-speed follower gears constitute the first group of follower gears, the first-speed driving gear and the third-speed driving gear constitute the second group of driving gears, and the first-speed follower gear and the thirds-speed follower gear constitute the second group of follower gears. Also in the power unit 1B of the second embodiment, the even-numbered stage gears and the odd-numbered stage gears are arranged in a divided manner into the first group of gears and the second group of gears and hence, it is possible to prevent the clutches and the selective joining means from being manipulated simultaneously at the time of transmission whereby it is possible to realize the smooth transmission. Here, also in the second embodiment, the backward gears are arranged substantially in accordance with the arrangement of the backward gears in the first embodiment.
  • Fig. 11 is a constitutional developed view of a power unit 1C according to the third embodiment of the present invention. The power unit 1C of this embodiment is, compared to the power unit 1A of the first embodiment, characterized in that a fifth-speed driving gear M5 is additionally fixed onto the tubular auxiliary main shaft 23 close to the backward driving gear R1, a fifth-speed follower gear is rotatablymounted on the counter shaft 6, and a dog clutch Rx which is engaged with the backward follower gear and the fifth-speed follower gear is provided in place of the backward dedicated dog clutch Rd. In the drawing, members which do not differ in functions from the corresponding members of the first embodiment are given same symbols as the symbols used in the first embodiment. According to this embodiment, it is possible to realize the fifth-speed automatic transmission. Further, since the odd-numbered gears and the even-numbered gears are collected and are arranged in a divided manner into the first group of gears and the second group of gears, in the same manner as the transmission operation of the first embodiment, it is possible to perform the smooth transmission. According to the present invention, the present invention is not limited to the fifth-stage transmission of this embodiment and the transmission in a multi-stage can be realized in general.
  • Fig. 12 is a constitutional developed view of a power unit 1D according to the fourth embodiment of the present invention. The power unit 1D of this embodiment is characterized in that the positions of the group of backward gears shown in the first embodiment are changed and gears S1 to S4 and a dog clutch Sd are provided in place of the gears R1 to R4 and the dog clutch Rd. Member which have identical functions as the member in the first embodiment are given the same symbols used in the first embodiment. In front of the second-speed driving gear M2 mounted on the main shaft 5, a backward driving gear S1 which is rotatable with respect to the main shaft 5 and a dog clutch Sd which is fitted on the main shaft 5 in spline fitting and is movable in the fore-and-aft direction are provided. On a backward changeover intermediate shaft 8 which is rotatably supported in parallel to the above-mentioned main shaft 5, a backward first intermediate gear S2 which is constantly meshed with the above-mentioned backward driving gear S1 and a backward second intermediate gear S3 which is interlocked with the backward first intermediate gear S2 by way of the backward changeover intermediate shaft 8 are provided. To a front side of the tubular auxiliary counter shaft 27, a backward follower gear S4 which is constantly meshed with the above-mentioned backward second intermediate gear S3 is fixed.
  • In performing the backward traveling, the first shifter 32 and the second shifter 33 are held at the neutral position, the third shifter 34 is moved in the backward side so as to allow the dog clutch Sd to be meshed with the backward driving gear S1. When the second multi-plate clutch 24 is connected in this state, the vehicle moves backwardly.
  • As has been explained heretofore, the embodiments can obtain the following effects.
    • (1) The number of clutches having a large weight is decreased to two and hence, it is possible to provide the light-weighted multi-stage automatic transmission.
    • (2) Since the odd-numbered stage gears and the even-numbered stage gears are arranged in a state that these gears are divided into the first group of gears and the second group of gears, it is possible to avoid the situation that the clutches and the gear selection and joining means are simultaneously manipulated at the time of transmission whereby the smooth transmission is ensured.
    • (3) Since the selective fixing of the gears is performed electrically-operated motor whichismanipulated with a switch, it is possible to easily perform the transmission and the frontward and backward driving changeover manipulation.
    • (4) Since the mechanical gear selection manual lever is replaced with the switch which operates the electrically-operated motor, the layout of a periphery of a handle becomes concise.
  • To provide a multi-stage automatic transmission which includes a small number of clutches in a vehicle-use automatic transmission having a main shaft and a counter shaft. The transmission includes: a first group of driving gears which are fixed to an tubular auxiliary main shaft which is concentrically and rotatably mounted on the main shaft; a first group of follower gears which are rotatably mounted on the counter shaft and are constantly meshed with the first group of driving gears so as to be selectively joined to the counter shaft; a first clutch which performs the power engagement and power disengagement between the main shaft and the tubular auxiliary main shaft; a second group of driving gears which are rotatably mounted on the main shaft and are selectively jointed to the main shaft; a second group of follower gears which are fixed to a tubular auxiliary counter shaft which is concentrically and rotatably mounted on the counter shaft and are constantlymeshedwith the second group of driving gears; and a second clutch which performs the power connection and disconnection between the counter shaft and the tubular auxiliary counter shaft.

Claims (5)

  1. A vehicle-use automatic transmission device including a main shaft (5) and a counter shaft (6); the transmission device comprising:
    a first group of driving gears (M1, M3) which are fixed to an tubular auxiliary main shaft (23) which is concentrically and rotatably mounted on the main shaft (5);
    a first group of follower gears (C1, C2) which are rotatably mounted on the counter shaft (6) and are constantly meshed with the first group of driving gears (M1, M3) so as to be selectively joined to the counter shaft (6);
    a first clutch (20) which performs the power engagement and power disengagement between the main shaft (5) and the tubular auxiliary main shaft (23);
    a second group of driving gears (M2, M4) which are rotatably mounted on the main shaft (5) and are selectively jointed to the main shaft (5);
    a second group of follower gears (C2, C4) which are fixed to an tubular auxiliary counter shaft (27) which is concentrically and rotatably mounted on the counter shaft (6) and are constantly meshed with the second group of driving gears (M2, M4); and
    a second clutch (24) which performs the power connection and
    disconnection between the counter shaft (6) and the tubular auxiliary counter shaft (27).
  2. A vehicle-use automatic transmission device according to claim 1,
    wherein either one of a first group of gears which are constituted of the first group of driving gears (M1, M3) and the first group of follower gears (C1, C3) and a second group of gears which are constituted of the second group of driving gears (M2, M4) and the second group of follower gears (C2, C4) is constituted of the group of odd-numbered-stage gears and another group of gears is constituted of a group of even-numbered-stage gears.
  3. A vehicle-use automatic transmission device according to claim 1 or claim 2,
    wherein the transmission device further includes a backward driving gear (R1) which is fixed to the tubular auxiliary main shaft (23) and a backward follower gear (R4) which is rotatably mounted on the counter shaft (6) and is constantly meshed with the backward driving gear (R1) by way of an intermediate gear (R2, R3) so as to be selectively jointed to the counter shaft (6).
  4. A vehicle-use automatic transmission device according to claim 1 or claim 2,
    wherein the transmission device further includes a backward driving gear (S1) which is rotatably mounted on the main shaft (5) and is selectively joined to the main shaft (5) and a backward follower gear (S4) which is fixed to the tubular auxiliary counter shaft (27) and is constantly meshed with the backward driving gear (S1) by way of an intermediate gear (S2, S3).
  5. A vehicle-use automatic transmission device according to any one of claims 1 to 4,
    wherein a means (30) which selectively joins the gear to the shaft is configured to include a shifter (32, 33, 34) which is driven by an electrically-operated motor (35) and a means (Cd, Rd, Md) which is driven by the shifter, is slidable in the axial direction and is engaged with or is disengaged from the gear which is rotatable with respect to the shaft.
EP05008814A 2004-08-10 2005-04-21 Vehicle-use automatic transmission device Expired - Lifetime EP1626203B1 (en)

Applications Claiming Priority (1)

Application Number Priority Date Filing Date Title
JP2004232913A JP4602026B2 (en) 2004-08-10 2004-08-10 Engine equipped with an automatic transmission for vehicles

Publications (3)

Publication Number Publication Date
EP1626203A2 true EP1626203A2 (en) 2006-02-15
EP1626203A3 EP1626203A3 (en) 2007-09-12
EP1626203B1 EP1626203B1 (en) 2012-09-19

Family

ID=35134405

Family Applications (1)

Application Number Title Priority Date Filing Date
EP05008814A Expired - Lifetime EP1626203B1 (en) 2004-08-10 2005-04-21 Vehicle-use automatic transmission device

Country Status (12)

Country Link
US (1) US7357047B2 (en)
EP (1) EP1626203B1 (en)
JP (1) JP4602026B2 (en)
CN (1) CN1734123A (en)
AU (1) AU2005202354B2 (en)
BR (1) BRPI0504126A (en)
CA (1) CA2512962C (en)
ES (1) ES2391771T3 (en)
MX (1) MXPA05007400A (en)
MY (1) MY138039A (en)
PT (1) PT1626203E (en)
TW (1) TWI280329B (en)

Cited By (2)

* Cited by examiner, † Cited by third party
Publication number Priority date Publication date Assignee Title
EP1967771A1 (en) 2007-03-06 2008-09-10 HONDA MOTOR CO., Ltd. Automatic transmission assembly for a vehicle, and vehicle incorporating same
FR2928984A1 (en) * 2008-03-19 2009-09-25 Renault Sas Parallel shaft gearbox for heat engine of hybrid transmission motor vehicle, has auxiliary transmission input shaft parallel to main transmission input shaft that is fixedly mounted on engine shaft and is directly connected to clutch

Families Citing this family (12)

* Cited by examiner, † Cited by third party
Publication number Priority date Publication date Assignee Title
JP4872289B2 (en) * 2005-09-22 2012-02-08 スズキ株式会社 Motorcycle engine
JP4620624B2 (en) * 2006-03-31 2011-01-26 本田技研工業株式会社 Automatic transmission parking lock mechanism
JP4979326B2 (en) * 2006-09-29 2012-07-18 本田技研工業株式会社 Vehicle transmission
JP4499083B2 (en) * 2006-11-30 2010-07-07 本田技研工業株式会社 Engine equipped with variable speed actuator
JP4895116B2 (en) * 2007-03-06 2012-03-14 本田技研工業株式会社 Automatic transmission
JP5217483B2 (en) * 2008-02-19 2013-06-19 いすゞ自動車株式会社 Interlock mechanism of transmission
CN102216649B (en) * 2008-11-14 2014-10-22 本田技研工业株式会社 transmission
DE102009012223A1 (en) * 2009-03-07 2010-09-09 Daimler Ag Group transmission device
WO2015145553A1 (en) * 2014-03-25 2015-10-01 株式会社ユニバンス Vehicle dual-clutch transmission
CN107923529B (en) 2015-08-10 2019-09-03 雅马哈发动机株式会社 Transmissions and Vehicles
CN116538247B (en) * 2023-06-25 2023-10-20 陕西法士特汽车传动集团有限责任公司 16 keep off power shift derailleur
CN117145940A (en) * 2023-08-21 2023-12-01 芜湖万里扬变速器有限公司 A multi-shaft transmission structure for transmission and an automatic transmission having the multi-shaft transmission structure

Citations (1)

* Cited by examiner, † Cited by third party
Publication number Priority date Publication date Assignee Title
JP2004036835A (en) 2002-07-05 2004-02-05 Honda Motor Co Ltd transmission

Family Cites Families (22)

* Cited by examiner, † Cited by third party
Publication number Priority date Publication date Assignee Title
US3064488A (en) * 1960-09-06 1962-11-20 Consolidation Coal Co Constant mesh transmission
AU6430980A (en) * 1979-11-26 1981-06-04 Automotive Products Ltd. Dual clutch transmission
EP0034412A3 (en) * 1980-02-18 1981-12-16 Automotive Products Public Limited Company Rotary power transmission
GB2070158B (en) * 1980-02-18 1984-04-04 Automotive Prod Co Ltd Rotary transmission
US4576063A (en) * 1982-02-27 1986-03-18 Toyota Jidosha Kabushiki Kaisha Transmission mechanism with parallel transmission systems including one way clutches, one being lockable
JPS58149443A (en) * 1982-02-27 1983-09-05 Toyota Motor Corp Speed change gears
JPS58221049A (en) * 1982-06-18 1983-12-22 Toyota Motor Corp Speed change gear
JPH068659B2 (en) * 1984-03-30 1994-02-02 日産自動車株式会社 Vehicle speed changer
JPS60227044A (en) * 1984-04-25 1985-11-12 Nissan Motor Co Ltd Multistage speed change gear
JPH0648045B2 (en) * 1984-06-09 1994-06-22 マツダ株式会社 Vehicle gearbox
JPS6174963A (en) * 1984-09-17 1986-04-17 Daikin Mfg Co Ltd Power transmission equipped with torque converter
JPH05321991A (en) * 1992-05-14 1993-12-07 Daihatsu Motor Co Ltd Change gear arrangement structure of transmission
JP2956364B2 (en) * 1992-07-02 1999-10-04 トヨタ自動車株式会社 Manual gear transmission
US5353661A (en) * 1993-02-09 1994-10-11 General Motors Corporation Power transmission with coaxial input and output shafts supported at one end of each shaft by a floating bearing support
DE19612690C1 (en) * 1996-03-29 1997-06-12 Mc Micro Compact Car Ag Gearchange system for motor vehicles
DE19850547B4 (en) * 1998-11-03 2005-07-07 Daimlerchrysler Ag Multi-speed multi-way gear change gearbox
JP4555418B2 (en) * 1999-10-05 2010-09-29 本田技研工業株式会社 Vehicle power transmission device
JP3502058B2 (en) * 2001-04-16 2004-03-02 富士重工業株式会社 Automatic transmission
GB2379251A (en) * 2001-09-04 2003-03-05 Luk Lamellen & Kupplungsbau Shift drum actuator
JP4082926B2 (en) * 2002-05-07 2008-04-30 本田技研工業株式会社 Automatic transmission
GB2394261A (en) * 2002-10-19 2004-04-21 Luk Lamellen & Kupplungsbau Shift mechanism having a rotating drum
JP4133668B2 (en) * 2003-08-07 2008-08-13 本田技研工業株式会社 Parallel shaft type transmission

Patent Citations (1)

* Cited by examiner, † Cited by third party
Publication number Priority date Publication date Assignee Title
JP2004036835A (en) 2002-07-05 2004-02-05 Honda Motor Co Ltd transmission

Cited By (2)

* Cited by examiner, † Cited by third party
Publication number Priority date Publication date Assignee Title
EP1967771A1 (en) 2007-03-06 2008-09-10 HONDA MOTOR CO., Ltd. Automatic transmission assembly for a vehicle, and vehicle incorporating same
FR2928984A1 (en) * 2008-03-19 2009-09-25 Renault Sas Parallel shaft gearbox for heat engine of hybrid transmission motor vehicle, has auxiliary transmission input shaft parallel to main transmission input shaft that is fixedly mounted on engine shaft and is directly connected to clutch

Also Published As

Publication number Publication date
CA2512962A1 (en) 2006-02-10
MY138039A (en) 2009-04-30
CN1734123A (en) 2006-02-15
JP2006052748A (en) 2006-02-23
CA2512962C (en) 2008-06-17
JP4602026B2 (en) 2010-12-22
EP1626203A3 (en) 2007-09-12
TW200606359A (en) 2006-02-16
AU2005202354A1 (en) 2006-03-02
EP1626203B1 (en) 2012-09-19
US7357047B2 (en) 2008-04-15
BRPI0504126A (en) 2006-03-28
ES2391771T3 (en) 2012-11-29
TWI280329B (en) 2007-05-01
MXPA05007400A (en) 2006-02-16
AU2005202354B2 (en) 2011-03-17
US20060053966A1 (en) 2006-03-16
PT1626203E (en) 2012-10-03

Similar Documents

Publication Publication Date Title
US11231090B2 (en) Heavy duty transmission architecture
US20070227283A1 (en) Parking lock mechanism for automatic transmission
KR102429016B1 (en) Power transmission apparatus for vehicle
CN106143102B (en) Vehicle hybrid drive system and its transmission
EP1626203B1 (en) Vehicle-use automatic transmission device
CN104930139B (en) Speed changer
CN103363065B (en) Auto-manual speed changer
US20220185095A1 (en) Transmission Assembly for a Motor Vehicle Powertrain, Powertrain, and Method for Controlling Same
JP2013169831A (en) Hybrid vehicle
JP2010162924A (en) Power transmission device for hybrid vehicle
CN110546024B (en) Hybrid drive train for a motor vehicle and method for operating the same
CN107962948A (en) Hybrid drive system with two transmission gears
CN101627224B (en) Transmission for industrial vehicle
JP2011025911A (en) Automatic transmission for hybrid vehicle
JP5276272B2 (en) Industrial vehicle transmission
KR102429012B1 (en) Power transmission apparatus for vehicle
CN101663513B (en) Construction vehicle
JP6665567B2 (en) Multi-stage transmission
JP4812753B2 (en) Infinitely variable power branch transmission with two operating modes for automobiles
JP4637343B2 (en) Shift control device for synchronous mesh transmission
JP2008143443A (en) Transmission and vehicular driving device having this transmission
CN113508050A (en) Transmission assembly, powertrain, and method of operation
JP5243703B2 (en) Variable speed transmission for tractor
CN115135905A (en) Transmission system for vehicle
KR20200105149A (en) Power transmission apparatus for vehicle

Legal Events

Date Code Title Description
PUAI Public reference made under article 153(3) epc to a published international application that has entered the european phase

Free format text: ORIGINAL CODE: 0009012

17P Request for examination filed

Effective date: 20050421

AK Designated contracting states

Kind code of ref document: A2

Designated state(s): AT BE BG CH CY CZ DE DK EE ES FI FR GB GR HU IE IS IT LI LT LU MC NL PL PT RO SE SI SK TR

AX Request for extension of the european patent

Extension state: AL BA HR LV MK YU

PUAL Search report despatched

Free format text: ORIGINAL CODE: 0009013

AK Designated contracting states

Kind code of ref document: A3

Designated state(s): AT BE BG CH CY CZ DE DK EE ES FI FR GB GR HU IE IS IT LI LT LU MC NL PL PT RO SE SI SK TR

AX Request for extension of the european patent

Extension state: AL BA HR LV MK YU

AKX Designation fees paid

Designated state(s): DE ES FR GB IT PT

17Q First examination report despatched

Effective date: 20110818

GRAP Despatch of communication of intention to grant a patent

Free format text: ORIGINAL CODE: EPIDOSNIGR1

GRAS Grant fee paid

Free format text: ORIGINAL CODE: EPIDOSNIGR3

GRAA (expected) grant

Free format text: ORIGINAL CODE: 0009210

AK Designated contracting states

Kind code of ref document: B1

Designated state(s): DE ES FR GB IT PT

REG Reference to a national code

Ref country code: GB

Ref legal event code: FG4D

REG Reference to a national code

Ref country code: PT

Ref legal event code: SC4A

Free format text: AVAILABILITY OF NATIONAL TRANSLATION

Effective date: 20120926

REG Reference to a national code

Ref country code: DE

Ref legal event code: R096

Ref document number: 602005036164

Country of ref document: DE

Effective date: 20121115

REG Reference to a national code

Ref country code: ES

Ref legal event code: FG2A

Ref document number: 2391771

Country of ref document: ES

Kind code of ref document: T3

Effective date: 20121129

REG Reference to a national code

Ref country code: GB

Ref legal event code: 746

Effective date: 20130204

REG Reference to a national code

Ref country code: DE

Ref legal event code: R084

Ref document number: 602005036164

Country of ref document: DE

Effective date: 20130211

PLBE No opposition filed within time limit

Free format text: ORIGINAL CODE: 0009261

STAA Information on the status of an ep patent application or granted ep patent

Free format text: STATUS: NO OPPOSITION FILED WITHIN TIME LIMIT

PGFP Annual fee paid to national office [announced via postgrant information from national office to epo]

Ref country code: GB

Payment date: 20130417

Year of fee payment: 9

Ref country code: DE

Payment date: 20130508

Year of fee payment: 9

26N No opposition filed

Effective date: 20130620

PGFP Annual fee paid to national office [announced via postgrant information from national office to epo]

Ref country code: IT

Payment date: 20130420

Year of fee payment: 9

Ref country code: FR

Payment date: 20130625

Year of fee payment: 9

Ref country code: PT

Payment date: 20130418

Year of fee payment: 9

REG Reference to a national code

Ref country code: DE

Ref legal event code: R097

Ref document number: 602005036164

Country of ref document: DE

Effective date: 20130620

REG Reference to a national code

Ref country code: PT

Ref legal event code: MM4A

Free format text: LAPSE DUE TO NON-PAYMENT OF FEES

Effective date: 20141021

REG Reference to a national code

Ref country code: DE

Ref legal event code: R119

Ref document number: 602005036164

Country of ref document: DE

GBPC Gb: european patent ceased through non-payment of renewal fee

Effective date: 20140421

REG Reference to a national code

Ref country code: DE

Ref legal event code: R119

Ref document number: 602005036164

Country of ref document: DE

Effective date: 20141101

REG Reference to a national code

Ref country code: FR

Ref legal event code: ST

Effective date: 20141231

PG25 Lapsed in a contracting state [announced via postgrant information from national office to epo]

Ref country code: DE

Free format text: LAPSE BECAUSE OF NON-PAYMENT OF DUE FEES

Effective date: 20141101

Ref country code: PT

Free format text: LAPSE BECAUSE OF NON-PAYMENT OF DUE FEES

Effective date: 20141021

Ref country code: GB

Free format text: LAPSE BECAUSE OF NON-PAYMENT OF DUE FEES

Effective date: 20140421

PG25 Lapsed in a contracting state [announced via postgrant information from national office to epo]

Ref country code: FR

Free format text: LAPSE BECAUSE OF NON-PAYMENT OF DUE FEES

Effective date: 20140430

PG25 Lapsed in a contracting state [announced via postgrant information from national office to epo]

Ref country code: IT

Free format text: LAPSE BECAUSE OF NON-PAYMENT OF DUE FEES

Effective date: 20140421

REG Reference to a national code

Ref country code: ES

Ref legal event code: FD2A

Effective date: 20150527

PG25 Lapsed in a contracting state [announced via postgrant information from national office to epo]

Ref country code: ES

Free format text: LAPSE BECAUSE OF NON-PAYMENT OF DUE FEES

Effective date: 20140422