EP1528534A1 - Steuereinrichtung eines Flüssigkristallanzeigegeräts und Ansteuerverfahren dafür - Google Patents
Steuereinrichtung eines Flüssigkristallanzeigegeräts und Ansteuerverfahren dafür Download PDFInfo
- Publication number
- EP1528534A1 EP1528534A1 EP03025009A EP03025009A EP1528534A1 EP 1528534 A1 EP1528534 A1 EP 1528534A1 EP 03025009 A EP03025009 A EP 03025009A EP 03025009 A EP03025009 A EP 03025009A EP 1528534 A1 EP1528534 A1 EP 1528534A1
- Authority
- EP
- European Patent Office
- Prior art keywords
- image data
- bit
- data
- liquid crystal
- accordance
- Prior art date
- Legal status (The legal status is an assumption and is not a legal conclusion. Google has not performed a legal analysis and makes no representation as to the accuracy of the status listed.)
- Granted
Links
- 239000004973 liquid crystal related substance Substances 0.000 title claims abstract description 43
- 238000000034 method Methods 0.000 title claims abstract description 34
- 230000003111 delayed effect Effects 0.000 claims abstract description 23
- 230000005540 biological transmission Effects 0.000 description 13
- 238000010586 diagram Methods 0.000 description 13
- 239000000284 extract Substances 0.000 description 6
- 230000004044 response Effects 0.000 description 5
- 230000006870 function Effects 0.000 description 1
Images
Classifications
-
- G—PHYSICS
- G09—EDUCATION; CRYPTOGRAPHY; DISPLAY; ADVERTISING; SEALS
- G09G—ARRANGEMENTS OR CIRCUITS FOR CONTROL OF INDICATING DEVICES USING STATIC MEANS TO PRESENT VARIABLE INFORMATION
- G09G3/00—Control arrangements or circuits, of interest only in connection with visual indicators other than cathode-ray tubes
- G09G3/20—Control arrangements or circuits, of interest only in connection with visual indicators other than cathode-ray tubes for presentation of an assembly of a number of characters, e.g. a page, by composing the assembly by combination of individual elements arranged in a matrix no fixed position being assigned to or needed to be assigned to the individual characters or partial characters
- G09G3/34—Control arrangements or circuits, of interest only in connection with visual indicators other than cathode-ray tubes for presentation of an assembly of a number of characters, e.g. a page, by composing the assembly by combination of individual elements arranged in a matrix no fixed position being assigned to or needed to be assigned to the individual characters or partial characters by control of light from an independent source
- G09G3/36—Control arrangements or circuits, of interest only in connection with visual indicators other than cathode-ray tubes for presentation of an assembly of a number of characters, e.g. a page, by composing the assembly by combination of individual elements arranged in a matrix no fixed position being assigned to or needed to be assigned to the individual characters or partial characters by control of light from an independent source using liquid crystals
- G09G3/3611—Control of matrices with row and column drivers
- G09G3/3648—Control of matrices with row and column drivers using an active matrix
-
- G—PHYSICS
- G09—EDUCATION; CRYPTOGRAPHY; DISPLAY; ADVERTISING; SEALS
- G09G—ARRANGEMENTS OR CIRCUITS FOR CONTROL OF INDICATING DEVICES USING STATIC MEANS TO PRESENT VARIABLE INFORMATION
- G09G2320/00—Control of display operating conditions
- G09G2320/02—Improving the quality of display appearance
- G09G2320/0252—Improving the response speed
-
- G—PHYSICS
- G09—EDUCATION; CRYPTOGRAPHY; DISPLAY; ADVERTISING; SEALS
- G09G—ARRANGEMENTS OR CIRCUITS FOR CONTROL OF INDICATING DEVICES USING STATIC MEANS TO PRESENT VARIABLE INFORMATION
- G09G2320/00—Control of display operating conditions
- G09G2320/02—Improving the quality of display appearance
- G09G2320/0261—Improving the quality of display appearance in the context of movement of objects on the screen or movement of the observer relative to the screen
-
- G—PHYSICS
- G09—EDUCATION; CRYPTOGRAPHY; DISPLAY; ADVERTISING; SEALS
- G09G—ARRANGEMENTS OR CIRCUITS FOR CONTROL OF INDICATING DEVICES USING STATIC MEANS TO PRESENT VARIABLE INFORMATION
- G09G2320/00—Control of display operating conditions
- G09G2320/02—Improving the quality of display appearance
- G09G2320/0285—Improving the quality of display appearance using tables for spatial correction of display data
-
- G—PHYSICS
- G09—EDUCATION; CRYPTOGRAPHY; DISPLAY; ADVERTISING; SEALS
- G09G—ARRANGEMENTS OR CIRCUITS FOR CONTROL OF INDICATING DEVICES USING STATIC MEANS TO PRESENT VARIABLE INFORMATION
- G09G2320/00—Control of display operating conditions
- G09G2320/04—Maintaining the quality of display appearance
- G09G2320/041—Temperature compensation
-
- G—PHYSICS
- G09—EDUCATION; CRYPTOGRAPHY; DISPLAY; ADVERTISING; SEALS
- G09G—ARRANGEMENTS OR CIRCUITS FOR CONTROL OF INDICATING DEVICES USING STATIC MEANS TO PRESENT VARIABLE INFORMATION
- G09G2330/00—Aspects of power supply; Aspects of display protection and defect management
- G09G2330/02—Details of power systems and of start or stop of display operation
- G09G2330/021—Power management, e.g. power saving
- G09G2330/022—Power management, e.g. power saving in absence of operation, e.g. no data being entered during a predetermined time
-
- G—PHYSICS
- G09—EDUCATION; CRYPTOGRAPHY; DISPLAY; ADVERTISING; SEALS
- G09G—ARRANGEMENTS OR CIRCUITS FOR CONTROL OF INDICATING DEVICES USING STATIC MEANS TO PRESENT VARIABLE INFORMATION
- G09G2340/00—Aspects of display data processing
- G09G2340/16—Determination of a pixel data signal depending on the signal applied in the previous frame
-
- G—PHYSICS
- G09—EDUCATION; CRYPTOGRAPHY; DISPLAY; ADVERTISING; SEALS
- G09G—ARRANGEMENTS OR CIRCUITS FOR CONTROL OF INDICATING DEVICES USING STATIC MEANS TO PRESENT VARIABLE INFORMATION
- G09G3/00—Control arrangements or circuits, of interest only in connection with visual indicators other than cathode-ray tubes
- G09G3/20—Control arrangements or circuits, of interest only in connection with visual indicators other than cathode-ray tubes for presentation of an assembly of a number of characters, e.g. a page, by composing the assembly by combination of individual elements arranged in a matrix no fixed position being assigned to or needed to be assigned to the individual characters or partial characters
- G09G3/2007—Display of intermediate tones
- G09G3/2011—Display of intermediate tones by amplitude modulation
Definitions
- the invention relates to a driving circuit of a liquid crystal display and a driving method thereof according to the pre-characterizing clause of claim 1.
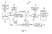
- the reference table used in the lookup table 45 is different.
- Fig.7 is a reference table 70 used for the lookup table 45 in this situation.
- the reference table 70 is recorded with (2 5 x 2 6 ) 8-bit image data values 72.
- the result value is 1, meaning that the first extracted image data D5' and the second extracted image data D6 are different, the first extracted image data D5' and the second extracted image data D6 are transferred to the lookup table 45.
- the lookup table 45 selects a corresponding 8-bit image data value 72 from the reference table 70 as a first image value D8' according to the first extracted image data D5' and the second extracted image data D6, and transfers the first image value D8' to the multiplexer 46.
- the first extracted image data D5' and the second extracted image data D5 are both 5-bit image data
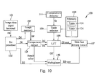
- the reference table 90 is stored with (2 5 x 2 5 ) 8-bit image data 92.
- the lookup table 45 selects a corresponding 8-bit image data value 92 from the reference table 90 according to the first extracted image data D5' and the second extracted image data D5 to control the followed operation of the data line driving circuit 47.
- the lookup table 105 selects a 8-bit over-driving image data from the reference table 50, 70, or 90 according to the first extracted image data D6' and the second extracted image data D6, and extracts 2 LSB D2' and 6 MSB D6-out of the 8-bit over-driving image data.
- the value of the first extracted image data D6' is 2 (000010) and the value of the second extracted image data D6 is 3 (000011).
Landscapes
- Engineering & Computer Science (AREA)
- Chemical & Material Sciences (AREA)
- Crystallography & Structural Chemistry (AREA)
- Physics & Mathematics (AREA)
- Computer Hardware Design (AREA)
- General Physics & Mathematics (AREA)
- Theoretical Computer Science (AREA)
- Control Of Indicators Other Than Cathode Ray Tubes (AREA)
Priority Applications (1)
| Application Number | Priority Date | Filing Date | Title |
|---|---|---|---|
| EP03025009A EP1528534B1 (de) | 2003-10-30 | 2003-10-30 | Steuereinrichtung eines Flüssigkristallanzeigegeräts und Ansteuerverfahren dafür |
Applications Claiming Priority (1)
| Application Number | Priority Date | Filing Date | Title |
|---|---|---|---|
| EP03025009A EP1528534B1 (de) | 2003-10-30 | 2003-10-30 | Steuereinrichtung eines Flüssigkristallanzeigegeräts und Ansteuerverfahren dafür |
Publications (2)
| Publication Number | Publication Date |
|---|---|
| EP1528534A1 true EP1528534A1 (de) | 2005-05-04 |
| EP1528534B1 EP1528534B1 (de) | 2012-04-18 |
Family
ID=34400502
Family Applications (1)
| Application Number | Title | Priority Date | Filing Date |
|---|---|---|---|
| EP03025009A Expired - Lifetime EP1528534B1 (de) | 2003-10-30 | 2003-10-30 | Steuereinrichtung eines Flüssigkristallanzeigegeräts und Ansteuerverfahren dafür |
Country Status (1)
| Country | Link |
|---|---|
| EP (1) | EP1528534B1 (de) |
Cited By (4)
| Publication number | Priority date | Publication date | Assignee | Title |
|---|---|---|---|---|
| EP1748412A3 (de) * | 2005-07-27 | 2007-09-05 | Mitsubishi Electric Corporation | Bildverarbeitungsschaltung |
| CN100353412C (zh) * | 2005-06-03 | 2007-12-05 | 友达光电股份有限公司 | 像素驱动方法、时序控制器与平面显示器 |
| CN101101735B (zh) * | 2006-07-07 | 2011-07-27 | 奇美电子股份有限公司 | 液晶显示装置及其过度驱动方法 |
| CN108806623A (zh) * | 2018-04-25 | 2018-11-13 | 南京中电熊猫平板显示科技有限公司 | 过压补偿装置及方法及过压补偿显示装置及方法 |
Citations (7)
| Publication number | Priority date | Publication date | Assignee | Title |
|---|---|---|---|---|
| JPH04318516A (ja) * | 1991-04-17 | 1992-11-10 | Casio Comput Co Ltd | 液晶パネル駆動装置 |
| EP0513551A2 (de) * | 1991-04-17 | 1992-11-19 | Casio Computer Company Limited | Bildanzeigevorrichtung |
| US20020050965A1 (en) * | 2000-10-27 | 2002-05-02 | Mitsubishi Denki Kabushiki Kaisha | Driving circuit and driving method for LCD |
| US20020196221A1 (en) * | 2001-06-25 | 2002-12-26 | Toshiyuki Morita | Liquid crystal display device |
| US20020196218A1 (en) * | 2001-06-11 | 2002-12-26 | Lg. Phillips Lcd Co., Ltd. | Method and apparatus for driving liquid display |
| WO2003041043A1 (en) * | 2001-11-09 | 2003-05-15 | Sharp Kabushiki Kaisha | Liquid crystal display |
| US20030098839A1 (en) * | 2001-11-26 | 2003-05-29 | Lee Baek-Woon | Liquid crystal display and a driving method thereof |
-
2003
- 2003-10-30 EP EP03025009A patent/EP1528534B1/de not_active Expired - Lifetime
Patent Citations (7)
| Publication number | Priority date | Publication date | Assignee | Title |
|---|---|---|---|---|
| JPH04318516A (ja) * | 1991-04-17 | 1992-11-10 | Casio Comput Co Ltd | 液晶パネル駆動装置 |
| EP0513551A2 (de) * | 1991-04-17 | 1992-11-19 | Casio Computer Company Limited | Bildanzeigevorrichtung |
| US20020050965A1 (en) * | 2000-10-27 | 2002-05-02 | Mitsubishi Denki Kabushiki Kaisha | Driving circuit and driving method for LCD |
| US20020196218A1 (en) * | 2001-06-11 | 2002-12-26 | Lg. Phillips Lcd Co., Ltd. | Method and apparatus for driving liquid display |
| US20020196221A1 (en) * | 2001-06-25 | 2002-12-26 | Toshiyuki Morita | Liquid crystal display device |
| WO2003041043A1 (en) * | 2001-11-09 | 2003-05-15 | Sharp Kabushiki Kaisha | Liquid crystal display |
| US20030098839A1 (en) * | 2001-11-26 | 2003-05-29 | Lee Baek-Woon | Liquid crystal display and a driving method thereof |
Non-Patent Citations (1)
| Title |
|---|
| PATENT ABSTRACTS OF JAPAN vol. 017, no. 147 (P - 1508) 24 March 1993 (1993-03-24) * |
Cited By (5)
| Publication number | Priority date | Publication date | Assignee | Title |
|---|---|---|---|---|
| CN100353412C (zh) * | 2005-06-03 | 2007-12-05 | 友达光电股份有限公司 | 像素驱动方法、时序控制器与平面显示器 |
| EP1748412A3 (de) * | 2005-07-27 | 2007-09-05 | Mitsubishi Electric Corporation | Bildverarbeitungsschaltung |
| US7642999B2 (en) | 2005-07-27 | 2010-01-05 | Mitsubishi Electric Corporation | Image processing circuit |
| CN101101735B (zh) * | 2006-07-07 | 2011-07-27 | 奇美电子股份有限公司 | 液晶显示装置及其过度驱动方法 |
| CN108806623A (zh) * | 2018-04-25 | 2018-11-13 | 南京中电熊猫平板显示科技有限公司 | 过压补偿装置及方法及过压补偿显示装置及方法 |
Also Published As
| Publication number | Publication date |
|---|---|
| EP1528534B1 (de) | 2012-04-18 |
Similar Documents
| Publication | Publication Date | Title |
|---|---|---|
| US7248242B2 (en) | Driving circuit of a liquid crystal display and driving method thereof | |
| US7148869B2 (en) | Driving circuit of a liquid crystal display and relating driving method | |
| TWI251195B (en) | A liquid crystal display for improving dynamic contrast and a method for generating gamma voltages for the liquid crystal display | |
| CN101467201B (zh) | 显示控制器和显示器 | |
| US7312777B2 (en) | Liquid crystal display device and driving method thereof | |
| JP3781160B2 (ja) | 非線形デジタル−アナログコンバータおよびディスプレイ | |
| US8279149B2 (en) | Device for driving a liquid crystal display | |
| JP3470095B2 (ja) | 液晶表示装置及びその駆動用回路装置 | |
| CN101425277B (zh) | 液晶显示器,lcd驱动器和lcd驱动器的操作方法 | |
| KR950013340B1 (ko) | 디스플레이장치의 구동회로 | |
| JP2004226952A (ja) | ディスプレイの反応速度増加装置と駆動方法 | |
| JP2009009089A (ja) | 液晶表示装置及びその駆動方法 | |
| EP1528534B1 (de) | Steuereinrichtung eines Flüssigkristallanzeigegeräts und Ansteuerverfahren dafür | |
| US7202843B2 (en) | Driving circuit of a liquid crystal display panel and related driving method | |
| EP1538595B1 (de) | Ansteuerschaltkreis für eine Flüssigkristallanzeige und Ansteuerverfahren dafür | |
| CN100376994C (zh) | 液晶显示器的驱动电路及其方法 | |
| CN101452679A (zh) | 产生影像驱动信号的方法及其装置 | |
| US7453476B2 (en) | Apparatus for driving discharge display panel using dual subfield coding | |
| JP3979498B2 (ja) | 液晶表示器の駆動回路及び駆動方法 | |
| CN100495510C (zh) | 液晶显示器的驱动电路及其驱动方法 | |
| EP1548698A1 (de) | Steuerschaltung einer Flüssigkristallanzeige und Steuerverfahren dafür | |
| JP2002055655A (ja) | ステップ式充放電による低パワーの液晶駆動回路及び駆動方法 |
Legal Events
| Date | Code | Title | Description |
|---|---|---|---|
| PUAI | Public reference made under article 153(3) epc to a published international application that has entered the european phase |
Free format text: ORIGINAL CODE: 0009012 |
|
| 17P | Request for examination filed |
Effective date: 20040924 |
|
| AK | Designated contracting states |
Kind code of ref document: A1 Designated state(s): AT BE BG CH CY CZ DE DK EE ES FI FR GB GR HU IE IT LI LU MC NL PT RO SE SI SK TR |
|
| AX | Request for extension of the european patent |
Extension state: AL LT LV MK |
|
| AKX | Designation fees paid |
Designated state(s): DE FR GB |
|
| 17Q | First examination report despatched |
Effective date: 20080226 |
|
| GRAP | Despatch of communication of intention to grant a patent |
Free format text: ORIGINAL CODE: EPIDOSNIGR1 |
|
| RIN1 | Information on inventor provided before grant (corrected) |
Inventor name: CHIEN, LIANG-CHEN Inventor name: CHEN, CHENG-JUNG Inventor name: SHEN, YUH-REN |
|
| GRAS | Grant fee paid |
Free format text: ORIGINAL CODE: EPIDOSNIGR3 |
|
| GRAA | (expected) grant |
Free format text: ORIGINAL CODE: 0009210 |
|
| AK | Designated contracting states |
Kind code of ref document: B1 Designated state(s): DE FR GB |
|
| REG | Reference to a national code |
Ref country code: GB Ref legal event code: FG4D |
|
| REG | Reference to a national code |
Ref country code: DE Ref legal event code: R096 Ref document number: 60340629 Country of ref document: DE Effective date: 20120614 |
|
| PLBE | No opposition filed within time limit |
Free format text: ORIGINAL CODE: 0009261 |
|
| STAA | Information on the status of an ep patent application or granted ep patent |
Free format text: STATUS: NO OPPOSITION FILED WITHIN TIME LIMIT |
|
| 26N | No opposition filed |
Effective date: 20130121 |
|
| REG | Reference to a national code |
Ref country code: DE Ref legal event code: R097 Ref document number: 60340629 Country of ref document: DE Effective date: 20130121 |
|
| GBPC | Gb: european patent ceased through non-payment of renewal fee |
Effective date: 20121030 |
|
| REG | Reference to a national code |
Ref country code: FR Ref legal event code: ST Effective date: 20130628 |
|
| PG25 | Lapsed in a contracting state [announced via postgrant information from national office to epo] |
Ref country code: GB Free format text: LAPSE BECAUSE OF NON-PAYMENT OF DUE FEES Effective date: 20121030 |
|
| PG25 | Lapsed in a contracting state [announced via postgrant information from national office to epo] |
Ref country code: FR Free format text: LAPSE BECAUSE OF NON-PAYMENT OF DUE FEES Effective date: 20121031 |
|
| PGFP | Annual fee paid to national office [announced via postgrant information from national office to epo] |
Ref country code: DE Payment date: 20151029 Year of fee payment: 13 |
|
| REG | Reference to a national code |
Ref country code: DE Ref legal event code: R119 Ref document number: 60340629 Country of ref document: DE |
|
| PG25 | Lapsed in a contracting state [announced via postgrant information from national office to epo] |
Ref country code: DE Free format text: LAPSE BECAUSE OF NON-PAYMENT OF DUE FEES Effective date: 20170503 |