EP1107225A2 - Active acoustic attenuation system in which regressor filter is determined from overall system test model - Google Patents

Active acoustic attenuation system in which regressor filter is determined from overall system test model Download PDF

Info

Publication number
EP1107225A2
EP1107225A2 EP00310640A EP00310640A EP1107225A2 EP 1107225 A2 EP1107225 A2 EP 1107225A2 EP 00310640 A EP00310640 A EP 00310640A EP 00310640 A EP00310640 A EP 00310640A EP 1107225 A2 EP1107225 A2 EP 1107225A2
Authority
EP
European Patent Office
Prior art keywords
model
test
error
signal
control model
Prior art date
Legal status (The legal status is an assumption and is not a legal conclusion. Google has not performed a legal analysis and makes no representation as to the accuracy of the status listed.)
Withdrawn
Application number
EP00310640A
Other languages
German (de)
French (fr)
Other versions
EP1107225A3 (en
Inventor
Trevor A. Laak
Current Assignee (The listed assignees may be inaccurate. Google has not performed a legal analysis and makes no representation or warranty as to the accuracy of the list.)
Digisonix LLC
Original Assignee
Digisonix LLC
Priority date (The priority date is an assumption and is not a legal conclusion. Google has not performed a legal analysis and makes no representation as to the accuracy of the date listed.)
Filing date
Publication date
Application filed by Digisonix LLC filed Critical Digisonix LLC
Publication of EP1107225A2 publication Critical patent/EP1107225A2/en
Publication of EP1107225A3 publication Critical patent/EP1107225A3/en
Withdrawn legal-status Critical Current

Links

Images

Classifications

    • GPHYSICS
    • G10MUSICAL INSTRUMENTS; ACOUSTICS
    • G10KSOUND-PRODUCING DEVICES; METHODS OR DEVICES FOR PROTECTING AGAINST, OR FOR DAMPING, NOISE OR OTHER ACOUSTIC WAVES IN GENERAL; ACOUSTICS NOT OTHERWISE PROVIDED FOR
    • G10K11/00Methods or devices for transmitting, conducting or directing sound in general; Methods or devices for protecting against, or for damping, noise or other acoustic waves in general
    • G10K11/16Methods or devices for protecting against, or for damping, noise or other acoustic waves in general
    • G10K11/175Methods or devices for protecting against, or for damping, noise or other acoustic waves in general using interference effects; Masking sound
    • G10K11/178Methods or devices for protecting against, or for damping, noise or other acoustic waves in general using interference effects; Masking sound by electro-acoustically regenerating the original acoustic waves in anti-phase
    • G10K11/1781Methods or devices for protecting against, or for damping, noise or other acoustic waves in general using interference effects; Masking sound by electro-acoustically regenerating the original acoustic waves in anti-phase characterised by the analysis of input or output signals, e.g. frequency range, modes, transfer functions
    • G10K11/17821Methods or devices for protecting against, or for damping, noise or other acoustic waves in general using interference effects; Masking sound by electro-acoustically regenerating the original acoustic waves in anti-phase characterised by the analysis of input or output signals, e.g. frequency range, modes, transfer functions characterised by the analysis of the input signals only
    • G10K11/17823Reference signals, e.g. ambient acoustic environment
    • GPHYSICS
    • G10MUSICAL INSTRUMENTS; ACOUSTICS
    • G10KSOUND-PRODUCING DEVICES; METHODS OR DEVICES FOR PROTECTING AGAINST, OR FOR DAMPING, NOISE OR OTHER ACOUSTIC WAVES IN GENERAL; ACOUSTICS NOT OTHERWISE PROVIDED FOR
    • G10K11/00Methods or devices for transmitting, conducting or directing sound in general; Methods or devices for protecting against, or for damping, noise or other acoustic waves in general
    • G10K11/16Methods or devices for protecting against, or for damping, noise or other acoustic waves in general
    • G10K11/175Methods or devices for protecting against, or for damping, noise or other acoustic waves in general using interference effects; Masking sound
    • G10K11/178Methods or devices for protecting against, or for damping, noise or other acoustic waves in general using interference effects; Masking sound by electro-acoustically regenerating the original acoustic waves in anti-phase
    • G10K11/1781Methods or devices for protecting against, or for damping, noise or other acoustic waves in general using interference effects; Masking sound by electro-acoustically regenerating the original acoustic waves in anti-phase characterised by the analysis of input or output signals, e.g. frequency range, modes, transfer functions
    • G10K11/17813Methods or devices for protecting against, or for damping, noise or other acoustic waves in general using interference effects; Masking sound by electro-acoustically regenerating the original acoustic waves in anti-phase characterised by the analysis of input or output signals, e.g. frequency range, modes, transfer functions characterised by the analysis of the acoustic paths, e.g. estimating, calibrating or testing of transfer functions or cross-terms
    • G10K11/17815Methods or devices for protecting against, or for damping, noise or other acoustic waves in general using interference effects; Masking sound by electro-acoustically regenerating the original acoustic waves in anti-phase characterised by the analysis of input or output signals, e.g. frequency range, modes, transfer functions characterised by the analysis of the acoustic paths, e.g. estimating, calibrating or testing of transfer functions or cross-terms between the reference signals and the error signals, i.e. primary path
    • GPHYSICS
    • G10MUSICAL INSTRUMENTS; ACOUSTICS
    • G10KSOUND-PRODUCING DEVICES; METHODS OR DEVICES FOR PROTECTING AGAINST, OR FOR DAMPING, NOISE OR OTHER ACOUSTIC WAVES IN GENERAL; ACOUSTICS NOT OTHERWISE PROVIDED FOR
    • G10K11/00Methods or devices for transmitting, conducting or directing sound in general; Methods or devices for protecting against, or for damping, noise or other acoustic waves in general
    • G10K11/16Methods or devices for protecting against, or for damping, noise or other acoustic waves in general
    • G10K11/175Methods or devices for protecting against, or for damping, noise or other acoustic waves in general using interference effects; Masking sound
    • G10K11/178Methods or devices for protecting against, or for damping, noise or other acoustic waves in general using interference effects; Masking sound by electro-acoustically regenerating the original acoustic waves in anti-phase
    • G10K11/1781Methods or devices for protecting against, or for damping, noise or other acoustic waves in general using interference effects; Masking sound by electro-acoustically regenerating the original acoustic waves in anti-phase characterised by the analysis of input or output signals, e.g. frequency range, modes, transfer functions
    • G10K11/17813Methods or devices for protecting against, or for damping, noise or other acoustic waves in general using interference effects; Masking sound by electro-acoustically regenerating the original acoustic waves in anti-phase characterised by the analysis of input or output signals, e.g. frequency range, modes, transfer functions characterised by the analysis of the acoustic paths, e.g. estimating, calibrating or testing of transfer functions or cross-terms
    • G10K11/17817Methods or devices for protecting against, or for damping, noise or other acoustic waves in general using interference effects; Masking sound by electro-acoustically regenerating the original acoustic waves in anti-phase characterised by the analysis of input or output signals, e.g. frequency range, modes, transfer functions characterised by the analysis of the acoustic paths, e.g. estimating, calibrating or testing of transfer functions or cross-terms between the output signals and the error signals, i.e. secondary path
    • GPHYSICS
    • G10MUSICAL INSTRUMENTS; ACOUSTICS
    • G10KSOUND-PRODUCING DEVICES; METHODS OR DEVICES FOR PROTECTING AGAINST, OR FOR DAMPING, NOISE OR OTHER ACOUSTIC WAVES IN GENERAL; ACOUSTICS NOT OTHERWISE PROVIDED FOR
    • G10K11/00Methods or devices for transmitting, conducting or directing sound in general; Methods or devices for protecting against, or for damping, noise or other acoustic waves in general
    • G10K11/16Methods or devices for protecting against, or for damping, noise or other acoustic waves in general
    • G10K11/175Methods or devices for protecting against, or for damping, noise or other acoustic waves in general using interference effects; Masking sound
    • G10K11/178Methods or devices for protecting against, or for damping, noise or other acoustic waves in general using interference effects; Masking sound by electro-acoustically regenerating the original acoustic waves in anti-phase
    • G10K11/1781Methods or devices for protecting against, or for damping, noise or other acoustic waves in general using interference effects; Masking sound by electro-acoustically regenerating the original acoustic waves in anti-phase characterised by the analysis of input or output signals, e.g. frequency range, modes, transfer functions
    • G10K11/17821Methods or devices for protecting against, or for damping, noise or other acoustic waves in general using interference effects; Masking sound by electro-acoustically regenerating the original acoustic waves in anti-phase characterised by the analysis of input or output signals, e.g. frequency range, modes, transfer functions characterised by the analysis of the input signals only
    • G10K11/17825Error signals
    • GPHYSICS
    • G10MUSICAL INSTRUMENTS; ACOUSTICS
    • G10KSOUND-PRODUCING DEVICES; METHODS OR DEVICES FOR PROTECTING AGAINST, OR FOR DAMPING, NOISE OR OTHER ACOUSTIC WAVES IN GENERAL; ACOUSTICS NOT OTHERWISE PROVIDED FOR
    • G10K11/00Methods or devices for transmitting, conducting or directing sound in general; Methods or devices for protecting against, or for damping, noise or other acoustic waves in general
    • G10K11/16Methods or devices for protecting against, or for damping, noise or other acoustic waves in general
    • G10K11/175Methods or devices for protecting against, or for damping, noise or other acoustic waves in general using interference effects; Masking sound
    • G10K11/178Methods or devices for protecting against, or for damping, noise or other acoustic waves in general using interference effects; Masking sound by electro-acoustically regenerating the original acoustic waves in anti-phase
    • G10K11/1785Methods, e.g. algorithms; Devices
    • G10K11/17853Methods, e.g. algorithms; Devices of the filter
    • G10K11/17854Methods, e.g. algorithms; Devices of the filter the filter being an adaptive filter
    • GPHYSICS
    • G10MUSICAL INSTRUMENTS; ACOUSTICS
    • G10KSOUND-PRODUCING DEVICES; METHODS OR DEVICES FOR PROTECTING AGAINST, OR FOR DAMPING, NOISE OR OTHER ACOUSTIC WAVES IN GENERAL; ACOUSTICS NOT OTHERWISE PROVIDED FOR
    • G10K11/00Methods or devices for transmitting, conducting or directing sound in general; Methods or devices for protecting against, or for damping, noise or other acoustic waves in general
    • G10K11/16Methods or devices for protecting against, or for damping, noise or other acoustic waves in general
    • G10K11/175Methods or devices for protecting against, or for damping, noise or other acoustic waves in general using interference effects; Masking sound
    • G10K11/178Methods or devices for protecting against, or for damping, noise or other acoustic waves in general using interference effects; Masking sound by electro-acoustically regenerating the original acoustic waves in anti-phase
    • G10K11/1787General system configurations
    • G10K11/17879General system configurations using both a reference signal and an error signal
    • G10K11/17881General system configurations using both a reference signal and an error signal the reference signal being an acoustic signal, e.g. recorded with a microphone
    • GPHYSICS
    • G10MUSICAL INSTRUMENTS; ACOUSTICS
    • G10KSOUND-PRODUCING DEVICES; METHODS OR DEVICES FOR PROTECTING AGAINST, OR FOR DAMPING, NOISE OR OTHER ACOUSTIC WAVES IN GENERAL; ACOUSTICS NOT OTHERWISE PROVIDED FOR
    • G10K11/00Methods or devices for transmitting, conducting or directing sound in general; Methods or devices for protecting against, or for damping, noise or other acoustic waves in general
    • G10K11/16Methods or devices for protecting against, or for damping, noise or other acoustic waves in general
    • G10K11/175Methods or devices for protecting against, or for damping, noise or other acoustic waves in general using interference effects; Masking sound
    • G10K11/178Methods or devices for protecting against, or for damping, noise or other acoustic waves in general using interference effects; Masking sound by electro-acoustically regenerating the original acoustic waves in anti-phase
    • G10K11/1787General system configurations
    • G10K11/17879General system configurations using both a reference signal and an error signal
    • G10K11/17883General system configurations using both a reference signal and an error signal the reference signal being derived from a machine operating condition, e.g. engine RPM or vehicle speed

Definitions

  • the invention relates generally to active acoustic attenuation systems. More specifically, the invention uses a novel method for determining a regressor filter in systems implementing an adaptive control model. For example, the invention is useful for calculating a C model that represents the auxiliary path (SE) in a sound cancellation system implementing the filtered-X LMS algorithm.
  • SE auxiliary path
  • Active acoustic attenuation involves the injection of a canceling acoustic wave to destructively interfere with and cancel a system input acoustic wave, thus yielding a system output.
  • a control model inputs a reference signal and in turn supplies a correction signal to an output transducer (e.g., a loudspeaker in a sound application or a shaker in a vibration application).
  • the output transducer injects the canceling acoustic wave or secondary input in order to destructively interfere with the system input so that the system output is zero or some other desired value.
  • the system output acoustic wave is sensed with an error sensor such as a microphone in a sound system, or an accelerometer in a vibration system.
  • Most active sound or vibration control systems use an adaptive control model such as the filtered-X least means square (LMS) or the filtered-U recursive least means square (RLMS) update methods as described in U.S. Patent No. 4,677,676.
  • LMS filtered-X least means square
  • RLMS filtered-U recursive least means square
  • FIR finite impulse response
  • IIR infinite impulse response
  • An error input signal which depends at least in part on the error signal from the error sensor, is supplied to the adaptive control filter.
  • Adaptive parameters in the adaptive control model are updated in relation to the error input signal.
  • a convergence factor or step size parameter is normally selected to ensure conversions of the adaptive control filter.
  • auxiliary path i.e., the speaker-error path (SE) in a sound control system
  • C path modeling of the auxiliary path (SE) is used to account for delays and phase shifts. More specifically, it is common to filter the reference signal through the C model in order to generate a filtered-X or filtered-U regressor signal for combination with the respective error signal, which in turn is supplied to the adaptive control model as an error input signal in order to adapt the adaptive control model.
  • C path modeling is often accomplished on-line by injecting low levels of random noise and using LMS techniques for the on-line C path modeling.
  • LMS adaptive control algorithms
  • random noise for C path modeling can be very effective.
  • this technique has disadvantages, particularly when attenuation of acoustic energy is intended only at discrete frequencies where tonal disturbances exist.
  • the use of random noise C path modeling is undesirable in tonal systems because the addition of the random noise is usually noticeable.
  • the random noise component added for C path modeling is typically vastly different in character than the tonal disturbance, thus making it very obvious when C path modeling is being performed. Often, the added random noise is obtrusive and objectionable.
  • a strong disturbance tone corrupts the adaptive modeling process for the C model at the frequency of the disturbance, which is precisely the frequency where a good model is required.
  • the corruption occurs because the signal-to-noise ratio at the required frequency is poor.
  • C path modeling can be done using a very small adaptation step size and adapting over a long time period. However, this is generally undesirable.
  • Another method used to overcome the model corruption problem is to use an active line enhancer or ALE.
  • An ALE removes the disturbance tone from the modeling process, but this adds complexity to the overall algorithm.
  • an overall system test model Q is used with the system in test mode in order to initially determine and intermittently update the C model which filters the regressor signal for the adaptive control model A (e.g., adaptive control Model A would typically be a filtered-X LMS or a filtered-U RLMS adaptive control model).
  • the overall system test model Q adaptively models the entire system from the system input sensor to the error sensor, including the physical acoustic path (PE) and the control path A(SE). To do this, a first set of test values for adjustable control parameters Atest(1) in the control model A are selected, and the system is operated in test mode so that the overall system test model Q adapts to a solution Q(1) based on the test control parameters Atest(1).
  • the overall system test model Q receives the reference signal as model input and receives a combination of the Q model output signal and the error signal as error input. Then, a second set of test values Atest(2) are selected, and the system is again operated in test mode so that the overall system test model Q adapts to a solution Q(2) based on the test control parameter Atest(2).
  • the above equation includes two unknowns, PE (the physical acoustic path between the input sensor and the error sensor) and SE (the auxiliary path between the output of the control model A and the error sensor). PE and SE are easily determined with linear algebra techniques using the solutions Q(1) and Q(2) for the test values Atest(1) and Atest(2), respectively.
  • the C model which filters the regressor signal for the adaptive control model A incorporates the solutions for SE.
  • the system then operates in attenuation mode with control model A continuously adapting in order to accurately attenuate acoustic disturbances.
  • control parameters in the C model are updated by switching the system into test mode as described above.
  • This technique is simple, but also an effective way of eliminating the effects of added random noise which can be annoying in certain situations.
  • Benefits of the system include simplicity, stability, sound quality (no need for addition of random noise), etc.
  • the invention can also be implemented in multiple input, multiple output and multiple error ( MIMO) systems.
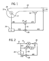
  • Fig. 1 is a schematic illustration of a SISO active acoustic attenuation system implementing a filtered-X FIR control model.
  • Fig. 2 is a block diagram illustrating the acoustic paths and control paths in the SISO system shown in Fig. 1, when the system is operating in attenuation mode to cancel acoustic energy.
  • Fig. 3 is a block diagram illustrating acoustic paths and control paths in the SISO system designed in accordance with the invention, when the invention is operating in test mode to calculate the value of regressor-filter model C.
  • Figs. 4a and 4b are phasor diagrams illustrating the calculation of the control parameters A(r, ⁇ ) which are used when the system is in test mode.
  • Fig. 5 is a block diagram illustrating acoustic paths and control paths in a MIMO system designed in accordance with the invention when the system is operating in attenuation mode to cancel acoustic energy.
  • Fig. 6 is a schematic illustration showing the operation of a MIMO system in accordance with the invention, when the system is operating in test mode to determine optimal values for parameters in C model channels for filtering the regressor signals.
  • Fig. 1 shows an active acoustic attenuation system 10 with a feed forward adaptive control system implementing a filtered-X LMS update as is known in the art, and as is implemented in accordance with the invention.
  • an input sensor 12 generates a reference signal x(k) that is processed by an adaptive control model A, block 14, to generate a correction signal y(k).
  • the adaptive control model A, block 14, is preferably a transversal filter such as an FIR filter.
  • the correction signal y(k) is transmitted to an output transducer 18.
  • the output transducer 18 outputs a secondary input (i.e., a canceling acoustic wave) that combines with the system input (i.e., an input acoustic wave) to yield the system output (i.e. an output acoustic wave).
  • An error sensor 20 senses the system output and generates an error signal e(k) in response thereto.
  • the purpose of the system 10 shown in Fig. 1 is to cancel acoustic energy propagating through the duct 22 which is generated by the fan 24.
  • the input sensor is a rotational position sensor, although other types of input sensors may be used.
  • the output transducer 18 in Fig. 1 is a loudspeaker that injects a canceling acoustic wave into the duct 22.
  • the adaptive control model A, block 14 is preferably a transversal finite impulse response (FIR) filter, although it should be apparent to those skilled in the art that the invention may be implemented by using an infinite impulse response (IIR) filter as described in U.S. Patent Nos. 4,677,676 and 4,677,677 which are hereby incorporated by reference herein.
  • the filtered-X LMS algorithm as shown in Fig. 1 requires the filtering of the reference signal x(k) through C model, block 26, in order to form filtered regressor signals x'(k).
  • the purpose of the C model 26 is to account for propagation delay and phase shifts in the auxiliary path SE in order to assure convergence of the LMS algorithm.
  • Fig. 2 illustrates the acoustic paths and control paths in the system 10 shown in Fig. 1.
  • block PE represents the acoustic path between the input sensor 12 and the error sensor 20
  • block SE represents the auxiliary path between the output of control model A to the error sensor 20.
  • Summing junction 20 in Fig. 2 represents the error sensor 20 shown in Fig. 1.
  • the acoustic path PE and the auxiliary path SE while relatively stable, tend to change over relatively long periods of time.
  • FIR or IIR adaptive control filters for control model A it is important to account for propagation delay and phase shifts in the auxiliary path SE.
  • the invention relates primarily to the determination of the parameters of the C model, block 26.
  • accurate determination of the C model optimizes adaptation of control model A.
  • A - PE SE
  • PE and SE are single complex values.
  • PE is a p x m complex matrix
  • SE is a p x n complex matrix
  • m is the number of reference signals
  • n is the number of correction signals
  • p is the number of error signals.
  • the pseudo inverse of SE is an n x p complex matrix
  • control model A is an n x m complex matrix. More details of the preferred MIMO system are discussed below in connection with Figs. 5 and 6.
  • an accurate estimate of the auxiliary path SE is obtained by operating the system 10t in test mode.
  • the block Q represents an adaptive model that models the overall system from the input sensor 12 to the error sensor 20 including the uncontrolled physical path PE as well as the control path, blocks Atest and SE.
  • a first set of values Atest(1) are selected for the control parameters for control model A. This is represented in Fig. 3 by block Atest.
  • the system 10t is then operated in test mode to adaptively determine a solution Q(1) for the overall test model Q.
  • model Q receives the reference signal x(k) as model input.
  • Summer 29 inputs the model output from the Q model as well as the error signal e(k), and outputs a signal in line 31 that inputs the Q model as error input.
  • the system 10t is first operated using a first version of the test control model Atest(1) to adaptively determine a first solution Q(1) of the overall system test model Q. The system is then operated in test mode using a second version of the test control model Atest(2) to adaptively determine a second solution Q(2) of the overall system test model.
  • Atest(1), Q(1), Atest(2), and Q(2) the following set of linear equations is solved to determined PE and SE:
  • the system 10 is then operated in attenuation mode as shown in Figs. 1 and 2 whereby the C model, block 26, is a copy of the solution for the auxiliary path SE determined by solving the set of linear equations in Equation (3).
  • the C model, block 26 is a copy of the solution for the auxiliary path SE determined by solving the set of linear equations in Equation (3).
  • test control parameters for the test control model Atest are represented as phasors for purposes of illustration, although the test parameters will typically be represented in other forms in practical applications, e.g. a complex number having an in-phase component and a quadrature component.
  • Fig. 4a shows the preferred manner in selecting initial test values for the control parameters in the test control model Atest.
  • the phasor labeled A(r, ⁇ ) initial represents an initially determined optimum value for the control parameters in control model A as determined by solving Equations (3) and (1).
  • the control model A is an adaptive model, and this initially determined optimum value for the control model A may be used when the system initially begins attenuation mode.
  • Atest(1) and Atest(2) could be selected arbitrarily, it may be convenient to select these values by shifting only 5%-15% form the then current version of A.
  • the new values Atest(1) and Atest(2) shown in Fig. 4b are used to determine new values for Q(1) and Q(2), respectively, in order to solve Equation (3) to determine an updated value for the auxiliary path SE, and in turn the regressor filter C model, block 26.
  • the invention is most useful for calculating the auxiliary path SE in systems having little physical change over time in the auxiliary path SE.
  • the invention is also useful in tonal systems or other applications when it is not desired to inject low levels of random noise in order to accomplish adaptive modeling of the auxiliary path.
  • a 1 x 2 x 2 MIMO system 100a is illustrated in attenuation mode as reference number 100a, Fig. 5, and in test mode as reference number 100t, Fig. 6. While Figs. 5 and 6 show the system 100 with one input sensor, two output transducers 18a, 18b and two error sensors 20a, 20b, the invention can generally be implemented in a system having m reference signals x(k), n correction signals, and p error signals. In such a system, there are m x p acoustic paths PE, n x p auxiliary paths SE. As shown in Fig. 5, the control model A has n x m model channels A 11 , A 21 .
  • Each model channel A 11 , A 21 inputs one of the m reference signals x(k) and outputs one of n correction signals y(k).
  • the system output is monitored by p error sensors, each outputting an error signal.
  • n x p auxiliary paths SE In a generalized MIMO system, there are n x p auxiliary paths SE.
  • Fig. 5 which is a 1 x 2 x 2 system, there are four auxiliary paths identified as SE 11 , SE 12 , SE 21 , and SE 22 .
  • the system 100t must be operated in test mode in order to solve for the values of the various PE and SE paths. Analytically, this is done in a similar manner as with a SISO system. Test values are chosen for Atest11 and Atest21, and the system is operated to adaptively determine values for model channels Q 11 and Q 21 for the respective Atest values. Also, similar to the SISO system, additional sets of test values for Atest11 and Atest21 are selected to determine additional solutions for Q 11 and Q 21 . In a MIMO system, the test must be repeated at least m + n / m number of times to accumulate a sufficient number of linear equations in order to solve for each of the unknown PE and SE paths.
  • Atestji(g) represents the test values for control parameters for the A model channel which receives the ith reference signal and outputs the jth correction signal for the gth test mode sampling
  • Qki(g) represents the channel for the Q model that receives the ith reference signal and its output is combined with the kth error signal to generate an update signal for the gth test mode sampling.
  • MIMO embodiment of the invention has been described in accordance with a 1 x 2 x 2 system by way of example, it should be apparent to those skilled in the art that the system has general applicability to MIMO systems having the dimensions m x n x p.

Landscapes

  • Physics & Mathematics (AREA)
  • Engineering & Computer Science (AREA)
  • Acoustics & Sound (AREA)
  • Multimedia (AREA)
  • Soundproofing, Sound Blocking, And Sound Damping (AREA)

Abstract

An active acoustic attenuation system uses an overall system test model Q to determine a model for the auxiliary path SE. In the preferred SISO embodiment, the system is operated in test mode to determine the C model for use as a regressor filter in the filtered-X LMS or the filtered-U RLMS algorithms. The overall system test model Q is an adaptive model which receives a system reference signal as model input and receives a combination of its model output signal and the output of an error sensor as error input. A first version of a test control model Atest(1) is selected which includes test values for control model A. During testing, the control model A does not adapt, however, the overall system test model Q does adapt. The system is operated in test mode to adaptively determine a first solution for the overall test model Q(1). Then, a second version of the test control model Atest(2) is selected, and the system is again operated in test mode to adaptively determine a second solution for the overall test model Q(2). The values Atest(1), Atest(2), Q(1), and Q(2) are then used to solve a set of linear equations to determine the auxiliary path SE. A copy of the calculated auxiliary path SE is used as the C model regressor filter. A multiple input, multiple output, multiple error (MIMO) embodiment of the invention is also disclosed.

Description

FIELD OF THE INVENTION
The invention relates generally to active acoustic attenuation systems. More specifically, the invention uses a novel method for determining a regressor filter in systems implementing an adaptive control model. For example, the invention is useful for calculating a C model that represents the auxiliary path (SE) in a sound cancellation system implementing the filtered-X LMS algorithm.
BACKGROUND OF THE INVENTION
Active acoustic attenuation involves the injection of a canceling acoustic wave to destructively interfere with and cancel a system input acoustic wave, thus yielding a system output. A control model inputs a reference signal and in turn supplies a correction signal to an output transducer (e.g., a loudspeaker in a sound application or a shaker in a vibration application). The output transducer injects the canceling acoustic wave or secondary input in order to destructively interfere with the system input so that the system output is zero or some other desired value. The system output acoustic wave is sensed with an error sensor such as a microphone in a sound system, or an accelerometer in a vibration system.
Most active sound or vibration control systems use an adaptive control model such as the filtered-X least means square (LMS) or the filtered-U recursive least means square (RLMS) update methods as described in U.S. Patent No. 4,677,676. These systems typically use an adaptive transversal finite impulse response (FIR) filter or an infinite impulse response (IIR) filter. An error input signal, which depends at least in part on the error signal from the error sensor, is supplied to the adaptive control filter. Adaptive parameters in the adaptive control model are updated in relation to the error input signal. A convergence factor or step size parameter is normally selected to ensure conversions of the adaptive control filter. In these systems, it is important to account for delay and phase shifts in the auxiliary path (i.e., the speaker-error path (SE) in a sound control system) when updating the adaptive control filter model. In the above-referenced filtered-X LMS and filtered-U RLMS methods, C path modeling of the auxiliary path (SE) is used to account for delays and phase shifts. More specifically, it is common to filter the reference signal through the C model in order to generate a filtered-X or filtered-U regressor signal for combination with the respective error signal, which in turn is supplied to the adaptive control model as an error input signal in order to adapt the adaptive control model.
C path modeling is often accomplished on-line by injecting low levels of random noise and using LMS techniques for the on-line C path modeling. The use of adaptive control algorithms such as the LMS or the RLMS and random noise for C path modeling can be very effective. However, this technique has disadvantages, particularly when attenuation of acoustic energy is intended only at discrete frequencies where tonal disturbances exist. For example, the use of random noise C path modeling is undesirable in tonal systems because the addition of the random noise is usually noticeable. The random noise component added for C path modeling is typically vastly different in character than the tonal disturbance, thus making it very obvious when C path modeling is being performed. Often, the added random noise is obtrusive and objectionable. In addition, a strong disturbance tone corrupts the adaptive modeling process for the C model at the frequency of the disturbance, which is precisely the frequency where a good model is required. The corruption occurs because the signal-to-noise ratio at the required frequency is poor. To overcome this problem, C path modeling can be done using a very small adaptation step size and adapting over a long time period. However, this is generally undesirable. Another method used to overcome the model corruption problem is to use an active line enhancer or ALE. An ALE removes the disturbance tone from the modeling process, but this adds complexity to the overall algorithm.
It is an object of the invention to determine the C path model without the injection of random noise in order to overcome the above-described disadvantages.
SUMMARY OF THE INVENTION
In accordance with the invention, an overall system test model Q is used with the system in test mode in order to initially determine and intermittently update the C model which filters the regressor signal for the adaptive control model A (e.g., adaptive control Model A would typically be a filtered-X LMS or a filtered-U RLMS adaptive control model). In test mode, the overall system test model Q adaptively models the entire system from the system input sensor to the error sensor, including the physical acoustic path (PE) and the control path A(SE). To do this, a first set of test values for adjustable control parameters Atest(1) in the control model A are selected, and the system is operated in test mode so that the overall system test model Q adapts to a solution Q(1) based on the test control parameters Atest(1). The overall system test model Q receives the reference signal as model input and receives a combination of the Q model output signal and the error signal as error input. Then, a second set of test values Atest(2) are selected, and the system is again operated in test mode so that the overall system test model Q adapts to a solution Q(2) based on the test control parameter Atest(2). In test mode, the system is represented by the following equation: Q = PE + (Atest) SE The above equation includes two unknowns, PE (the physical acoustic path between the input sensor and the error sensor) and SE (the auxiliary path between the output of the control model A and the error sensor). PE and SE are easily determined with linear algebra techniques using the solutions Q(1) and Q(2) for the test values Atest(1) and Atest(2), respectively. Upon determination of SE, the C model which filters the regressor signal for the adaptive control model A incorporates the solutions for SE. The system then operates in attenuation mode with control model A continuously adapting in order to accurately attenuate acoustic disturbances. Intermittently, or whenever the acoustic energy represented by the error signal exceeds a threshold value or adaptation efficiency becomes compromised, the control parameters in the C model are updated by switching the system into test mode as described above.
This technique is simple, but also an effective way of eliminating the effects of added random noise which can be annoying in certain situations. Benefits of the system include simplicity, stability, sound quality (no need for addition of random noise), etc. The invention can also be implemented in multiple input, multiple output and multiple error ( MIMO) systems.
Other features and advantages of the invention will be apparent to those skilled in the art upon inspecting the drawing and the following descriptions thereof.
BRIEF DESCRIPTION OF THE DRAWINGS
Fig. 1 is a schematic illustration of a SISO active acoustic attenuation system implementing a filtered-X FIR control model.
Fig. 2 is a block diagram illustrating the acoustic paths and control paths in the SISO system shown in Fig. 1, when the system is operating in attenuation mode to cancel acoustic energy.
Fig. 3 is a block diagram illustrating acoustic paths and control paths in the SISO system designed in accordance with the invention, when the invention is operating in test mode to calculate the value of regressor-filter model C.
Figs. 4a and 4b are phasor diagrams illustrating the calculation of the control parameters A(r,) which are used when the system is in test mode.
Fig. 5 is a block diagram illustrating acoustic paths and control paths in a MIMO system designed in accordance with the invention when the system is operating in attenuation mode to cancel acoustic energy.
Fig. 6 is a schematic illustration showing the operation of a MIMO system in accordance with the invention, when the system is operating in test mode to determine optimal values for parameters in C model channels for filtering the regressor signals.
DETAILED DESCRIPTION OF THE DRAWINGS
Fig. 1 shows an active acoustic attenuation system 10 with a feed forward adaptive control system implementing a filtered-X LMS update as is known in the art, and as is implemented in accordance with the invention. In the system 10 shown in Fig. 1, an input sensor 12 generates a reference signal x(k) that is processed by an adaptive control model A, block 14, to generate a correction signal y(k). The adaptive control model A, block 14, is preferably a transversal filter such as an FIR filter. The correction signal y(k) is transmitted to an output transducer 18. The output transducer 18 outputs a secondary input (i.e., a canceling acoustic wave) that combines with the system input (i.e., an input acoustic wave) to yield the system output (i.e. an output acoustic wave). An error sensor 20 senses the system output and generates an error signal e(k) in response thereto. The purpose of the system 10 shown in Fig. 1 is to cancel acoustic energy propagating through the duct 22 which is generated by the fan 24. In Fig. 1, the input sensor is a rotational position sensor, although other types of input sensors may be used. The output transducer 18 in Fig. 1 is a loudspeaker that injects a canceling acoustic wave into the duct 22.
As mentioned, the adaptive control model A, block 14, is preferably a transversal finite impulse response (FIR) filter, although it should be apparent to those skilled in the art that the invention may be implemented by using an infinite impulse response (IIR) filter as described in U.S. Patent Nos. 4,677,676 and 4,677,677 which are hereby incorporated by reference herein. The filtered-X LMS algorithm as shown in Fig. 1 requires the filtering of the reference signal x(k) through C model, block 26, in order to form filtered regressor signals x'(k). The purpose of the C model 26 is to account for propagation delay and phase shifts in the auxiliary path SE in order to assure convergence of the LMS algorithm.
Fig. 2 illustrates the acoustic paths and control paths in the system 10 shown in Fig. 1. In Fig. 2, block PE represents the acoustic path between the input sensor 12 and the error sensor 20, and block SE represents the auxiliary path between the output of control model A to the error sensor 20. Summing junction 20 in Fig. 2 represents the error sensor 20 shown in Fig. 1. Typically, the acoustic path PE and the auxiliary path SE while relatively stable, tend to change over relatively long periods of time. As mentioned, when using FIR or IIR adaptive control filters for control model A, it is important to account for propagation delay and phase shifts in the auxiliary path SE. This is accomplished in accordance with the invention by using the C model, block 26, to filter reference signal x(k) in order to provide an appropriately filtered regressor signal x'(k) to multiplier 28. The multiplier 28 combines the filtered regressor signal x'(k) with the error signal e(k) to provide error input to the adaptive control model A via line 30. In systems in which the input sensor 12 is exposed to acoustic feedback from the output transducer 18, it may be preferred to use the filtered-U IIR methods in contrast to the filtered-X FIR methods shown in the drawings.
The invention relates primarily to the determination of the parameters of the C model, block 26. As is known in the art, accurate determination of the C model optimizes adaptation of control model A. For a SISO system, the following expression represents the optimum value of control model A: A = - PE SE where PE and SE are single complex values. For MIMO systems, PE is a p x m complex matrix and SE is a p x n complex matrix, where m is the number of reference signals, n is the number of correction signals, and p is the number of error signals. The pseudo inverse of SE is an n x p complex matrix and control model A is an n x m complex matrix. More details of the preferred MIMO system are discussed below in connection with Figs. 5 and 6.
Referring to Fig. 3, an accurate estimate of the auxiliary path SE is obtained by operating the system 10t in test mode. In Fig. 3, the block Q represents an adaptive model that models the overall system from the input sensor 12 to the error sensor 20 including the uncontrolled physical path PE as well as the control path, blocks Atest and SE. In order to operate the system 10t in test mode, a first set of values Atest(1) are selected for the control parameters for control model A. This is represented in Fig. 3 by block Atest. The system 10t is then operated in test mode to adaptively determine a solution Q(1) for the overall test model Q. In this regard, model Q receives the reference signal x(k) as model input. Summer 29 inputs the model output from the Q model as well as the error signal e(k), and outputs a signal in line 31 that inputs the Q model as error input. In test mode, the system 10t shown in Fig. 3 is represented by the following equation: Q = PE + (Atest)SE Equation 2 contains two unknowns, PE and SE. Therefore, for a SISO system 10t, the system is operated in test mode at least twice. In order to determine PE and SE, the system 10t is first operated using a first version of the test control model Atest(1) to adaptively determine a first solution Q(1) of the overall system test model Q. The system is then operated in test mode using a second version of the test control model Atest(2) to adaptively determine a second solution Q(2) of the overall system test model. Using the values for Atest(1), Q(1), Atest(2), and Q(2), the following set of linear equations is solved to determined PE and SE:
Figure 00070001
It is important that the physical system remain essentially unaltered while Q is being determined for all sets of Atest. The system 10 is then operated in attenuation mode as shown in Figs. 1 and 2 whereby the C model, block 26, is a copy of the solution for the auxiliary path SE determined by solving the set of linear equations in Equation (3). Intermittently, it may be desirable to recalculate the SE over time in order to accommodate changes in the auxiliary path SE. It may be desirable to accomplish such recalculations at prescheduled intervals, or when the acoustic energy in the system output represented by the error signal exceeds a preselected value, or whenever system adaptation appears to be inefficient.
In Figs. 4a and 4b, the test control parameters for the test control model Atest are represented as phasors for purposes of illustration, although the test parameters will typically be represented in other forms in practical applications, e.g. a complex number having an in-phase component and a quadrature component. Fig. 4a shows the preferred manner in selecting initial test values for the control parameters in the test control model Atest. At initial start-up, it has been found effective to set Atest(1)initial = 0 in order to determine Q(1), and set Atest(2)initial to an arbitrary magnitude and phase in order to determine Q(2). The auxiliary path SE is then calculated from solving Equation (3). In Fig. 4a, the phasor labeled A(r, )initial represents an initially determined optimum value for the control parameters in control model A as determined by solving Equations (3) and (1). Note that the control model A is an adaptive model, and this initially determined optimum value for the control model A may be used when the system initially begins attenuation mode. When it is necessary or desirable to recalculate auxiliary path SE, it may be convenient to merely modify the magnitude and/or phase of the then current version of the control model A (e.g. A(r, )) in order to select the new values Atest(1) and Atest(2) for operating the system in test mode. This is shown in Fig. 4b. Although the new versions of Atest(1) and Atest(2) could be selected arbitrarily, it may be convenient to select these values by shifting only 5%-15% form the then current version of A. As before, the new values Atest(1) and Atest(2) shown in Fig. 4b are used to determine new values for Q(1) and Q(2), respectively, in order to solve Equation (3) to determine an updated value for the auxiliary path SE, and in turn the regressor filter C model, block 26.
The invention is most useful for calculating the auxiliary path SE in systems having little physical change over time in the auxiliary path SE. The invention is also useful in tonal systems or other applications when it is not desired to inject low levels of random noise in order to accomplish adaptive modeling of the auxiliary path.
Referring to Figs. 5 and 6, a 1 x 2 x 2 MIMO system 100a is illustrated in attenuation mode as reference number 100a, Fig. 5, and in test mode as reference number 100t, Fig. 6. While Figs. 5 and 6 show the system 100 with one input sensor, two output transducers 18a, 18b and two error sensors 20a, 20b, the invention can generally be implemented in a system having m reference signals x(k), n correction signals, and p error signals. In such a system, there are m x p acoustic paths PE, n x p auxiliary paths SE. As shown in Fig. 5, the control model A has n x m model channels A11, A21. Each model channel A11, A21 inputs one of the m reference signals x(k) and outputs one of n correction signals y(k). There are n output transducers each receiving one of the n correction signals y(k), and each outputting a secondary input that combines with the system input to yield the system output. The system output is monitored by p error sensors, each outputting an error signal. In a generalized MIMO system, there are n x p auxiliary paths SE. In Fig. 5, which is a 1 x 2 x 2 system, there are four auxiliary paths identified as SE11, SE12, SE21, and SE22.
As in the SISO system, the system 100t must be operated in test mode in order to solve for the values of the various PE and SE paths. Analytically, this is done in a similar manner as with a SISO system. Test values are chosen for Atest11 and Atest21, and the system is operated to adaptively determine values for model channels Q11 and Q21 for the respective Atest values. Also, similar to the SISO system, additional sets of test values for Atest11 and Atest21 are selected to determine additional solutions for Q11 and Q21. In a MIMO system, the test must be repeated at least m + n / m number of times to accumulate a sufficient number of linear equations in order to solve for each of the unknown PE and SE paths. Using the 1 x 2 x 2 system 100 shown in Figs. 5 and 6, it is necessary to run the system in test mode on three occasions (i.e. m + n / m = 1 + 2 / 1) in order to yield Atestl 1(1), Atest 21(1), Q11(1), Q21(1); Atest11(2), Atest21(2), Q11(2), Q21(2); and Atest11(3), Atest 21(3) Q11(3), Q21(3). The set of linear equations for a 1 x 2 x 2 MIMO system that needs to be solved to determine the PE and SE paths is represented in matrix form below:
Figure 00090001
wherein Atestji(g) represents the test values for control parameters for the A model channel which receives the ith reference signal and outputs the jth correction signal for the gth test mode sampling, and Qki(g) represents the channel for the Q model that receives the ith reference signal and its output is combined with the kth error signal to generate an update signal for the gth test mode sampling.
While the MIMO embodiment of the invention has been described in accordance with a 1 x 2 x 2 system by way of example, it should be apparent to those skilled in the art that the system has general applicability to MIMO systems having the dimensions m x n x p.
Although the invention has been described in accordance with a preferred embodiment for SISO applications and another preferred embodiment for MIMO applications, it should be recognized that various alternatives and modifications are possible within the scope of the invention. For example, while the drawings and the description specifically illustrate a sound cancellation system for attenuating acoustic disturbances, it should be apparent that the invention can be easily applied to vibration applications and/or combined sound and vibration applications. In vibration applications, the output transducer would typically be an electromechanical shaker or an electromagnetic actuator, rather than a loudspeaker. Also, the error sensors would typically be accelerometers instead of microphones. On the other hand, tachometer input sensors are often useful in vibration systems, although accelerometers or other types of sensors can be used as well. The term acoustic as used herein is intended to cover both sound and vibration applications.
In addition, the scope of the invention should be interpreted by reviewing the following claims which particularly point out and distinctly claim the invention.

Claims (15)

  1. An active acoustic attenuation system having a system input and a system output, the system comprising:
    a system input sensor that outputs a reference signal;
    an adaptive control model A that inputs the reference signal and outputs a correction signal;
    an actuator that receives the correction signal and outputs a secondary input which combines with the system input to yield the system output;
    an error sensor that senses the system output and generates an error signal in response thereto;
    a C model having parameters which model an auxiliary path between the output of the adaptive control model A and the error sensors, the C model inputting the reference signal and outputting a regressor signal;
    a multiplier that inputs the regressor signal and the error signal and outputs an error update signal that inputs the adaptive control model A as error input;
    an overall system test model Q that models the system between the system input sensor and the error sensor, the overall system test model Q being an adaptive model that receives the reference signal as model input, that outputs a model output signal, and that receives a combination of the model output signal and the error signal as an error input;
    wherein values for the parameters in the model C are calculated directly from at least two solutions of the overall system test model Q.
  2. An active acoustic attenuation system as recited in claim 1 wherein the model C is determined in accordance with the following steps:
    a) selecting a first version of a test control model Atest(1) which includes a first set of test values for the control parameters in the control model A;
    b) operating the system in test mode with the control model A set equal to Atest(1) to adaptively determine a first solution of the overall test model Q(1);
    c) selecting a second version of a test control model Atest(2) which includes a second set of test values for the control parameters in the control model A;
    d) operating the system in test mode with the control model A set equal to Atest(2) to adaptively determine a second solution of the overall test model Q(2); and
    e) using the first version of the test control model Atest(1), the first solution of the overall system test model Q(1), the second solution of the test control model Atest(2) and the second version of the overall system test model Q(2) to calculate the values of an auxiliary path SE that is used as the C model when the system is operated in attenuation mode.
  3. An active acoustic attenuation system as recited in claim 2 wherein the auxiliary path SE is calculated by solving the following set of linear equations:
    Figure 00120001
    where PE represents an acoustic path between the input sensor and the error sensor and SE represents an auxiliary path between the output of the control model A and the error sensor.
  4. An active acoustic attenuation system as recited in claim 1 wherein the values for the parameters in the C model are recalculated intermittently.
  5. An active acoustic attenuation system as recited in claim 1 wherein the system is a sound attenuation system, the actuator is a loudspeaker, and the error sensor is a microphone.
  6. An active acoustic attenuation system as recited in claim 1 wherein the system is a vibration control system, the error sensor is an accelerometer, and the actuator is an electromechanical shaker.
  7. An active acoustic attenuation system as recited in claim 1 wherein the adaptive control model A is an FIR filter.
  8. An active acoustic attenuation system as recited in claim 1 wherein the adaptive control model A is an IIR filter.
  9. An active acoustic attenuation system having a system input and a system output, the system comprising:
    at least one input sensor generating a reference signal wherein m represents the number of reference signals generated;
    an adaptive control model A having n x m model channels Aji, each model channel inputting one of the m reference signals and outputting one of n correction signals;
    a plurality of n output transducers each receiving one of the n correction signals and outputting a secondary input that combines with the system input to yield the system output;
    a plurality of p error sensors, each error sensor sensing the system output and outputting an error signal;
    an auxiliary path C model having p x n channels that model the paths between the output of the adaptive control model A and the error sensors, the m reference signals being filtered through the C model channels to generate a plurality of regressor signals;
    a plurality of multipliers each inputting a regressor signal and an error signal and outputting an error update signal that inputs one of the adaptive control model A channels as error input;
    an overall system test model Q that models the system between the system input and the system output, the overall system test model Q having p x m channels, each channel inputting one of m reference signals and outputting one of p channel output signals; and
    a plurality of p summers each receiving one of the p error signals and one of the p channel output signals and outputting an adaptive update signal which is received by the overall system test model Q as error input, wherein values for the p x n C model channels are calculated directly from multiple solutions for the overall system test model Q.
  10. An active acoustic attenuation system as recited in claim 9 wherein the parameters for the C model channels are determined in accordance with the following steps:
    a) selecting a version of a test control model channel for each of the n x m channels in the control model A, said test control model channel Atestji(g) including a set of test values for adjustable control parameters in the respective test control model channel wherein i represents the index of reference signal that inputs the respective control model channel, j represents the index of correction signal that outputs the respective control model channel, and g identifies the-test mode sampling;
    b) operating the system in test mode with the n x m control model channels for control model A set equal to Atestji(1) to adaptively determine a first set of solutions for the p x m channels of the overall system test model Q, wherein Qki(g) represents solutions for the Q model channel inputting the ith reference signal and outputting a signal which combines with the kth error signal for the gth test mode sampling;
    c) determining the number of test mode samplings required to mathematically determine values for the C model channels, wherein the minimum number of test mode samplings is given by the following expression: m + n m ;
    d) repeating steps a) and b) for at least m + n / m test mode samplings; and
    e) using Atestji(g) and Qki(g) to calculate the parameters for the C model channels.
  11. An active acoustic attenuation system as recited in claim 10 wherein the channels are calculated by solving a set of linear equations relating the test values for the channels of the overall system test model Qki(g) and the channels for the test control model Atestji(g).
  12. An active acoustic attenuation system as recited in claim 10 wherein the values for the parameters in the C model channels are recalculated intermittently.
  13. An active acoustic attenuation system as recited in claim 9 wherein the system is designed to attenuate sound, the output transducers are loudspeakers, and the error sensors are microphones.
  14. An active acoustic attenuation system as recited in claim 9 wherein at least one input sensor is a microphone.
  15. An active acoustic attenuation system as recited in claim 9 wherein at least one of the output transducers is an electromechanical shaker.
EP00310640A 1999-12-01 2000-11-30 Active acoustic attenuation system in which regressor filter is determined from overall system test model Withdrawn EP1107225A3 (en)

Applications Claiming Priority (2)

Application Number Priority Date Filing Date Title
US452214 1989-12-18
US45221499A 1999-12-01 1999-12-01

Publications (2)

Publication Number Publication Date
EP1107225A2 true EP1107225A2 (en) 2001-06-13
EP1107225A3 EP1107225A3 (en) 2003-05-02

Family

ID=23795563

Family Applications (1)

Application Number Title Priority Date Filing Date
EP00310640A Withdrawn EP1107225A3 (en) 1999-12-01 2000-11-30 Active acoustic attenuation system in which regressor filter is determined from overall system test model

Country Status (2)

Country Link
EP (1) EP1107225A3 (en)
AU (1) AU7147200A (en)

Family Cites Families (2)

* Cited by examiner, † Cited by third party
Publication number Priority date Publication date Assignee Title
EP0814456A3 (en) * 1996-06-17 1998-10-07 Lord Corporation Active noise or vibration control (ANVC) system and method including enhanced reference signals
AU7138698A (en) * 1997-04-18 1998-11-13 University Of Utah Research Foundation Method and apparatus for multichannel active noise and vibration control

Also Published As

Publication number Publication date
AU7147200A (en) 2001-06-07
EP1107225A3 (en) 2003-05-02

Similar Documents

Publication Publication Date Title
EP2242044B1 (en) System for active noise control with an infinite impulse response filter
CA2076007C (en) Digital virtual earth active cancellation system
US5687075A (en) Adaptive control system
EP2395501B1 (en) Adaptive noise control
JP3346198B2 (en) Active silencer
EP0361968B1 (en) Noise cancellor
US5206911A (en) Correlated active attenuation system with error and correction signal input
JPH08509823A (en) Single and multi-channel block adaptation method and apparatus for active acoustic and vibration control
US5590205A (en) Adaptive control system with a corrected-phase filtered error update
EP0654901B1 (en) System for the rapid convergence of an adaptive filter in the generation of a time variant signal for cancellation of a primary signal
EP0555786A2 (en) Active noise cancellation system
GB2271908A (en) Adaptive control for a noise cancelling system
Kim et al. Delayed-X LMS algorithm: An efficient ANC algorithm utilizing robustness of cancellation path model
EP0525456B1 (en) System using plurality of adaptive digital filters
EP1107225A2 (en) Active acoustic attenuation system in which regressor filter is determined from overall system test model
EP1107226A2 (en) Active acoustic attenuation system based on overall system test modeling
JPH1011074A (en) Electronic silencer
JP3419911B2 (en) Noise cancellation system
Nam et al. Adaptive active attenuation of noise using multiple model approaches
KR100242087B1 (en) Method and apparatus for controlling active noise and vibration using ltj filter
JPH04358712A (en) Adaptive control device and adaptive type active silencing device
JP2934928B2 (en) Active control device using adaptive digital filter
JPH06332478A (en) Electronic muffling method
WO1994001810A9 (en) Low cost controller
EP0659288A1 (en) Low cost controller

Legal Events

Date Code Title Description
PUAI Public reference made under article 153(3) epc to a published international application that has entered the european phase

Free format text: ORIGINAL CODE: 0009012

AK Designated contracting states

Kind code of ref document: A2

Designated state(s): AT BE CH CY DE DK ES FI FR GB GR IE IT LI LU MC NL PT SE TR

AX Request for extension of the european patent

Free format text: AL;LT;LV;MK;RO;SI

PUAL Search report despatched

Free format text: ORIGINAL CODE: 0009013

AK Designated contracting states

Designated state(s): AT BE CH CY DE DK ES FI FR GB GR IE IT LI LU MC NL PT SE TR

AX Request for extension of the european patent

Extension state: AL LT LV MK RO SI

AKX Designation fees paid
REG Reference to a national code

Ref country code: DE

Ref legal event code: 8566

STAA Information on the status of an ep patent application or granted ep patent

Free format text: STATUS: THE APPLICATION IS DEEMED TO BE WITHDRAWN

18D Application deemed to be withdrawn

Effective date: 20031104