EP1069265A3 - Entry authorisation device and combined entry and user authorisation device - Google Patents
Entry authorisation device and combined entry and user authorisation device Download PDFInfo
- Publication number
- EP1069265A3 EP1069265A3 EP00109565A EP00109565A EP1069265A3 EP 1069265 A3 EP1069265 A3 EP 1069265A3 EP 00109565 A EP00109565 A EP 00109565A EP 00109565 A EP00109565 A EP 00109565A EP 1069265 A3 EP1069265 A3 EP 1069265A3
- Authority
- EP
- European Patent Office
- Prior art keywords
- entry
- authorisation device
- combined
- user
- base station
- Prior art date
- Legal status (The legal status is an assumption and is not a legal conclusion. Google has not performed a legal analysis and makes no representation as to the accuracy of the status listed.)
- Withdrawn
Links
Classifications
-
- G—PHYSICS
- G07—CHECKING-DEVICES
- G07C—TIME OR ATTENDANCE REGISTERS; REGISTERING OR INDICATING THE WORKING OF MACHINES; GENERATING RANDOM NUMBERS; VOTING OR LOTTERY APPARATUS; ARRANGEMENTS, SYSTEMS OR APPARATUS FOR CHECKING NOT PROVIDED FOR ELSEWHERE
- G07C9/00—Individual registration on entry or exit
- G07C9/00174—Electronically operated locks; Circuits therefor; Nonmechanical keys therefor, e.g. passive or active electrical keys or other data carriers without mechanical keys
- G07C9/00309—Electronically operated locks; Circuits therefor; Nonmechanical keys therefor, e.g. passive or active electrical keys or other data carriers without mechanical keys operated with bidirectional data transmission between data carrier and locks
-
- G—PHYSICS
- G07—CHECKING-DEVICES
- G07C—TIME OR ATTENDANCE REGISTERS; REGISTERING OR INDICATING THE WORKING OF MACHINES; GENERATING RANDOM NUMBERS; VOTING OR LOTTERY APPARATUS; ARRANGEMENTS, SYSTEMS OR APPARATUS FOR CHECKING NOT PROVIDED FOR ELSEWHERE
- G07C9/00—Individual registration on entry or exit
- G07C9/00174—Electronically operated locks; Circuits therefor; Nonmechanical keys therefor, e.g. passive or active electrical keys or other data carriers without mechanical keys
- G07C9/00309—Electronically operated locks; Circuits therefor; Nonmechanical keys therefor, e.g. passive or active electrical keys or other data carriers without mechanical keys operated with bidirectional data transmission between data carrier and locks
- G07C2009/00365—Electronically operated locks; Circuits therefor; Nonmechanical keys therefor, e.g. passive or active electrical keys or other data carriers without mechanical keys operated with bidirectional data transmission between data carrier and locks in combination with a wake-up circuit
- G07C2009/00373—Electronically operated locks; Circuits therefor; Nonmechanical keys therefor, e.g. passive or active electrical keys or other data carriers without mechanical keys operated with bidirectional data transmission between data carrier and locks in combination with a wake-up circuit whereby the wake-up circuit is situated in the lock
-
- G—PHYSICS
- G07—CHECKING-DEVICES
- G07C—TIME OR ATTENDANCE REGISTERS; REGISTERING OR INDICATING THE WORKING OF MACHINES; GENERATING RANDOM NUMBERS; VOTING OR LOTTERY APPARATUS; ARRANGEMENTS, SYSTEMS OR APPARATUS FOR CHECKING NOT PROVIDED FOR ELSEWHERE
- G07C9/00—Individual registration on entry or exit
- G07C9/00174—Electronically operated locks; Circuits therefor; Nonmechanical keys therefor, e.g. passive or active electrical keys or other data carriers without mechanical keys
- G07C9/00309—Electronically operated locks; Circuits therefor; Nonmechanical keys therefor, e.g. passive or active electrical keys or other data carriers without mechanical keys operated with bidirectional data transmission between data carrier and locks
- G07C2009/00507—Electronically operated locks; Circuits therefor; Nonmechanical keys therefor, e.g. passive or active electrical keys or other data carriers without mechanical keys operated with bidirectional data transmission between data carrier and locks keyless data carrier having more than one function
- G07C2009/00531—Electronically operated locks; Circuits therefor; Nonmechanical keys therefor, e.g. passive or active electrical keys or other data carriers without mechanical keys operated with bidirectional data transmission between data carrier and locks keyless data carrier having more than one function immobilizer
-
- G—PHYSICS
- G07—CHECKING-DEVICES
- G07C—TIME OR ATTENDANCE REGISTERS; REGISTERING OR INDICATING THE WORKING OF MACHINES; GENERATING RANDOM NUMBERS; VOTING OR LOTTERY APPARATUS; ARRANGEMENTS, SYSTEMS OR APPARATUS FOR CHECKING NOT PROVIDED FOR ELSEWHERE
- G07C9/00—Individual registration on entry or exit
- G07C9/00174—Electronically operated locks; Circuits therefor; Nonmechanical keys therefor, e.g. passive or active electrical keys or other data carriers without mechanical keys
- G07C2009/00753—Electronically operated locks; Circuits therefor; Nonmechanical keys therefor, e.g. passive or active electrical keys or other data carriers without mechanical keys operated by active electrical keys
- G07C2009/00769—Electronically operated locks; Circuits therefor; Nonmechanical keys therefor, e.g. passive or active electrical keys or other data carriers without mechanical keys operated by active electrical keys with data transmission performed by wireless means
- G07C2009/00793—Electronically operated locks; Circuits therefor; Nonmechanical keys therefor, e.g. passive or active electrical keys or other data carriers without mechanical keys operated by active electrical keys with data transmission performed by wireless means by Hertzian waves
-
- G—PHYSICS
- G07—CHECKING-DEVICES
- G07C—TIME OR ATTENDANCE REGISTERS; REGISTERING OR INDICATING THE WORKING OF MACHINES; GENERATING RANDOM NUMBERS; VOTING OR LOTTERY APPARATUS; ARRANGEMENTS, SYSTEMS OR APPARATUS FOR CHECKING NOT PROVIDED FOR ELSEWHERE
- G07C2209/00—Indexing scheme relating to groups G07C9/00 - G07C9/38
- G07C2209/08—With time considerations, e.g. temporary activation, valid time window or time limitations
Landscapes
- Engineering & Computer Science (AREA)
- Computer Networks & Wireless Communication (AREA)
- Physics & Mathematics (AREA)
- General Physics & Mathematics (AREA)
- Lock And Its Accessories (AREA)
- Electric Propulsion And Braking For Vehicles (AREA)
- Mobile Radio Communication Systems (AREA)
Abstract
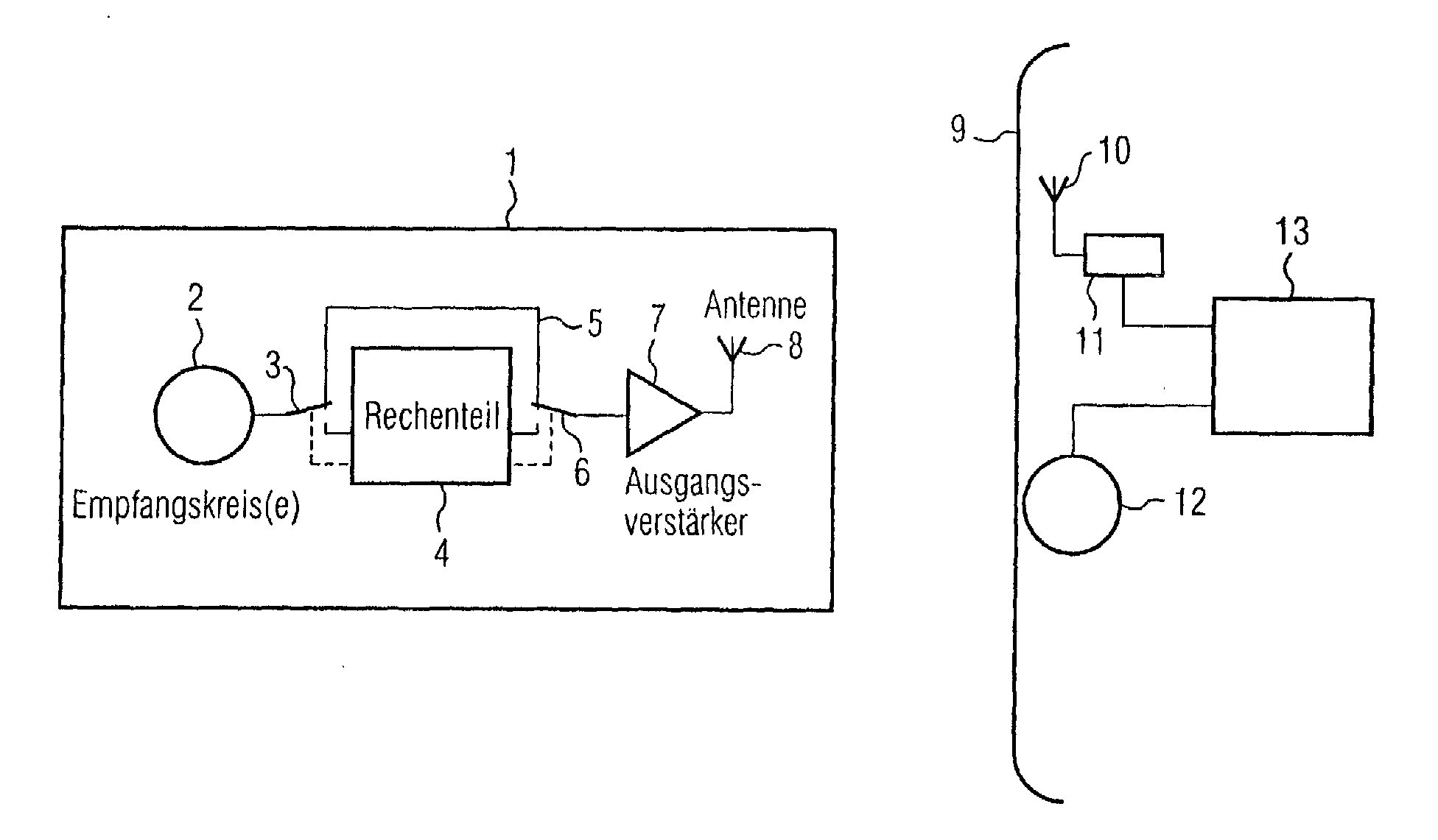
Das fahrzeugseitige Basisstation (14) sendet ein Abfragesignal zum Codegeber (1) aus, von dem Prüfbits durch Umgehung einer Auswerteeinheit unmittelbar zum Kraftfahrzeug zurückgesendet werden. Die Basisstation (14) misst die Zeitdauer zwischen Aussenden und Rückempfangen der Prüfbits und akzeptiert nur ein Antwortsignal des Codegebers (1), wenn die gemessene Zeitdauer kürzer als eine Referenzzeitdauer ist. The vehicle-side base station (14) sends a query signal to the code transmitter (1), from which test bits are sent back to the motor vehicle by bypassing an evaluation unit. The base station (14) measures the time between sending and receiving the test bits and only accepts a response signal from the code transmitter (1) if the measured time is shorter than a reference time.
Applications Claiming Priority (4)
| Application Number | Priority Date | Filing Date | Title |
|---|---|---|---|
| DE19930460 | 1999-07-01 | ||
| DE19930460 | 1999-07-01 | ||
| DE10012110 | 2000-03-13 | ||
| DE10012110 | 2000-03-13 |
Publications (2)
| Publication Number | Publication Date |
|---|---|
| EP1069265A2 EP1069265A2 (en) | 2001-01-17 |
| EP1069265A3 true EP1069265A3 (en) | 2004-01-21 |
Family
ID=26004812
Family Applications (1)
| Application Number | Title | Priority Date | Filing Date |
|---|---|---|---|
| EP00109565A Withdrawn EP1069265A3 (en) | 1999-07-01 | 2000-05-04 | Entry authorisation device and combined entry and user authorisation device |
Country Status (2)
| Country | Link |
|---|---|
| US (1) | US6353776B1 (en) |
| EP (1) | EP1069265A3 (en) |
Families Citing this family (55)
| Publication number | Priority date | Publication date | Assignee | Title |
|---|---|---|---|---|
| DE19957536C2 (en) * | 1999-11-30 | 2003-04-03 | Siemens Ag | Anti-theft system for a motor vehicle and method for operating an anti-theft system |
| EP1261792B1 (en) * | 2000-03-09 | 2012-01-11 | Continental Automotive GmbH | Transmitting and receiving method, especially for detecting an id transmitter |
| DE10114876A1 (en) * | 2001-03-26 | 2002-10-17 | Siemens Ag | Identification system for proving authorization to access or use an object, in particular a motor vehicle |
| US7325250B1 (en) * | 2001-07-09 | 2008-01-29 | Advanced Micro Devices, Inc. | Method and apparatus for preventing radio communication system access by an unauthorized modem |
| JP3941620B2 (en) * | 2001-08-31 | 2007-07-04 | 株式会社デンソーウェーブ | Electronic device with built-in ID tag |
| DE10151034B4 (en) * | 2001-10-16 | 2004-02-05 | Siemens Ag | Anti-theft system, method for operating an anti-theft system and components of an anti-theft system |
| US20030172295A1 (en) * | 2002-03-01 | 2003-09-11 | Onspec Electronics, Inc. | Device and system for allowing secure identification of an individual when accessing information and a method of use |
| EP1378864A1 (en) * | 2002-07-05 | 2004-01-07 | EM Microelectronic-Marin SA | Method for controlling access to a determined space by a personalized portable object, and personalized portable object for carrying out the method |
| JP4178285B2 (en) * | 2002-08-09 | 2008-11-12 | 豊丸産業株式会社 | Game machine |
| JP2004084258A (en) * | 2002-08-26 | 2004-03-18 | Toyomaru Industry Co Ltd | Locking system, game machine, and device control system |
| DE10255880A1 (en) * | 2002-11-29 | 2004-06-09 | Philips Intellectual Property & Standards Gmbh | Electronic communication system and method for detecting a relay attack on the same |
| US20040232228A1 (en) * | 2003-05-20 | 2004-11-25 | Gotfried Bradley L. | Monitoring system |
| US6888445B2 (en) * | 2003-05-20 | 2005-05-03 | Bradley L. Gotfried | Vehicle identification system |
| US6923370B2 (en) * | 2003-05-20 | 2005-08-02 | Bradley L. Gotfried | Access system |
| US7983820B2 (en) * | 2003-07-02 | 2011-07-19 | Caterpillar Inc. | Systems and methods for providing proxy control functions in a work machine |
| US7532640B2 (en) | 2003-07-02 | 2009-05-12 | Caterpillar Inc. | Systems and methods for performing protocol conversions in a machine |
| US7516244B2 (en) * | 2003-07-02 | 2009-04-07 | Caterpillar Inc. | Systems and methods for providing server operations in a work machine |
| US20050005167A1 (en) * | 2003-07-02 | 2005-01-06 | Kelly Thomas J. | Systems and methods for providing security operations in a work machine |
| US20050002354A1 (en) * | 2003-07-02 | 2005-01-06 | Kelly Thomas J. | Systems and methods for providing network communications between work machines |
| US7650509B1 (en) * | 2004-01-28 | 2010-01-19 | Gordon & Howard Associates, Inc. | Encoding data in a password |
| TW200534531A (en) * | 2004-03-30 | 2005-10-16 | Aisin Seiki | Vehicle mounted radio device |
| US20060290473A1 (en) * | 2005-06-27 | 2006-12-28 | Honeywell International Inc. | ID tags with Frequency diversity |
| US20070162626A1 (en) * | 2005-11-02 | 2007-07-12 | Iyer Sree M | System and method for enhancing external storage |
| US20070194881A1 (en) | 2006-02-07 | 2007-08-23 | Schwarz Stanley G | Enforcing payment schedules |
| US7876894B2 (en) * | 2006-11-14 | 2011-01-25 | Mcm Portfolio Llc | Method and system to provide security implementation for storage devices |
| US20080174446A1 (en) * | 2006-11-30 | 2008-07-24 | Lear Corporation | Multi-channel passive vehicle activation system |
| US20080184035A1 (en) * | 2007-01-30 | 2008-07-31 | Technology Properties Limited | System and Method of Storage Device Data Encryption and Data Access |
| US20080181406A1 (en) * | 2007-01-30 | 2008-07-31 | Technology Properties Limited | System and Method of Storage Device Data Encryption and Data Access Via a Hardware Key |
| US20090046858A1 (en) * | 2007-03-21 | 2009-02-19 | Technology Properties Limited | System and Method of Data Encryption and Data Access of a Set of Storage Devices via a Hardware Key |
| US20080288782A1 (en) * | 2007-05-18 | 2008-11-20 | Technology Properties Limited | Method and Apparatus of Providing Security to an External Attachment Device |
| US9026267B2 (en) | 2007-03-09 | 2015-05-05 | Gordon*Howard Associates, Inc. | Methods and systems of selectively enabling a vehicle by way of a portable wireless device |
| JP4394132B2 (en) * | 2007-03-19 | 2010-01-06 | 株式会社日本自動車部品総合研究所 | Electronic key system |
| DE102007022100B4 (en) * | 2007-05-11 | 2009-12-03 | Agco Gmbh | Motor vehicle control unit data transmission system and method |
| US20080288703A1 (en) * | 2007-05-18 | 2008-11-20 | Technology Properties Limited | Method and Apparatus of Providing Power to an External Attachment Device via a Computing Device |
| JP2010011061A (en) * | 2008-06-26 | 2010-01-14 | Nippon Soken Inc | Wireless communication system |
| DE102008050988A1 (en) * | 2008-09-01 | 2010-03-04 | Gerd Reime | Identification element with an optical transponder |
| US8686841B2 (en) | 2008-12-12 | 2014-04-01 | Gordon*Howard Associates, Inc. | Methods and systems related to activating geo-fence boundaries and collecting location data |
| US8018329B2 (en) | 2008-12-12 | 2011-09-13 | Gordon * Howard Associates, Inc. | Automated geo-fence boundary configuration and activation |
| US8581712B2 (en) | 2008-12-12 | 2013-11-12 | Gordon * Howard Associates, Inc . | Methods and systems related to establishing geo-fence boundaries |
| US8659404B2 (en) | 2008-12-12 | 2014-02-25 | Gordon Howard Associates, Inc. | Methods and systems related to establishing geo-fence boundaries and collecting data |
| US8581711B2 (en) | 2011-03-22 | 2013-11-12 | Gordon*Howard Associates, Inc. | Methods and systems of rule-based intoxicating substance testing associated with vehicles |
| US8781900B2 (en) | 2011-09-09 | 2014-07-15 | Gordon*Howard Associates, Inc. | Method and system of providing information to an occupant of a vehicle |
| US9665997B2 (en) | 2013-01-08 | 2017-05-30 | Gordon*Howard Associates, Inc. | Method and system for providing feedback based on driving behavior |
| JP5721754B2 (en) * | 2013-01-28 | 2015-05-20 | オムロンオートモーティブエレクトロニクス株式会社 | Communication system and communication apparatus |
| US9061645B2 (en) | 2013-02-15 | 2015-06-23 | Clever Devices, Ltd | Methods and apparatus for transmission control of a transit vehicle |
| JP6174341B2 (en) * | 2013-03-11 | 2017-08-02 | トヨタ自動車株式会社 | Communication system, tuner, and setting method |
| US8928471B2 (en) | 2013-03-14 | 2015-01-06 | Gordon*Howard Associates, Inc. | Methods and systems related to remote tamper detection |
| US9035756B2 (en) | 2013-03-14 | 2015-05-19 | Gordon*Howard Associates, Inc. | Methods and systems related to remote tamper detection |
| US9840229B2 (en) | 2013-03-14 | 2017-12-12 | Gordon*Howard Associates, Inc. | Methods and systems related to a remote tamper detection |
| US9378480B2 (en) | 2013-03-14 | 2016-06-28 | Gordon*Howard Associates, Inc. | Methods and systems related to asset identification triggered geofencing |
| US9013333B2 (en) | 2013-06-24 | 2015-04-21 | Gordon*Howard Associates, Inc. | Methods and systems related to time triggered geofencing |
| DE102014200116A1 (en) * | 2014-01-08 | 2015-07-09 | Robert Bosch Gmbh | Method and device for enabling functions of a control unit |
| US9701279B1 (en) | 2016-01-12 | 2017-07-11 | Gordon*Howard Associates, Inc. | On board monitoring device |
| WO2018007015A1 (en) * | 2016-07-04 | 2018-01-11 | Sew-Eurodrive Gmbh & Co. Kg | Security device and method for operating a system |
| DE102016215934B4 (en) | 2016-08-24 | 2024-02-29 | Continental Automotive Technologies GmbH | Method and device for determining a transit time and/or a distance between several transceivers, in particular for a vehicle access and/or start system |
Citations (5)
| Publication number | Priority date | Publication date | Assignee | Title |
|---|---|---|---|---|
| EP0673003A1 (en) * | 1994-03-17 | 1995-09-20 | Siemens Aktiengesellschaft | Keyless controlled access device |
| DE19632025A1 (en) * | 1996-08-08 | 1998-04-02 | Daimler Benz Ag | Authentication device with electronic authentication communication |
| EP0983916A1 (en) * | 1998-09-02 | 2000-03-08 | Marquardt GmbH | Locking system, in particular for a motor vehicle |
| EP0992408A2 (en) * | 1998-10-10 | 2000-04-12 | DaimlerChrysler AG | Method to provide access authorization to a motor vehicle |
| WO2001000461A1 (en) * | 1999-06-25 | 2001-01-04 | Marquardt Gmbh | Locking system, especially for a motor vehicle |
Family Cites Families (13)
| Publication number | Priority date | Publication date | Assignee | Title |
|---|---|---|---|---|
| DE610902C (en) * | 1935-03-19 | Karl Julius Gaitzsch | Bird bathing houses for indoor birds | |
| US5787174A (en) * | 1992-06-17 | 1998-07-28 | Micron Technology, Inc. | Remote identification of integrated circuit |
| US5777580A (en) * | 1992-11-18 | 1998-07-07 | Trimble Navigation Limited | Vehicle location system |
| US5629693A (en) * | 1993-11-24 | 1997-05-13 | Trimble Navigation Limited | Clandestine location reporting by a missing vehicle |
| US6181253B1 (en) * | 1993-12-21 | 2001-01-30 | Trimble Navigation Limited | Flexible monitoring of location and motion |
| US5729697A (en) * | 1995-04-24 | 1998-03-17 | International Business Machines Corporation | Intelligent shopping cart |
| US5812065A (en) * | 1995-08-14 | 1998-09-22 | International Business Machines Corporation | Modulation of the resonant frequency of a circuit using an energy field |
| US5828693A (en) * | 1996-03-21 | 1998-10-27 | Amtech Corporation | Spread spectrum frequency hopping reader system |
| DE19615339A1 (en) * | 1996-04-18 | 1997-10-23 | Bayerische Motoren Werke Ag | Individual function adjustment method for vehicle |
| US5929777A (en) * | 1996-05-16 | 1999-07-27 | Mci World Com, Inc. | Radio activated personal infrared distress beacon |
| GB9723743D0 (en) * | 1997-11-12 | 1998-01-07 | Philips Electronics Nv | Battery economising in a communications system |
| US6249227B1 (en) * | 1998-01-05 | 2001-06-19 | Intermec Ip Corp. | RFID integrated in electronic assets |
| US6252544B1 (en) * | 1998-01-27 | 2001-06-26 | Steven M. Hoffberg | Mobile communication device |
-
2000
- 2000-05-04 EP EP00109565A patent/EP1069265A3/en not_active Withdrawn
- 2000-07-03 US US09/609,507 patent/US6353776B1/en not_active Expired - Fee Related
Patent Citations (5)
| Publication number | Priority date | Publication date | Assignee | Title |
|---|---|---|---|---|
| EP0673003A1 (en) * | 1994-03-17 | 1995-09-20 | Siemens Aktiengesellschaft | Keyless controlled access device |
| DE19632025A1 (en) * | 1996-08-08 | 1998-04-02 | Daimler Benz Ag | Authentication device with electronic authentication communication |
| EP0983916A1 (en) * | 1998-09-02 | 2000-03-08 | Marquardt GmbH | Locking system, in particular for a motor vehicle |
| EP0992408A2 (en) * | 1998-10-10 | 2000-04-12 | DaimlerChrysler AG | Method to provide access authorization to a motor vehicle |
| WO2001000461A1 (en) * | 1999-06-25 | 2001-01-04 | Marquardt Gmbh | Locking system, especially for a motor vehicle |
Also Published As
| Publication number | Publication date |
|---|---|
| US6353776B1 (en) | 2002-03-05 |
| EP1069265A2 (en) | 2001-01-17 |
Similar Documents
| Publication | Publication Date | Title |
|---|---|---|
| EP1069265A3 (en) | Entry authorisation device and combined entry and user authorisation device | |
| CA2547810A1 (en) | Improved positive signal comparator and method | |
| FR2815100B1 (en) | ENERGY ABSORPTION DEVICE ON SHOCK, AND MOTOR VEHICLE DOOR COMPRISING SUCH A DEVICE | |
| EP1033585A3 (en) | Electronic distance determination device and security sytem equipped with the device | |
| EP0809216A3 (en) | Data communication device for a vehicle towed by a motor vehicle | |
| EP0980800A3 (en) | Anti-theft protection device for a motor vehicle and method of using such a device | |
| EP1357003A3 (en) | Vehicle engine starting apparatus | |
| WO1998051538A3 (en) | Method for manipulation-proof configuration of a motor vehicle control device and a control device | |
| DE69017905D1 (en) | TICKET PAYMENT SYSTEM FOR MOTOR VEHICLES. | |
| EP1219512A3 (en) | Vehicle positioning apparatus, device, and method | |
| EP1177955A3 (en) | Antitheft device for vehicles | |
| EP0952052A3 (en) | Device for a remote controllable access control device for vehicles | |
| EP1035283A3 (en) | Electronic security arrangement with range determination of an authentication element, especially vehicle locking system | |
| EP1394017A3 (en) | Steering and steering process | |
| EP1298447A3 (en) | GPS receiver module | |
| EP0984124A3 (en) | Electronic key | |
| EP1046976A3 (en) | Method and apparatus for enabling a user to authenticate a system prior to providing any user-privileged information | |
| EP1020335A3 (en) | Authentication method for a substitute key to use a vehicle | |
| FR2656449B1 (en) | METHOD AND DEVICE FOR IDENTIFYING OBJECTS, ESPECIALLY MOTOR VEHICLES. | |
| EP1081000A3 (en) | Security device | |
| EP1372125A3 (en) | Battery system and method for transmitting information regarding the battery capacity | |
| EP0892243A3 (en) | Adapter to affix at least one measuring device or at least one part of a measuring device to a car wheel | |
| EP1108631A3 (en) | Theft protection device | |
| EP1029756A3 (en) | Electronic ignition lock system for a motor vehicle | |
| DE69000865D1 (en) | KEY PLATE, e.g. FOR MOTOR VEHICLE WINGS. |
Legal Events
| Date | Code | Title | Description |
|---|---|---|---|
| PUAI | Public reference made under article 153(3) epc to a published international application that has entered the european phase |
Free format text: ORIGINAL CODE: 0009012 |
|
| AK | Designated contracting states |
Kind code of ref document: A2 Designated state(s): AT BE CH CY DE DK ES FI FR GB GR IE IT LI LU MC NL PT SE |
|
| AX | Request for extension of the european patent |
Free format text: AL;LT;LV;MK;RO;SI |
|
| PUAL | Search report despatched |
Free format text: ORIGINAL CODE: 0009013 |
|
| AK | Designated contracting states |
Kind code of ref document: A3 Designated state(s): AT BE CH CY DE DK ES FI FR GB GR IE IT LI LU MC NL PT SE |
|
| AX | Request for extension of the european patent |
Extension state: AL LT LV MK RO SI |
|
| RIC1 | Information provided on ipc code assigned before grant |
Ipc: 7E 05B 49/00 B Ipc: 7B 60R 25/04 B Ipc: 7G 07C 9/00 A |
|
| 17P | Request for examination filed |
Effective date: 20040719 |
|
| AKX | Designation fees paid |
Designated state(s): DE FR |
|
| STAA | Information on the status of an ep patent application or granted ep patent |
Free format text: STATUS: THE APPLICATION IS DEEMED TO BE WITHDRAWN |
|
| 18D | Application deemed to be withdrawn |
Effective date: 20060322 |
