EP1049289B1 - Public-key signature methods and systems - Google Patents
Public-key signature methods and systems Download PDFInfo
- Publication number
- EP1049289B1 EP1049289B1 EP99401048A EP99401048A EP1049289B1 EP 1049289 B1 EP1049289 B1 EP 1049289B1 EP 99401048 A EP99401048 A EP 99401048A EP 99401048 A EP99401048 A EP 99401048A EP 1049289 B1 EP1049289 B1 EP 1049289B1
- Authority
- EP
- European Patent Office
- Prior art keywords
- variables
- vinegar
- oil
- equations
- scheme
- Prior art date
- Legal status (The legal status is an assumption and is not a legal conclusion. Google has not performed a legal analysis and makes no representation as to the accuracy of the status listed.)
- Expired - Lifetime
Links
- 238000000034 method Methods 0.000 title claims description 50
- 235000021419 vinegar Nutrition 0.000 claims description 114
- 239000000052 vinegar Substances 0.000 claims description 114
- PXFBZOLANLWPMH-UHFFFAOYSA-N 16-Epiaffinine Natural products C1C(C2=CC=CC=C2N2)=C2C(=O)CC2C(=CC)CN(C)C1C2CO PXFBZOLANLWPMH-UHFFFAOYSA-N 0.000 claims description 19
- 230000009466 transformation Effects 0.000 claims description 9
- 239000011159 matrix material Substances 0.000 description 22
- 239000013598 vector Substances 0.000 description 11
- 230000008859 change Effects 0.000 description 10
- 230000008569 process Effects 0.000 description 6
- 238000012795 verification Methods 0.000 description 5
- 230000009467 reduction Effects 0.000 description 4
- 238000004891 communication Methods 0.000 description 2
- 230000001010 compromised effect Effects 0.000 description 2
- 238000010586 diagram Methods 0.000 description 2
- 238000005516 engineering process Methods 0.000 description 2
- 230000006872 improvement Effects 0.000 description 2
- 238000012886 linear function Methods 0.000 description 2
- 238000000926 separation method Methods 0.000 description 2
- 238000000844 transformation Methods 0.000 description 2
- 230000001154 acute effect Effects 0.000 description 1
- 239000000654 additive Substances 0.000 description 1
- 230000000996 additive effect Effects 0.000 description 1
- 244000309464 bull Species 0.000 description 1
- 239000002131 composite material Substances 0.000 description 1
- 238000010276 construction Methods 0.000 description 1
- 230000008094 contradictory effect Effects 0.000 description 1
- 238000013461 design Methods 0.000 description 1
- 238000013507 mapping Methods 0.000 description 1
- 239000000203 mixture Substances 0.000 description 1
- 230000004048 modification Effects 0.000 description 1
- 238000012986 modification Methods 0.000 description 1
- 238000012887 quadratic function Methods 0.000 description 1
- 230000008439 repair process Effects 0.000 description 1
- 238000012360 testing method Methods 0.000 description 1
Images
Classifications
-
- H—ELECTRICITY
- H04—ELECTRIC COMMUNICATION TECHNIQUE
- H04L—TRANSMISSION OF DIGITAL INFORMATION, e.g. TELEGRAPHIC COMMUNICATION
- H04L9/00—Cryptographic mechanisms or cryptographic arrangements for secret or secure communications; Network security protocols
- H04L9/32—Cryptographic mechanisms or cryptographic arrangements for secret or secure communications; Network security protocols including means for verifying the identity or authority of a user of the system or for message authentication, e.g. authorization, entity authentication, data integrity or data verification, non-repudiation, key authentication or verification of credentials
- H04L9/3247—Cryptographic mechanisms or cryptographic arrangements for secret or secure communications; Network security protocols including means for verifying the identity or authority of a user of the system or for message authentication, e.g. authorization, entity authentication, data integrity or data verification, non-repudiation, key authentication or verification of credentials involving digital signatures
-
- H—ELECTRICITY
- H04—ELECTRIC COMMUNICATION TECHNIQUE
- H04L—TRANSMISSION OF DIGITAL INFORMATION, e.g. TELEGRAPHIC COMMUNICATION
- H04L9/00—Cryptographic mechanisms or cryptographic arrangements for secret or secure communications; Network security protocols
- H04L9/30—Public key, i.e. encryption algorithm being computationally infeasible to invert or user's encryption keys not requiring secrecy
- H04L9/3093—Public key, i.e. encryption algorithm being computationally infeasible to invert or user's encryption keys not requiring secrecy involving Lattices or polynomial equations, e.g. NTRU scheme
Definitions
- the present invention generally relates to cryptography, and more particularly to public-key cryptography.
- the set of k multivariable polynomial equations can be written as follows: where P 1 ,..., P K are multi variable polynomials of small total degree, typically, less than or equal to 8, and in many cases, exactly two.
- the C* scheme is described in an article titled "Public Quadratic Polynomial-tuples for Efficient Signature Verification and Message-encryption” in Proceedings of EUROCRYPT'88, Springer-Verlag, pp. 419 - 453.
- the HFE scheme is described in an article titled “Hidden Fields Equations (HFE) and Isomorphisms of Polynomials (IP): Two New Families of Asymmetric Algorithms” in Proceedings of EUROCRYPT'96, Springer-Verlag, pp. 33 - 48.
- HFE Hidden Fields Equations
- IP Isomorphisms of Polynomials
- HFE Hidden Fields Equations
- the present invention seeks to improve security of digital signature cryptographic schemes in which the public-key is given as a set of k multivariable polynomial equations, typically, over a finite mathematical field K. Particularly, the present invention seeks to improve security of the basic form of the "Oil and Vinegar” and the HFE schemes.
- An "Oil and Vinegar” scheme which is modified to improve security according to the present invention is referred to herein as an unbalanced "Oil and Vinegar” (UOV) scheme.
- UOV unbalanced "Oil and Vinegar”
- An HFE scheme which is modified to improve security according to the present invention is referred to herein as an HFEV scheme.
- a set S1 of k polynomial functions is supplied as a public-key.
- the set S1 preferably includes the functions P 1 (x 1 ,...,x n+v , y 1 ,...,y k ),..., P k (x 1 ,...,x n+v , y 1 ,...,y k ), where k, v, and n are integers, x 1 ,...,x n+v are n+v variables of a first type, and y 1 ,...,y k are k variables of a second type.
- the set S 1 is preferably obtained by applying a secret key operation on a set S2 of k polynomial functions P' 1 (a 1 ,...,a n+v ,y 1 ,...,y k ),...,P' k (a 1 ,...,a n+v ,y 1 ,...,y k ) where a 1 ,...,a n+v are n+v variables which include a set of n "oil” variables a 1 ,...,a n , and a set of v "vinegar” variables a n+1 ,...,a n+v .
- the secret key operation may include a secret affine transformation s on the n+v variables a 1 ,...,a n+v .
- a hash function may be applied on the message to produce a series of k values b 1 ,...,b k .
- the series of k values b 1 ,...,b k is preferably substituted for the variables y 1 ,...,y k of the set S2 respectively so as to produce a set S3 of k polynomial functions P" 1 (a 1 ,...,a n+v ),..., P" k (a 1 ,...,a n+v ).
- v values a' n+1 ,...,a' n+v may be selected for the v "vinegar" variables a n+1 ,...,a n+v , either randomly or according to a predetermined selection algorithm.
- the secret key operation may be applied to transform a' 1 ,...,a' n+v to a digital signature e 1 ,...,e n+v .
- the generated digital signature e 1 ,...,e n+v may be verified by a verifier which may include, for example, a computer or a smart card.
- the verifier preferably obtains the signature e 1 ,...,e n+v , the message, the hash function and the public key. Then, the verifier may apply the hash function on the message to produce the series of k values b 1 ,...,b k .
- a digital signature cryptographic method including the steps of supplying a set S1 of k polynomial functions as a public-key, the set S1 including the functions P 1 (x 1 ,...,x n+v , y 1 ,...,y k ),..., P k (x 1 ,...,x n+v , y 1 ,...,y k ), where k, v, and n are integers, x 1 ,...,x n+v are n+v variables of a first type, y 1 ,...,y k are k variables of a second type, and the set S1 is obtained by applying a secret key operation on a set S2 of k polynomial functions P' 1 (a 1 ,...,a n+v ,y 1 ,...,y k ),...,P' k (a 1 ,...,a n+v ,y 1 ,...,...,
- the method also includes the step of verifying the digital signature.
- the secret key operation preferably includes a secret affine transformation s on the n+v variables a 1 ,...,a n+v .
- the set S2 includes the set f(a) of k polynomial functions of the HFEV scheme.
- the set S2 preferably includes an expression including k functions that are derived from a univariate polynomial.
- the univariate polynomial preferably includes a univariate polynomial of degree less than or equal to 100,000.
- the set S2 includes the set S of k polynomial functions of the UOV scheme.
- the supplying step may preferably include the step of selecting the number v of "vinegar” variables to be greater than the number n of "oil” variables.
- v is selected such that q v is greater than 2 32 , where q is the number of elements of a finite field K.
- the supplying step includes the step of obtaining the set S1 from a subset S2' of k polynomial functions of the set S2, the subset S2' being characterized by that all coefficients of components involving any of the y 1 ,...,y k variables in the k polynomial functions P' 1 (a 1 ,...,a n+v ,y 1 ,...,y k ),...,P' k (a 1 ,...,a n+v ,y 1 ,...,y k ) are zero, and the number v of "vinegar" variables is greater than the number n of "oil" variables.
- an improvement of an "Oil and Vinegar” signature method including the step of using more "vinegar” variables than "oil” variables.
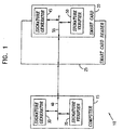
- FIG. 1 is a simplified block diagram illustration of a preferred implementation of a system 10 for generating and verifying a digital signature to a message, the system 10 being constructed and operative in accordance with a preferred embodiment of the present invention.
- the system 10 includes a computer 15, such as a general purpose computer, which communicates with a smart card 20 via a smart card reader 25.
- the computer 15 may preferably include a digital signature generator 30 and a digital signature verifier 35 which may communicate data via a communication bus 40.
- the smart card 20 may preferably include a digital signature generator 45 and a digital signature verifier 50 which may communicate data via a communication bus 55.
- a signer of a message and a receptor of a signed message agree on a public-key which is published, and on a hash function to be used.
- the signer and the receptor may agree to change the hash function.
- a generator of the public-key need not be the signer or the receptor.
- the digital signature verifier 35 may verify a signature generated by one of the digital signature generator 30 and the digital signature generator 45.
- the digital signature verifier 50 may verify a signature generated by one of the digital signature generator 30 and the digital signature generator 45.
- FIG. 2A is a simplified flow chart illustration of a preferred digital signature cryptographic method for generating a digital signature to a message in a first processor (not shown), and to Fig. 2B which is a simplified flow chart illustration of a preferred digital signature cryptographic method for verifying the digital signature of Fig. 2A in a second processor (not shown), the methods of Figs. 2A and 2B being operative in accordance with a preferred embodiment of the present invention.
- Figs. 2A and 2B may be implemented in hardware, in software or in a combination of hardware and software.
- the first processor and the second processor may be identical.
- the method may be implemented by the system 10 of Fig. 1 in which the first processor may be comprised, for example, in the computer 15, and the second processor may be comprised in the smart card 20, or vice versa.
- Fig. 2A and 2B The methods of Fig. 2A and 2B, and applications of the methods of Figs. 2A and 2B are described in Appendix I which is incorporated herein.
- the applications of the methods of Figs. 2A and 2B may be employed to modify the basic form of the "Oil and Vinegar" scheme and the HFE scheme thereby to produce the UOV and the HFEV respectively.
- Appendix I includes an unpublished article by Aviad Kipnis, Jacques Patarin and Louis Goubin submitted for publication by Springer-Verlag in Proceedings of EUROCRYPT' 99 which is scheduled on 2 - 6 May 1999.
- the article included in Appendix I also describes variations of the UOV and the HFEV schemes with small signatures.
- a set S1 of k polynomial functions is preferably supplied as a public-key (step 100) by a generator of the public-key (not shown) which may be, for example, the generator 30 of Fig. 1, the generator 45 of Fig. 1, or an external public-key generator (not shown).
- the set S1 preferably includes the functions P 1 (x 1 ,...,x n+v , y 1 ,...,y k ),..., P k (x 1 ,...,x n+v , y 1 ,...,y k ), where k, v, and n are integers, x 1 ,...,x n+v are n+v variables of a first type, and y 1 ,...,y k are k variables of a second type.
- the set S1 is preferably obtained by applying a secret key operation on a set S2 of k polynomial functions P' 1 (a 1 ,...,a n+v ,y 1 ,...,y k ),...,P' k (a 1 ,...,a n+v ,y 1 ,...,y k ) where a 1 ,...,a n+v are n+v variables which include a set of n "oil” variables a 1 ,...,a n , and a set of v "vinegar” variables a n+1 ,...,a n+v .
- the secret key operation may include a secret affine transformation s on the n+v variables a 1 ,...,a n+v .
- oil variables and “vinegar” variables refer to “oil” variables and “vinegar” variables as defined in the basic form of the “Oil and Vinegar” scheme of Jacques Patarin which is described in the above mentioned article titled “The Oil and Vinegar Signature Scheme” presented at the Dagstuhl Workshop on Cryptography in September 1997.
- a signer may apply a hash function on the message to produce a series of k values b 1 ,...,b k (step 110).
- the signer may be, for example, the generator 30 or the generator 45 of Fig. 1.
- the series of k values b 1 ,...,b k is preferably substituted for the variables y 1 ,...,y k of the set S2 respectively so as to produce a set S3 of k polynomial functions P" 1 (a 1 ,...,a n+v ),..., P" k (a 1 ,...,a n+v ) (step 115).
- v values a' n+1 ,...,a' n+v may be randomly selected for the v "vinegar" variables a n+1 ,...,a n+v (step 120).
- the v values a' n+1 ,...,a' n+v may be selected according to a predetermined selection algorithm.
- the secret key operation may be applied to transform a' 1 ,...,a' n+v to a digital signature e 1 ,...,e n+v (step 130).
- the generated digital signature e 1 ,...,e n+v may be verified according to the method described with reference to Fig. 2B by a verifier of the digital signature (not shown) which may include, for example, the verifier 35 or the verifier 50 of Fig. 1.
- the verifier preferably obtains the signature e 1 ,...,e n+v , the message, the hash function and the public key (step 200). Then, the verifier may apply the hash function on the message to produce the series of k values b 1 ,...,b k (step 205).
- the generation and verification of the digital signature as mentioned above may be used for the UOV by allowing the set S2 to include the set S of k polynomial functions of the UOV scheme as described in Appendix I.
- the generation and verification of the digital signature as mentioned above may be used for the HFEV by allowing the set S2 to include the set f(a) of k polynomial functions of the HFEV scheme as described in Appendix I.
- Figs. 2A and 2B enable obtaining of digital signatures which are typically smaller than digital signatures obtained in conventional number theoretic cryptography schemes, such as the well known RSA scheme.
- the set S1 when the set S2 includes the set S of k polynomial functions of the UOV scheme, the set S1 may be supplied with the number v of "vinegar" variables being selected to be greater than the number n of "oil" variables.
- v may be also selected such that q v is greater than 2 32 , where q is the number of elements of a finite field K over which the sets S1, S2 and S3 are provided.
- the S1 may be obtained from a subset S2' of k polynomial functions of the set S2, the subset S2' being characterized by that all coefficients of components involving any of the y 1 ,...,y k variables in the k polynomial functions P' 1 (a 1 ,...,a n+v ,y 1 ,...,y k ),...,P' k (a 1 ,...,a n+v ,y 1 ,...,y k ) are zero, and the number v of "vinegar" variables is greater than the number n of "oil" variables.
- the number v of "vinegar” variables is chosen to be equal to the number n of "oil” variables.
- Aviad Kipnis who is one of the inventors of the present invention
- Adi Shamir have shown, in the above mentioned Proceedings of CRYPTO 98, Springer, LNCS n°1462, on pages 257 - 266, a cryptanalysis of the basic "Oil and Vinegar” signature scheme which renders the basic "Oil and Vinegar” scheme insecure.
- the basic "Oil and Vinegar” scheme may be shown to be insecure for any number v of "vinegar” variables which is lower than the number n of "oil” variables.
- the UOV scheme is considered secure for values of v which satisfy the inequality q (v-n)-1 x n 4 > 2 40 . It is appreciated that for values of v which are higher than n 2 /2 but less than or equal to n 2 , the UOV is also considered secure, and solving the set S1 is considered to be as difficult as solving a random set of k equations. For values of v which are higher than n 2 , the UOV is believed to be insecure.
- the UOV scheme is considered secure for values of v which are substantially greater than n*(1 + sqrt(3)) and lower than or equal to n 3 /6. It is appreciated that for values of v which are higher than n 3 /6 but lower than or equal to n 3 /2, the UOV is also considered secure, and solving the set S1 is considered to be as difficult as solving a random set of k equations. For values of v which are higher than n 3 /2, and for values of v which are lower than n*(1 + sqrt(3)), the UOV is believed to be insecure.
- the UOV scheme is considered secure for values of v which are substantially greater than n and lower than or equal to n 3 /6. It is appreciated that for values of v which are higher than n 3 /6 but lower than or equal to n 4 , the UOV is also considered secure, and solving the set S1 is considered to be as difficult as solving a random set of k equations. For values of v which are higher than n 4 , and for values of v which are lower than n, the UOV is believed to be insecure.
- the set S2 may include an expression which includes k functions that are derived from a univariate polynomial.
- the univariate polynomial may include a polynomial of degree less than or equal to 100,000 on an extension field of degree n over K.
- n and v be two integers.
- y ( y 1 , ..., y n ).
- the secret key is made of two parts:
- the coefficients ⁇ ijk , ⁇ ijk , ⁇ ij , ⁇ ' ij and ⁇ i are the secret coefficients of these n equations.
- the values a 1 , ..., a n (the "oil” unknowns) and a ' 1 , ..., a ' v (the "vinegar” unknowns) lie in K . Note that these equations ( S ) contain no terms in a i a j .
- Each value y i , 1 ⁇ i ⁇ n can be written as a polynomial P i of total degree two in the x j unknowns, 1 ⁇ j ⁇ n + v .
- a signature x of y is valid if and only if all the ( P ) are satisfied. As a result, no secret is needed to check whether a signature is valid: this is an asymmetric signature scheme.
- Definition 3.1 We define the oil subspace to be the linear subspace of all vectors in K 2 n whose second half contains only zeros.
- Definition 3.2 We define the vinegar subspace as the linear subspace of all vectors in K 2 n whose first half contains only zeros.
- E and F be a 2 n x 2 n matrices with an upper left zero n ⁇ n submatrix. If F is invertible then the oil subspace is an invariant subspace of EF -1 .
- Theorem 3.1 O is a common invariant subspace of all the matrices G ij .
- the two inner matrices have the form of E and F in lemma 1. Therefore, the oil subspace is an invariant subspace of the inner term and O is an invariant subspace of G i G -1 / j .
- the problem of finding common invariant subspace of set of matrices is studied in [5]. Applying the algorithms in [5] gives us O .
- Lemma 1 is not true any more when v > n .
- the oil subspace is still mapped by E and F into the vinegar subspace.
- F -1 does not necessary maps the image by E of the oil subspace back into the oil subspace and this is why the cryptanalysis of the original oil and vinegar is not valid for the unbalanced case. This corresponds to the fact that, if the submatrix of zeros in the top left corner of F is smaller than n ⁇ n , then F -1 does not have (in general) a submatrix of zeros in the bottom right corner. For example:
- Definition 4.1 We define in this section the oil subspace to be the linear subspace of all vectors in K n + v whose last v coordinates are only zeros.
- the vinegar subspace to be the linear subspace of all vectors in K n + v whose first n coordinates are only zeros.
- the matrices G i have the representation where the upper left matrix is the n ⁇ n zero matrix, A i is a n ⁇ v matrix, B i is a v ⁇ n matrix, C i is a v ⁇ v matrix and S is a ( n + v ) ⁇ ( n + v ) invertible linear matrix.
- I 1 is a subspace with dimension not less than n - d and is mapped by FE -1 / k into a subspace with dimension n .
- the probability for a non zero vector to be mapped to a non zero multiple of itself is q -1 / q n -1.
- To get the expected value we multiply it by the number of non zero vectors in I 1 . It gives a value which is not less than ( q -1)( q n - d -1) / q n -1.
- the inner term is an invariant subspace of the oil subspace with the required probability. Therefore, the same will hold for FG -1 / k , but instead of a subspace of the oil subspace, we get a subspace of O .
- ( A ) be a random set of n quadratic equations in ( n + v ) variables x 1 , ..., x n + v . (By "random” we mean that the coefficients of these equations are uniformly and randomly chosen).
- ( B ) has a very special shape ! This is why there is a polynomial algorithm for 99% of the equations without contradicting the fact that solving these sets ( B ) of equations is a NP-hard problem.
- the main idea of the algorithrn consists in using a change of variables such as: whose ⁇ i , j coefficients (for 1 ⁇ i ⁇ n , 1 ⁇ j ⁇ n + v ) are found step by step, in order that the resulting system ( S ') (written with respect to these new variables y 1 , ..., y n+v ) is easy to solve.
- n vectors are very likely to be linearly independent for a random quadratic system ( S ).
- the remaining ⁇ i , j constants i.e . those with n + 1 ⁇ i ⁇ n + v and 1 ⁇ j ⁇ n + 1) are randomly chosen, so as to obtain a bijective change of variables.
- a 1 , ..., a n be n elements of K , called the "oil” unknowns.
- the secret key is made of two parts:
- Each value y i , 1 ⁇ i ⁇ n can be written as a polynomial P i of total degree three in the x j unknowns, 1 ⁇ j ⁇ n + v .
- P the set of the following n equations:
- Step 1 We randomly choose the v vinegar unknowns a ' i , and then we compute the a i unknowns from ( S ) by Gaussian reductions (because - since there are no a i a j terms - the ( S ) equations are affine in the a i unknowns when the a ' i are fixed. (If we find no solution for this affine system of n equations and n "oil” unknowns, we just try again with new random "vinegar” unknowns.)
- a signature x of y is valid if and only if all the ( P ) are satisfied.
- the cryptanalyst can specify about n - 1 of the coordinates d k of d , since the vectorial space of the correct d is of dimension n . It remains thus to solve n ⁇ ( n + v ) quadratic equations in ( v +1) unknowns d j .
- v is not too large (typically when ( v +1) 2 / 2 ⁇ n ( n + v ), i . e . when v ⁇ (1 + 3 ) n ), this is expected to be easy.
- is odd, this gives a simple way to break the scheme.
- this convention can be that the linear terms of L in the equation number i (1 ⁇ i ⁇ n ) are computed from Hash( i ⁇ Id ) (or from Hash( i ⁇ P )), where Hash is a public hash function and where Id is the identity of the owner of the secret key.
- the signature scheme is the one of section 2.
- the length of the public key is approximately n ⁇ ( (n+v) 2 / 2) bits. This gives here a huge value: approximately 1.1 Mbytes (or 2 Mbytes) !
- the length of the secret key (the s matrix) is approximately ( n + v ) 2 bits, i.e. approximately 18 Kbytes.
- this secret key can always be generated from a small secret seed of, say, 64 bits.
- the signature scheme is the one section 8.
- the length of the public key is 144 Kbytes (or 256 Kbytes).
- the signature scheme is the one section 8.
- the length of the public key is 9 Kbytes (or 16 Kbytes).
- s is a secret affine bijection of F 16 such that all its coefficients lie in F 2 .
- the secret quadratic coefficients are also chosen in F 2 , so that the public functions P i , 1 ⁇ i ⁇ n , are n quadratic equations in ( n + v ) unknowns of F 16 , with coefficients in F 2 .
- the signature scheme is still the one of section 8
- the length of the public key is 2.2 Kbytes (or 4 Kbytes).
- n ⁇ 16 in order to avoid Gröbner bases algorithms to find a solution x
- q n ⁇ 2 64 in order to avoid exhaustive search on x .
Landscapes
- Engineering & Computer Science (AREA)
- Computer Security & Cryptography (AREA)
- Signal Processing (AREA)
- Computer Networks & Wireless Communication (AREA)
- Mathematical Optimization (AREA)
- General Physics & Mathematics (AREA)
- Pure & Applied Mathematics (AREA)
- Physics & Mathematics (AREA)
- Computing Systems (AREA)
- Theoretical Computer Science (AREA)
- Mathematical Analysis (AREA)
- Mathematical Physics (AREA)
- Algebra (AREA)
- Complex Calculations (AREA)
- Management, Administration, Business Operations System, And Electronic Commerce (AREA)
- Mobile Radio Communication Systems (AREA)
- Information Retrieval, Db Structures And Fs Structures Therefor (AREA)
- Storage Device Security (AREA)
Priority Applications (13)
| Application Number | Priority Date | Filing Date | Title |
|---|---|---|---|
| EP99401048A EP1049289B1 (en) | 1999-04-29 | 1999-04-29 | Public-key signature methods and systems |
| ES99401048T ES2230814T3 (es) | 1999-04-29 | 1999-04-29 | Metodos y sistemas de firma de clave publica. |
| DE69920875T DE69920875T2 (de) | 1999-04-29 | 1999-04-29 | Vorrichtung und Verfahren zum Berechnen einer digitalen Unterschrift |
| DK99401048T DK1049289T3 (da) | 1999-04-29 | 1999-04-29 | Offentlig nögle underskriftfremgangsmåde og -systemer |
| IL135647A IL135647A (en) | 1999-04-29 | 2000-04-13 | Public-key signature methods and systems |
| US09/552,115 US7100051B1 (en) | 1999-04-29 | 2000-04-19 | Public-key signature methods and systems |
| HK02100489.6A HK1039004B (zh) | 1999-04-29 | 2000-04-28 | 公共密钥签字的方法和系统 |
| AU46028/00A AU774346B2 (en) | 1999-04-29 | 2000-04-28 | Public-key signature methods and systems |
| CNB008010382A CN1285191C (zh) | 1999-04-29 | 2000-04-28 | 公共密钥签字的方法和系统 |
| BRPI0006085A BRPI0006085B1 (pt) | 1999-04-29 | 2000-04-28 | sistemas e métodos de assinatura de chave pública |
| PCT/IB2000/000692 WO2000067423A1 (en) | 1999-04-29 | 2000-04-28 | Public-key signature methods and systems |
| JP2000616162A JP4183387B2 (ja) | 1999-04-29 | 2000-04-28 | 公開鍵を署名する方法とシステム |
| JP2005114430A JP2005253107A (ja) | 1999-04-29 | 2005-04-12 | 公開鍵を署名する方法とシステム |
Applications Claiming Priority (1)
| Application Number | Priority Date | Filing Date | Title |
|---|---|---|---|
| EP99401048A EP1049289B1 (en) | 1999-04-29 | 1999-04-29 | Public-key signature methods and systems |
Publications (2)
| Publication Number | Publication Date |
|---|---|
| EP1049289A1 EP1049289A1 (en) | 2000-11-02 |
| EP1049289B1 true EP1049289B1 (en) | 2004-10-06 |
Family
ID=8241961
Family Applications (1)
| Application Number | Title | Priority Date | Filing Date |
|---|---|---|---|
| EP99401048A Expired - Lifetime EP1049289B1 (en) | 1999-04-29 | 1999-04-29 | Public-key signature methods and systems |
Country Status (12)
| Country | Link |
|---|---|
| US (1) | US7100051B1 (enExample) |
| EP (1) | EP1049289B1 (enExample) |
| JP (2) | JP4183387B2 (enExample) |
| CN (1) | CN1285191C (enExample) |
| AU (1) | AU774346B2 (enExample) |
| BR (1) | BRPI0006085B1 (enExample) |
| DE (1) | DE69920875T2 (enExample) |
| DK (1) | DK1049289T3 (enExample) |
| ES (1) | ES2230814T3 (enExample) |
| HK (1) | HK1039004B (enExample) |
| IL (1) | IL135647A (enExample) |
| WO (1) | WO2000067423A1 (enExample) |
Families Citing this family (31)
| Publication number | Priority date | Publication date | Assignee | Title |
|---|---|---|---|---|
| FR2810139B1 (fr) * | 2000-06-08 | 2002-08-23 | Bull Cp8 | Procede de securisation de la phase de pre-initialisation d'un systeme embarque a puce electronique, notamment d'une carte a puce, et systeme embarque mettant en oeuvre le procede |
| WO2002084590A1 (en) * | 2001-04-11 | 2002-10-24 | Applied Minds, Inc. | Knowledge web |
| US7844610B2 (en) * | 2003-12-12 | 2010-11-30 | Google Inc. | Delegated authority evaluation system |
| US20030195834A1 (en) * | 2002-04-10 | 2003-10-16 | Hillis W. Daniel | Automated online purchasing system |
| US20030196094A1 (en) * | 2002-04-10 | 2003-10-16 | Hillis W. Daniel | Method and apparatus for authenticating the content of a distributed database |
| US8069175B2 (en) * | 2002-04-10 | 2011-11-29 | Google Inc. | Delegating authority to evaluate content |
| US7600118B2 (en) * | 2002-09-27 | 2009-10-06 | Intel Corporation | Method and apparatus for augmenting authentication in a cryptographic system |
| US7765206B2 (en) | 2002-12-13 | 2010-07-27 | Metaweb Technologies, Inc. | Meta-Web |
| US8012025B2 (en) * | 2002-12-13 | 2011-09-06 | Applied Minds, Llc | Video game controller hub with control input reduction and combination schemes |
| US20050131918A1 (en) * | 2003-12-12 | 2005-06-16 | W. Daniel Hillis | Personalized profile for evaluating content |
| US7961876B2 (en) * | 2005-01-11 | 2011-06-14 | Jintai Ding | Method to produce new multivariate public key cryptosystems |
| CN1870499B (zh) * | 2005-01-11 | 2012-01-04 | 丁津泰 | 产生新的多变量公钥密码系统的方法 |
| WO2007057610A1 (fr) * | 2005-11-18 | 2007-05-24 | France Telecom | Systeme et procede cryptographique d'authentification ou de signature |
| FR2916317B1 (fr) * | 2007-05-15 | 2009-08-07 | Sagem Defense Securite | Protection d'execution d'un calcul cryptographique |
| CN101321059B (zh) * | 2007-06-07 | 2011-02-16 | 管海明 | 一种用于编码和译码数字消息的方法和系统 |
| FR2918525A1 (fr) | 2007-07-06 | 2009-01-09 | France Telecom | Procede asymetrique de chiffrement ou de verification de signature. |
| CN101227286B (zh) * | 2008-01-31 | 2010-04-14 | 北京飞天诚信科技有限公司 | 一种生成消息认证码的方法 |
| WO2011033642A1 (ja) * | 2009-09-17 | 2011-03-24 | 株式会社 東芝 | 署名生成装置及び署名検証装置 |
| JP2011107528A (ja) * | 2009-11-19 | 2011-06-02 | Sony Corp | 情報処理装置、鍵生成装置、署名検証装置、情報処理方法、署名生成方法、及びプログラム |
| IL205803A0 (en) | 2010-05-16 | 2010-12-30 | Yaron Sella | Collision-based signature scheme |
| IL206139A0 (en) | 2010-06-02 | 2010-12-30 | Yaron Sella | Efficient multivariate signature generation |
| IL207918A0 (en) | 2010-09-01 | 2011-01-31 | Aviad Kipnis | Attack-resistant multivariate signature scheme |
| JP5790287B2 (ja) * | 2011-08-12 | 2015-10-07 | ソニー株式会社 | 情報処理装置、情報処理方法、プログラム、及び記録媒体 |
| CN105359455A (zh) * | 2013-07-12 | 2016-02-24 | 皇家飞利浦有限公司 | 电子签名系统 |
| CN103457726B (zh) * | 2013-08-26 | 2016-12-28 | 华南理工大学 | 基于矩阵的多变量公钥加密方法 |
| CN103780383B (zh) * | 2014-01-13 | 2017-05-31 | 华南理工大学 | 一种基于超球面的多变量公钥签名/验证系统及方法 |
| CN104009848B (zh) * | 2014-05-26 | 2017-09-29 | 华南理工大学 | 一种混合型的多变量数字签名系统及方法 |
| CN105245343B (zh) * | 2015-09-22 | 2018-09-14 | 华南理工大学 | 一种基于多变量密码技术的在线离线签名系统及方法 |
| US11030618B1 (en) | 2016-09-30 | 2021-06-08 | Winkk, Inc. | Authentication and personal data sharing for partner services using out-of-band optical mark recognition |
| JP7322763B2 (ja) * | 2020-03-13 | 2023-08-08 | 日本電信電話株式会社 | 鍵生成装置、鍵生成方法及びプログラム |
| US12395353B2 (en) * | 2022-09-21 | 2025-08-19 | Winkk, Inc. | Authentication process with an exposed and unregistered public certificate |
Family Cites Families (6)
| Publication number | Priority date | Publication date | Assignee | Title |
|---|---|---|---|---|
| NZ240019A (en) * | 1991-09-30 | 1996-04-26 | Peter John Smith | Public key encrypted communication with non-multiplicative cipher |
| US5263085A (en) | 1992-11-13 | 1993-11-16 | Yeda Research & Development Co. Ltd. | Fast signature scheme based on sequentially linearized equations |
| US5375170A (en) | 1992-11-13 | 1994-12-20 | Yeda Research & Development Co., Ltd. | Efficient signature scheme based on birational permutations |
| FR2737370B1 (fr) * | 1995-07-27 | 1997-08-22 | Bull Cp8 | Procede de communication cryptographique |
| FR2744309B1 (fr) * | 1996-01-26 | 1998-03-06 | Bull Cp8 | Procede de communicatin cryptographique asymetrique, et objet portatif associe |
| US6076163A (en) * | 1997-10-20 | 2000-06-13 | Rsa Security Inc. | Secure user identification based on constrained polynomials |
-
1999
- 1999-04-29 DE DE69920875T patent/DE69920875T2/de not_active Expired - Lifetime
- 1999-04-29 DK DK99401048T patent/DK1049289T3/da active
- 1999-04-29 EP EP99401048A patent/EP1049289B1/en not_active Expired - Lifetime
- 1999-04-29 ES ES99401048T patent/ES2230814T3/es not_active Expired - Lifetime
-
2000
- 2000-04-13 IL IL135647A patent/IL135647A/en not_active IP Right Cessation
- 2000-04-19 US US09/552,115 patent/US7100051B1/en not_active Expired - Lifetime
- 2000-04-28 JP JP2000616162A patent/JP4183387B2/ja not_active Expired - Lifetime
- 2000-04-28 HK HK02100489.6A patent/HK1039004B/zh not_active IP Right Cessation
- 2000-04-28 BR BRPI0006085A patent/BRPI0006085B1/pt active IP Right Grant
- 2000-04-28 CN CNB008010382A patent/CN1285191C/zh not_active Expired - Lifetime
- 2000-04-28 AU AU46028/00A patent/AU774346B2/en not_active Expired
- 2000-04-28 WO PCT/IB2000/000692 patent/WO2000067423A1/en not_active Ceased
-
2005
- 2005-04-12 JP JP2005114430A patent/JP2005253107A/ja active Pending
Also Published As
| Publication number | Publication date |
|---|---|
| IL135647A0 (en) | 2001-05-20 |
| BRPI0006085B1 (pt) | 2016-05-10 |
| IL135647A (en) | 2010-11-30 |
| WO2000067423A1 (en) | 2000-11-09 |
| DK1049289T3 (da) | 2005-02-14 |
| EP1049289A1 (en) | 2000-11-02 |
| AU4602800A (en) | 2000-11-17 |
| AU774346B2 (en) | 2004-06-24 |
| ES2230814T3 (es) | 2005-05-01 |
| US7100051B1 (en) | 2006-08-29 |
| BR0006085A (pt) | 2001-03-20 |
| HK1039004A1 (en) | 2002-04-04 |
| DE69920875D1 (de) | 2004-11-11 |
| CN1285191C (zh) | 2006-11-15 |
| CN1314040A (zh) | 2001-09-19 |
| JP4183387B2 (ja) | 2008-11-19 |
| DE69920875T2 (de) | 2005-10-27 |
| JP2002543478A (ja) | 2002-12-17 |
| JP2005253107A (ja) | 2005-09-15 |
| HK1039004B (zh) | 2007-05-04 |
Similar Documents
| Publication | Publication Date | Title |
|---|---|---|
| EP1049289B1 (en) | Public-key signature methods and systems | |
| Kipnis et al. | Unbalanced oil and vinegar signature schemes | |
| Patarin et al. | C−+* and HM: Variations around two schemes of T. Matsumoto and H. Imai | |
| Courtois et al. | Algebraic cryptanalysis of the data encryption standard | |
| Patarin et al. | QUARTZ, 128-Bit Long Digital Signatures: http://www. minrank. org/quartz | |
| Benhamouda et al. | CCA-secure inner-product functional encryption from projective hash functions | |
| Masuda et al. | Chaotic block ciphers: from theory to practical algorithms | |
| Galbraith | Elliptic curve Paillier schemes | |
| EP2873186B1 (en) | Method and system for homomorphicly randomizing an input | |
| EP2591570B1 (en) | Attack-resistant multivariate signature scheme | |
| Ding et al. | Cryptanalysis of HFEv and internal perturbation of HFE | |
| US8958560B2 (en) | Efficient multivariate signature generation | |
| EP2966802A1 (en) | Method for ciphering and deciphering digital data, based on an identity, in a multi-authorities context | |
| US5790675A (en) | Cryptographic communication process | |
| WO1993003562A1 (en) | Digital signature algorithm | |
| US6088798A (en) | Digital signature method using an elliptic curve, a digital signature system, and a program storage medium having the digital signature method stored therein | |
| US20130073855A1 (en) | Collision Based Multivariate Signature Scheme | |
| US9356783B2 (en) | Method for ciphering and deciphering, corresponding electronic device and computer program product | |
| KR19980703470A (ko) | 비대칭 암호 통신방법 및 이와 관련된 포터블 객체 | |
| CN111712816B (zh) | 使用密码蒙蔽以用于高效地使用蒙哥马利乘法 | |
| Hakuta et al. | Batch verification suitable for efficiently verifying a limited number of signatures | |
| Park et al. | On the security of reduced versions of 3-pass HAVAL | |
| Cheon et al. | A cryptanalysis of the original Domingo-Ferrer's algebraic privacy homomophism | |
| Smith-Tone | Properties of the discrete differential with cryptographic applications | |
| Barthe et al. | A machine-checked formalization of the random oracle model |
Legal Events
| Date | Code | Title | Description |
|---|---|---|---|
| PUAI | Public reference made under article 153(3) epc to a published international application that has entered the european phase |
Free format text: ORIGINAL CODE: 0009012 |
|
| AK | Designated contracting states |
Kind code of ref document: A1 Designated state(s): BE CH DE DK ES FR GB IT LI NL SE |
|
| AX | Request for extension of the european patent |
Free format text: AL;LT;LV;MK;RO;SI |
|
| 17P | Request for examination filed |
Effective date: 20010421 |
|
| AKX | Designation fees paid |
Free format text: BE CH DE DK ES FR GB IT LI NL SE |
|
| 17Q | First examination report despatched |
Effective date: 20030911 |
|
| GRAP | Despatch of communication of intention to grant a patent |
Free format text: ORIGINAL CODE: EPIDOSNIGR1 |
|
| RAP1 | Party data changed (applicant data changed or rights of an application transferred) |
Owner name: NDS LIMITED Owner name: BULL CP8 |
|
| RIN1 | Information on inventor provided before grant (corrected) |
Inventor name: GOUBIN, LOUIS Inventor name: KIPNIS, AVIAD Inventor name: PATARIN, JACQUES |
|
| GRAS | Grant fee paid |
Free format text: ORIGINAL CODE: EPIDOSNIGR3 |
|
| GRAA | (expected) grant |
Free format text: ORIGINAL CODE: 0009210 |
|
| RAP1 | Party data changed (applicant data changed or rights of an application transferred) |
Owner name: NDS LIMITED Owner name: BULL CP8 |
|
| AK | Designated contracting states |
Kind code of ref document: B1 Designated state(s): BE CH DE DK ES FR GB IT LI NL SE |
|
| REG | Reference to a national code |
Ref country code: GB Ref legal event code: FG4D |
|
| REG | Reference to a national code |
Ref country code: CH Ref legal event code: EP |
|
| REF | Corresponds to: |
Ref document number: 69920875 Country of ref document: DE Date of ref document: 20041111 Kind code of ref document: P |
|
| REG | Reference to a national code |
Ref country code: CH Ref legal event code: NV Representative=s name: ISLER & PEDRAZZINI AG |
|
| REG | Reference to a national code |
Ref country code: SE Ref legal event code: TRGR |
|
| REG | Reference to a national code |
Ref country code: DK Ref legal event code: T3 |
|
| RAP2 | Party data changed (patent owner data changed or rights of a patent transferred) |
Owner name: NDS LIMITED Owner name: CP8 TECHNOLOGIES |
|
| RAP2 | Party data changed (patent owner data changed or rights of a patent transferred) |
Owner name: NDS LIMITED Owner name: CP8 TECHNOLOGIES |
|
| REG | Reference to a national code |
Ref country code: ES Ref legal event code: FG2A Ref document number: 2230814 Country of ref document: ES Kind code of ref document: T3 |
|
| NLT2 | Nl: modifications (of names), taken from the european patent patent bulletin |
Owner name: CP8 TECHNOLOGIES EN NDS LIMITED |
|
| NLT2 | Nl: modifications (of names), taken from the european patent patent bulletin |
Owner name: CP8 TECHNOLOGIES EN NDS LIMITED |
|
| PLBE | No opposition filed within time limit |
Free format text: ORIGINAL CODE: 0009261 |
|
| STAA | Information on the status of an ep patent application or granted ep patent |
Free format text: STATUS: NO OPPOSITION FILED WITHIN TIME LIMIT |
|
| ET | Fr: translation filed | ||
| NLS | Nl: assignments of ep-patents |
Owner name: NDS LIMITED Effective date: 20050608 Owner name: CP8 TECHNOLOGIES Effective date: 20050608 |
|
| 26N | No opposition filed |
Effective date: 20050707 |
|
| REG | Reference to a national code |
Ref country code: CH Ref legal event code: PCAR Free format text: ISLER & PEDRAZZINI AG;POSTFACH 1772;8027 ZUERICH (CH) |
|
| REG | Reference to a national code |
Ref country code: FR Ref legal event code: PLFP Year of fee payment: 17 |
|
| REG | Reference to a national code |
Ref country code: FR Ref legal event code: PLFP Year of fee payment: 18 |
|
| REG | Reference to a national code |
Ref country code: FR Ref legal event code: PLFP Year of fee payment: 19 |
|
| REG | Reference to a national code |
Ref country code: FR Ref legal event code: PLFP Year of fee payment: 20 |
|
| PGFP | Annual fee paid to national office [announced via postgrant information from national office to epo] |
Ref country code: GB Payment date: 20180321 Year of fee payment: 20 Ref country code: CH Payment date: 20180326 Year of fee payment: 20 Ref country code: NL Payment date: 20180326 Year of fee payment: 20 Ref country code: DK Payment date: 20180322 Year of fee payment: 20 |
|
| PGFP | Annual fee paid to national office [announced via postgrant information from national office to epo] |
Ref country code: SE Payment date: 20180326 Year of fee payment: 20 Ref country code: BE Payment date: 20180323 Year of fee payment: 20 Ref country code: FR Payment date: 20180322 Year of fee payment: 20 Ref country code: IT Payment date: 20180326 Year of fee payment: 20 |
|
| PGFP | Annual fee paid to national office [announced via postgrant information from national office to epo] |
Ref country code: ES Payment date: 20180504 Year of fee payment: 20 Ref country code: DE Payment date: 20180320 Year of fee payment: 20 |
|
| REG | Reference to a national code |
Ref country code: ES Ref legal event code: PC2A Owner name: ACANO (UK) LIMITED Effective date: 20181022 |
|
| REG | Reference to a national code |
Ref country code: CH Ref legal event code: PUE Owner name: ACANO (UK) LIMITED, GB Free format text: FORMER OWNER: NDS LIMITED, GB |
|
| REG | Reference to a national code |
Ref country code: BE Ref legal event code: PD Owner name: ACANO (UK) LIMITED; GB Free format text: DETAILS ASSIGNMENT: CHANGE OF OWNER(S), CESSION; FORMER OWNER NAME: NDS LIMITED Effective date: 20181018 |
|
| REG | Reference to a national code |
Ref country code: DE Ref legal event code: R082 Ref document number: 69920875 Country of ref document: DE Representative=s name: GRAF VON STOSCH PATENTANWALTSGESELLSCHAFT MBH, DE Ref country code: DE Ref legal event code: R081 Ref document number: 69920875 Country of ref document: DE Owner name: ACANO (UK) LTD., GB Free format text: FORMER OWNERS: CP8 TECHNOLOGIES, LOUVECIENNES, FR; NDS LTD., WEST DRAYTON, MIDDLESEX, GB |
|
| REG | Reference to a national code |
Ref country code: NL Ref legal event code: PD Owner name: ACANO (UK) LIMITED; GB Free format text: DETAILS ASSIGNMENT: CHANGE OF OWNER(S), ASSIGNMENT; FORMER OWNER NAME: NDS LIMITED Effective date: 20181023 |
|
| REG | Reference to a national code |
Ref country code: DE Ref legal event code: R071 Ref document number: 69920875 Country of ref document: DE |
|
| REG | Reference to a national code |
Ref country code: NL Ref legal event code: MK Effective date: 20190428 |
|
| REG | Reference to a national code |
Ref country code: DK Ref legal event code: EUP Effective date: 20190429 |
|
| REG | Reference to a national code |
Ref country code: CH Ref legal event code: PL Ref country code: GB Ref legal event code: PE20 Expiry date: 20190428 |
|
| REG | Reference to a national code |
Ref country code: SE Ref legal event code: EUG |
|
| REG | Reference to a national code |
Ref country code: BE Ref legal event code: MK Effective date: 20190429 |
|
| PG25 | Lapsed in a contracting state [announced via postgrant information from national office to epo] |
Ref country code: GB Free format text: LAPSE BECAUSE OF EXPIRATION OF PROTECTION Effective date: 20190428 |
|
| REG | Reference to a national code |
Ref country code: ES Ref legal event code: FD2A Effective date: 20200806 |
|
| PG25 | Lapsed in a contracting state [announced via postgrant information from national office to epo] |
Ref country code: ES Free format text: LAPSE BECAUSE OF EXPIRATION OF PROTECTION Effective date: 20190430 |