EP0984375A2 - Information providing apparatus linking map and personal information by means of post code - Google Patents

Information providing apparatus linking map and personal information by means of post code Download PDF

Info

Publication number
EP0984375A2
EP0984375A2 EP99117202A EP99117202A EP0984375A2 EP 0984375 A2 EP0984375 A2 EP 0984375A2 EP 99117202 A EP99117202 A EP 99117202A EP 99117202 A EP99117202 A EP 99117202A EP 0984375 A2 EP0984375 A2 EP 0984375A2
Authority
EP
European Patent Office
Prior art keywords
post code
personal information
display scale
map image
storing portion
Prior art date
Legal status (The legal status is an assumption and is not a legal conclusion. Google has not performed a legal analysis and makes no representation as to the accuracy of the status listed.)
Withdrawn
Application number
EP99117202A
Other languages
German (de)
French (fr)
Other versions
EP0984375A3 (en
Inventor
Takashi Nishida
Toshio Isoe
Current Assignee (The listed assignees may be inaccurate. Google has not performed a legal analysis and makes no representation or warranty as to the accuracy of the list.)
Sharp Corp
Original Assignee
Sharp Corp
Priority date (The priority date is an assumption and is not a legal conclusion. Google has not performed a legal analysis and makes no representation as to the accuracy of the date listed.)
Filing date
Publication date
Application filed by Sharp Corp filed Critical Sharp Corp
Publication of EP0984375A2 publication Critical patent/EP0984375A2/en
Publication of EP0984375A3 publication Critical patent/EP0984375A3/en
Withdrawn legal-status Critical Current

Links

Images

Classifications

    • GPHYSICS
    • G06COMPUTING OR CALCULATING; COUNTING
    • G06QINFORMATION AND COMMUNICATION TECHNOLOGY [ICT] SPECIALLY ADAPTED FOR ADMINISTRATIVE, COMMERCIAL, FINANCIAL, MANAGERIAL OR SUPERVISORY PURPOSES; SYSTEMS OR METHODS SPECIALLY ADAPTED FOR ADMINISTRATIVE, COMMERCIAL, FINANCIAL, MANAGERIAL OR SUPERVISORY PURPOSES, NOT OTHERWISE PROVIDED FOR
    • G06Q99/00Subject matter not provided for in other groups of this subclass

Definitions

  • the present invention relates to information providing apparatuses which can display maps and personal information. More particularly, the present invention relates to an information providing apparatus which links a map and personal information by means of a post code.
  • One of conventional methods for displaying a map in connection with a post code is a location searching apparatus disclosed in Japanese Patent Laying-Open No. 7-44100.
  • the location searching apparatus post codes are assigned to regions and zones, and the map images of regions or zones corresponding to input post codes are displayed.
  • inputting a post code is necessary to display the map of a location corresponding to personal information.
  • each map of a location corresponding to personal information can be displayed on a different display scale.
  • the present invention was made to solve the problems above, and its object is to provide an information providing apparatus capable of easily obtaining information on a displayed location.
  • Another object of the present invention is to provide an information providing apparatus capable of easily displaying the map of a location corresponding to personal information while multiple pieces of personal information are referred to.
  • Still another object of the present invention is to provide an information providing apparatus capable of displaying the map of a location corresponding personal information on a suitable display scale while multiple pieces of personal information are referred to.
  • An information providing apparatus includes an address book storing portion storing personal information including a post code, a regional post code storing portion storing a map image and a post code related to a position on the map image, an input/output portion displaying a map image and personal information and outputting the coordinates of an indicated displayed location, and a central control portion connected to the address book storing portion, the regional post code storing portion and the input/output portion, finding a post code related to a designated position on a map image according to an output of the input/output portion, and displaying personal information including the found post code on the input/output portion.
  • An information providing apparatus includes an address book storing portion storing personal information including a post code, a regional post code storing portion storing a map image and a post code related to a position on the map image, an input/output portion displaying a map image and personal information and outputting the coordinates of an indicated displayed location, and a central control portion connected to the address book storing portion, the regional post code storing portion and the input/output portion, extracting a post code from a selected piece of personal information among the personal information stored in the address book storing portion, extracting a map image corresponding to the extracted post code from the regional post code storing portion, and displaying the map image on the input/output portion.
  • a post code is extracted from a selected piece of personal information, and a map image corresponding to the post code is extracted and displayed on the input/output portion. Therefore, users can easily cause the map of a location corresponding to the personal information to be displayed while referring to multiple pieces of personal information.
  • the personal information stored in the address book storing portion further includes a display scale when a map image is to be displayed.
  • the central control portion includes a first control portion connected to the address book storing portion, the regional post code storing portion and the input/output portion, extracting a post code and a display scale from a selected piece of personal information among multiple pieces of personal information stored in the address book storing portion, extracting a map image corresponding to the extracted post code from the regional post code storing portion, and displaying the map image on the input/output portion according to the display scale.
  • An information providing method is used in an information providing apparatus, which includes an address book storing portion storing personal information including a post code, a regional post code storing portion storing a map image and a post code related to a position on the map image, and an input/output portion displaying information and outputting the coordinates of an indicated displayed location.
  • the information providing method includes the steps of displaying a map image, finding a post code related to a designated position on the map image, searching personal information including the found post code from the address book storing portion, and displaying the searched personal information on the input/output portion.
  • An information providing method is used in an information providing apparatus, which includes an address book storing portion storing personal information including a post code, a regional post code storing portion storing a map image and a post code related to a position on the map image, and an input/output portion displaying a map image and personal information and outputting the coordinates of an indicated displayed location.
  • the information providing method includes the steps of displaying personal information, extracting a post code from the displayed personal information and reading a map image corresponding to the extracted post code from the regional post code storing portion, and displaying the read map image on the input/output portion.
  • a post code is extracted from a selected piece of personal information, and a map image corresponding to the post code is extracted and displayed on the input/output portion. Therefore, users can easily cause the map of a location corresponding to the personal information to be displayed while referring to multiple pieces of personal information.
  • the information providing apparatus includes an input/output portion 22, a cabinet portion 20 having an infrared data communication portion and a pen holder, not shown, and a cover portion 24 connected to the back surface of cabinet portion 20 by a hinge and pivoted to cover input/output portion 22 to protect the information providing device against dusts, for example, while it is carried.
  • input/output portion 22 includes a thin, matrix type liquid crystal display portion 32 which is capable of displaying characters, a transparent tablet 34 which is formed of two transparent sheets of the same size sufficient to cover liquid crystal display portion 32, and a film 36 which is parallel to one side of liquid crystal display portion 32 and provided under transparent tablet 34 and on which fixed keys for frequently used functions are printed.
  • a back light of an EL (Electro Luminescence) panel may be provided on the back surface of liquid crystal display portion 32 as necessary.
  • the two transparent sheets of transparent tablet 34 are provided with transparent electrodes which are regularly arranged on the opposing surfaces of the two transparent sheets. Small protruding spacers are also regularly printed on each sheet to prevent contact of the transparent electrodes in an ordinary state.
  • a finger or a pen touches the liquid crystal tablet device, a transparent electrode at this part is touched, and information on its position is output. Thus, the position of an indicated point can be identified.
  • a user-selected position in liquid crystal display portion 32 can be detected.
  • the information providing apparatus further includes a tablet control portion 42 which is connected to a plurality of transparent electrodes provided on the transparent sheets of transparent tablet 34 and extracts information on a position indicated by a finger or a pen, a common circuit 46 and a segment circuit 48 which are connected to liquid crystal display portion 32, a liquid crystal display circuit portion 44 which stores a dot position to light the liquid crystal as a bit map and displays an image by transmitting a signal to common circuit 46 or segment circuit 48 as necessary, a central control portion 50 which controls each portion of the information providing apparatus according to various instructions, an RTC (Real Time Clock) 52 which clocks time by a clock signal from an oscillator, not shown, and outputs current date and time, an ROM (Read Only Memory) 54, an RAM (Random Access Memory) 72, and a power supply switch 96 which turns ON/OFF the power supply of the information providing apparatus.
  • a tablet control portion 42 which is connected to a plurality of transparent electrodes provided on the transparent sheets of transparent tablet 34 and extracts information on a
  • ROM 54 includes a font information area 56 which stores the fonts of characters displayed on liquid crystal display portion 32, a program area 58 which stores a program for an operation of central control portion 50, a dictionary area 60 which stores a dictionary used for character conversion, a coordinates information area 62 which stores conversion information used to convert coordinates detected in tablet control portion 42 to coordinates corresponding to a display position, and a regional post code storing portion 64 which stores a post code for each region.
  • Regional post code storing portion 64 includes a positional information storing portion 66 which stores positional information on a region, a post code storing portion 68 which stores a post code for each region, and a map image storing portion 70 which stores a map image for each region.
  • RAM 72 includes a data storing portion 74 which stores various data of sentences and graphics, for example, which are input through input/output portion 22 by a user, an address book storing portion 76 which stores personal information, a map display scale memory 92 which stores a display scale when a map image is to be displayed, and a standard display scale memory 94 which stores a display scale which serves as a standard scaled when any display scale is not set.
  • Address book storing portion 76 includes a name memory 78 which stores a personal name, a pronunciation memory 80 which stores the pronunciation of a personal name, a home TEL memory 82 which stores a home telephone number, a cellular phone memory 84 which stores a cellular phone number, a home post code memory 86 which stores a home post code, a home address memory 88 which stores a home address, and a corresponding display scale memory 90 which stores a display scale when a map around a home is to be displayed.
  • address book storing portion 76 may store information such as a FAX number and an e-mail address.
  • central control portion 50 operates according to a program stored in program area 58, and the program includes applications "Town Navi” and "Address Book” described below.
  • each portion of the information providing apparatus operates as described below.
  • a map displaying application "Town Navi” When a user starts a map displaying application "Town Navi," a map, a map selection button 102, a zoom in/out button 104, and a menu button 106 as shown in Fig. 6A are displayed on liquid crystal display portion 32 (S1).
  • the map displayed at this time is the last map which was displayed when the same application was operated last time, or the map which includes a particular location if the location is indicated in advance.
  • the map image is displayed on a display scale which is stored in map display scale memory 92.
  • Tablet control portion 42 waits till transparent tablet 34 is touched by a pen (S2).
  • central control portion 50 reads the touched position (S3).
  • Central control portion 50 determines where the touched position comes on liquid crystal display portion 32 (S4). If the touched position is on map selection button 102 ("map selection,” S4), a map selection screen, not shown, is displayed to show the map of a selected region (S5). Thereafter, the process returns to S2.
  • zoom in/out button 104 If the pen-touched position is on zoom in/out button 104 ("zoom in/out," S4), a screen, not shown, to set a display scale is displayed to display again the map on the set display scale.
  • the set display scale is stored in map display scale memory 92 (S6). Thereafter, the process returns to S2.
  • a map is displayed on a display scale stored in standard display scale memory 94.
  • menu button 106 If the pen-touched position is on menu button 106, a menu 108 as shown in Fig. 6B is displayed (S7).
  • menu 108 functions such as “delete,” “cut,” “copy,” “paste” and “search” as well as a "post code search” function to search the post code of a location designated on the map are selectably displayed.
  • Central control portion 50 determines if the function of "post code search" has been touched in menu 108 (S8). If a function other than "post code search” has been touched (NO, S8), processing according to the function is carried out (S9) and the process returns to S2.
  • central control portion 50 When transparent tablet 34 is pen-touched, the touched position 116 is detected and the position is informed to central control portion 50 (S12). Central control portion 50 searches a position corresponding to the touched position on the map from positional information storing portion 66, and searches the post code of the position (S13). Referring to Fig. 7B, central control portion 50 causes liquid crystal display portion 32 to display a post code display window 122, which includes the post code searched in S13, by liquid display circuit portion 44 (S14). Post code display window 122 includes an address book search button 126 and an end button 124. Tablet control portion 42 waits till transparent tablet 34 is pen-touched (S15).
  • central control portion 50 If the touched position is on address book search button 126 ("address book search," S17), central control portion 50 reads address book data from address book storing portion 76 (S19). Central control portion 50 searches personal information, which has the same home post code as the post code searched in S13, from the read address book data (S20, Fig. 5). Central control portion 50 determines if appropriate personal information has been found as a result of searching (S21). If the appropriate personal information has not been found (NO, S21), an alert 132 which includes a message "appropriate address book data has not been found" is displayed on the map (S22) as shown in Fig 8A. Thereafter, the process returns to S15.
  • Central control portion 50 stores the display scale, which is set in S6 and stored in map display scale memory 92, in the position of display scale memory 90 which corresponds to the read personal information (S24). Referring to Fig. 8B, central control portion 50 starts an application "Address Book” and displays the appropriate personal information on the display scale stored in map display scale memory 92 (S25).
  • each portion of the information providing apparatus operates as described below.
  • address book data as shown in Fig. 11A is displayed (S26).
  • the screen of address book data includes a new input button 142, a correct button 144, a category button 146, and a menu button 148.
  • Tablet control portion 42 waits till transparent tablet 34 is touched by a pen (S27).
  • transparent tablet 34 is pen-touched (YES, S27)
  • the touched position is read and informed to central control portion 50 (S28).
  • Central control portion 50 determines where the touched position comes on liquid crystal display portion 32 (S29).
  • new input button 142 If the touched position is on new input button 142 ("new input,” S29), a new input screen, not shown, is displayed and the user can input new address book data (S30). When input of new address book data ends, the screen returns to the one shown in Fig. 11A, and the process returns to S27.
  • a menu 150 as shown in Fig. 11B is displayed (S33).
  • functions such as “delete,” “cut,” “copy,” “paste” and “search” as well as a "map search” function to search a corresponding map image from the post code of the currently displayed address book data are selectably displayed.
  • Central control portion 50 determines if the function of "map search" in menu 150 has been touched (S34). If a function other than "map search" has been touched (NO, S34), processing according to each function is carried out (S35), and the process returns to S27.
  • central control portion 50 determines if post code data is included in the currently displayed address book data (S36). If post code data is not included (NO, S 36), central control portion 50 reads a post code for each region stored in regional post code storing portion 64 (S37). Central control portion 50 searches a post code corresponding to a home address in address book data from post codes for various region (S38).
  • map image of a region corresponding to the post code is searched from map image storing portion 70 (S39, Fig. 10).
  • Central control portion 50 determines if a corresponding map image has been found as a result of searching (S40). If the corresponding map image has not been found (NO, S40), an alert 160 "appropriate map data is not found" is displayed on the screen as shown in Fig. 12B, and the process returns to S27.
  • the map image is read from map image storing portion 70 (S42).
  • Central control portion 50 determines if a display scale has been set to the currently displayed address book data (S43). The determination is based on if a display scale corresponding to address book data is stored in corresponding display scale memory 90.
  • the display scale has not been set (NO, S43)
  • the value of standard display scale memory 94 is set to map display scale memory 92 (S44). If the display scale has been set (YES, S43), a display scale corresponding to the address book data is read from corresponding display scale memory 90 and set to map display scale memory 92 (S45).
  • designation of a desired spot from a displayed map image causes personal information, which includes the designated spot as its home address, to be automatically searched and displayed using an existing post code. Therefore, users can easily obtain personal information related to the displayed map image.
  • a relevant map image can easily be displayed by means of the post code of a selected piece of personal information. Therefore, users can cause a desired map image to be displayed without tiresome operation.
  • a map image is displayed according to a display scale for each piece of address book data stored in display scale memory 90. Therefore, the map image can be displayed on a suitable display scale for each piece of address book data.

Landscapes

  • Business, Economics & Management (AREA)
  • Physics & Mathematics (AREA)
  • General Business, Economics & Management (AREA)
  • General Physics & Mathematics (AREA)
  • Engineering & Computer Science (AREA)
  • Theoretical Computer Science (AREA)
  • Instructional Devices (AREA)
  • Information Retrieval, Db Structures And Fs Structures Therefor (AREA)
  • Calculators And Similar Devices (AREA)
  • Document Processing Apparatus (AREA)

Abstract

An information providing apparatus which can easily obtain information on a displayed location includes an address book storing portion (76) storing personal information including a post code, a regional post code storing portion (64) storing a map image and a post code related to a position of the map image, an input/output portion (22) displaying a map image and personal information and outputting the coordinates of an indicated displayed location, and a central control portion (50) connected to the address storing portion (76), the regional post code storing portion (64) and the input/output portion (22), finding a post code related to a designated position on the map image, and displaying personal information including the found post code on the input/output portion (22). <IMAGE>

Description

BACKGROUND OF THE INVENTION Field of the Invention
The present invention relates to information providing apparatuses which can display maps and personal information. More particularly, the present invention relates to an information providing apparatus which links a map and personal information by means of a post code.
Description of the Background Art
One of conventional methods for displaying a map in connection with a post code is a location searching apparatus disclosed in Japanese Patent Laying-Open No. 7-44100. In the location searching apparatus, post codes are assigned to regions and zones, and the map images of regions or zones corresponding to input post codes are displayed.
In the conventional spot searching apparatus, however, information regarding a location on the map cannot be obtained.
In the conventional location searching apparatus, inputting a post code is necessary to display the map of a location corresponding to personal information. In order to display the map of a location corresponding to personal information while multiple pieces of information are referred to, it is necessary to repeatedly input and exchange post codes for the multiple pieces of information. Thus, tiresome operation is required.
It is advantageous if each map of a location corresponding to personal information can be displayed on a different display scale.
SUMMARY OF THE INVENTION
The present invention was made to solve the problems above, and its object is to provide an information providing apparatus capable of easily obtaining information on a displayed location.
Another object of the present invention is to provide an information providing apparatus capable of easily displaying the map of a location corresponding to personal information while multiple pieces of personal information are referred to.
Still another object of the present invention is to provide an information providing apparatus capable of displaying the map of a location corresponding personal information on a suitable display scale while multiple pieces of personal information are referred to.
An information providing apparatus according to one aspect of the present invention includes an address book storing portion storing personal information including a post code, a regional post code storing portion storing a map image and a post code related to a position on the map image, an input/output portion displaying a map image and personal information and outputting the coordinates of an indicated displayed location, and a central control portion connected to the address book storing portion, the regional post code storing portion and the input/output portion, finding a post code related to a designated position on a map image according to an output of the input/output portion, and displaying personal information including the found post code on the input/output portion.
When users indicate a position on the displayed map image, a post code corresponding to the coordinates of the indicated position is found, and personal information including the found post code is displayed on the input/output portion. Therefore, the users can easily obtain information on the displayed location.
An information providing apparatus according to another aspect of the present invention includes an address book storing portion storing personal information including a post code, a regional post code storing portion storing a map image and a post code related to a position on the map image, an input/output portion displaying a map image and personal information and outputting the coordinates of an indicated displayed location, and a central control portion connected to the address book storing portion, the regional post code storing portion and the input/output portion, extracting a post code from a selected piece of personal information among the personal information stored in the address book storing portion, extracting a map image corresponding to the extracted post code from the regional post code storing portion, and displaying the map image on the input/output portion.
Thus, a post code is extracted from a selected piece of personal information, and a map image corresponding to the post code is extracted and displayed on the input/output portion. Therefore, users can easily cause the map of a location corresponding to the personal information to be displayed while referring to multiple pieces of personal information.
Preferably, the personal information stored in the address book storing portion further includes a display scale when a map image is to be displayed. The central control portion includes a first control portion connected to the address book storing portion, the regional post code storing portion and the input/output portion, extracting a post code and a display scale from a selected piece of personal information among multiple pieces of personal information stored in the address book storing portion, extracting a map image corresponding to the extracted post code from the regional post code storing portion, and displaying the map image on the input/output portion according to the display scale.
Since a display scale is added to personal information, a map image corresponding to the personal information is displayed on the display scale. Therefore, a map image on a suitable display scale is displayed for each piece of personal information.
An information providing method according to still another aspect of the present invention is used in an information providing apparatus, which includes an address book storing portion storing personal information including a post code, a regional post code storing portion storing a map image and a post code related to a position on the map image, and an input/output portion displaying information and outputting the coordinates of an indicated displayed location. The information providing method includes the steps of displaying a map image, finding a post code related to a designated position on the map image, searching personal information including the found post code from the address book storing portion, and displaying the searched personal information on the input/output portion.
When users indicate a position on the map image displayed on the input/output portion, a post code corresponding to the coordinates of the indicated position is found, and personal information including the found post code is displayed on the input/output portion. Therefore, the users can easily obtain information on the displayed location.
An information providing method according to still another aspect of the present invention is used in an information providing apparatus, which includes an address book storing portion storing personal information including a post code, a regional post code storing portion storing a map image and a post code related to a position on the map image, and an input/output portion displaying a map image and personal information and outputting the coordinates of an indicated displayed location. The information providing method includes the steps of displaying personal information, extracting a post code from the displayed personal information and reading a map image corresponding to the extracted post code from the regional post code storing portion, and displaying the read map image on the input/output portion.
Thus, a post code is extracted from a selected piece of personal information, and a map image corresponding to the post code is extracted and displayed on the input/output portion. Therefore, users can easily cause the map of a location corresponding to the personal information to be displayed while referring to multiple pieces of personal information.
The foregoing and other objects, features, aspects and advantages of the present invention will become more apparent from the following detailed description of the present invention when taken in conjunction with the accompanying drawings.
BRIEF DESCRIPTION OF THE DRAWINGS
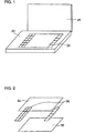
  • Fig. 1 is a perspective view of an information providing apparatus according to an embodiment of the present invention.
  • Fig. 2 is a perspective exploded view of the structure of an input/output portion.
  • Fig. 3 is a block diagram showing the structure of the information providing apparatus.
  • Fig. 4 is a first flow chart for describing an operation of the information providing apparatus when an application "Town Navi" is started.
  • Fig. 5 is a second flow chart for describing an operation of the information providing apparatus when an application "Town Navi" is started.
  • Figs. 6A to 8B show an example of displayed screens when an application "Town Navi" is started.
  • Fig. 9 is a first flow chart for describing an operation of the information providing apparatus when an application "Address Book" is started.
  • Fig. 10 is a second flow chart for describing an operation of the information providing apparatus when an application "Address Book" is started.
  • Figs. 11A to 12B show an example of displayed screens when an application "Address Book" is started.
  • Fig. 13 shows an example of a displayed screen when an application "Town Navi" is started.
  • DESCRIPTION OF THE PREFERRED EMBODIMENTS
    An information providing apparatus according to an embodiment of the present invention will be described with reference to the figures.
    Referring to Fig. 1, the information providing apparatus includes an input/output portion 22, a cabinet portion 20 having an infrared data communication portion and a pen holder, not shown, and a cover portion 24 connected to the back surface of cabinet portion 20 by a hinge and pivoted to cover input/output portion 22 to protect the information providing device against dusts, for example, while it is carried.
    Referring to Fig. 2, input/output portion 22 includes a thin, matrix type liquid crystal display portion 32 which is capable of displaying characters, a transparent tablet 34 which is formed of two transparent sheets of the same size sufficient to cover liquid crystal display portion 32, and a film 36 which is parallel to one side of liquid crystal display portion 32 and provided under transparent tablet 34 and on which fixed keys for frequently used functions are printed.
    A back light of an EL (Electro Luminescence) panel, for example, may be provided on the back surface of liquid crystal display portion 32 as necessary.
    The two transparent sheets of transparent tablet 34 are provided with transparent electrodes which are regularly arranged on the opposing surfaces of the two transparent sheets. Small protruding spacers are also regularly printed on each sheet to prevent contact of the transparent electrodes in an ordinary state. When a finger or a pen touches the liquid crystal tablet device, a transparent electrode at this part is touched, and information on its position is output. Thus, the position of an indicated point can be identified. By comparing the contents displayed on liquid crystal display portion 32 and the positional information of transparent tablet 34, a user-selected position in liquid crystal display portion 32 can be detected.
    Referring to Fig. 3, the information providing apparatus further includes a tablet control portion 42 which is connected to a plurality of transparent electrodes provided on the transparent sheets of transparent tablet 34 and extracts information on a position indicated by a finger or a pen, a common circuit 46 and a segment circuit 48 which are connected to liquid crystal display portion 32, a liquid crystal display circuit portion 44 which stores a dot position to light the liquid crystal as a bit map and displays an image by transmitting a signal to common circuit 46 or segment circuit 48 as necessary, a central control portion 50 which controls each portion of the information providing apparatus according to various instructions, an RTC (Real Time Clock) 52 which clocks time by a clock signal from an oscillator, not shown, and outputs current date and time, an ROM (Read Only Memory) 54, an RAM (Random Access Memory) 72, and a power supply switch 96 which turns ON/OFF the power supply of the information providing apparatus.
    ROM 54 includes a font information area 56 which stores the fonts of characters displayed on liquid crystal display portion 32, a program area 58 which stores a program for an operation of central control portion 50, a dictionary area 60 which stores a dictionary used for character conversion, a coordinates information area 62 which stores conversion information used to convert coordinates detected in tablet control portion 42 to coordinates corresponding to a display position, and a regional post code storing portion 64 which stores a post code for each region.
    Regional post code storing portion 64 includes a positional information storing portion 66 which stores positional information on a region, a post code storing portion 68 which stores a post code for each region, and a map image storing portion 70 which stores a map image for each region.
    RAM 72 includes a data storing portion 74 which stores various data of sentences and graphics, for example, which are input through input/output portion 22 by a user, an address book storing portion 76 which stores personal information, a map display scale memory 92 which stores a display scale when a map image is to be displayed, and a standard display scale memory 94 which stores a display scale which serves as a standard scaled when any display scale is not set.
    Address book storing portion 76 includes a name memory 78 which stores a personal name, a pronunciation memory 80 which stores the pronunciation of a personal name, a home TEL memory 82 which stores a home telephone number, a cellular phone memory 84 which stores a cellular phone number, a home post code memory 86 which stores a home post code, a home address memory 88 which stores a home address, and a corresponding display scale memory 90 which stores a display scale when a map around a home is to be displayed. Besides, address book storing portion 76 may store information such as a FAX number and an e-mail address.
    As described above, central control portion 50 operates according to a program stored in program area 58, and the program includes applications "Town Navi" and "Address Book" described below.
    [operation when an application "Town Navi" is started]
    Referring to Figs. 4 to 8B, each portion of the information providing apparatus operates as described below.
    When a user starts a map displaying application "Town Navi," a map, a map selection button 102, a zoom in/out button 104, and a menu button 106 as shown in Fig. 6A are displayed on liquid crystal display portion 32 (S1). The map displayed at this time is the last map which was displayed when the same application was operated last time, or the map which includes a particular location if the location is indicated in advance. The map image is displayed on a display scale which is stored in map display scale memory 92.
    Tablet control portion 42 waits till transparent tablet 34 is touched by a pen (S2). When transparent tablet 34 is pen-touched (YES, S2), central control portion 50 reads the touched position (S3). Central control portion 50 determines where the touched position comes on liquid crystal display portion 32 (S4). If the touched position is on map selection button 102 ("map selection," S4), a map selection screen, not shown, is displayed to show the map of a selected region (S5). Thereafter, the process returns to S2.
    If the pen-touched position is on zoom in/out button 104 ("zoom in/out," S4), a screen, not shown, to set a display scale is displayed to display again the map on the set display scale. The set display scale is stored in map display scale memory 92 (S6). Thereafter, the process returns to S2. When a particular display scale is not set, a map is displayed on a display scale stored in standard display scale memory 94.
    If the pen-touched position is on menu button 106, a menu 108 as shown in Fig. 6B is displayed (S7). In menu 108, functions such as "delete," "cut," "copy," "paste" and "search" as well as a "post code search" function to search the post code of a location designated on the map are selectably displayed.
    Central control portion 50 determines if the function of "post code search" has been touched in menu 108 (S8). If a function other than "post code search" has been touched (NO, S8), processing according to the function is carried out (S9) and the process returns to S2.
    If the "post code search" function has been touched in menu 108 (YES, S8), the screen is switched to the one as shown in Fig. 7A, and a positional indication message 112 "please touch the map" is displayed (S10). Tablet control portion 42 waits till transparent tablet 34 is pen-touched (S11).
    When transparent tablet 34 is pen-touched, the touched position 116 is detected and the position is informed to central control portion 50 (S12). Central control portion 50 searches a position corresponding to the touched position on the map from positional information storing portion 66, and searches the post code of the position (S13). Referring to Fig. 7B, central control portion 50 causes liquid crystal display portion 32 to display a post code display window 122, which includes the post code searched in S13, by liquid display circuit portion 44 (S14). Post code display window 122 includes an address book search button 126 and an end button 124. Tablet control portion 42 waits till transparent tablet 34 is pen-touched (S15).
    When transparent tablet 34 is pen-touched (YES, S15), the touched position is detected and informed to central control portion 50 (S16). Central control portion 50 determines where the position comes on liquid crystal display portion 32 (S17). If the touched position is on end button 124 (END, S17), post code display window 122 is closed and the process returns to S2.
    If the touched position is on address book search button 126 ("address book search," S17), central control portion 50 reads address book data from address book storing portion 76 (S19). Central control portion 50 searches personal information, which has the same home post code as the post code searched in S13, from the read address book data (S20, Fig. 5). Central control portion 50 determines if appropriate personal information has been found as a result of searching (S21). If the appropriate personal information has not been found (NO, S21), an alert 132 which includes a message "appropriate address book data has not been found" is displayed on the map (S22) as shown in Fig 8A. Thereafter, the process returns to S15.
    If the appropriate personal information is found (YES, S21), the appropriate personal information (address book data) is read from address book storing portion 76 (S23). Central control portion 50 stores the display scale, which is set in S6 and stored in map display scale memory 92, in the position of display scale memory 90 which corresponds to the read personal information (S24). Referring to Fig. 8B, central control portion 50 starts an application "Address Book" and displays the appropriate personal information on the display scale stored in map display scale memory 92 (S25).
    [operation when an application "address book' is started]
    Referring to Figs. 9 to 13, each portion of the information providing apparatus operates as described below.
    When a user starts an application "Address Book," address book data as shown in Fig. 11A is displayed (S26). The screen of address book data includes a new input button 142, a correct button 144, a category button 146, and a menu button 148.
    Tablet control portion 42 waits till transparent tablet 34 is touched by a pen (S27). When transparent tablet 34 is pen-touched (YES, S27), the touched position is read and informed to central control portion 50 (S28). Central control portion 50 determines where the touched position comes on liquid crystal display portion 32 (S29).
    If the touched position is on new input button 142 ("new input," S29), a new input screen, not shown, is displayed and the user can input new address book data (S30). When input of new address book data ends, the screen returns to the one shown in Fig. 11A, and the process returns to S27.
    If the touched position is on correct button 144 ("correct," S29), the currently displayed address book data becomes correctable (S31). When correction of the address book data ends, the screen returns to the one shown in Fig. 11A, and the process returns to S27.
    If the touched position is on category button 146 ("category," S29), the displayed address book data changes from the currently displayed "person (home)" category to another category ("company list" category, for example) corresponding to the touched button (S32). Thereafter, the process returns to S27.
    If the touched position is on menu button 148 ("menu," S29), a menu 150 as shown in Fig. 11B is displayed (S33). In menu 150, functions such as "delete," "cut," "copy," "paste" and "search" as well as a "map search" function to search a corresponding map image from the post code of the currently displayed address book data are selectably displayed. Central control portion 50 determines if the function of "map search" in menu 150 has been touched (S34). If a function other than "map search" has been touched (NO, S34), processing according to each function is carried out (S35), and the process returns to S27.
    If the function of "map search" has been touched (YES, S34), a screen to indicate that search is progressing as shown in Fig. 12A is displayed, and central control portion 50 determines if post code data is included in the currently displayed address book data (S36). If post code data is not included (NO, S 36), central control portion 50 reads a post code for each region stored in regional post code storing portion 64 (S37). Central control portion 50 searches a post code corresponding to a home address in address book data from post codes for various region (S38).
    If post code data is included in the address book data (YES, S36) or after S38, the map image of a region corresponding to the post code is searched from map image storing portion 70 (S39, Fig. 10).
    Central control portion 50 determines if a corresponding map image has been found as a result of searching (S40). If the corresponding map image has not been found (NO, S40), an alert 160 "appropriate map data is not found" is displayed on the screen as shown in Fig. 12B, and the process returns to S27.
    If the corresponding map image is found (YES, S40), the map image is read from map image storing portion 70 (S42). Central control portion 50 determines if a display scale has been set to the currently displayed address book data (S43). The determination is based on if a display scale corresponding to address book data is stored in corresponding display scale memory 90.
    If the display scale has not been set (NO, S43), the value of standard display scale memory 94 is set to map display scale memory 92 (S44). If the display scale has been set (YES, S43), a display scale corresponding to the address book data is read from corresponding display scale memory 90 and set to map display scale memory 92 (S45).
    After S44 or S45, the map as shown in Fig. 13 is displayed on the display scale which is set to map display scale memory 92 (S46).
    According to the information providing apparatus, designation of a desired spot from a displayed map image causes personal information, which includes the designated spot as its home address, to be automatically searched and displayed using an existing post code. Therefore, users can easily obtain personal information related to the displayed map image.
    Further, a relevant map image can easily be displayed by means of the post code of a selected piece of personal information. Therefore, users can cause a desired map image to be displayed without tiresome operation.
    Further, a map image is displayed according to a display scale for each piece of address book data stored in display scale memory 90. Therefore, the map image can be displayed on a suitable display scale for each piece of address book data.
    Although the present invention has been described and illustrated in detail, it is dearly understood that the same is by way of illustration and example only and is not to be taken by way of limitation, the spirit and scope of the present invention being limited only by the terms of the appended claims.

    Claims (20)

    1. An information providing apparatus, comprising:
      an address book storing portion (76) storing personal information including a post code;
      a regional post code storing portion (64) storing a map image and a post code related to a position on the map image;
      an input/output portion (22) displaying a map image and personal information and outputting coordinates of an indicated displayed location; and
      a central control portion (50) connected to said address book storing portion (76), said regional post code storing portion (64) and said input/output portion (22), finding a post code related to a designated position on a map image, and displaying personal information including the found post code on said input/output portion (22).
    2. The information providing apparatus according to claim 1, wherein
      said central control portion (50) includes
      a first control portion connected to said regional post code storing portion (64) and said input/output portion (22), and finding a post code related to a designated position on a map image based on an output of said input/output portion (22), and
      a second control portion connected to said first control portion and said address book storing portion (76), selecting one of personal information including the found post code and a message indicating that the personal information is not found, and displaying the personal information or the message on said input/output portion (22).
    3. The information providing apparatus according to claim 1, further comprising:
      a map display scale memory (92) storing a display scale when a map image is to be displayed, wherein
      said central control portion (50) includes a first control portion further connected to said map display scale memory (92), displaying a map image on the display scale stored in said map display scale memory (92), finding a post code related to a designated position on the map image according to an output of said input/output portion (22), and displaying personal information including the found post code on said input/output portion (22).
    4. The information providing apparatus according to claim 3, wherein
      said first control portion includes
      a second control portion connected to said regional post code storing portion (64), said map display scale memory (92) and said input/output portion (22), and displaying a map image on the display scale stored in said map display scale memory (92),
      a third control portion connected to said regional post code storing portion (64) and said input/output portion (22), and finding a post code related to a designated portion on the map image according to an output from said input/output portion (22), and
      a fourth control portion connected to said third control portion and said address book storing portion (76), selecting one of personal information including the found post code and a message indicating that the personal information is not found according to an output of said third control portion, and displaying the personal information or the message on said input/output portion (22).
    5. An information providing apparatus, comprising:
      an address book storing portion (76) storing personal information including a post code;
      a regional post code storing portion (64) storing a map image and a post code related to a position on the map image;
      an input/output portion (22) displaying a map image and personal information and outputting coordinates of an indicated displayed location; and
      a central control portion (50) connected to said address book storing portion (76), said regional post code storing portion (64) and said input/output portion (22), extracting a post code from a selected piece of personal information among the personal information stored in said address book storing portion (76), extracting a map image corresponding to the extracted post code from said regional post code storing portion (64), and displaying the map image on said input/output portion (50).
    6. The information providing apparatus according to claim 5, wherein
      the personal information stored in said address book storing portion (76) further includes an address, and
      said central control portion (50) includes
      a post code presence determining portion connected to said address book storing portion (76), and determining if a post code has been set to a selected piece of personal information among the personal information stored in said address book storing portion (76),
      a post code selecting portion connected to said post code presence determining portion, said address book storing portion (76) and said regional post code storing portion (64), and selecting one of a post code included in said selected piece of personal information and a post code, stored in said regional post code storing portion (64), that is related to an address included in said selected piece of personal information, and
      a map image displaying portion connected to said post code selecting portion, said regional post code storing portion (64) and said input/output portion (22), extracting a map image corresponding to the post code selected by said post code selecting portion from said regional post code storing portion (64), and displaying the map image on said input/output portion (22).
    7. The information providing apparatus according to claim 5, wherein
      the personal information stored in said address book storing portion (76) further includes a display scale when a map image is to be displayed, and
      said central control portion (50) includes a first control portion connected to said address book storing portion (76), said regional post code storing portion (64) and said input/output portion (22), extracting a post code and a display scale from a selected piece of personal information among the personal information stored in said address book storing portion (76), extracting a map image corresponding to the extracted post code from said regional post code storing portion (64), and displaying the map image on said input/output portion (22) according to said display scale.
    8. The information providing apparatus according to claim 7, further comprising:
      a standard display scale memory (94) storing a predetermined display scale, wherein
      said first control portion includes
      a display scale presence determining portion connected to said address book storing portion (76), and determining if a display scale has been set to a selected piece of personal information among the personal information stored in said address book storing portion (76),
      a display scale selecting portion connected to said display scale presence determining portion, said address book storing portion (76), said regional post code storing portion (64) and said input/output portion (22), and selecting a display scale from said selected piece of personal information or said standard display scale memory (94) according to an output of said display scale presence determining portion, and
      a display control portion connected to said display scale selecting portion, said address book storing portion (76), said regional post code storing portion (64) and said input/output portion (22), extracting a post code from a selected piece of personal information among the personal information stored in said address book storing portion (76), extracting a map image corresponding to the extracted post code from said regional post code storing portion (64), and displaying the map image on said input/output portion (22) according to said display scale selected by said display scale selecting portion.
    9. The information providing apparatus according to claim 7, wherein
      the personal information stored in said address book storing portion (76) further includes an address, and
      said first control portion includes
      a post code presence determining portion connected to said address book storing portion (76), and determining if a post code has been included in a selected piece of personal information among the personal information stored in said address book storing portion (76),
      a post code selecting portion connected to said post code presence determining portion, said address book storing portion (76) and said regional post code storing portion (64), and selecting one of a post code included in said selected piece of personal information and a post code, stored in said regional post code storing portion (64), that is related to an address included in said selected piece of personal information, and
      a first display control portion connected to said post code selecting portion, said regional post code storing portion (64) and said input/output portion (22), extracting a map image corresponding to the post code selected by said post code selecting portion from said regional post code storing portion (64), extracting a display scale from the selected piece of personal information among the personal information stored in said address book storing portion (76), and displaying said extracted map image on said extracted display scale.
    10. The information providing apparatus according to claim 9, further comprising:
      a standard display scale memory (94) storing a predetermined display scale, wherein
      said first display scale control portion includes
      a display scale presence determining portion connected to said address book storing portion (76), and determining if a display scale has been set to said selected piece of personal information among the personal information stored in said address book storing portion (76),
      a display scale selecting portion connected to said display scale presence determining portion, said address book storing portion (76), said regional post code storing portion (64) and said input/output portion (22), and selecting a display scale from said selected piece of personal information or said standard display scale memory (94) according to an output of said display scale presence determing portion, and
      a second display control portion connected to said display scale selecting portion, said address book storing portion (76), said regional post code storing portion (64) and said input/output portion (22), extracting said map image corresponding to said post code selected by said post code selecting portion, among the personal information stored in said address book storing portion (76), from said regional post code storing portion (64), and displaying the map image on said input/output portion (22) according to said display scale selected by said display scale selecting portion.
    11. An information providing method used in an information providing apparatus including
      an address book storing portion (76) storing personal information including a post code,
      a regional post code storing portion (64) storing a map image and a post code related to a position on the map image, and
      an input/output portion (22) displaying information and outputting coordinates of an indicated displayed location, comprising the steps of:
      displaying a map image (S1);
      finding a post code related to a designated position on a map image (S13);
      searching personal information including said found post code from said address book storing portion (76) (S20); and
      displaying said searched personal information on said input/output portion (22) (S25).
    12. The information providing method according to claim 11, further comprising:
      displaying a message indicating that the personal information has not been found if said personal information including said found post code has not been found (S22).
    13. The information providing method according to claim 11, wherein
      said information providing apparatus further includes a map display scale memory (92) storing a display scale when a map image is to be displayed, and
      said step of displaying a map image (S1) includes a step of displaying said map image on said display scale stored in said display scale memory (92) (S1).
    14. The information providing method according to claim 13, further comprising:
      displaying a message indicating that the personal information has not been found if said personal information including said found post code has not been found (S22).
    15. An information providing method used in an information providing apparatus including
      an address book storing portion (76) storing personal information including a post code,
      a regional post code storing portion (64) storing a map image and a post code related to a position on the map image, and
      an input/output portion (22) displaying a map image and personal information and outputting coordinates of an indicated displayed location, comprising the steps of:
      displaying personal information (S26);
      extracting a post code from said displayed personal information and reading a map image corresponding to the extracted post code from said regional post code storing portion (64) (S36 to S42); and
      displaying said read map image (S43 to S46) on said input/output portion (22).
    16. The information providing method according to claim 15, wherein
      the personal information stored in said address book storing portion (76) further includes an address, and
      said step of reading a map image from said regional post code storing portion (64) (S36 to S42) includes the steps of
      determining if a post code has been set to said displayed personal information (S36),
      extracting a post code corresponding to an address set to said displayed personal information from said regional post code storing portion (64) (S37 and S38) if a post code has not been set to said personal information (NO, S36), and
      reading a corresponding map image from said regional post code storing portion (64) based on the post code set to said displayed personal information or the post code extracted from said regional post code storing portion (64) (S39 to S42).
    17. The information providing method according to claim 15, wherein
      the personal information stored in said address book storing portion (76) further includes a display scale when a map image is to be displayed, and
      said step of displaying said read map image on said input/output portion (22) (S43 to S46) includes the steps of
      extracting a display scale from said displayed personal information (S43 to S 45), and
      displaying said read map image on said input/output portion (22) according to said display scale (S46).
    18. The information providing method according to claim 17, wherein
      said information providing apparatus further includes a standard display scale memory (94) storing a predetermined display scale, and
      said step of extracting a display scale (S43 to S45) includes the steps of
      determining if a display scale has been set to said displayed personal information (S43),
      extracting said display scale from said displayed personal information (S45) if a display scale has been set to said displayed personal information (YES, S43), and
      extracting a display scale from said standard display scale memory (94) (S44) if a display scale has not been set to said displayed personal information (NO, S43).
    19. The information providing method according to claim 17, wherein
      the personal information stored in said address book storing portion (76) further includes an address, and
      said step of reading a map image from said regional post code storing portion (64) (S36 to S42) includes the steps of
      determining if a post code has been set to said displayed personal information (S36),
      extracting a post code corresponding to an address included in said displayed personal information from said regional post code storing portion (64) (S37 and S38) if a post code has not been set to said personal information (NO, S36), and
      reading a corresponding map image from said regional post code storing portion (64) based on the post code set to said displayed personal information and the post code extracted from said regional post code storing portion (64) (S39 to S42).
    20. The information providing method according to claim 19, wherein
      said information providing apparatus further includes a standard display scale memory (94) storing a predetermined display scale, and
      said step of extracting a display scale (S43 to S45) includes the steps of
      determining if a display scale has been set to said displayed personal information (S43),
      extracting said display scale from said displayed personal information (S45) if a display scale has been set to said displayed personal information (YES, S43), and
      extracting a display scale from said standard display scale memory (94) (S44) if a display scale has not been set to said displayed personal information (NO, S43).
    EP99117202A 1998-09-04 1999-09-01 Information providing apparatus linking map and personal information by means of post code Withdrawn EP0984375A3 (en)

    Applications Claiming Priority (2)

    Application Number Priority Date Filing Date Title
    JP25106298 1998-09-04
    JP10251062A JP2000082062A (en) 1998-09-04 1998-09-04 Information provision device

    Publications (2)

    Publication Number Publication Date
    EP0984375A2 true EP0984375A2 (en) 2000-03-08
    EP0984375A3 EP0984375A3 (en) 2001-03-21

    Family

    ID=17217069

    Family Applications (1)

    Application Number Title Priority Date Filing Date
    EP99117202A Withdrawn EP0984375A3 (en) 1998-09-04 1999-09-01 Information providing apparatus linking map and personal information by means of post code

    Country Status (2)

    Country Link
    EP (1) EP0984375A3 (en)
    JP (1) JP2000082062A (en)

    Cited By (2)

    * Cited by examiner, † Cited by third party
    Publication number Priority date Publication date Assignee Title
    US6879983B2 (en) 2000-10-12 2005-04-12 Qas Limited Method and apparatus for retrieving data representing a postal address from a plurality of postal addresses
    DE10026969B4 (en) * 2000-05-31 2015-10-22 Volkswagen Ag Method for operating a navigation system for a vehicle

    Families Citing this family (2)

    * Cited by examiner, † Cited by third party
    Publication number Priority date Publication date Assignee Title
    US20110208427A1 (en) * 2010-02-25 2011-08-25 Peter S. Brennan Location Identification Systems and Methods
    JP5833393B2 (en) * 2011-09-16 2015-12-16 Necプラットフォームズ株式会社 Transmitting apparatus, addressing method, and addressing program

    Family Cites Families (6)

    * Cited by examiner, † Cited by third party
    Publication number Priority date Publication date Assignee Title
    JPH04120583A (en) * 1990-09-12 1992-04-21 Mitsubishi Electric Corp Vehicle navigation device
    GB2275120A (en) * 1993-02-03 1994-08-17 Medi Mark Limited Personal Organiser with Map feature.
    JPH06309378A (en) * 1993-04-20 1994-11-04 Hitachi Ltd Map retrieving device and system
    JPH0836550A (en) * 1994-07-21 1996-02-06 Fujitsu Ltd Mobile terminal
    WO1996007170A1 (en) * 1994-08-31 1996-03-07 Nac Geographic Products Inc. A geodetic coding system
    NL1000733C2 (en) * 1995-07-05 1997-01-08 Kadaster Car compass.

    Cited By (3)

    * Cited by examiner, † Cited by third party
    Publication number Priority date Publication date Assignee Title
    DE10026969B4 (en) * 2000-05-31 2015-10-22 Volkswagen Ag Method for operating a navigation system for a vehicle
    US6879983B2 (en) 2000-10-12 2005-04-12 Qas Limited Method and apparatus for retrieving data representing a postal address from a plurality of postal addresses
    US7366726B2 (en) 2000-10-12 2008-04-29 Qas Limited Method and apparatus for retrieving data representing a postal address from a plurality of postal addresses

    Also Published As

    Publication number Publication date
    EP0984375A3 (en) 2001-03-21
    JP2000082062A (en) 2000-03-21

    Similar Documents

    Publication Publication Date Title
    US5959630A (en) Display screen processing apparatus and storage medium containing therein program for controlling display screen processing apparatus
    US20050052558A1 (en) Information processing apparatus, information processing method and software product
    US6822852B2 (en) Handheld devices
    US6349328B1 (en) Electronic mail system for setting additional storage areas for sorting sent or received mail, and medium storing electronic mail control program
    JP2000090020A (en) Computer-readable recording medium recording information processing device and reply mail creation program
    KR20010112070A (en) Mobile device and key arranging method
    EP0446576B1 (en) Translating apparatus
    JP2005100186A (en) Software keyboard display device and display program
    JP2005157471A (en) Character input method and character input device
    EP0984375A2 (en) Information providing apparatus linking map and personal information by means of post code
    JP4198673B2 (en) Message display device and display control program
    JP2005190389A (en) Character processing apparatus, character processing method and program
    JP2000048215A (en) Data processing device and medium storing control program therefor
    US7642932B2 (en) Method of mapping characters for a mobile telephone keypad
    EP2214086A1 (en) Electronic sentence browsing device, electronic sentence browsing method, electronic sentence browsing program, and mobile telephone
    JP2005215728A (en) Electronic form system with soft keyboard function
    JPH11327715A (en) Information processing device
    JPH09282318A (en) Information processing device
    JPH08297660A (en) Input device for chinese character
    JP3467212B2 (en) Display device
    JP3641145B2 (en) Mobile communication terminal
    JP2843854B2 (en) Image data storage device
    JP3652981B2 (en) Mobile phone
    JP3422961B2 (en) Character input device in mobile radio telephone and character input method in mobile radio telephone
    JP2004157936A (en) Mobile terminal device character input method and mobile terminal device

    Legal Events

    Date Code Title Description
    PUAI Public reference made under article 153(3) epc to a published international application that has entered the european phase

    Free format text: ORIGINAL CODE: 0009012

    AK Designated contracting states

    Kind code of ref document: A2

    Designated state(s): DE FR GB

    AX Request for extension of the european patent

    Free format text: AL;LT;LV;MK;RO;SI

    PUAL Search report despatched

    Free format text: ORIGINAL CODE: 0009013

    RIC1 Information provided on ipc code assigned before grant

    Free format text: 7G 06F 17/60 A, 7G 06F 15/02 B, 7G 09B 29/10 B

    AK Designated contracting states

    Kind code of ref document: A3

    Designated state(s): AT BE CH CY DE DK ES FI FR GB GR IE IT LI LU MC NL PT SE

    AX Request for extension of the european patent

    Free format text: AL;LT;LV;MK;RO;SI

    17P Request for examination filed

    Effective date: 20010611

    17Q First examination report despatched

    Effective date: 20010719

    AKX Designation fees paid

    Free format text: DE FR GB

    STAA Information on the status of an ep patent application or granted ep patent

    Free format text: STATUS: THE APPLICATION IS DEEMED TO BE WITHDRAWN

    18D Application deemed to be withdrawn

    Effective date: 20031210