EP0909996A3 - Clock/radio powered by solar energy - Google Patents
Clock/radio powered by solar energy Download PDFInfo
- Publication number
- EP0909996A3 EP0909996A3 EP98119256A EP98119256A EP0909996A3 EP 0909996 A3 EP0909996 A3 EP 0909996A3 EP 98119256 A EP98119256 A EP 98119256A EP 98119256 A EP98119256 A EP 98119256A EP 0909996 A3 EP0909996 A3 EP 0909996A3
- Authority
- EP
- European Patent Office
- Prior art keywords
- leads
- radio clock
- solar
- pulse
- powered
- Prior art date
- Legal status (The legal status is an assumption and is not a legal conclusion. Google has not performed a legal analysis and makes no representation as to the accuracy of the status listed.)
- Withdrawn
Links
- 230000015556 catabolic process Effects 0.000 abstract 1
- 238000004904 shortening Methods 0.000 abstract 1
Classifications
-
- G—PHYSICS
- G04—HOROLOGY
- G04G—ELECTRONIC TIME-PIECES
- G04G19/00—Electric power supply circuits specially adapted for use in electronic time-pieces
- G04G19/08—Arrangements for preventing voltage drop due to overloading the power supply
Landscapes
- Engineering & Computer Science (AREA)
- Power Engineering (AREA)
- Physics & Mathematics (AREA)
- General Physics & Mathematics (AREA)
- Electromechanical Clocks (AREA)
- Electric Clocks (AREA)
Abstract
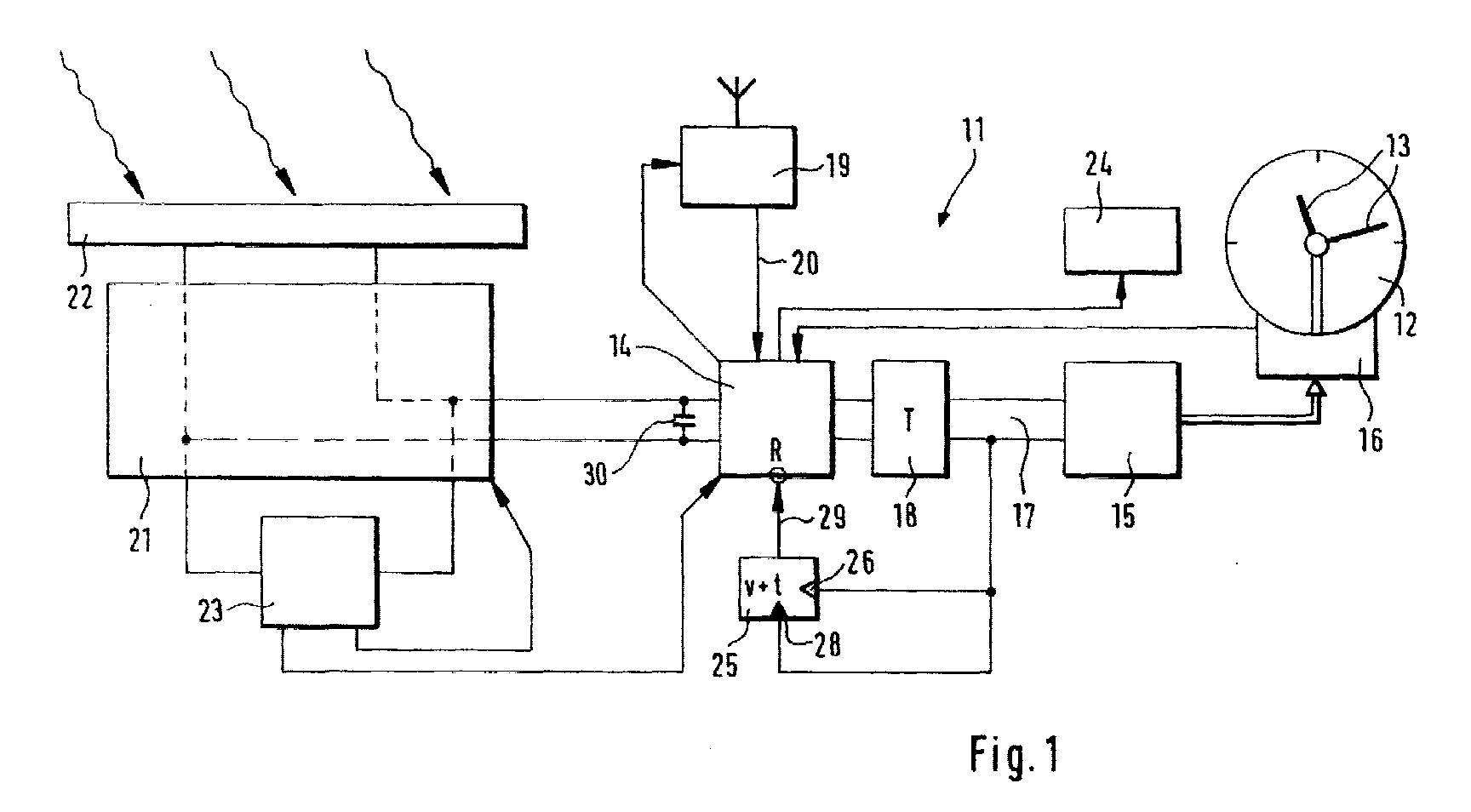
Bei einer solarbetriebenen Uhr kann es vor endgültigem Absinken der Betriebsspannung unter den Abschaltpegel zu einer Fehlanzeige kommen, weil nicht mehr jeder Impuls für den elektromechanischen Wandler zur Anzeige-Fortschaltung ausreicht, da die Belastung des Impulses zu einem sehr kurzzeitigen Zusammenbruch der schon kritisch abgesunkenen Betriebsspannung aus dem Solarzellen-Pufferspeicher führt. Bei einer solarbetriebenen Funkuhr führt erfindungsgemäß die von einem Schrittwächter festgestellte Unterbrechung bzw. Verkürzung eines Antriebsimpulses für die zeithaltende Zeigerbewegung zur Auslösung eines Resetkommandos, um den Empfänger der Funkuhr einzuschalten und über die Funkuhren-Prozessorsteuerung dadurch die Zeigerstellung automatisch auf die aus dem aktuellen Zeittelegramm dekodierte absolute Zeit zu korrigieren. In the case of a solar-powered watch, there can be a false display before the operating voltage drops below the switch-off level, because not every pulse for the electromechanical converter is sufficient to advance the display, since the load of the pulse leads to a very brief breakdown of the already critically lowered operating voltage leads to the solar cell buffer memory. In the case of a solar-powered radio clock, the interruption or shortening of a drive pulse for the time-keeping pointer movement, as determined by a step monitor, leads to the triggering of a reset command in order to switch on the radio clock receiver and, via the radio clock processor control, the pointer position automatically to the absolute decoded from the current time telegram Time to correct.
Applications Claiming Priority (2)
| Application Number | Priority Date | Filing Date | Title |
|---|---|---|---|
| DE29718454U | 1997-10-17 | ||
| DE29718454U DE29718454U1 (en) | 1997-10-17 | 1997-10-17 | Solar powered radio clock |
Publications (2)
| Publication Number | Publication Date |
|---|---|
| EP0909996A2 EP0909996A2 (en) | 1999-04-21 |
| EP0909996A3 true EP0909996A3 (en) | 2002-12-18 |
Family
ID=8047368
Family Applications (1)
| Application Number | Title | Priority Date | Filing Date |
|---|---|---|---|
| EP98119256A Withdrawn EP0909996A3 (en) | 1997-10-17 | 1998-10-13 | Clock/radio powered by solar energy |
Country Status (4)
| Country | Link |
|---|---|
| US (1) | US6205091B1 (en) |
| EP (1) | EP0909996A3 (en) |
| JP (1) | JPH11160464A (en) |
| DE (1) | DE29718454U1 (en) |
Families Citing this family (7)
| Publication number | Priority date | Publication date | Assignee | Title |
|---|---|---|---|---|
| EA003176B1 (en) * | 1999-09-02 | 2003-02-27 | Инновасио Виариа, С.Л. | Signalling beacon |
| EP1269272B1 (en) * | 2000-08-11 | 2006-09-27 | Seiko Epson Corporation | Electronic apparatus and method of controlling the electronic apparatus |
| JP3536852B2 (en) | 2002-03-27 | 2004-06-14 | セイコーエプソン株式会社 | Electronic clock |
| DE602004020361D1 (en) | 2003-05-09 | 2009-05-14 | Seiko Epson Corp | Electronic clock with a radio communication function |
| JP5353303B2 (en) * | 2009-03-02 | 2013-11-27 | セイコーエプソン株式会社 | Electronic device and satellite signal receiving method for electronic device |
| JP5953722B2 (en) * | 2011-12-05 | 2016-07-20 | セイコーエプソン株式会社 | Electronic clock |
| JP6510981B2 (en) * | 2013-11-12 | 2019-05-08 | セイコーインスツル株式会社 | Time adjustment system and clock |
Citations (3)
| Publication number | Priority date | Publication date | Assignee | Title |
|---|---|---|---|---|
| EP0285838A1 (en) * | 1987-03-11 | 1988-10-12 | Junghans Uhren Gmbh | Autonomous radio-controlled clock |
| EP0553722A2 (en) * | 1992-01-28 | 1993-08-04 | Junghans Uhren Gmbh | Small autonomous radio timepiece with analogue display, in particular wristwatch radio |
| EP0591557A1 (en) * | 1992-04-27 | 1994-04-13 | Citizen Watch Co. Ltd. | Hand-indication electronic timepiece |
Family Cites Families (7)
| Publication number | Priority date | Publication date | Assignee | Title |
|---|---|---|---|---|
| US4023344A (en) * | 1975-09-03 | 1977-05-17 | Kabushiki Kaisha Suwa Seikosha | Automatically corrected electronic timepiece |
| US4582434A (en) * | 1984-04-23 | 1986-04-15 | Heath Company | Time corrected, continuously updated clock |
| DE3439638C1 (en) | 1984-10-30 | 1986-05-15 | Gebrüder Junghans GmbH, 7230 Schramberg | Autonomous radio clock |
| DE3524290A1 (en) | 1985-07-06 | 1987-01-15 | Junghans Uhren Gmbh | ELECTRICAL SMALL DEVICE USED BY SOLAR CELLS, ESPECIALLY SOLAR WATCH |
| DE9010270U1 (en) * | 1990-05-04 | 1991-09-05 | Junghans Uhren GmbH, 7230 Schramberg | Autonomous radio clock |
| DE4128752C2 (en) | 1991-08-29 | 1997-12-04 | Junghans Uhren Gmbh | Position detection and correction device |
| DE19700108B4 (en) * | 1997-01-03 | 2005-12-22 | Citizen Watch Co., Ltd. | Electronic clock and charging method of the same |
-
1997
- 1997-10-17 DE DE29718454U patent/DE29718454U1/en not_active Expired - Lifetime
-
1998
- 1998-09-21 JP JP10266942A patent/JPH11160464A/en active Pending
- 1998-10-13 EP EP98119256A patent/EP0909996A3/en not_active Withdrawn
- 1998-10-16 US US09/174,097 patent/US6205091B1/en not_active Expired - Fee Related
Patent Citations (3)
| Publication number | Priority date | Publication date | Assignee | Title |
|---|---|---|---|---|
| EP0285838A1 (en) * | 1987-03-11 | 1988-10-12 | Junghans Uhren Gmbh | Autonomous radio-controlled clock |
| EP0553722A2 (en) * | 1992-01-28 | 1993-08-04 | Junghans Uhren Gmbh | Small autonomous radio timepiece with analogue display, in particular wristwatch radio |
| EP0591557A1 (en) * | 1992-04-27 | 1994-04-13 | Citizen Watch Co. Ltd. | Hand-indication electronic timepiece |
Also Published As
| Publication number | Publication date |
|---|---|
| US6205091B1 (en) | 2001-03-20 |
| JPH11160464A (en) | 1999-06-18 |
| EP0909996A2 (en) | 1999-04-21 |
| DE29718454U1 (en) | 1999-02-11 |
Similar Documents
| Publication | Publication Date | Title |
|---|---|---|
| EP0909996A3 (en) | Clock/radio powered by solar energy | |
| DE3439638C1 (en) | Autonomous radio clock | |
| US4600010A (en) | Electric stimulator and test instrument therefor | |
| ES2153848T3 (en) | DEVICE FOR DETERMINING THE FUNCTION OF THE MIOCARD AND CORRESPONDING PROCEDURE. | |
| CN102967863B (en) | Satellite signal receiving apparatus and electronic equipment | |
| JP6136163B2 (en) | Electronic timepiece and control method of electronic timepiece | |
| EP0208986B1 (en) | Compact electric apparatus powered by solar cells, in particular a solar watch | |
| EP1152304A3 (en) | Solar-driven electronic clock | |
| US7760588B2 (en) | Radio controlled time piece and method of controlling same | |
| Elsner et al. | On the origin and persistence of long-period pulsating X-ray sources | |
| DE3510636C3 (en) | Autonomous radio clock with time signal generator | |
| DE4219257C2 (en) | Autonomous radio clock with time zone switchover | |
| ATE154148T1 (en) | RADIO CONTROLLED MOVEMENT | |
| JP2013050329A (en) | Satellite signal reception device, satellite signal receiving method, and electronic device | |
| CN205451393U (en) | Intelligence watch with report to police when falling and call for help function | |
| JPS61201538A (en) | Call type telemeter system | |
| JP2011220843A (en) | GPS reception clock | |
| EP0285838B1 (en) | Autonomous radio-controlled clock | |
| JPS619798A (en) | Automatic transmission type observer | |
| EP0608734B1 (en) | Wristwatch | |
| CN107239033A (en) | A kind of satellite clock pointer indicating mode | |
| JP2002512684A (en) | Clock with detection and saving means in case of power shortage | |
| DE29912311U1 (en) | Alarm clock, in particular digitally displaying radio alarm clock | |
| EP0608733A2 (en) | Autonomous radio clock | |
| JP2000241569A (en) | Time information administration system |
Legal Events
| Date | Code | Title | Description |
|---|---|---|---|
| PUAI | Public reference made under article 153(3) epc to a published international application that has entered the european phase |
Free format text: ORIGINAL CODE: 0009012 |
|
| AK | Designated contracting states |
Kind code of ref document: A2 Designated state(s): AT BE CH CY DE DK ES FI FR GB GR IE IT LI LU MC NL PT SE |
|
| AX | Request for extension of the european patent |
Free format text: AL;LT;LV;MK;RO;SI |
|
| PUAL | Search report despatched |
Free format text: ORIGINAL CODE: 0009013 |
|
| AK | Designated contracting states |
Kind code of ref document: A3 Designated state(s): AT BE CH CY DE DK ES FI FR GB GR IE IT LI LU MC NL PT SE |
|
| AX | Request for extension of the european patent |
Free format text: AL;LT;LV;MK;RO;SI |
|
| RIC1 | Information provided on ipc code assigned before grant |
Free format text: 7G 04C 10/02 A, 7G 04G 1/00 B, 7G 04C 3/14 B |
|
| AKX | Designation fees paid |
Designated state(s): AT CH DE FR GB IT LI |
|
| STAA | Information on the status of an ep patent application or granted ep patent |
Free format text: STATUS: THE APPLICATION IS DEEMED TO BE WITHDRAWN |
|
| 18D | Application deemed to be withdrawn |
Effective date: 20030619 |
|
| REG | Reference to a national code |
Ref country code: HK Ref legal event code: WD Ref document number: 1017930 Country of ref document: HK |
