EP0906831A3 - Arrangement for collecting recording supports - Google Patents
Arrangement for collecting recording supports Download PDFInfo
- Publication number
- EP0906831A3 EP0906831A3 EP98250325A EP98250325A EP0906831A3 EP 0906831 A3 EP0906831 A3 EP 0906831A3 EP 98250325 A EP98250325 A EP 98250325A EP 98250325 A EP98250325 A EP 98250325A EP 0906831 A3 EP0906831 A3 EP 0906831A3
- Authority
- EP
- European Patent Office
- Prior art keywords
- insert
- transport direction
- arrangement
- franking
- side wall
- Prior art date
- Legal status (The legal status is an assumption and is not a legal conclusion. Google has not performed a legal analysis and makes no representation as to the accuracy of the status listed.)
- Ceased
Links
- 239000000969 carrier Substances 0.000 abstract 1
Classifications
-
- B—PERFORMING OPERATIONS; TRANSPORTING
- B41—PRINTING; LINING MACHINES; TYPEWRITERS; STAMPS
- B41J—TYPEWRITERS; SELECTIVE PRINTING MECHANISMS, i.e. MECHANISMS PRINTING OTHERWISE THAN FROM A FORME; CORRECTION OF TYPOGRAPHICAL ERRORS
- B41J13/00—Devices or arrangements of selective printing mechanisms, e.g. ink-jet printers or thermal printers, specially adapted for supporting or handling copy material in short lengths, e.g. sheets
- B41J13/10—Sheet holders, retainers, movable guides, or stationary guides
- B41J13/12—Sheet holders, retainers, movable guides, or stationary guides specially adapted for small cards, envelopes, or the like, e.g. credit cards, cut visiting cards
-
- B—PERFORMING OPERATIONS; TRANSPORTING
- B41—PRINTING; LINING MACHINES; TYPEWRITERS; STAMPS
- B41J—TYPEWRITERS; SELECTIVE PRINTING MECHANISMS, i.e. MECHANISMS PRINTING OTHERWISE THAN FROM A FORME; CORRECTION OF TYPOGRAPHICAL ERRORS
- B41J13/00—Devices or arrangements of selective printing mechanisms, e.g. ink-jet printers or thermal printers, specially adapted for supporting or handling copy material in short lengths, e.g. sheets
- B41J13/10—Sheet holders, retainers, movable guides, or stationary guides
- B41J13/106—Sheet holders, retainers, movable guides, or stationary guides for the sheet output section
Landscapes
- Sorting Of Articles (AREA)
- Conveying Record Carriers (AREA)
- Stackable Containers (AREA)
Abstract
Anordnung zur Ablage von Aufzeichnungsträgern, insbesondere von
Briefen, die auf einer Kante stehend aus einer Frankier- und/oder
Adressiermaschine ausgeworfen werden.
Zweck ist eine Verbesserung der Zuverlässigkeit und der Gebrauchseigenschaften.
Aufgabengemäß sollen größere Stapelhöhen ermöglicht und eine
Staubildung verhindert werden.
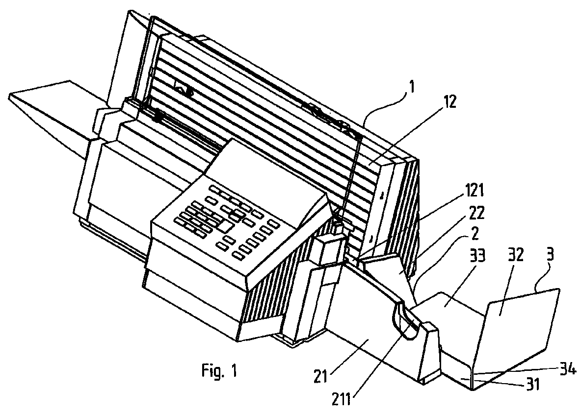
Erfindungsgemäß sind nachfolgend an die Frankiermaschine 1 ein
winkelförmiger Einsatz 2 mit einer Rinne 211 in Transportrichtung und
ein Winkelteil 3 angeordnet. Der Einsatz 2 ist mit seiner Seitenwand 22
lösbar an die Frankiermaschine angekoppelt und weist in seiner Vorderwand
21 eine Rinne 211 in Transportrichtung auf, in der die Briefe
entlanggleiten. Der Winkelteil 3 ist mit seiner Vorderhand 31 in dem
Einsatz 2 geführt und weist eine Seitenwand 32 orthogonal zur Transportrichtung
auf, die als federnde Prallwand ausgeführt ist.
Auf diese Weise bleibt der Gleitbereich stets frei und es wird eine geordnete
Stapelablage bei wesentlich gesteigerter Stapelhöhe erreicht.
Arrangement for storing record carriers, in particular letters, which are ejected standing on one edge from a franking and / or addressing machine.
The purpose is to improve reliability and performance.
According to the task, larger stack heights are to be made possible and jamming is prevented.
According to the invention, an angular insert 2 with a groove 211 in the transport direction and an angular part 3 are arranged downstream of the franking machine 1. The insert 2 is detachably coupled to the franking machine with its side wall 22 and has in its front wall 21 a channel 211 in the transport direction in which the letters slide along. The angled part 3 is guided with its forehand 31 in the insert 2 and has a side wall 32 orthogonal to the transport direction, which is designed as a resilient baffle.
In this way, the sliding area always remains free and orderly stacking is achieved with a significantly increased stacking height.
Applications Claiming Priority (2)
| Application Number | Priority Date | Filing Date | Title |
|---|---|---|---|
| DE19742893 | 1997-09-24 | ||
| DE1997142893 DE19742893A1 (en) | 1997-09-24 | 1997-09-24 | Arrangement for storing record carriers |
Publications (2)
| Publication Number | Publication Date |
|---|---|
| EP0906831A2 EP0906831A2 (en) | 1999-04-07 |
| EP0906831A3 true EP0906831A3 (en) | 1999-12-08 |
Family
ID=7843949
Family Applications (1)
| Application Number | Title | Priority Date | Filing Date |
|---|---|---|---|
| EP98250325A Ceased EP0906831A3 (en) | 1997-09-24 | 1998-09-11 | Arrangement for collecting recording supports |
Country Status (2)
| Country | Link |
|---|---|
| EP (1) | EP0906831A3 (en) |
| DE (1) | DE19742893A1 (en) |
Families Citing this family (3)
| Publication number | Priority date | Publication date | Assignee | Title |
|---|---|---|---|---|
| DE19840917C1 (en) * | 1998-09-08 | 2000-01-13 | Francotyp Postalia Gmbh | Passing postal items, e.g. letters and cards, to storage arrangement, enabling stacked storage of mixed post |
| DE19900686C2 (en) * | 1999-01-05 | 2002-10-24 | Francotyp Postalia Ag | Arrangement for closing envelopes |
| DE19900687B4 (en) | 1999-01-05 | 2005-09-15 | Francotyp-Postalia Ag & Co. Kg | Arrangement for storing recording media |
Citations (2)
| Publication number | Priority date | Publication date | Assignee | Title |
|---|---|---|---|---|
| US3918703A (en) * | 1973-12-19 | 1975-11-11 | Ricoh Kk | Card stacker |
| DE19605014C1 (en) * | 1996-01-31 | 1997-03-13 | Francotyp Postalia Gmbh | Printing device for postal franking or addressing machine |
Family Cites Families (5)
| Publication number | Priority date | Publication date | Assignee | Title |
|---|---|---|---|---|
| GB958563A (en) * | 1959-09-24 | 1964-05-21 | Int Computers & Tabulators Ltd | Improvements in or relating to record card feeding apparatus |
| FR2349897A1 (en) * | 1976-04-29 | 1977-11-25 | Honeywell Bull Soc Ind | RECEPTION BOX OF DOCUMENTS |
| FR2387892A1 (en) * | 1977-04-18 | 1978-11-17 | Roux Jacques | DEVICE FOR STORING FLAT OBJECTS |
| DE19605015C1 (en) | 1996-01-31 | 1997-03-06 | Francotyp Postalia Gmbh | Device for printing on print carrier standing on edge e.g. letter in franking or addressing machine |
| DE19705089C1 (en) | 1997-02-01 | 1998-03-26 | Francotyp Postalia Gmbh | Record carrier storage arrangement for letters in postage and addressing machine |
-
1997
- 1997-09-24 DE DE1997142893 patent/DE19742893A1/en not_active Withdrawn
-
1998
- 1998-09-11 EP EP98250325A patent/EP0906831A3/en not_active Ceased
Patent Citations (2)
| Publication number | Priority date | Publication date | Assignee | Title |
|---|---|---|---|---|
| US3918703A (en) * | 1973-12-19 | 1975-11-11 | Ricoh Kk | Card stacker |
| DE19605014C1 (en) * | 1996-01-31 | 1997-03-13 | Francotyp Postalia Gmbh | Printing device for postal franking or addressing machine |
Also Published As
| Publication number | Publication date |
|---|---|
| DE19742893A1 (en) | 1999-04-01 |
| EP0906831A2 (en) | 1999-04-07 |
Similar Documents
| Publication | Publication Date | Title |
|---|---|---|
| DE3021327A1 (en) | Automatic coin sorting unit - has rotary table with ejector station and facility for removing jammed coins | |
| EP0906831A3 (en) | Arrangement for collecting recording supports | |
| SE439100B (en) | EXTRACT CONTROL FOR EXTRACT CHARGES AND SIMILAR | |
| DE2059960A1 (en) | Stackable paper storage box | |
| EP1217109A3 (en) | Spinning device | |
| EP1018434A3 (en) | Arrangement for collecting recording supports | |
| DE19840917C1 (en) | Passing postal items, e.g. letters and cards, to storage arrangement, enabling stacked storage of mixed post | |
| US4486111A (en) | Data binder slide | |
| DE19631561C2 (en) | Holder for temporarily storing a coin or the like. | |
| EP1106100B1 (en) | Purse | |
| EP1313660A1 (en) | Stacking device for flat postal items standing on edge | |
| DE29718830U1 (en) | Container for storing a stack of cards | |
| DE19828050A1 (en) | Sheet stop in conveyor track to define collection station | |
| DE19746705A1 (en) | Business card holder fabricated of two low-cost parts. | |
| DE19826221C2 (en) | Binder | |
| AT246694B (en) | Binder | |
| EP1418588A1 (en) | Case, especially for reception of flat objects | |
| DE1805586A1 (en) | Receiving device for upright container conveyor belt systems | |
| DE102010022873A1 (en) | Self-service device for goods packages | |
| DE4314446A1 (en) | Letter folder | |
| DE6917032U (en) | COLLECTORS MADE OF PLASTIC FOR HANG-RAILS AND OTHER DEPOSIT CARRIERS | |
| DE7222113U (en) | Cover for table tops, in particular desk tops | |
| DE7805283U1 (en) | DEVICE FOR STAMPING STAMPS | |
| WO2000059736A1 (en) | A securing device for a loose-leaf retainer | |
| DE29618804U1 (en) | S-shaped retaining clip for clamping notes and the like. |
Legal Events
| Date | Code | Title | Description |
|---|---|---|---|
| PUAI | Public reference made under article 153(3) epc to a published international application that has entered the european phase |
Free format text: ORIGINAL CODE: 0009012 |
|
| AK | Designated contracting states |
Kind code of ref document: A2 Designated state(s): CH DE FR GB IT LI |
|
| AX | Request for extension of the european patent |
Free format text: AL;LT;LV;MK;RO;SI |
|
| PUAL | Search report despatched |
Free format text: ORIGINAL CODE: 0009013 |
|
| AK | Designated contracting states |
Kind code of ref document: A3 Designated state(s): AT BE CH CY DE DK ES FI FR GB GR IE IT LI LU MC NL PT SE |
|
| AX | Request for extension of the european patent |
Free format text: AL;LT;LV;MK;RO;SI |
|
| 17P | Request for examination filed |
Effective date: 20000124 |
|
| AKX | Designation fees paid |
Free format text: CH DE FR GB IT LI |
|
| GRAG | Despatch of communication of intention to grant |
Free format text: ORIGINAL CODE: EPIDOS AGRA |
|
| 17Q | First examination report despatched |
Effective date: 20010523 |
|
| STAA | Information on the status of an ep patent application or granted ep patent |
Free format text: STATUS: THE APPLICATION HAS BEEN REFUSED |
|
| 18R | Application refused |
Effective date: 20011118 |
