EP0478624B1 - Apparatus for making or dispensing drinks - Google Patents
Apparatus for making or dispensing drinks Download PDFInfo
- Publication number
- EP0478624B1 EP0478624B1 EP90909341A EP90909341A EP0478624B1 EP 0478624 B1 EP0478624 B1 EP 0478624B1 EP 90909341 A EP90909341 A EP 90909341A EP 90909341 A EP90909341 A EP 90909341A EP 0478624 B1 EP0478624 B1 EP 0478624B1
- Authority
- EP
- European Patent Office
- Prior art keywords
- wall
- valve
- concentrate
- wall means
- chamber
- Prior art date
- Legal status (The legal status is an assumption and is not a legal conclusion. Google has not performed a legal analysis and makes no representation as to the accuracy of the status listed.)
- Expired - Lifetime
Links
Images
Classifications
-
- B—PERFORMING OPERATIONS; TRANSPORTING
- B67—OPENING, CLOSING OR CLEANING BOTTLES, JARS OR SIMILAR CONTAINERS; LIQUID HANDLING
- B67D—DISPENSING, DELIVERING OR TRANSFERRING LIQUIDS, NOT OTHERWISE PROVIDED FOR
- B67D1/00—Apparatus or devices for dispensing beverages on draught
- B67D1/08—Details
- B67D1/12—Flow or pressure control devices or systems, e.g. valves, gas pressure control, level control in storage containers
- B67D1/1277—Flow control valves
- B67D1/1279—Flow control valves regulating the flow
-
- B—PERFORMING OPERATIONS; TRANSPORTING
- B67—OPENING, CLOSING OR CLEANING BOTTLES, JARS OR SIMILAR CONTAINERS; LIQUID HANDLING
- B67D—DISPENSING, DELIVERING OR TRANSFERRING LIQUIDS, NOT OTHERWISE PROVIDED FOR
- B67D1/00—Apparatus or devices for dispensing beverages on draught
- B67D1/0015—Apparatus or devices for dispensing beverages on draught the beverage being prepared by mixing at least two liquid components
- B67D1/0021—Apparatus or devices for dispensing beverages on draught the beverage being prepared by mixing at least two liquid components the components being mixed at the time of dispensing, i.e. post-mix dispensers
- B67D1/0022—Apparatus or devices for dispensing beverages on draught the beverage being prepared by mixing at least two liquid components the components being mixed at the time of dispensing, i.e. post-mix dispensers the apparatus comprising means for automatically controlling the amount to be dispensed
- B67D1/0034—Apparatus or devices for dispensing beverages on draught the beverage being prepared by mixing at least two liquid components the components being mixed at the time of dispensing, i.e. post-mix dispensers the apparatus comprising means for automatically controlling the amount to be dispensed for controlling the amount of each component
- B67D1/0039—Apparatus or devices for dispensing beverages on draught the beverage being prepared by mixing at least two liquid components the components being mixed at the time of dispensing, i.e. post-mix dispensers the apparatus comprising means for automatically controlling the amount to be dispensed for controlling the amount of each component the controls involving at least two different metering technics
-
- B—PERFORMING OPERATIONS; TRANSPORTING
- B67—OPENING, CLOSING OR CLEANING BOTTLES, JARS OR SIMILAR CONTAINERS; LIQUID HANDLING
- B67D—DISPENSING, DELIVERING OR TRANSFERRING LIQUIDS, NOT OTHERWISE PROVIDED FOR
- B67D1/00—Apparatus or devices for dispensing beverages on draught
- B67D1/0042—Details of specific parts of the dispensers
- B67D1/0057—Carbonators
- B67D1/0069—Details
- B67D1/0074—Automatic carbonation control
-
- B—PERFORMING OPERATIONS; TRANSPORTING
- B67—OPENING, CLOSING OR CLEANING BOTTLES, JARS OR SIMILAR CONTAINERS; LIQUID HANDLING
- B67D—DISPENSING, DELIVERING OR TRANSFERRING LIQUIDS, NOT OTHERWISE PROVIDED FOR
- B67D1/00—Apparatus or devices for dispensing beverages on draught
- B67D1/08—Details
- B67D1/12—Flow or pressure control devices or systems, e.g. valves, gas pressure control, level control in storage containers
- B67D1/1202—Flow control, e.g. for controlling total amount or mixture ratio of liquids to be dispensed
- B67D1/1204—Flow control, e.g. for controlling total amount or mixture ratio of liquids to be dispensed for ratio control purposes
- B67D1/1231—Metering pumps
-
- B—PERFORMING OPERATIONS; TRANSPORTING
- B67—OPENING, CLOSING OR CLEANING BOTTLES, JARS OR SIMILAR CONTAINERS; LIQUID HANDLING
- B67D—DISPENSING, DELIVERING OR TRANSFERRING LIQUIDS, NOT OTHERWISE PROVIDED FOR
- B67D1/00—Apparatus or devices for dispensing beverages on draught
- B67D1/08—Details
- B67D1/12—Flow or pressure control devices or systems, e.g. valves, gas pressure control, level control in storage containers
- B67D1/1284—Ratio control
- B67D1/1286—Ratio control by mechanical construction
- B67D1/129—Means for changing the ratio by acting on structural parts
Definitions
- the present invention relates to a device for discharging metered quantites of liquid concentrate
- a device for discharging metered quantites of liquid concentrate comprising a housing having wall means defining a hollow interior, a flexible member dividing the interior of the housing into a first chamber and a second chamber, inlet valve means in the communication with the first chamber for permitting the flow of concentrate therethrough into the first chamber when the inlet valve means is opened and the inlet valve being closable to resist reverse flow of concentrate therethrough, outlet valve means in communication with the first chamber for discharging concentrate therefrom, and gas inlet means in communication with the second chamber for the supply of gas thereto for pressurisation of said hollow interior to cause said flexible member to flex so as to discharge concentrate from the first chamber through said outlet valve means.
- US 4334640 discloses a device as described above in which the outlet valve means is provided by a tubular portion having a central bore in communication with a plurality of radial bores providing fluid communication between the chamber of the device which may contain concentrate and the exterior of the device.
- a thin resilient piece of hose is arranged to cover the openings of the plurality of radial bores, the resilience of the wall of the piece of hose being arranged to hold the wall in contact with the outlets of the radial bores to close the valve.
- the fluid pressure is such that concentrate may be pushed out of the device via the radial bores and deform the resilient piece of hose to open the valve and allow concentrate to flow from the device.
- the object of the present invention is, at least in the preferred embodiment, to provide an improved concentrate discharging device.
- the device according to the present invention is characterised in that the outlet valve means comprises an opening in a first portion of the wall means and a valve head carried by a second portion of said wall means, said first and second portions of said wall means being relatively moveable for effecting relative movement of the valve head and valve opening, and being resiliently biased to a first relative position in which the opening is closed by the valve head and being arranged to move in response to said pressurisation of the device to a second relative position in which the outlet valve means is opened.
- Figs. 1 to 8 show a concentrate supply device 2 comprising a concentrate container 4, such as a liquid tight box, and a concentrate dispensing unit 6 which is secured to the container 4, and is for dispensing concentrate therefrom in metered quantities.
- the container 4 is filled with liquid concentrate 8 to be dispensed although each of Figs. 1 to 4 show that the container 4 has already been partly emptied.
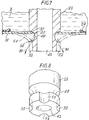
- the dispensing unit 6 comprises a cylindrical side wall 10 which is secured, as by welding, to a disc shaped upper wall 12 having an outwardly extending flange 14 by which the unit 6 is secured, again as by welding, to a wall 16 of the container 4.
- a lower wall 18 of the unit 6 is carried by the cylindrical wall 10 and has a central circular aperture 20 through which projects a stem 22, of circular cross-section, carried by the upper wall 12.
- a flexible plastics diaphragm 24 of relatively flimsy material is provided in the unit 6.
- the diaphragm 24, as best seen in Fig. 6, is of bag-like construction and is of a size and shape such that, as shown in Fig. 2, it may conform to the interior of the walls 10 and 18.
- the diaphragm is open at its upper end and the upper edge 26 thereof is secured between the walls 10 and 12.
- the diaphragm 24 has an opening 28 at its lower end and the perimeter of the opening 28 of the diaphragm is secured as by welding to the portion of the wall 18 surrounding the aperture 20.
- the diaphragm 24 accordingly divides the interior of the unit 6 into two chambers 30 and 32.
- the chamber 30 communicates with the interior of vessel 4 through a passage 34 which may be closed by a one-way valve 36 and the chamber 32 may receive pressurised gas from a gas supply (not shown) through a nipple 38 into which the end of a gas supply pipe 40 may be inserted.
- the wall 12, flanges 16 and stem 22 are formed as a first unitary plastics moulding and the wall 10, wall 18 and nipple 38 are formed as a second unitary plastics moulding, the two mouldings being secured together with the upper edge 26 of the diaphragm 24 clamped therebetween.
- the stem 22 is hollow to define a passage 42 which, at its lower end communicates with atmosphere, and its upper end may communicate with the interior of the container 4 through a passage 44 which may be closed by a one-way valve 46.
- a circumferential channel 48 is provided on the outside of stem 22 at a position near but spaced from the lower end.
- the size of the opening 20 in wall 18 is such that the wall 18 extends into the channel 48 and normally contacts the stem 20 at a point 50 therein to form a seal.
- Four axial channels 52 extend along the exterior of the portion of the stem 20 below the circumferential channel 50.
- the wall 18 is flexibly resilient so that it may bend from the full line position shown in Fig. 7 in which a seal is formed at point 50 to the chain dotted line position 54 shown in Fig. 7 in which the seal at point 50 is broken and contact is made with the stem at point 56 adjacent the upper end of the channel 52.
- the resilience of the wall 18 is sufficient to permit the lower part of stem 22 to be pushed through the aperture 20 during assembly.
- the valve 36 is made of a unitary moulding of synthetic plastics material and comprises a ball 60 forming a valve head, a ligament 62 extending through the passage 34 and a cross-bar 64 on the opposite side of the passage 36 to the head 60 and acting as a stop limiting the downwards movement of the head 60.
- the ligament 62 is sufficiently flexible to enable it to be bent so that the cross-bar 64 extends generally parallel to the ligament to enable the ligament and cross-bar to be threaded through the aperture 34 during manufacture.
- the construction of the valve 46 is identical to the valve 36 and thus comprises a head 70, ligament 72 and cross-bar 74.
- the device illustrated in Figs. 1 to 8 will normally be supplied to customers with the container 4 filled with concentrate and the metering unit 6 empty.
- a cap 76 shown in broken lines in Fig. 1 only is preferably included and is attached to the unit 6 by a breakable seal (not shown) and covers the lower end of the stem 22 and the nipple 38.
- the customer removes the cap 76 and inserts the device into a carbonating apparatus, not described herein in detail, which is designed for receiving the device 2.
- the device 2 is inserted in the carbonating apparatus in the "inverted" position illustrated in Figs. 1 to 4 and the pipe 40, which is part of the carbonation apparatus, is inserted into the nipple 38 and forms a gas tight seal therewith.
- the chamber 32 is not pressurised and, as a result, liquid may flow under gravity from the interior of the container 4 into the chamber 30, the valve 36 opening for this purpose as shown in Fig. 1.
- pressure within the container 4 may reduce and as a result atmospheric pressure acting on valve head 70 will cause the valve 46 to open to permit air to bubble up through the liquid in container 4 as indicated at 78 in Fig. 1.
- the air in the chamber 30 will first be transferred through the passage 34 into the container 4 as liquid enters the chamber 30, in which the case the opening of the valve 46 may be delayed.
- valve 46 closes.
- the unit 6 now contains a metered quantity of liquid to be dispensed.
- this metered quantity of liquid may be dispensed from the unit 6 by permitting gas pressure to enter chamber 32 through pipe 40.
- the admission of such gas is preferably controlled by a control and timing system (not shown) of the carbonation apparatus (not shown) with which the device 2 is used.
- a control and timing system not shown
- Such a device is disclosed in GB 2233960.
- the pressure in chamber 32 increases, the resulting tendency of the liquid in chamber 30 to be forced upwardly through the passage 34 causes the valve 36 to close (Fig. 3). This pressure also causes wall 18 to flex downwardly as shown in Fig.
- the pressure in chamber 32 is retained long enough to substantially empty the chamber 30 of liquid, at which point, as shown in Fig. 4, the diaphragm 24 has reduced the volume of chamber 30 to near to zero. Thereafter, the pressure in chamber 32 may be released and chamber 30 will again fill with concentrate as shown in Figs. 1 and 2;
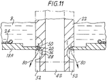
- Figs. 9 to 11 The embodiment shown in Figs. 9 to 11 is the same as that of Figs. 1 to 8 except that the lower wall 18A of unit 6 is substantially rigid and, instead, the upper wall 12A is resiliently flexible and is thus somewhat thinner than the wall 12.
- Fig. 9 shows the chamber filled with liquid 30 to be dispensed and
- Fig. 10 shows the dispensing operation with the chamber 32 pressurised.
- the wall 12A flexes upwardly to draw the stem 20 upwardly with respect to the aperture 20 in wall 18A, thus permitting liquid to be discharged from the chamber 30 through aperture 20.
- the distance through which the stem 20 moves upwardly relative to the wall 18 depends upon the pressure in the chamber 32 so that, when the pressure is high, the liquid is constrained to flow through the restricted area defined by the edge of the wall 18A around the aperture 20 and the channels 52 whereas lower pressures cause the stem 20 to assume intermediate position at which the area available for the outflow of liquid is greater.
- the container 4 is of relatively rigid material in the illustrated embodiments, thus requiring provision for air to enter as the liquid leaves (this provision being the valve 46 in the embodiment shown in the drawings), the invention can be applied to so-called "bag-in-a-box" containers in which the liquid is contained in a collapsible bag located in a box. In this case, dispensing can be achieved without the need for air to enter the bag containing the liquid since this collapses under atmospheric pressure as liquid is withdrawn.
- the invention provides a highly advantageous and inexpensive device for dispensing concentrate which may be made sufficiently cheaply to be disposed of after the liquid in the container with which it is used has been consumed.
Landscapes
- Engineering & Computer Science (AREA)
- Mechanical Engineering (AREA)
- Devices For Dispensing Beverages (AREA)
- Tea And Coffee (AREA)
- Non-Alcoholic Beverages (AREA)
- Containers And Packaging Bodies Having A Special Means To Remove Contents (AREA)
- Vending Machines For Individual Products (AREA)
Applications Claiming Priority (5)
| Application Number | Priority Date | Filing Date | Title |
|---|---|---|---|
| GB8914420 | 1989-06-23 | ||
| GB8914420A GB2233960A (en) | 1989-06-23 | 1989-06-23 | Carbonated drink dispenser |
| GB909009947A GB9009947D0 (en) | 1989-06-23 | 1990-05-02 | Dispensing device |
| GB9009947 | 1990-05-02 | ||
| PCT/GB1990/000946 WO1991000238A1 (en) | 1989-06-23 | 1990-06-19 | Apparatus for making or dispensing drinks |
Publications (2)
| Publication Number | Publication Date |
|---|---|
| EP0478624A1 EP0478624A1 (en) | 1992-04-08 |
| EP0478624B1 true EP0478624B1 (en) | 1997-04-02 |
Family
ID=26295526
Family Applications (1)
| Application Number | Title | Priority Date | Filing Date |
|---|---|---|---|
| EP90909341A Expired - Lifetime EP0478624B1 (en) | 1989-06-23 | 1990-06-19 | Apparatus for making or dispensing drinks |
Country Status (12)
| Country | Link |
|---|---|
| EP (1) | EP0478624B1 (enExample) |
| JP (1) | JP3144686B2 (enExample) |
| AT (1) | ATE151054T1 (enExample) |
| AU (1) | AU5832490A (enExample) |
| BR (1) | BR9007460A (enExample) |
| CA (1) | CA2059290A1 (enExample) |
| DE (1) | DE69030380T2 (enExample) |
| DK (1) | DK0478624T3 (enExample) |
| ES (1) | ES2100883T3 (enExample) |
| HK (1) | HK1000662A1 (enExample) |
| SG (1) | SG43899A1 (enExample) |
| WO (1) | WO1991000238A1 (enExample) |
Cited By (27)
| Publication number | Priority date | Publication date | Assignee | Title |
|---|---|---|---|---|
| US6766656B1 (en) | 2000-06-08 | 2004-07-27 | Beverage Works, Inc. | Beverage dispensing apparatus |
| US6799085B1 (en) | 2000-06-08 | 2004-09-28 | Beverage Works, Inc. | Appliance supply distribution, dispensing and use system method |
| US6896159B2 (en) | 2000-06-08 | 2005-05-24 | Beverage Works, Inc. | Beverage dispensing apparatus having fluid director |
| US7004355B1 (en) | 2000-06-08 | 2006-02-28 | Beverage Works, Inc. | Beverage dispensing apparatus having drink supply canister holder |
| US7083071B1 (en) | 2000-06-08 | 2006-08-01 | Beverage Works, Inc. | Drink supply canister for beverage dispensing apparatus |
| US7478031B2 (en) | 2002-11-07 | 2009-01-13 | Qst Holdings, Llc | Method, system and program for developing and scheduling adaptive integrated circuity and corresponding control or configuration information |
| US7489779B2 (en) | 2001-03-22 | 2009-02-10 | Qstholdings, Llc | Hardware implementation of the secure hash standard |
| US7493375B2 (en) | 2002-04-29 | 2009-02-17 | Qst Holding, Llc | Storage and delivery of device features |
| US7512173B2 (en) | 2001-12-12 | 2009-03-31 | Qst Holdings, Llc | Low I/O bandwidth method and system for implementing detection and identification of scrambling codes |
| US7602740B2 (en) | 2001-12-10 | 2009-10-13 | Qst Holdings, Inc. | System for adapting device standards after manufacture |
| US7606943B2 (en) | 2002-10-28 | 2009-10-20 | Qst Holdings, Llc | Adaptable datapath for a digital processing system |
| US7609297B2 (en) | 2003-06-25 | 2009-10-27 | Qst Holdings, Inc. | Configurable hardware based digital imaging apparatus |
| US7620097B2 (en) | 2001-03-22 | 2009-11-17 | Qst Holdings, Llc | Communications module, device, and method for implementing a system acquisition function |
| US7653710B2 (en) | 2002-06-25 | 2010-01-26 | Qst Holdings, Llc. | Hardware task manager |
| US7660984B1 (en) | 2003-05-13 | 2010-02-09 | Quicksilver Technology | Method and system for achieving individualized protected space in an operating system |
| US7752419B1 (en) | 2001-03-22 | 2010-07-06 | Qst Holdings, Llc | Method and system for managing hardware resources to implement system functions using an adaptive computing architecture |
| US7809050B2 (en) | 2001-05-08 | 2010-10-05 | Qst Holdings, Llc | Method and system for reconfigurable channel coding |
| US7865847B2 (en) | 2002-05-13 | 2011-01-04 | Qst Holdings, Inc. | Method and system for creating and programming an adaptive computing engine |
| US7937591B1 (en) | 2002-10-25 | 2011-05-03 | Qst Holdings, Llc | Method and system for providing a device which can be adapted on an ongoing basis |
| USRE42743E1 (en) | 2001-11-28 | 2011-09-27 | Qst Holdings, Llc | System for authorizing functionality in adaptable hardware devices |
| US8108656B2 (en) | 2002-08-29 | 2012-01-31 | Qst Holdings, Llc | Task definition for specifying resource requirements |
| US8225073B2 (en) | 2001-11-30 | 2012-07-17 | Qst Holdings Llc | Apparatus, system and method for configuration of adaptive integrated circuitry having heterogeneous computational elements |
| US8250339B2 (en) | 2001-11-30 | 2012-08-21 | Qst Holdings Llc | Apparatus, method, system and executable module for configuration and operation of adaptive integrated circuitry having fixed, application specific computational elements |
| US8276135B2 (en) | 2002-11-07 | 2012-09-25 | Qst Holdings Llc | Profiling of software and circuit designs utilizing data operation analyses |
| US8356161B2 (en) | 2001-03-22 | 2013-01-15 | Qst Holdings Llc | Adaptive processor for performing an operation with simple and complex units each comprising configurably interconnected heterogeneous elements |
| US8533431B2 (en) | 2001-03-22 | 2013-09-10 | Altera Corporation | Adaptive integrated circuitry with heterogeneous and reconfigurable matrices of diverse and adaptive computational units having fixed, application specific computational elements |
| US9002998B2 (en) | 2002-01-04 | 2015-04-07 | Altera Corporation | Apparatus and method for adaptive multimedia reception and transmission in communication environments |
Families Citing this family (4)
| Publication number | Priority date | Publication date | Assignee | Title |
|---|---|---|---|---|
| GB2338558A (en) | 1998-06-17 | 1999-12-22 | Isoworth Uk Ltd | Drink dispenser, concentrate detector and concentrate container |
| US7754025B1 (en) | 2000-06-08 | 2010-07-13 | Beverage Works, Inc. | Dishwasher having a door supply housing which holds dish washing supply for multiple wash cycles |
| UA74429C2 (uk) * | 2001-04-06 | 2005-12-15 | Скотт Нікол | Апарат та спосіб газування води діоксидом карбону |
| EP4291521B1 (en) * | 2021-02-12 | 2024-10-30 | Sodaflo Limited | Apparatus and method for the preparation and dispensing of post-mix carbonated drinks |
Citations (9)
| Publication number | Priority date | Publication date | Assignee | Title |
|---|---|---|---|---|
| GB678622A (en) * | 1950-01-19 | 1952-09-03 | Patrick Hubert Mathews | Improvements in or relating to liquid dispensing devices |
| US2837246A (en) * | 1955-04-12 | 1958-06-03 | Kenco Products Corp | Self-contained liquid dispenser-downstroke discharge |
| US3144177A (en) * | 1961-06-07 | 1964-08-11 | Cookson Maynard Charles Scott | Dispensers for syrups and like commodities |
| US3377004A (en) * | 1966-10-03 | 1968-04-09 | Gen Mills Inc | Metered dispensing container |
| DE1911525A1 (de) * | 1968-03-08 | 1969-10-02 | Stefani Roberto De | Pumpsystem mit ausserhalb eines gebohrten Brunnens angebrachter Pumpe |
| DE2715153A1 (de) * | 1977-04-05 | 1978-10-19 | Hermann Ruether | Getraenkebehaelter |
| GB2078867A (en) * | 1980-06-25 | 1982-01-13 | Distillers Co Carbon Dioxide | Metering system for dispensing beer or other potable carbonated liquids |
| US4334640A (en) * | 1977-08-08 | 1982-06-15 | Douwe Egberts Koninklijke Tabaksfabriek-Koffiebranderijen-Theehandel B.V. | Exchangeable concentrate container for beverage dispensing machines |
| GB2089902A (en) * | 1980-11-10 | 1982-06-30 | Nippon Zeon Co | Blood pumps and methods of manufacturing blood pumps |
Family Cites Families (1)
| Publication number | Priority date | Publication date | Assignee | Title |
|---|---|---|---|---|
| CH274188A (fr) * | 1945-06-27 | 1951-03-31 | Coca Cola Co | Appareil distributeur de boissons mélangées gazéifiées. |
-
1990
- 1990-06-19 ES ES90909341T patent/ES2100883T3/es not_active Expired - Lifetime
- 1990-06-19 AT AT90909341T patent/ATE151054T1/de not_active IP Right Cessation
- 1990-06-19 HK HK97102225A patent/HK1000662A1/en not_active IP Right Cessation
- 1990-06-19 SG SG1996004443A patent/SG43899A1/en unknown
- 1990-06-19 DE DE69030380T patent/DE69030380T2/de not_active Expired - Fee Related
- 1990-06-19 JP JP50866690A patent/JP3144686B2/ja not_active Expired - Fee Related
- 1990-06-19 CA CA002059290A patent/CA2059290A1/en not_active Abandoned
- 1990-06-19 EP EP90909341A patent/EP0478624B1/en not_active Expired - Lifetime
- 1990-06-19 AU AU58324/90A patent/AU5832490A/en not_active Abandoned
- 1990-06-19 WO PCT/GB1990/000946 patent/WO1991000238A1/en not_active Ceased
- 1990-06-19 DK DK90909341.1T patent/DK0478624T3/da active
- 1990-06-19 BR BR909007460A patent/BR9007460A/pt unknown
Patent Citations (9)
| Publication number | Priority date | Publication date | Assignee | Title |
|---|---|---|---|---|
| GB678622A (en) * | 1950-01-19 | 1952-09-03 | Patrick Hubert Mathews | Improvements in or relating to liquid dispensing devices |
| US2837246A (en) * | 1955-04-12 | 1958-06-03 | Kenco Products Corp | Self-contained liquid dispenser-downstroke discharge |
| US3144177A (en) * | 1961-06-07 | 1964-08-11 | Cookson Maynard Charles Scott | Dispensers for syrups and like commodities |
| US3377004A (en) * | 1966-10-03 | 1968-04-09 | Gen Mills Inc | Metered dispensing container |
| DE1911525A1 (de) * | 1968-03-08 | 1969-10-02 | Stefani Roberto De | Pumpsystem mit ausserhalb eines gebohrten Brunnens angebrachter Pumpe |
| DE2715153A1 (de) * | 1977-04-05 | 1978-10-19 | Hermann Ruether | Getraenkebehaelter |
| US4334640A (en) * | 1977-08-08 | 1982-06-15 | Douwe Egberts Koninklijke Tabaksfabriek-Koffiebranderijen-Theehandel B.V. | Exchangeable concentrate container for beverage dispensing machines |
| GB2078867A (en) * | 1980-06-25 | 1982-01-13 | Distillers Co Carbon Dioxide | Metering system for dispensing beer or other potable carbonated liquids |
| GB2089902A (en) * | 1980-11-10 | 1982-06-30 | Nippon Zeon Co | Blood pumps and methods of manufacturing blood pumps |
Cited By (68)
| Publication number | Priority date | Publication date | Assignee | Title |
|---|---|---|---|---|
| US7708172B2 (en) | 2000-06-08 | 2010-05-04 | Igt | Drink supply container having an end member supporting gas inlet and outlet valves which extend perpendicular to the end member |
| US7611031B2 (en) | 2000-06-08 | 2009-11-03 | Beverage Works, Inc. | Beverage dispensing apparatus having a valve actuator control system |
| US6848600B1 (en) | 2000-06-08 | 2005-02-01 | Beverage Works, Inc. | Beverage dispensing apparatus having carbonated and non-carbonated water supplier |
| US6857541B1 (en) | 2000-06-08 | 2005-02-22 | Beverage Works, Inc. | Drink supply canister for beverage dispensing apparatus |
| US6766656B1 (en) | 2000-06-08 | 2004-07-27 | Beverage Works, Inc. | Beverage dispensing apparatus |
| US6915925B2 (en) | 2000-06-08 | 2005-07-12 | Beverage Works, Inc. | Refrigerator having a gas supply apparatus for pressurizing drink supply canisters |
| US6986263B2 (en) | 2000-06-08 | 2006-01-17 | Beverage Works, Inc. | Refrigerator having a beverage dispenser and a display device |
| US7004355B1 (en) | 2000-06-08 | 2006-02-28 | Beverage Works, Inc. | Beverage dispensing apparatus having drink supply canister holder |
| US7032780B2 (en) | 2000-06-08 | 2006-04-25 | Beverage Works, Inc. | Refrigerator that displays beverage images, reads beverage data files and produces beverages |
| US7032779B2 (en) | 2000-06-08 | 2006-04-25 | Beverage Works, Inc. | Refrigerator having a beverage dispensing apparatus with a drink supply canister holder |
| US7083071B1 (en) | 2000-06-08 | 2006-08-01 | Beverage Works, Inc. | Drink supply canister for beverage dispensing apparatus |
| US7168592B2 (en) | 2000-06-08 | 2007-01-30 | Beverage Works, Inc. | Refrigerator having a gas line which pressurizes a drink supply container for producing beverages |
| US7203572B2 (en) | 2000-06-08 | 2007-04-10 | Beverage Works, Inc. | System and method for distributing drink supply containers |
| US7204259B2 (en) | 2000-06-08 | 2007-04-17 | Beverage Works, Inc. | Dishwasher operable with supply distribution, dispensing and use system method |
| US7278552B2 (en) | 2000-06-08 | 2007-10-09 | Beverage Works, Inc. | Water supplier for a beverage dispensing apparatus of a refrigerator |
| US7337924B2 (en) | 2000-06-08 | 2008-03-04 | Beverage Works, Inc. | Refrigerator which removably holds a drink supply container having a valve co-acting with an engager |
| US7356381B2 (en) | 2000-06-08 | 2008-04-08 | Beverage Works, Inc. | Refrigerator operable to display an image and output a carbonated beverage |
| US7367480B2 (en) | 2000-06-08 | 2008-05-06 | Beverage Works, Inc. | Drink supply canister having a self-closing pressurization valve operable to receive a pressurization pin |
| US7416097B2 (en) | 2000-06-08 | 2008-08-26 | Beverage Works, Inc. | Drink supply container valve assembly |
| US7419073B2 (en) | 2000-06-08 | 2008-09-02 | Beverage Works, In.C | Refrigerator having a fluid director access door |
| US7918368B2 (en) | 2000-06-08 | 2011-04-05 | Beverage Works, Inc. | Refrigerator having a valve engagement mechanism operable to engage multiple valves of one end of a liquid container |
| US7484388B2 (en) | 2000-06-08 | 2009-02-03 | Beverage Works, Inc. | Appliance operable with supply distribution, dispensing and use system and method |
| US7689476B2 (en) | 2000-06-08 | 2010-03-30 | Beverage Works, Inc. | Washing machine operable with supply distribution, dispensing and use system method |
| US6799085B1 (en) | 2000-06-08 | 2004-09-28 | Beverage Works, Inc. | Appliance supply distribution, dispensing and use system method |
| US6896159B2 (en) | 2000-06-08 | 2005-05-24 | Beverage Works, Inc. | Beverage dispensing apparatus having fluid director |
| US7752419B1 (en) | 2001-03-22 | 2010-07-06 | Qst Holdings, Llc | Method and system for managing hardware resources to implement system functions using an adaptive computing architecture |
| US8356161B2 (en) | 2001-03-22 | 2013-01-15 | Qst Holdings Llc | Adaptive processor for performing an operation with simple and complex units each comprising configurably interconnected heterogeneous elements |
| US9665397B2 (en) | 2001-03-22 | 2017-05-30 | Cornami, Inc. | Hardware task manager |
| US9396161B2 (en) | 2001-03-22 | 2016-07-19 | Altera Corporation | Method and system for managing hardware resources to implement system functions using an adaptive computing architecture |
| US7620097B2 (en) | 2001-03-22 | 2009-11-17 | Qst Holdings, Llc | Communications module, device, and method for implementing a system acquisition function |
| US9164952B2 (en) | 2001-03-22 | 2015-10-20 | Altera Corporation | Adaptive integrated circuitry with heterogeneous and reconfigurable matrices of diverse and adaptive computational units having fixed, application specific computational elements |
| US9037834B2 (en) | 2001-03-22 | 2015-05-19 | Altera Corporation | Method and system for managing hardware resources to implement system functions using an adaptive computing architecture |
| US9015352B2 (en) | 2001-03-22 | 2015-04-21 | Altera Corporation | Adaptable datapath for a digital processing system |
| US8589660B2 (en) | 2001-03-22 | 2013-11-19 | Altera Corporation | Method and system for managing hardware resources to implement system functions using an adaptive computing architecture |
| US8543794B2 (en) | 2001-03-22 | 2013-09-24 | Altera Corporation | Adaptive integrated circuitry with heterogenous and reconfigurable matrices of diverse and adaptive computational units having fixed, application specific computational elements |
| US7489779B2 (en) | 2001-03-22 | 2009-02-10 | Qstholdings, Llc | Hardware implementation of the secure hash standard |
| US8543795B2 (en) | 2001-03-22 | 2013-09-24 | Altera Corporation | Adaptive integrated circuitry with heterogeneous and reconfigurable matrices of diverse and adaptive computational units having fixed, application specific computational elements |
| US8533431B2 (en) | 2001-03-22 | 2013-09-10 | Altera Corporation | Adaptive integrated circuitry with heterogeneous and reconfigurable matrices of diverse and adaptive computational units having fixed, application specific computational elements |
| US8249135B2 (en) | 2001-05-08 | 2012-08-21 | Qst Holdings Llc | Method and system for reconfigurable channel coding |
| US7822109B2 (en) | 2001-05-08 | 2010-10-26 | Qst Holdings, Llc. | Method and system for reconfigurable channel coding |
| US7809050B2 (en) | 2001-05-08 | 2010-10-05 | Qst Holdings, Llc | Method and system for reconfigurable channel coding |
| USRE42743E1 (en) | 2001-11-28 | 2011-09-27 | Qst Holdings, Llc | System for authorizing functionality in adaptable hardware devices |
| US8225073B2 (en) | 2001-11-30 | 2012-07-17 | Qst Holdings Llc | Apparatus, system and method for configuration of adaptive integrated circuitry having heterogeneous computational elements |
| US9330058B2 (en) | 2001-11-30 | 2016-05-03 | Altera Corporation | Apparatus, method, system and executable module for configuration and operation of adaptive integrated circuitry having fixed, application specific computational elements |
| US8250339B2 (en) | 2001-11-30 | 2012-08-21 | Qst Holdings Llc | Apparatus, method, system and executable module for configuration and operation of adaptive integrated circuitry having fixed, application specific computational elements |
| US9594723B2 (en) | 2001-11-30 | 2017-03-14 | Altera Corporation | Apparatus, system and method for configuration of adaptive integrated circuitry having fixed, application specific computational elements |
| US7602740B2 (en) | 2001-12-10 | 2009-10-13 | Qst Holdings, Inc. | System for adapting device standards after manufacture |
| US7668229B2 (en) | 2001-12-12 | 2010-02-23 | Qst Holdings, Llc | Low I/O bandwidth method and system for implementing detection and identification of scrambling codes |
| US8442096B2 (en) | 2001-12-12 | 2013-05-14 | Qst Holdings Llc | Low I/O bandwidth method and system for implementing detection and identification of scrambling codes |
| US7512173B2 (en) | 2001-12-12 | 2009-03-31 | Qst Holdings, Llc | Low I/O bandwidth method and system for implementing detection and identification of scrambling codes |
| US9002998B2 (en) | 2002-01-04 | 2015-04-07 | Altera Corporation | Apparatus and method for adaptive multimedia reception and transmission in communication environments |
| US7493375B2 (en) | 2002-04-29 | 2009-02-17 | Qst Holding, Llc | Storage and delivery of device features |
| US7865847B2 (en) | 2002-05-13 | 2011-01-04 | Qst Holdings, Inc. | Method and system for creating and programming an adaptive computing engine |
| US8200799B2 (en) | 2002-06-25 | 2012-06-12 | Qst Holdings Llc | Hardware task manager |
| US8782196B2 (en) | 2002-06-25 | 2014-07-15 | Sviral, Inc. | Hardware task manager |
| US10185502B2 (en) | 2002-06-25 | 2019-01-22 | Cornami, Inc. | Control node for multi-core system |
| US7653710B2 (en) | 2002-06-25 | 2010-01-26 | Qst Holdings, Llc. | Hardware task manager |
| US10817184B2 (en) | 2002-06-25 | 2020-10-27 | Cornami, Inc. | Control node for multi-core system |
| US8108656B2 (en) | 2002-08-29 | 2012-01-31 | Qst Holdings, Llc | Task definition for specifying resource requirements |
| US7937591B1 (en) | 2002-10-25 | 2011-05-03 | Qst Holdings, Llc | Method and system for providing a device which can be adapted on an ongoing basis |
| US7606943B2 (en) | 2002-10-28 | 2009-10-20 | Qst Holdings, Llc | Adaptable datapath for a digital processing system |
| US8706916B2 (en) | 2002-10-28 | 2014-04-22 | Altera Corporation | Adaptable datapath for a digital processing system |
| US8380884B2 (en) | 2002-10-28 | 2013-02-19 | Altera Corporation | Adaptable datapath for a digital processing system |
| US7904603B2 (en) | 2002-10-28 | 2011-03-08 | Qst Holdings, Llc | Adaptable datapath for a digital processing system |
| US8276135B2 (en) | 2002-11-07 | 2012-09-25 | Qst Holdings Llc | Profiling of software and circuit designs utilizing data operation analyses |
| US7478031B2 (en) | 2002-11-07 | 2009-01-13 | Qst Holdings, Llc | Method, system and program for developing and scheduling adaptive integrated circuity and corresponding control or configuration information |
| US7660984B1 (en) | 2003-05-13 | 2010-02-09 | Quicksilver Technology | Method and system for achieving individualized protected space in an operating system |
| US7609297B2 (en) | 2003-06-25 | 2009-10-27 | Qst Holdings, Inc. | Configurable hardware based digital imaging apparatus |
Also Published As
| Publication number | Publication date |
|---|---|
| ATE151054T1 (de) | 1997-04-15 |
| ES2100883T3 (es) | 1997-07-01 |
| AU5832490A (en) | 1991-01-17 |
| CA2059290A1 (en) | 1990-12-24 |
| WO1991000238A1 (en) | 1991-01-10 |
| EP0478624A1 (en) | 1992-04-08 |
| SG43899A1 (en) | 1997-11-14 |
| DE69030380D1 (de) | 1997-05-07 |
| JP3144686B2 (ja) | 2001-03-12 |
| HK1000662A1 (en) | 1998-04-17 |
| JPH04506329A (ja) | 1992-11-05 |
| BR9007460A (pt) | 1992-06-16 |
| DE69030380T2 (de) | 1997-10-23 |
| DK0478624T3 (enExample) | 1997-04-21 |
Similar Documents
| Publication | Publication Date | Title |
|---|---|---|
| EP0478624B1 (en) | Apparatus for making or dispensing drinks | |
| HK1000662B (en) | Apparatus for making or dispensing drinks | |
| EP0191614B1 (en) | Improvements in valves for pressurised dispensing containers | |
| EP0515643B1 (en) | Syrup dispenser valve assembly | |
| PL198160B1 (pl) | Zespół zaworu, zespół obejmujący zespół zaworu i element łączący, pojemnik oraz sposób stosowania pojemnika | |
| US4756347A (en) | Filling and dispensing valve, adapter and package | |
| KR100545104B1 (ko) | 압력을 받아서 액체를 분배하는 장치 | |
| KR100235817B1 (ko) | 분배 밸브 조립체 | |
| US4752018A (en) | Micro-gravity pre-mix package | |
| US4159789A (en) | Universal dispensing sack and valve assembly for pressurized dispensers | |
| US5947339A (en) | Beverage dispenser | |
| US4328909A (en) | Container for dispensing liquid under constant head | |
| CA1252071A (en) | Gravity dispenser | |
| EP1200322A1 (en) | Pressurized package comprising a pressure control device | |
| US4149633A (en) | Two-chamber package | |
| US5279447A (en) | Fluid dispensing unit with metered outflow | |
| KR950014595B1 (ko) | 액체저장 및 송출 시스템 | |
| US5022558A (en) | Arrangement for the supply and metered dispensing of liquids | |
| US6435378B1 (en) | Device for dispensing measured quantities of a fluid from a container and a metering container using such a device | |
| KR910008178B1 (ko) | 점도보상수단을 구비한 액체분배용의 일회용 팩케이지 및 펙케이지용 장치 | |
| US3563419A (en) | Dispensing device container | |
| EP0334914A1 (en) | Container for liquids | |
| GB2290279A (en) | Rigid walled container with liquid outlet and air inlet | |
| US20060278656A1 (en) | Spout handle and nozzle assembly | |
| JPS62208380A (ja) | バルブアセンブリおよびバルブアセンブリに使用するアダプタ |
Legal Events
| Date | Code | Title | Description |
|---|---|---|---|
| PUAI | Public reference made under article 153(3) epc to a published international application that has entered the european phase |
Free format text: ORIGINAL CODE: 0009012 |
|
| 17P | Request for examination filed |
Effective date: 19920113 |
|
| AK | Designated contracting states |
Kind code of ref document: A1 Designated state(s): AT BE CH DE DK ES FR GB IT LI LU NL SE |
|
| 17Q | First examination report despatched |
Effective date: 19930330 |
|
| RAP1 | Party data changed (applicant data changed or rights of an application transferred) |
Owner name: ISOWORTH LIMITED |
|
| GRAH | Despatch of communication of intention to grant a patent |
Free format text: ORIGINAL CODE: EPIDOS IGRA |
|
| GRAH | Despatch of communication of intention to grant a patent |
Free format text: ORIGINAL CODE: EPIDOS IGRA |
|
| GRAA | (expected) grant |
Free format text: ORIGINAL CODE: 0009210 |
|
| AK | Designated contracting states |
Kind code of ref document: B1 Designated state(s): AT BE CH DE DK ES FR GB IT LI LU NL SE |
|
| REF | Corresponds to: |
Ref document number: 151054 Country of ref document: AT Date of ref document: 19970415 Kind code of ref document: T |
|
| REG | Reference to a national code |
Ref country code: CH Ref legal event code: NV Representative=s name: E. BLUM & CO. PATENTANWAELTE Ref country code: CH Ref legal event code: EP |
|
| REG | Reference to a national code |
Ref country code: DK Ref legal event code: T3 |
|
| ET | Fr: translation filed | ||
| REF | Corresponds to: |
Ref document number: 69030380 Country of ref document: DE Date of ref document: 19970507 |
|
| RAP2 | Party data changed (patent owner data changed or rights of a patent transferred) |
Owner name: ISOWORTH HOLDINGS LIMITED |
|
| REG | Reference to a national code |
Ref country code: ES Ref legal event code: FG2A Ref document number: 2100883 Country of ref document: ES Kind code of ref document: T3 |
|
| NLT2 | Nl: modifications (of names), taken from the european patent patent bulletin |
Owner name: ISOWORTH HOLDINGS LIMITED |
|
| NLXE | Nl: other communications concerning ep-patents (part 3 heading xe) |
Free format text: PAT.BUL.06/97 PAGE 838:CORR.:ISOWORTH HOLDINGS LIMITED |
|
| PLBE | No opposition filed within time limit |
Free format text: ORIGINAL CODE: 0009261 |
|
| STAA | Information on the status of an ep patent application or granted ep patent |
Free format text: STATUS: NO OPPOSITION FILED WITHIN TIME LIMIT |
|
| 26N | No opposition filed | ||
| REG | Reference to a national code |
Ref country code: GB Ref legal event code: IF02 |
|
| PGFP | Annual fee paid to national office [announced via postgrant information from national office to epo] |
Ref country code: AT Payment date: 20040624 Year of fee payment: 15 |
|
| PGFP | Annual fee paid to national office [announced via postgrant information from national office to epo] |
Ref country code: DK Payment date: 20040625 Year of fee payment: 15 |
|
| PGFP | Annual fee paid to national office [announced via postgrant information from national office to epo] |
Ref country code: NL Payment date: 20040628 Year of fee payment: 15 Ref country code: CH Payment date: 20040628 Year of fee payment: 15 |
|
| PGFP | Annual fee paid to national office [announced via postgrant information from national office to epo] |
Ref country code: FR Payment date: 20040629 Year of fee payment: 15 |
|
| PGFP | Annual fee paid to national office [announced via postgrant information from national office to epo] |
Ref country code: LU Payment date: 20040706 Year of fee payment: 15 |
|
| PG25 | Lapsed in a contracting state [announced via postgrant information from national office to epo] |
Ref country code: AT Free format text: LAPSE BECAUSE OF NON-PAYMENT OF DUE FEES Effective date: 20050619 Ref country code: LU Free format text: LAPSE BECAUSE OF NON-PAYMENT OF DUE FEES Effective date: 20050619 Ref country code: IT Free format text: LAPSE BECAUSE OF NON-PAYMENT OF DUE FEES;WARNING: LAPSES OF ITALIAN PATENTS WITH EFFECTIVE DATE BEFORE 2007 MAY HAVE OCCURRED AT ANY TIME BEFORE 2007. THE CORRECT EFFECTIVE DATE MAY BE DIFFERENT FROM THE ONE RECORDED. Effective date: 20050619 |
|
| PG25 | Lapsed in a contracting state [announced via postgrant information from national office to epo] |
Ref country code: DK Free format text: LAPSE BECAUSE OF NON-PAYMENT OF DUE FEES Effective date: 20050630 Ref country code: CH Free format text: LAPSE BECAUSE OF NON-PAYMENT OF DUE FEES Effective date: 20050630 Ref country code: LI Free format text: LAPSE BECAUSE OF NON-PAYMENT OF DUE FEES Effective date: 20050630 |
|
| PG25 | Lapsed in a contracting state [announced via postgrant information from national office to epo] |
Ref country code: NL Free format text: LAPSE BECAUSE OF NON-PAYMENT OF DUE FEES Effective date: 20060101 |
|
| REG | Reference to a national code |
Ref country code: CH Ref legal event code: PL |
|
| PG25 | Lapsed in a contracting state [announced via postgrant information from national office to epo] |
Ref country code: FR Free format text: LAPSE BECAUSE OF NON-PAYMENT OF DUE FEES Effective date: 20060228 |
|
| NLV4 | Nl: lapsed or anulled due to non-payment of the annual fee |
Effective date: 20060101 |
|
| REG | Reference to a national code |
Ref country code: DK Ref legal event code: EBP |
|
| REG | Reference to a national code |
Ref country code: FR Ref legal event code: ST Effective date: 20060228 |
|
| PGFP | Annual fee paid to national office [announced via postgrant information from national office to epo] |
Ref country code: DE Payment date: 20070816 Year of fee payment: 18 |
|
| PGFP | Annual fee paid to national office [announced via postgrant information from national office to epo] |
Ref country code: GB Payment date: 20070719 Year of fee payment: 18 |
|
| PGFP | Annual fee paid to national office [announced via postgrant information from national office to epo] |
Ref country code: ES Payment date: 20071226 Year of fee payment: 18 |
|
| PGFP | Annual fee paid to national office [announced via postgrant information from national office to epo] |
Ref country code: SE Payment date: 20080102 Year of fee payment: 18 |
|
| PGFP | Annual fee paid to national office [announced via postgrant information from national office to epo] |
Ref country code: BE Payment date: 20070630 Year of fee payment: 18 |
|
| BERE | Be: lapsed |
Owner name: *ISOWORTH HOLDINGS LTD Effective date: 20080630 |
|
| EUG | Se: european patent has lapsed | ||
| GBPC | Gb: european patent ceased through non-payment of renewal fee |
Effective date: 20080619 |
|
| PG25 | Lapsed in a contracting state [announced via postgrant information from national office to epo] |
Ref country code: BE Free format text: LAPSE BECAUSE OF NON-PAYMENT OF DUE FEES Effective date: 20080630 |
|
| PG25 | Lapsed in a contracting state [announced via postgrant information from national office to epo] |
Ref country code: DE Free format text: LAPSE BECAUSE OF NON-PAYMENT OF DUE FEES Effective date: 20090101 |
|
| PG25 | Lapsed in a contracting state [announced via postgrant information from national office to epo] |
Ref country code: GB Free format text: LAPSE BECAUSE OF NON-PAYMENT OF DUE FEES Effective date: 20080619 |
|
| REG | Reference to a national code |
Ref country code: ES Ref legal event code: FD2A Effective date: 20080620 |
|
| PG25 | Lapsed in a contracting state [announced via postgrant information from national office to epo] |
Ref country code: ES Free format text: LAPSE BECAUSE OF NON-PAYMENT OF DUE FEES Effective date: 20080620 |
|
| PG25 | Lapsed in a contracting state [announced via postgrant information from national office to epo] |
Ref country code: SE Free format text: LAPSE BECAUSE OF NON-PAYMENT OF DUE FEES Effective date: 20080620 |