EP0346631B1 - Abgabevorrichtung für Reinigungsmittel in einer Geschirrspülmaschine - Google Patents

Abgabevorrichtung für Reinigungsmittel in einer Geschirrspülmaschine Download PDF

Info

Publication number
EP0346631B1
EP0346631B1 EP89108821A EP89108821A EP0346631B1 EP 0346631 B1 EP0346631 B1 EP 0346631B1 EP 89108821 A EP89108821 A EP 89108821A EP 89108821 A EP89108821 A EP 89108821A EP 0346631 B1 EP0346631 B1 EP 0346631B1
Authority
EP
European Patent Office
Prior art keywords
fact
wall
tongues
fastening frame
dispensing device
Prior art date
Legal status (The legal status is an assumption and is not a legal conclusion. Google has not performed a legal analysis and makes no representation as to the accuracy of the status listed.)
Expired - Lifetime
Application number
EP89108821A
Other languages
English (en)
French (fr)
Other versions
EP0346631A1 (de
Inventor
Giuseppe Fontana
Current Assignee (The listed assignees may be inaccurate. Google has not performed a legal analysis and makes no representation or warranty as to the accuracy of the list.)
Tecnoplastica Prealpina SpA
Original Assignee
Tecnoplastica Prealpina SpA
Priority date (The priority date is an assumption and is not a legal conclusion. Google has not performed a legal analysis and makes no representation as to the accuracy of the date listed.)
Filing date
Publication date
Application filed by Tecnoplastica Prealpina SpA filed Critical Tecnoplastica Prealpina SpA
Publication of EP0346631A1 publication Critical patent/EP0346631A1/de
Application granted granted Critical
Publication of EP0346631B1 publication Critical patent/EP0346631B1/de
Anticipated expiration legal-status Critical
Expired - Lifetime legal-status Critical Current

Links

Images

Classifications

    • AHUMAN NECESSITIES
    • A47FURNITURE; DOMESTIC ARTICLES OR APPLIANCES; COFFEE MILLS; SPICE MILLS; SUCTION CLEANERS IN GENERAL
    • A47LDOMESTIC WASHING OR CLEANING; SUCTION CLEANERS IN GENERAL
    • A47L15/00Washing or rinsing machines for crockery or tableware
    • A47L15/42Details
    • A47L15/44Devices for adding cleaning agents; Devices for dispensing cleaning agents, rinsing aids or deodorants

Definitions

  • the invention concerns a dispensing device for liquid or powder detergents, which is apt to be fitted in an aperture provided in an internal wall of a wash chamber, in particular in the internal wall of the loading door of a dishwasher or similar machine, the device having the features defined in the preamble of Claim 1.
  • a detergent dispensing device in which reversaly oriented and elastically yielding tongue means are provided on the outer walls of the detergent container, which engage the turned down edge of an aperture in a wall portion of the washing machine and cooperate with an oppositely oriented peripheral edge of the same container to retain the same in the aperture of the wall of said machine.
  • no means are provided to prevent the yielding of the retaining tongues and their deformation caused during the use of the washing machine, therefore no firm fastening of the device is allowed.
  • a fastening device for fastening an apparatus to an aperture of a wall, preventing axial displacement of the apparatus; rearwar oriented hooking tongues are formed on the front face of the apparatus to cooperate with cam means are provided on a shoulder of the same apparatus and a rotatable annular member to lock said apparatus against the wall.
  • the fastening device according to FR-A-2.541.738 does not allow automatic fitting of the apparatus and therefore could not be used in combination with different snap-hooking device.
  • an object of the invention is to provide a detergent dispensing device for dishwashing machines, which is provided with snap-fitting means allowing a firm and reliable fitting in an aperture of a wall of the washing chamber of the machine.
  • a further object of this invention is to provide a dispensing device, as defined above, which is provided with fastening means allowing a fully automatic fitting of the device that can withstand to stress or deformations of plastic material, caused by repeated thermal cycles during use of the machine.
  • a detergent dispensing device for dishwashers or similar machines comprising fastening means for its fitting in an aperture of an internal wall of a wash chamber, in particular in the wall of the loading and unloading door of a dishwasher, according to claim 1.
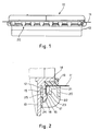
  • reference 10 indicates a general type of detergent dispensing device fitted in an aperture provided in an internal wall 11 of the wash chamber of a dishwashing machine; as shown in figure 2, the aperture in the wall 11 of the chamber, has inwardly bent peripheral edges 12 to which the dispensing de vice 10 is attached, though the bent edges 12 may be omitted.
  • the device 10 usually comprises a body defining the trays for the detergent, said body being delimited by lateral walls 13 provided with a laterally which extend from an outwardly protruding outer peripheral edge 14 on the body of the dispensing device 10.
  • the body 10 of the dispensing device comprises a plurality of elastically flexible damping tongues 15 which are arranged parallel to the lateral walls 13 and positioned at a short distance from the peripheral edge 14 of the body.
  • Each tongue 15 is rearwardly directed and protruding towards inside from the peripheral edge 14 and comprises an enlarged head 16 having a step-shaped front portion 17 and an inclined surface 18 to facilitate and enable the automatic insertion of the device through the aperture in the wall 11 by partially elastically bending tougues 15 towards the wall 13 of the body 10.
  • reference number 19 indicates a sealing gasket which is disposed between the wall 11 of the dishwashing machine and the flange 14 of the dispensing device.
  • the fastening means of the device also comprise a peripheral frame 20, or equivalent element, which partly or totally surrounds the body of the dispensing device.
  • the frame 20 has a flat base portion 21 which come into contact with the internal face of the wall 11 which is opposite the one in contact with the sealing gasket 19, as well as comprises one or more elastically flexible lugs 22 which will come into contact with the step-shaped front surface 17, of the enlarged head 16 of the flexible tongues 15 attaching the dispensing device to the aperture of the wash chamber wall 11.
  • each flexible lug 22 of the fastening frame has a protruding edge portion 23, of triangular shape, which will engage of be brought into contact with the corresponding opposing flexible tongue 15 of the dispensing device.
  • the fastening frame 20 comprises a clamping strip 24 suitably spaced from the lugs 22, which is wedged with a certain pressure into the gap 25 between the opposing faces of a lateral wall 13 of the body 10 of the dispensing device and the aforesaid clamping tongues 15.
  • the fastening frame 20 is prevented from being displaced, thereby guaranteeing a fastening arrangement that is practical and secure in use and which remains such even when the whole device is subject to repeated heating and cooling cycles, as normally happens during use of the relevant dishwashing machines.
  • the particular staggered positioning of the clamping strip 24 and the fastening frame 20 has the effect that any force or action tending to make the frame 20 rotate will always cause the latter to adhere still more both against the tongues 15 of the dispensing device and against the wall 11 of the wash chamber of the machine.
  • a preferred embodiment of the fastening frame 20 is shown in the views in figures 3 to 5.
  • the frame 20 takes the form of a rectangular frame, in two separate parts 20a and 20b that will fit around the entire body of the dispensing device, on four sides.
  • Each half 20a and 20b of the frame essentially comprises one channel-shaped element 26 having inner wall provided with a plurality of elastically flexible lugs 22 and a strip or strip portions 24 having reinforcement bridging web member to give the channel the requisite rigidity.
  • Each clamping lug 22, as previously described, has an triangular-shaped edge 23 which will engage with the steps 17 of the enlarged head 16 of a matching tongue of the dispensing device.
  • the design of the clamping frame in two parts is advantageous because it facilitates easy adaptation to any practical needs that may be encountered in fitting the dispensing devices in question.
  • the frame part 20b illustrated by dashed lines in figure 3 is identical in shape to the frame part 20a shown by a continuous lines.
  • the frame 20 surrounds the whole periphery of the body 10 of the dispensing device although the clamping frame could be limited so as to attach only onto two opposing sides or walls of the device, or only along a part of them, without however thereby departing from the innovative principles claimed for this invention.

Landscapes

  • Washing And Drying Of Tableware (AREA)

Claims (8)

  1. Eine Spülmittel-Ausgabevorrichtung zum Einsetzen in eine Öffnung einer Innenwand (11) der Spülkammer einer Geschirrspül- oder ähnlichen Maschine, insbesondere einer Wand (11) einer Beladungstür, wobei die Vorrichtung ein Gehäuse (10) mit Seitenwänden (13) aufweist, die ausgestattet sind mit einem seitlich vorstehenden äußeren peripheren Rand (14), wobei mindestens zwei sich gegenüberliegende Seitenwände (13) des Gehäuses (10) elastisch flexible Klemmzungen (15) zum Anbringen des Gehäuses (10) an den Rändern (12) der Öffnung in besagter Innenwand (11) der Maschine aufweisen, wobei die besagten Klemmzungen (15) parallel zu den Seitenwänden (13) angeordnet sind und sich in geringer Entfernung vom peripheren Rand (14) des besagten Gehäuses (10) befinden, wobei die besagten Klemmzungen (15) einen Kopfteil (16) aufweisen, der eine Vorderseite (17) von abgestufter Form besitzt, um in die Ränder (12) der besagten Wand (11) einzugreifen, gekennzeichnet durch den Umstand, daß die besagten Klemmzungen (15) von besagtem äußeren peripheren Rand (14) des Gehäuses (10) zur Innenseite hin hervorstehen, daß eine Befestigungsvorrichtung in Form eines peripheren Rahmens (20) vorgesehen ist, der zumindest einen Teil des Gehäuses (10) der Ausgabevorrichtung umfaßt, wobei besagter Befestigungsrahmen (20) einen Basisteil (21) aufweist, der an der Innenfläche der Wand (11) aufliegt, und elastisch flexible Vorsprünge (22) aufweist, die an besagtem Basisteil (21) vorstehen, wobei besagte Vorsprünge (22) in die besagten Zungen (15) eingreifen, und daß eine Klemmleiste (24) an besagtem Befestigungsrahmen (20) vorgesehen ist, die sich in der Aussparung (25) zwischen gegenüberliegenden Seiten einer peripheren Wand (13) der Ausgabevorrichtung (10) und besagten Klemmzungen (15) verkeilt.
  2. Eine Vorrichtung wie unter Patentanspruch 1 beschrieben, gekennzeichnet durch den Umstand, daß jede flexible Zunge (15) des Gehäuses (10) der Vorrichtung einen verbreiterten Kopfteil (16) aufweist, der eine Vorderseite (17) von abgestufter Form aufweist.
  3. Eine Vorrichtung wie unter Patentanspruch 1 beschrieben, gekennzeichnet durch den Umstand, daß jeder flexible Vorsprung (22) des Befestigungsrahmens (20) einen seitlich vorstehenden Rand (23) aufweist.
  4. Eine Vorrichtung wie unter Patentanspruch 3 beschrieben, gekennzeichnet durch den Umstand, daß die besagten Vorsprünge (22) des Befestigungsrahmens (20) einen vorstehenden Rand (23) von dreieckiger Form aufweisen.
  5. Eine Vorrichtung wie unter einem beliebigen der vorstehenden Patentansprüche beschrieben, gekennzeichnet durch den Umstand, daß die Klemmleiste (24) gegenüber den Klemmvorsprüngen (22) des Befestigungsrahmens (20) seitlich versetzt angeordnet ist.
  6. Eine Vorrichtung wie unter einem beliebigen der vorstehenden Patentansprüche beschrieben, gekennzeichnet durch den Umstand, daß der Befestigungsrahmen (20) die Form eines kanalförmigen Elements aufweist.
  7. Eine Vorrichtung wie unter Patentanspruch 1 beschrieben, gekennzeichnet durch den Umstand, daß der Befestigungsrahmen (20) das gesamte Gehäuse (10) der Ausgabevorrichtung umläuft.
  8. Eine Vorrichtung wie unter Patentanspruch 7 beschrieben, gekennzeichnet durch den Umstand, daß der Befestigungsrahmen (20) zwei separate Rahmenelementhälften (20a, 20b) aufweist.
EP89108821A 1988-06-14 1989-05-17 Abgabevorrichtung für Reinigungsmittel in einer Geschirrspülmaschine Expired - Lifetime EP0346631B1 (de)

Applications Claiming Priority (2)

Application Number Priority Date Filing Date Title
IT20967/88A IT1219720B (it) 1988-06-14 1988-06-14 Dispositivo dosatore di detersivi per macchine lavatrici
IT2096788 1988-06-14

Publications (2)

Publication Number Publication Date
EP0346631A1 EP0346631A1 (de) 1989-12-20
EP0346631B1 true EP0346631B1 (de) 1993-08-04

Family

ID=11174746

Family Applications (1)

Application Number Title Priority Date Filing Date
EP89108821A Expired - Lifetime EP0346631B1 (de) 1988-06-14 1989-05-17 Abgabevorrichtung für Reinigungsmittel in einer Geschirrspülmaschine

Country Status (4)

Country Link
EP (1) EP0346631B1 (de)
DE (1) DE68908026T2 (de)
ES (1) ES2045250T3 (de)
IT (1) IT1219720B (de)

Cited By (3)

* Cited by examiner, † Cited by third party
Publication number Priority date Publication date Assignee Title
US7204259B2 (en) 2000-06-08 2007-04-17 Beverage Works, Inc. Dishwasher operable with supply distribution, dispensing and use system method
US7754025B1 (en) 2000-06-08 2010-07-13 Beverage Works, Inc. Dishwasher having a door supply housing which holds dish washing supply for multiple wash cycles
US8190290B2 (en) 2000-06-08 2012-05-29 Beverage Works, Inc. Appliance with dispenser

Families Citing this family (3)

* Cited by examiner, † Cited by third party
Publication number Priority date Publication date Assignee Title
IT225650Y1 (it) * 1991-06-04 1997-01-13 Gianni Sandrin Erogatori di sostanza con dispositivo di fissaggio rapido
DE59207054D1 (de) * 1992-04-08 1996-10-10 Aweco Kunststofftech Geraete Dosiervorrichtung für Geschirrspülmaschinen
DE102018214631A1 (de) * 2018-08-29 2020-03-05 BSH Hausgeräte GmbH Geschirrspülmaschine mit einer automatischen Dosiervorrichtung

Family Cites Families (3)

* Cited by examiner, † Cited by third party
Publication number Priority date Publication date Assignee Title
DE2156033A1 (de) * 1971-11-11 1973-05-17 Rau Swf Autozubehoer Vorrichtung zum befestigen und loesen eines in einer aufnahme einer traegerplatte festlegbaren schalters
FR2541738B1 (fr) * 1983-02-28 1985-06-07 Alsthom Cgee Dispositif de fixation d'un objet sur une paroi
DE3524100A1 (de) * 1985-07-05 1987-01-15 Aweco Kunststofftech Geraete Dosiervorrichtung fuer wasch- und/oder spuelmittel bei geschirrspuel- oder waschmaschinen

Cited By (14)

* Cited by examiner, † Cited by third party
Publication number Priority date Publication date Assignee Title
US7204259B2 (en) 2000-06-08 2007-04-17 Beverage Works, Inc. Dishwasher operable with supply distribution, dispensing and use system method
US7418969B1 (en) 2000-06-08 2008-09-02 Beverage Works, Inc. Dishwasher having a door supply housing and actuator operable to release variable supply volumes for different wash cycles
US7754025B1 (en) 2000-06-08 2010-07-13 Beverage Works, Inc. Dishwasher having a door supply housing which holds dish washing supply for multiple wash cycles
US8103378B2 (en) 2000-06-08 2012-01-24 Beverage Works, Inc. Appliance having a user interface panel and a beverage dispenser
US8190290B2 (en) 2000-06-08 2012-05-29 Beverage Works, Inc. Appliance with dispenser
US8290615B2 (en) 2000-06-08 2012-10-16 Beverage Works, Inc. Appliance with dispenser
US8290616B2 (en) 2000-06-08 2012-10-16 Beverage Works, Inc. Appliance having a user interface panel and a beverage dispenser
US8548624B2 (en) 2000-06-08 2013-10-01 Beverage Works, Inc. Appliance having a user interface panel and a beverage dispenser
US8565917B2 (en) 2000-06-08 2013-10-22 Beverage Works, Inc. Appliance with dispenser
US8606395B2 (en) 2000-06-08 2013-12-10 Beverage Works, Inc. Appliance having a user interface panel and a beverage dispenser
US9090449B2 (en) 2000-06-08 2015-07-28 Beverage Works, Inc. Appliance having a user interface panel and a beverage dispenser
US9090447B2 (en) 2000-06-08 2015-07-28 Beverage Works, Inc. Appliance having a user interface panel and a beverage dispenser
US9090446B2 (en) 2000-06-08 2015-07-28 Beverage Works, Inc. Appliance with dispenser
US9090448B2 (en) 2000-06-08 2015-07-28 Beverage Works, Inc. Appliance having a user interface panel and a beverage dispenser

Also Published As

Publication number Publication date
ES2045250T3 (es) 1994-01-16
IT8820967A0 (it) 1988-06-14
IT1219720B (it) 1990-05-24
DE68908026T2 (de) 1994-03-03
EP0346631A1 (de) 1989-12-20
DE68908026D1 (de) 1993-09-09

Similar Documents

Publication Publication Date Title
EP0346631B1 (de) Abgabevorrichtung für Reinigungsmittel in einer Geschirrspülmaschine
US4319792A (en) Shelf structure
US4331247A (en) One piece child-resistant closure
KR19990081824A (ko) 2 개의 하우징부 사이의 분해식 연결장치
CA1067259A (en) Carpet retainers
CA2095904A1 (en) Console with snap fit end caps
US4679709A (en) Dispenser mounting system
US3592495A (en) Latching device
US5336954A (en) Drain unit of starter
US6474351B1 (en) Washing agent dispenser, for dishwashing machines
US5852942A (en) Automatic washer and tub therefor
CA1060507A (en) Adjustable molding end cap
US4097098A (en) Bumper lock for dishwashing machine rack support
US4535524A (en) Method of assembling a rack-supporting channel and stop
JP4493294B2 (ja) 壁特に車体の開口部のための挿入部品
KR102730655B1 (ko) 세척제 디스펜서 및 장착 방법
US3555577A (en) Sealing and trim ring for sink
GB1565619A (en) Mounting for glazing
EP0207520A1 (de) Geschirrspül- oder Waschmaschine mit Dosiervorrichtung für Wasch- und/oder Spülmittel
KR200166231Y1 (ko) 드럼세탁기 톱프레이트의 체결구조
RU2003524C1 (ru) Соединительна деталь дл стеклоочистител автомобил
US3080569A (en) Mounting of flanged appliances in countertops
JPH0129982B2 (de)
JPH0246747Y2 (de)
KR820000934Y1 (ko) 냉응용기의 배수파이프 연결 장치

Legal Events

Date Code Title Description
PUAI Public reference made under article 153(3) epc to a published international application that has entered the european phase

Free format text: ORIGINAL CODE: 0009012

AK Designated contracting states

Kind code of ref document: A1

Designated state(s): DE ES FR SE

17P Request for examination filed

Effective date: 19900330

17Q First examination report despatched

Effective date: 19920220

GRAA (expected) grant

Free format text: ORIGINAL CODE: 0009210

AK Designated contracting states

Kind code of ref document: B1

Designated state(s): DE ES FR SE

REF Corresponds to:

Ref document number: 68908026

Country of ref document: DE

Date of ref document: 19930909

ET Fr: translation filed
REG Reference to a national code

Ref country code: ES

Ref legal event code: FG2A

Ref document number: 2045250

Country of ref document: ES

Kind code of ref document: T3

PLBE No opposition filed within time limit

Free format text: ORIGINAL CODE: 0009261

STAA Information on the status of an ep patent application or granted ep patent

Free format text: STATUS: NO OPPOSITION FILED WITHIN TIME LIMIT

26N No opposition filed
EAL Se: european patent in force in sweden

Ref document number: 89108821.3

PGFP Annual fee paid to national office [announced via postgrant information from national office to epo]

Ref country code: SE

Payment date: 19980511

Year of fee payment: 10

PGFP Annual fee paid to national office [announced via postgrant information from national office to epo]

Ref country code: FR

Payment date: 19980515

Year of fee payment: 10

PGFP Annual fee paid to national office [announced via postgrant information from national office to epo]

Ref country code: DE

Payment date: 19980518

Year of fee payment: 10

PGFP Annual fee paid to national office [announced via postgrant information from national office to epo]

Ref country code: ES

Payment date: 19980527

Year of fee payment: 10

PG25 Lapsed in a contracting state [announced via postgrant information from national office to epo]

Ref country code: SE

Free format text: LAPSE BECAUSE OF NON-PAYMENT OF DUE FEES

Effective date: 19990518

Ref country code: ES

Free format text: LAPSE BECAUSE OF EXPIRATION OF PROTECTION

Effective date: 19990518

EUG Se: european patent has lapsed

Ref document number: 89108821.3

PG25 Lapsed in a contracting state [announced via postgrant information from national office to epo]

Ref country code: FR

Free format text: LAPSE BECAUSE OF NON-PAYMENT OF DUE FEES

Effective date: 20000131

PG25 Lapsed in a contracting state [announced via postgrant information from national office to epo]

Ref country code: DE

Free format text: LAPSE BECAUSE OF NON-PAYMENT OF DUE FEES

Effective date: 20000301

REG Reference to a national code

Ref country code: FR

Ref legal event code: ST

REG Reference to a national code

Ref country code: ES

Ref legal event code: FD2A

Effective date: 20010601