EP0093517A2 - Dispensing taps - Google Patents

Dispensing taps Download PDF

Info

Publication number
EP0093517A2
EP0093517A2 EP83302043A EP83302043A EP0093517A2 EP 0093517 A2 EP0093517 A2 EP 0093517A2 EP 83302043 A EP83302043 A EP 83302043A EP 83302043 A EP83302043 A EP 83302043A EP 0093517 A2 EP0093517 A2 EP 0093517A2
Authority
EP
European Patent Office
Prior art keywords
tap
spigot
inner end
diaphragm
seal
Prior art date
Legal status (The legal status is an assumption and is not a legal conclusion. Google has not performed a legal analysis and makes no representation as to the accuracy of the status listed.)
Withdrawn
Application number
EP83302043A
Other languages
German (de)
French (fr)
Other versions
EP0093517A3 (en
Inventor
Jon Henry Malpas
Alan Reginald Calder
Current Assignee (The listed assignees may be inaccurate. Google has not performed a legal analysis and makes no representation or warranty as to the accuracy of the list.)
Diemoulders Pty Ltd
Original Assignee
Diemoulders Pty Ltd
Priority date (The priority date is an assumption and is not a legal conclusion. Google has not performed a legal analysis and makes no representation as to the accuracy of the date listed.)
Filing date
Publication date
Priority claimed from AU13633/83A external-priority patent/AU553667B2/en
Application filed by Diemoulders Pty Ltd filed Critical Diemoulders Pty Ltd
Publication of EP0093517A2 publication Critical patent/EP0093517A2/en
Publication of EP0093517A3 publication Critical patent/EP0093517A3/en
Withdrawn legal-status Critical Current

Links

Images

Classifications

    • BPERFORMING OPERATIONS; TRANSPORTING
    • B65CONVEYING; PACKING; STORING; HANDLING THIN OR FILAMENTARY MATERIAL
    • B65DCONTAINERS FOR STORAGE OR TRANSPORT OF ARTICLES OR MATERIALS, e.g. BAGS, BARRELS, BOTTLES, BOXES, CANS, CARTONS, CRATES, DRUMS, JARS, TANKS, HOPPERS, FORWARDING CONTAINERS; ACCESSORIES, CLOSURES, OR FITTINGS THEREFOR; PACKAGING ELEMENTS; PACKAGES
    • B65D77/00Packages formed by enclosing articles or materials in preformed containers, e.g. boxes, cartons, sacks or bags
    • B65D77/04Articles or materials enclosed in two or more containers disposed one within another
    • B65D77/06Liquids or semi-liquids or other materials or articles enclosed in flexible containers disposed within rigid containers
    • B65D77/062Flexible containers disposed within polygonal containers formed by folding a carton blank
    • B65D77/065Spouts, pouring necks or discharging tubes fixed to or integral with the flexible container
    • B65D77/067Spouts, pouring necks or discharging tubes fixed to or integral with the flexible container combined with a valve, a tap or a piercer
    • BPERFORMING OPERATIONS; TRANSPORTING
    • B65CONVEYING; PACKING; STORING; HANDLING THIN OR FILAMENTARY MATERIAL
    • B65DCONTAINERS FOR STORAGE OR TRANSPORT OF ARTICLES OR MATERIALS, e.g. BAGS, BARRELS, BOTTLES, BOXES, CANS, CARTONS, CRATES, DRUMS, JARS, TANKS, HOPPERS, FORWARDING CONTAINERS; ACCESSORIES, CLOSURES, OR FITTINGS THEREFOR; PACKAGING ELEMENTS; PACKAGES
    • B65D47/00Closures with filling and discharging, or with discharging, devices
    • B65D47/04Closures with discharging devices other than pumps
    • B65D47/20Closures with discharging devices other than pumps comprising hand-operated members for controlling discharge
    • B65D47/2018Closures with discharging devices other than pumps comprising hand-operated members for controlling discharge comprising a valve or like element which is opened or closed by deformation of the container or closure
    • BPERFORMING OPERATIONS; TRANSPORTING
    • B65CONVEYING; PACKING; STORING; HANDLING THIN OR FILAMENTARY MATERIAL
    • B65DCONTAINERS FOR STORAGE OR TRANSPORT OF ARTICLES OR MATERIALS, e.g. BAGS, BARRELS, BOTTLES, BOXES, CANS, CARTONS, CRATES, DRUMS, JARS, TANKS, HOPPERS, FORWARDING CONTAINERS; ACCESSORIES, CLOSURES, OR FITTINGS THEREFOR; PACKAGING ELEMENTS; PACKAGES
    • B65D47/00Closures with filling and discharging, or with discharging, devices
    • B65D47/04Closures with discharging devices other than pumps
    • B65D47/20Closures with discharging devices other than pumps comprising hand-operated members for controlling discharge
    • B65D47/26Closures with discharging devices other than pumps comprising hand-operated members for controlling discharge with slide valves, i.e. valves that open and close a passageway by sliding over a port, e.g. formed with slidable spouts
    • B65D47/261Closures with discharging devices other than pumps comprising hand-operated members for controlling discharge with slide valves, i.e. valves that open and close a passageway by sliding over a port, e.g. formed with slidable spouts having a rotational or helicoidal movement
    • B65D47/263Closures with discharging devices other than pumps comprising hand-operated members for controlling discharge with slide valves, i.e. valves that open and close a passageway by sliding over a port, e.g. formed with slidable spouts having a rotational or helicoidal movement between tubular parts
    • BPERFORMING OPERATIONS; TRANSPORTING
    • B67OPENING, CLOSING OR CLEANING BOTTLES, JARS OR SIMILAR CONTAINERS; LIQUID HANDLING
    • B67BAPPLYING CLOSURE MEMBERS TO BOTTLES JARS, OR SIMILAR CONTAINERS; OPENING CLOSED CONTAINERS
    • B67B7/00Hand- or power-operated devices for opening closed containers
    • B67B7/24Hole-piercing devices
    • B67B7/26Hole-piercing devices combined with spouts
    • BPERFORMING OPERATIONS; TRANSPORTING
    • B65CONVEYING; PACKING; STORING; HANDLING THIN OR FILAMENTARY MATERIAL
    • B65DCONTAINERS FOR STORAGE OR TRANSPORT OF ARTICLES OR MATERIALS, e.g. BAGS, BARRELS, BOTTLES, BOXES, CANS, CARTONS, CRATES, DRUMS, JARS, TANKS, HOPPERS, FORWARDING CONTAINERS; ACCESSORIES, CLOSURES, OR FITTINGS THEREFOR; PACKAGING ELEMENTS; PACKAGES
    • B65D2401/00Tamper-indicating means
    • B65D2401/15Tearable part of the closure

Definitions

  • This invention relates to improvements in or relating to taps and refers particularly, though not exclusively, to improvements in or relating to taps for use with the well-known "bag-in-the-box" containers for beverages.
  • the present invention has as another object the provision of a tap which is of relatively simple production, is relatively easily manufactured and assembled, and provides for sufficient oxygen barrier.
  • a tap having a body and a spigot, said body being adapted to receive said spigot, said body having an inner end closed by a sealing means, said spigot having an inner end adapted to pierce or remove in total or in part said sealing means upon relative movement of said spigot and said body.
  • the invention also provides a tap including a body having an internal opening, a lever adapted to close said opening, a removable or frangible seal across said lever to seal said opening, an outlet from said tap, said lever having means attached thereto by which said opening can be closed When said lever is in a first position and opened when said lever is in a second position; movement of said lever from said first to said second position causing removal of said removable or frangible diaphragm.
  • a container 10 which is an outer container of suitable material such as plastics or cardboard and which is used to hold a fluid which, preferably, is contained within a separate, flexible and collapsible bag within the container 10.
  • a tap 12 Fitted to the container 10 is a tap 12 which has a flange 14 to retain the tap 12 in position in relation to the container 10.
  • the tap 12 is clearly seen in Figures 2 to 5 inclusive and comprises a body 16 the outer end of which comprises the flange 14. Extending axially outwardly from the flange 14 is a spigot receiving part 18 which is open at each end. The inner end 20 of the spigot receiving part 18 is angled as is shown in the drawings. The inner end 20 is closed by a rupturable or peelable-diaphragm or seal 22 which is secured to the inner end 20 by means of gluing, welding, or heat application.
  • the spigot receiving part 18 also has an outlet 24 so that contents can be dispensed as will be understood hereafter.
  • the entire body 16 is adapted to be received within a plug 26 which is located inside the container 10 and which is attached thereto by means of a groove 28.
  • the inner end of the plug 26 is secured to a bag 30 located within the container 10 and in which bag 30 the contents are held.
  • the bag 30 is collapsible so that the contents of the bag 30 are not subjected to contact with oxygen or air during normal usage.
  • a spigot 32 Located within the spigot receiving part 18 is a spigot 32. At the outer end of the spigot 32 there are provided seals 34 locating in corresponding grooves in the spigot receiving part 18 so that the spigot once inserted cannot be unwantedly removed and to provide for a fluid-seal between the spigot 32 and the spigot receiving part 18.
  • the spigot 32 has an inner end 36 which corresponds in shape and angle to the inner end 20 of spigot receiving part 18.
  • the inner end 36 is adapted, in use, to tear, puncture or lift the seal 22 off the inner end 20 when the spigot is rotated about its longitudinal axis as will be understood by the following description.
  • the spigot has an opening 38 which is designed to co-operate with the outlet 24 when the spigot is in the ON position (see Figure 5) to allow the contents of the bag 30 to be dispensed.
  • a handle 40 Integral with the spigot 32 is a handle 40 which closes the outer end of the spigot and also provides a means by which a user can operate the tap.
  • the handle 40 has an opening 42 therein to enable the contents of the bag 30 to be properly dispensed when the opening 42 is in radial alignment with the opening 38 in the spigot 32.
  • the handle 40 extends axially inwardly in parallel with the spigot so as to surround the spigot receiving part 18.
  • the handle skirt 44 has a radially inwardly directed projection 46 which, when the tap is in the OFF position, closes the outlet 24.
  • the projection not only provides for a proper closing of the outlet 24 but would also tend to prevent any quantity of fluid in the outlet 24 from forming a drip which would tend to come from the handle at a later date.
  • the operation of the tap 12 is such that it is in the OFF position as shown in Figure 2.
  • the inner end 36 of the spigot 32 moves so as to force the seal 22 away from the inner end 20 of spigot receiving part 18. This can be done in the manner illustrated by breaking the glue, weld or the heat-securing or, alternatively, by actually tearing or rupturing the seal 22.
  • the handle 40 has been rotated through 180 degrees the removal of the seal 22 to allow fluid to flow is complete.
  • the opening 38 in the spigot 32 is in alignment with the outlet 34 so that the fluid can travel through the hollow interior of the spigot 32, through the opening 38, and out via the outlet 24.
  • the projection 46 can extend around a substantial portion of the inner surface of the skirt 44 so that it completely blocks the outlet 24 except when the tap is in the ON position when the opening 42 is adjacent the outlet 24.
  • the tap 112 operates in exactly the same way as the tap 12 of Figures 1 to 5 and has a flange 114, a body 116, a spigot receiving part 118, an inner end of the spigot receiving part 120, a seal 122 across the inner end 120 at the same or a similar angle, but has an outlet 124 in the form of a hole in the spigot receiving part 118.
  • a spigot 132 Mounted within the spigot receiving part 118 is a spigot 132 having an angled inner end 136 on a similar angle to the inner end 120 of the spigot receiving part 118.
  • the spigot 132 has an opening 138 which is adapted to align with the outlet 124 when the tap is in the ON position.
  • the outer end of the spigot 132 is closed by a handle 140 which is provided with a finger grip 148.
  • the inner end 136 of the spigot 132 is of smaller radial extent due to the spigot receiving part 118 having a flange 150.
  • the flange 150 is provided to allow for easier attachment of the seal 122 to the inner end 120 of the spigot receiving part 118.
  • the operation of the spigot 132, its inner end 136 and the seal 122 is exactly as was described for Figures 1 to 5.
  • the spigot 132 has a portion 152 which is used to also close the outlet 124 when in the OFF position.
  • the portion 152 wipes over the hole of outlet 124 to prevent any possible drips passing through and out of the tap. It also provides for further oxygen protection.
  • a tap 212 which has a flange 214, a body 216, a spigot receiving part 218, an inner end 220 of the spigot receiving part, a seal 222 across the inner end 220, an outlet 224, a spigot 232, the inner end 236 of the spigot being arranged as per previous embodiments, an opening 238, a handle 240 having a grip 248, and a wipe clean portion 252.
  • the main difference of this embodiment over the previous embodiments is that the inner end 236 of the spigot 232 has an opening 254 as was described as an alternative or additional feature for the embodiments of Figures 1 to 5.
  • the seal 222 comprises a diaphragm 256 which is similar to the seal 222 of the previous two embodiments.
  • the diaphragm 256 is mounted on a disc 258 which is integral with the spigot receiving part 218 and blocks the inner end 220 of that spigot receiving part 218.
  • the disc is provided with a weakness portion 260 for much of its circumference with the only part of the disc 258 not having the weakness portion 260 being that at the top of the spigot receiving part 218.
  • the disc 258 is provided so that upon the spigot being turned it will force the disc out by virtue of the weakness portion 260.
  • the part of the disc 258 not having the weakness portion will remain attached to the inner end 220 of the spigot receiving part 218 in the form of a hinge 257. This will also push the diaphragm 256 away from the inner end 220 of the spigot receiving part 218.
  • the strength of the material of the disc 258 will tend to hold it in that position so that it would not foul or block the opening to the hollow interior of the spigot 232. This would tend to increase the capacity of fluid flow into the spigot 232 and thus out through the opening 238 and the outlet 234.
  • the weakness portion may be provided by having material of far less thickness, perforations, or as otherwise may be suitable.
  • Figures 14 and 15 show a variation on the above where the seal has been located inside the flange at the inner end of the spigot receiving part. This allows for the outer edges of the seal to be not in contact with the contents of the container.
  • the seal is a laminate, it has been found that certain liquids (e.g. wine) contain certain acids that corrode the adhesive used to create the laminate and/or one of the layers of the laminate. By using this form, the contents are in contact with one surface only and not the edge of the seal.
  • a tap 310 which comprises a body 312, a handle 314, and an operating lever 316.
  • the body 312 is generally cylindrical and has an inner end 318 which has external ribs 320 designed to hold the tap 310 in a sleeve (not shown).
  • the body 312 also has a radially extending flange 322 which is also designed to co-operate with the sleeve (not shown) to provide a limit for movement. Extending radially inwardly is an inner flange 324 which extends into the hollow interior of the body 312.
  • the body 312 At the outer end 326 of the body 312 there are provided two radially extending ribs 328, 330 which are designed to co-operate with the handle 314 to retain the handle 314 in position.
  • the first rib 328 also protects the handle 314 from being removed from the body 312 accidentally during use of the tap.
  • the body is preferably made of a relatively rigid plastics material so as to provide for necessary strength.
  • the handle 314 locates around the outer end 326 of body 312 and locates between ribs 328, 330 and over rib 330 so as to prevent unwanted removal of the handle 314 from the body 312.
  • the handle like the body, is a one-piece plastics moulding although the handle is made of a relatively flexible material.
  • the external skirt 332 locates as is explained above over the outer end 326 of the body and covers the end of body 312 by means of the flexible diaphragm portion 334.
  • the diaphragm portion is off-set in its lower areas to provide a finger receiving portion 336.
  • Axially located in the handle is a tapered socket 338 which is adapted to receive the longitudinally extending member of the lever.
  • the handle in its upper portion has a flexible bulb-like "spring" 340 which is relatively resilient. Upon operation of the handle the spring is compressed and provides the necessary resilience to force the handle to return to the position shown in Figure 20.
  • a closure member 342 Attached to the handle 314 is a closure member 342.
  • This closure member is in the form of a cylinder and is integral with the socket 338 at its upper portion.
  • the closure member 342 is designed to contact the bore wall of the body 312 to close an outlet 344.
  • the socket 338 receives the longitudinally extending member 346 of the lever 316.
  • the member 346 is retained within the socket in the manner of a tightly sealed fit.
  • the lever 316 also includes a closing member 348 which is perpendicular to and integral with the longitudinal member 346.
  • the closing member 348 is integral with the inner flange 324 although there are provided a number of perforations 350 so that the closing member 348 may be separated from the inner flange 324.
  • the closing member is hinged to the inner flange 324 by means of a hinge 352.
  • a removable or frangible seal 354 Located on the innermost surface of the closing member 348 of lever 316 is a removable or frangible seal 354.
  • This seal is oxygen impervious and is attached to the inner surface of closing member 348 and inner flange 324 by means of glue, welding, heat-sealing, or any other suitable attachment.
  • the seal 354 provides for an oxygen barrier to prevent the ingress of oxygen into the containers of the bag (not shown).
  • Figures 22 to 25 show a variation which operates in exactly the same way as in the Figures 18 to 21 except that the closure member 342 is not in the form of a longitudinally extending cylinder but in the form of a vertically extending cylinder 343.
  • the closure member can have an extended portion 345 in its lower end 347 which would pass into the outlet 344 so as to prevent the retention of any fluid therein which may cause a drip at a later stage. This is the only difference between the two.
  • Figures 26 and 27 show a variation of the embodiment of Figures 22 to 25 wherein the extension on the lower portion of the closure member 342 is removed.
  • the handle for the two variations may be made more simple such that the handle is in the form of a dish and has an outwardly extending tab into the dish to provide for the finger grip.
  • the handle could be made in the same way as for Figures 18 to 21.
  • the handle of the embodiment of Figures 18 to 21 could be made in the way shown in Figures 23 and 24 rather than is shown in Figures 19 and 20.
  • a cap to be placed over the skirt of the handle and which, in the case of the handle of Figures 18 to 20, would have a projection extending into the finger receiving portion 336 and, in the case of Figures 22 to 26, would have a socket for receiving the outer end of the socket 338. This cap would be used while the tap was in transit to prevent accidental or unwanted operation.
  • a tap 412 having a body 416 with a flange 414 at one end.
  • the tap is fitted to a container (not shown) by the flange for dispensing of liquid.
  • Extending axially outwardly from the flange 414 is a spigot receiving part 418 which is open at one end.
  • the inner end 420 of the spigot receiving part 418 is angled as is shown in the drawings.
  • the inner end 420 is closed by a rupturable diaphragm 422 which is integrally moulded with the spigot receiving part 418.
  • the diaphragm 422 has a Weakness portion 425 for much of its circumference with the only part of the diaphragm not having the weakness portion being that at the top of the spigot receiving part 418.
  • a seal 426 is secured to the inner end 420 by means of gluing, welding or heat welding.
  • a spigot 432 Located within the spigot receiving part 418 is a spigot 432. At the outer end of the spigot 432 there are provided seals 434 locating in corresponding grooves in the spigot receiving'part 418 so that the spigot once inserted cannot be unwantedly removed and to provide for a fluid-seal between the spigot 432 and the spigot receiving part 418.
  • the spigot 432 has an inner end 436 which has a cam 450 thereon.
  • the cam 450 is adapted, in use, to rupture and lift the diaphragm 422 off the inner end 420 when the spigot is rotated about its longitudinal axis as will be understood by-the following description.
  • the spigot has an opening (not shown) which is designed to co-operate with the outlet 424 when the spigot is in the ON position to allow the contents of the container to be dispensed.
  • Integral with the spigot 432 is a handle 440 which closes the outer end of the spigot and also provides a means by which a user can operate the tap.
  • the operation of the tap is such that it is in the OFF position as shown in the drawing.
  • the cam 450 will force the diaphragm 422 outwardly and rupture both diaphragm 422 and seal 426 along the weakened portion 425.
  • the diaphragm will be lifted and pivotted upwardly to provide an unobstructed passage of liquid through the tap.
  • the tap 512 operates in exactly the same way as the tap 412 of Figure 28 and has a flange 514, a body 516, a spigot receiving part 518, an inner end of the spigot receiving part 520, and a diaphragm 522 across the inner end 520.
  • the diaphragm 522 and seal 526 are in different planes.
  • the inner end 520 is not at an angle and has a vertically mounted seal 526.
  • the diaphragm 522 is at an angle and has a projection 552 for assisting in the rupturing of seal 526.
  • the projection 552 is heat sealed to seal 526.
  • a tap 612 which has a flange 614, a body 616, a spigot receiving part 618, an inner end 620 of the spigot receiving part, a diaphragm 622 across the inner end 620, an outlet 624, a spigot 632, the inner end 636 of the spigot being arranged as per the embodiments of Figures 28 and 29, a handle 640 and a wipe clean portion 652.
  • This embodiment is a cross between the embodiments of Figures 28 and 29 and has the diaphragm 622 and seal 626 in the same plane as per Figure 28, but has them vertically oriented as per the seal 526 of Figure 29.
  • the diaphragm 622 includes a skirt 660 with an angled cam face 662.
  • the cam 650 instead of co-operating directly with the inner face of diaphragm as per the embodiments of Figures 28 and 29, engages the angled cam face 662 to cause rupturing of the diaphragm and seal.
  • the material of the tap itself may be any suitable material preferably being a plastics material suitable for injection moulding.
  • the seal may be made in any suitable way or form and is preferably made as a plastics disc, a laminated plastics or other material, or any suitable material or combination of materials.
  • the functional requirement of the seal is that it must be impervious to the ingress of oxygen or air for a period of approximately 6 to 12 months. This is to allow for sufficient shelf life for the contents of the container.
  • one aspect of the present invention is to use a liftable and/or sealable seal which is mounted within that of body to provide for a cam-lifting action by the spigot.
  • the various seals may be secured to the inner end of the spigot receiving part by means of ring seals so that the spigot inner end would peel the seal from the inner end of the spigot receiving part for a suitable portion of its circumference to allow adequate liquid flow and non-restricted access by the fluid into the interior of the spigot.
  • the inner end of the spigot could be shaped non-uniformly to provide a multiplicity of cams on the seal to lift the seal in a number of stages.
  • the inner end of the spigot may be provided with a number of axially inwardly projecting teeth which would act to cut into and actually tear all or a portion of the seal so as to physically remove it.

Landscapes

  • Engineering & Computer Science (AREA)
  • Mechanical Engineering (AREA)
  • Packages (AREA)
  • Closures For Containers (AREA)

Abstract

Taps (12) for "bag-in-the-box" containers (10) for beverages are disclosed.
The tap according to the invention has a body (16) and a spigot (32), and the inner end (20) of the tap body is sealed (at 22). The spigot is arranged to puncture or displace the seal (22) upon the first operation of the tap.
The seal (22) may be a frangible diaphragm to be ruptured or removed by rotating the spigot which is formed with an obliquely-angled inner end (36).

Description

  • This invention relates to improvements in or relating to taps and refers particularly, though not exclusively, to improvements in or relating to taps for use with the well-known "bag-in-the-box" containers for beverages.
  • The containers above referred to have been on the market in Australia for some considerable period of time. Since their introduction there has developed an expertise relating to their manufacture and their requirements. However, the major requirement for these containers is shelf life. The material of which the bag is constructed in normal circumstances (sheet plastics) allows a small amount of oxygen to permeate therethrough and this has an adverse effect upon the contents over a period of time. When the contents are fruit juice or wine the oxygen causes deterioration such as to significantly reduce the shelf life of the container. This has been overcome insofar as the bag is concerned by the use of a laminate material but it does not overcome the problem where the tap is concerned. As most taps are made of plastics material the oxygen can permeate the tap and cause a similar deterioration.
  • We have previously proposed various constructions of taps whereby there is placed at the innermost end of the tap a frangible diaphragm or seal of laminate construction which is oxygen impervious. These taps, whilst working effectively, have had the problem of complex construction and/or problems in their operation. Taps of this nature have been found in a certain sector of the community to require a manual operation whereas others require an automatic operation.
  • It is therefore the principal object of the present invention to provide a tap of relatively simple construction which provides for a frangible or removable oxygen impervious barrier and yet can be of automatic operation.
  • The present invention has as another object the provision of a tap which is of relatively simple production, is relatively easily manufactured and assembled, and provides for sufficient oxygen barrier.
  • With the above and other objects in mind the present invention provides a tap having a body and a spigot, said body being adapted to receive said spigot, said body having an inner end closed by a sealing means, said spigot having an inner end adapted to pierce or remove in total or in part said sealing means upon relative movement of said spigot and said body.
  • The invention also provides a tap including a body having an internal opening, a lever adapted to close said opening, a removable or frangible seal across said lever to seal said opening, an outlet from said tap, said lever having means attached thereto by which said opening can be closed When said lever is in a first position and opened when said lever is in a second position; movement of said lever from said first to said second position causing removal of said removable or frangible diaphragm.
  • In order that the invention may be better understood there shall now be described preferred constructions of taps incorporating the principal features of the present invention. The description will be by way of non-limitative example only and with reference to the accompanying drawings. In the drawings:
    • Figure 1 is a perspective view of a container having fitted thereto a tap incorporating the features of the present invention;
    • Figure 2 is a vertical cross-section through the longitudinal axis of the tap of Figure 1 prior to operation of the tap;
    • Figure 3 is a side view of the tap of Figure 2;
    • Figure 4 is an end view of the tap of Figure 2;
    • Figure 5 is a vertical cross-section through the longitudinal axis of the tap of Figure 2 after operation of the tap;
    • Figure 6 is a side view of a second embodiment of a tap incorporating the principal features of the present invention;
    • Figure 7 is an end view of the tap of figure 6;
    • Figure 8 is a vertical cross-section through the longitudinal axis of the tap of Figure 6 prior to the operation of that tap;
    • Figure 9 is a vertical cross-section through the longitudinal axis of the tap of Figure 6 after the operation of that tap;
    • Figure 10 is a side elevation of a third embodiment of a tap incorporating the principal features of the present invention;
    • Figure 11 is an end view of the tap of Figure 10;
    • Figure 12 is a vertical cross-section through the longitudinal axis of the tap of Figure 10 prior to the operation of that tap;
    • Figure 13 is a vertical cross-section through the tap of Figure 10 after the operation of that tap;
    • Figure 14 is a vertical cross-section through the longitudinal axis of a fourth embodiment incorporating the principal features of the present invention prior to the operation of that tap;
    • Figure 15 is a view corresponding to that of Figure 14 after the operation of the tap;
    • Figure 16 is a view similar to that of Figure 14 of a fifth embodiment;
    • Figure 17 is a view corresponding to that of Figure 16 after the operation of the tap;
    • Figure 18 is a side view of a sixth embodiment of a tap incorporating the features of the present invention;
    • Figure 19 is an end view of the tap of Figure 18;
    • Figure 20 is a vertical cross-section through the tap of Figure 18;
    • Figure 21 is a vertical cross-section of the tap of Figure 18 in the second position;
    • Figure 22 is a side view of a seventh embodiment of the tap incorporating the features of the present invention;
    • Figure 23 is an end view of the tap of Figure 22;
    • Figure 24 is a vertical cross-section through the tap of Figure 22;
    • Figure 25 is a vertical cross-section through the tap of Figure 22 when in the second position;
    • Figure 26 is a vertical cross-section through the tap of Figure 22 showing a modification;
    • Figure 27, is a view corresponding to that of Figure 26 with the tap in the second position;
    • Figure 28 is a vertical cross-section through the longitudinal axis of an eighth embodiment of a tap incorporating the features of the present invention;
    • Figure 29 is a similar view to that of Figure 28 of a ninth embodiment of a tap incorporating the principal features of the present invention; and
    • Figure 30 is a similar view to that of Figure 28 of a tenth embodiment of a tap incorporating the principal features of the present invention.
  • To firstly refer to Figures 1 to 5 there is shown a container 10 which is an outer container of suitable material such as plastics or cardboard and which is used to hold a fluid which, preferably, is contained within a separate, flexible and collapsible bag within the container 10. Fitted to the container 10 is a tap 12 which has a flange 14 to retain the tap 12 in position in relation to the container 10.
  • The tap 12 is clearly seen in Figures 2 to 5 inclusive and comprises a body 16 the outer end of which comprises the flange 14. Extending axially outwardly from the flange 14 is a spigot receiving part 18 which is open at each end. The inner end 20 of the spigot receiving part 18 is angled as is shown in the drawings. The inner end 20 is closed by a rupturable or peelable-diaphragm or seal 22 which is secured to the inner end 20 by means of gluing, welding, or heat application. The spigot receiving part 18 also has an outlet 24 so that contents can be dispensed as will be understood hereafter.
  • The entire body 16 is adapted to be received within a plug 26 which is located inside the container 10 and which is attached thereto by means of a groove 28. The inner end of the plug 26 is secured to a bag 30 located within the container 10 and in which bag 30 the contents are held. The bag 30 is collapsible so that the contents of the bag 30 are not subjected to contact with oxygen or air during normal usage.
  • Located within the spigot receiving part 18 is a spigot 32. At the outer end of the spigot 32 there are provided seals 34 locating in corresponding grooves in the spigot receiving part 18 so that the spigot once inserted cannot be unwantedly removed and to provide for a fluid-seal between the spigot 32 and the spigot receiving part 18. The spigot 32 has an inner end 36 which corresponds in shape and angle to the inner end 20 of spigot receiving part 18. The inner end 36 is adapted, in use, to tear, puncture or lift the seal 22 off the inner end 20 when the spigot is rotated about its longitudinal axis as will be understood by the following description.
  • The spigot has an opening 38 which is designed to co-operate with the outlet 24 when the spigot is in the ON position (see Figure 5) to allow the contents of the bag 30 to be dispensed.
  • Integral with the spigot 32 is a handle 40 which closes the outer end of the spigot and also provides a means by which a user can operate the tap. The handle 40 has an opening 42 therein to enable the contents of the bag 30 to be properly dispensed when the opening 42 is in radial alignment with the opening 38 in the spigot 32. The handle 40 extends axially inwardly in parallel with the spigot so as to surround the spigot receiving part 18. To provide for a proper and double sealing effect when the tap is in the OFF position the handle skirt 44 has a radially inwardly directed projection 46 which, when the tap is in the OFF position, closes the outlet 24. The projection not only provides for a proper closing of the outlet 24 but would also tend to prevent any quantity of fluid in the outlet 24 from forming a drip which would tend to come from the handle at a later date.
  • The operation of the tap 12 is such that it is in the OFF position as shown in Figure 2. Upon the handle 40 being rotated the inner end 36 of the spigot 32 moves so as to force the seal 22 away from the inner end 20 of spigot receiving part 18. This can be done in the manner illustrated by breaking the glue, weld or the heat-securing or, alternatively, by actually tearing or rupturing the seal 22. When the handle 40 has been rotated through 180 degrees the removal of the seal 22 to allow fluid to flow is complete. When this happens the opening 38 in the spigot 32 is in alignment with the outlet 34 so that the fluid can travel through the hollow interior of the spigot 32, through the opening 38, and out via the outlet 24. To enable it to be passed through to a consumer it then passes through the opening 42 in the skirt 44 of the handle 40. Upon the tap being turned to the OFF position the projection 46 covers the outlet 24 and the opening 38 moves out of alignment with the outlet 24. This effectively seals the tap against any fluid outflow.
  • If desired, there may be placed a further opening in the spigot 32 adjacent the inner end 36 to allow for proper fluid flow should the seal 22 accidentally clog the inner end 36 of the spigot 32.
  • If desired, the projection 46 can extend around a substantial portion of the inner surface of the skirt 44 so that it completely blocks the outlet 24 except when the tap is in the ON position when the opening 42 is adjacent the outlet 24.
  • For the embodiment of Figures 6 to 9 similar reference numerals have been used for similar parts except with the addition of a prefix number 1.
  • Here, the tap 112 operates in exactly the same way as the tap 12 of Figures 1 to 5 and has a flange 114, a body 116, a spigot receiving part 118, an inner end of the spigot receiving part 120, a seal 122 across the inner end 120 at the same or a similar angle, but has an outlet 124 in the form of a hole in the spigot receiving part 118.
  • Mounted within the spigot receiving part 118 is a spigot 132 having an angled inner end 136 on a similar angle to the inner end 120 of the spigot receiving part 118. The spigot 132 has an opening 138 which is adapted to align with the outlet 124 when the tap is in the ON position. The outer end of the spigot 132 is closed by a handle 140 which is provided with a finger grip 148.
  • The inner end 136 of the spigot 132 is of smaller radial extent due to the spigot receiving part 118 having a flange 150. The flange 150 is provided to allow for easier attachment of the seal 122 to the inner end 120 of the spigot receiving part 118. The operation of the spigot 132, its inner end 136 and the seal 122 is exactly as was described for Figures 1 to 5.
  • A further difference is that the spigot 132 has a portion 152 which is used to also close the outlet 124 when in the OFF position. The portion 152 wipes over the hole of outlet 124 to prevent any possible drips passing through and out of the tap. It also provides for further oxygen protection.
  • It is believed the operation of the embodiment of Figures 6 to 9 is quite clear from the drawings and from the description of the embodiment of Figures 1 to 5.
  • For the embodiment of Figures 10 to 13 again like reference numerals are used for like components except that the prefix Figure 2 is added.
  • Here, there is a tap 212 which has a flange 214, a body 216, a spigot receiving part 218, an inner end 220 of the spigot receiving part, a seal 222 across the inner end 220, an outlet 224, a spigot 232, the inner end 236 of the spigot being arranged as per previous embodiments, an opening 238, a handle 240 having a grip 248, and a wipe clean portion 252. The main difference of this embodiment over the previous embodiments is that the inner end 236 of the spigot 232 has an opening 254 as was described as an alternative or additional feature for the embodiments of Figures 1 to 5. Furthermore, the seal 222 comprises a diaphragm 256 which is similar to the seal 222 of the previous two embodiments. The diaphragm 256 is mounted on a disc 258 which is integral with the spigot receiving part 218 and blocks the inner end 220 of that spigot receiving part 218. The disc is provided with a weakness portion 260 for much of its circumference with the only part of the disc 258 not having the weakness portion 260 being that at the top of the spigot receiving part 218. The disc 258 is provided so that upon the spigot being turned it will force the disc out by virtue of the weakness portion 260. However, the part of the disc 258 not having the weakness portion will remain attached to the inner end 220 of the spigot receiving part 218 in the form of a hinge 257. This will also push the diaphragm 256 away from the inner end 220 of the spigot receiving part 218. The strength of the material of the disc 258 will tend to hold it in that position so that it would not foul or block the opening to the hollow interior of the spigot 232. This would tend to increase the capacity of fluid flow into the spigot 232 and thus out through the opening 238 and the outlet 234. The weakness portion may be provided by having material of far less thickness, perforations, or as otherwise may be suitable.
  • Figures 14 and 15 show a variation on the above where the seal has been located inside the flange at the inner end of the spigot receiving part. This allows for the outer edges of the seal to be not in contact with the contents of the container. When the seal is a laminate, it has been found that certain liquids (e.g. wine) contain certain acids that corrode the adhesive used to create the laminate and/or one of the layers of the laminate. By using this form, the contents are in contact with one surface only and not the edge of the seal.
  • The variation of Figures 16 and 17 is exactly the same as that of Figures 14 and 15 except that a disc is added in exactly the same way as for the embodiment of Figures 10 to 13.
  • To refer now to Figures 18 to 21 there is shown a tap 310 which comprises a body 312, a handle 314, and an operating lever 316.
  • The body 312 is generally cylindrical and has an inner end 318 which has external ribs 320 designed to hold the tap 310 in a sleeve (not shown). The body 312 also has a radially extending flange 322 which is also designed to co-operate with the sleeve (not shown) to provide a limit for movement. Extending radially inwardly is an inner flange 324 which extends into the hollow interior of the body 312.
  • At the outer end 326 of the body 312 there are provided two radially extending ribs 328, 330 which are designed to co-operate with the handle 314 to retain the handle 314 in position. The first rib 328 also protects the handle 314 from being removed from the body 312 accidentally during use of the tap. The body is preferably made of a relatively rigid plastics material so as to provide for necessary strength.
  • The handle 314 locates around the outer end 326 of body 312 and locates between ribs 328, 330 and over rib 330 so as to prevent unwanted removal of the handle 314 from the body 312. The handle, like the body, is a one-piece plastics moulding although the handle is made of a relatively flexible material. The external skirt 332 locates as is explained above over the outer end 326 of the body and covers the end of body 312 by means of the flexible diaphragm portion 334. The diaphragm portion is off-set in its lower areas to provide a finger receiving portion 336. Axially located in the handle is a tapered socket 338 which is adapted to receive the longitudinally extending member of the lever. The handle in its upper portion has a flexible bulb-like "spring" 340 which is relatively resilient. Upon operation of the handle the spring is compressed and provides the necessary resilience to force the handle to return to the position shown in Figure 20.
  • Attached to the handle 314 is a closure member 342. This closure member is in the form of a cylinder and is integral with the socket 338 at its upper portion. The closure member 342 is designed to contact the bore wall of the body 312 to close an outlet 344.
  • As is explained above the socket 338 receives the longitudinally extending member 346 of the lever 316. The member 346 is retained within the socket in the manner of a tightly sealed fit. The lever 316 also includes a closing member 348 which is perpendicular to and integral with the longitudinal member 346. In its manufactured form, the closing member 348 is integral with the inner flange 324 although there are provided a number of perforations 350 so that the closing member 348 may be separated from the inner flange 324. At its lower point, the closing member is hinged to the inner flange 324 by means of a hinge 352.
  • Located on the innermost surface of the closing member 348 of lever 316 is a removable or frangible seal 354. This seal is oxygen impervious and is attached to the inner surface of closing member 348 and inner flange 324 by means of glue, welding, heat-sealing, or any other suitable attachment. The seal 354 provides for an oxygen barrier to prevent the ingress of oxygen into the containers of the bag (not shown).
  • The operation of the device is best understood by comparing Figure 20 - the closed position - to Figure 21 - the open position. Here it can be seen that upon a finger or other suitable device being placed in the finger receiving portion 336 and an upwardly directing force being made the handle will effectively pivot around the hinge 352. This is due to the operation of the handle socket 338 upon the longitudinal member 346 of the lever 316. The spring 340 is compressed or extended into the shape shown in Figure 21 so as to provide for the suitable return force. Upon the movement upwards, the perforations 350 around the closing member 348 are broken - but not the hinge 352. This lever action provides for significant force advantage as the length of the longitudinal member 346 as against the radius of the closing member 348 gives the mechanical advantage involved. This enables the seal 354 to be "peeled" or fractured from the inner flange 324, as is shown in Figure 21. This then creates an opening 356 through which the contents of the bag (not shown) can be dispensed. As the closure member 342 is integral with the socket 338 it is also lifted to the position shown in Figure 21 and thus the contents of the bag (not shown) can pass through the opening 356, around the socket 338 and the entrapped longitudinal member 346, past the closure member 342 and out through the outlet 344. Upon the force to the outer end of socket 338 being removed, the stretch effect upon the lower portion of the handle and the spring 340 will force the handle back to the closed position as shown in Figure 20.
  • Figures 22 to 25 show a variation which operates in exactly the same way as in the Figures 18 to 21 except that the closure member 342 is not in the form of a longitudinally extending cylinder but in the form of a vertically extending cylinder 343. In this particular case the closure member can have an extended portion 345 in its lower end 347 which would pass into the outlet 344 so as to prevent the retention of any fluid therein which may cause a drip at a later stage. This is the only difference between the two.
  • Similarly, Figures 26 and 27 show a variation of the embodiment of Figures 22 to 25 wherein the extension on the lower portion of the closure member 342 is removed.
  • As is shown particularly in Figures 23 and 24, the handle for the two variations may be made more simple such that the handle is in the form of a dish and has an outwardly extending tab into the dish to provide for the finger grip. However, if desired, the handle could be made in the same way as for Figures 18 to 21. Similarly, the handle of the embodiment of Figures 18 to 21 could be made in the way shown in Figures 23 and 24 rather than is shown in Figures 19 and 20.
  • If desireed, there may be provided a cap to be placed over the skirt of the handle and which, in the case of the handle of Figures 18 to 20, would have a projection extending into the finger receiving portion 336 and, in the case of Figures 22 to 26, would have a socket for receiving the outer end of the socket 338. This cap would be used while the tap was in transit to prevent accidental or unwanted operation.
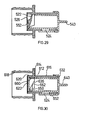
  • Referring now to Figure 28 there is shown a tap 412 having a body 416 with a flange 414 at one end. The tap is fitted to a container (not shown) by the flange for dispensing of liquid. Extending axially outwardly from the flange 414 is a spigot receiving part 418 which is open at one end.
  • The inner end 420 of the spigot receiving part 418 is angled as is shown in the drawings. The inner end 420 is closed by a rupturable diaphragm 422 which is integrally moulded with the spigot receiving part 418. The diaphragm 422 has a Weakness portion 425 for much of its circumference with the only part of the diaphragm not having the weakness portion being that at the top of the spigot receiving part 418. To protect the container contents from oxidation a seal 426 is secured to the inner end 420 by means of gluing, welding or heat welding.
  • Located within the spigot receiving part 418 is a spigot 432. At the outer end of the spigot 432 there are provided seals 434 locating in corresponding grooves in the spigot receiving'part 418 so that the spigot once inserted cannot be unwantedly removed and to provide for a fluid-seal between the spigot 432 and the spigot receiving part 418. The spigot 432 has an inner end 436 which has a cam 450 thereon. The cam 450 is adapted, in use, to rupture and lift the diaphragm 422 off the inner end 420 when the spigot is rotated about its longitudinal axis as will be understood by-the following description.
  • The spigot has an opening (not shown) which is designed to co-operate with the outlet 424 when the spigot is in the ON position to allow the contents of the container to be dispensed. Integral with the spigot 432 is a handle 440 which closes the outer end of the spigot and also provides a means by which a user can operate the tap.
  • The operation of the tap is such that it is in the OFF position as shown in the drawing. Upon the handle 440 being rotated the cam 450 will force the diaphragm 422 outwardly and rupture both diaphragm 422 and seal 426 along the weakened portion 425. Thus the diaphragm will be lifted and pivotted upwardly to provide an unobstructed passage of liquid through the tap.
  • For the embodiment of Figure 29 similar reference numerals have been used for similar parts as the embodiment of Figure 28 except with the change of the prefix number from 4 to 5.
  • Here, the tap 512 operates in exactly the same way as the tap 412 of Figure 28 and has a flange 514, a body 516, a spigot receiving part 518, an inner end of the spigot receiving part 520, and a diaphragm 522 across the inner end 520. In this embodiment the diaphragm 522 and seal 526 are in different planes. The inner end 520 is not at an angle and has a vertically mounted seal 526. The diaphragm 522 is at an angle and has a projection 552 for assisting in the rupturing of seal 526. The projection 552 is heat sealed to seal 526.
  • It is believed the operation of the embodiment of Figure 29 is quite clear from the drawing and from the description of the embodiment of Figure 28.
  • For the embodiment of Figure 30 again like reference numerals to those of Figures 28 and 29 are used for like components except that the prefix number is changed to "6".
  • Here, there is a tap 612 which has a flange 614, a body 616, a spigot receiving part 618, an inner end 620 of the spigot receiving part, a diaphragm 622 across the inner end 620, an outlet 624, a spigot 632, the inner end 636 of the spigot being arranged as per the embodiments of Figures 28 and 29, a handle 640 and a wipe clean portion 652. This embodiment is a cross between the embodiments of Figures 28 and 29 and has the diaphragm 622 and seal 626 in the same plane as per Figure 28, but has them vertically oriented as per the seal 526 of Figure 29. The diaphragm 622 includes a skirt 660 with an angled cam face 662. The cam 650, instead of co-operating directly with the inner face of diaphragm as per the embodiments of Figures 28 and 29, engages the angled cam face 662 to cause rupturing of the diaphragm and seal.
  • The material of the tap itself may be any suitable material preferably being a plastics material suitable for injection moulding.
  • The seal may be made in any suitable way or form and is preferably made as a plastics disc, a laminated plastics or other material, or any suitable material or combination of materials. The functional requirement of the seal is that it must be impervious to the ingress of oxygen or air for a period of approximately 6 to 12 months. This is to allow for sufficient shelf life for the contents of the container.
  • As will be understood from the foregoing one aspect of the present invention is to use a liftable and/or sealable seal which is mounted within that of body to provide for a cam-lifting action by the spigot. If desired, the various seals may be secured to the inner end of the spigot receiving part by means of ring seals so that the spigot inner end would peel the seal from the inner end of the spigot receiving part for a suitable portion of its circumference to allow adequate liquid flow and non-restricted access by the fluid into the interior of the spigot.
  • If desired, the inner end of the spigot could be shaped non-uniformly to provide a multiplicity of cams on the seal to lift the seal in a number of stages. Alternatively or additionally the inner end of the spigot may be provided with a number of axially inwardly projecting teeth which would act to cut into and actually tear all or a portion of the seal so as to physically remove it.
  • Whilst there has been described in the foregoing description preferred constructions of taps incorporating the essential features of the present invention it will be appreciated by those skilled in the particular technical field that many variations or modifications in details of design or construction may be made without departing from the essential form of the invention which will be determined from the scope of the following claims.

Claims (25)

1. A tap having a body and a spigot, said body being adapted to receive said spigot, said body having an inner end closed by a sealing means, said spigot having an inner end adapted to pierce or remove in total or in part said sealing means upon relative movement of said spigot and said body.
2. A tap as claimed in Claim 1, wherein said inner end of said body is at an oblique angle to its longitudinal axis.
3. A tap as claimed in Claim 1 or Claim 2, wherein said inner end of said spigot is at an oblique angle to its longitudinal axis.
4. A tap as claimed in any one of Claims 1 to 3 wherein said spigot has an outlet to enable said tap to operate to dispense contents of a container.
5. A tap as claimed in Claim 4, wherein there is provided a handle having a skirt with an opening therethrough, said skirt having a radially inwardly directed projection to cover said outlet when said tap is in the OFF position.
6. A tap as claimed in any one of Claims 1 to 5 wherein said spigot has an auxiliary opening adjacent said inner end.
7.' A tap as claimed in any one of claims 1 to 4, wherein said inner end of said spigot is of reduced radial extent, said inner end of said body having a flange therein to allow for easier attachment of said sealing means.
8. A tap as claimed in Claim 7, wherein said spigot has a radially outwardly located portion adapted to close an outlet in said body when said tap is in the OFF position.
9. A tap as claimed in any one of Claims 1 to 8, wherein said sealing means includes a disc across and integral with said inner end of said body, said disc having a tearable weakened portion for much but not all of its circumference there being an unweakened portion at the topmost portion of the circumference of said disc to act, in use, as a hinge.
10. A tap as claimed in Claim 9, wherein said sealing means includes a diaphragm attached to the inner surface of said disc.
11. A tap as claimed in Claim 9, wherein said sealing means includes a diaphragm attached to the outer surface of said disc.
12. A tap as claimed in Claim 1, wherein said inner end of said body has a radially inwardly directed flange, said sealing means being over said flange.
13. A tap as claimed in Claim 12, wherein said spigot is in the form of an operating lever, said operating lever having a longitudinally extending member and closing member substantially perpendicular to and integral with said longitudinal member, said closing member being located in an opening in said flange.
14. A tap as claimed in Claim 13, wherein said closing member is integral with said flange, said closing member having a tearable weakened portion for much but not all of its circumference there being an unweakened portion at the topmost portion of the circumference of said closing member to act, in use, as a hinge.
15. A tap as claimed in either one of Claims 13 or 14, wherein said closing member comprises said sealing means.
16. A tap as claimed in Claim 13 or Claim 14, wherein said sealing means is mounted on said closing member and said flange.
17. A tap as claimed in any one of Claims 13 to 16, there being provided a handle having a skirt over the outer end of said body, and a flexible diaphragm closing said outer end of said body, said flexible diaphragm having a socket for receiving said longitudinally extending member.
18. A tap as claimed in any one of Claims 13 to 17, wherein said longitudinally extending member has a closure member attached thereto for closing an opening in said body when said tap is in the OFF position.
19. A tap as claimed in Claim 1, wherein said inner end of said spigot is at an oblique angle to its longitudinal axis, said inner end of said body being perpendicular to its longitudinal axis.
20. A tap as claimed in Claim 19, wherein said sealing means includes a seal across said inner end of said body and a diaphragm located within said body axially outwardly of said seal.
21. A tap as claimed in Claim 20, wherein said diaphragm is at an oblique angle to the longitudinal axis of said body.
22. A tap as claimed in Claim 20 and Claim 21, wherein said diaphragm included an axially inwardly directed projection to assist in rupturing said seal.
23. A tap as claimed in any one of Claims 20 to 22, wherein said diaphragm has an axially outwardly directed skirt adapted to co-operate with said spigot to prevent unwanted closing of said inner end of said body by said seal and said diaphragm after said tap has been operated for the first time.
24. A tap including a body having an internal opening, a lever adapted to close said opening, a removable or frangible seal across said lever to seal said opening, an outlet from said tap, said lever having means attached thereto by which said opening can be closed when said lever is in a first position and opened when said lever is in a second position; movement of said lever from said first to said second position causing removal of said removable or frangible diaphragm.
25. The features herein described, or their equivalents, in any patentably novel selection.
EP83302043A 1982-04-30 1983-04-12 Dispensing taps Withdrawn EP0093517A3 (en)

Applications Claiming Priority (9)

Application Number Priority Date Filing Date Title
AU3796/82 1982-04-30
AUPF379682 1982-04-30
AU13633/83A AU553667B2 (en) 1982-04-30 1982-04-30 Dispensing tap
AUPF386782 1982-05-05
AU3867/82 1982-05-05
AUPF456182 1982-06-23
AU4561/82 1982-06-23
AUPF812683 1983-02-21
AU8126/83 1983-02-21

Publications (2)

Publication Number Publication Date
EP0093517A2 true EP0093517A2 (en) 1983-11-09
EP0093517A3 EP0093517A3 (en) 1984-07-25

Family

ID=27506587

Family Applications (1)

Application Number Title Priority Date Filing Date
EP83302043A Withdrawn EP0093517A3 (en) 1982-04-30 1983-04-12 Dispensing taps

Country Status (1)

Country Link
EP (1) EP0093517A3 (en)

Cited By (3)

* Cited by examiner, † Cited by third party
Publication number Priority date Publication date Assignee Title
GB2156949A (en) * 1984-03-31 1985-10-16 William C Christine Combined piercer and valve for flexible bag
EP0553956A1 (en) * 1992-01-30 1993-08-04 WADDINGTON & DUVAL LIMITED Improvements in and relating to dispensing taps
WO2003046447A1 (en) * 2001-11-29 2003-06-05 Potosi, S.A. Device for delivering liquids for human consumption and other uses

Family Cites Families (4)

* Cited by examiner, † Cited by third party
Publication number Priority date Publication date Assignee Title
US3995773A (en) * 1974-03-06 1976-12-07 Arctic Pac, Inc. Flexible liquid containing and dispensing device
AT357929B (en) * 1978-09-12 1980-08-11 Teich Ag Folienwalzwerk CONTAINER FOR LIQUID OR GIANT MATERIALS
DE3124373A1 (en) * 1980-06-24 1982-07-15 A.C.I. Operations Pty. Ltd., Melbourne, Victoria TAP ARRANGEMENT FOR A CONTAINER
US4355737A (en) * 1981-01-16 1982-10-26 Pongrass Robert G Fluid dispenser

Cited By (5)

* Cited by examiner, † Cited by third party
Publication number Priority date Publication date Assignee Title
GB2156949A (en) * 1984-03-31 1985-10-16 William C Christine Combined piercer and valve for flexible bag
EP0553956A1 (en) * 1992-01-30 1993-08-04 WADDINGTON & DUVAL LIMITED Improvements in and relating to dispensing taps
WO2003046447A1 (en) * 2001-11-29 2003-06-05 Potosi, S.A. Device for delivering liquids for human consumption and other uses
ES2219134A1 (en) * 2001-11-29 2004-11-16 Potosi, S.A Device for delivering liquids for human consumption and other uses
ES2219134B1 (en) * 2001-11-29 2006-01-16 Potosi, S.A DEVICE FOR THE SUPPLY OF LIQUIDS FOR HUMAN CONSUMPTION OR OTHER USES.

Also Published As

Publication number Publication date
EP0093517A3 (en) 1984-07-25

Similar Documents

Publication Publication Date Title
US4600127A (en) Dispensing taps
AU2007246847B2 (en) Container closure having means for introducing an additive into the contents of the container
US8443969B2 (en) Ingredient release spout
US5133486A (en) Tamper evident pull ring pour spout
AU2011281959B2 (en) Reclosable container lid, containers, in particular beverage cans, containing the reclosable container lid, method for producing such containers, and use of the container lid according to the invention
AU737104B2 (en) Dispensing closure for package containing a consumable beverage
CN101687579B (en) Package with a sealing region
US4605141A (en) Opening means having hold down means
KR20050074563A (en) Tamper-proof hinged closure for film-sealed bottles and containers filled with pourable contents
US6457613B1 (en) Container equipped with protective seal
US20090321286A1 (en) Container closure having a lifting cap for introducing an additive into the contents of the container
US20110163119A1 (en) Ingredient Release Spout
MXPA00012256A (en) Closure with dual hinge means.
US5884810A (en) Dispenser having a breakable and replaceable membrane for a rigid container for liquids
EP1727739B1 (en) Volumetric dispenser
US5000359A (en) Sealed spigot
KR20020093634A (en) Closure element for a packing for receiving liquid or paste-like material
US5779087A (en) Closing tab
EP0093517A2 (en) Dispensing taps
US7051896B2 (en) Opening assembly
JPS58193294A (en) Distributing tap
US2025747A (en) Container
JP4382886B2 (en) Container mouth structure
US2375632A (en) Container and closure with opening means therefor
WO2005097612A1 (en) Drinking cup

Legal Events

Date Code Title Description
PUAI Public reference made under article 153(3) epc to a published international application that has entered the european phase

Free format text: ORIGINAL CODE: 0009012

AK Designated contracting states

Designated state(s): BE DE FR GB IT

PUAL Search report despatched

Free format text: ORIGINAL CODE: 0009013

RHK1 Main classification (correction)

Ipc: B65D 47/36

AK Designated contracting states

Designated state(s): BE DE FR GB IT

17P Request for examination filed

Effective date: 19841231

STAA Information on the status of an ep patent application or granted ep patent

Free format text: STATUS: THE APPLICATION IS DEEMED TO BE WITHDRAWN

18D Application deemed to be withdrawn

Effective date: 19870120

RIN1 Information on inventor provided before grant (corrected)

Inventor name: CALDER,ALAN REGINALD

Inventor name: MALPAS, JON HENRY