EP0044331B1 - Oszillatorgerät für flüssigkeit - Google Patents

Oszillatorgerät für flüssigkeit Download PDF

Info

Publication number
EP0044331B1
EP0044331B1 EP81900400A EP81900400A EP0044331B1 EP 0044331 B1 EP0044331 B1 EP 0044331B1 EP 81900400 A EP81900400 A EP 81900400A EP 81900400 A EP81900400 A EP 81900400A EP 0044331 B1 EP0044331 B1 EP 0044331B1
Authority
EP
European Patent Office
Prior art keywords
pair
liquid
power
vortex
nozzle
Prior art date
Legal status (The legal status is an assumption and is not a legal conclusion. Google has not performed a legal analysis and makes no representation as to the accuracy of the status listed.)
Expired
Application number
EP81900400A
Other languages
English (en)
French (fr)
Other versions
EP0044331A4 (de
EP0044331A1 (de
Inventor
Ronald D. Stouffer
Current Assignee (The listed assignees may be inaccurate. Google has not performed a legal analysis and makes no representation or warranty as to the accuracy of the list.)
Bowles Fluidics Corp
Original Assignee
Bowles Fluidics Corp
Priority date (The priority date is an assumption and is not a legal conclusion. Google has not performed a legal analysis and makes no representation as to the accuracy of the date listed.)
Filing date
Publication date
Application filed by Bowles Fluidics Corp filed Critical Bowles Fluidics Corp
Publication of EP0044331A1 publication Critical patent/EP0044331A1/de
Publication of EP0044331A4 publication Critical patent/EP0044331A4/de
Application granted granted Critical
Publication of EP0044331B1 publication Critical patent/EP0044331B1/de
Expired legal-status Critical Current

Links

Images

Classifications

    • FMECHANICAL ENGINEERING; LIGHTING; HEATING; WEAPONS; BLASTING
    • F15FLUID-PRESSURE ACTUATORS; HYDRAULICS OR PNEUMATICS IN GENERAL
    • F15CFLUID-CIRCUIT ELEMENTS PREDOMINANTLY USED FOR COMPUTING OR CONTROL PURPOSES
    • F15C1/00Circuit elements having no moving parts
    • F15C1/22Oscillators
    • BPERFORMING OPERATIONS; TRANSPORTING
    • B05SPRAYING OR ATOMISING IN GENERAL; APPLYING FLUENT MATERIALS TO SURFACES, IN GENERAL
    • B05BSPRAYING APPARATUS; ATOMISING APPARATUS; NOZZLES
    • B05B1/00Nozzles, spray heads or other outlets, with or without auxiliary devices such as valves, heating means
    • B05B1/02Nozzles, spray heads or other outlets, with or without auxiliary devices such as valves, heating means designed to produce a jet, spray, or other discharge of particular shape or nature, e.g. in single drops, or having an outlet of particular shape
    • B05B1/08Nozzles, spray heads or other outlets, with or without auxiliary devices such as valves, heating means designed to produce a jet, spray, or other discharge of particular shape or nature, e.g. in single drops, or having an outlet of particular shape of pulsating nature, e.g. delivering liquid in successive separate quantities

Definitions

  • the present invention is related to a liquid oscillator particularly for a windshield washer system according to the preamble of claim 1.
  • the basic object of the present invention is to provide a liquid oscillator which produces a fan spray in which the liquid is relatively uniform throughout the fan spray thereby resulting in a more uniform dispersal of the liquid.
  • the liquid is a windshield washer fluid which is sprayed on an automobile windshield and the uniform droplets provide a better cleaning action.
  • the oscillator in the present invention retains the desirable low pressure start features of the prior art as well as cold weather start characteristics of the oscillator.
  • the preferred embodiment of the invention is carried out with an oscillator constituted by a generally rectangular chamber having at the upstream end an inlet aperture for a powder nozzle, an outlet aperture or throat coaxially aligned with the power nozzle or inlet aperture, the outlet aperture also having a pair of short boundary walls which have an angle between them of approximately the desired fan angle of liquid to be issued.
  • the fan angle as disclosed in the prior art referred to above, is related to the distance between the power nozzle and the outlet throat.
  • a pair of spaced walls extending downstream of the power nozzle and spaced therefrom terminate in a pair of bulbous protuberances or deflectors which define the downstream ends of vortex forming spaces and the deflectors also define the vortex controlled entranceways to the inlets of a pair of liquid passages, the exits for the passages being at opposite sides of the power nozzle. While it is not critical for the proper operation of the present invention, one of the upper and/or lower walls bounding the oscillation chamber is tapered to assure cold weather oscillation.
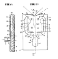
  • the oscillator of the present invention is constituted by a molded plastic body member 10 which would typically be inserted into a housing or holder member 11 (shown in section Figure 2) ' which has a fitting 12 which receives tubing 13 connection to the outlet of the windshield washer pump (not shown).
  • Liquid washing compound is thus introduced to the device via power nozzle inlet 14 which thus issues fluid through power nozzles 15.
  • the liquid issues from the power nozzle 15 which at its exit EP has a width W, the liquid flowing initially past the exit ports 16 and 17 of liqiud passages 18 and 19 respectively.
  • Elements 20 and 21 basically form the boundaries of the interaction chamber and the liquid passages 18 and 19, respectively.
  • This chamber structure is defined by a pair of walls 20N and 21 N which are normal to the central axis through the power nozzle 15 and outlet throat 24, which connect with wall elements 20-P and 21-P which are parallel to the direction of fluid flow, the normal and parallel wall elements being joined by curved section 20C and 21C respectively so that the liquid passages from the inlets 18-1 and 19-1 respectively are of substantially uniform width and about equal to the width W of the power nozzle.
  • An important feature of the invention are the bulbous protuberances or projections 20-B and 21-B at the downstream ends of parallel portions 20-P and 21-P which preferably have smoothly rounded surfaces.
  • Protuberances 20-B and 21-B with outer wall portions 36 and 37 define the entranceways 38 and 39 to inlets 18-1 and 19-1 respectively.
  • the outlet throat 24 has a pair of very short diverging fan angle limiting walls 26-L and 26-R, which in this embodiment are set at an angle of about 110° and which thereby defines the maximum fan angle.
  • Figure 1a shows that in the device the walls WP of the power nozzle, are not parallel to the power jet centerline, but converge increasingly all the way to the power nozzle exit EP, so that the power jet stream will continue to converge (and increase velocity) until the internal pressure in the jet overrides and expansion begins.
  • the main oscillator chamber MOC includes a pair of left and right vortex supporting or generating volumes which vortices avoid wall attachment and boundary layer effects and hence avoids dwell of the power jet at either extremity of its sweep; the chamber is more or less square.
  • the terms "left” and “right” are solely with reference to the drawing and are not intended to be limiting.
  • the feedback passage exits 16 and 17 are not reduced in flow area.
  • a reduction in flow area is sometimes used in prior art oscillators to increase the velocity of feedback flow where it interacts with the power jet; to restrict entrainment flow out of the feedback passage; or as part of an RC feedback system to determine power jet dwell time at an attachment wall.
  • the feedback passage exits 16 and 17 of the oscillator are the same size as the passages 18 and 19. No aid to wall attachment is necessary because there are no walls on which attachment might occur.
  • the feedback inlets in many prior art oscillators are sharp edged dividers placed so that they intercept part of the power jet flow when the power jet is at either the right or left extreme of its motion.
  • the dividers used in prior art oscillators at the feedback inlet direct a known percentage of the flow to the feedback exit (or feedback nozzle in some cases) in order to force the power jet to move or switch to the other side of the device.
  • the feedback passages sometimes contain "capacitors" to delay the build-up of feedback pressure in order to lengthen the time the power jet dwells at either extreme.
  • the feedback inlets 18-1 and 19-1 of this invention are rotated 90° relative to the usual configuration, and thus do not intercept any power jet flow. In fact, as will be described later under the heading "Method of Oscillation", there is no power jet flow in the feedback passages 18 and 19.
  • the partition that separates feedback passage from the main chamber MOC of the oscillator may also be seen in Figure 2, this partition is terminated at the feedback passage inlet by rounded protrusion or deflector members 20-B and 21-B.
  • This part of the partition has three functions; to deflect the power jet stream; to provide a downstream seal for the vortex generation chamber; and to form part of the feedback passage inlet.
  • the power jet leaving via EP becomes turbulent. Liquid from the power nozzle EP issues therefrom toward the outlet throat and expands to fill the oscillation chamber MOC.
  • the turbulence which begins on the free sides of the jet causes some entrainment of local fluid in the main chamber MOC, and eventually sufficient instability in the pressure surrounding the jet to cause it to be begin to undulate. This movement increases with increased pressure until the jet impacts the deflectors and then the normal oscillation pattern for this device begins.
  • the vortex formation in left vortex generation chamber has just begun.
  • the deflector 20-B has formed a seal between the power jet and the rest of the chamber, so that the only place chamber MOC can get a supply of flow to relieve the low pressure generated there would be from the feedback passage. With normal feedback this would occur because the feedback inlet would be receiving flow at a rate greater than the entrainment flow of the feedback exit, and the power jet would move toward the opposite side.
  • the inlet 18-1 to the feedback passage is sealed by a strong vortex at entranceway 38.
  • This vortex at entranceway 38 was larger (like the one at entranceway 39) until it was confined in the feedback inlet by the power jet. Being suddenly reduced in size, its rotational speed increased, enhancing its ability to seal the feedback inlet 18-1 and to deflect the power jet toward the outlet device to ambient. Meanwhile, since the vortex forming in the left vortex chamber has no flow to relieve the low pressure but the power jet, it builds in intensity. The increasing pressure unbalance across the power jet and the motion of the vortex cause the power jet to move further left ( Figures 3b, 3c and 3d) and to begin to impact the deflector 20-B more on the upstream side. As this condition increases the power jet deflects off the deflector at a more shallow angle permitting the vortex 32 at entranceway 38 to expand. Thus, the outlet stream begins to move before feedback begins.
  • FIG. 3a through 3h The movement of the outlet stream is depicted in Figures 3a through 3h.
  • the outlet stream begins to move or sweep in an opposite direction by virtue of generation and movement of the vortices 30 and 31 and hence before fluid flow in the feedback passages. Therefore; the motion and position of the outlet stream is not entirely dependent on feedback, whereas the opposite is true, in astable multivibrators.
  • the angular relationship (sweeping motion) of the output stream versus time is more closely related to sinusoidal oscillation than it is to astable oscillation. This is evidenced by the fact that the output stream does not "linger” at either extreme of its angular movement.
  • the power nozzle design purposely generates turbulence in the power jet stream prior to the nozzle exit, rather than attempt to generate a "low” turbulence nozzle design with a controlled and stable velocity profile. Moreover, the power nozzle allows the power jet flow within the power nozzle to "hug" one or the other of the power nozzle's sidewalls in order to cause a closer interaction between the power jet and the exits 16 and 17 of the feedback passages 18 and 19, thus, enhancing the generation of very low pressures in the feedback passages.
  • the feedback passage exits 16 and 17 are unrestricted so there is no RC storage (e.g. capacitance or resistance effects) and permit maximum flow from the feedback passage.
  • the large exits 16 and 17 also permit maximum aspiration to occur as a result of the power jet flowing across the exits.
  • the feedback passages 18 and 20 are at a "low pressure-no flow" condition for most of the oscillator cycle.
  • Feedback is controlled by low pressure and vortex movement rather than intercepting a portion of the power jet. In fact, there is no power jet flow in the feedback passage.
  • the entranceways 38 and 39 to feedback passage inlets 18-1 and 19-1 are designed to provide containment of a vortex for sealing the inlet to the feedback passage against flow.
  • the vortices produced in left and right vortex generation chambers dominate the process of oscillation and also provide a new vortex that moves into the inlet of a feedback passage to terminate each feedback occurrence.
  • the device retains the low threshold pressure for initiation of oscillation so in the case of a windshield washer assembly for automobiles, there is no need to increase pump sizes for cold weather operation when the viscosity and surface tension of the liquid has increased.
  • the oscillation chamber can have the top (roof) and bottom (floor) walls thereof diverging from each other in the direction of the outlet throat so as to expand the power jet in cold weather but it is not necessary in regards to the present invention.
  • the device illustrated is an actual operating device. Variations of the output characteristics can be achieved by varying the curvature of protuberances 20-B and 21-B.
  • the fan angle can be decreased by shortening the distance between the power nozzle 15 and outlet throat 24.
  • the distance between the power nozzle 15 and the outlet throat 24 is about 9W and the distance between side walls 20 and 21 is slightly more than 6W, the distance between protuberances 20-B and 21-B is slightly greater than 4W.

Landscapes

  • Engineering & Computer Science (AREA)
  • General Engineering & Computer Science (AREA)
  • Theoretical Computer Science (AREA)
  • Physics & Mathematics (AREA)
  • Fluid Mechanics (AREA)
  • Mechanical Engineering (AREA)
  • Nozzles (AREA)

Claims (7)

1. Oszillator für Flüssigkeiten, insbesondere für ein Windschutzscheiben-Waschsystem mit einer Gebläsesprühdüse für Flüssigkeiten mit einer Oszillationskammer (MOC), einer Treibdüse (15) zum Einführen eines flüssigen Treibstrahls in die Kammer, einem Ausgangsdüsenhals (24) stromabwärts von der Treibdüse und einem Paar von Kanälen (18, 19) mit Eingangsöffnungen (18-1, 19-1) zu den jeweiligen Seiten des Ausgangsdüsenhalses und mit Ausgangsöffnungen (16,17) in dem Nähe der Treibdüse, wobei die Oszillationskammer ein Paar von Spiegelbildwandoberflächen aufweist, welche unmittelbar stromabwärts von den Ausgangsöffnungen beginnen und sich stromabwärts hiervon erstrecken, dadurch gekennzeichnet, daß das Paar von Spiegelbildwandoberflächen zwei wirbelbildende Kammern (30, 31) begrenzt, deren stromaufwärtiges Ende jeweils in Bezug zu den Ausgangsöffnungen (16, 17) ausreichend zurückgesetzt ist, um Wandberührung zu vermeiden, und daß das stromabwärtige Ende jeder Spiegelbildwandoberfläche jeweils Vorsprüge (20B, 21 B) mit relativ glatten Oberflächen aufweist, um die in den wirbelbildenden Kammern gebildeten Wirbel hierüber und in die Eingangsöffnungen zu führen, wodurch der flüssige Treibstrahl veranlaßt wird, in der Oszillationskammer hin und her zu oszillieren.
2. Oszillator für Flüssigkeiten nach Anspruch 1, dadurch gekennzeichnet, daß die Treibdüse (15) konvergierende Seiten aufweist und daß sich der Treibstrahl in der Oszillationskammer (MOC) ausbreitet.
3. Oszillator für Flüssigkeiten nach Anspruch 1 oder 2, dadurch gekennzeichnet, daß die Oszillationskammer (MOC) obere und unteren Wände aufweist, welche relativ zueinander divergieren.
4. Oszillator für Flüssigkeiten nach einem der Ansprüche 1 bis 3, dadurch gekennzeichnet, daß der Treibstrahl an der Ausgangsöffnung (16, 17) des einen des Paares von Kanälen (18, 19) einen Sog erzeugt, in dessen Eingangsöffnung (18-1, 19-1) ein Wirbel sitzt.
5. Oszillator für Flüssigkeiten nach einem der Ansprüche 1 bis 4, dadurch gekennzeichnet, daß die abgerundeten Vorsprünge (20B, 21B) in die Eingangsöffnungen (18-1, 19-1) münden.
6. Oszillator für Flüssigkeiten nach einem der Ansprüche 1 bis 5, dadurch gekennzeichnet, daß die Oszillationskammer (MOC) vorzugsweise allgemein rechteckförmig ist.
7. Oszillator für Flüssigkeiten nach einem der Ansprüche 1 bis 6, dadurch gekennzeichnet, daß die wirbelbildenden Kammern (30, 31) durch ein erstes Paar von Wänden (20N, 21 N), die senkrecht zur Achse der Treibdüse (15) verlaufen und unmittelbar stromabwärts von den Ausgangsöffnungen (16, 17) angeordnet sind und eine ausreichende Länge aufweisen, um Wandhaftung zu vermeiden, und durch ein zweites Paar von Wänden (20P, 21P) begrenzt sind, die parallel zur Achse der Treibdüse verlaufen und mit dem ersten Paar von Wänden unmittelbar stromabwärts von diesen verbunden sind, wobei das Paar von beabstandeten abgerundeten Vorsprüngen (20B, 21B) mit dem Stromabwartigen Ende des zweiten Paars von Wänden verbunden ist, wodurch die Flüssigkeit des Treibstrahls an keiner Wandoberfläche festgehalten wird.
EP81900400A 1980-01-14 1981-01-13 Oszillatorgerät für flüssigkeit Expired EP0044331B1 (de)

Applications Claiming Priority (4)

Application Number Priority Date Filing Date Title
US11224880A 1980-01-14 1980-01-14
US112248 1980-01-14
US21824780A 1980-12-19 1980-12-19
US218247 1980-12-19

Publications (3)

Publication Number Publication Date
EP0044331A1 EP0044331A1 (de) 1982-01-27
EP0044331A4 EP0044331A4 (de) 1982-05-28
EP0044331B1 true EP0044331B1 (de) 1986-01-02

Family

ID=26809736

Family Applications (1)

Application Number Title Priority Date Filing Date
EP81900400A Expired EP0044331B1 (de) 1980-01-14 1981-01-13 Oszillatorgerät für flüssigkeit

Country Status (4)

Country Link
EP (1) EP0044331B1 (de)
AU (1) AU544839B2 (de)
BR (1) BR8105864A (de)
WO (1) WO1981001966A1 (de)

Cited By (2)

* Cited by examiner, † Cited by third party
Publication number Priority date Publication date Assignee Title
DE19838764B4 (de) * 1998-08-26 2009-01-08 A. Raymond & Cie Scheibenwaschdüse
US11471898B2 (en) 2015-11-18 2022-10-18 Fdx Fluid Dynamix Gmbh Fluidic component

Families Citing this family (3)

* Cited by examiner, † Cited by third party
Publication number Priority date Publication date Assignee Title
US5749525A (en) * 1996-04-19 1998-05-12 Bowles Fluidics Corporation Fluidic washer systems for vehicles
DE102017212747B3 (de) * 2017-07-25 2018-11-08 Fdx Fluid Dynamix Gmbh Fluidisches Bauteil, fluidische Baugruppe und Fluidverteilungsgerät
CN112547330A (zh) * 2020-11-30 2021-03-26 上海交通大学 一种无反馈管道的流体振荡器

Family Cites Families (7)

* Cited by examiner, † Cited by third party
Publication number Priority date Publication date Assignee Title
US3432102A (en) * 1966-10-03 1969-03-11 Sherman Mfg Co H B Liquid dispensing apparatus,motor and method
US3423026A (en) * 1967-10-30 1969-01-21 Gen Motors Corp Windshield cleaning device utilizing an oscillatory fluid stream
US4052002A (en) * 1974-09-30 1977-10-04 Bowles Fluidics Corporation Controlled fluid dispersal techniques
US4157161A (en) * 1975-09-30 1979-06-05 Bowles Fluidics Corporation Windshield washer
GB1578934A (en) * 1976-05-28 1980-11-12 Bowles Fluidics Corp Fluidic nozzle or spray device of simple construction
US4151955A (en) * 1977-10-25 1979-05-01 Bowles Fluidics Corporation Oscillating spray device
US4463904A (en) * 1978-11-08 1984-08-07 Bowles Fluidics Corporation Cold weather fluidic fan spray devices and method

Cited By (2)

* Cited by examiner, † Cited by third party
Publication number Priority date Publication date Assignee Title
DE19838764B4 (de) * 1998-08-26 2009-01-08 A. Raymond & Cie Scheibenwaschdüse
US11471898B2 (en) 2015-11-18 2022-10-18 Fdx Fluid Dynamix Gmbh Fluidic component

Also Published As

Publication number Publication date
BR8105864A (pt) 1981-11-17
WO1981001966A1 (en) 1981-07-23
EP0044331A4 (de) 1982-05-28
EP0044331A1 (de) 1982-01-27
AU544839B2 (en) 1985-06-13
AU6778081A (en) 1981-08-07

Similar Documents

Publication Publication Date Title
US4508267A (en) Liquid oscillator device
US7651036B2 (en) Three jet island fluidic oscillator
US4157161A (en) Windshield washer
US5906317A (en) Method and apparatus for improving improved fluidic oscillator and method for windshield washers
CA1147513A (en) Cold weather fluidic fan spray devices and method
EP0894026B1 (de) Fluidische oszillatoren für fahrzeugwaschsysteme
US5213269A (en) Low cost, low pressure, feedback passage-free fluidic oscillator with interconnect
US6240945B1 (en) Method and apparatus for yawing the sprays issued from fluidic oscillators
US20080067267A1 (en) Cold-performance fluidic oscillator
US8172162B2 (en) High efficiency, multiple throat fluidic oscillator
KR101905948B1 (ko) 차량용 와셔 노즐
EP1827703B1 (de) Fluid-oszillator mit verbesserter kaltleistung
US5181660A (en) Low cost, low pressure, feedback passage-free fluidic oscillator with stabilizer
EP0044331B1 (de) Oszillatorgerät für flüssigkeit
US5213270A (en) Low cost, low pressure fluidic oscillator which is free of feedback
JPH025927B2 (de)
WO1980000543A1 (en) Dual pattern windshield washer nozzle
WO2005042169A1 (en) Three jet island fluidic oscillator
AU4172497A (en) Low pressure, full coverage fluidic spray device
JPH09315270A (ja) ウォッシャノズル
CA1157067A (en) Liquid oscillator device
US6978951B1 (en) Reversing chamber oscillator
CA1095666A (en) Windshield washer having swept jet dispensing means
JPH10202149A (ja) ウォッシャノズル

Legal Events

Date Code Title Description
PUAI Public reference made under article 153(3) epc to a published international application that has entered the european phase

Free format text: ORIGINAL CODE: 0009012

AK Designated contracting states

Designated state(s): DE FR GB SE

17P Request for examination filed

Effective date: 19820111

RAP1 Party data changed (applicant data changed or rights of an application transferred)

Owner name: BOWLES FLUIDICS CORPORATION

GRAA (expected) grant

Free format text: ORIGINAL CODE: 0009210

AK Designated contracting states

Designated state(s): DE FR GB SE

REF Corresponds to:

Ref document number: 3173334

Country of ref document: DE

Date of ref document: 19860213

ET Fr: translation filed
PLBE No opposition filed within time limit

Free format text: ORIGINAL CODE: 0009261

STAA Information on the status of an ep patent application or granted ep patent

Free format text: STATUS: NO OPPOSITION FILED WITHIN TIME LIMIT

26N No opposition filed
PGFP Annual fee paid to national office [announced via postgrant information from national office to epo]

Ref country code: SE

Payment date: 19900123

Year of fee payment: 10

PG25 Lapsed in a contracting state [announced via postgrant information from national office to epo]

Ref country code: SE

Effective date: 19910114

EUG Se: european patent has lapsed

Ref document number: 81900400.3

Effective date: 19910910

PGFP Annual fee paid to national office [announced via postgrant information from national office to epo]

Ref country code: GB

Payment date: 20000110

Year of fee payment: 20

PGFP Annual fee paid to national office [announced via postgrant information from national office to epo]

Ref country code: FR

Payment date: 20000718

Year of fee payment: 20

PGFP Annual fee paid to national office [announced via postgrant information from national office to epo]

Ref country code: DE

Payment date: 20000726

Year of fee payment: 20

PG25 Lapsed in a contracting state [announced via postgrant information from national office to epo]

Ref country code: GB

Free format text: LAPSE BECAUSE OF EXPIRATION OF PROTECTION

Effective date: 20010112

REG Reference to a national code

Ref country code: GB

Ref legal event code: PE20

Effective date: 20010112