DE4345552B4 - Semiconductor accelerometer - Google Patents

Semiconductor accelerometer Download PDF

Info

Publication number
DE4345552B4
DE4345552B4 DE4345552A DE4345552A DE4345552B4 DE 4345552 B4 DE4345552 B4 DE 4345552B4 DE 4345552 A DE4345552 A DE 4345552A DE 4345552 A DE4345552 A DE 4345552A DE 4345552 B4 DE4345552 B4 DE 4345552B4
Authority
DE
Germany
Prior art keywords
weight
strain gauges
beams
acceleration sensor
semiconductor
Prior art date
Legal status (The legal status is an assumption and is not a legal conclusion. Google has not performed a legal analysis and makes no representation as to the accuracy of the status listed.)
Expired - Lifetime
Application number
DE4345552A
Other languages
German (de)
Inventor
Katsumichi Kawasaki Ueyanagi
Current Assignee (The listed assignees may be inaccurate. Google has not performed a legal analysis and makes no representation or warranty as to the accuracy of the list.)
Denso Ten Ltd
Fuji Electric Co Ltd
Original Assignee
Denso Ten Ltd
Fuji Electric Co Ltd
Priority date (The priority date is an assumption and is not a legal conclusion. Google has not performed a legal analysis and makes no representation as to the accuracy of the date listed.)
Filing date
Publication date
Priority claimed from JP4066470A external-priority patent/JP2831195B2/en
Priority claimed from JP04227651A external-priority patent/JP3115427B2/en
Application filed by Denso Ten Ltd, Fuji Electric Co Ltd filed Critical Denso Ten Ltd
Priority to DE19934309786 priority Critical patent/DE4309786B4/en
Priority claimed from DE19934309786 external-priority patent/DE4309786B4/en
Application granted granted Critical
Publication of DE4345552B4 publication Critical patent/DE4345552B4/en
Anticipated expiration legal-status Critical
Expired - Lifetime legal-status Critical Current

Links

Classifications

    • GPHYSICS
    • G01MEASURING; TESTING
    • G01PMEASURING LINEAR OR ANGULAR SPEED, ACCELERATION, DECELERATION, OR SHOCK; INDICATING PRESENCE, ABSENCE, OR DIRECTION, OF MOVEMENT
    • G01P15/00Measuring acceleration; Measuring deceleration; Measuring shock, i.e. sudden change of acceleration
    • G01P15/02Measuring acceleration; Measuring deceleration; Measuring shock, i.e. sudden change of acceleration by making use of inertia forces using solid seismic masses
    • G01P15/08Measuring acceleration; Measuring deceleration; Measuring shock, i.e. sudden change of acceleration by making use of inertia forces using solid seismic masses with conversion into electric or magnetic values
    • G01P15/12Measuring acceleration; Measuring deceleration; Measuring shock, i.e. sudden change of acceleration by making use of inertia forces using solid seismic masses with conversion into electric or magnetic values by alteration of electrical resistance
    • G01P15/123Measuring acceleration; Measuring deceleration; Measuring shock, i.e. sudden change of acceleration by making use of inertia forces using solid seismic masses with conversion into electric or magnetic values by alteration of electrical resistance by piezo-resistive elements, e.g. semiconductor strain gauges
    • GPHYSICS
    • G01MEASURING; TESTING
    • G01PMEASURING LINEAR OR ANGULAR SPEED, ACCELERATION, DECELERATION, OR SHOCK; INDICATING PRESENCE, ABSENCE, OR DIRECTION, OF MOVEMENT
    • G01P1/00Details of instruments
    • G01P1/02Housings
    • G01P1/023Housings for acceleration measuring devices
    • GPHYSICS
    • G01MEASURING; TESTING
    • G01PMEASURING LINEAR OR ANGULAR SPEED, ACCELERATION, DECELERATION, OR SHOCK; INDICATING PRESENCE, ABSENCE, OR DIRECTION, OF MOVEMENT
    • G01P15/00Measuring acceleration; Measuring deceleration; Measuring shock, i.e. sudden change of acceleration
    • G01P15/02Measuring acceleration; Measuring deceleration; Measuring shock, i.e. sudden change of acceleration by making use of inertia forces using solid seismic masses
    • G01P15/08Measuring acceleration; Measuring deceleration; Measuring shock, i.e. sudden change of acceleration by making use of inertia forces using solid seismic masses with conversion into electric or magnetic values
    • GPHYSICS
    • G01MEASURING; TESTING
    • G01PMEASURING LINEAR OR ANGULAR SPEED, ACCELERATION, DECELERATION, OR SHOCK; INDICATING PRESENCE, ABSENCE, OR DIRECTION, OF MOVEMENT
    • G01P15/00Measuring acceleration; Measuring deceleration; Measuring shock, i.e. sudden change of acceleration
    • G01P15/18Measuring acceleration; Measuring deceleration; Measuring shock, i.e. sudden change of acceleration in two or more dimensions
    • GPHYSICS
    • G01MEASURING; TESTING
    • G01PMEASURING LINEAR OR ANGULAR SPEED, ACCELERATION, DECELERATION, OR SHOCK; INDICATING PRESENCE, ABSENCE, OR DIRECTION, OF MOVEMENT
    • G01P15/00Measuring acceleration; Measuring deceleration; Measuring shock, i.e. sudden change of acceleration
    • G01P15/02Measuring acceleration; Measuring deceleration; Measuring shock, i.e. sudden change of acceleration by making use of inertia forces using solid seismic masses
    • G01P15/08Measuring acceleration; Measuring deceleration; Measuring shock, i.e. sudden change of acceleration by making use of inertia forces using solid seismic masses with conversion into electric or magnetic values
    • G01P2015/0805Measuring acceleration; Measuring deceleration; Measuring shock, i.e. sudden change of acceleration by making use of inertia forces using solid seismic masses with conversion into electric or magnetic values being provided with a particular type of spring-mass-system for defining the displacement of a seismic mass due to an external acceleration
    • G01P2015/0822Measuring acceleration; Measuring deceleration; Measuring shock, i.e. sudden change of acceleration by making use of inertia forces using solid seismic masses with conversion into electric or magnetic values being provided with a particular type of spring-mass-system for defining the displacement of a seismic mass due to an external acceleration for defining out-of-plane movement of the mass
    • G01P2015/0825Measuring acceleration; Measuring deceleration; Measuring shock, i.e. sudden change of acceleration by making use of inertia forces using solid seismic masses with conversion into electric or magnetic values being provided with a particular type of spring-mass-system for defining the displacement of a seismic mass due to an external acceleration for defining out-of-plane movement of the mass for one single degree of freedom of movement of the mass
    • G01P2015/0828Measuring acceleration; Measuring deceleration; Measuring shock, i.e. sudden change of acceleration by making use of inertia forces using solid seismic masses with conversion into electric or magnetic values being provided with a particular type of spring-mass-system for defining the displacement of a seismic mass due to an external acceleration for defining out-of-plane movement of the mass for one single degree of freedom of movement of the mass the mass being of the paddle type being suspended at one of its longitudinal ends
    • GPHYSICS
    • G01MEASURING; TESTING
    • G01PMEASURING LINEAR OR ANGULAR SPEED, ACCELERATION, DECELERATION, OR SHOCK; INDICATING PRESENCE, ABSENCE, OR DIRECTION, OF MOVEMENT
    • G01P15/00Measuring acceleration; Measuring deceleration; Measuring shock, i.e. sudden change of acceleration
    • G01P15/02Measuring acceleration; Measuring deceleration; Measuring shock, i.e. sudden change of acceleration by making use of inertia forces using solid seismic masses
    • G01P15/08Measuring acceleration; Measuring deceleration; Measuring shock, i.e. sudden change of acceleration by making use of inertia forces using solid seismic masses with conversion into electric or magnetic values
    • G01P2015/0805Measuring acceleration; Measuring deceleration; Measuring shock, i.e. sudden change of acceleration by making use of inertia forces using solid seismic masses with conversion into electric or magnetic values being provided with a particular type of spring-mass-system for defining the displacement of a seismic mass due to an external acceleration
    • G01P2015/0822Measuring acceleration; Measuring deceleration; Measuring shock, i.e. sudden change of acceleration by making use of inertia forces using solid seismic masses with conversion into electric or magnetic values being provided with a particular type of spring-mass-system for defining the displacement of a seismic mass due to an external acceleration for defining out-of-plane movement of the mass
    • G01P2015/084Measuring acceleration; Measuring deceleration; Measuring shock, i.e. sudden change of acceleration by making use of inertia forces using solid seismic masses with conversion into electric or magnetic values being provided with a particular type of spring-mass-system for defining the displacement of a seismic mass due to an external acceleration for defining out-of-plane movement of the mass the mass being suspended at more than one of its sides, e.g. membrane-type suspension, so as to permit multi-axis movement of the mass

Landscapes

  • Physics & Mathematics (AREA)
  • General Physics & Mathematics (AREA)
  • Pressure Sensors (AREA)

Abstract

Halbleiterbeschleunigungssensor, der aus einem Halbleiter geformt ist, wobei er umfasst:
ein Gewicht (901) mit einem zentralen, quadratischen, dickwandigen Bereich (901A) und vier quadratischen, dickwandigen Ausstülpungen (901A, 901B, 901C, 901D), die auf den jeweiligen Seiten des zentralen Bereichs geformt sind, wobei die Seiten davon untereinander einen rechten Winkel um den Mittelpunkt des zentralen Bereichs bilden,
einen dickwandigen Träger (906), mit einer quadratischen, inneren Öffnung, die in einem vorgegebenen Abstand von den äußeren Seiten der Ausstülpungen des Gewichts entfernt derart angeordnet ist, dass sie das Gewicht umgibt,
vier dünnwandige Balken (902, 903, 904, 905) zum Verbinden den der einen Seiten der Ausstülpungen des Gewichts, wobei die Seiten davon untereinander einen rechten Winkel um den Mittelpunkt des zentralen Bereichs bilden, und
jeweils in den Balken geformten Dehnungsmessstreifen (902A, 902B, 903A, 903B, 904A, 904B, 905A, 905B),
wobei die in den vier Balken geformten Dehnungsmessstreifen des Halbleiterbeschleunigungssensors vier Dehnungsmessstreifen auf...
A semiconductor acceleration sensor formed of a semiconductor, comprising:
a weight (901) having a central, square, thick-walled region (901A) and four square, thick-walled protuberances (901A, 901B, 901C, 901D) formed on the respective sides of the central region, the sides of which being a right Form angles around the center of the central area,
a thick-walled support (906) having a square inner opening disposed at a predetermined distance from the outer sides of the protuberances of the weight so as to surround the weight;
four thin-walled beams (902, 903, 904, 905) for connecting one side of the protuberances of the weight, the sides of which form a right angle with each other about the center of the central area, and
respective strain gauges formed in the beams (902A, 902B, 903A, 903B, 904A, 904B, 905A, 905B),
wherein the strain gauges of the semiconductor acceleration sensor formed in the four bars have four strain gauges on each other.

Figure 00000001
Figure 00000001

Description

Die vorliegende Erfindung bezieht sich auf einen Mikro- Beschleunigungssensor aus einem Halbleiter.The The present invention relates to a micro-acceleration sensor from a semiconductor.

Ein herkömmlicher Halbleiterbeschleunigungssensor ist in den 12A und 12B gezeigt. 12A ist eine perspektivische Ansicht und 12B ist ein Schaltkreisdiagramm. In 12A umfaßt der Halbleiterbeschleunigungssensor ein viereckiges, prismaförmiges, dickes Gewicht 10 aus einem Halbleiter mit einer Dicke von zum Beispiel 400 μm, ein dickes Trägerelement 12, das durch eine vorgegebene Lücke von dem Gewicht 10 getrennt ist und so geformt ist, das es dieses umgibt, und einen dünnen Balken 11, der eine Seitenfläche des Gewichts 10 mit derjenigen des Trägerelements 12 verbindet, die der einen Seitenfläche gegenüberliegt, und der eine Dicke von zum Beispiel 10 bis 40 μm besitzt. Dehnungmeßstreifen 31, 32, 33 und 34 sind auf der oberen Seitenfläche des Balkens 11 geformt. Die Dehnungsmeßstreifen 31 und 33 sind in der Verbindungsseite mit dem Gewicht 10 in der longitudinalen Richtung des Balkens 11 geformt, und die Dehnungsmeßstreifen 32 und 34 sind in der Querrichtung des Balkens 11 geformt. Diese Dehnungsmeßstreifen 31 bis 34 sind elektrisch wie in 12B verbunden und bilden eine Wheatstone-Brücke, in der die Dehnungsmeßstreifen 31 und 33 sowie 32 und 34 jeweils einander gegenüberliegen. In 12B bezeichnet V eine Spannungsversorgung, und S1 und S2 bezeichnen Signalausgabeanschlüsse.A conventional semiconductor acceleration sensor is shown in FIGS 12A and 12B shown. 12A is a perspective view and 12B is a circuit diagram. In 12A For example, the semiconductor acceleration sensor comprises a square, prism-shaped, thick weight 10 of a semiconductor having a thickness of, for example, 400 μm, a thick support element 12 that by a given gap of the weight 10 is separated and shaped so that it surrounds this, and a thin beam 11 that has a side surface of weight 10 with that of the carrier element 12 which faces the one side surface and has a thickness of, for example, 10 to 40 μm. Dehnungmeßstreifen 31 . 32 . 33 and 34 are on the upper side surface of the beam 11 shaped. The strain gauges 31 and 33 are in the connection side with the weight 10 in the longitudinal direction of the beam 11 shaped, and the strain gauges 32 and 34 are in the transverse direction of the beam 11 shaped. These strain gauges 31 to 34 are electric as in 12B connected and form a Wheatstone bridge, in which the strain gauges 31 and 33 such as 32 and 34 each opposite each other. In 12B V indicates a power supply, and S 1 and S 2 indicate signal output terminals.

Wenn eine Beschleunigung in der vertikalen Richtung (welches die Richtung der Beschleunigungsmessung ist) auf das Gewicht 10 wirkt, wirkt auf das Gewicht 10 eine Kraft in der vertikalen Richtung, und der Balken 11 biegt sich in die durch den Pfeil P gekennzeichnete Richtung. Zu diesem Zeitpunkt wirkt eine Zugspannung auf die obere Seite des Balkens 11, so daß der Widerstand jeder der Dehnungsmeßstreifen 31 und 33, die in der longitudinalen Richtung des Balkens 11 geformt sind, zunimmt und sich demgegenüber der Widerstand jeder der Dehnungsmeßstreifen 32 und 34, die in der Querrichtung des Balkens 11 geformt sind, nicht ändert. Dies bewirkt, daß ein Detektionssignal, dessen Pegel proportional dem Betrag der Beschleunigung ist, von den Signalausgabeanschlüssen S1 und S2 der Wheatstone-Brücke ausgegeben wird.When an acceleration in the vertical direction (which is the direction of the acceleration measurement) is based on the weight 10 acts, affects the weight 10 a force in the vertical direction, and the beam 11 bends in the direction indicated by the arrow P direction. At this time, a tensile stress acts on the upper side of the beam 11 so that the resistance of each of the strain gauges 31 and 33 which are in the longitudinal direction of the beam 11 are formed, and in contrast increases the resistance of each of the strain gauges 32 and 34 in the transverse direction of the beam 11 are shaped, do not change. This causes a detection signal whose level is proportional to the amount of acceleration to be output from the signal output terminals S 1 and S 2 of the Wheatstone bridge.

Wegen der Konfiguration, bei der das Gewicht 10 nur an einem Ende gehalten wird, besitzt der Halbleiterbeschleunigungssensor eine ungleiche Stoßfestigkeit. Wie in 13 gezeigt, ist daher ein solcher Halbleiterbeschleunigungssensor überlicherweise in einem hermetisch abgeschlossenen Behälter 850 untergebracht, welcher eine Dämpfungsflüssigkeit 830 enthält. In 13 bezeichnet 800 den Halbleiterbe schleunigungssensor und 820 bezeichnet einen Verstärker zur Signaldetektion.Because of the configuration in which the weight 10 is held only at one end, the semiconductor acceleration sensor has an uneven impact resistance. As in 13 Therefore, such a semiconductor acceleration sensor is usually in a hermetically sealed container 850 accommodated, which is a damping fluid 830 contains. In 13 designated 800 the semiconductor acceleration sensor and 820 denotes an amplifier for signal detection.

In dem oben beschriebenen Halbleiterbeschleunigungssensor, wie er in 14 gezeigt ist, ist die Biegungsmittelpunktslinie 13 des Balkens 11 um einen Abstand L von dem Schwerpunkt des Gewichts 10 entfernt. Wenn eine Beschleunigung in der transversalen Richtung (die nicht die Richtung der Beschleunigungsmessung ist) auf das Gewicht 10 wirkt, wird ein durch den Pfeil M angezeigtes Drehmoment durch diese Beschleunigung und den Abstand L erzeugt, das auf das Gewicht 10 wirkt, so daß auf das Gewicht 10 eine Kraft in der vertikalen Richtung auf die gleiche Weise wirkt, wie in dem Fall, in dem eine vertikale Beschleunigung wirkt, wodurch der Balken 11 in die durch den Pfeil P gezeigte Richtung gebogen wird. Diese Biegung bewirkt, daß die Wheatstone-Brücke ein Signal ausgibt, und diese Signalausgabe ist eine Störausgabe, die die Detektionsgenauigkeit beeinträchtigt.In the above-described semiconductor acceleration sensor as shown in FIG 14 is the bend center point line 13 of the beam 11 by a distance L from the center of gravity of the weight 10 away. When an acceleration in the transverse direction (which is not the direction of the acceleration measurement) on the weight 10 acts, a torque indicated by the arrow M is generated by this acceleration and the distance L, which is based on the weight 10 affects, so on the weight 10 a force acts in the vertical direction in the same manner as in the case where a vertical acceleration acts, whereby the beam 11 is bent in the direction shown by the arrow P. This bend causes the Wheatstone bridge to output a signal, and this signal output is a spurious output which interferes with the detection accuracy.

Als eine Gegenmaßnahme zu diesem Problem kann eine Kon figuration vorgeschlagen werden, in der, wie in 15 gezeigt, ein zusätzliches Gewicht 14 aus Glas oder dergleichen mit der oberen Fläche des Gewichts 10 verbunden ist, so daß der Schwerpunkt G des Gewichts aus dem Gewicht 10 und dem zusätzlichen Gewicht 14 auf der Biegemittelpunktslinie 13 des Balkens 11 liegt, wodurch der Abstand L auf Null reduziert wird. Jedoch besitzt diese verbesserte Konstruktion insofern einen Nachteil, als ein zusätzlicher Prozeßschritt zum Befestigen des zusätzlichen Gewichts erforderlich ist und somit die Produktionskosten zunehmen.As a countermeasure to this problem, a configuration may be proposed in which, as in 15 shown an extra weight 14 glass or the like with the upper surface of the weight 10 is connected so that the center of gravity G of the weight from the weight 10 and the extra weight 14 at the midpoint of the bend 13 of the beam 11 which reduces the distance L to zero. However, this improved construction has a drawback in that an additional process step for attaching the additional weight is required, thus increasing the production cost.

Bei der Herstellung eines Halbleiterbeschleunigungssensors, wie in 12 oder 15 gezeigt, werden das Gewicht 10, das Trägerelement 12 und der Balken 11 durch Ätzen sowohl der oberen als auch der unteren Flächen eines Halbleitersubstrats unter Verwendung eines Geräts, wie etwa einer Plasmaätzvorrichtung, erzeugt. Bei einem solchen Plasmaätzvorgang geht das Ätzen, wegen der entsprechenden Arbeitsmerkmale, mit einer hohen Geschwindigkeit vonstatten, wenn die Arbeitsbreite groß ist, und es geht mit einer niedrigen Geschwindigkeit vonstatten, wenn die Arbeitsbreite klein ist. In dem Fall, daß unterschiedliche Arbeitsbreiten in einem zu bearbeitenden Halbleitersubstrat existieren, wie in 16 durch W3 und W4 angezeigt, resultieren daraus unterschiedliche Ätztiefen, wie durch D3 und D4 angezeigt. Dies erzeugt insofern ein Problem, als die Genauigkeit des Ätzvorgangs verringert wird, wobei die Prozeßausbeute verringert wird.In the manufacture of a semiconductor acceleration sensor, as in 12 or 15 shown will be the weight 10 , the carrier element 12 and the beam 11 by etching both the upper and lower surfaces of a semiconductor substrate using an apparatus such as a plasma etching apparatus. In such a plasma etching process, because of the corresponding working characteristics, the etching proceeds at a high speed when the working width is large, and it proceeds at a low speed when the working width is small. In the case that different working widths exist in a semiconductor substrate to be processed, as in FIG 16 indicated by W 3 and W 4 , resulting in different etch depths, as indicated by D 3 and D 4 . This creates a problem in that the accuracy of the etching process is reduced, thereby reducing the process yield.

Um die Stoßfestigkeit zu verbessern, sind die oben beschriebenen Halbleiterbeschleunigungssensoren üblicherweise in einem hermetisch abgeschlossenen Gehäuse untergebracht, welches eine Dämpfungsflüssigkeit enthält. Das Vorhandensein einer Dämpfungsflüssigkeit bewirkt eine Verringerung der Detektionsempfindlichkeit, und daher ist es erforderlich, die Reduktionsrate abzuschätzen und die Empfindlichkeit vor Einführen der Dämpfungsflüssigkeit in den Behälter einzustellen. Da die Viskosität und die Kompressibilität der Dämpfungsflüssigkeit sich abhängig von Druck und Temperatur än dern, ändert sich die Empfindlichkeit, was ein weiteres Problem mit sich bringt, daß nämlich die Produktionsausbeute ungleichmäßig ist.In order to improve the impact resistance, the semiconductor accelerations described above are usually housed in a hermetically sealed housing containing a damping fluid. The presence of a damping fluid causes a reduction in the detection sensitivity, and therefore, it is necessary to estimate the reduction rate and adjust the sensitivity before introducing the damping fluid into the reservoir. Since the viscosity and the compressibility of the damping fluid vary depending on pressure and temperature, the sensitivity changes, causing another problem that the production yield is uneven.

Die 22 und 23 zeigen einen weiteren herkömmlichen Halbleiterbeschleunigungssensor als Beispiel: 22 ist eine Draufsicht, und 23 ist eine Seitenansicht. Wie in den 22 und 23 gezeigt, umfaßt der Halbleiterbeschleunigungssensor ein dickwandiges, quadratisches Gewicht 901, das zum Beispiel 400 μm dick ist, einen dickwandigen Träger 906, der in einem vorgegebenen Abstand von einer Seite des Gewichts angeordnet ist, und einen dünnwandigen Balken 907, der zum Beispiel 20–40 μm dick ist, wobei der Balken eine Seite des Gewichts 901 mit einer gegenüberliegenden Seite des Trägers 906 verbindet. In dem Balken 907 sind Dehnungsmeßstreifen 907A, 907B, 907C, 907D geformt. Die Dehnungsmeßstreifen 907A, 907C sind in der oberen Fläche der Verbindung zwischen dem Balken 907 und dem Träger 906 in der Längsrichtung des Balkens 907 geformt, während die Dehnungsmeßstreifen 907B, 907D in der oberen Fläche der Verbindung zwischen dem Balken 907 und dem Gewicht 901 in der Querrichtung des Balkens 907 geformt sind. Diese Dehnungsmeßstreifen 907A, 907B, 907C, 907D werden zum Bilden einer Wheatstone-Brücke verwendet, indem die Dehnungsmeßstreifen 907A, 907C sowie 907B, 907D einander gegenüberliegend angeordnet sind, wie in 26 gezeigt. In diesem Fall bezeichnet E einen Spannungsversorgungsanschluß, G einen Masseanschluß und S1, S2 Signalausgabeanschlüsse.The 22 and 23 show another conventional semiconductor acceleration sensor as an example: 22 is a top view, and 23 is a side view. As in the 22 and 23 As shown, the semiconductor acceleration sensor comprises a thick-walled, square weight 901 which is, for example, 400 μm thick, a thick-walled carrier 906 which is arranged at a predetermined distance from one side of the weight, and a thin-walled beam 907 which is, for example, 20-40 μm thick, with the bar one side of the weight 901 with an opposite side of the carrier 906 combines. In the beam 907 are strain gauges 907A . 907B . 907C . 907D shaped. The strain gauges 907A . 907C are in the upper surface of the connection between the beam 907 and the carrier 906 in the longitudinal direction of the beam 907 shaped while the strain gauges 907B . 907D in the upper surface of the connection between the beam 907 and the weight 901 in the transverse direction of the beam 907 are shaped. These strain gauges 907A . 907B . 907C . 907D are used to form a Wheatstone bridge by the strain gauges 907A . 907C such as 907B . 907D are arranged opposite each other, as in 26 shown. In this case, E denotes a power supply terminal, G a ground terminal, and S1, S2 signal output terminals.

Wenn eine Beschleunigung auf das Gewicht 901 in der Richtung des Pfeiles V in 23 wirkt, als in einer Richtung senkrecht zum Gewicht 901 (die Richtung, in der die Beschleunigung festgestellt wird), erfährt das Gewicht 901 eine vertikale Kraft Fv, was ein Herunterbiegen des Balkens in Richtung des Pfeiles M bewirkt, wie in 27 gezeigt. Zu diesem Zeitpunkt wirkt eine Zugspannung auf die obere Oberfläche der Verbindung zwischen dem Balken 907 und dem Träger 906 und auf die der Verbindung zwischen dem Balken 907 und dem Gewicht 901. Als Ergebnis nimmt der Widerstand der Dehnungsmeßstreifen 907A, 907C, die in der Längsrichtung des Balkens geformt sind, zu, wohingegen derjenige der Dehnungsmeßstreifen 907B, 907D, die in der Querrichtung geformt sind, unverändert bleibt. Es werden also Detektionssignale, deren Wert proportional der Beschleunigung ist, von den Ausgabeanschlüssen S1, S2 der Wheatstone-Brücke ausgegeben.If an acceleration on the weight 901 in the direction of the arrow V in 23 acts as in a direction perpendicular to the weight 901 (the direction in which the acceleration is detected) experiences the weight 901 a vertical force Fv, causing the beam to bend down in the direction of arrow M, as in FIG 27 shown. At this time, a tensile stress acts on the upper surface of the connection between the beam 907 and the carrier 906 and on the connection between the beam 907 and the weight 901 , As a result, the resistance of the strain gauges decreases 907A . 907C , which are formed in the longitudinal direction of the beam to, whereas that of the strain gauges 907B . 907D which are shaped in the transverse direction, remains unchanged. Thus, detection signals whose value is proportional to the acceleration are output from the output terminals S1, S2 of the Wheatstone bridge.

Da eine normale Diffusionstechnik zum Herstellen der Dehnungsmeßstreifen 907A, 907B, 907C, 907D verwendet wird, sind die Oberflächen des Gewichts 901, des Balkens 907 und des Trägers 906 mit einem Passivierungsfilm 910 aus SiO2, SiN oder dergleichen bedeckt, um diese zu schützen.As a normal diffusion technique for making the strain gauges 907A . 907B . 907C . 907D used are the surfaces of the weight 901 , the beam 907 and the vehicle 906 with a passivation film 910 made of SiO 2 , SiN or the like to protect them.

Da es einen Abstand L von der Spannungsmittellinie 909 des Balkens 907 bis zum Schwerpunkt W des Gewichts 901 im Beschleunigungssensor der 23 gibt, erzeugen der Abstand L von der Spannungsmittellinie 909 zum Schwerpunkt W des Gewichts 901 und die Querkraft Fh, die in dem Gewicht 901 aufgrund der Beschleunigung erzeugt wird, ein Drehmoment, wenn die Beschleunigung quer auf das Gewicht 901 wirkt (die Rich tung, in der die Beschleunigung nicht festgestellt wird), wie durch den Pfeil H gezeigt. Demzufolge wird ein Herunterbiegen des Balkens 907 in Richtung des Pfeiles M bewirkt, wie in dem Falle, in dem die Beschleunigung vertikal auf den Balken 907 wirkt. In Abhängigkeit von der Spannung gibt die Wheatstone-Brücke ein Signal aus, das eine Störausgabe bildet und die Meßgenauigkeit verringert.As there is a distance L from the stress line 909 of the beam 907 to the center of gravity W of the weight 901 in the acceleration sensor the 23 gives the distance L from the stress centerline 909 to the center of gravity W of the weight 901 and the lateral force Fh that is in the weight 901 due to the acceleration is generated, a torque when the acceleration is transverse to the weight 901 acts (the direction in which the acceleration is not detected), as shown by the arrow H. As a result, the beam will turn down 907 in the direction of the arrow M causes, as in the case in which the acceleration vertically on the beam 907 acts. Depending on the voltage, the Wheatstone bridge outputs a signal that forms a spurious output and reduces the accuracy of measurement.

Aus dem oben angegebenen Grund kann es als hilfreich er achtet werden, den Abstand L auf Null zu verringern, indem ein zusätzliches Gewicht 908, wie etwa Glas, auf der oberen Oberfläche des Gewichts 901 hinzugefügt wird, um den Schwerpunkt W der Kombination von Gewicht 901 und dem zusätzlichen Gewicht 908 mit der Spannungsmittellinie 909 des Balkens 907 zusammenfallen zu lassen; jedoch wird der zusätzliche Verfahrensschritt zum Verbinden der beiden Gewichte die Kosten weiter erhöhen.For the reason given above, it may be helpful to reduce the distance L to zero by adding extra weight 908 , such as glass, on the upper surface of the weight 901 is added to the center of gravity W of the combination of weight 901 and the extra weight 908 with the stress line 909 of the beam 907 to collapse; however, the additional process step of connecting the two weights will further increase costs.

Ein weiteres. Problem, das mit dem oben erwähnten Beschleunigungssensor verbunden ist, ist eine geringe Meßempfindlichkeit, da die in der oberen Oberfläche der Verbindung zwischen dem Balken und dem Gewicht in der Querrichtung des Balkens geformten Dehnungsmeßstreifen keine Widerstandsänderungen erzeugen, wenn eine Beschleunigung wirkt.One additional. Problem with the above-mentioned acceleration sensor is connected, is a low sensitivity, since the in the upper surface the connection between the beam and the weight in the transverse direction The bar formed strain gauges no resistance changes generate when an acceleration acts.

Darüberhinaus wird der Passivierungsfilm aus SiO2, SiN oder dergleichen für den Schutz der Dehnungsmeßstreifen normalerweise bei hohen Temperaturen verarbeitet bevor wieder die normale Temperatur eingestellt wird. Der Unterschied in den thermischen Ausdehnungskoeffizienten des Passivierungsfilms und des Halbleiters Silizium kann aufgrund der auf der Oberfläche des Halbleiters Silizium erzeugten Spannung, wenn wieder die normale Temperatur eingestellt wird, ein Biegen des Balkens 7 bewirken, wie in 29 gezeigt. Die Situation, in der eine Beschleunigung angelegt wurde, wird erreicht, wenn der Balken gebogen wird und eine Spannung von der Wheatstone-Brücke ausgegeben wird. Diese Spannung wird Offset-Spannung genannt und verringert nicht nur das Signal/Rauschverhältnis der Sensorausgabe sondern auch die Messgenauigkeit.Moreover, the passivation film of SiO 2 , SiN or the like for protection of the strain gages is normally processed at high temperatures before the normal temperature is restored. The difference in the coefficients of thermal expansion of the passivation film and the semiconductor silicon may, due to the voltage generated on the surface of the semiconductor silicon when the normal temperature is restored, cause the beam to bend 7 cause, as in 29 shown. The situation in which An acceleration is applied when the beam is bent and a voltage is output from the Wheatstone bridge. This voltage is called the offset voltage and not only reduces the signal-to-noise ratio of the sensor output but also the measurement accuracy.

Aus der US 4,553,436 ist ein Beschleunigungsmesser aus Silizium bekannt, der dem Oberbegriff von Anspruch 1 entspricht. Hier ist eine zentrale Masse an ihren Ecken durch vier flexible jeweils senkrecht zueinander angeordnete Träger gehalten. An dem jeweils festen Ende eines Trägers ist ein Wiederstandselement angeordnet. Jedes Wiederstandselement kann zwei parallele Teile aufweisen, um so ein kompaktes Wiederstandselement zur Verfügung zu stellen.From the US 4,553,436 An accelerometer made of silicon is known, which corresponds to the preamble of claim 1. Here, a central mass is held at its corners by four flexible carriers arranged perpendicular to one another. At the respective fixed end of a carrier, a resistance element is arranged. Each resistance element may have two parallel parts so as to provide a compact resistance element.

Aus der DE 30 09 091 ist eine Messfederplatte mit einem zentralen Teil bekannt, der über Messfeldern mit dem Randgebiet der Platte zusammenhängt. Auf den Messfeldern sind Dehnungsmessstreifen angeordnet. Die Messfederplatte kann in ihrem zentralen Teil eine Last aufnehmen.From the DE 30 09 091 a measuring spring plate with a central part is known, which is connected via measuring fields with the edge region of the plate. Strain gauges are arranged on the measuring fields. The measuring plate can take a load in its central part.

Aus der US 4,641,539 ist ein Kraftsensor bekannt. Ein Kraftaufnahmeelement ist mit einem Grundkörper über vier Tragelemente verbunden. Die Tragelemente weisen Messglieder auf, die auf eine Deformation der selben reagieren. Ein nicht unterbrochener Leiterpfad führt über jede der Tragelemente.From the US 4,641,539 a force sensor is known. A force receiving element is connected to a base body via four support elements. The support elements have measuring members that respond to a deformation of the same. An uninterrupted conductor path leads over each of the support elements.

Es ist die Aufgabe der vorliegenden Erfindung, einen Beschleunigungssensor zur Verfügung zu stellen, der so ausgeführt ist, dass er die Offset-Spannung verringert.It The object of the present invention is an acceleration sensor available too put that way is that it reduces the offset voltage.

Diese und weitere Aufgaben werden erfindungsgemäß durch den in den beigefügten Patentansprüchen definierten Halbleiterbeschleunigungssensor gelöst.These and further objects are inventively defined by the appended claims Semiconductor acceleration sensor solved.

Entsprechend der Erfindung ist ein Halbleiterbeschleunigungssensor aus einem Halbleiter geformt und umfasst ein Gewicht mit einem quadratischen, dickwandigen, zentralen Bereich und vier quadratische, dickwandige Ausstülpungen, die auf den jeweiligen Seiten des zentralen Bereichs geformt sind, wobei die Seiten davon untereinan der einen rechten Winkel um den Mittelpunkt des zentralen Bereichs bilden, einen dickwandigen Träger mit einer quadratischen, inneren Öffnung, die in einem vorgegebenen Abstand von den äußeren Seiten der Ausstülpungen des Gewichts entfernt derart angeordnet ist, dass sie das Gewicht umgibt, vier dünnwandige Balken zum Verbinden der einen Seiten der Ausstülpungen des Gewichts, wobei die Seiten davon untereinander einen rechten Winkel um den Mittelpunkt des zentralen Bereichs bilden, und in den jeweiligen Balken geformte Dehnungsmessstreifen.Corresponding The invention is a semiconductor acceleration sensor of a Semiconductor molded and includes a weight with a square, thick-walled, central area and four square, thick-walled protuberances which are formed on the respective sides of the central area, the sides of which are at a right angle to each other Center of the central area form, with a thick-walled carrier a square, inner opening, at a predetermined distance from the outer sides of the protuberances the weight removed is arranged so that it the weight surrounds, four thin-walled beams for connecting one side of the protuberances of the weight, wherein the sides of each other a right angle around the center of the forming central area, and shaped in the respective beams Strain gauges.

Die in den vier Balken geformten Dehnungsmessstreifen beider Halbleiterbeschleunigungssensoren umfassen vier Dehnungsmessstreifen auf einer ersten Seite, wobei diese vier Dehnungsmessstreifen in den oberen Oberflächen der Verbindungen zwischen den Balken und dem Träger jeweils in der Längsrichtung der Balken geformt sind, und vier Dehnungsmessstreifen auf einer zweiten Seite, wobei diese vier Dehnungsmessstreifen in den oberen Oberflächen der Verbindungen zwischen den Balken und dem Gewicht jeweils in der Längsrichtung der Balken geformt sind. Eine Wheatstone-Brücke wird gebildet, indem zwei Dehnungsmessstreifen von den vier Dehnungsmessstreifen, die die Dehnungsmessstreifen der ersten Seite bilden den verbleibenden zwei symmetrisch zum Mittelpunkt des Gewichts gegenüberliegen und indem zwei Dehnungsmessstreifen von den vier Dehnungsmessstreifen, die die Dehnungsmessstreifen der zweiten Seite bilden den verbleibenden zwei symmetrisch zum Mittelpunkt des Gewichts gegenüberliegen. Passivierungsfilme sind auf den Oberflächen der Balken mit den darin geformten Dehnungsmessstreifen in dem Halbleiterbeschleunigungssensor geformt, in dem die in den vier Balken zu formenden Dehnungsmessstreifen jeweils in der oberen Oberfläche der Verbindung zwischen den Verbindungen der Balken mit dem Träger in der Längsrichtung der Balken geformt sind.The in the four bars formed strain gauges of both semiconductor acceleration sensors include four strain gauges on a first side, where these four strain gauges in the upper surfaces of the Connections between the beams and the beam respectively in the longitudinal direction the bars are formed, and four strain gauges on one second side, these four strain gauges in the upper surfaces of the Links between the bars and the weight in each case in the longitudinal direction the beams are shaped. A Wheatstone bridge is formed by two Strain gauges from the four strain gauges that the Strain gages of the first side form the remaining two opposed to the center of the weight and by two strain gauges of the four strain gauges that make up the strain gages the second page form the remaining two symmetric to the Center of the weight opposite. Passivation films are on the surfaces of the bars with those in it shaped strain gauges in the semiconductor acceleration sensor formed in which to be formed in the four bars strain gauges each in the upper surface the connection between the connections of the beams to the beam in the longitudinal direction the beams are shaped.

Alternativ ist der Sensor in einem Behälter angeordnet, der ein inertes Gas enthält.alternative If the sensor is arranged in a container, which contains an inert gas.

Der Halbleiterbeschleunigungssensor entsprechend einem zehnten Gesichtspunkt der Erfindung ist aus einem Halbleiter geformt und umfasst ein Gewicht mit einem quadratischen, dickwandigen, zentralen Bereich und vier quadratische, dick wandige Ausstülpungen, die auf den jeweiligen Seiten des zentralen Bereichs geformt sind, wobei die Seiten davon untereinander einen rechten Winkel um den Mittelpunkt des zentralen Bereichs bilden, einen dickwandigen Träger mit einer quadratischen, inneren Öffnung, die in einem vorgegebenen Abstand von den äußeren Seiten der Ausstülpungen des Gewichts entfernt derart angeordnet ist, daß sie das Gewicht umgibt, vier dünnwandige Balken zum Verbinden der einen Seiten der Ausstülpungen des Gewichts, wobei die Seiten davon untereinander einen rechten Winkel um den Mittelpunkt des zentralen Bereichs bilden, und in den jeweiligen Balken geformte Dehnungsmeßstreifen. Da die Balken entlang der jeweiligen Seiten des zentralen Bereichs des Gewichts in dem Halbleiterbeschleunigungssensor geformt sind, können ihre Längsseiten länger gemacht werden, wodurch die Balken leichter gebogen werden.Of the Semiconductor acceleration sensor according to a tenth aspect The invention is formed from a semiconductor and includes a weight with a square, thick-walled, central area and four square, thick-walled protuberances, which are formed on the respective sides of the central area, the sides of which are at right angles to each other Center of the central area form, with a thick-walled carrier a square, inner opening, at a predetermined distance from the outer sides of the protuberances the weight removed is arranged so as to surround the weight, four thin Beam for connecting one side of the protuberances of the weight, wherein the sides of each other a right angle around the center of the central region, and strain gauges formed in the respective beams. As the bars along the respective sides of the central area of the weight are formed in the semiconductor acceleration sensor, can their long sides longer be made, whereby the beams are bent more easily.

Die in den vier Balken geformten Dehnungsmeßstreifen beider Halbleiterbeschleunigungssensoren umfassen vier Dehnungsmeßstreifen auf einer ersten Seite, wobei diese vier Dehnungsmeßstreifen in den oberen Oberflächen der Verbindungen zwischen den Balken und dem Träger jeweils in der Längsrichtung der Balken geformt sind, und vier Dehnungsmeßstreifen auf einer zweiten Seite, wobei diese vier Dehnungsmeßstreifen in den oberen Oberflächen der Verbindungen zwischen den Balken und dem Gewicht jeweils in der Längsrichtung der Balken geformt sind. Eine Wheatstone-Brücke wird gebildet, indem zwei Dehnungsmeßstreifen von den vier Dehnungsmeßstreifen, die die Dehnungsmeßstreifen der ersten Seite bil den den verbleibenden zwei symmetrisch zum Mittelpunkt des Gewichts gegenüberliegen und indem zwei Dehnungsmeßstreifen von den vier Dehnungsmeßstreifen, die die Dehnungsmeßstreifen der zweiten Seite bilden den verbleibenden zwei symmetrisch zum Mittelpunkt des Gewichts gegenüberliegen. Wenn eine Querbeschleunigung (welches nicht die Meßrichtung ist) wirkt, ergeben zum Beispiel zwei Paar von Dehnungsmeßstreifen auf den ersten und zweiten Seiten, die symmetrisch bezüglich des Mittelpunkts des Gewichts sind, die folgenden Ergebnisse: wenn eine Druckspannung auf einen der Dehnungsmeßstreifen wirkt, wirkt eine Zugspannung auf den anderen, und keine Signale werden von der Wheatstone-Brücke ausgegeben, da sich die Widerstandsänderungen gegenseitig aufheben. Wenn eine vertikale (welches die Meßrichtung ist) Beschleunigung wirkt, ergeben alle Dehnungsmeßstreifen auf den ersten und zweiten Seiten das folgende Ergebnis: wenn eine Druckspannung auf einen der Dehnungsmeßstreifen wirkt, wirkt eine Zugspannung auf den anderen, und von der Wheatstone-Brücke werden Detektionssignale ausgegeben, da sich die Widerstände aller Dehnungsmeßstreifen ändern. Daher nimmt die Störausgabe ab, während sich die Empfindlichkeit erhöht.The strain gauges of both semiconductor acceleration sensors formed in the four bars comprise four strain gauges on a first side, these four strain gauges in the upper surfaces of the joints between the beams and the beam, respectively, in the longitudinal direction of the beams, and four strain gauges on a second side, these four strain gauges in the upper surfaces of the joints between the beams and the weight respectively in the longitudinal direction of the beams Beams are shaped. A Wheatstone bridge is formed by connecting two strain gauges from the four strain gauges which face the strain gauges of the first side and the remaining two symmetrically to the center of the weight and by making two strain gauges of the four strain gauges forming the second side strain gauges two symmetrical opposite to the center of the weight. For example, when a lateral acceleration (which is not the measuring direction) acts, two pairs of strain gauges on the first and second sides that are symmetrical with respect to the center of the weight give the following results: when a compressive stress acts on one of the strain gauges, a Tensile stress on the other, and no signals are output from the Wheatstone bridge because the resistance changes cancel each other out. When a vertical (which is the measuring direction) acceleration acts, all the strain gages on the first and second sides give the following result: when a compressive stress acts on one of the strain gauges, one tensile stress acts on the other, and detection signals are output from the Wheatstone bridge because the resistances of all strain gauges change. Therefore, the spurious output decreases while the sensitivity increases.

Außerdem sind Passivierungsfilme auf den Oberflächen der Balken mit den darin geformten Dehnungsmeßstreifen in dem Halbleiterbeschleunigungssensor geformt, in dem die in den vier Balken zu formenden Dehnungsmeßstreifen jeweils in den oberen Oberflächen der Verbindungen zwischen den Balken mit dem Träger geformt sind und in den oberen Oberflächen der Verbindungen zwischen den Balken und dem Gewicht in der Längsrichtung der Balken geformt sind. Auch wenn aufgrund der unterschiedlichen thermischen Ausdehnungskoeffizienten des Passivierungsfilms und des Halbleiters Silizium Spannungen in der Oberfläche des Halbleiters Silizium erzeugt werden, erzeugen die Dehnungsmeßstreifen in den oberen Oberflächen der Balken in der Längsrichtung dieselben Widerstandsänderung, und wenn sie mit der Wheatstone-Brücke verbunden sind, heben sich die Widerstandsänderungen gegenseitig auf, so daß keine Offsetspannung erzeugt wird.Besides, they are Passivation films on the surfaces of the beams with those in it shaped strain gauges formed in the semiconductor acceleration sensor in which the in the four bars to be formed strain gauges each in the upper surfaces the connections between the beams are formed with the carrier and in the upper surfaces the connections between the bars and the weight in the longitudinal direction the beams are shaped. Even if due to the different thermal expansion coefficient of the passivation film and of the semiconductor silicon stresses in the surface of the Semiconductor silicon are generated, generate the strain gauges in the upper surfaces the bar in the longitudinal direction same resistance change, and when they're connected to the Wheatstone Bridge, they lift up the resistance changes each other, so that no Offset voltage is generated.

Jeder der oben beschriebenen Halbleiterbeschleunigungssensoren besitzt eine Konfiguration, durch die die Stoßfestigkeit des Sensors verbessert wird, und kann in einem hermetisch abgeschlossenen Behälter untergebracht werden, der ein inertes Gas anstelle einer Dämpfungsflüssigkeit enthält.Everyone has the above-described semiconductor acceleration sensors a configuration that improves the shock resistance of the sensor, and can be stored in a hermetically sealed container which contains an inert gas instead of a damping fluid.

Die 1A bis 1C zeigen ein erstes Ausführungsbeispiel eines Halbleiterbeschleunigungssensors.The 1A to 1C show a first embodiment of a semiconductor acceleration sensor.

Die 2A bis 2B zeigen ein Verfahren zum Bearbeiten eines Halbleitersubstrats in einem zweiten Ausführungsbeispiel eines Halbleiterbeschleunigungssensors.The 2A to 2 B show a method of processing a semiconductor substrate in a second embodiment of a semiconductor acceleration sensor.

Die 3A bis 3B zeigen ein Verfahren zum Bearbeiten eines Halbleitersubstrats in einem dritten Ausführungsbeispiel eines Halbleiterbeschleunigungssensors.The 3A to 3B show a method of processing a semiconductor substrate in a third embodiment of a semiconductor acceleration sensor.

4 ist ein Querschnitt eines vierten Ausführungsbeispiel eines Halbleiterbeschleunigungssensors. 4 is a cross section of a fourth embodiment of a semiconductor acceleration sensor.

Die 5A und 5B zeigen den Sensor der 4 in größerem Detail.The 5A and 5B show the sensor the 4 in greater detail.

Die 6A und 6B zeigen fünfte und sechste Ausführungsbeispiele eines Halbleiterbeschleunigungssensors.The 6A and 6B show fifth and sixth embodiments of a semiconductor acceleration sensor.

7 ist ein Querschnitt eines siebten Ausführungsbeispiels eines Halbleiterbeschleunigungssensors. 7 is a cross section of a seventh embodiment of a semiconductor acceleration sensor.

Die 8A und 8B zeigen den Sensor der 7 in größerem Detail.The 8A and 8B show the sensor the 7 in greater detail.

9 ist ein Querschnitt eines achten Ausführungsbeispiels eines Halbleiterbeschleunigungssensors. 9 FIG. 12 is a cross section of an eighth embodiment of a semiconductor acceleration sensor. FIG.

Die 10A bis 10C zeigen den Sensor der 9 in größerem Detail.The 10A to 10C show the sensor the 9 in greater detail.

11 ist ein Querschnitt, der den Fall zeigt, daß einer der Halbleiterbeschleunigungssensoren nach dem ersten bis achten Ausführungsbeispiel in einem hermetisch abgeschlossenen Behälter angeordnet ist, der ein inertes Gas enthält. 11 Fig. 15 is a cross section showing the case where one of the semiconductor acceleration sensors according to the first to eighth embodiments is arranged in a hermetic vessel containing an inert gas.

Die 12A und 12B zeigen einen herkömmlichen Halbleiterbeschleunigungssensor.The 12A and 12B show a conventional semiconductor acceleration sensor.

13 ist ein Querschnitt, der den herkömmlichen Halbleiterbeschleunigungssensor der 12 zeigt, der in einem hermetisch abgeschlossenen Behälter angeordnet ist, der mit einer Dämpfungsflüssigkeit gefüllt ist. 13 FIG. 12 is a cross section showing the conventional semiconductor acceleration sensor of FIG 12 shows, which is arranged in a hermetically sealed container which is filled with a damping fluid.

14 ist ein Querschnitt, der den Mechanismus zeigt, durch den eine Störausgabe in dem herkömmlichen Halbleiterbeschleunigungssensor der 12 erzeugt wird. 14 FIG. 12 is a cross-sectional view showing the mechanism by which a spurious output in the conventional semiconductor acceleration sensor of FIG 12 is produced.

15 ist ein Querschnitt eines weiteren herkömmlichen Halbleiterbeschleunigungssensors. 15 FIG. 12 is a cross section of another conventional semiconductor acceleration sensor. FIG.

16 ist ein Querschnitt, der ein Verfahren zum Bearbeiten eines Halbleitersubstrats zeigt, das bei den herkömmlichen Halbleiterbeschleunigungssensoren der 12 oder 14 verwendet wird. 16 FIG. 12 is a cross-sectional view showing a method of processing a semiconductor substrate used in the conventional semiconductor acceleration sensors of FIG 12 or 14 is used.

17A ist eine Draufsicht eines Halbleiterbeschleunigungssensors entsprechend einem neunten Ausführungsbeispiel 17A FIG. 12 is a plan view of a semiconductor acceleration sensor according to a ninth embodiment. FIG

17B ist ein Querschnitt entlang der Linie A-A der 17A. 17B is a cross section along the line AA of 17A ,

18A ist eine Draufsicht eines Halbleiterbeschleunigungssensors entsprechend einem Ausführungsbeispiel der Erfindung. 18A FIG. 10 is a plan view of a semiconductor acceleration sensor according to an embodiment of the invention. FIG.

18B ist ein Querschnitt entlang der Linie A-A der 18A. 18B is a cross section along the line AA of 18A ,

19 ist ein Verbindungsdiagramm des Halbleiterbeschleunigungssensors der 17A. 19 FIG. 16 is a connection diagram of the semiconductor acceleration sensor of FIG 17A ,

20 ist ein Querschnitt, der den Betrieb des Halbleitersensors der 17A zeigt. 20 is a cross section illustrating the operation of the semiconductor sensor of 17A shows.

21 ist ein Querschnitt, der noch weiter den Betrieb des Halbleiterbeschleunigungssensors der 17A zeigt. 21 FIG. 12 is a cross section further illustrating the operation of the semiconductor acceleration sensor of FIG 17A shows.

22 ist eine Draufsicht eines Beispieles für einen herkömmlichen Halbleiterbeschleunigungssensor. 22 FIG. 12 is a plan view of an example of a conventional semiconductor acceleration sensor. FIG.

23 ist eine Seitenansicht der 22. 23 is a side view of the 22 ,

24 ist eine Draufsicht eines weiteren herkömmlichen Halbleiterbeschleunigungssensor. 24 FIG. 10 is a plan view of another conventional semiconductor acceleration sensor. FIG.

25 ist eine Seitenansicht der 24. 25 is a side view of the 24 ,

26 ist ein Verbindungsdiagramm des herkömmlichen Halbleiterbeschleunigungssensors der 22. 26 FIG. 16 is a connection diagram of the conventional semiconductor acceleration sensor of FIG 22 ,

27 ist eine Seitenansicht, die den Betrieb des herkömmlichen Halbleitersensors der 22 zeigt. 27 FIG. 16 is a side view illustrating the operation of the conventional semiconductor sensor of FIG 22 shows.

28 ist eine Seitenansicht, die noch weiter den Betrieb des herkömmlichen Halbleiterbeschleunigungssensors der 22 zeigt. 28 FIG. 16 is a side view further explaining the operation of the conventional semiconductor acceleration sensor of FIG 22 shows.

29 ist eine Seitenansicht, die noch weiter den Betrieb des herkömmlichen Halbleiterbeschleunigungssensors der 22 zeigt. 29 FIG. 16 is a side view further explaining the operation of the conventional semiconductor acceleration sensor of FIG 22 shows.

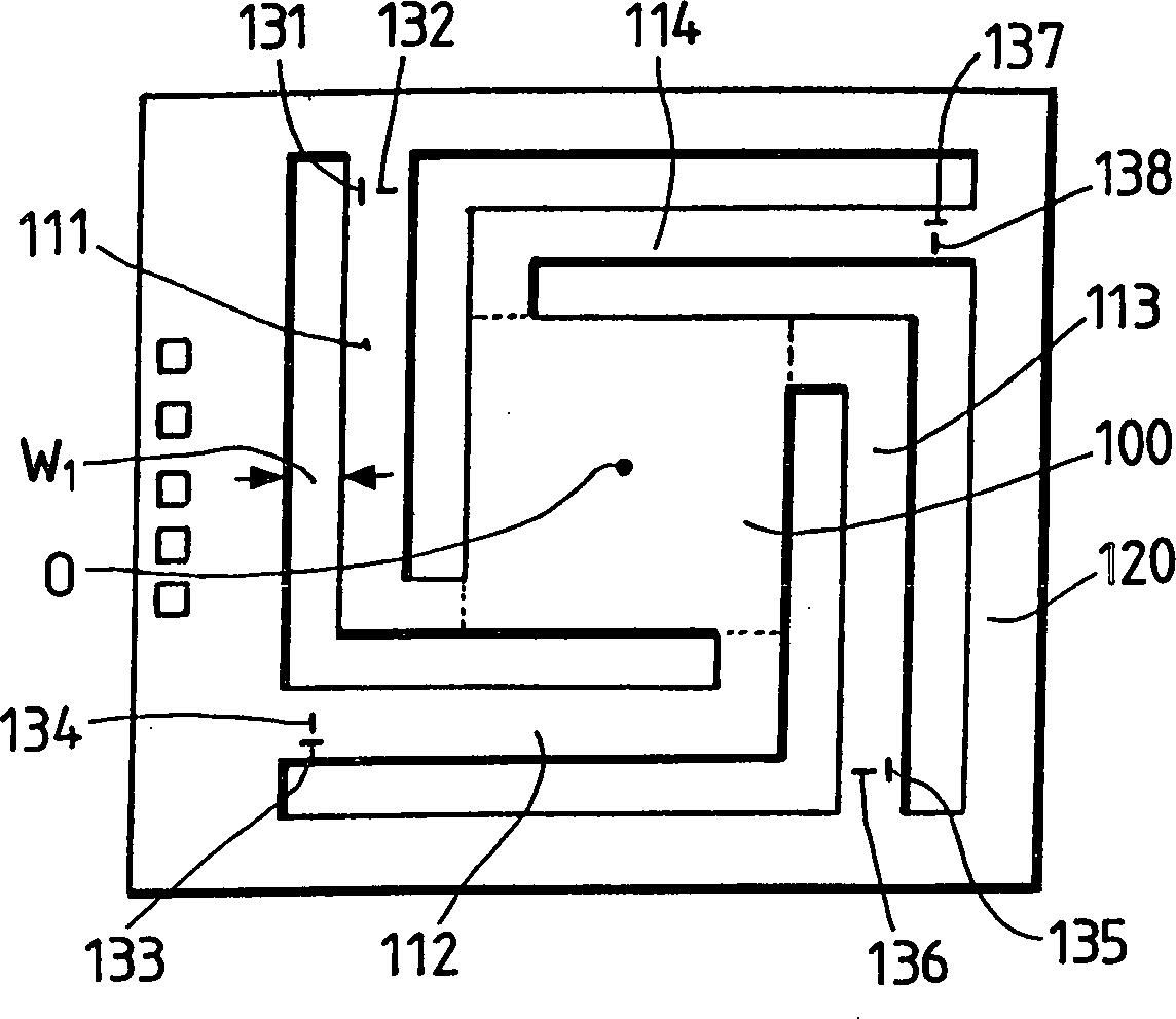
1 zeigt ein erstes Ausführungsbeispiel eines Halbleiterbeschleunigungssensors. 1A ist eine Draufsicht, 1B ist ein Querschnitt und 1C ist ein Schaltkreisdiagramm. In den 1A und 1B umfaßt der Halbleiterbeschleunigungssensor ein viereckiges, prismaförmiges, dickes Gewicht 100 aus einem Halbleiter mit einer Dicke von zum Beispiel 400 μm, ein dickes Trägerelement 120, das durch einen vorgegebenen Abstand von dem Gewicht 100 getrennt ist und so geformt ist, daß es dieses umgibt, und erste und zweite Sätze von dünnen, L-förmigen Balken, die die äußere Peripherie des Gewichts 100 mit der inneren Periphe rie des Trägerelements 120 verbinden und die eine Dicke von zum Beispiel 10 bis 40 μm besitzen. Die ersten und zweiten Sätze bestehen jeweils aus einem Balkenpaar 111 und 113 und einem Balkenpaar 112 und 114. In jedem der Balkensätze sind die Balken so angeordnet, daß, wenn einer von ihnen um 180 Grad um den Mittelpunkt O des Gewichts 100 gedreht wird, dieser Balken mit dem anderen Balken zusammenfällt. Dehnungsmeßstreifen 131 bis 138 sind auf den oberen Flächen der Balken geformt. 1 shows a first embodiment of a semiconductor acceleration sensor. 1A is a top view 1B is a cross section and 1C is a circuit diagram. In the 1A and 1B For example, the semiconductor acceleration sensor comprises a square, prism-shaped, thick weight 100 of a semiconductor having a thickness of, for example, 400 μm, a thick support element 120 by a given distance from the weight 100 is separated and shaped so as to surround it, and first and second sets of thin, L-shaped beams, which are the outer periphery of the weight 100 with the inner Periphe theory of the support element 120 connect and have a thickness of, for example, 10 to 40 microns. The first and second sentences each consist of a pair of bars 111 and 113 and a pair of bars 112 and 114 , In each of the beam sets, the beams are arranged so that when one of them is 180 degrees about the center O of the weight 100 is rotated, this bar coincides with the other bar. strain 131 to 138 are formed on the upper surfaces of the beams.

In dem Halbleiterbeschleunigungssensor wird das Gewicht an zwei gegenüberliegenden Enden von einem Balkenpaar gehal ten. Wenn eine Beschleunigung in der transversalen Richtung (die nicht die Beschleunigungsmeßrichtung ist) auf das Gewicht wirkt, ist die Biegung der Balken sehr viel geringer als bei einem Sensor, bei dem das Gewicht nur an einem Ende gehalten wird, so daß der Betrag einer Störausgabe verringert und die Stabilität verbessert wird.In the semiconductor acceleration sensor, the weight at two opposite Ends held by a pair of beams. When an acceleration in the transverse direction (which is not the acceleration measuring direction is) acting on the weight, the bending of the beams is very much less than a sensor with only one weight End is held so that the Amount of an issue decreases and stability is improved.

Die auf den oberen Flächen der Balken 111 bis 114 geformten Dehnungsmeßstreifen 131 bis 138 sind klassifiziert in Dehnungsmeßstreifen 131, 133, 135 und 137 eines ersten Typs, die jeweils auf den oberen Flächen dieser Balken in der Verbindungsseite der Balken mit dem Trägerelement 120 in der longitudinalen Richtung des jeweiligen Balkens geformt sind, und in Dehnungsmeßstreifen 132, 134, 136 und 138 eines zweiten Typs, die jeweils auf den oberen Flächen dieser Balken in der Verbindungsseite der Balken mit dem Trägerelement 120 in der Querrichtung des jeweiligen Balkens geformt sind. Diese Dehnungsmeßstreifen 131 bis 138 sind, wie in 1C gezeigt, elektrisch miteinander verbunden und bilden eine Wheatstone-Brücke, in der die Dehungsmeßstreifen 131 und 135 des ersten Typs, die jeweils auf dem ersten Satz von Balken 111 und 113 geformt sind, den Dehnungsmeßstreifen 133 und 137 des ersten Typs, die jeweils auf dem zweiten Satz von dünnen Balken 112 und 114 geformt sind, gegenüberliegen, und die Dehungsmeßstreifen 132 und 136 des zweiten Typs, die jeweils auf dem ersten Satz von Balken 111 und 113 geformt sind, den Dehnungsmeßstreifen 134 und 138 des zweiten Typs, die jeweils auf dem zweiten Satz von dünnen Balken 112 und 114 geformt sind, gegenüberliegen. In 1C bezeichnet V einen Spannungsversorgungsanschluß und S1 und S2 bezeichnen Signalausgabeanschlüsse.The on the upper surfaces of the beams 111 to 114 shaped strain gauges 131 to 138 are classified in strain gauges 131 . 133 . 135 and 137 a first type, each on the upper surfaces of these beams in the connecting side of the beam with the support element 120 are formed in the longitudinal direction of the respective beam, and in strain gauges 132 . 134 . 136 and 138 a second type, each on the upper surfaces of these beams in the connecting side of the beams with the support element 120 are formed in the transverse direction of the respective beam. These strain gauges 131 to 138 are, as in 1C shown electrically interconnected and forming a Wheatstone bridge in which the strain gauges 131 and 135 of the first type, each on the first set of beams 111 and 113 are shaped, the strain gauge 133 and 137 of the first type, each on the second set of thin bars 112 and 114 are shaped, opposite, and the Dehungsmeßstreifen 132 and 136 of the second type, each on the first set of beams 111 and 113 are shaped, the strain gauge 134 and 138 of the second type, each on the second set of thin bars 112 and 114 are shaped, opposite each other. In 1C V denotes a power supply terminal and S 1 and S 2 indicate signal output terminals.

Wenn eine Beschleunigung in der vertikalen Richtung (welche die Beschleunigungsmeßrichtung ist) auf das Gewicht 100 wirkt, wirkt auf das Gewicht 100 eine Kraft in der vertikalen Richtung und die Balken 111, 112, 113 und 114 biegen sich in der durch einen Pfeil P gezeigten Richtung. Zu diesem Zeitpunkt wirkt eine Zugspannung auf die oberen Flächen der Balken in der Verbindungsseite derselben mit dem Trägerelement 120, so daß der Widerstand jedes Dehnungsmeßstreifens 131, 133, 135 und 137 des ersten Typs, die in der longitudinalen Richtung des jeweiligen Balken geformt sind, zunimmt. Im Gegensatz dazu ändert sich der Widerstand der Dehungsmeßstreifen 132, 134, 136 und 138 des zweiten Typs, die in der Querrichtung des jeweiligen Balken geformt sind, nicht. Dies verursacht, daß ein Detektionssignal, dessen Wert proportional dem Betrag der Beschleunigung ist, von den Signalausgabeanschlüssen S1 und S2 der Wheatstone-Brücke ausgegeben wird.When an acceleration in the vertical direction (which is the acceleration measuring direction) on the weight 100 acts, affects the weight 100 a force in the vertical direction and the bars 111 . 112 . 113 and 114 bend in the direction shown by an arrow P. At this time, a tensile stress acts on the upper surfaces of the beams in the connecting side thereof with the support member 120 so that the resistance of each strain gauge 131 . 133 . 135 and 137 of the first type, which are formed in the longitudinal direction of the respective beam increases. In contrast, the resistance of the strain gauges changes 132 . 134 . 136 and 138 of the second type, which are formed in the transverse direction of the respective beam, not. This causes a detection signal whose value is proportional to the amount of acceleration to be output from the signal output terminals S 1 and S 2 of the Wheatstone bridge.

In diesem Ausführungsbeispiel ist die Biegungsmittel punktslinie 13 jedes Balkens um einen Abstand L von dem Schwerpunkt G des Gewichts 100 getrennt. Wenn eine Beschleunigung in der transversalen Richtung (die nicht die Beschleunigungsmeßrichtung ist) auf das Gewicht 100 wirkt, wirkt ein durch den Abstand L erzeugtes Drehmoment auf das Gewicht 100 und erzeugt so eine Druckspannung, die auf die obere Fläche des einen der paarigen Balken 112 und 114 wirkt (zum Beispiel auf den Balken 112). Zu diesem Zeitpunkt wirkt eine Zugspannung auf die obere Fläche des anderen Balken 114. In der Wheatstone-Brücke ändert sich daher der Widerstand jeder der Dehnungsmeßstreifen 133 und 137 des ersten Typs, die jeweils auf diesen Balken geformt sind, derart, daß sich die Widerstandsänderungen einander aufheben. Demzufolge gibt die Wheatstone-Brücke kein Ausgabesignal aus, mit der Ergebnis, daß der Betrag einer Störausgabe verringert wird.In this embodiment, the bending means is dot-line 13 each beam by a distance L from the center of gravity G of the weight 100 separated. When an acceleration in the transverse direction (which is not the acceleration measuring direction) on the weight 100 acts, a torque generated by the distance L acts on the weight 100 and thus creates a compressive stress on the upper surface of one of the paired beams 112 and 114 acts (for example on the bar 112 ). At this time, a tensile stress acts on the upper surface of the other beam 114 , In the Wheatstone bridge, therefore, the resistance of each of the strain gauges changes 133 and 137 of the first type, each formed on this beam, such that the resistance changes cancel each other out. As a result, the Wheatstone bridge does not output an output signal, with the result that the amount of spurious output is reduced.

In dem Ausführungsbeispiel der 1 ist das dicke Gewicht 100 in der Draufsicht viereckig. Das Gewicht 100 ist nicht auf eine viereckige Form beschränkt und kann eine andere Form besitzen, zum Beispiel eine kreisförmige Form. Auch wenn oben ein Sensor mit dünnen Balken in einer L-Form beschrieben wurde, sind die Balken nicht auf eine L-Form beschränkt und können eine andere Form besitzen, zum Beispiel eine I-Form oder eine rechtwinklige Form.In the embodiment of 1 is the thick weight 100 quadrangular in plan view. The weight 100 is not limited to a quadrangular shape and may have another shape, for example, a circular shape. Although a sensor having thin bars in an L-shape has been described above, the bars are not limited to an L-shape and may have another shape, for example, an I-shape or a rectangular shape.

Zweites AusführungsbeispielSecond embodiment

Ein zweites Ausführungsbeispiel eines Halbleiterbeschleunigungssensors wird unter Bezugnahme auf die 2A und 2B beschrieben, die ein Verfahren zum Herstellen eines Gewichts, eines Trägerelements und von Balken aus einem Halbleitersubstrat zeigen. 2A ist eine Draufsicht des Halbleitersubstrats und 2B ist eine Druntersicht des Halbleitersubstrats.A second embodiment of a semiconductor acceleration sensor will be described with reference to FIGS 2A and 2 B which teaches a method of manufacturing a weight, a support member, and beams from a semiconductor substrate. 2A is a plan view of the semiconductor substrate and 2 B is a bottom view of the semiconductor substrate.

Bei dem in 2 gezeigten Verfahren werden ein Gewicht 100, ein Trägerelement 120 und Balken 111, 112, 113 und 114 wie folgt hergestellt. Zunächst werden, wie in 2A gezeigt, Bereiche, die schraffiert und mit 210 bezeichnet sind, zum Beispiel durch einen Plasmaätzprozeß von der oberen Fläche des Halbleitersubstrats bis zu einer Tiefe gleich oder größer als die Dicke des Gewichts 100 geätzt. Danach werden Bereiche, die in 2B schraffiert und mit 211 be zeichnet sind, so geätzt, daß sie die Balken 111, 112, 113 und 114 mit einer Dicke von zum Beispiel 10 bis 40 μm bilden.At the in 2 shown methods become a weight 100 , a carrier element 120 and beams 111 . 112 . 113 and 114 prepared as follows. First, as in 2A shown areas hatched and with 210 are designated, for example, by a plasma etching process from the upper surface of the semiconductor substrate to a depth equal to or greater than the thickness of the weight 100 etched. After that, areas that are in 2 B hatched and with 211 be etched so etched that they are the beams 111 . 112 . 113 and 114 with a thickness of, for example, 10 to 40 microns.

In der Erfindung ist jede der Arbeitsbreiten W1 und W2 der geätzten Bereiche 210 und 211, die jeweils von den oberen und unteren Flächen des Halbleitersubstrats geätzt werden, entlang der gesamten Länge konstant. Daher findet der Ätzprozeß mit einer konstanten Rate statt, was zu einer verbesserten Arbeitsgenauigkeit führt.In the invention, each of the working widths W 1 and W 2 is the etched area 210 and 211 respectively etched from the upper and lower surfaces of the semiconductor substrate, are constant along the entire length. Therefore, the etching process takes place at a constant rate, resulting in improved working accuracy.

Drittes AusführungsbeispielThird embodiment

Die 3A und B zeigen ein drittes Ausführungsbeispiel eines Halbleiterbeschleunigungssensors. Das Ausführungsbeispiel der 3A und 3B ist auf die gleiche Weise ausgeführt wie das der 2, außer daß dünne Balken 111, 112, 113 und 114 mit einer I-förmigen Form oder einer rechtwinkligen Form anstelle der in 2 verwendeten L-förmigen Form vorgesehen sind und daß diese Balken so angeordnet sind, daß, wenn die Balken 111 und 112 um 180 Grad um den Mittelpunkt O des Gewichts 100 gedreht werden, diese Balken jeweils mit den Balken 113 und 114 zusammenfallen und daß die Balken 111 und 112 mit den Balken 114 und 113 jeweils symmetrisch bezüglich der longitudinalen Achse V des Gewichts 100 sind.The 3A and B show a third embodiment of a semiconductor acceleration sensor. The embodiment of 3A and 3B is executed in the same way as the 2 except that thin bars 111, 112 . 113 and 114 with an I-shaped shape or a rectangular shape instead of in 2 used L-shaped form are provided and that these beams are arranged so that when the beams 111 and 112 180 degrees around the center O of the weight 100 be rotated, these bars each with the bars 113 and 114 coincide and that the bars 111 and 112 with the bars 114 and 113 each symmetrical with respect to the longitudinal axis V of the weight 100 are.

Viertes AusführungsbeispielFourth embodiment

Die 4 und 5 zeigen ein viertes Ausführungsbeispiel eines Halbleiterbeschleunigungssensors. 4 ist ein Querschnitt, und 5 zeigt den Sensor der 4 in größerem Detail. 5A ist ein Draufsicht eines Sensorbereichs, der ein Gewicht 100, ein Trägerelement 120 und Balken 111 bis 114 umfaßt, und 5B ist eine Druntersicht eines Trägersubstrats 450. In dem Ausführungsbeispiel der 4 und 5 ist eine Mehrzahl von Signalanschlüssen 430 auf einer Seite, die mit auf den oberen Flächen der Balken geformten Dehnungsmeßstreifen verbunden sind, und eine Mehrzahl von Blind-Signalanschlüssen 431 auf der einen Seite, die dieselbe Form wie die Signalanschlüsse 430 besitzen, in der Peripherie der oberen Fläche des Trägerelements 120 in im wesentlichen gleichen Abständen angeordnet. Das Trägersubstrat 450 ist mit einer Mehrzahl von Signalanschlüssen 432 und Blind-Signalanschlüssen 433 der anderen Seite versehen, die jeweils der Mehrzahl von Signalanschlüssen 430 und Blindsignalanschlüssen 431 der einen Seite gegenüberliegen und mit diesen verbunden sind. Die auf den Balken geformten Dehnungsmeßstreifen sind über die Signalanschlüsse 432 der anderen Seite und mit den Signalanschlüssen verbundenen Verbindungsanschlüssen 460 mit einer externen Einheit verbunden. Die Summe der Höhe der Signalanschlüsse 430 auf der einen Seite und der Signalanschlüsse 432 auf der anderen Seite sowie die Summe der Höhe der Blind-Signalanschlüsse 431 auf der einen Seite und der Blind-Signalanschlüsse 433 auf der anderen Seite sind auf einen Wert H1 eingestellt, der geringfügig größer ist (zum Beispiel 10 bis 30 μm) als der Verschiebebetrag des Gewichts 100 während des Betriebs. Wenn also ein Stoß auf den Halbleiterbeschleunigungssensor wirkt, wird das Gas zwischen der oberen Fläche des Gewichts 100 und der unteren Fläche des Trägersubstrats 450 komprimiert, so daß ein Dämpfungsvorgang im Hochfrequenzbereich von zum Beispiel 500 Hz oder höher für das Gewicht 100 durchgeführt wird, wodurch die Stoßfestigkeit des Sensors verbessert wird.The 4 and 5 show a fourth embodiment of a semiconductor acceleration sensor. 4 is a cross section, and 5 shows the sensor the 4 in greater detail. 5A FIG. 10 is a top view of a sensor area that is a weight. FIG 100 , a carrier element 120 and beams 111 to 114 includes, and 5B is a bottom view of a carrier substrate 450 , In the embodiment of 4 and 5 is a plurality of signal terminals 430 on a side connected to strain gauges formed on the upper surfaces of the beams, and a plurality of dummy signal terminals 431 on the one hand, the same shape as the signal connectors 430 own, in the periphery of the upper surface of the support element 120 arranged at substantially equal intervals. The carrier substrate 450 is with a plurality of signal terminals 432 and blind signal terminals 433 the other side, each of the plurality of signal terminals 430 and dummy signal terminals 431 one side opposite and connected to these. The strain gauges formed on the beam are across the signal terminals 432 the other side and connection terminals connected to the signal terminals 460 connected to an external unit. The sum of the height of the signal connections 430 on one side and the signal connections 432 on the other side as well as the sum of the height of the dummy signal connections 431 on one side and the dummy signal connections 433 on the other hand, are set to a value H 1 which is slightly larger (for example, 10 to 30 μm) than the amount of shift of the weight 100 during operation. Thus, when a shock acts on the semiconductor acceleration sensor, the gas between the upper surface of the weight 100 and the lower surface of the support substrate 450 compressed, so that a damping operation in the high frequency range of, for example 500 Hz or higher for the weight 100 is performed, whereby the shock resistance of the sensor is improved.

Es ist günstig, die Signalanschlüsse 430 und 432 und die Blind-Signalanschlüsse 431 und 433 der einen und der anderen Seite aus einem Dickfilm aus einem Metall oder einer Legierung wie etwa aus Au, Ag oder Pb/Sn herzustellen.It is convenient, the signal connections 430 and 432 and the dummy signal terminals 431 and 433 one and the other side of a thick film of a metal or an alloy such as Au, Ag or Pb / Sn produce.

Fünftes AusführungsbeispielFifth embodiment

Die 6A und 6B zeigen ein fünftes Ausführungsbeispiel eines Halbleiterbeschleunigungssensors. 6A ist ein Querschnitt, der den Fall zeigt, wo ein Stoß auf den Sensor der 6A wirkt. In 6A ist ein zusätzliches Gewichts- und Stoppelement 520 mit einer umgekehrten konvexen Form auf der oberen Fläche des Gewichts 100 angeordnet. Die äußere Peripherie des zusätzlichen Gewicht- und Stoppelements 520 ist größer als die innere Peripherie des Trägerelements 120. Der Abstand H2 zwischen der unteren Fläche des äußeren peripheren Bereichs des zusätzlichen Gewicht- und Stoppelements 520 und die obere Fläche des Trägerelements 120 ist auf einen Wert eingestellt, der kleiner ist als der erlaubte Verschiebungsbetrag des Gewichts 100. Wenn daher ein Stoß, zum Beispiel ein Stoß mit einer geringen Frequenz von einigen zehn Hz oder weniger, auf den Halbleiterbeschleunigungssensor wirkt, wird die Biegung des Gewichtes 100 innerhalb der erlaubten Verschiebung durch das zusätzliche Gewicht- und Stoppelement 520 eingeschränkt, wie in 6B gezeigt. Das Vorhandensein des zusätzlichen Gewicht- und Stoppelements 520 erhöht das Gewicht des Ge wichts. Dies trägt zu einer Verbesserung der Empfindlichkeit des Sensors bei.The 6A and 6B show a fifth embodiment of a semiconductor acceleration sensor. 6A is a cross section showing the case where a shock to the sensor 6A acts. In 6A is an additional weight and stop element 520 with an inverted convex shape on the upper surface of the weight 100 arranged. The outer periphery of the additional weight and stop element 520 is larger than the inner periphery of the support member 120 , The distance H 2 between the lower surface of the outer peripheral portion of the additional weight and stopper member 520 and the upper surface of the support member 120 is set to a value smaller than the allowable shift amount of the weight 100 , Therefore, when a shock, for example, a shock of a few tens Hz or less, acts on the semiconductor acceleration sensor, the bending of the weight becomes 100 within the permitted displacement by the additional weight and stop element 520 restricted, as in 6B shown. The presence of additional weight and stop elements 520 increases the weight of the weight. This contributes to an improvement in the sensitivity of the sensor.

Sechstes AusführungsbeispielSixth embodiment

Die 6A und 6B zeigen auch ein sechstes Ausführungsbeispiel eines Halbleiterbeschleunigungssensors. In 6A ist ein Trägersubstrat 510 mit einer sich nach oben öffnenden Vertiefung 511 auf der unteren Fläche des Trägerelements 120 angeordnet. Die Vertiefung 511 ist größer als die äußere Peripherie des Gewichts 100. Der Abstand H1 zwischen der Fläche der Vertiefung 511 und der unteren Fläche des Gewichts 100 ist auf einen Wert eingestellt, der geringfügig größer ist (zum Beispiel um 10 bis 30 μm) als der bewegliche Verschiebebetrag des Gewichts 100 während des Betriebs. Wenn also ein Stoß auf den Halbleiterbeschleunigungssensor wirkt, wird das Gas zwischen der unteren Fläche des Gewichts 100 und der Fläche der Vertiefung 511 des Trägersubstrats 510 komprimiert, so daß ein Dämpfungsvorgang auf dieselbe Weise wie in dem Ausführungsbeispiel der 4 auf das Gewicht wirkt, wodurch die Stoßfestigkeit des Sensors verbessert wird.The 6A and 6B also show a sixth embodiment of a semiconductor acceleration sensor. In 6A is a carrier substrate 510 with an upwardly opening depression 511 on the lower surface of the carrier element 120 arranged. The depression 511 is greater than the outer periphery of the weight 100 , The distance H 1 between the surface of the recess 511 and the lower surface of the weight 100 is set to a value slightly larger (for example, 10 to 30 μm) than the movable amount of shift of the weight 100 during operation. Thus, when a shock acts on the semiconductor acceleration sensor, the gas between the lower surface of the weight 100 and the surface of the recess 511 of the carrier substrate 510 compressed, so that a damping operation in the same manner as in the embodiment of 4 acting on the weight, whereby the shock resistance of the sensor is improved.

Siebtes AusführungsbeispielSeventh embodiment

Die 7 und 8A bis 8C zeigen ein siebtes Ausführungsbeispiel eines Halbleiterbeschleunigungssensors. 7 ist ein Querschnitt, und die 8A bis 8C zeigen den Sensor der 7 in größerem Detail. 8A ist eine Druntersicht eines oberen Trägersubstrats 610, 8B ist eine Draufsicht eines Sensorbereichs mit einem Gewicht 100, einem Trägerelement 120 und Balken 111 bis 114, und 8C ist eine Draufsicht eines unteren Trägersubstrats 620. In den 7 und 8 sind das obere Trägersubstrat 610 und das untere Trägersubstrat 620 jeweils auf der oberen und der unteren Fläche des Trägerelements 120 angeordnet. Das obere Trägersubstrat 610 besitzt eine sich nach unten öffnende Vertiefung 611. Die Vertiefung 611 ist größer als die äußere Peripherie des Gewichts 100. In der Vertiefung 611 ist eine Mehrzahl (z.B. 4) von nach unten gehen Ausstülpungen 612 an der äußeren Peripherie des Gewichts 100 gegenüberliegenden Stellen geformt. Das untere Trägersubstrat 620 besitzt eine sich nach oben öffnende Vertiefung 621. Die Vertiefung 621 ist größer als die äußere Peripherie des Gewichts 100. In der Vertiefung 621 ist eine Mehrzahl (z.B. 4) von nach oben gehenden Ausstülpungen 622 an der äußeren Peripherie des Gewichts 100 gegenüberliegenden Stellen geformt. Die Abstände zwischen den oberen und unteren Flächen des Gewichts 100 und den Flächen der Vertiefungen 611 und 621 der oberen und unteren Trägersubstrate 610 und 620 sind auf einen Wert H1 eingestellt, der geringfügig größer ist (zum Beispiel um 10 bis 40 μm) als der bewegliche Verschiebebetrag des Gewichts 100 während des Betriebs. Die Abstände zwischen den oberen und unteren Flächen des Gewichts 100 und den in den Vertiefungen 611 und 621 geformten Ausstülpungen 612 und 622 der oberen und unteren Trägersub strate 610 und 620 sind auf einen Wert H2 eingestellt, der kleiner ist als der erlaubte Verschiebebetrag des Gewichts 100.The 7 and 8A to 8C show a seventh embodiment of a semiconductor acceleration sensor. 7 is a cross section, and the 8A to 8C show the sensor the 7 in greater detail. 8A is a bottom view of an upper carrier substrate 610 . 8B Figure 11 is a plan view of a sensor area with a weight 100 , a support element 120 and beams 111 to 114 , and 8C is a plan view of a lower carrier substrate 620 , In the 7 and 8th are the upper carrier substrate 610 and the lower carrier substrate 620 respectively on the upper and lower surfaces of the support member 120 arranged. The upper carrier substrate 610 has a downwardly opening recess 611 , The depression 611 is greater than the outer periphery of the weight 100 , In the depression 611 is a plurality (eg 4) of go down bulges 612 on the outer periphery of the weight 100 shaped opposite places. The lower carrier substrate 620 has an upwardly opening recess 621 , The depression 621 is greater than the outer periphery of the weight 100 , In the depression 621 is a plurality (eg 4) of upwardly projecting protuberances 622 on the outer periphery of the weight 100 shaped opposite places. The distances between the upper and lower surfaces of the weight 100 and the areas of the depressions 611 and 621 the upper and lower carrier substrates 610 and 620 are set to a value H 1 which is slightly larger (for example, 10 to 40 μm) than the movable amount of shift of the weight 100 during operation. The distances between the upper and lower surfaces of the weight 100 and in the wells 611 and 621 shaped protuberances 612 and 622 the upper and lower Trägerub strate 610 and 620 are set to a value H 2 which is smaller than the allowable shift amount of the weight 100 ,

Wenn also ein Stoß auf den Halbleiterbeschleunigungssensor wirkt, wird das Gas zwischen der oberen und unteren Fläche des Gewichts 100 und der Fläche der Vertiefung 611 des oberen Trägersubstrats 610 oder die Fläche der Vertiefung 621 des unteren Trägersubstrats 620 komprimiert, so daß ein Dämpfungsvorgang auf dieselbe Weise wie in dem vierten Ausführungsbeispiel der 4 und 5 auf das Gewicht wirkt, wodurch die Stoßfestigkeit des Sensors verbessert wird. Darüberhinaus wird die Biegung des Gewichts 100 durch die in den Vertiefungen 611 oder 621 der oberen oder unteren Trägersubstrate 610 oder 620 geformten Ausstülpungen 612 oder 622 auf dieselbe Weise wie bei dem fünften, in 6 gezeigten Ausführungsbeispiel innerhalb des erlaubten Verschiebebetrags eingeschränkt.Thus, when a shock acts on the semiconductor acceleration sensor, the gas between the upper and lower surfaces of the weight 100 and the surface of the recess 611 of the upper carrier substrate 610 or the area of the depression 621 of the lower carrier substrate 620 compressed, so that a damping operation in the same manner as in the fourth embodiment of 4 and 5 acting on the weight, whereby the shock resistance of the sensor is improved. In addition, the bending of the weight 100 through the in the wells 611 or 621 the upper or lower carrier substrates 610 or 620 shaped protuberances 612 or 622 in the same way as in the fifth, in 6 shown embodiment limited within the allowable shift amount.

Achtes AusführungsbeispielEighth embodiment

Die 9 und 10A bis 10C zeigen ein achtes Ausführungsbeispiel eines Halbleiterbeschleunigungssensors. 9 ist ein Querschnitt, und die 10A bis 10C zeigen den Sensor der 9 in größerem Detail. 10A ist eine Druntersicht eines oberen Trägersubstrats 710, 10B ist eine Draufsicht eines Sensorbereichs mit einem Gewicht 100, einem Trägerelement 120 und Balken 111 bis 114, und 10C ist eine Draufsicht eines unteren Trägersubstrats 720.The 9 and 10A to 10C show an eighth embodiment of a semiconductor acceleration sensor. 9 is a cross section, and the 10A to 10C show the sensor the 9 in greater detail. 10A is a bottom view of an upper carrier substrate 710 . 10B Figure 11 is a plan view of a sensor area with a weight 100 , a support element 120 and beams 111 to 114 , and 10C is a plan view of a lower carrier substrate 720 ,

Die Konfiguration und die Arbeitsweise des in den 9 und 10 gezeigten achten Ausführungsbeispiels sind die gleichen wie bei dem in den 7 und 8 gezeigten siebten Ausführungsbeispiel, außer daß Ausstülpungen 712 und 722 an der äußeren Peripherie des Gewichtes 100 gegenüberliegenden Stellen anstelle der in den 7 und 8 gezeigten Mehrzahl (z.B. 4) von Ausstülpungen 612 und 622, die an der äußeren Peripherie des Gewichtes 100 gegenüberliegenden Stellen geformt sind, angeordnet sind. Die Ausstülpungen 712 und 722 erstrecken sich entlang der äußeren Peripherie des Gewichtes 100.The configuration and operation of the in the 9 and 10 eighth embodiment shown are the same as in the 7 and 8th shown seventh embodiment, except that protuberances 712 and 722 on the outer periphery of the weight 100 opposite places instead of in the 7 and 8th shown plurality (eg 4) of protuberances 612 and 622 attached to the outer periphery of the weight 100 are formed opposite positions are arranged. The protuberances 712 and 722 extend along the outer periphery of the weight 100 ,

Wie in 11 gezeigt, ist, falls erforderlich, jeder der oben beschriebenen Halbleiterbeschleunigungssensoren in einem hermetisch abgeschlossenen Behälter 850 untergebracht, der ein inertes Gas enthält. Diese Anordnung ermöglicht, die Sensoren hinreichend sicher auch unter harten Umweltbedingungen für Kraftfahrzeugsensoren zu verwenden. In 11 bezeichnet 810 einen der Halbleiterbeschleunigungssensoren, und 820 bezeichnet einen Verstärker für ein Detektionssignal.As in 11 is shown, if necessary, each of the above-described semiconductor acceleration sensors in a hermetically sealed container 850 housed, which contains an inert gas. This arrangement makes it possible to use the sensors with sufficient reliability even under harsh environmental conditions for motor vehicle sensors. In 11 designated 810 one of the semiconductor acceleration sensors, and 820 denotes an amplifier for a detection signal.

Die 17A und 17B zeigen einen Halbleiterbeschleunigungssensor. 17A ist eine Draufsicht und 17B ist ein Querschnitt entlang der Linie A-A der 17A. Wie in den 17A und 17B gezeigt, ist der Halbleiterbeschleunigungssensor aus einem Halbleiter geformt und umfaßt ein quadratisches, dickwandiges Gewicht 901, das zum Beispiel 400 μm dick ist, einen dickwandigen Träger 906, der mit einer inneren quadratischen Öffnung versehen ist, die in einem vorgegebenen Abstand von dem Gewicht 901 angeordnet ist und die so geformt ist, daß sie das Gewicht 901 umgibt, vier dünnwandige Balken 902, 903, 904, 905, die zum Beispiel 20–40 μm dick sind zum Verbinden von vier Endseiten auf beiden gegenüberliegenden, äußeren Seiten des Gewichts 901 mit den jeweils gegenüberliegenden, inneren Seiten des Trägers 906, und jeweils in den Balken 902, 903, 904, 905 geformte Dehnungsmeßstreifen 902A, 902B, 903A, 903B, 904A, 904B, 905A, 905B. Die Dehnungsmeßstreifen 902A, 903A, 904A, 905A von all diesen Dehnungsmeßstreifen sind in den oberen Oberflächen der Verbindungen zwischen dem Träger 906 und den Balken 902, 903, 904, 905 jeweils in der Längsrichtung der Balken geformt. Auf der anderen Seite sind die Dehnungsmeßstreifen 902B, 903B, 904B, 905B in den oberen Oberflächen der Verbindungen zwischen dem Gewicht 901 und den Balken 902, 903, 904, 905 jeweils in der Längsrichtung der Balken geformt. Unter der Annahme, daß die in den oberen Oberflächen der Verbindungen zwischen den Balken und dem Träger geformten Dehnungsmeßstreifen 902A, 903A, 904A, 905A Dehnungsmeßstreifen der ersten Seite genannt werden und daß die in den oberen Oberflächen der Verbindungen zwischen den Balken und dem Gewicht geformten Dehnungsmeßstreifen 902B, 903B, 904B, 905B Dehnungsmeßstreifen der zweiten Seite genannt werden, kann eine Wheatstone-Brücke, wie in 19 gezeigt gebildet werden, indem zwei Dehnungs meßstreifen 902A, 905A der vier Dehnungsmeßstreifen den Dehnungsmeßstreifen 903A, 904A symmetrisch bezüglich dem Mittelpunkt C des Gewichts 901 gegenüberliegen und indem zwei Dehnungsmeßstreifen 902B, 905B der vier Dehnungsmeßstreifen den Dehnungsmeßstreifen 903B, 904B symmetrisch bezüglich dem Mittelpunkt C des Gewichts 901 gegenüberliegen. In diesem Fall bezeichnet V einen Spannungsversorgungsanschluß, G einen Masseanschluß und S1, S2 Signalausgabeanschlüsse.The 17A and 17B show a semiconductor acceleration sensor. 17A is a top view and 17B is a cross section along the line AA of 17A , As in the 17A and 17B As shown, the semiconductor acceleration sensor is formed of a semiconductor and has a square, thick-walled weight 901 which is, for example, 400 μm thick, a thick-walled carrier 906 which is provided with an inner square opening which is a predetermined distance from the weight 901 is arranged and which is shaped so that the weight 901 surrounds, four thin-walled beams 902 . 903 . 904 . 905 which are, for example, 20-40 μm thick for joining four end sides on both opposite, outer sides of the weight 901 with the respective opposite, inner sides of the carrier 906 , and in each case in the bars 902 . 903 . 904 . 905 shaped strain gauges 902A . 902B . 903A . 903B . 904A . 904B . 905A . 905B , The strain gauges 902A . 903A . 904A . 905A Of all these strain gauges are in the upper surfaces of the connections between the carrier 906 and the beam 902 . 903 . 904 . 905 each formed in the longitudinal direction of the beam. On the other side are the strain gauges 902B . 903B . 904B . 905B in the upper surfaces of the connections between the weight 901 and the beam 902 . 903 . 904 . 905 each formed in the longitudinal direction of the beam. Assuming that the strain gauges formed in the upper surfaces of the joints between the beams and the beam 902A . 903A . 904A . 905A Called strain gauges of the first side and that in the upper surfaces of the joints between the bars and the weight formed strain gauges 902B . 903B . 904B . 905B Strain gauges can be called the second side, a Wheatstone bridge, as in 19 shown formed by two strain gauges 902A . 905A the four strain gauges the strain gauges 903A . 904A symmetrical with respect to the center C of the weight 901 opposite and by two strain gauges 902B . 905B the four strain gauges the strain gauges 903B . 904B symmetrical with respect to the center C of the weight 901 are opposite. In this case, V denotes a power supply terminal, G a ground terminal, and S1, S2 signal output terminals.

Wenn eine Beschleunigung in Richtung des Pfeiles V in 17B auf das Gewicht 901 wirkt, also in einer Richtung senkrecht zum Gewicht 901 (die Richtung, in der die Beschleunigung gemessen wird), erfährt das Gewicht 901 eine vertikale Kraft Fv, bewegt sich nach unten, wie in 20 gezeigt, und wird von den Balken 902, 903 und 904, 905 auf beiden Seiten gehalten. Zu diesem Zeitpunkt wirkt eine Zugspannung auf die oberen Oberflächen der Verbindungen zwischen den Balken und dem Träger 906, während Druckspannungen auf die oberen Oberflächen der Verbindungen zwischen den Balken und dem Gewicht 901 wirken. Dann nehmen die Widerstände der Dehnungsmeßstreifen 902A, 903A, 904A, 905A auf der ersten Seite zu und die Widerstände der Dehnungsmeßstreifen 902B, 903B, 904B, 905B auf der zweiten Seite nehmen ab. Meßsignale, deren Höhe proportional der Beschleunigung ist, werden folglich von den Ausgabeanschlüssen S1, S2 der Wheatstone-Brücke ausgegeben.When an acceleration in the direction of the arrow V in 17B on the weight 901 acts, so in a direction perpendicular to the weight 901 (the direction in which the acceleration is measured) experiences the weight 901 a vertical force Fv, moves down, as in 20 shown, and is from the bars 902 . 903 and 904 . 905 held on both sides. At this time, a tensile stress acts on the upper surfaces of the joints between the beams and the beam 906 while compressive stresses on the upper surfaces of the joints between the beams and the weight 901 Act. Then take the resistors of the strain gauges 902A . 903A . 904A . 905A on the first page and the resistances of the strain gauges 902B . 903B . 904B . 905B on the second page decrease. Measurement signals whose magnitude is proportional to the acceleration are consequently output from the output terminals S1, S2 of the Wheatstone bridge.

Wenn eine Beschleunigung in der Richtung des Pfeiles H in 17B auf das Gewichts 901 wirkt, also in der Querrichtung (die Richtung, in der die Beschleunigung nicht ge messen wird), erzeugt ein Drehmoment, das durch den Abstand L von der Spannungsmittelpunktslinie 909 des Balkens zum Schwerpunkt W des Gewichts 901 und die in dem Gewichts 901 aufgrund der Beschleunigung erzeugte Querkraft Fh erzeugt wird, eine Verbiegung wie in 21 gezeigt. Hinsichtlich der Balken 902, 903 auf der Seite, die von dem Gewicht 901 gedrückt wird, wirkt eine Druckspannung auf die obere Oberfläche der Verbindung jedes Balkens mit dem Träger und eine Zugspannung wirkt auf die obere Oberfläche der Verbindung jedes Balkens mit dem Gewicht. Hinsichtlich der Balken 904, 905 auf der Seite, die von dem Gewicht 901 gezogen wird, wirkt eine Zugspannung auf die obere Oberfläche der Verbindung jedes Balkens mit dem Träger und eine Druckspannung wirkt auf die obere Oberfläche der Verbindung jedes Balkens mit dem Gewicht.When an acceleration in the direction of the arrow H in 17B on the weight 901 acts, ie in the transverse direction (the direction in which the acceleration is not measured ge), generates a torque by the distance L from the tension center line 909 of the beam to the center of gravity W of the weight 901 and in the weight 901 generated due to the acceleration generated lateral force Fh, a deflection as in 21 shown. Regarding the bars 902 . 903 on the side, by the weight 901 is pressed, a compressive stress acts on the upper surface of the connection of each beam with the carrier and a tensile stress acts on the upper surface of the connection of each beam with the weight. Regarding the bars 904 . 905 on the side, by the weight 901 is pulled, a tensile stress acts on the upper surface of the connection of each beam to the carrier and a compressive stress acts on the upper surface of the connection of each beam to the weight.

Daher ergeben die beiden Paare von Dehnungsmeßstreifen 902A, 905A und 903A, 904A, die symmetrisch bezüglich des Mittelpunktes C des Gewichtes 901 unter den vier Dehnungsmeßstreifen 902A, 903A, 904A, 905A auf der ersten Seite sind, die folgenden Ergebnisse: der Widerstand von 902A nimmt ab und der von 905A nimmt zu, so daß sich die Widerstandsänderungen aufheben; und der Widerstand von 903A nimmt ab und der von 904A nimmt zu, so daß sich die Widerstandsänderungen ebenfalls aufheben. Dies ist ebenfalls der Fall bei den Dehnungsmeßstreifen 902B, 903B, 904B, 905B der zweiten Seite, deren Widerstandsänderungen sich aufheben. Mit anderen Worten, es wird kein Signal von der Wheatstone-Brücke ausgegeben.Therefore, the two pairs of strain gauges 902A . 905A and 903A . 904A which are symmetrical with respect to the center C of the weight 901 under the four strain gauges 902A . 903A . 904A . 905A on the first page are, the following results: the resistance of 902A decreases and that of 905A increases, so that the resistance changes cancel; and the resistance of 903A decreases and that of 904A increases, so that the resistance changes also cancel. This is also the case with the strain gauges 902B . 903B . 904B . 905B the second side whose resistance changes cancel each other out. In other words, no signal is output from the Wheatstone bridge.

Da das Gewicht 901 dieses Halbleiterbeschleunigungssensors von den Balken 902, 903 und 904, 905 auf beiden Seiten gehalten wird, wird das Gewicht von den Balken auf der linken und der rechten Seite gehalten, wenn eine Beschleunigung in der Querrichtung (die nicht die Meßrichtung ist) wirkt. Daher ist die Biegung der Balken ist in diesem Fall viel geringer als die der Balken im herkömmlichen Fall, bei dem das Gewicht nur von den Balken auf einer Seite gehalten wird. Weiterhin wird die Störausgabe deutlich verringert, da sich die Widerstandsänderungen der Dehnungsmeßstreifen gegenseitig aufheben, wie zuvor erklärt.Because the weight 901 this semiconductor acceleration sensor from the beams 902 . 903 and 904 . 905 is held on both sides, the weight is held by the beams on the left and right sides when acceleration in the transverse direction (which is not the measuring direction) acts. Therefore, the bending of the beams in this case is much lower than that of the beams in the conventional case, in which the weight is held only by the beams on one side. Furthermore, the spurious output is significantly reduced as the resistance changes of the strain gauges cancel each other out, as previously explained.

Die 18A und 18B zeigen einen weiteren Halbleiterbeschleunigungssensor entsprechend der vorliegenden Erfindung: 18A ist eine Draufsicht, und 18B ist ein Querschnitt entlang der Linie B-B der 18A. Wie in den 18A und 18B gezeigt, ist der Halbleiterbeschleunigungssensor aus einem Halbleiter geformt und umfaßt ein Gewicht 901 mit einem quadratischen, dickwandigen, zentralen Bereich 901A, der zum Beispiel 400 μm dick ist, und vier quadratische, dickwandige Ausstülpungen 901A, 901B, 901C, 901D, die auf den jeweiligen Seiten des zentralen Bereichs 901A geformt sind, wobei die Seiten davon untereinander einen rechten Winkel um den Mittelpunkt des zentralen Bereichs 901A bilden, einen dickwandigen Träger 906 mit einer quadratischen, inneren Öffnung, die in einem vorgegebenen Abstand von den äußeren Seiten der Ausstülpungen 901A, 901B, 901C, 901D des Gewichts 901 entfernt derart angeordnet ist, daß sie das Gewicht 901 umgibt, vier dünnwandige Balken 902, 903, 904, 905, die zum Beispiel 20–40 μm dick sind, zum Verbinden der einen Seiten der Ausstülpungen 901A, 901B, 901C, 901D des Gewichts 901, wobei die Seiten davon untereinander einen rechten Winkel um den Mittelpunkt des zentralen Bereichs 901A des Gewichts 901 bilden, mit den jeweils gegenüberliegenden Seiten des Trägers 906 und in den jeweiligen Balken 902, 903, 904, 905 geformte Dehnungsmeßstreifen 902A, 902B, 903A, 903B, 904A, 904B, 905A, 905B. Die Dehnungsmeßstreifen 902A, 903A, 904A, 905A von all diesen Dehnungsmeßstreifen sind in den oberen Oberflächen der Verbindungen zwischen dem Träger 906 und den Balken 902, 903, 904, 905 jeweils in der Längsrichtung der Balken geformt. Auf der anderen Seite sind die Dehnungsmeßstreifen 902B, 903B, 904B, 905B von all diesen Dehnungsmeßstreifen in den oberen Oberflächen der Verbindungen zwischen dem Gewicht 901 und den Balken 902, 903, 904, 905 jeweils in der Längsrichtung der Balken geformt. Die Dehnungsmeßstreifen sind genauso angeordnet, wie in den 17A und 17B gezeigt.The 18A and 18B show a further semiconductor acceleration sensor according to the present invention: 18A is a top view, and 18B is a cross section along the line BB of 18A , As in the 18A and 18B As shown, the semiconductor acceleration sensor is formed of a semiconductor and includes a weight 901 with a square, thick-walled, central area 901A which is, for example, 400 μm thick, and four square, thick-walled protuberances 901A . 901B . 901C . 901D on the respective pages of the central area 901A are formed with the sides thereof at right angles to each other about the center of the central area 901A form a thick-walled carrier 906 with a square, inner opening that is at a predetermined distance from the outer sides of the protuberances 901A . 901B . 901C . 901D of weight 901 away is arranged so that they the weight 901 surrounds, four thin-walled beams 902 . 903 . 904 . 905 , which are for example 20-40 microns thick, for connecting the one side of the protuberances 901A . 901B . 901C . 901D of weight 901 the sides of which are at right angles to each other about the center of the central area 901A of weight 901 form, with the opposite sides of the carrier 906 and in the respective bars 902 . 903 . 904 . 905 shaped strain gauges 902A . 902B . 903A . 903B . 904A . 904B . 905A . 905B , The strain gauges 902A . 903A . 904A . 905A Of all these strain gauges are in the upper surfaces of the connections between the carrier 906 and the beam 902 . 903 . 904 . 905 each formed in the longitudinal direction of the beam. On the other side are the strain gauges 902B . 903B . 904B . 905B of all these strain gauges in the upper surfaces of the connections between the weight 901 and the beam 902 . 903 . 904 . 905 each formed in the longitudinal direction of the beam. The strain gauges are arranged the same way as in the 17A and 17B shown.

Da die Balken 902, 903, 904, 905 entlang der jeweiligen Seiten des zentralen Bereichs 901A des Gewichts 901 in dem Halbleiterbeschleunigungssensor geformt sind, können ihre Längsseiten länger gemacht werden, wodurch die Balken leichter gebogen werden, was die Meßempfindlichkeit weiter verbessert.Because the bars 902 . 903 . 904 . 905 along the respective sides of the central area 901A of weight 901 are formed in the semiconductor acceleration sensor, their longitudinal sides ge longer be made, whereby the bars are bent more easily, which further improves the measuring sensitivity.

In diesem Fall können die auf den jeweiligen Seiten des Gewichts 901 angeordneten Ausstülpungen 901A, 901B, 901C, 901D an den einen Enden der jeweiligen Seiten angeordnet sein, um jeden der Balken 902, 903, 904, 905 auf einer der beiden Seiten der Ausstülpung zu formen, wobei die eine Seite weiter als die andere Seite von der gegenüberliegenden Innenseite des Trägers 906 entfernt ist. Aus diese Weise kann die Länge der Balken vergrößert werden.In this case, those on the respective sides of the weight 901 arranged protuberances 901A . 901B . 901C . 901D be arranged at the one ends of the respective sides to each of the bars 902 . 903 . 904 . 905 to form on one of the two sides of the protuberance, with one side wider than the other side from the opposite inside of the carrier 906 is removed. In this way, the length of the bars can be increased.

Außerdem sind Passivierungsfilme 910 aus SiO2, SiN oder dergleichen auf den Oberflächen der Balken geformt, um die Dehnungsmeßstreifen in der oberen Oberfläche des Halbleiterbeschleunigungssensors zu schützen, wie den 17A und 17B oder 18A und 18B gezeigt. Der Passivierungsfilm wird normalerweise bei Temperaturen von mehreren hundert Grad geformt, bevor die Temperatur auf die normale Temperatur zurückgefahren wird. Die unterschiedlichen thermischen Ausdehnungskoeffizienten des Passivierungsfilms und des Halbleiters Silizium verursachen bleibende Spannungen in der Oberfläche des Halbleiters Silizium. Auch wenn sich die Widerstände der Dehnungsmeßstreifen 902A, 902B, 903A, 903B, 904A, 904B, 905A, 905B entsprechend ändern, wird dieselbe Widerstandsänderung erzeugt, da alle Dehnungsmeßstreifen in den oberen Oberflächen der Balken in der Längsrichtung der Balken angeordnet sind. Da diese Dehnungsmeßstreifen dieselben Widerstandsänderungen erzeugen, heben sich, wenn sie mit der Wheatstone-Brücke der 5 verbunden sind, die Widerstandsänderungen gegenseitig auf, so daß keine Offsetspannung erzeugt wird.There are also passivation films 910 formed of SiO 2 , SiN or the like on the surfaces of the beams to protect the strain gauges in the upper surface of the semiconductor acceleration sensor, such as the 17A and 17B or 18A and 18B shown. The passivation film is usually molded at temperatures of several hundred degrees before the temperature is returned to normal temperature. The different thermal expansion coefficients of the passivation film and the semiconductor silicon cause permanent voltages in the surface of the semiconductor silicon. Even if the resistances of the strain gauges 902A . 902B . 903A . 903B . 904A . 904B . 905A . 905B Accordingly, the same resistance change is generated because all the strain gauges are arranged in the upper surfaces of the beams in the longitudinal direction of the beams. Since these strain gauges produce the same changes in resistance, when lifted with the Wheatstone bridge of the 5 connected, the resistance changes to each other, so that no offset voltage is generated.

Jeder der oben beschriebenen Halbleiterbeschleunigungssensoren besitzt eine Konfiguration, durch die die Stoßfestigkeit des Sensors verbessert wird, und kann in einem hermetisch abgeschlossenen Behälter, der ein inertes Gas ent hält, statt in einem herkömmlichen hermetisch abgeschlossenen Behälter angeordnet werden, der eine Dämpfungsflüssigkeit enthält, wodurch die Produktionsausbeute verbessert wird.Everyone has the above-described semiconductor acceleration sensors a configuration that improves the shock resistance of the sensor, and may take place in a hermetically sealed container containing an inert gas in a conventional hermetically sealed container be arranged, which is a damping fluid contains whereby the production yield is improved.

Wie oben beschrieben wird bei den Halbleiterbeschleunigungssensoren nach der vorliegenden Erfindung der Betrag einer Störausgabe reduziert, die Arbeitsgenauigkeit des Ätzprozesses bei der Produktion wird verbessert, und die Stoßfestigkeit wird verbessert, so daß es nicht erforderlich ist, daß der Sensor in einem hermetisch abgeschlossenen Gehäuse angeordnet wird, das eine Dämpfungsflüssigkeit enthält. Erfindungsgemäß wird daher ein sehr leistungsfähiger und preiswerter Halbleiterbeschleunigungssensor mit einer hervorragenden Meßgenauigkeit und einer verbesserten Produktionsausbeute zur Verfügung gestellt.As is described above in the semiconductor acceleration sensors according to the present invention, the amount of spurious output reduces the working accuracy of the etching process during production is improved, and the shock resistance is improved so that it it is not necessary that the sensor is arranged in a hermetically sealed housing, which is a damping fluid contains. Therefore, according to the invention a very powerful one and inexpensive semiconductor acceleration sensor with an outstanding measurement accuracy and an improved production yield.

Da die vorliegende Erfindung darauf abzielt, die Meßempfindlichkeit zu verbessern und die Stör- und Offsetausgaben ohne die Notwendigkeit von zusätzlichen Arbeitsschritten zu verringern, indem sie die Konfiguration des aus einem Halbleiter geformten Halbleiterbeschleunigungssensors, die Anzahl und Positionen der darin zu formenden Dehnungsmeßstreifen und die Art ihrer Verbindung angibt, ist es möglich einen sehr leistungsfähigen Halbleiterbeschleunigungssensor mit geringen Kosten zu erzeugen. Ein Halbleiterbeschleunigungssensor dieser Art ist für verschiedene Verwendungen geeignet, um nicht nur die Verwendung in der Automobilindustrie zu erwähnen.There the present invention aims to improve the measurement sensitivity and the sturgeon and Offset issues without the need for extra steps Decrease by configuring the out of a semiconductor shaped semiconductor acceleration sensor, the number and positions the strain gauges to be formed therein and the nature of their Indicates connection, it is possible a very powerful To produce semiconductor acceleration sensor with low cost. A semiconductor acceleration sensor of this kind is for various Uses suitable to not only use in the automotive industry too mention.

Claims (2)

Halbleiterbeschleunigungssensor, der aus einem Halbleiter geformt ist, wobei er umfasst: ein Gewicht (901) mit einem zentralen, quadratischen, dickwandigen Bereich (901A) und vier quadratischen, dickwandigen Ausstülpungen (901A, 901B, 901C, 901D), die auf den jeweiligen Seiten des zentralen Bereichs geformt sind, wobei die Seiten davon untereinander einen rechten Winkel um den Mittelpunkt des zentralen Bereichs bilden, einen dickwandigen Träger (906), mit einer quadratischen, inneren Öffnung, die in einem vorgegebenen Abstand von den äußeren Seiten der Ausstülpungen des Gewichts entfernt derart angeordnet ist, dass sie das Gewicht umgibt, vier dünnwandige Balken (902, 903, 904, 905) zum Verbinden den der einen Seiten der Ausstülpungen des Gewichts, wobei die Seiten davon untereinander einen rechten Winkel um den Mittelpunkt des zentralen Bereichs bilden, und jeweils in den Balken geformten Dehnungsmessstreifen (902A, 902B, 903A, 903B, 904A, 904B, 905A, 905B), wobei die in den vier Balken geformten Dehnungsmessstreifen des Halbleiterbeschleunigungssensors vier Dehnungsmessstreifen auf einer ersten Seite umfassen, wobei diese vier Dehnungsmessstreifen in den oberen Oberflächen der Verbindungen zwischen den Balken und dem Träger jeweils in der Längsrichtung der Balken geformt sind, und vier Dehnungsmessstreifen auf einer zweiten Seite umfassen, wobei diese vier Dehungsmessstreifen in den oberen Oberflächen der Verbindungen zwischen den Balken und dem Gewicht jeweils in der Längsrichtung der Balken geformt sind, wodurch eine Wheatstone-Brücke gebildet wird, indem zwei Dehnungsmessstreifen von den vier Dehnungsmessstreifen, die die Dehnungsmessstreifen der ersten Seite bilden den verbleibenden zwei symmetrisch zum Mittelpunkt des Gewichts gegenüberliegen und indem zwei Dehnungsmessstreifen von den vier Dehnungsmessstreifen, die die Dehnungsmessstreifen der zweiten Seite bilden den verbleibenden zwei symmetrisch zum Mittelpunkt des Gewichts gegenüberliegen, dadurch gekennzeichnet, dass Passivierungsfilme (910) auf den Oberflächen der Balken mit den darin geformten Dehnungsmessstreifen in dem Halbleiterbeschleunigungssensor geformt sind.A semiconductor acceleration sensor formed from a semiconductor, comprising: a weight ( 901 ) with a central, square, thick-walled area ( 901A ) and four square, thick-walled protuberances ( 901A . 901B . 901C . 901D ) formed on the respective sides of the central region, the sides of which form a right angle with each other about the center of the central region, a thick-walled support (FIG. 906 ), with a square, inner opening located at a predetermined distance from the outer sides of the protuberances of the weight so as to surround the weight, four thin-walled beams (FIG. 902 . 903 . 904 . 905 ) for joining the one side of the protuberances of the weight, the sides of which form a right angle with each other about the center of the central area, and strain gauges (each in the bar) 902A . 902B . 903A . 903B . 904A . 904B . 905A . 905B ), wherein the strain gauges formed in the four bars of the semiconductor acceleration sensor comprise four strain gauges on a first side, wherein these four strain gauges are formed in the upper surfaces of the joints between the beams and the beam respectively in the longitudinal direction of the beams, and four strain gauges on one second side, wherein these four strain gauges are formed in the upper surfaces of the connections between the beams and the weight respectively in the longitudinal direction of the beams, whereby a Wheatstone bridge is formed by two strain gauges of the four strain gauges, the strain gauges of the first Side form the remaining two symmetrically opposite to the center of the weight and putting two deh of the four strain gauges, which constitute the second side strain gauges forming the remaining two symmetrical with respect to the center of the weight, characterized in that passivation films ( 910 ) are formed on the surfaces of the beams having the strain gauges formed therein in the semiconductor acceleration sensor. Halbleiterbeschleunigungssensor nach Anspruch 1, dadurch gekennzeichnet, dass der Sensor in einem Behälter angeordnet ist, der ein inertes Gas enthält.Semiconductor acceleration sensor according to claim 1, characterized in that the sensor is arranged in a container is that contains an inert gas.
DE4345552A 1992-03-25 1993-03-25 Semiconductor accelerometer Expired - Lifetime DE4345552B4 (en)

Priority Applications (1)

Application Number Priority Date Filing Date Title
DE19934309786 DE4309786B4 (en) 1992-03-25 1993-03-25 Elastomeric e.g. silicone encapsulation for optical connected to support - has two thin beam pairs for connection, with beams in each pair symmetric w.r.t. each other, and with two differing response characteristic strain gauges formed on each beam upper surface

Applications Claiming Priority (5)

Application Number Priority Date Filing Date Title
JP4066470A JP2831195B2 (en) 1992-03-25 1992-03-25 Semiconductor acceleration sensor
JPP4-66470 1992-03-25
JPP4-227651 1992-08-27
JP04227651A JP3115427B2 (en) 1991-11-28 1992-08-27 Semiconductor acceleration sensor
DE19934309786 DE4309786B4 (en) 1992-03-25 1993-03-25 Elastomeric e.g. silicone encapsulation for optical connected to support - has two thin beam pairs for connection, with beams in each pair symmetric w.r.t. each other, and with two differing response characteristic strain gauges formed on each beam upper surface

Publications (1)

Publication Number Publication Date
DE4345552B4 true DE4345552B4 (en) 2007-04-26

Family

ID=37905593

Family Applications (2)

Application Number Title Priority Date Filing Date
DE4345552A Expired - Lifetime DE4345552B4 (en) 1992-03-25 1993-03-25 Semiconductor accelerometer
DE4345551A Expired - Lifetime DE4345551B4 (en) 1992-03-25 1993-03-25 Elastomeric e.g. silicone encapsulation for optical connected to support - has two thin beam pairs for connection, with beams in each pair symmetric w.r.t. each other, and with two differing response characteristic strain gauges formed on each beam upper surface

Family Applications After (1)

Application Number Title Priority Date Filing Date
DE4345551A Expired - Lifetime DE4345551B4 (en) 1992-03-25 1993-03-25 Elastomeric e.g. silicone encapsulation for optical connected to support - has two thin beam pairs for connection, with beams in each pair symmetric w.r.t. each other, and with two differing response characteristic strain gauges formed on each beam upper surface

Country Status (1)

Country Link
DE (2) DE4345552B4 (en)

Citations (3)

* Cited by examiner, † Cited by third party
Publication number Priority date Publication date Assignee Title
DE3009091A1 (en) * 1980-03-10 1981-09-17 Siemens AG, 1000 Berlin und 8000 München Measurement spring plate insensitive to lateral forces - has interleaved angled slots separated by sections of thinned material
US4553436A (en) * 1982-11-09 1985-11-19 Texas Instruments Incorporated Silicon accelerometer
US4641539A (en) * 1984-08-08 1987-02-10 Texas Instruments Incorporated Sensor responding to the action of a force

Patent Citations (3)

* Cited by examiner, † Cited by third party
Publication number Priority date Publication date Assignee Title
DE3009091A1 (en) * 1980-03-10 1981-09-17 Siemens AG, 1000 Berlin und 8000 München Measurement spring plate insensitive to lateral forces - has interleaved angled slots separated by sections of thinned material
US4553436A (en) * 1982-11-09 1985-11-19 Texas Instruments Incorporated Silicon accelerometer
US4641539A (en) * 1984-08-08 1987-02-10 Texas Instruments Incorporated Sensor responding to the action of a force

Also Published As

Publication number Publication date
DE4345551B4 (en) 2007-04-26

Similar Documents

Publication Publication Date Title
DE19921863B4 (en) Semiconductor sensor for a dynamic size with electrodes in a frame structure
DE69013540T2 (en) Capacitive accelerometer with test mass in the middle plane.
DE19906067B4 (en) Semiconductor Physical Size Sensor and Method of Making the Same
DE69126501T2 (en) Force detector and acceleration detector
DE3741941C2 (en)
DE69010525T2 (en) Capacitive accelerometer with force compensation and predetermined return spring force.
DE3780242T2 (en) SEMICONDUCTOR ACCELEROMETER.
DE69315544T2 (en) Integrated accelerometer with measuring axis parallel to the substrate
DE69424557T2 (en) PRESSURE TRANSFORMER WITH SUSPENSED MEMBRANE
DE69023025T2 (en) Capacitive accelerometer with independently adjustable damping and sensitivity.
DE4016471A1 (en) MICROMECHANICAL INCLINATION SENSOR
EP0494143B1 (en) Device for measuring mechanical forces and dynamic effects
DE102009000167A1 (en) sensor arrangement
DE4133009A1 (en) CAPACITIVE PRESSURE SENSOR AND PRODUCTION METHOD THEREFOR
DE102008040525A1 (en) Micromechanical sensor element, method for producing a micromechanical sensor element and method for operating a micromechanical sensor element
DE4203833C2 (en) Process for the manufacture of silicon semiconductor accelerometer devices
DE102004013583B4 (en) Sensor for a physical size with a bar
DE69714204T2 (en) pressure monitor
DE19531058A1 (en) Semiconductor acceleration sensor for e.g. pressure sensor with integrated computer chip
DE4309786B4 (en) Elastomeric e.g. silicone encapsulation for optical connected to support - has two thin beam pairs for connection, with beams in each pair symmetric w.r.t. each other, and with two differing response characteristic strain gauges formed on each beam upper surface
DE3824695C2 (en)
DE19903585A1 (en) Semiconductor sensor for medical or automotive industries, or other areas, e.g. for measuring and calibration
DE4419267A1 (en) Semiconductor acceleration sensor and test method therefor
DE3742385A1 (en) Acceleration-sensitive electronic component
DE4345552B4 (en) Semiconductor accelerometer

Legal Events

Date Code Title Description
AC Divided out of

Ref document number: 4309786

Country of ref document: DE

Kind code of ref document: P

AC Divided out of

Ref document number: 4309786

Country of ref document: DE

Kind code of ref document: P

8364 No opposition during term of opposition
8327 Change in the person/name/address of the patent owner

Owner name: FUJITSU TEN LTD., KOBE-SHI, HYOGO, JP

Owner name: FUJI ELECTRIC SYSTEMS CO., LTD., TOKYO/TOKIO, JP

8320 Willingness to grant licences declared (paragraph 23)
R081 Change of applicant/patentee

Owner name: FUJI ELECTRIC CO., LTD., KAWASAKI-SHI, JP

Free format text: FORMER OWNERS: FUJI ELECTRIC SYSTEMS CO., LTD., TOKYO/TOKIO, JP; FUJITSU TEN LTD., KOBE-SHI, HYOGO, JP

Effective date: 20110826

Owner name: FUJITSU TEN LTD., KOBE-SHI, JP

Free format text: FORMER OWNERS: FUJI ELECTRIC SYSTEMS CO., LTD., TOKYO/TOKIO, JP; FUJITSU TEN LTD., KOBE-SHI, HYOGO, JP

Effective date: 20110826

Owner name: FUJITSU TEN LTD., JP

Free format text: FORMER OWNER: FUJI ELECTRIC SYSTEMS CO., LTD., FUJITSU TEN LTD., , JP

Effective date: 20110826

Owner name: FUJI ELECTRIC CO., LTD., JP

Free format text: FORMER OWNER: FUJI ELECTRIC SYSTEMS CO., LTD., FUJITSU TEN LTD., , JP

Effective date: 20110826

R082 Change of representative

Representative=s name: GRUENECKER PATENT- UND RECHTSANWAELTE PARTG MB, DE

Effective date: 20110826

Representative=s name: GRUENECKER, KINKELDEY, STOCKMAIR & SCHWANHAEUS, DE

Effective date: 20110826

R071 Expiry of right
R071 Expiry of right