DE102016219552B4 - Method and device for operating an internal combustion engine - Google Patents
Method and device for operating an internal combustion engine Download PDFInfo
- Publication number
- DE102016219552B4 DE102016219552B4 DE102016219552.2A DE102016219552A DE102016219552B4 DE 102016219552 B4 DE102016219552 B4 DE 102016219552B4 DE 102016219552 A DE102016219552 A DE 102016219552A DE 102016219552 B4 DE102016219552 B4 DE 102016219552B4
- Authority
- DE
- Germany
- Prior art keywords
- internal combustion
- value
- delay period
- combustion engine
- temperature
- Prior art date
- Legal status (The legal status is an assumption and is not a legal conclusion. Google has not performed a legal analysis and makes no representation as to the accuracy of the status listed.)
- Active
Links
- 238000002485 combustion reaction Methods 0.000 title claims abstract description 85
- 238000000034 method Methods 0.000 title claims abstract description 25
- 238000002347 injection Methods 0.000 claims abstract description 77
- 239000007924 injection Substances 0.000 claims abstract description 77
- 239000000446 fuel Substances 0.000 claims abstract description 24
- 239000000498 cooling water Substances 0.000 claims description 3
- 230000003213 activating effect Effects 0.000 claims 1
- 239000002245 particle Substances 0.000 description 8
- 239000003344 environmental pollutant Substances 0.000 description 5
- 231100000719 pollutant Toxicity 0.000 description 5
- 230000003111 delayed effect Effects 0.000 description 4
- 230000006870 function Effects 0.000 description 4
- 230000001052 transient effect Effects 0.000 description 3
- 230000007704 transition Effects 0.000 description 3
- 230000004913 activation Effects 0.000 description 2
- 230000001419 dependent effect Effects 0.000 description 2
- 239000000203 mixture Substances 0.000 description 2
- 230000009467 reduction Effects 0.000 description 2
- 230000003068 static effect Effects 0.000 description 2
- 230000006399 behavior Effects 0.000 description 1
- 230000008859 change Effects 0.000 description 1
- 230000006835 compression Effects 0.000 description 1
- 238000007906 compression Methods 0.000 description 1
- 238000007796 conventional method Methods 0.000 description 1
- 238000011161 development Methods 0.000 description 1
- 230000018109 developmental process Effects 0.000 description 1
- 238000001704 evaporation Methods 0.000 description 1
- 230000008020 evaporation Effects 0.000 description 1
- 238000010304 firing Methods 0.000 description 1
- 239000012530 fluid Substances 0.000 description 1
- 239000002828 fuel tank Substances 0.000 description 1
- 239000003502 gasoline Substances 0.000 description 1
- 230000015654 memory Effects 0.000 description 1
- 230000000717 retained effect Effects 0.000 description 1
- 230000002123 temporal effect Effects 0.000 description 1
Images
Classifications
-
- F—MECHANICAL ENGINEERING; LIGHTING; HEATING; WEAPONS; BLASTING
- F02—COMBUSTION ENGINES; HOT-GAS OR COMBUSTION-PRODUCT ENGINE PLANTS
- F02D—CONTROLLING COMBUSTION ENGINES
- F02D41/00—Electrical control of supply of combustible mixture or its constituents
- F02D41/30—Controlling fuel injection
- F02D41/38—Controlling fuel injection of the high pressure type
- F02D41/40—Controlling fuel injection of the high pressure type with means for controlling injection timing or duration
- F02D41/402—Multiple injections
-
- F—MECHANICAL ENGINEERING; LIGHTING; HEATING; WEAPONS; BLASTING
- F02—COMBUSTION ENGINES; HOT-GAS OR COMBUSTION-PRODUCT ENGINE PLANTS
- F02D—CONTROLLING COMBUSTION ENGINES
- F02D35/00—Controlling engines, dependent on conditions exterior or interior to engines, not otherwise provided for
- F02D35/02—Controlling engines, dependent on conditions exterior or interior to engines, not otherwise provided for on interior conditions
- F02D35/025—Controlling engines, dependent on conditions exterior or interior to engines, not otherwise provided for on interior conditions by determining temperatures inside the cylinder, e.g. combustion temperatures
-
- F—MECHANICAL ENGINEERING; LIGHTING; HEATING; WEAPONS; BLASTING
- F02—COMBUSTION ENGINES; HOT-GAS OR COMBUSTION-PRODUCT ENGINE PLANTS
- F02D—CONTROLLING COMBUSTION ENGINES
- F02D41/00—Electrical control of supply of combustible mixture or its constituents
- F02D41/30—Controlling fuel injection
- F02D41/38—Controlling fuel injection of the high pressure type
- F02D41/40—Controlling fuel injection of the high pressure type with means for controlling injection timing or duration
-
- F—MECHANICAL ENGINEERING; LIGHTING; HEATING; WEAPONS; BLASTING
- F02—COMBUSTION ENGINES; HOT-GAS OR COMBUSTION-PRODUCT ENGINE PLANTS
- F02D—CONTROLLING COMBUSTION ENGINES
- F02D41/00—Electrical control of supply of combustible mixture or its constituents
- F02D41/02—Circuit arrangements for generating control signals
- F02D41/14—Introducing closed-loop corrections
- F02D41/1401—Introducing closed-loop corrections characterised by the control or regulation method
- F02D2041/1413—Controller structures or design
- F02D2041/1431—Controller structures or design the system including an input-output delay
-
- Y—GENERAL TAGGING OF NEW TECHNOLOGICAL DEVELOPMENTS; GENERAL TAGGING OF CROSS-SECTIONAL TECHNOLOGIES SPANNING OVER SEVERAL SECTIONS OF THE IPC; TECHNICAL SUBJECTS COVERED BY FORMER USPC CROSS-REFERENCE ART COLLECTIONS [XRACs] AND DIGESTS
- Y02—TECHNOLOGIES OR APPLICATIONS FOR MITIGATION OR ADAPTATION AGAINST CLIMATE CHANGE
- Y02T—CLIMATE CHANGE MITIGATION TECHNOLOGIES RELATED TO TRANSPORTATION
- Y02T10/00—Road transport of goods or passengers
- Y02T10/10—Internal combustion engine [ICE] based vehicles
- Y02T10/40—Engine management systems
Landscapes
- Engineering & Computer Science (AREA)
- Chemical & Material Sciences (AREA)
- Combustion & Propulsion (AREA)
- Mechanical Engineering (AREA)
- General Engineering & Computer Science (AREA)
- Combined Controls Of Internal Combustion Engines (AREA)
- Electrical Control Of Air Or Fuel Supplied To Internal-Combustion Engine (AREA)
Abstract
Verfahren zum Betreiben einer Brennkraftmaschine (106), umfassend:
- Empfangen einer Anforderung (U) für eine Mehrfacheinspritzung von Kraftstoff in einen Brennraum (102) der Brennkraftmaschine (106),
- Ermitteln eines Werts einer Temperatur in dem Brennraum (102) der Brennkraftmaschine (106),
- Ermitteln des Werts eines Verzögerungszeitraums (T) in Abhängigkeit von dem ermittelten Wert der Temperatur,
- Senden des ermittelten Werts des Verzögerungszeitraums (T).
- Empfangen des ermittelten Werts des Verzögerungszeitraums (T),
- Verzögern der Ausführung der Anforderung (U) um den Wert des Verzögerungszeitraums (T),
- Ausführen der Anforderung (U) nach dem Verzögerungszeitraum (T), wenn die Anforderung (U) noch nach dem Verzögerungszeitraum (T) empfangen wird.
A method of operating an internal combustion engine (106), comprising:
Receiving a request (U) for a multiple injection of fuel into a combustion chamber (102) of the internal combustion engine (106),
Determining a value of a temperature in the combustion chamber (102) of the internal combustion engine (106),
Determining the value of a delay period (T) as a function of the determined value of the temperature,
- Sending the determined value of the delay period (T).
Receiving the determined value of the delay period (T),
Delaying the execution of the request (U) by the value of the delay period (T),
- Executing the request (U) after the delay period (T), if the request (U) is still received after the delay period (T).
Description
Die Erfindung betrifft ein Verfahren zum Betreiben einer Brennkraftmaschine. Die Erfindung betrifft weiterhin eine Vorrichtung zum Betreiben einer Brennkraftmaschine, die ausgebildet ist, das Verfahren durchzuführen.The invention relates to a method for operating an internal combustion engine. The invention further relates to an apparatus for operating an internal combustion engine, which is designed to carry out the method.
Brennkraftmaschinen sind häufig dazu ausgelegt, hohe Drehmomente zu erzeugen, welche große Einspritzmengen erfordern. Andererseits erfordern gesetzliche Vorschriften bezüglich der zulässigen Schadstoffemissionen von Brennkraftmaschinen, die in Kraftfahrzeugen angeordnet sind, diverse Maßnahmen vorzunehmen, durch die Schadstoffemissionen geringgehalten werden. Ein Ansatzpunkt hierbei ist, ein als Kraftstoff benötigtes Fluid möglichst genau dosieren zu können und die von der Brennkraftmaschine erzeugten Schadstoffemissionen zu senken. Ein gewisses Nachtropfen von Kraftstoff ist jedoch unter Berücksichtigung vertretbarer Kosten kaum zu vermeiden. Das Nachtropfen hat wiederum Schadstoffemissionen zur Folge.Internal combustion engines are often designed to produce high torques requiring large injection quantities. On the other hand, legal regulations regarding the permissible pollutant emissions of internal combustion engines, which are arranged in motor vehicles, require various measures to be taken by which pollutant emissions are kept low. A starting point here is to be able to meter a fluid required as fuel as accurately as possible and to reduce the pollutant emissions generated by the internal combustion engine. However, a certain dripping of fuel is hardly avoidable, taking into account reasonable costs. The dripping in turn results in pollutant emissions.
In der
Die
In der
Die
In der
Die
Es ist wünschenswert, ein Verfahren sowie eine korrespondierende Vorrichtung zum Betreiben einer Brennkraftmaschine anzugeben, die einen zuverlässigen Betrieb der Brennkraftmaschine ermöglicht.It is desirable to provide a method and a corresponding device for operating an internal combustion engine, which enables reliable operation of the internal combustion engine.
Die Erfindung zeichnet sich aus durch ein Verfahren und eine korrespondierende Vorrichtung zum Betreiben einer Brennkraftmaschine.The invention is characterized by a method and a corresponding device for operating an internal combustion engine.
Gemäß der Erfindung wird eine Anforderung für eine Mehrfacheinspritzung von Kraftstoff in einen Brennraum der Brennkraftmaschine empfangen. Ein Wert eines Verzögerungszeitraums wird empfangen. Die Ausführung der Anforderung wird um den Wert des Verzögerungszeitraums verzögert. Die Anforderung wird nach dem Verzögerungszeitraum ausgeführt, wenn die Anforderung noch nach dem Verzögerungszeitraum empfangen wird. According to the invention, a request for multiple injection of fuel into a combustion chamber of the internal combustion engine is received. A value of a delay period is received. The execution of the request is delayed by the value of the delay period. The request is executed after the delay period if the request is still received after the delay period.
Es wird ein Wert einer Temperatur in dem Brennraum der Brennkraftmaschine ermittelt. Der Wert des Verzögerungszeitraums wird in Abhängigkeit von dem ermittelten Wert der Temperatur ermittelt. Der ermittelte Wert des Verzögerungszeitraums wird gesendet und kann folglich empfangen werden, um die Ausführung der Anforderung um den ermittelten Wert des Verzögerungszeitraums zu verzögern. Aufgrund der brennraumtemperaturabhängigen Verzögerung der Umschaltung auf Mehrfacheinspritzung ist eine möglichst lange Betriebsdauer in den partikelgünstigen Bereichen möglich. Dennoch wird rechtzeitig bedarfsgerecht die Mehrfacheinspritzung bei hochlastigem Betrieb aktiviert, um klopfende Verbrennungen möglichst zu vermeiden und die vollständige Motorperformance zu erhalten.A value of a temperature in the combustion chamber of the internal combustion engine is determined. The value of the delay period is determined as a function of the determined value of the temperature. The determined value of the delay period is sent and can thus be received to delay the execution of the request by the determined value of the delay period. Due to the combustion chamber temperature-dependent delay of the switchover to multiple injection, the longest possible service life in the particle-favorable regions is possible. Nevertheless, the multi-injection is activated in a timely manner as needed in high-load operation to avoid knocking burns as possible and to obtain the full engine performance.
Beispielsweise erfolgt eine Anforderung für eine Mehrfacheinspritzung bei einem Lastanstieg der Brennkraftmaschine. Die Mehrfacheinspritzung wird beispielsweise von der Motorsteuerung angefordert, um auch im höheren Lastbereich die Klopfgefahr der Brennkraftmaschine zu reduzieren. Die Umschaltung auf Mehrfacheinspritzung ist jedoch bei einem Lastanstieg selbst im klopfgefährdeten Bereich nicht unmittelbar notwendig, da die Brennraumtemperatur vom vormals niedrigeren Lastpunkt noch keine für das Klopfen kritischen Werte aufweist. Die Temperatur steigt erst mit einer Verzögerung an.For example, a request for a multiple injection occurs at a load increase of the internal combustion engine. The multiple injection is requested for example by the engine control in order to reduce the risk of knocking of the internal combustion engine even in the higher load range. Switching to multiple injection, however, is not immediately necessary in the event of a load increase, even in the region where there is a risk of knocking, since the combustion chamber temperature of the previously lower load point does not yet have critical values for knocking. The temperature only increases with a delay.
Bei Einspritzventilkonzepten mit einem Nachtropfen nach einer erfolgten Einspritzung, beispielsweise aufgrund eines Prellens der Ventilnadel beim Schließen, kann eine Gemischwolke mit Luftmangel um die Injektorspitze auftreten. Diese lokale Überfettung im Brennraum kann zu einer Erhöhung der Partikelanzahlemission führen.In injector concepts with a dripping after a successful injection, for example, due to a bounce of the valve needle when closing, a mixture cloud can occur with lack of air around the injector tip. This local superfatting in the combustion chamber can lead to an increase in the particle number emission.
Aufgrund der anmeldungsgemäßen Verzögerungszeit wird nur dann die Anforderung auf die Mehrfacheinspritzung ausgeführt, wenn nach der Verzögerungszeit immer noch der Bedarf für die Mehrfacheinspritzung vorliegt. Somit werden insgesamt weniger Einspritzungen ausgeführt. Bei einer Einfacheinspritzung tritt das Nachtropfen nämlich nur einmal auf. Bei einer Mehrfacheinspritzung beispielsweise aufgeteilt auf drei Einspritzungen tritt das Nachtropfen dreimal auf. Somit ist es beispielsweise mit dem anmeldungsgemäßen Verfahren möglich, die Abgasnorm EU6c zu erfüllen, die neben der von einer Otto-Brennkraftmaschine emittierten Partikelmasse auch die Partikelanzahl limitiert vorgibt.Due to the delay time according to the application, the request for multiple injection is executed only if the demand for the multiple injection still exists after the delay time. Thus, a total of fewer injections are performed. In a single injection, dripping only occurs once. In a multiple injection, for example, divided into three injections dripping occurs three times. Thus, it is possible, for example with the method according to the application, to comply with the exhaust emission standard EU6c, which also specifies the particle number in addition to the particle mass emitted by an Otto internal combustion engine.
Aufgrund der Verzögerung der Ausführung des Umschaltens auf Mehrfacheinspritzung wird insbesondere im realen, dynamischen Fahrbetrieb mit stark wechselnden Lasten die Mehrfacheinspritzung weniger häufig aktiviert als herkömmlich. Somit ist es möglich, die Anzahl der emittierten Partikel zu reduzieren. Durch die lastabhängige, aber verzögerte Umschaltung auf Mehrfacheinspritzung ist es möglich, die Brennkraftmaschine über eine deutlich verlängerte Betriebsdauer in dem partikelgünstigen Bereich zu bewegen. Dabei bleibt jedoch auch die vollständige Motorperformance hinsichtlich Klopfverhalten erhalten, da die Mehrfacheinspritzung bedarfsgerecht aktiviert wird.Due to the delay of the execution of switching to multiple injection, the multiple injection is activated less frequently than in conventional, especially in real, dynamic driving with heavily changing loads. Thus, it is possible to reduce the number of emitted particles. Due to the load-dependent, but delayed switching to multiple injection, it is possible to move the internal combustion engine over a significantly extended operating time in the particle-favorable range. However, the complete engine performance with respect to knocking behavior is retained, since the multiple injection is activated as needed.
Vorteilhafterweise ist der Wert des Verzögerungszeitraums ein fest vorgegebener Wert. Beispielsweise ist der Wert des Verzögerungszeitraums 3 Sekunden oder mehr, beispielsweise 4 Sekunden, oder 5 Sekunden. Der fest vorgegebene Wert basiert insbesondere in Abhängigkeit der Brennkraftmaschine auf einem im Vorfeld ermittelten herkömmlichen Temperaturanstieg bei einem Lastanstieg. Der Wert der Temperatur in dem Brennraum der Brennkraftmaschine wird beispielsweise mittels eines Modells ermittelt. Alternativ oder zusätzlich wird der Wert der Temperatur in Abhängigkeit einer Kühlwassertemperatur und/oder einer Ansauglufttemperatur und/oder einer Rohabgastemperatur ermittelt.Advantageously, the value of the delay period is a fixed value. For example, the value of the delay period is 3 seconds or more, for example 4 seconds, or 5 seconds. The fixed value is based in particular on the internal combustion engine on a previously determined conventional temperature rise at a load increase. The value of the temperature in the combustion chamber of the internal combustion engine is determined, for example, by means of a model. Alternatively or additionally, the value of the temperature is determined as a function of a cooling water temperature and / or an intake air temperature and / or a raw exhaust gas temperature.
Gemäß Ausführungsformen wird die Mehrfacheinspritzung auch schon innerhalb des Verzögerungszeitraums aktiviert, wenn ein Klopfen der Brennkraftmaschine ermittelt wurde. Wenn beispielsweise ein Klopfsensor der Brennkraftmaschine ein Klopfen ermittelt, die Verzögerungszeit aber noch nicht abgelaufen ist, wird trotzdem auf Mehrfacheinspritzung umgeschaltet. Wenn tatsächlich ein Klopfen auftritt, lässt sich somit die Ausführung der Mehrfacheinspritzung direkt, ohne Verzögerung aktivieren. Dies führt zu einer Robustheitserhöhung.According to embodiments, the multiple injection is already activated within the delay period when knocking of the internal combustion engine has been determined. If, for example, a knock sensor of the internal combustion engine detects a knock, but the delay time has not yet elapsed, it nevertheless switches over to multiple injection. Thus, when a knock actually occurs, the execution of the multiple injection can be directly activated without delay. This leads to a ruggedness increase.
Weitere Vorteile, Merkmale und Weiterbildungen ergeben sich aus den nachfolgenden, in Verbindung mit den
Es zeigen:
-
1 eine schematische Darstellung eines Systems mit einer Brennkraftmaschine gemäß einer Ausführungsform, -
2 eine schematische Darstellung eines Verfahrens gemäß einer Ausführungsform, -
3 eine schematische Darstellung eines Verfahrens gemäß einer Ausführungsform, und -
4 eine schematische Darstellung einer Temperaturverzögerung gemäß einer Ausführungsform.
-
1 1 is a schematic representation of a system with an internal combustion engine according to an embodiment, -
2 a schematic representation of a method according to an embodiment, -
3 a schematic representation of a method according to an embodiment, and -
4 a schematic representation of a temperature delay according to an embodiment.
Bei den Einspritzventilen
Eine Vorrichtung
Wie sich beispielsweise aus
Bei einem Verfahren gemäß
In Schritt
Die Mehrfacheinspritzung wird in Schritt
Beispielsweise bei einer Anfahrt nach einer roten Ampel wird das Kraftfahrzeug unter hohen Lastanforderungen beschleunigt. Dies dauert jedoch erfahrungsgemäß kürzer, als der Wert des Verzögerungszeitraums
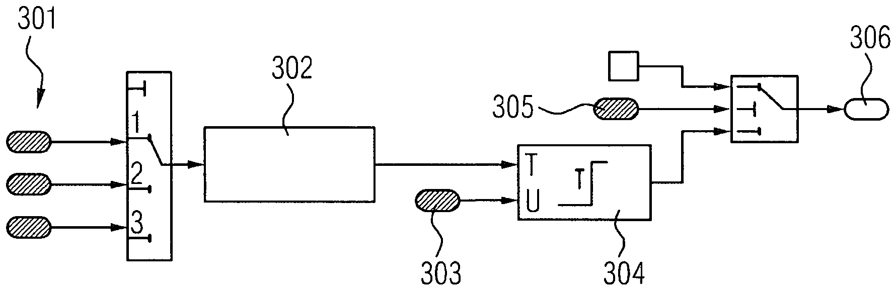
Bei einem Verfahren gemäß
Beispielsweise wird in Schritt
Im Schritt
Die Mehrfacheinspritzung wird in Schritt
The multiple injection will be in
Wird in Schritt
Der Wert des Verzögerungszeitraums
Aus den im Brennraum existierenden Temperaturverhältnissen wird der Wert des Verzögerungszeitraums
Mit dem anmeldungsgemäßen Verfahren ist auch bei Einspritzventilen mit Nachtropfen eine Reduzierung der Partikelanzahl möglich. Somit ist beispielsweise ein Erfüllen der Abgasnorm EU6c auch bei Otto-Verbrennungsmotoren möglich.With the method according to the application, a reduction in the number of particles is also possible with injection valves with dripping. Thus, for example, a fulfillment of the emission standard EU6c is also possible in gasoline internal combustion engines.
BezugszeichenlisteLIST OF REFERENCE NUMBERS
- 100100
- Systemsystem
- 101101
- KraftstoffverteilerFuel distributor
- 102102
- Brennraumcombustion chamber
- 103103
- EinspritzventilInjector
- 106106
- BrennkraftmaschineInternal combustion engine
- 107107
- Kurbelwellecrankshaft
- 110110
- Vorrichtung device
- 201 - 204201-204
- Verfahrensschritte steps
- 301 - 306301 - 306
- Verfahrensschritte steps
- 401401
- Temperaturtemperature
- 402402
- BereichArea
- 403403
- Verzögerungdelay
- 404404
- Mitteldruckmedium pressure
- 405405
- Zündwinkel firing angle
- TT
- VerzögerungszeitraumDelay period
- UU
- AnforderungRequirement
Claims (6)
Priority Applications (1)
| Application Number | Priority Date | Filing Date | Title |
|---|---|---|---|
| DE102016219552.2A DE102016219552B4 (en) | 2016-10-07 | 2016-10-07 | Method and device for operating an internal combustion engine |
Applications Claiming Priority (1)
| Application Number | Priority Date | Filing Date | Title |
|---|---|---|---|
| DE102016219552.2A DE102016219552B4 (en) | 2016-10-07 | 2016-10-07 | Method and device for operating an internal combustion engine |
Publications (2)
| Publication Number | Publication Date |
|---|---|
| DE102016219552A1 DE102016219552A1 (en) | 2018-04-12 |
| DE102016219552B4 true DE102016219552B4 (en) | 2019-06-13 |
Family
ID=61695991
Family Applications (1)
| Application Number | Title | Priority Date | Filing Date |
|---|---|---|---|
| DE102016219552.2A Active DE102016219552B4 (en) | 2016-10-07 | 2016-10-07 | Method and device for operating an internal combustion engine |
Country Status (1)
| Country | Link |
|---|---|
| DE (1) | DE102016219552B4 (en) |
Citations (6)
| Publication number | Priority date | Publication date | Assignee | Title |
|---|---|---|---|---|
| DE68905482T2 (en) | 1989-08-03 | 1993-06-24 | Bosch Gmbh Robert | DEVICE FOR CONTROLLING A CONTROL INDICATOR OF AN INTERNAL INTERNAL COMBUSTION ENGINE TO A PREDICTED VALUE. |
| DE19628655C1 (en) | 1996-07-16 | 1998-01-15 | Siemens Ag | Ensuring smooth transitions when changing operating states of vehicle IC engine |
| DE19908729A1 (en) | 1999-03-01 | 2000-09-07 | Bosch Gmbh Robert | Fuel injection method for an internal combustion engine |
| DE102013217928A1 (en) | 2012-09-13 | 2014-03-13 | GM Global Technology Operations, LLC (n.d. Ges. d. Staates Delaware) | A system and method for controlling fuel injection in an engine based on a piston temperature |
| DE102014216496A1 (en) | 2013-08-23 | 2015-02-26 | Ford Global Technologies, Llc | METHOD AND SYSTEM FOR BUTTON CONTROL |
| AT515563A1 (en) | 2014-03-21 | 2015-10-15 | Avl List Gmbh | Method for operating a direct-injection, spark-ignited internal combustion engine |
-
2016
- 2016-10-07 DE DE102016219552.2A patent/DE102016219552B4/en active Active
Patent Citations (6)
| Publication number | Priority date | Publication date | Assignee | Title |
|---|---|---|---|---|
| DE68905482T2 (en) | 1989-08-03 | 1993-06-24 | Bosch Gmbh Robert | DEVICE FOR CONTROLLING A CONTROL INDICATOR OF AN INTERNAL INTERNAL COMBUSTION ENGINE TO A PREDICTED VALUE. |
| DE19628655C1 (en) | 1996-07-16 | 1998-01-15 | Siemens Ag | Ensuring smooth transitions when changing operating states of vehicle IC engine |
| DE19908729A1 (en) | 1999-03-01 | 2000-09-07 | Bosch Gmbh Robert | Fuel injection method for an internal combustion engine |
| DE102013217928A1 (en) | 2012-09-13 | 2014-03-13 | GM Global Technology Operations, LLC (n.d. Ges. d. Staates Delaware) | A system and method for controlling fuel injection in an engine based on a piston temperature |
| DE102014216496A1 (en) | 2013-08-23 | 2015-02-26 | Ford Global Technologies, Llc | METHOD AND SYSTEM FOR BUTTON CONTROL |
| AT515563A1 (en) | 2014-03-21 | 2015-10-15 | Avl List Gmbh | Method for operating a direct-injection, spark-ignited internal combustion engine |
Also Published As
| Publication number | Publication date |
|---|---|
| DE102016219552A1 (en) | 2018-04-12 |
Similar Documents
| Publication | Publication Date | Title |
|---|---|---|
| DE102013217928B4 (en) | A method of controlling fuel injection in an engine based on a piston temperature | |
| DE102017114105B4 (en) | System and method for controlling an engine based on piston temperature deviation | |
| DE102016224919B4 (en) | Fuel injection system, fuel injection control device and method | |
| DE112014001728B4 (en) | Control of an internal combustion engine | |
| DE112015000492T5 (en) | Torque compensation for detonation | |
| WO2002020981A1 (en) | Method for adaptively controlling knocking of a gasoline direct fuel injection internal combustion engine, and a corresponding device | |
| DE112007001746T5 (en) | System and method for operating a turbocharged engine | |
| DE102012208784B3 (en) | Minimizing the combustion noise of an internal combustion engine based on a detection of instability of the position of the maximum of a cylinder pressure gradient | |
| DE102013219701B3 (en) | Method and device for controlling the transition between the operation with overrun fuel cutoff and normal operation of an internal combustion engine operated with direct fuel injection | |
| DE102015122666A1 (en) | Fuel injection control device | |
| DE102018109348A1 (en) | Control device for an internal combustion engine | |
| DE102012020706B4 (en) | Method for operating an internal combustion engine | |
| DE102018130751A1 (en) | PROCEDURE AND METHODS OF MEASURING AND CALCULATING PARTICULATE DELIVERY FROM PETROL ENGINES | |
| AT515563B1 (en) | Method for operating a direct-injection, spark-ignited internal combustion engine | |
| DE102018129771B4 (en) | Control for controlling the ignition timing in a cold start condition for an engine in a vehicle drive system | |
| WO2018068997A1 (en) | Method and device for operating an internal combustion engine | |
| DE102012008125B4 (en) | Method for controlling and regulating an internal combustion engine according to the HCCI combustion method | |
| DE102016219552B4 (en) | Method and device for operating an internal combustion engine | |
| DE102018201150A1 (en) | Control of an internal combustion engine in a transitional mode | |
| DE102016116218B4 (en) | Control device for an internal combustion engine | |
| DE102016200870A1 (en) | Method for operating an internal combustion engine with intake manifold injection and direct injection | |
| DE102010063192B4 (en) | Method for operating an internal combustion engine | |
| DE10042842B4 (en) | Method and device for starting the engine in internal combustion engines operated with gasoline direct injection, in particular with a plurality of cylinder banks | |
| DE102008027151A1 (en) | Method for controlling an internal combustion engine with a temperature-dependent injection parameter | |
| DE102011080925B4 (en) | Double injection to suppress irregular combustion that occurs before a predetermined ignition point |
Legal Events
| Date | Code | Title | Description |
|---|---|---|---|
| R012 | Request for examination validly filed | ||
| R016 | Response to examination communication | ||
| R016 | Response to examination communication | ||
| R018 | Grant decision by examination section/examining division | ||
| R020 | Patent grant now final | ||
| R081 | Change of applicant/patentee |
Owner name: VITESCO TECHNOLOGIES GMBH, DE Free format text: FORMER OWNER: CONTINENTAL AUTOMOTIVE GMBH, 30165 HANNOVER, DE |
|
| R081 | Change of applicant/patentee |
Owner name: SCHAEFFLER TECHNOLOGIES AG & CO. KG, DE Free format text: FORMER OWNER: VITESCO TECHNOLOGIES GMBH, 30165 HANNOVER, DE Owner name: VITESCO TECHNOLOGIES GMBH, DE Free format text: FORMER OWNER: VITESCO TECHNOLOGIES GMBH, 30165 HANNOVER, DE |
|
| R081 | Change of applicant/patentee |
Owner name: SCHAEFFLER TECHNOLOGIES AG & CO. KG, DE Free format text: FORMER OWNER: VITESCO TECHNOLOGIES GMBH, 93055 REGENSBURG, DE |
