DE102011079057A1 - Screw for fastening profile at base profile at e.g. rooftop, has threaded section originating from end of shaft, and collar turned toward screw end at end of threaded section, where diameter of section is larger than diameter of thread - Google Patents
Screw for fastening profile at base profile at e.g. rooftop, has threaded section originating from end of shaft, and collar turned toward screw end at end of threaded section, where diameter of section is larger than diameter of thread Download PDFInfo
- Publication number
- DE102011079057A1 DE102011079057A1 DE102011079057A DE102011079057A DE102011079057A1 DE 102011079057 A1 DE102011079057 A1 DE 102011079057A1 DE 102011079057 A DE102011079057 A DE 102011079057A DE 102011079057 A DE102011079057 A DE 102011079057A DE 102011079057 A1 DE102011079057 A1 DE 102011079057A1
- Authority
- DE
- Germany
- Prior art keywords
- screw
- profile
- diameter
- shoulder
- thread
- Prior art date
- Legal status (The legal status is an assumption and is not a legal conclusion. Google has not performed a legal analysis and makes no representation as to the accuracy of the status listed.)
- Withdrawn
Links
Images
Classifications
-
- F—MECHANICAL ENGINEERING; LIGHTING; HEATING; WEAPONS; BLASTING
- F16—ENGINEERING ELEMENTS AND UNITS; GENERAL MEASURES FOR PRODUCING AND MAINTAINING EFFECTIVE FUNCTIONING OF MACHINES OR INSTALLATIONS; THERMAL INSULATION IN GENERAL
- F16B—DEVICES FOR FASTENING OR SECURING CONSTRUCTIONAL ELEMENTS OR MACHINE PARTS TOGETHER, e.g. NAILS, BOLTS, CIRCLIPS, CLAMPS, CLIPS OR WEDGES; JOINTS OR JOINTING
- F16B25/00—Screws that cut thread in the body into which they are screwed, e.g. wood screws
- F16B25/0036—Screws that cut thread in the body into which they are screwed, e.g. wood screws characterised by geometric details of the screw
- F16B25/0078—Screws that cut thread in the body into which they are screwed, e.g. wood screws characterised by geometric details of the screw with a shaft of non-circular cross-section or other special geometric features of the shaft
-
- F—MECHANICAL ENGINEERING; LIGHTING; HEATING; WEAPONS; BLASTING
- F16—ENGINEERING ELEMENTS AND UNITS; GENERAL MEASURES FOR PRODUCING AND MAINTAINING EFFECTIVE FUNCTIONING OF MACHINES OR INSTALLATIONS; THERMAL INSULATION IN GENERAL
- F16B—DEVICES FOR FASTENING OR SECURING CONSTRUCTIONAL ELEMENTS OR MACHINE PARTS TOGETHER, e.g. NAILS, BOLTS, CIRCLIPS, CLAMPS, CLIPS OR WEDGES; JOINTS OR JOINTING
- F16B25/00—Screws that cut thread in the body into which they are screwed, e.g. wood screws
- F16B25/0036—Screws that cut thread in the body into which they are screwed, e.g. wood screws characterised by geometric details of the screw
- F16B25/0042—Screws that cut thread in the body into which they are screwed, e.g. wood screws characterised by geometric details of the screw characterised by the geometry of the thread, the thread being a ridge wrapped around the shaft of the screw
- F16B25/0057—Screws that cut thread in the body into which they are screwed, e.g. wood screws characterised by geometric details of the screw characterised by the geometry of the thread, the thread being a ridge wrapped around the shaft of the screw the screw having distinct axial zones, e.g. multiple axial thread sections with different pitch or thread cross-sections
- F16B25/0063—Screws that cut thread in the body into which they are screwed, e.g. wood screws characterised by geometric details of the screw characterised by the geometry of the thread, the thread being a ridge wrapped around the shaft of the screw the screw having distinct axial zones, e.g. multiple axial thread sections with different pitch or thread cross-sections with a non-threaded portion on the shaft of the screw
-
- F—MECHANICAL ENGINEERING; LIGHTING; HEATING; WEAPONS; BLASTING
- F24—HEATING; RANGES; VENTILATING
- F24S—SOLAR HEAT COLLECTORS; SOLAR HEAT SYSTEMS
- F24S25/00—Arrangement of stationary mountings or supports for solar heat collector modules
- F24S25/30—Arrangement of stationary mountings or supports for solar heat collector modules using elongate rigid mounting elements extending substantially along the supporting surface, e.g. for covering buildings with solar heat collectors
- F24S25/33—Arrangement of stationary mountings or supports for solar heat collector modules using elongate rigid mounting elements extending substantially along the supporting surface, e.g. for covering buildings with solar heat collectors forming substantially planar assemblies, e.g. of coplanar or stacked profiles
- F24S25/35—Arrangement of stationary mountings or supports for solar heat collector modules using elongate rigid mounting elements extending substantially along the supporting surface, e.g. for covering buildings with solar heat collectors forming substantially planar assemblies, e.g. of coplanar or stacked profiles by means of profiles with a cross-section defining separate supporting portions for adjacent modules
-
- F—MECHANICAL ENGINEERING; LIGHTING; HEATING; WEAPONS; BLASTING
- F24—HEATING; RANGES; VENTILATING
- F24S—SOLAR HEAT COLLECTORS; SOLAR HEAT SYSTEMS
- F24S25/00—Arrangement of stationary mountings or supports for solar heat collector modules
- F24S25/60—Fixation means, e.g. fasteners, specially adapted for supporting solar heat collector modules
- F24S25/63—Fixation means, e.g. fasteners, specially adapted for supporting solar heat collector modules for fixing modules or their peripheral frames to supporting elements
- F24S25/634—Clamps; Clips
- F24S25/636—Clamps; Clips clamping by screw-threaded elements
-
- F—MECHANICAL ENGINEERING; LIGHTING; HEATING; WEAPONS; BLASTING
- F16—ENGINEERING ELEMENTS AND UNITS; GENERAL MEASURES FOR PRODUCING AND MAINTAINING EFFECTIVE FUNCTIONING OF MACHINES OR INSTALLATIONS; THERMAL INSULATION IN GENERAL
- F16B—DEVICES FOR FASTENING OR SECURING CONSTRUCTIONAL ELEMENTS OR MACHINE PARTS TOGETHER, e.g. NAILS, BOLTS, CIRCLIPS, CLAMPS, CLIPS OR WEDGES; JOINTS OR JOINTING
- F16B5/00—Joining sheets or plates, e.g. panels, to one another or to strips or bars parallel to them
- F16B5/0004—Joining sheets, plates or panels in abutting relationship
- F16B5/0056—Joining sheets, plates or panels in abutting relationship by moving the sheets, plates or panels or the interlocking key perpendicular to the main plane
- F16B5/0068—Joining sheets, plates or panels in abutting relationship by moving the sheets, plates or panels or the interlocking key perpendicular to the main plane and using I-shaped clamps with flanges moving towards each other
- F16B5/0072—Joining sheets, plates or panels in abutting relationship by moving the sheets, plates or panels or the interlocking key perpendicular to the main plane and using I-shaped clamps with flanges moving towards each other and using screw-thread
-
- Y—GENERAL TAGGING OF NEW TECHNOLOGICAL DEVELOPMENTS; GENERAL TAGGING OF CROSS-SECTIONAL TECHNOLOGIES SPANNING OVER SEVERAL SECTIONS OF THE IPC; TECHNICAL SUBJECTS COVERED BY FORMER USPC CROSS-REFERENCE ART COLLECTIONS [XRACs] AND DIGESTS
- Y02—TECHNOLOGIES OR APPLICATIONS FOR MITIGATION OR ADAPTATION AGAINST CLIMATE CHANGE
- Y02B—CLIMATE CHANGE MITIGATION TECHNOLOGIES RELATED TO BUILDINGS, e.g. HOUSING, HOUSE APPLIANCES OR RELATED END-USER APPLICATIONS
- Y02B10/00—Integration of renewable energy sources in buildings
- Y02B10/20—Solar thermal
-
- Y—GENERAL TAGGING OF NEW TECHNOLOGICAL DEVELOPMENTS; GENERAL TAGGING OF CROSS-SECTIONAL TECHNOLOGIES SPANNING OVER SEVERAL SECTIONS OF THE IPC; TECHNICAL SUBJECTS COVERED BY FORMER USPC CROSS-REFERENCE ART COLLECTIONS [XRACs] AND DIGESTS
- Y02—TECHNOLOGIES OR APPLICATIONS FOR MITIGATION OR ADAPTATION AGAINST CLIMATE CHANGE
- Y02E—REDUCTION OF GREENHOUSE GAS [GHG] EMISSIONS, RELATED TO ENERGY GENERATION, TRANSMISSION OR DISTRIBUTION
- Y02E10/00—Energy generation through renewable energy sources
- Y02E10/40—Solar thermal energy, e.g. solar towers
- Y02E10/47—Mountings or tracking
Landscapes
- Engineering & Computer Science (AREA)
- General Engineering & Computer Science (AREA)
- Physics & Mathematics (AREA)
- Mechanical Engineering (AREA)
- Geometry (AREA)
- Life Sciences & Earth Sciences (AREA)
- Sustainable Development (AREA)
- Sustainable Energy (AREA)
- Thermal Sciences (AREA)
- Chemical & Material Sciences (AREA)
- Combustion & Propulsion (AREA)
- Joining Of Building Structures In Genera (AREA)
Abstract
Eine Schraube wird vorgeschlagen, die insbesondere zur klemmenden Festlegung von Solarpaneelen zwischen zwei Profilen verwendet wird. Die Schraube enthält einen Schraubenkopf, einen Schraubenschaft und eine Schraubenspitze. Von der Schraubenspitze ausgehend enthält die Schraube einen ersten mit einem Gewinde versehen Endbereich. An diesen mit einem Gewinde versehen Endbereich schließt sich eine quer zur Längsachse der Schraube verlaufende Schulter an, die auf die Schraubenspitze hin gerichtet ist. Der Abstand zwischen der Schulter und der Unterseite des Schraubenkopfs bestimmt den Abstand zwischen den beiden Profilen, der beim Einschrauben der Schraube erreicht und nicht unterschritten wird.A screw is proposed, which is used in particular for the clamping fixing of solar panels between two profiles. The screw contains a screw head, a screw shaft and a screw tip. Starting from the screw tip, the screw includes a first threaded end portion. At this threaded end portion is followed by a transverse to the longitudinal axis of the screw shoulder, which is directed towards the screw tip. The distance between the shoulder and the bottom of the screw head determines the distance between the two profiles, which is reached when screwing in the screw and not fallen below.
Description
Die Erfindung betrifft die Befestigung von Plattenelementen mithilfe von Profilen.The invention relates to the attachment of plate elements by means of profiles.
Es ist bekannt, dass man Solarpaneele mithilfe von Profilen an Dachkonstruktionen oder ähnlichen Konstruktionen befestigt. Dabei liegt das Solarpaneel in seinem Randbereich auf einem Grundprofil auf, während auf den Randbereich des Solarpaneels von der gegenüberliegenden oberen Seite her ein Flachprofil aufgelegt wird. Dieses Flachprofil wird mit dem Grundprofil mithilfe einer sich ihr Gewinde selbst bildenden Schraube festgeschraubt. Damit das Solarpaneel nicht zu stark beaufschlagt wird, wird vorher zwischen die beiden Profile ein den Abstand gewährleistender Kunststoffstreifen eingelegt.It is known that solar panels are attached to roof structures or similar constructions by means of profiles. In this case, the solar panel lies in its edge region on a base profile, while a flat profile is placed on the edge region of the solar panel from the opposite upper side. This flat profile is bolted to the base profile with a self-tapping screw. So that the solar panel is not acted upon too much, a distance ensuring plastic strip is previously inserted between the two profiles.
In ähnlicher Weise lassen sich auch Dachplatten und Fassadenplatten befestigen.Similarly, roof panels and facade panels can be attached.
Der Erfindung liegt die Aufgabe zu Grunde, die Befestigung von Plattenelementen zu vereinfachen.The invention is based on the object to simplify the attachment of plate elements.
Zur Lösung dieser Aufgabe schlägt die Erfindung eine Schraube mit den im Anspruch 1 genannten Merkmalen vor. Weiterbildungen der Erfindung sind Gegenstand von Unteransprüchen.To solve this problem, the invention proposes a screw with the features mentioned in claim 1. Further developments of the invention are the subject of dependent claims.
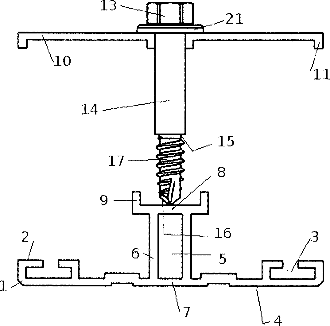
Durch die mit Abstand von dem Schraubenkopf vorgesehene in Richtung auf das vordere Ende des Schraubenschafts gerichtete Schulter, deren Außendurchmesser größer ist als der Kerndurchmesser des Gewindes, kann sichergestellt werden, dass die Schraube nur soweit verschraubt werden kann, bis die Schulter an der Stelle anliegt, an der der Gewindeabschnitt der Schraube eingeschraubt wird. Man kann also durch Verwendung einer entsprechend dimensionierten Schraube dafür sorgen, dass beim Festschrauben zweier Profile ein bestimmter Abstand nicht unterschritten wird.By provided with distance from the screw head directed towards the front end of the screw shaft shoulder whose outer diameter is greater than the core diameter of the thread, it can be ensured that the screw can only be screwed so far until the shoulder is in place, at which the threaded portion of the screw is screwed. So you can ensure by using a correspondingly sized screw that when tightening two profiles a certain distance is not exceeded.
Im Fall der eingangs genannten Solarpaneele kann also dafür gesorgt werden, dass ohne Zwischenlage eines Abstandsstreifens die Profile miteinander in der Weise verbunden werden können, dass auf die Randbereiche der Solarpaneele keine zu starke Kraft einwirkt. Das gleiche gilt auch bei sonstigen Dachplatten und auch bei Fassadenplatten, die an senkrecht verlaufenden Flächen befestigt werden.In the case of the aforementioned solar panels can thus be ensured that without interposition of a spacer strip, the profiles can be connected to each other in such a way that acts on the edge regions of the solar panels not too strong force. The same applies to other roof panels and also to facade panels that are attached to vertical surfaces.
In Weiterbildung der Erfindung kann vorgesehen sein, dass der Durchmesser der Schulter mindestens so groß ist wie der Außendurchmesser des Gewindes des Gewindeabschnitts. Hierdurch wird nochmals eine größere Sicherheit gegen ein zu weites Einschrauben der Schraube gebildet.In a further development of the invention can be provided that the diameter of the shoulder is at least as large as the outer diameter of the thread of the threaded portion. As a result, a greater security against too wide screwing the screw is again formed.
Es gibt verschiedene Arten, wie die nach vorne gerichtete Schulter verwirklicht werden kann. Ein Beispiel ist das Anwalzen eines Bundes, der diese möglichst rechtwinklig zur Schraubenlängsachse verlaufende Schulter aufweist.There are several ways in which the forward shoulder can be realized. An example is the rolling of a collar that has this possible perpendicular to the screw longitudinal axis extending shoulder.
Eine weitere Möglichkeit besteht darin, dass die Schulter am Ende eines von dem Schraubenkopf ausgehenden gewindefreien Abschnitts gebildet ist, der zylindrisch ist. Dies hat den Vorteil, dass der Durchmesser des Schaftabschnitts unterhalb des Schraubenkopfs konstant ist, so dass man ihn auf ein Durchtrittsloch in dem zu befestigenden Flansch abstimmen kann.Another possibility is that the shoulder is formed at the end of a thread-free portion extending from the screw head, which is cylindrical. This has the advantage that the diameter of the shank portion below the screw head is constant, so that it can be tuned to a through hole in the flange to be fastened.
Erfindungsgemäß kann in Weiterbildung vorgesehen sein, dass die Schraube eine Bohrspitze mit vorzugsweise Bohrschneiden aufweist. Dadurch wird es möglich, die Schraube mit einem Befestigungsprofil zu verwenden, das einen geschlossenen Kanal aufweist, in dem sich die Schraube ein Loch noch bohren muss.According to the invention may be provided in a development that the screw has a drill bit with preferably drill bits. This makes it possible to use the screw with a mounting profile, which has a closed channel in which the screw still has to drill a hole.
Zur Verwendung mit einem Befestigungsprofil mit einem offenen Kanal kann vorgesehen sein, dass die Schraube eine Bohrspitze aufweist.For use with an open channel mounting profile, it may be provided that the screw has a drill bit.
Ebenfalls möglich ist es, dass die Schraube ein stumpfes vorderes Ende aufweist.It is also possible that the screw has a blunt front end.
Die Erfindung schlägt ebenfalls die Verwendung einer Schraube, wie sie hierin beschrieben wird, zum Befestigen eines Profils an einem Grundprofil mit einem dem Abstand von der Unterseite des Schraubenkopfs bis zu der Schulter entsprechenden Abstand vor. Dabei muss der Abstand zwischen der Unterseite des Schraubenkopfs und der Schulter nicht dem Abstand zwischen den beiden Profilen an der Stelle, wo ein Plattenelement angeordnet ist, gleich sein.The invention also contemplates the use of a screw as described herein for attaching a profile to a base profile with a distance corresponding to the distance from the bottom of the screw head to the shoulder. The distance between the underside of the screw head and the shoulder does not have to be equal to the distance between the two profiles at the location where a plate element is arranged.
In nochmaliger Weiterbildung der Erfindung kann vorgesehen sein, dass die Schraube zur klemmenden Festlegung der Seitenbereiche von plattenähnlichen Elementen zwischen dem Grundprofil und dem daran mithilfe der Schraube angeschraubten Profil verwendet wird.In a further development of the invention can be provided that the screw is used for clamping fixing of the side regions of plate-like elements between the base profile and the bolted thereto by means of the screw profile.
Es ist denkbar, dass unterhalb des Schraubenkopfs eine Unterlegscheibe angebracht wird, was dazu führt, dass der Abstand dann nicht zwischen der Unterseite des Schraubenkopfs, sondern der Unterseite der Unterlegscheibe und der Schulter zu berechnen ist.It is conceivable that a washer is mounted below the screw head, which means that the distance is then calculated not between the bottom of the screw head, but the underside of the washer and the shoulder.
Insbesondere dient die von der Erfindung vorgeschlagene Schraube zum Befestigen von Dachplatten, Fassadenplatten und Solarpaneelen. Die Befestigung kann an horizontal verlaufenden Unterkonstruktionen, an vertikal verlaufenden Unterkonstruktionen und an schräg verlaufenden Unterkonstruktionen geschehen.In particular, the screw proposed by the invention serves for fastening roof panels, facade panels and solar panels. The attachment can be on horizontally extending substructures, on vertical Substructures and done on sloping substructures.
Weitere Merkmale, Einzelheiten und Vorzüge der Erfindung ergeben sich aus den Ansprüchen und der Zusammenfassung, deren beider Wortlaut durch Bezugnahme zum Inhalt der Beschreibung gemacht wird, der folgenden Beschreibung bevorzugter Ausführungsformen der Erfindung sowie anhand der Zeichnung. Hierbei zeigen:Further features, details and advantages of the invention will become apparent from the claims and the abstract, the wording of which is incorporated by reference into the content of the description, the following description of preferred embodiments of the invention and with reference to the drawing. Hereby show:
In
An diesem Grundprofil
In der Mitte zwischen beiden Längsrändern enthält das Profil
Die Schraube enthält einen Schraubenkopf
Die Befestigung des Deckprofils
Das Ergebnis der Befestigung ist schematisch in
Die
Bei der Ausführungsform der
Falls eine Zentrierung zwischen den beiden Wänden
Nur bei der Ausführungsform der Schraube
Bei der dargestellten und beschriebenen Ausführungsform wurde als Beispiel die Befestigung eines Solarpaneels beschrieben. Die gleiche Art der Befestigung ist auch bei sonstigen Plattenelementen möglich und sinnvoll, beispielsweise bei Dachplatten oder auch bei Fassadenplatten.In the illustrated and described embodiment, the attachment of a solar panel has been described as an example. The same type of attachment is also possible and useful for other panel elements, for example in roof panels or facade panels.
Claims (12)
Priority Applications (1)
| Application Number | Priority Date | Filing Date | Title |
|---|---|---|---|
| DE102011079057A DE102011079057A1 (en) | 2011-07-13 | 2011-07-13 | Screw for fastening profile at base profile at e.g. rooftop, has threaded section originating from end of shaft, and collar turned toward screw end at end of threaded section, where diameter of section is larger than diameter of thread |
Applications Claiming Priority (1)
| Application Number | Priority Date | Filing Date | Title |
|---|---|---|---|
| DE102011079057A DE102011079057A1 (en) | 2011-07-13 | 2011-07-13 | Screw for fastening profile at base profile at e.g. rooftop, has threaded section originating from end of shaft, and collar turned toward screw end at end of threaded section, where diameter of section is larger than diameter of thread |
Publications (1)
| Publication Number | Publication Date |
|---|---|
| DE102011079057A1 true DE102011079057A1 (en) | 2013-01-17 |
Family
ID=47425437
Family Applications (1)
| Application Number | Title | Priority Date | Filing Date |
|---|---|---|---|
| DE102011079057A Withdrawn DE102011079057A1 (en) | 2011-07-13 | 2011-07-13 | Screw for fastening profile at base profile at e.g. rooftop, has threaded section originating from end of shaft, and collar turned toward screw end at end of threaded section, where diameter of section is larger than diameter of thread |
Country Status (1)
| Country | Link |
|---|---|
| DE (1) | DE102011079057A1 (en) |
Cited By (2)
| Publication number | Priority date | Publication date | Assignee | Title |
|---|---|---|---|---|
| ITUB20160720A1 (en) * | 2016-02-12 | 2017-08-12 | Nuovo Pignone Tecnologie Srl | Fixing system for panels and turbomachine enclosure comprising such system |
| GB2642232A (en) * | 2024-06-27 | 2026-01-07 | Solarport Systems Ltd | Clamping assembly |
Citations (7)
| Publication number | Priority date | Publication date | Assignee | Title |
|---|---|---|---|---|
| DE1709031A1 (en) * | 1965-08-05 | 1971-05-13 | Textron Ind Inc | Device for attaching roof and wall cladding to building structures |
| DE8003978U1 (en) * | 1980-06-19 | Knoche, Frank, 5758 Froendenberg | Clamping head dowel made of plastic | |
| DE3445520A1 (en) * | 1984-12-13 | 1986-06-19 | Hilti Ag, Schaan | PLASTIC SPREADING DOWEL |
| DE29825211U1 (en) * | 1997-08-07 | 2006-03-16 | Saint-Gobain Isover | Industrial building and enclosure insulated casket-like wall panel - has sheet steel skin with edge flanges bent to form claws for gripping mineral wool insulating panel enclosed between flanges |
| DE102006002562A1 (en) * | 2006-01-10 | 2007-07-12 | Swg Schraubenwerk Gaisbach Gmbh | Attaching screw for mounting objects on a base has threaded shaft with screw point and head with metric thread and screwing recess |
| DE202008000574U1 (en) * | 2008-01-15 | 2009-05-28 | Hilleke, Stefan | connecting device |
| WO2009113889A1 (en) * | 2008-03-10 | 2009-09-17 | Fakro Pp Spolka Z O. O. | Covering slat with fastening bar |
-
2011
- 2011-07-13 DE DE102011079057A patent/DE102011079057A1/en not_active Withdrawn
Patent Citations (7)
| Publication number | Priority date | Publication date | Assignee | Title |
|---|---|---|---|---|
| DE8003978U1 (en) * | 1980-06-19 | Knoche, Frank, 5758 Froendenberg | Clamping head dowel made of plastic | |
| DE1709031A1 (en) * | 1965-08-05 | 1971-05-13 | Textron Ind Inc | Device for attaching roof and wall cladding to building structures |
| DE3445520A1 (en) * | 1984-12-13 | 1986-06-19 | Hilti Ag, Schaan | PLASTIC SPREADING DOWEL |
| DE29825211U1 (en) * | 1997-08-07 | 2006-03-16 | Saint-Gobain Isover | Industrial building and enclosure insulated casket-like wall panel - has sheet steel skin with edge flanges bent to form claws for gripping mineral wool insulating panel enclosed between flanges |
| DE102006002562A1 (en) * | 2006-01-10 | 2007-07-12 | Swg Schraubenwerk Gaisbach Gmbh | Attaching screw for mounting objects on a base has threaded shaft with screw point and head with metric thread and screwing recess |
| DE202008000574U1 (en) * | 2008-01-15 | 2009-05-28 | Hilleke, Stefan | connecting device |
| WO2009113889A1 (en) * | 2008-03-10 | 2009-09-17 | Fakro Pp Spolka Z O. O. | Covering slat with fastening bar |
Cited By (4)
| Publication number | Priority date | Publication date | Assignee | Title |
|---|---|---|---|---|
| ITUB20160720A1 (en) * | 2016-02-12 | 2017-08-12 | Nuovo Pignone Tecnologie Srl | Fixing system for panels and turbomachine enclosure comprising such system |
| WO2017137345A1 (en) * | 2016-02-12 | 2017-08-17 | Nuovo Pignone Tecnologie Srl | Fixing system for panels and turbomachine enclosure comprising such system |
| US11346492B2 (en) | 2016-02-12 | 2022-05-31 | Nuovo Pignone Tecnologie Srl | Fixing system for panels and turbomachine enclosure comprising such system |
| GB2642232A (en) * | 2024-06-27 | 2026-01-07 | Solarport Systems Ltd | Clamping assembly |
Similar Documents
| Publication | Publication Date | Title |
|---|---|---|
| EP1804008B1 (en) | Combination of a fastening device with a roof | |
| DE3420696C1 (en) | Clamping fixture for fastening and/or connecting glass panes, in particular for facade panels consisting of toughened safety glass | |
| DE102012101320A1 (en) | Screw and thin sheet metal connection made therewith | |
| EP2636970A1 (en) | Fastening system | |
| EP1892353A1 (en) | Device for fastening decking planks to support structure | |
| EP3205953A1 (en) | Mounting assembly for platelike elements and solar energy assembly having such a mounting assembly | |
| DE202012103417U1 (en) | joint assembly | |
| DE102016000829A1 (en) | Device for fixing and / or aligning floor coverings | |
| DE202006015336U1 (en) | Assembly rail to hold solar collectors has seating channel on at least one side on which fastening screws are tightened through profile wall covering seating channel in a secure way manually or with hammer | |
| DE102007024224A1 (en) | Self-drilling screw | |
| DE102012215645B4 (en) | Screw and its use | |
| WO2000068581A1 (en) | Fixing element for fixing insulating strips or plates on a solid substructure | |
| DE202010012937U1 (en) | fastening system | |
| DE102010040024A1 (en) | Screw for connecting facade components at sub-constructions, has bolt shank formed at hexagonal-shaped screw head, and tip region connected to clamping region that is made of hardened steel and provided with drilling tip and screw thread | |
| DE102011079057A1 (en) | Screw for fastening profile at base profile at e.g. rooftop, has threaded section originating from end of shaft, and collar turned toward screw end at end of threaded section, where diameter of section is larger than diameter of thread | |
| DE202010014944U1 (en) | alignment system | |
| DE102009049091A1 (en) | fastener | |
| DE102007003518B4 (en) | Screw, in particular for push-through installation of window frames in the reveal of masonry | |
| DE102010037831A1 (en) | Fastening device on a building | |
| DE3900669C1 (en) | ||
| DE102007044981B4 (en) | Supporting structure and method for anchoring supporting structures | |
| CH682344A5 (en) | ||
| DE19755953A1 (en) | Screw for distance fixing of covering plates or rails on a base | |
| EP2226440A2 (en) | Fitting element | |
| DE10214378C1 (en) | Screw connection with tolerance compensation using integral cage provided by component nearest to threaded nut |
Legal Events
| Date | Code | Title | Description |
|---|---|---|---|
| R123 | Application deemed withdrawn due to non-payment of filing fee | ||
| R409 | Internal rectification of the legal status completed | ||
| R409 | Internal rectification of the legal status completed | ||
| R163 | Identified publications notified | ||
| R012 | Request for examination validly filed |
Effective date: 20140708 |
|
| R119 | Application deemed withdrawn, or ip right lapsed, due to non-payment of renewal fee |
