DE102010027872A1 - Sensoranordnung für ein Fahrzeug - Google Patents

Sensoranordnung für ein Fahrzeug Download PDF

Info

Publication number
DE102010027872A1
DE102010027872A1 DE201010027872 DE102010027872A DE102010027872A1 DE 102010027872 A1 DE102010027872 A1 DE 102010027872A1 DE 201010027872 DE201010027872 DE 201010027872 DE 102010027872 A DE102010027872 A DE 102010027872A DE 102010027872 A1 DE102010027872 A1 DE 102010027872A1
Authority
DE
Germany
Prior art keywords
ribbon cable
connecting element
sensor arrangement
arrangement according
carrier element
Prior art date
Legal status (The legal status is an assumption and is not a legal conclusion. Google has not performed a legal analysis and makes no representation as to the accuracy of the status listed.)
Withdrawn
Application number
DE201010027872
Other languages
English (en)
Inventor
Zikang Ma
Thorsten Kuhnen
Holger Würstlein
Current Assignee (The listed assignees may be inaccurate. Google has not performed a legal analysis and makes no representation or warranty as to the accuracy of the list.)
Brose Fahrzeugteile SE and Co KG
Original Assignee
Brose Fahrzeugteile SE and Co KG
Priority date (The priority date is an assumption and is not a legal conclusion. Google has not performed a legal analysis and makes no representation as to the accuracy of the date listed.)
Filing date
Publication date
Application filed by Brose Fahrzeugteile SE and Co KG filed Critical Brose Fahrzeugteile SE and Co KG
Priority to DE201010027872 priority Critical patent/DE102010027872A1/de
Publication of DE102010027872A1 publication Critical patent/DE102010027872A1/de
Withdrawn legal-status Critical Current

Links

Images

Classifications

    • BPERFORMING OPERATIONS; TRANSPORTING
    • B60VEHICLES IN GENERAL
    • B60RVEHICLES, VEHICLE FITTINGS, OR VEHICLE PARTS, NOT OTHERWISE PROVIDED FOR
    • B60R16/00Electric or fluid circuits specially adapted for vehicles and not otherwise provided for; Arrangement of elements of electric or fluid circuits specially adapted for vehicles and not otherwise provided for
    • B60R16/02Electric or fluid circuits specially adapted for vehicles and not otherwise provided for; Arrangement of elements of electric or fluid circuits specially adapted for vehicles and not otherwise provided for electric constitutive elements
    • B60R16/0207Wire harnesses
    • B60R16/0215Protecting, fastening and routing means therefor
    • HELECTRICITY
    • H02GENERATION; CONVERSION OR DISTRIBUTION OF ELECTRIC POWER
    • H02GINSTALLATION OF ELECTRIC CABLES OR LINES, OR OF COMBINED OPTICAL AND ELECTRIC CABLES OR LINES
    • H02G3/00Installations of electric cables or lines or protective tubing therefor in or on buildings, equivalent structures or vehicles
    • H02G3/30Installations of cables or lines on walls, floors or ceilings
    • H02G3/32Installations of cables or lines on walls, floors or ceilings using mounting clamps

Landscapes

  • Engineering & Computer Science (AREA)
  • Architecture (AREA)
  • Civil Engineering (AREA)
  • Structural Engineering (AREA)
  • Mechanical Engineering (AREA)
  • Power-Operated Mechanisms For Wings (AREA)

Abstract

Die Erfindung betrifft eine Sensoranordnung für ein Fahrzeug, mit einem ein Elektrodenelement eines Sensors ausbildenden Flachbandkabel und einem Trägerelement, an dem das Flachbandkabel anzuordnen ist. Dabei ist ein Verbindungselement (4, 4') zum Befestigen des Flachbandkabels (5) an dem Trägerelement (6) vorgesehen, das mindestens einen elastischen Abschnitt (41, 42) zur rastenden Verbindung mit dem Trägerelement (6) und einen Positionierungsabschnitt (43) zum Halten des Flachbandkabels (5) an dem Verbindungselement (4, 4') aufweist. Auf diese Weise wird eine Sensoranordnung für ein Fahrzeug geschaffen, die eine einfache Montage des Flachbandkabels an dem Trägerelement und eine hinsichtlich Abschirmeffekten vorteilhafte Anordnung des Flachbandkabels ermöglicht.

Description

  • Die Erfindung betrifft eine Sensoranordnung für ein Fahrzeug nach dem Oberbegriff des Anspruchs 1.
  • Eine derartige Sensoranordnung weist ein ein Elektrodenelement eines Sensors ausbildendes Flachbandkabel und ein Trägerelement, an dem das Flachbandkabel anzuordnen ist, auf. Die Sensoranordnung kann beispielsweise Bestandteil einer kapazitiven Sensoreinrichtung zur kapazitiven Aufnahme eines Sensorsignals sein. Das Flachbandkabel bildet hierbei ein kapazitives Elektrodenelement der Sensoreinrichtung und nimmt die Annäherung eines Objektes, die zu einer an der Elektrode messbaren Kapazitätsänderung und dadurch zu einem Messsignal führt, auf.
  • Die Sensoranordnung kann beispielsweise als kapazitiver Näherungsschalter dienen, der eine Änderung des elektrischen Feldes in der Umgebung des das Elektrodenelement darstellenden Flachbandkabels erfasst. Ein derartiger Näherungsschalter kann beispielsweise in Fahrzeugen zum Öffnen einer Fahrzeugtür, insbesondere einer Heckklappe dienen, indem ein Nutzer zum Öffnen der Fahrzeugtür ein Körperteil, beispielsweise einen Fuß, in die Nähe der Sensoranordnung bringt und dadurch ein automatisches Öffnen der Heckklappe einleitet.
  • Das Flachbandkabel wird herkömmlich beispielsweise durch Kabelbinder, durch Verkleben (durch einen flächig aufgetragenen Klebstoff oder ein Klebeband), durch Verclipsen oder durch einen formschlüssigen randseitigen Umgriff mit dem Trägerelement verbunden. Nachteil ist hierbei, dass in der Regel eine zumindest teilweise Abschirmung des Flachbandkabels und damit eine Beeinflussung der Sensitivität der Sensoranordnung einhergehen. Zudem sind mit herkömmlichen Befestigungsmethoden die Anordnungsmöglichkeiten des Flachbandkabels beschränkt.
  • Aufgabe der vorliegenden Erfindung ist es, eine Sensoranordnung für ein Fahrzeug zur Verfügung zu stellen, die eine einfache Montage des Flachbandkabels an dem Trägerelement und eine hinsichtlich Abschirmeffekten vorteilhafte Anordnung des Flachbandkabels ermöglicht.
  • Diese Aufgabe wird durch einen Gegenstand mit den Merkmalen des Anspruchs 1 gelöst.
  • Demgemäß ist ein Verbindungselement zum Befestigen des Flachbandkabels an dem Trägerelement vorgesehen. Das Verbindungselement weist mindestens einen elastischen Abschnitt zur rastenden Verbindung mit dem Trägerelement und einen Positionierungsabschnitt zum Halten des Flachbandkabels an dem Verbindungselement auf.
  • Über das Verbindungselement kann das als Elektrodenelement eines kapazitiv wirkenden Sensors dienende Flachbandkabel in einfacher Weise an dem Trägerelement angeordnet werden, wobei das Trägerelement als Adapter zum Anbringen des Flachbandkabels an einem feststehenden Karosserieabschnitt des Fahrzeugs oder auch durch einen Karosserieabschnitt selbst ausgebildet sein kann. Das Flachbandkabel kann beispielsweise bei Verwendung der Sensoranordnung im Rahmen eines Näherungsschalters für eine Heckklappe im Bereich einer hinteren Stoßstange des Fahrzeugs angebracht sein, um die Annäherung eines Objekts, beispielsweise des Fußes eines Nutzers, zu erfassen und infolgedessen eine Öffnungsbewegung der Heckklappe einzuleiten.
  • Das Flachbandkabel kann hierbei über das Trägerelement derart an der Karosserie befestigt werden, dass es an der dem Außenraum zugewandten Seite des Trägerelements befestigt ist und damit nach außen weist. Dies hat den Vorteil, dass Schirmungseffekte weitestgehend vermieden werden können und das als Elektrodenelement dienende Flachbandkabel nahe am für einen Nutzer zugänglichen Außenraum, gegebenenfalls von einem (Kunststoff-)Verkleidungselement bedeckt, angeordnet sein kann.
  • Das Verbindungselement der Sensoranordnung zum Befestigen des Flachbandkabels an dem Trägerelement weist einerseits einen oder mehrere elastische Abschnitte zur rastenden Verbindung mit dem Trägerelement und andererseits einen Positionierungsabschnitt (oder auch mehrere Positionierungsabschnitte) zum Halten des Flachbandkabels an dem Verbindungselement auf, so dass das Verbindungselement einerseits unter Herstellung einer Rastverbindung mit dem Trägerelement verbunden werden kann und andererseits über den Positionierungsabschnitt das Flachbandkabel hält, um auf diese Weise das Flachbandkabel an dem Trägerelement zu montieren. Der Positionierungsabschnitt kann hierbei im Wesentlichen starr ausgebildet sein, während das mindestens eine elastische Element als Federarm mit daran angeordnetem Rastabschnitt für einen formschlüssigen Eingriff mit dem Trägerelement ausgebildet ist.
  • Vorteilhafterweise sind der Positionierungsabschnitt und der mindestens eine elastische Abschnitt als gesonderte Abschnitte des Verbindungselementes ausgebildet. Denkbar ist aber auch, in synergetischer Doppelverwendung lediglich einen Abschnitt vorzusehen, der sowohl zur Herstellung einer rastenden Verbindung mit dem Trägerelement als auch als Positionierungsabschnitt zum Halten des Flachbandkabels dient.
  • Das Verbindungselement kann in eine Einsteckrichtung beispielsweise in eine Öffnung des Trägerelements zum Herstellen der rastenden Verbindung eingesetzt werden. Das Verbindungselement kann dabei derart ausgebildet sein, dass das Verbinden mit dem Flachbandkabel in anderer Richtung vorzunehmen ist, nämlich durch Ansetzen des Verbindungselements an das Flachbandkabel in eine von der Einsteckrichtung unterschiedliche Aufsteckrichtung, die im Wesentlichen quer zu einer Längserstreckungsrichtung des Flachbandkabels gerichtet ist. Das Verbindungselement kann dabei derart ausgebildet sein, dass zunächst die Verbindung des Verbindungselements mit dem Flachbandkabel herzustellen ist, indem das Verbindungselement in die Aufsteckrichtung an das Flachbandkabel angesetzt wird, um anschließend das Verbindungselement zusammen mit dem Flachbandkabel rastend an dem Trägerelement zu befestigen.
  • Das nach Art eines Rastelements ausgebildete Verbindungselement kann einen Kopf aufweisen, an dem ein oder mehrere, beispielsweise als Federarme ausgebildete elastische Abschnitte und ein oder mehrere Positionierungsabschnitte angeordnet sind und zur selben Seite von dem Kopf abstehen. In einer konkreten Ausgestaltung können dabei zwei elastische Abschnitte am Verbindungselement beispielsweise nach Art von Federarmen vorgesehen sein, zwischen denen der Positionierungsabschnitt angeordnet ist.
  • Um das Flachbandkabel an dem Verbindungselement anzuordnen, kann an dem Kopf des Verbindungselementes eine Aussparung vorgesehen sein, durch die das Flachbandkabel hin zum Positionierungsabschnitt geführt werden kann. Um ein Ansetzen des Flachbandkabels in die Aufsteckrichtung an das Verbindungselement auf einfache Weise und insbesondere ohne ein umständliches Einfädeln in die Aussparung zu ermöglichen, kann die Aussparung so beschaffen sein, dass sie umfänglich in Aufsteckrichtung offen ist und das Flachbandkabel in Aufsteckrichtung in die Aussparung eingelegt und um den Positionierungsabschnitt herumgelegt werden kann. In die Aufsteckrichtung kann auf diese Weise das Verbindungselement an eine durch einen Abschnitt des Flachbandkabels gebildete Schlaufe angesetzt werden, um das Flachbandkabel mit dem Verbindungselement zu verbinden und an diesem auf Zug zu sichern und festzulegen.
  • Der Positionierungsabschnitt des Verbindungselementes kann beispielsweise durch ein am Kopf des Verbindungselements angeordnetes Bein und einen sich quer zum Bein erstreckenden, traversenartigen Halteabschnitt zum Halten des Flachbandkabels ausgebildet sein. Vorteilhafterweise ist hierbei am Halteabschnitt, nämlich an dem vom Bein abgekehrten Ende des Halteabschnitts, ein Endabschnitt vorgesehen, der den Halteabschnitt derart begrenzt, dass das Verbindungselement nicht entgegen der Aufsteckrichtung vom Flachbandkabel rutschen kann. Über den Endabschnitt ist damit das Flachbandkabel auch quer zur Längserstreckungsrichtung des Flachbandkabels am Verbindungselement festgelegt, so dass das Verbindungselement nicht in unbeabsichtigter Weise von dem Flachbandkabel gelangen kann, wenn es erst einmal am Flachbandkabel angeordnet ist.
  • Mit dem vorgesehenen Verbindungselement kann der Montageprozess des Flachbandkabels an dem Trägerelement besonders einfach gestaltet werden. In einem ersten Montageschritt werden hierbei ein oder mehrere Verbindungselemente an dem zu montierenden Flachbandkabel befestigt, so dass in einem Vormontagezustand das Flachbandkabel mit dem Verbindungselement verbunden, das Verbindungselement aber noch nicht an dem Trägerelement befestigt ist. Hierzu wird das Flachbandkabel beispielsweise mit einer Schlaufe in die Aussparung am Kopf des Verbindungselementes eingeschoben und um den Positionierungsabschnitt gelegt, so dass sich das Flachbandkabel durch die Aussparung hindurch um den Halteabschnitt des Positionierungsabschnitts herum und wieder durch die Aussparung erstreckt und auf diese Weise am Verbindungselement festgelegt ist. Zusammen mit den am Flachbandkabel angeordneten Verbindungselementen wird das Flachbandkabel dann in einem zweiten Montageschritt an das Trägerelement angesetzt, indem die Verbindungselemente in entsprechende Öffnungen am Trägerelement eingesteckt werden, um die Verbindungselemente rastend mit dem Trägerelement zu verbinden.
  • In einem Montagezustand, in dem das Flachbandkabel über die Verbindungselemente mit dem Trägerelement verbunden ist, sind die elastischen Abschnitte und der Positionierungsabschnitt jedes Verbindungselements dann in eine Öffnung des Trägerelements eingesteckt, so dass sich das an den Verbindungselementen angeordnete Flachbandkabel abschnittsweise durch die Öffnungen erstreckt. In diesem Montagezustand ist das Flachbandkabel fest mit dem Trägerelement verbunden und auf Zug belastbar.
  • Denkbar ist, das Flachbandkabel an dem Trägerelement zu montieren und das Trägerelement anschließend beispielsweise durch Schrauben oder Kleben an der Fahrzeugkarosserie eines Fahrzeugs anzuordnen. Denkbar ist aber auch, das Trägerelement zunächst an der Fahrzeugkarosserie zu befestigen, um erst anschließend das Flachbandkabel von außen an dem Trägerelement zu montieren. In jedem Fall ist eine Anordnung des Flachbandkabels außenseitig des Trägerelements, also an der dem Außenraum zugewandten Seite des Trägerelements, vorteilhaft, um Abschirmungseffekte des als Elektrodenelement für die Sensoranordnung dienenden Flachbandkabels zu vermeiden.
  • Der der Erfindung zugrunde liegende Gedanke soll nachfolgend anhand der in den Figuren dargestellten Ausführungsbeispiele näher erläutert werden. Es zeigen:
  • 1 eine schematische Darstellung eines Fahrzeugs mit daran angeordneter Sensoranordnung;
  • 2A, 2B perspektivische Ansichten eines Verbindungselements zum Verbinden eines Flachbandkabels mit einem Trägerelement;
  • 3A, 3B Schnittansichten durch das Verbindungselement in einem Ausgangszustand mit nicht verformten Federarmen (3A) und mit elastisch aufeinander zu gebogenen Federarmen (3B);
  • 4A, 4B schematische Ansichten eines Verbindungselementes vor Befestigen eines Flachbandkabels (4A) und mit daran befestigtem Flachbandkabel (4B);
  • 5A, 5B schematische Ansichten eines Trägerelements;
  • 6A6C schematische Ansichten der Montage eines Verbindungselements am Trägerelement;
  • 7A7F schematische Ansichten der Montage eines Flachbandkabels an einem Trägerelement;
  • 8A8D schematische Ansichten der Montage eines Flachbandkabels an einem anderen Trägerelement und
  • 10A, 10B schematische Ansichten der Anordnung eines Flachbandkabels an einem Trägerelement unter Verwendung modifizierter Verbindungselemente.
  • 1 zeigt in einer schematischen Übersichtsdarstellung ein Fahrzeug 1 mit einer lediglich schematisch angedeuteten Heckklappe 10 und einer Stoßstange 11. Zur Verwirklichung eines kapazitiven Heckklappenschalters ist im Bereich der Stoßstange 11 eine kapazitiv wirkende Sensoranordnung 3 vorgesehen, die mit einer Steuerelektronik 30 zum Steuern der Öffnungsbewegung der Heckklappe 10 und gegebenenfalls auch anderer Fahrzeugtüren und beweglicher Fahrzeugteile zusammenwirkt.
  • Zur Betätigung des kapazitiven Heckklappenschalters bringt ein Nutzer 2 beispielsweise einen Fuß oder ein Bein in den Bereich der Sensoranordnung 3, also in den Bereich der Stoßstange. Die Sensoranordnung 3 erfasst die Annäherung dieses Körperteils durch Messung der Kapazitätsänderung an einer Elektrode der Sensoranordnung 3 und interpretiert diese Annäherung als Öffnungswunsch für die Heckklappe. Die Steuerelektronik 30 überprüft daraufhin die Berechtigung des Nutzers 2, beispielsweise indem die Steuerelektronik 30 mit einem elektronischen Fahrzeugschlüssel des Nutzers 2 kommuniziert und auf diese Weise ermittelt, ob der Nutzer 2 eine Zugangsberechtigung zum Fahrzeug 1 hat oder nicht. Ist diese Überprüfung erfolgreich, wird die Heckklappe 10 auf automatische Weise geöffnet.
  • Die in 1 dargestellte Sensoranordnung 3 verwirklicht einen kapazitiven Sensor und weist hierzu ein durch ein Flachbandkabel ausgebildetes Elektronenelement auf, das im Bereich der Stoßstange 11 beispielsweise hinter einer Kunststoffverkleidung verlegt ist. Ein solches Flachbandkabel, wie es beispielsweise schematisch in 7A gezeigt ist, erstreckt sich längs entlang der Stoßstange 11 und ist hierzu aus einem elektrisch leitfähigen Material als flaches Band oder aus einzelnen Leitern hergestellt und mit der Steuerelektronik 30 verbunden. Als Gegenelektrode kann ein zweites Elektrodenelement oder – bevorzugt – die Umgebung verwendet werden. Im letzteren Fall wird als Sensorsignal die Kapazitätsänderung zwischen dem durch das Flachbandkabel gebildeten Elektrodenelement und dem Erdpotential der Umgebung erfasst.
  • Zum Anbringen des Flachbandkabels 5 (siehe 7A) an dem Fahrzeug 1, beispielsweise der Fahrzeugkarosserie, ist ein in einem Ausführungsbeispiel in 5A und 5B schematisch dargestelltes Trägerelement 6 vorgesehen, das als Adapter zum Verbinden des Flachbandkabels 5 mit der Fahrzeugkarosserie dient. Das Trägerelement 6 kann als gesondertes Bauteil beispielsweise aus Kunststoff hergestellt und mit der Fahrzeugkarosserie verbunden sein. Denkbar ist aber auch, dass das Trägerelement 6 durch einen Abschnitt der Fahrzeugkarosserie selbst gebildet ist.
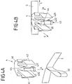
  • Das Flachbandkabel 5 wird über ein oder mehrere Verbindungselemente 4 (siehe beispielsweise 2A, 2B und 3A, 3B) mit dem Trägerelement 6 verbunden. Jedes Verbindungselement 4 ist hierzu nach Art eines Rastelements ausgebildet und weist einen Kopf 40 mit daran angeordneten elastischen Abschnitten 41, 42 nach Art von Federarmen auf. Die elastischen Abschnitte 41, 42 sind jeweils durch ein von einer Unterseite des Kopfes 40 abstehendes Bein 411, 421 und einen daran angeordneten Rastabschnitt 410, 420 nach Art eines Rasthakens gebildet.
  • Dadurch, dass die Beine 411, 421 der elastischen Abschnitte 41, 42 zumindest abschnittsweise elastisch (federnd) ausgebildet sind, kann das Verbindungselement 4, wie in 6A bis 6C dargestellt, in eine Einsteckrichtung E in eine Öffnung 60 des Trägerelements 6 eingesteckt werden, wobei beim Einstecken des Verbindungselements 4 die elastischen Abschnitte 41, 42 mit den daran angeordneten Rastabschnitten 410, 420 dadurch, dass die angeschrägten Rastabschnitte 410, 420 auf die äußere Umrandung der Öffnung 60 auflaufen, aufeinander zu gedrückt werden (6B) und in ihre Ausgangsstellung zurückfedern, sobald das Verbindungselement 4 vollständig in die Öffnung 60 eingeführt ist (6C), um eine rastende, formschlüssige Verbindung des Verbindungselements 4 mit dem Trägerelement 6 herzustellen.
  • In eingestecktem Zustand (6C) ist das Trägerelement 6 über die Randabschnitte der Öffnung 60 formschlüssig zwischen den Rastabschnitten 410, 420 der elastischen Abschnitte 41, 42 und Rastabschnitten 401, 402 am Kopf 40 gehalten.
  • 3A zeigt ein Verbindungselement 4 im entspannten Zustand, entsprechend dem Zustand vor Herstellung der Verbindung und nach Herstellung der Verbindung mit dem Trägerelement 6. 3B hingegen zeigt das Verbindungselement 4 mit nach innen gedrückten elastischen Abschnitten 41, 42 bei Herstellung der Verbindung, entsprechend dem Zwischenzustand in 6B.
  • Zum Befestigen des Flachbandkabels 5 an dem Verbindungselement 4 ist bei dem in 2A, 2B, 3A, 3B dargestellten Ausführungsbeispiel des Verbindungselementes 4 – räumlich zwischen den elastischen Abschnitten 41, 42 platziert – ein Positionierungsabschnitt 43 vorgesehen, der durch ein sich vom Kopf 40 erstreckendes Bein 430 und einen traversenartigen, quer daran angeordneten Halteabschnitt 431 gebildet ist. Am Kopf 40 des Verbindungselements 4 ist weiterhin eine umfänglich zu einer Seite offene Aussparung 44 angeordnet, die in Zusammenwirken mit dem Positionierungsabschnitt 43 zum Festlegen des Flachbandkabels 5 an dem Verbindungselement 4 dient.
  • Der Befestigungsvorgang des Flachbandkabels 5 an dem Verbindungselement 4 ist schematisch in 4A und 4B dargestellt. Zum Befestigen des Flachbandkabels 5 an dem Verbindungselement 4 wird das Flachbandkabel 5 zu einer Schlaufe 50 gelegt, um anschließend das Verbindungselement 4 in eine Aufsteckrichtung A mit dem Positionierungsabschnitt 43 in die Schlaufe 50 derart einzusetzen, dass das Flachbandkabel 5 sich durch die Aussparung 44 erstreckt (siehe gestrichelte Linien in 4B).
  • In befestigtem Zustand erstreckt sich das Flachbandkabel 5 durch die Aussparung 44 hin zum Halteabschnitt 431 des Positionierungsabschnitts 43, um diesen herum und zurück durch die Aussparung 44 in der in 4B dargestellten Weise.
  • An dem dem Beim 430 abgewandten Ende des Halteabschnitts 431 ist ein vorspringender Endabschnitt 432 angeordnet, der das Verbindungselement 4 an dem Flachbandkabel 5 derart festlegt, dass das Verbindungselement 4 nicht entgegen der Aufsteckrichtung A von dem Flachbandkabel rutschen kann.
  • Den Montageprozess des Flachbandkabels 5 an dem Trägerelement 6 zeigen in zeitlicher Abfolge 7A bis 7F zur Montage wird das Flachbandkabel 5 mit mehreren Verbindungselementen 4 verbunden, die dann an dem Trägerelement 6 angeordnet werden, um das Flachbandkabel 5 mit dem Trägerelement 6 zu verbinden. Zusammen mit dem Trägerelement 6 kann dann das Flachbandkabel 5 an der Fahrzeugkarosserie angeordnet werden, wobei auch denkbar ist, dass das Trägerelement 6 bereits an der Fahrzeugkarosserie angeordnet ist, wenn das Flachbandkabel 5 daran angeordnet wird.
  • Zunächst liegt, wie in 7A und 7B dargestellt, das Flachbandkabel 5 in im Wesentlichen gerade erstreckter Form vor. Um das Flachbandkabel 5 mit einzelnen Verbindungselementen 4 zu verbinden, wird in einem ersten Schritt das Flachbandkabel 5 in Schlaufen 50 gelegt (7C), an die dann in einem zweiten Schritt jeweils ein Verbindungselement 4 in der in 4A, 4B dargestellten Weise angesetzt wird (7D). Zusammen mit den Verbindungselementen 4 wird das Flachbandkabel 5 dann in eine Einsteckrichtung E an das Trägerelement 6 angesetzt (7E), indem die Verbindungselemente 4 rastend in die am Trägerelement 6 vorgesehenen Öffnungen 60 eingesetzt werden (7F).
  • Sind die Verbindungselemente 4 rastend mit dem Trägerelement 6 verbunden, ist über die Verbindungselemente 4 das Flachbandkabel 5 am Trägerelement 6 gehalten, wobei die Verbindungselemente 4 das Flachbandkabel 5 vollständig und auf Zug belastbar am Trägerelement 6 festlegen.
  • Das Trägerelement 6 dient der Befestigung des Flachbandkabels 5 an der Fahrzeugkarosserie. Denkbar ist hierbei, dass das Trägerelement 6 einen Adapter als Zwischenstück zwischen Flachbandkabel 5 und Fahrzeugkarosserie ausbildet. Denkbar ist aber auch, dass das Trägerelement 6 durch einen feststehenden Abschnitt der Fahrzeugkarosserie selbst, beispielsweise einen Abschnitt der Stoßstange (siehe 1) ausgebildet ist.
  • Das Flachbandkabel 5 ist in seiner Formgebung flexibel und kann in flexibler Weise der spezifischen Gestalt des Trägerelements 6 angepasst werden. Insbesondere ist das Flachbandkabel 5 nicht nur in geradlinig erstreckter Weise verwendbar, sondern kann grundlegend in beliebiger Formgebung als Elektrodenelement für die Sensoranordnung 3 eingesetzt werden.
  • 8A bis 8D zeigen die Befestigung eines Flachbandkabels 5 an einem anders geformten Trägerelement 6', das sich nicht gerade erstreckt, sondern gebogen ist. Die Befestigung und der Montageprozess sind analog wie vorangehend geschildert.
  • 9A und 9B zeigen die Befestigung eines Flachbandkabels 5 an einem Trägerelement 6 unter Verwendung einer modifizierten Ausgestaltung von Verbindungselementen 4', die funktional den vorangehend beschriebenen entsprechen, jedoch in die Einsteckrichtung E tiefer ausgebildet sind. Über derartige Verbindungselemente 4', bei denen beispielsweise der Kopf 40 in die Einsteckrichtung E verlängert ist, so dass ein Abstand zwischen dem Flachbandkabel 5 und dem Trägerelement 6 geschaffen wird, kann das Flachbandkabel 5 mit Abstand von der außenseitigen Oberfläche des Trägerelements 6 angeordnet werden.
  • Vorteilhafterweise wird das Flachbandkabel 5 unter Verwendung der Verbindungselemente 4, 4' an einer dem Außenraum des Fahrzeugs 1 zugewandten Seite des Trägerelements 6 angeordnet, um nachteilige Abschirmungseffekte des als Elektrodenelement der Sensoranordnung 3 dienenden Flachbandkabels 5 zu vermeiden. Auf diese Weise wird möglich, das Flachbandkabel 5 nahe am Außenraum anzuordnen, um eine Annäherung eines Körperteils oder eines anderen Objekts an das Flachbandkabel 5 mit hoher Empfindlichkeit erfassen zu können.
  • Der der Erfindung zugrunde liegende Gedanke ist nicht auf die vorangehend geschilderten Ausführungsbeispiele beschränkt. Insbesondere ist eine Sensoranordnung der beschriebenen Art nicht zwingendermaßen auf die Verwendung als Heckklappenschalter beschränkt, sondern kann grundsätzlich auch im Rahmen anderer Sensoranordnungen, beispielsweise als Bewegungs- oder Abstandssensor eines Fahrzeugs, eingesetzt werden.
  • Ein wesentlicher Vorteil der Erfindung besteht in einer einfachen, gleichzeitig aber festen und belastbaren Anordnung eines als Elektrodenelement dienenden Flachbandkabels an einem Trägerelement.
  • Bezugszeichenliste
  • 1
    Fahrzeug
    10
    Heckklappe
    11
    Stoßstange
    110
    Kunststoffverkleidung
    2
    Nutzer
    3
    Kapazitive Sensoranordnung
    30
    Steuerelektronik
    4, 4'
    Verbindungselement
    40
    Kopf
    401, 402
    Rastabschnitt
    41, 42
    Elastischer Abschnitt
    410, 420
    Rastabschnitt
    411, 421
    Bein
    43
    Positionierungsabschnitt
    430
    Bein
    431
    Halteabschnitt
    432
    Endabschnitt
    44
    Aussparung
    5
    Flachbandkabel
    50
    Schlaufe
    6, 6'
    Trägerelement
    60
    Öffnung
    A
    Aufsteckrichtung
    E
    Einsteckrichtung
    L
    Längserstreckungsrichtung

Claims (14)

  1. Sensoranordnung für ein Fahrzeug, mit – einem ein Elektrodenelement eines Sensors ausbildenden Flachbandkabel und – einem Trägerelement, an dem das Flachbandkabel anzuordnen ist, gekennzeichnet durch ein Verbindungselement (4, 4') zum Befestigen des Flachbandkabels (5) an dem Trägerelement (6), wobei das Verbindungselement (4, 4') mindestens einen elastischen Abschnitt (41, 42) zur rastenden Verbindung mit dem Trägerelement (6) und einen Positionierungsabschnitt (43) zum Halten des Flachbandkabels (5) an dem Verbindungselement (4, 4') aufweist.
  2. Sensoranordnung nach Anspruch 1, dadurch gekennzeichnet, dass der Positionierungsabschnitt (43) im Wesentlichen starr ausgebildet ist.
  3. Sensoranordnung nach Anspruch 1 oder 2, dadurch gekennzeichnet, dass das mindestens eine elastische Element (41, 42) als Federarm mit daran angeordnetem Rastabschnitt (410, 420) für einen formschlüssigen Eingriff mit dem Trägerelement (6) ausgebildet ist.
  4. Sensoranordnung nach einem der Ansprüche 1 bis 3, dadurch gekennzeichnet, dass das Verbindungselement (4, 4') in eine Einsteckrichtung (E) an das Trägerelement (6) zum Herstellen der rastenden Verbindung ansetzbar ist.
  5. Sensoranordnung nach Anspruch 4, dadurch gekennzeichnet, dass das Verbindungselement (4, 4') in eine Aufsteckrichtung (A) an das Flachbandkabel (5) ansetzbar ist, wobei sich die Aufsteckrichtung (A) von der Einsteckrichtung (E) unterscheidet und im Wesentlichen quer zu einer Längserstreckungsrichtung (L) des Flachbandkabels (5) gerichtet ist.
  6. Sensoranordnung nach einem der vorangehenden Ansprüche, dadurch gekennzeichnet, dass der mindestens eine elastische Abschnitt (41, 42) und der Positionierungsabschnitt (43) an einem Kopf (40) des Verbindungselementes (4, 4') angeordnet sind und zur selben Seite von dem Kopf (40) abstehen.
  7. Sensoranordnung nach Anspruch 6, dadurch gekennzeichnet, dass das Verbindungselement (4, 4') zwei elastische Abschnitte (41, 42) aufweist, zwischen denen der Positionierungsabschnitt (43) angeordnet ist.
  8. Sensoranordnung nach Anspruch 6 oder 7, dadurch gekennzeichnet, dass an dem Kopf (40) des Verbindungselementes (4, 4') eine Aussparung (44) zum Führen des Flachbandkabels (5) hin zum Positionierungsabschnitt (43) angeordnet ist.
  9. Sensoranordnung nach Anspruch 5 und 8, dadurch gekennzeichnet, dass die Aussparung (44) umfänglich offen ist derart, dass das Verbindungselement (4, 4') in die Aufsteckrichtung (A) an das Flachbandkabel (5), insbesondere an eine durch einen Abschnitt des Flachbandkabels (5) gebildete Schlaufe (50), ansetzbar ist.
  10. Sensoranordnung nach einem der Ansprüche 6 bis 9, dadurch gekennzeichnet, dass der Positionierungsabschnitt (43) durch ein am Kopf (40) des Verbindungselements (4, 4') angeordnetes Bein (430) und einen sich quer zum Bein erstreckenden Halteabschnitt (431) zum Halten des Flachbandkabels (5) gebildet ist.
  11. Sensoranordnung nach Anspruch 10, dadurch gekennzeichnet, dass am Halteabschnitt (431) ein den Halteabschnitt (431) an seinem dem Bein (430) abgewandeten Ende begrenzender Endabschnitt (432) ausgebildet ist, um ein Herunterrutschen des Flachbandkabels (5) von dem Halteabschnitt (431) zu verhindern.
  12. Sensoranordnung nach einem der Ansprüche 6 bis 11, dadurch gekennzeichnet, dass in einem Vormontagezustand, in dem das Flachbandkabel (5) mit dem Verbindungselement (4, 4') verbunden ist, das Verbindungselement (4, 4') aber noch nicht an dem Trägerelement (6) befestigt ist, das Flachbandkabel (5) durch die Aussparung (44) am Kopf (40) des Verbindungselements (4, 4') geführt und nach Art einer Schlaufe um den Positionierungsabschnitt (43) gelegt ist.
  13. Sensoranordnung nach einem der vorangehenden Ansprüche, dadurch gekennzeichnet, dass in einem Montagezustand des Flachbandkabels (5), in dem das Flachbandkabel (5) über mindestens ein Verbindungselement (4, 4') mit dem Trägerelement (6) verbunden ist, der mindestens eine elastische Abschnitt (41, 42) und der Positionierungsabschnitt (43) in eine Öffnung (60) des Trägerelements (6) eingesteckt sind, so dass sich das Flachbandkabel (5) abschnittsweise durch die Öffnung (60) erstreckt.
  14. Sensoranordnung nach einem der vorangehenden Ansprüche, dadurch gekennzeichnet, dass das Trägerelement (6) an einem feststehenden Abschnitt eines Fahrzeugs (1) angeordnet und das Flachbandkabel (5) von außen an dem Trägerelement (6) montierbar ist.
DE201010027872 2010-04-16 2010-04-16 Sensoranordnung für ein Fahrzeug Withdrawn DE102010027872A1 (de)

Priority Applications (1)

Application Number Priority Date Filing Date Title
DE201010027872 DE102010027872A1 (de) 2010-04-16 2010-04-16 Sensoranordnung für ein Fahrzeug

Applications Claiming Priority (1)

Application Number Priority Date Filing Date Title
DE201010027872 DE102010027872A1 (de) 2010-04-16 2010-04-16 Sensoranordnung für ein Fahrzeug

Publications (1)

Publication Number Publication Date
DE102010027872A1 true DE102010027872A1 (de) 2011-10-20

Family

ID=44730822

Family Applications (1)

Application Number Title Priority Date Filing Date
DE201010027872 Withdrawn DE102010027872A1 (de) 2010-04-16 2010-04-16 Sensoranordnung für ein Fahrzeug

Country Status (1)

Country Link
DE (1) DE102010027872A1 (de)

Cited By (4)

* Cited by examiner, † Cited by third party
Publication number Priority date Publication date Assignee Title
WO2013182466A1 (de) 2012-06-06 2013-12-12 Huf Hülsbeck & Fürst Gmbh & Co. Kg Kapazitive sensoranordnung zur schaltung einer türöffnung an einem kraftfahrzeug
DE102012104916A1 (de) 2012-06-06 2013-12-12 Huf Hülsbeck & Fürst Gmbh & Co. Kg Kapazitive Sensoranordnung zur Schaltung einer Türöffnung an einem Kraftfahrzeug
DE102013110866A1 (de) 2013-10-01 2015-04-02 Brose Fahrzeugteile Gmbh & Co. Kommanditgesellschaft, Hallstadt Kapazitive Sensoranordnung eines Kraftfahrzeugs
CN110816433A (zh) * 2018-08-09 2020-02-21 法雷奥照明湖北技术中心有限公司 固定元件和具有该固定元件的连接组件

Cited By (9)

* Cited by examiner, † Cited by third party
Publication number Priority date Publication date Assignee Title
WO2013182466A1 (de) 2012-06-06 2013-12-12 Huf Hülsbeck & Fürst Gmbh & Co. Kg Kapazitive sensoranordnung zur schaltung einer türöffnung an einem kraftfahrzeug
DE102012104916A1 (de) 2012-06-06 2013-12-12 Huf Hülsbeck & Fürst Gmbh & Co. Kg Kapazitive Sensoranordnung zur Schaltung einer Türöffnung an einem Kraftfahrzeug
DE102012104915A1 (de) 2012-06-06 2013-12-12 Huf Hülsbeck & Fürst Gmbh & Co. Kg Kapazitive Sensoranordnung zur Schaltung einer Türöffnung an einem Kraftfahrzeug
WO2013182464A1 (de) 2012-06-06 2013-12-12 Huf Hülsbeck & Fürst Gmbh & Co. Kg Kapazitive sensoranordnung zur schaltung einer türöffnung an einem kraftfahrzeug
DE102013110866A1 (de) 2013-10-01 2015-04-02 Brose Fahrzeugteile Gmbh & Co. Kommanditgesellschaft, Hallstadt Kapazitive Sensoranordnung eines Kraftfahrzeugs
WO2015049170A1 (de) 2013-10-01 2015-04-09 Brose Fahrzeugteile Gmbh & Co. Kg, Hallstadt Kapazitive sensoranordnung eines kraftfahrzeugs
CN105793122A (zh) * 2013-10-01 2016-07-20 博泽(哈尔施塔特)汽车零部件有限公司 汽车的电容式传感器装置
US10369968B2 (en) 2013-10-01 2019-08-06 Brose Fahrzeugteile Gmbh & Co. Kg, Hallstadt Capacitive sensor arrangement of a motor vehicle
CN110816433A (zh) * 2018-08-09 2020-02-21 法雷奥照明湖北技术中心有限公司 固定元件和具有该固定元件的连接组件

Similar Documents

Publication Publication Date Title
EP4234295B1 (de) Vorrichtung zur anordnung von sensoren für eine elektronische betätigung einer klappe eines kraftfahrzeugs
DE102015117509B4 (de) Steckverbinderteil mit einem Verriegelungselement
EP2376293B2 (de) Ventilanordnung
DE102012100428A1 (de) Türgriff für ein Kraftfahrzeug
EP3052348B1 (de) Kapazitive sensoranordnung eines kraftfahrzeugs
EP2869674A1 (de) Elektronikbaugruppe für einen Kraftfahrzeugtürgriff mit einer flexiblen Leiterplatte
WO2009153254A1 (de) Sensoranordnung für ein kraftfahrzeug
DE102010027872A1 (de) Sensoranordnung für ein Fahrzeug
DE102012111447B4 (de) Kapazitive Sensoreinheit sowie Sicherheitssystem mit einer Sensoreinheit und ein Verfahren zur Herstellung einer Sensoreinheit
WO2012116794A1 (de) Türgriffeinheit für ein fahrzeug
DE102012202982A1 (de) Befestigungselement sowie Bauteilanordnung
DE10242038A1 (de) Tügriffanordnung für eine Kraftfahrzeugtür
EP1467431B1 (de) Kontaktadapter für die Kontaktierung einer Antennenstruktur eines Fahrzeuges
DE10004220C2 (de) Vorrichtung zur Klemmbefestigung einer Flachbatterie
DE202010003763U1 (de) Kapazitive Sensoranordnung eines Kraftfahrzeugs
EP2975588B1 (de) Fernsteuerung
DE102012017843B4 (de) Träger zur Halterung eines elektrischen oder elektronischen Bauelements
DE102009016383A1 (de) Vorrichtung mit Haltewunschtaste
DE102006025081B4 (de) Antennen-Elektronikmodulträger, sowie Antennenmodul und Antennen-Locksensormodul
WO2016005368A1 (de) Sensormodul zur berührungslosen betätigung eines verstellbaren fahrzeugteils
DE102004021382B4 (de) Befestigungselement für einen Sensorkopf
DE102014018923A1 (de) Vorrichtung zur berührungslosen Betätigung eines verstellbaren Fahrzeugteils
DE102013009909A1 (de) Trägervorrichtung zur Befestigung an einer Scheibe eines Kraftwagens, Sensoreinrichtung und Anordnung einer Sensoreinrichtung an einer Trägervorrichtung
DE202012012527U1 (de) Befestigungselement mit flexiblen Füßen
DE202013001842U1 (de) Vorrichtung zum elektrischen Verbinden einer Anschlußleitung mit einer Elektrode, insbesondere mit einer medizintechnischen Hautelektrode

Legal Events

Date Code Title Description
R119 Application deemed withdrawn, or ip right lapsed, due to non-payment of renewal fee