DE102008057504A1 - Charging device i.e. exhaust gas turbocharger, has tensioning clamps provided for fastening housing sections and including spring arms for clamping flanges of housing sections against each other - Google Patents
Charging device i.e. exhaust gas turbocharger, has tensioning clamps provided for fastening housing sections and including spring arms for clamping flanges of housing sections against each other Download PDFInfo
- Publication number
- DE102008057504A1 DE102008057504A1 DE102008057504A DE102008057504A DE102008057504A1 DE 102008057504 A1 DE102008057504 A1 DE 102008057504A1 DE 102008057504 A DE102008057504 A DE 102008057504A DE 102008057504 A DE102008057504 A DE 102008057504A DE 102008057504 A1 DE102008057504 A1 DE 102008057504A1
- Authority
- DE
- Germany
- Prior art keywords
- housing
- housing sections
- charging device
- sections
- gas turbocharger
- Prior art date
- Legal status (The legal status is an assumption and is not a legal conclusion. Google has not performed a legal analysis and makes no representation as to the accuracy of the status listed.)
- Withdrawn
Links
Classifications
-
- F—MECHANICAL ENGINEERING; LIGHTING; HEATING; WEAPONS; BLASTING
- F01—MACHINES OR ENGINES IN GENERAL; ENGINE PLANTS IN GENERAL; STEAM ENGINES
- F01D—NON-POSITIVE DISPLACEMENT MACHINES OR ENGINES, e.g. STEAM TURBINES
- F01D25/00—Component parts, details, or accessories, not provided for in, or of interest apart from, other groups
- F01D25/24—Casings; Casing parts, e.g. diaphragms, casing fastenings
- F01D25/243—Flange connections; Bolting arrangements
-
- F—MECHANICAL ENGINEERING; LIGHTING; HEATING; WEAPONS; BLASTING
- F05—INDEXING SCHEMES RELATING TO ENGINES OR PUMPS IN VARIOUS SUBCLASSES OF CLASSES F01-F04
- F05D—INDEXING SCHEME FOR ASPECTS RELATING TO NON-POSITIVE-DISPLACEMENT MACHINES OR ENGINES, GAS-TURBINES OR JET-PROPULSION PLANTS
- F05D2220/00—Application
- F05D2220/40—Application in turbochargers
-
- F—MECHANICAL ENGINEERING; LIGHTING; HEATING; WEAPONS; BLASTING
- F05—INDEXING SCHEMES RELATING TO ENGINES OR PUMPS IN VARIOUS SUBCLASSES OF CLASSES F01-F04
- F05D—INDEXING SCHEME FOR ASPECTS RELATING TO NON-POSITIVE-DISPLACEMENT MACHINES OR ENGINES, GAS-TURBINES OR JET-PROPULSION PLANTS
- F05D2260/00—Function
- F05D2260/30—Retaining components in desired mutual position
- F05D2260/39—Retaining components in desired mutual position by a V-shaped ring to join the flanges of two cylindrical sections, e.g. casing sections of a turbocharger
Landscapes
- Engineering & Computer Science (AREA)
- Mechanical Engineering (AREA)
- General Engineering & Computer Science (AREA)
- Supercharger (AREA)
Abstract
Die Erfindung betrifft eine Ladeeinrichtung (1), insbesondere einen Abgasturbolader, mit einem aus zumindest zwei unterschiedlichen Gehäuseabschnitten (2, 3), beispielsweise einem Turbinengehäuse (2) und einem Verdichtergehäuse (3), zusammengesetzten Gehäuse. Erfindungswesentlich ist dabei, dass die zwei aneinandergrenzenden Gehäuseabschnitte (2, 3) über zumindest zwei ringsegmentartige und C-förmige Spannklammern (5) gegeneinander verspannt sind.The invention relates to a charging device (1), in particular an exhaust-gas turbocharger, with a housing composed of at least two different housing sections (2, 3), for example a turbine housing (2) and a compressor housing (3). It is essential to the invention that the two adjoining housing sections (2, 3) are braced against one another via at least two ring-segment-like and C-shaped clamping clamps (5).
Description
Die vorliegende Erfindung betrifft eine Ladeeinrichtung, insbesondere einen Abgasturbolader, mit einem aus zumindest zwei unterschiedlichen Gehäuseabschnitten, beispielsweise einem Turbinengehäuse und einem Verdichtergehäuse, zusammengesetzten Gehäuse gemäß dem Oberbegriff des Anspruchs 1.The The present invention relates to a charging device, in particular an exhaust gas turbocharger, with one of at least two different ones Housing sections, such as a turbine housing and a compressor housing, assembled housing according to the preamble of claim 1.
Üblicherweise werden unterschiedliche Gehäuseabschnitte bei Abgasturboladern, beispielsweise Turbinen- und Verdichtergehäuse, fest miteinander verschraubt, um eine gasdichte Verbindung der beiden Gehäuseabschnitte miteinander zu erzwingen. Derartige Verschraubungen sind jedoch konstruktiv aufwendig und in der Herstellung teuer, sodass bereits seit langem über alternative Verbindungsmethoden zwischen zwei Gehäuseabschnitten bei Abgasturboladern nachgedacht wird.Usually are different housing sections in exhaust gas turbochargers, For example, turbine and compressor housing, firmly together screwed to a gas-tight connection of the two housing sections to force one another. However, such glands are structurally complex and expensive to manufacture, so that already for a long time about alternative connection methods between two housing sections in exhaust gas turbochargers thought becomes.
Eine
gattungsgemäße Ladeeinrichtung ist beispielsweise
aus der
Eine
weitere Ladeeinrichtung ist beispielsweise aus der
Die vorliegende Erfindung beschäftigt sich mit dem Problem, für eine Ladeeinrichtung der gattungsgemäßen Art, eine verbesserte Ausführungsform anzugeben, welche sich insbesondere wirtschaftlicher fertigen lässt.The The present invention addresses the problem of for a charging device of the generic type Art to provide an improved embodiment which in particular can be manufactured more economically.
Dieses Problem wird erfindungsgemäß durch den Gegenstand des unabhängigen Anspruchs 1 gelöst. Vorteilhafte Ausführungsformen sind Gegenstand der abhängigen Ansprüche.This Problem is inventively by the subject of the independent claim 1 solved. advantageous Embodiments are the subject of the dependent Claims.
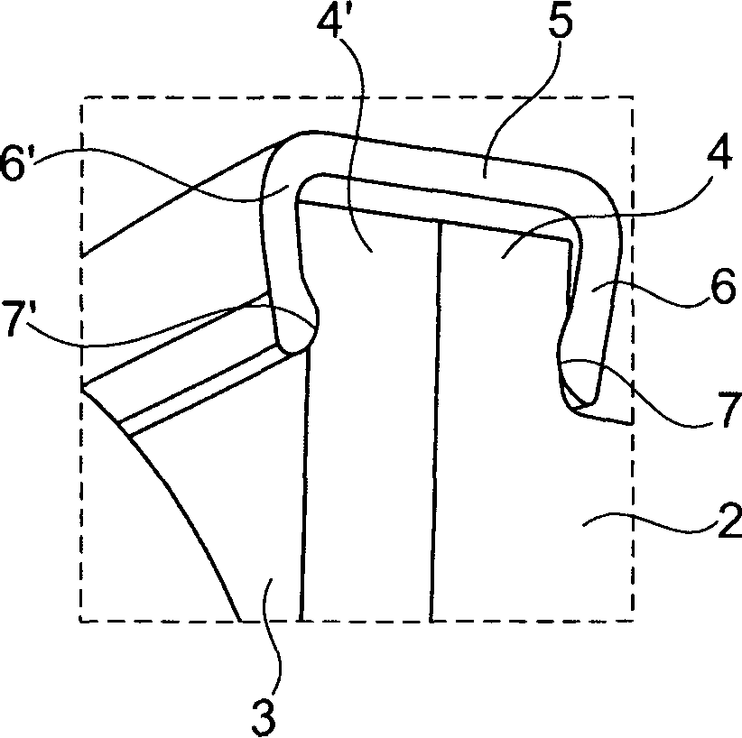
Die Erfindung beruht auf dem allgemeinen Gedanken, bei einer Ladeeinrichtung mit zumindest zwei unterschiedlichen Gehäuseabschnitten, diese nicht mehr miteinander zu verschrauben um eine gasdichte Verbindung zu bewirken, sondern mittels Spannklammern gasdicht gegeneinander zu verspannen. Die unterschiedlichen Gehäuseabschnitte können beispielsweise ein Turbinen- und ein Verdichtergehäuse oder optional zusätzlich ein Lagergehäuse sein. Jeweils zwei aneinandergrenzende Gehäuseabschnitte, weisen dabei einen radial nach außen gerichteten Bund auf, wobei zur Befestigung der zwei aneinandergrenzenden Gehäuseabschnitte zumindest zwei ringsegmentartige und C-förmige Spannklammern vorgesehen sind, welche mit ihren Federschenkeln die beiden Bünde der aneinandergrenzenden Gehäuseabschnitte gegeneinander verspannen. Zum Verbinden der beiden benachbarten Gehäuseabschnitte müssen diese somit lediglich mit ihren Bünden aneinander angelegt werden und anschließend die zumindest zwei C-förmigen Spannklammern von außen über die beiden aneinander anliegenden Bünde geschoben werden. Im Unterschied zu einer Verschraubung lässt sich eine derartige Verbindung der beiden aneinandergrenzenden Gehäuseabschnitte mittels der erfindungsgemäßen Spannklammern einfach und schnell und dadurch kostengünstig herstellen. Darüber hinaus wird hierdurch eine lösbare Verbindung der beiden benachbarten Gehäuseabschnitte geschaffen, wobei die zumindest zwei kreissegmentartig ausgebildeten Spannklammern problemlos mehrfach lösbar und wieder spannbar sind. Mittels der erfindungsgemäßen Verbindungstechnik lässt sich somit die Ladeeinrichtung schneller, mit einer geringeren Teileanzahl und handwerklich einfacher fertigen.The The invention is based on the general idea of a charging device with at least two different housing sections, These no longer screw together with each other to a gas-tight connection to effect, but by means of clamps gas-tight against each other to tense. The different housing sections can For example, a turbine and a compressor housing or optionally additionally be a bearing housing. Each two adjacent housing sections, have while a radially outward collar, wherein for fastening the two adjacent housing sections at least two ring segment-like and C-shaped clamping brackets are provided, which with their spring legs, the two frets the adjacent housing sections against each other tense. For connecting the two adjacent housing sections So they just have to work with their frets be put on each other and then the at least two C-shaped clamps from the outside over the two adjacent frets are pushed. Unlike a screw can be such a Connection of the two adjacent housing sections by means of the clamps according to the invention simple and produce quickly and therefore cost-effectively. About that In addition, this is a releasable connection of the two created adjacent housing sections, wherein the at least two circle segment-like clamps easily multiple times are releasable and tensionable again. By means of the invention Connection technology thus allows the charging device faster, with a smaller number of parts and craft easier.
Bei einer weiteren vorteilhaften Ausführungsform der erfindungsgemäßen Lösung, ist zumindest einem Bund eines Gehäuseabschnittes eine Ringnut vorgesehen, in welche ein Federschenkel der Spannklammer eingreift. Eine derartige Ringnut bildet somit eine Art Hinterschnitt, in welche ein entsprechend ausgebildeter Federschenkel der Spannklammer eingreift und dadurch diese lagefixiert am jeweiligen des zugehörigen Gehäuseabschnittes fixiert. Selbstverständlich ist dabei auch die umgekehrte Ausgestaltung denkbar, wonach am jeweiligen Bund des zugehörigen Gehäuseabschnittes ein Ringwulst vorgesehen ist, welcher von einem Federschenkel der aufgebrachten Spannklammer hintergriffen wird. Generell lassen sich mit derartig konstruktiv einfachen Maßnahmen eine äußerst wirkungsvolle Lagefixierung der Spannklammern und damit eine zuverlässige Verbindung der mittels der Spannklammern verbundenen Gehäuseabschnitte erzielen.at a further advantageous embodiment of the invention Solution is at least a covenant of a housing section an annular groove provided, in which a spring leg of the clamp intervenes. Such an annular groove thus forms a kind of undercut, in which a suitably trained spring leg of the clamp engages and thereby this position fixes on each of the associated Housing section fixed. Of course is also the reverse configuration conceivable, according to the respective federal government the associated housing portion a torus is provided, which of a spring leg of the applied Clamp is engaged behind. Generally can be with such constructively simple measures an extremely effective position fixation of the clamps and thus a reliable To achieve connection of the housing sections connected by means of the clamping brackets.
Zweckmäßig ist zwischen zwei Gehäuseabschnitten zusätzlich eine variable Turbinen-/Verdichtergeometrie eingeklemmt. In diesem Fall können die Spannklammer nicht nur zum Verbinden der zwei benachbart gelegenen Gehäuseabschnitte herangezogen werden, sondern zusätzlich zu einer Lagefixierung eines dazwischen eingeklemmten Bauteils, wie beispielsweise oben genannter variabler Turbinen-/Verdichtergeometrie. Denkbar ist selbstverständlich auch das Verklemmen weiterer Bauteile, wie beispielsweise einer Dichtung. Die von den Spannklammern aufgebrachte Spannkraft ist dabei auf jeden Fall so stark, dass sie nicht nur die beiden miteinander zu verbindenden Gehäuseabschnitte gasdicht miteinander verspannt, sondern zusätzlich auch noch das zwischen diesen beiden Gehäuseabschnitten eingeklemmte Bauteil, beispielsweise die variable Turbinen-/Verdichtergeometrie, zuverlässig einklemmt und dadurch fixiert.expedient is additional between two housing sections clamped a variable turbine / compressor geometry. In this Case, the clamp can not only for connecting the used two adjacent housing sections but in addition to fixing a position between clamped component, such as the above Variable turbine / compressor geometry. It is conceivable, of course also the jamming of other components, such as a Poetry. The clamping force applied by the clamps is Definitely so strong that they are not just the two with each other To be connected housing sections gas-tight with each other braced, but in addition also between these two housing sections clamped component, for example the variable turbine / compressor geometry, reliably clamped and thereby fixed.
Weitere wichtige Merkmale und Vorteile der Erfindung ergeben sich aus den Unteransprüchen, aus den Zeichnungen und aus der zugehörigen Figurenbeschreibung anhand der Zeichnungen.Further important features and advantages of the invention emerge from the subclaims, from the drawings and from the associated description of the figures with reference to the drawings.
Es versteht sich, dass die vorstehend genannten und die nachstehend noch zu erläuternden Merkmale nicht nur in der jeweils angegebenen Kombination, sondern auch in anderen Kombinationen oder in Alleinstellung verwendbar sind, ohne den Rahmen der vorliegenden Erfindung zu verlassen.It it is understood that the above and the following yet to be explained features not only in each case specified combination, but also in other combinations or can be used in isolation, without the scope of the present To leave invention.
Bevorzugte Ausführungsbeispiele der Erfindung sind in den Zeichnungen dargestellt und werden in der nachfolgenden Beschreibung näher erläutert, wobei sich gleiche Bezugszeichen auf gleiche oder ähnliche oder funktional gleiche Bauteile beziehen.preferred Embodiments of the invention are in the drawings and will become more apparent in the following description explained, wherein the same reference numerals to the same or similar or functionally identical components relate.
Dabei zeigen, jeweils schematisch,there show, in each case schematically,
Entsprechend
der
Selbstverständlich
ist die Erfindung nicht nur auf ein Turbinengehäuse
In
einer Teilungsebene zwischen den zwei benachbarten Gehäuseabschnitten
Die
erfindungsgemäße Verbindung zumindest zweier Gehäuseabschnitte
ZITATE ENTHALTEN IN DER BESCHREIBUNGQUOTES INCLUDE IN THE DESCRIPTION
Diese Liste der vom Anmelder aufgeführten Dokumente wurde automatisiert erzeugt und ist ausschließlich zur besseren Information des Lesers aufgenommen. Die Liste ist nicht Bestandteil der deutschen Patent- bzw. Gebrauchsmusteranmeldung. Das DPMA übernimmt keinerlei Haftung für etwaige Fehler oder Auslassungen.This list The documents listed by the applicant have been automated generated and is solely for better information recorded by the reader. The list is not part of the German Patent or utility model application. The DPMA takes over no liability for any errors or omissions.
Zitierte PatentliteraturCited patent literature
- - US 6951450 B1 [0003] - US 6951450 B1 [0003]
- - FR 2906567 [0004] FR 2906567 [0004]
Claims (7)
Priority Applications (1)
| Application Number | Priority Date | Filing Date | Title |
|---|---|---|---|
| DE102008057504A DE102008057504A1 (en) | 2008-11-15 | 2008-11-15 | Charging device i.e. exhaust gas turbocharger, has tensioning clamps provided for fastening housing sections and including spring arms for clamping flanges of housing sections against each other |
Applications Claiming Priority (1)
| Application Number | Priority Date | Filing Date | Title |
|---|---|---|---|
| DE102008057504A DE102008057504A1 (en) | 2008-11-15 | 2008-11-15 | Charging device i.e. exhaust gas turbocharger, has tensioning clamps provided for fastening housing sections and including spring arms for clamping flanges of housing sections against each other |
Publications (1)
| Publication Number | Publication Date |
|---|---|
| DE102008057504A1 true DE102008057504A1 (en) | 2010-05-20 |
Family
ID=42105094
Family Applications (1)
| Application Number | Title | Priority Date | Filing Date |
|---|---|---|---|
| DE102008057504A Withdrawn DE102008057504A1 (en) | 2008-11-15 | 2008-11-15 | Charging device i.e. exhaust gas turbocharger, has tensioning clamps provided for fastening housing sections and including spring arms for clamping flanges of housing sections against each other |
Country Status (1)
| Country | Link |
|---|---|
| DE (1) | DE102008057504A1 (en) |
Cited By (3)
| Publication number | Priority date | Publication date | Assignee | Title |
|---|---|---|---|---|
| GB2526321A (en) * | 2014-05-21 | 2015-11-25 | Rolls Royce Plc | A casing arrangement |
| DE102014109131A1 (en) | 2014-06-30 | 2015-12-31 | Ihi Charging Systems International Gmbh | turbocharger |
| WO2016037686A1 (en) | 2014-09-12 | 2016-03-17 | Ihi Charging Systems International Gmbh | Turbocharger |
Citations (9)
| Publication number | Priority date | Publication date | Assignee | Title |
|---|---|---|---|---|
| US3781126A (en) * | 1972-06-15 | 1973-12-25 | Wallace Murray Corp | Turbocharger compressor with dual inlet and collector chambers |
| WO1984004136A1 (en) * | 1983-04-11 | 1984-10-25 | William E Woollenweber | Internal combustion engine turbocharger |
| JPS61218733A (en) * | 1985-03-25 | 1986-09-29 | Hitachi Ltd | Exhaust gas turbine supercharger |
| DE19816645A1 (en) * | 1998-04-15 | 1999-10-21 | Daimler Chrysler Ag | Exhaust gas turbocharger turbine |
| EP1057978A2 (en) * | 1994-11-04 | 2000-12-06 | MAN B&W Diesel Ltd. | A turbocharger assembly |
| WO2004022926A1 (en) * | 2002-09-05 | 2004-03-18 | Honeywell International Inc. | Turbocharger comprising a variable nozzle device |
| GB2408779A (en) * | 2001-09-10 | 2005-06-08 | Malcolm George Leavesley | Variable turbocharger |
| US6951450B1 (en) | 2000-07-19 | 2005-10-04 | Honeywell International, Inc. | Variable geometry turbocharger |
| FR2906567A1 (en) | 2006-09-28 | 2008-04-04 | Peugeot Citroen Automobiles Sa | Turbo compressor for e.g. petrol engine of hybrid vehicle, has turbine and compressor blades located on both sides of median plane normal to rotation axis of impeller that is carried by case using air bearing, where bearing surrounds blades |
-
2008
- 2008-11-15 DE DE102008057504A patent/DE102008057504A1/en not_active Withdrawn
Patent Citations (9)
| Publication number | Priority date | Publication date | Assignee | Title |
|---|---|---|---|---|
| US3781126A (en) * | 1972-06-15 | 1973-12-25 | Wallace Murray Corp | Turbocharger compressor with dual inlet and collector chambers |
| WO1984004136A1 (en) * | 1983-04-11 | 1984-10-25 | William E Woollenweber | Internal combustion engine turbocharger |
| JPS61218733A (en) * | 1985-03-25 | 1986-09-29 | Hitachi Ltd | Exhaust gas turbine supercharger |
| EP1057978A2 (en) * | 1994-11-04 | 2000-12-06 | MAN B&W Diesel Ltd. | A turbocharger assembly |
| DE19816645A1 (en) * | 1998-04-15 | 1999-10-21 | Daimler Chrysler Ag | Exhaust gas turbocharger turbine |
| US6951450B1 (en) | 2000-07-19 | 2005-10-04 | Honeywell International, Inc. | Variable geometry turbocharger |
| GB2408779A (en) * | 2001-09-10 | 2005-06-08 | Malcolm George Leavesley | Variable turbocharger |
| WO2004022926A1 (en) * | 2002-09-05 | 2004-03-18 | Honeywell International Inc. | Turbocharger comprising a variable nozzle device |
| FR2906567A1 (en) | 2006-09-28 | 2008-04-04 | Peugeot Citroen Automobiles Sa | Turbo compressor for e.g. petrol engine of hybrid vehicle, has turbine and compressor blades located on both sides of median plane normal to rotation axis of impeller that is carried by case using air bearing, where bearing surrounds blades |
Cited By (4)
| Publication number | Priority date | Publication date | Assignee | Title |
|---|---|---|---|---|
| GB2526321A (en) * | 2014-05-21 | 2015-11-25 | Rolls Royce Plc | A casing arrangement |
| DE102014109131A1 (en) | 2014-06-30 | 2015-12-31 | Ihi Charging Systems International Gmbh | turbocharger |
| WO2016037686A1 (en) | 2014-09-12 | 2016-03-17 | Ihi Charging Systems International Gmbh | Turbocharger |
| DE102014113165A1 (en) | 2014-09-12 | 2016-03-17 | Ihi Charging Systems International Gmbh | turbocharger |
Similar Documents
| Publication | Publication Date | Title |
|---|---|---|
| DE102008058507A1 (en) | loader | |
| EP3034832B1 (en) | Charging device | |
| EP1483482A1 (en) | Guide blade fixture in a flow channel of an aircraft gas turbine | |
| DE112011101495T5 (en) | turbocharger | |
| DE102013219024A1 (en) | Component system of a turbomachine | |
| DE102009020591A1 (en) | Charging device i.e. exhaust gas turbocharger, for internal combustion engine of motor vehicle, has guide vanes arranged in inflow zone for gases, and recess formed between head end and foot end of guide vanes | |
| DE212012000108U1 (en) | Clamping element and terminal assembly for an engine exhaust pipe system and exhaust pipe for an internal combustion engine | |
| DE102014212155A1 (en) | Bearing device for a shaft, in particular a turbocharger device | |
| DE102008045228A1 (en) | Exhaust gas turbocharger for a motor vehicle | |
| DE102008050325A1 (en) | Housing or component e.g. compressor stator, ensemble e.g. exhaust turbo charger, has bearing surfaces arranged at counter-joining piece, turned away from joining plane and extended parallel to joining plane | |
| DE102010053078A1 (en) | Exhaust gas supercharger, has connecting element formed between exhaust gas guide section and bearing portion, and bearing section and exhaust system portion comprising connector that is formed in region of connection joint | |
| DE102008057504A1 (en) | Charging device i.e. exhaust gas turbocharger, has tensioning clamps provided for fastening housing sections and including spring arms for clamping flanges of housing sections against each other | |
| DE102016001874A1 (en) | Clamp for connecting two pipes | |
| WO2012045748A1 (en) | Variable turbine and/or compressor geometry | |
| DE102017222383A1 (en) | Arrangement and method for connecting fluid-conducting components, in particular in the exhaust system of a motor vehicle | |
| DE102010032319A1 (en) | flange | |
| DE102008023552B4 (en) | Exhaust gas turbocharger for a motor vehicle | |
| DE102014011606B4 (en) | Exhaust system for an internal combustion engine | |
| DE102008046009A1 (en) | Charging device, particularly supercharger for motor vehicle, has variable turbine or compressor geometry, and guide vane is mounted on blade bearing in rotating manner | |
| DE112011102945B4 (en) | Exhaust turbocharger and manifold module | |
| DE102007048929A1 (en) | Exhaust pipe part and turbocharger connection pipe part connection arrangement for exhaust gas system of motor vehicle, has outer contours arranged in angle to each other in V-shape and working together with inner contours of band clip | |
| DE102015209813A1 (en) | Variable turbine or compressor geometry for an exhaust gas turbocharger | |
| DE102010006716A1 (en) | Charging device i.e. exhaust gas turbo charger, for increasing power of internal combustion engine in motor vehicle, has sealing area comprising labyrinth sealing device, where stator and area together form sealing device | |
| DE102014018623A1 (en) | Connecting arrangement of an exhaust manifold to a turbine housing | |
| DE102012211417A1 (en) | Guide vane arrangement for exhaust gas supercharger in internal combustion engine of motor car, has sleeve-like spacing element arranged coaxial to vane bearing pins and holding guide vane carrier rings at spacing to cover disk |
Legal Events
| Date | Code | Title | Description |
|---|---|---|---|
| OM8 | Search report available as to paragraph 43 lit. 1 sentence 1 patent law | ||
| R012 | Request for examination validly filed | ||
| R081 | Change of applicant/patentee |
Owner name: BMTS TECHNOLOGY GMBH & CO. KG, DE Free format text: FORMER OWNER: BOSCH MAHLE TURBO SYSTEMS GMBH & CO. KG, 70376 STUTTGART, DE |
|
| R082 | Change of representative |
Representative=s name: BRP RENAUD UND PARTNER MBB RECHTSANWAELTE PATE, DE |
|
| R016 | Response to examination communication | ||
| R119 | Application deemed withdrawn, or ip right lapsed, due to non-payment of renewal fee |
