CN2904840Y - A multifunctional combined pillow - Google Patents
A multifunctional combined pillow Download PDFInfo
- Publication number
- CN2904840Y CN2904840Y CN 200620072899 CN200620072899U CN2904840Y CN 2904840 Y CN2904840 Y CN 2904840Y CN 200620072899 CN200620072899 CN 200620072899 CN 200620072899 U CN200620072899 U CN 200620072899U CN 2904840 Y CN2904840 Y CN 2904840Y
- Authority
- CN
- China
- Prior art keywords
- pillow
- superimposed
- neck
- pillows
- sleeper
- Prior art date
- Legal status (The legal status is an assumption and is not a legal conclusion. Google has not performed a legal analysis and makes no representation as to the accuracy of the status listed.)
- Expired - Fee Related
Links
Landscapes
- Bedding Items (AREA)
Abstract
本实用新型公开了一种多功能组合式枕头,包括枕套、枕芯,特点是由两个枕头叠加而成,其中一个枕头(称为上枕头,下同)包括侧卧枕、护颈枕、垫枕;所述的侧卧枕分别叠加于另一枕头(称为下枕头,下同)两端部上方,护颈枕叠加于侧卧枕之间的下枕头中部一边的上方,垫枕叠加于护颈枕与侧卧枕之间的下枕头中部另一边的上方;上枕头的枕芯为中药;可根据需要将上述枕头进行组合使用,可达到以下效果:有利于颈椎疲劳的恢复以及颈椎病的治疗;对高血压、头昏、头痛或失眠能起到很好的调理作用;可辅助治疗腰、肩、背疼痛;还可矫正青少年因长期伏案学习而引起的椎体变形。使用这样的枕头,当人们清晨醒来会感觉神清气爽,精神百倍。
The utility model discloses a multi-functional combined pillow, which comprises a pillowcase and a pillow core, and is characterized in that two pillows are superimposed, and one of the pillows (called the upper pillow, the same below) includes a side sleeper pillow, a neck protection pillow, Cushion; the side sleeper pillow is superimposed on the two ends of another pillow (called the lower pillow, the same below), the neck pillow is superimposed on the side of the middle part of the lower pillow between the side sleeper pillows, and the pillow is superimposed It is placed above the other side of the middle part of the lower pillow between the neck support pillow and the side sleeper pillow; the pillow core of the upper pillow is Chinese medicine; the above pillows can be used in combination according to the needs, and the following effects can be achieved: it is beneficial to the recovery of cervical spine fatigue and the recovery of the cervical spine. It can treat high blood pressure, dizziness, headache or insomnia; it can assist in the treatment of waist, shoulder and back pain; it can also correct the vertebral body deformation caused by long-term desk-study in teenagers. With such a pillow, people wake up feeling refreshed and refreshed in the morning.
Description
技术领域:Technical field:
本实用新型涉及保健用品领域,具体地说涉及人们睡眠时使用的枕头。The utility model relates to the field of health products, in particular to pillows used by people when sleeping.
背景技术:Background technique:
随着伏案以及在电脑前工作的人群增多,伴随着这类人群的颈椎痛、腰背痛也在折磨着他们,使他们处于亚健康状态,有的甚至得了颈椎病,如:椎间盘变窄、椎体生理弧度改变、椎间骨质增生等,这些疾病如不及时治疗,严重时可使患者丧失劳动能力;有统计表明,在50岁以上人群中,患有颈椎病的达30%以上;另据研究表明,在造成颈椎病的诸多因素中,卧枕不适当的枕头,是一个十分重要的原因。为了缓解这种颈椎劳损的症状,选择合适的枕头显得非常重要,合适的枕头可以保持颈椎的自然生理弯曲,恢复日间造成的疲劳,延缓颈椎退行性病变的进程。目前市面上推出的一些枕头,如有的在枕头中装有中药,有的将枕头中部设计的低一些,但其枕头仍为一般形状,不能与人的颈椎生理弧度匹配,也不能对人在侧卧时的生理状态进行调整,同时不能对人的胸椎或腰椎或生理弧度进行恢复和调整。人的一生有三分之一时间是在睡眠中度过,选择合适的枕头不仅能提高睡眠质量,而且能防病、治病,从而提高人的学习、工作效率。With the increasing number of people working at desks and in front of computers, the cervical pain and back pain accompanying this group of people are also tormenting them, making them in a sub-healthy state, and some even suffer from cervical spondylosis, such as: intervertebral disc narrowing, Changes in the physiological curvature of the vertebral body, intervertebral bone hyperplasia, etc. If these diseases are not treated in time, the patient will lose the ability to work in severe cases; statistics show that more than 30% of people over 50 years old suffer from cervical spondylosis; According to research, among the many factors causing cervical spondylosis, sleeping on an inappropriate pillow is a very important reason. In order to alleviate the symptoms of cervical strain, it is very important to choose a suitable pillow. A suitable pillow can maintain the natural physiological curvature of the cervical spine, restore fatigue caused during the day, and delay the process of cervical degenerative disease. Some pillows currently on the market, if some are equipped with traditional Chinese medicine in the pillow, and some have a lower design in the middle of the pillow, but the pillow is still in a general shape, which cannot match the physiological curvature of the cervical spine of a person, nor is it suitable for the human body. The physiological state when lying on the side is adjusted, and the thoracic spine or lumbar spine or the physiological radian of the person cannot be recovered and adjusted simultaneously. One-third of a person's life is spent in sleep. Choosing a suitable pillow can not only improve the quality of sleep, but also prevent and cure diseases, thereby improving people's learning and work efficiency.
发明内容:Invention content:
本实用新型要解决的技术问题是提供一种枕头,不仅枕头中装有中药材,而且枕头的形状与人的颈椎生理弧度匹配,使颈椎及其肌腱得到放松和调整,同时还可以对人的胸椎或腰椎疼痛或生理弧度进行恢复和调整。The technical problem to be solved by the utility model is to provide a pillow, which not only contains Chinese herbal medicines, but also has a shape that matches the physiological radian of the human cervical spine, so that the cervical spine and its tendons can be relaxed and adjusted, and at the same time, it can relax and adjust the human cervical spine. Thoracic or lumbar pain or physiological curvature for recovery and adjustment.
本实用新型技术方案是这样实现的,一种多功能组合式枕头,包括枕套、枕芯,特点是由两个枕头叠加而成,其中一个枕头(使用时在上方,称为上枕头,下同)包括侧卧枕、护颈枕;所述的侧卧枕分别叠加于另一枕头(使用时在下方,称为下枕头,下同)两端部上方,护颈枕叠加于侧卧枕之间的下枕头中部一边的上方。The technical scheme of the utility model is achieved in this way, a multifunctional combined pillow, including a pillowcase and a pillow core, is characterized by superimposing two pillows, one of which is on the top when in use, and is called the upper pillow, the same below ) includes a side sleeper pillow and a neck pillow; the side sleeper pillows are respectively superimposed on the top of the two ends of another pillow (under use, referred to as the lower pillow, the same below), and the neck pillow is superimposed on the side sleeper pillow. Between the upper and middle sides of the lower pillow.
上述的上枕头还包括垫枕,垫枕叠加于护颈枕与侧卧枕之间的下枕头中部另一边的上方。护颈枕、垫枕的横断面为矩形或半圆形,以半圆形为佳;上述下枕头的横断面为矩形;侧卧枕横断面为矩形或梯形(梯形的两侧斜边为弧形)均可,以梯形为佳,既与侧卧时的生理弧度匹配,也比较美观。两个枕头之间可以缝合连接,也可以粘贴连接。护颈枕的宽度为10厘米左右,侧卧枕的高度可在6~15厘米之间,护颈枕的高度低于侧卧枕约为4厘米左右,上述的下枕头高度约为3厘米左右;可根据不同体型的人员,制作多种规格的枕头,以期对颈椎提供最为适配的护理。所述的枕头枕芯为柔性体,柔性体可为泡沫、海绵,以海绵较佳。为了美观以及防止两个枕头叠加使用中的错位,本实用新型还设计了与两个枕头叠加后的形状相匹配的枕套。The above-mentioned upper pillow also includes a bolster, and the bolster is superimposed on the other side of the middle part of the lower pillow between the neck protection pillow and the side sleeping pillow. The cross section of the neck pillow and cushion pillow is rectangular or semicircular, preferably semicircular; the cross section of the above-mentioned lower pillow is rectangular; the cross section of the side sleeping pillow is rectangular or trapezoidal (the hypotenuses on both sides of the trapezoid are arcs) Shape) can be, preferably trapezoidal, which not only matches the physiological arc when lying on the side, but also looks more beautiful. The two pillows can be connected by sewing or pasting. The width of the neck support pillow is about 10 cm, the height of the side sleeper pillow can be between 6 and 15 cm, the height of the neck support pillow is about 4 cm lower than that of the side sleeper pillow, and the height of the above-mentioned lower pillow is about 3 cm ;According to people of different body types, pillows of various specifications can be made in order to provide the most suitable care for the cervical spine. The pillow core is a flexible body, which can be foam or sponge, preferably sponge. In order to be beautiful and to prevent dislocation when the two pillows are stacked and used, the utility model also designs a pillowcase that matches the shape of the two pillows stacked.
有益效果:Beneficial effect:
一、本实用新型由两个枕头叠加而成,设置于上方的枕头所包括的护颈枕的横断面为半圆形,其高度、宽度可根据不同体型的使用者设计制作,当人们需要放松颈椎采用仰姿时,后脑勺枕于下枕头上,而颈部则被上枕头的护颈枕托住,这样的弧度非常有利于颈椎疲劳的恢复以及颈椎病的治疗,加之护颈枕中充填有护理颈椎的中药,能起到很好的理疗作用。可以说,长期使用这样的枕头,对人的颈椎有保护作用,同时有减轻颈椎疼痛的作用。1. This utility model is formed by superimposing two pillows. The cross-section of the neck pillow included in the upper pillow is semicircular, and its height and width can be designed and manufactured according to users of different body types. When people need to relax When the cervical spine adopts a supine posture, the back of the head rests on the lower pillow, while the neck is supported by the neck pillow of the upper pillow. Such a curvature is very conducive to the recovery of cervical fatigue and the treatment of cervical spondylosis. Chinese medicine for cervical spine care can play a very good role in physical therapy. It can be said that long-term use of such a pillow can protect the human cervical spine and relieve cervical pain.
二、本实用新型上枕头所包括的侧卧枕,其内充填有治疗高血压、头昏、头痛或失眠的中药,同时其高度可根据不同体型的使用者设计制作,当人们需要侧卧时,不仅颈椎得到很好地放松和调整,枕头中装有的治疗上述疾病的中药,对高血压、头昏、头痛或失眠也能起到很好的康复作用。可以说,使用这样的枕头,当人们清晨醒来会感觉神清气爽,精神百倍。2. The side sleeping pillow included in the pillow of the present invention is filled with traditional Chinese medicine for treating high blood pressure, dizziness, headache or insomnia, and its height can be designed and manufactured according to users of different body types. When people need to lie on their side , not only the cervical spine is well relaxed and adjusted, but the traditional Chinese medicine for treating the above diseases contained in the pillow can also play a very good rehabilitation effect on high blood pressure, dizziness, headache or insomnia. It can be said that using such a pillow, people will feel refreshed and full of energy when they wake up in the morning.
三、本实用新型的上枕头所包括的垫枕,其内充填有治疗腰、肩、背疼痛的中药,该垫枕不仅可垫于上述的疼痛处治疗疼痛,该垫枕还可垫于青少年的颈部以下的胸椎处,矫正青少年因长期伏案学习而引起的椎体变形。将该垫枕置于侧卧枕与护颈枕之间的下枕头上,可以作为常规药用枕头使用。3. The cushion pillow included in the upper pillow of the present utility model is filled with traditional Chinese medicine for treating waist, shoulder and back pain. The thoracic spine below the neck is used to correct the vertebral body deformation caused by long-term desk study in adolescents. The bolster is placed on the lower pillow between the side sleeping pillow and the neck pillow, and can be used as a conventional medicinal pillow.
附图说明:Description of drawings:
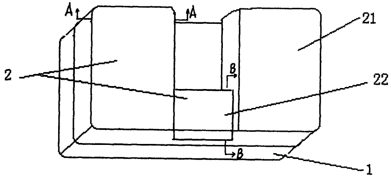
图1为本实用新型两个枕头叠加后立体示意图;Fig. 1 is the three-dimensional schematic diagram after two pillows of the utility model are superimposed;
图2为图1A-A剖视示意图;Fig. 2 is a schematic cross-sectional view of Fig. 1A-A;
图3为图1B-B剖视示意图;Fig. 3 is a schematic cross-sectional view of Fig. 1B-B;
图4为本实用新型设有枕套的立体示意图;Fig. 4 is the three-dimensional schematic diagram that the utility model is provided with pillowcase;
图5为图4C-C剖视示意图。FIG. 5 is a schematic cross-sectional view of FIG. 4C-C.
具体实施方式:Detailed ways:
如图1、4所示,本实用新型由枕头1和枕头2叠加而成,枕头1的枕芯为海绵,枕头2的枕芯为中药材。仍如图1、4所示,枕头2包括侧卧枕21、护颈枕22和垫枕23。如图1所示,侧卧枕21分别叠加于枕头1两端部上方,护颈枕22叠加于侧卧枕21之间的枕头1中部一边上方。如图4所示,枕头1和枕头2叠加后设置有枕套3,枕套3的形状与枕头1、2叠加后的形状匹配,两个枕头之间缝合连接后,装入枕套3内,既美观、又方便使用。仍如图4所示,垫枕23叠加于护颈枕22与侧卧枕21之间的枕头1中部另一边上方,当然,垫枕23也可以叠加于图1所示的护颈枕22与侧卧枕21之间的枕头1中部另一边上方(图中未示出)。As shown in Figures 1 and 4, the utility model is formed by superimposing pillow 1 and pillow 2, and the pillow core of pillow 1 is sponge, and the pillow core of pillow 2 is Chinese herbal medicine. Still as shown in FIGS. 1 and 4 , the pillow 2 includes a side sleeper pillow 21 , a neck pillow 22 and a bolster 23 . As shown in FIG. 1 , the side sleeper pillows 21 are respectively superimposed on the two ends of the pillow 1 , and the neck protection pillow 22 is superimposed on one side of the middle part of the pillow 1 between the side sleeper pillows 21 . As shown in Figure 4, pillow 1 and pillow 2 are superimposed with pillowcase 3. The shape of pillowcase 3 matches the shape of pillows 1 and 2 after superposition. After the two pillows are stitched and connected, they are put into pillowcase 3, which is beautiful. , and easy to use. Still as shown in FIG. 4 , the bolster 23 is superimposed on the other side of the middle part of the pillow 1 between the neck pillow 22 and the side sleeper 21 . Of course, the bolster 23 can also be superimposed on the neck pillow 22 and the side pillow 21 shown in FIG. 1 . Above the other side of the pillow 1 middle part between the side sleeping pillows 21 (not shown in the figure).
如图3、5所示,护颈枕、垫枕的横断面为半圆形;如图2所示,侧卧枕横断面为梯形(梯形的两侧斜边为弧形);枕头1的横断面为矩形(未提供图示)。As shown in Figures 3 and 5, the cross-section of the neck protection pillow and the cushion pillow is semicircular; The cross section is rectangular (not shown).
在本实施例中,枕头1高度取为3厘米,侧卧枕21、垫枕23高度取为9厘米,护颈枕22高度取为5厘米、其宽度取为8厘米,按这样设计的枕头可适于1.7米男性使用。In the present embodiment, the height of the pillow 1 is 3 centimeters, the height of the side sleeper pillow 21 and the cushion pillow 23 are 9 centimeters, the height of the neck pillow 22 is 5 centimeters, and its width is 8 centimeters. The pillow designed in this way Suitable for men up to 1.7 meters.
使用:根据使用者的体形选择相应的枕头规格,当人们需要恢复颈椎的疲劳,或对颈椎病作治疗时,则将图4中的垫枕23取放一边,采用仰姿,肩部放于床上,后脑勺枕于枕头1上,颈部贴于枕头2的护颈枕22圆弧面即可;当人们需侧卧时,则将头部一侧枕于枕头2的侧卧枕21上;当青少年需矫正胸椎时,则将垫枕23垫于颈以下部位,采用仰姿即可;当人们需治疗腰、肩疼痛时,则将垫枕23垫于腰、肩部位,也采用仰姿即可;当人们不需要对颈椎进行特别护理时(或者说不愿意使用这种特殊形状的枕头),则可选用图4示出的常规枕头,仅作为药枕使用。总之,无论采用何种睡姿或何种形式的枕头,枕头2内装的中药材都会发挥其应有的理疗作用。Use: select the corresponding pillow specifications according to the body shape of the user. When people need to restore the fatigue of the cervical spine, or treat cervical spondylosis, then take the pillow 23 in Fig. 4 and put it aside, adopt a supine posture, and put the shoulders on the pillow. On the bed, the back of the head rests on the pillow 1, and the neck is attached to the arc surface of the neck pillow 22 of the pillow 2; When teenagers need to correct the thoracic spine, then pad the pillow 23 at the position below the neck, and adopt a supine posture; Get final product; When people do not need to carry out special care to cervical spine (or be unwilling to use the pillow of this special shape), then can select the routine pillow shown in Figure 4 for use, only use as medicine pillow. In a word, no matter what kind of sleeping position or what kind of pillow is adopted, the Chinese medicinal materials contained in the pillow 2 will play its due physiotherapy effect.
Claims (7)
Priority Applications (1)
| Application Number | Priority Date | Filing Date | Title |
|---|---|---|---|
| CN 200620072899 CN2904840Y (en) | 2006-04-24 | 2006-04-24 | A multifunctional combined pillow |
Applications Claiming Priority (1)
| Application Number | Priority Date | Filing Date | Title |
|---|---|---|---|
| CN 200620072899 CN2904840Y (en) | 2006-04-24 | 2006-04-24 | A multifunctional combined pillow |
Publications (1)
| Publication Number | Publication Date |
|---|---|
| CN2904840Y true CN2904840Y (en) | 2007-05-30 |
Family
ID=38113467
Family Applications (1)
| Application Number | Title | Priority Date | Filing Date |
|---|---|---|---|
| CN 200620072899 Expired - Fee Related CN2904840Y (en) | 2006-04-24 | 2006-04-24 | A multifunctional combined pillow |
Country Status (1)
| Country | Link |
|---|---|
| CN (1) | CN2904840Y (en) |
Cited By (3)
| Publication number | Priority date | Publication date | Assignee | Title |
|---|---|---|---|---|
| CN101317795B (en) * | 2007-06-08 | 2010-11-10 | 闵熙敬 | Cervical vertebra balancing bracket |
| CN105433684A (en) * | 2015-11-25 | 2016-03-30 | 韦茂小 | Pillow |
| CN105662043A (en) * | 2016-03-24 | 2016-06-15 | 莫秋贵 | Oriental jasper sleeping pillow and production method thereof |
-
2006
- 2006-04-24 CN CN 200620072899 patent/CN2904840Y/en not_active Expired - Fee Related
Cited By (3)
| Publication number | Priority date | Publication date | Assignee | Title |
|---|---|---|---|---|
| CN101317795B (en) * | 2007-06-08 | 2010-11-10 | 闵熙敬 | Cervical vertebra balancing bracket |
| CN105433684A (en) * | 2015-11-25 | 2016-03-30 | 韦茂小 | Pillow |
| CN105662043A (en) * | 2016-03-24 | 2016-06-15 | 莫秋贵 | Oriental jasper sleeping pillow and production method thereof |
Similar Documents
| Publication | Publication Date | Title |
|---|---|---|
| CN202051387U (en) | Neck protection combined health care pillow suitable for lying on back and lying on side | |
| CN202760809U (en) | Chinese medicine health-care mat | |
| CN202375701U (en) | Health care pillow | |
| CN205597645U (en) | Heat energy cervical pillow | |
| CN201641301U (en) | Cervical vertebra radian pillow | |
| CN203195224U (en) | Multifunctional health pillow | |
| CN2904840Y (en) | A multifunctional combined pillow | |
| CN204467633U (en) | A kind of functional universal cervical spondylopathy control pillow | |
| CN105125008B (en) | Health Artemisia argyi neckpillow | |
| CN202724244U (en) | Physiotherapy massage bed | |
| CN201370362Y (en) | Healthcare pillow for rehabilitating cervical spondylosis | |
| CN201375306Y (en) | Multifunctional cervical vertebra pillow | |
| CN214341474U (en) | Health-care mattress comprising health-care pillow | |
| CN213696431U (en) | Health-preserving pillow cushion for sleeping | |
| CN204683180U (en) | A kind of neck waist multifunctional health pillow | |
| CN201855419U (en) | Novel cervical spine protection pillow | |
| CN204722691U (en) | A kind of Chinese herb medicine pillow for health care | |
| CN101966124A (en) | Novel cervical vertebra protective pillow | |
| CN201755040U (en) | Novel healthcare pillow | |
| CN201709949U (en) | Multifunctional ecological cervical vertebra recovering health-care pillow | |
| CN107157226A (en) | A kind of bionical rib airbag pillow | |
| CN203073955U (en) | Adjustable medicament health-care pillow | |
| CN201968302U (en) | Pillow | |
| CN2415689Y (en) | Orthopedic device for head & neck | |
| CN204670818U (en) | Neck-protecting health pillow |
Legal Events
| Date | Code | Title | Description |
|---|---|---|---|
| C14 | Grant of patent or utility model | ||
| GR01 | Patent grant | ||
| C19 | Lapse of patent right due to non-payment of the annual fee | ||
| CF01 | Termination of patent right due to non-payment of annual fee |
