CN2787490Y - Portable automobile sunshade canopy - Google Patents
Portable automobile sunshade canopy Download PDFInfo
- Publication number
- CN2787490Y CN2787490Y CN 200520016572 CN200520016572U CN2787490Y CN 2787490 Y CN2787490 Y CN 2787490Y CN 200520016572 CN200520016572 CN 200520016572 CN 200520016572 U CN200520016572 U CN 200520016572U CN 2787490 Y CN2787490 Y CN 2787490Y
- Authority
- CN
- China
- Prior art keywords
- canopy
- frame
- cloth
- rack
- automobile
- Prior art date
- Legal status (The legal status is an assumption and is not a legal conclusion. Google has not performed a legal analysis and makes no representation as to the accuracy of the status listed.)
- Expired - Fee Related
Links
- 239000004744 fabric Substances 0.000 claims abstract description 21
- 230000015572 biosynthetic process Effects 0.000 claims description 4
- 238000012423 maintenance Methods 0.000 abstract description 3
- 238000000034 method Methods 0.000 abstract description 2
- 230000000149 penetrating effect Effects 0.000 abstract 1
- 230000035515 penetration Effects 0.000 abstract 1
- 230000003405 preventing effect Effects 0.000 abstract 1
- 230000000694 effects Effects 0.000 description 3
- 208000027418 Wounds and injury Diseases 0.000 description 2
- 208000014674 injury Diseases 0.000 description 2
- 238000004378 air conditioning Methods 0.000 description 1
- 238000004134 energy conservation Methods 0.000 description 1
- 238000005265 energy consumption Methods 0.000 description 1
- 238000005516 engineering process Methods 0.000 description 1
- 239000012467 final product Substances 0.000 description 1
- 238000009434 installation Methods 0.000 description 1
- 238000004806 packaging method and process Methods 0.000 description 1
- 238000012856 packing Methods 0.000 description 1
- 230000001105 regulatory effect Effects 0.000 description 1
Images
Landscapes
- Tents Or Canopies (AREA)
Abstract
The utility model relates to a portable automobile sunshade canopy which belongs to the field of maintenance, service and energy saving supplies of an automobile and is composed of a canopy rack, canopy cloth, a lock component, a pulling rope, an adjusting piece, a buckle, etc., wherein the canopy rack is formed by mutually hinging center rods, a periphery rod and a canopy rack seat and can extend or retract toward the front direction, the back direction, the left direction and the right direction. The lock component is arranged between the center rods of the canopy rack and can prevent the canopy rack from folding after being locked. The lock component plays the theft preventing action. The canopy cloth is covered on the canopy rack and is provided with a wind penetration slit. The lower part of the canopy rack seat is provided with a spherical surface soft pad, and a rope penetrating hole is connected with the pulling rope. The sunshade canopy is caused to be firmly connected to an automobile body through the buckle on the pulling rope. The portable automobile sunshade canopy has the advantages of simple structure, high firmness, simple unfolding and folding action and beautiful appearance and is an ideal supply for the outgoing tourism in summer, the camp or the open-air automobile parking process. The canopy cloth can be also used as an advertising medium.
Description
Technical field: the utility model belongs to Motor Maintenance maintenance, energy-conservation articles for use field, is a kind of portable vehicle sunshade canopy, goes out the car tourism summer, uses when camping or stopping in the open at ordinary times for people.
Background technology: under the summer burning sun, if the open parking round that automobile is parked in open-air ward or does not cover, vehicle body is exposed to the sun by sunlight vehicle interior temperature is risen sharply, and this is all very unfavorable to driver, passenger and vehicle, if the long-time air-conditioning of opening increases the energy consumption of automobile.
By retrieval, since nineteen ninety domestic existing more than ten kind of automobile sun-shading utensil announced in generation, do not promote the use of but on market, see yet so far, whether these sunshade utensil operations in use of tracing it to its cause are convenient, whether structure is simple, firm, whether profile is attractive in appearance, can also not reach car owner's expectation not to aspects such as vehicle body damage.
Summary of the invention: the purpose of this utility model provides a kind of portable vehicle sunshade canopy, and it is simple in structure, opens, the action of folding is convenient, good looking appearance, can be firmly and the vehicle body connection, and can not damage the roof surface, there is the lockset can be antitheft and be easy to carry, collect.
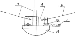
For achieving the above object, solution of the present utility model is: a kind of portable vehicle sunshade canopy, by frame (1), canopy cloth (2), latch fitting (3), stay cord (4), adjustment sheet (5), hasp (6) is formed, and it is characterized in that frame (1) is by center link (7) and all side rods (8), frame seat (9) formation that is hinged; Between the center link (7) of frame (1), be provided with latch fitting (3); Canopy cloth (2) covers above the frame (1); There is eyelet hole (15) to connect mutually on the frame seat (9) with stay cord (4); Adjustment sheet (5) and hasp (6) are arranged on stay cord (4).
By the articulated structure of frame (1) make its can be forwards, backwards, left and right directions stretches or withdrawal, be convenient to open and folding, collection; Latch fitting (3) can make frame (1) when work can not folding, plays antitheft effect; Eyelet hole (15) on the frame seat (9) connects with stay cord (4), and sphere cushion (14) is arranged at its bottom, makes whole frame (1) and soft contact the in roof surface, and is injury-free with protection roof surface, and can adapt to the arc-shaped curved surface of automobile end face.
Below in conjunction with accompanying drawing and example, the utility model is described in further detail:
Description of drawings: accompanying drawing 1 is the structural representation of portable vehicle sunshade canopy
Accompanying drawing 2 is the structural representation of frame (1)
Accompanying drawing 3 is the stereo appearance figure of canopy cloth (2)
Accompanying drawing 4 is the structural representation of latch fitting (3)
Accompanying drawing 5 is the structural representation of frame seat (9)
Accompanying drawing 6 be when work stay cord (4) in the compartment with adjustment sheet (5),
Installation graph of a relation between the hasp (6).
The specific embodiment: as accompanying drawing 1, shown in the accompanying drawing 2: a kind of portable vehicle sunshade canopy that places the automobile end face, by frame (1), canopy cloth (2), latch fitting (3), stay cord (4), adjustment sheet (5), hasp (6) is formed, and it is characterized in that frame (1) is by center link (7) and all side rods (8), frame seat (9) formation that is hinged; Between the center link (7) of frame (1), there is not latch fitting (3); Canopy cloth (2) covers above the frame (1); There is eyelet hole (15) to connect mutually on the frame seat (9) with stay cord (4); Adjustment sheet (5) and hasp (6) are arranged on stay cord (4).
The three-dimensional outside drawing of canopy cloth (2) as shown in Figure 3, it is characterized in that canopy cloth (2) is by the middle part and totally 5 rectangle cloth covers (10) and 4 triangle cloth covers (11) and shirt rim (12) constitute all around, on rectangle cloth cover (10), be provided with ventilative slit, to weaken the thrust of wind to canopy cloth (2).Shirt rim (12) can increase attractive in appearance and shaded effects.
The structural representation of latch fitting as shown in Figure 4 (3) is characterized in that the certain position at two center links (7) of frame (1), and two latch fittings (3) are riveted on it.
When the utility model such as Fig. 1 in running order, frame (1) has stretched to be opened and when canopy cloth (2) support launched, angle between the center link (7) of frame (1) need be fixed up and prevent resilience, the hole that be riveted on two latch fittings (3) on two center links (7) this moment is just in time to together, can pass this hole with a common lock nose,, make frame (1) folding again its pinning, also can't move, play antitheft effect.
Frame seat (9) as shown in Figure 5 and its connection center link (7) and all side rods (8) arranged, it is characterized in that: wherein on the frame seat (9) eyelet hole (15) is arranged, and bottom sphere cushion (14) is arranged.Sphere cushion (14) makes frame (1) be soft the contact with the roof surface, and is injury-free with protection roof surface, and can adapt to the arc-shaped curved surface of automobile end face.
As shown in Figure 6, the not end of the stay cord (4) of the left and right below of frame (1) connects adjustment sheet (5) and hasp (6) respectively, opens car door, the head of adjustment sheet (5) is inserted in the hole of hasp (6) to fasten in the compartment, close entrance door, promptly finish the fixing of frame (1) and vehicle body.The stay cord (4) that adjustment sheet (5) is located can be regulated the tightness of stay cord (4).
Introduce the method for the present utility model of using below:
1, the people stands in the sedan door side, and the sunshade that is received in is together lifted, and is placed on the roof, and left, right draws back frame (1), and four frame seats (9) are located on the roof, frame (1) launches, and puts steady back and with lock latch fitting (3) is pinned.
2, open car door, in the compartment, former and later two hasps (6) are buckled, car door is shut got final product.
When 3, not using, unblank earlier, in the compartment, unclamp two hasps (6), in folding frame (1) and the stay cord (4) and the packaging bag of packing into, put into the boot of car again, deposit and take very convenient.
Claims (4)
1, a kind of portable vehicle sunshade canopy, by frame (1), canopy cloth (2), latch fitting (3), stay cord (4), adjustment sheet (5), hasp (6) are formed, and it is characterized in that frame (1) is by center link (7) and all side rods (8), frame seat (9) formation that is hinged; Between the center link (7) of frame (1), be provided with latch fitting (3); Canopy cloth (2) covers above the frame (1); There is eyelet hole (15) to connect mutually on the frame seat (9), adjustment sheet (5) and hasp (6) are arranged on stay cord (4) with stay cord (4).
2, portable vehicle sunshade canopy according to claim 1 is characterized in that wherein having eyelet hole (15) and bottom that sphere cushion (14) is arranged on the frame seat (9).
3, portable vehicle sunshade canopy according to claim 1, it is characterized in that wherein canopy cloth (2) is to reach all around totally 5 rectangle cloth covers (10) and 4 triangle cloth covers (11) and shirt rim (12) formation by the middle part, on rectangle cloth cover (10), be provided with ventilative slit (13).
4, portable vehicle sunshade canopy according to claim 1 is characterized in that wherein the certain position at two center links (7) of frame (1), and two latch fittings (3) are riveted on it.
Priority Applications (1)
| Application Number | Priority Date | Filing Date | Title |
|---|---|---|---|
| CN 200520016572 CN2787490Y (en) | 2005-04-19 | 2005-04-19 | Portable automobile sunshade canopy |
Applications Claiming Priority (1)
| Application Number | Priority Date | Filing Date | Title |
|---|---|---|---|
| CN 200520016572 CN2787490Y (en) | 2005-04-19 | 2005-04-19 | Portable automobile sunshade canopy |
Publications (1)
| Publication Number | Publication Date |
|---|---|
| CN2787490Y true CN2787490Y (en) | 2006-06-14 |
Family
ID=36785782
Family Applications (1)
| Application Number | Title | Priority Date | Filing Date |
|---|---|---|---|
| CN 200520016572 Expired - Fee Related CN2787490Y (en) | 2005-04-19 | 2005-04-19 | Portable automobile sunshade canopy |
Country Status (1)
| Country | Link |
|---|---|
| CN (1) | CN2787490Y (en) |
Cited By (3)
| Publication number | Priority date | Publication date | Assignee | Title |
|---|---|---|---|---|
| CN108360914A (en) * | 2018-03-21 | 2018-08-03 | 陈琼苑 | A kind of vehicle intelligent bicycle shed and bicycle shed case |
| WO2019147508A1 (en) * | 2018-01-25 | 2019-08-01 | Swic, Llc | Rain and sun shield for a covered golf cart |
| WO2019147505A1 (en) * | 2018-01-25 | 2019-08-01 | Swic, Llc | Portable rain and sun shield for a covered golf cart |
-
2005
- 2005-04-19 CN CN 200520016572 patent/CN2787490Y/en not_active Expired - Fee Related
Cited By (3)
| Publication number | Priority date | Publication date | Assignee | Title |
|---|---|---|---|---|
| WO2019147508A1 (en) * | 2018-01-25 | 2019-08-01 | Swic, Llc | Rain and sun shield for a covered golf cart |
| WO2019147505A1 (en) * | 2018-01-25 | 2019-08-01 | Swic, Llc | Portable rain and sun shield for a covered golf cart |
| CN108360914A (en) * | 2018-03-21 | 2018-08-03 | 陈琼苑 | A kind of vehicle intelligent bicycle shed and bicycle shed case |
Similar Documents
| Publication | Publication Date | Title |
|---|---|---|
| CN206561770U (en) | Car clothes | |
| CN115489279A (en) | Multifunctional back door system assembly of automobile and automobile | |
| CN102039801B (en) | Parking shed taken by vehicle | |
| CN2787490Y (en) | Portable automobile sunshade canopy | |
| CN201261381Y (en) | Automatic jacket of automobile | |
| CN101700735A (en) | Fully automatic automobile canopy | |
| CN201214371Y (en) | Integrated automobile umbrella | |
| CN203172409U (en) | Dual-purpose tent car cover | |
| CN201217381Y (en) | Inflatable dustproof sun-prevention multifunctional vehicular clothing | |
| CN201544827U (en) | Anti-fouling waterproofing device for automobile back seats | |
| CN201566462U (en) | Fully-automatic vehicle hood | |
| CN213322635U (en) | Automobile sun-shading device | |
| CN2728820Y (en) | Portable multipurpose protective canopy for automobile sunshade and rain shade | |
| CN108360914A (en) | A kind of vehicle intelligent bicycle shed and bicycle shed case | |
| CN202439544U (en) | An anti-theft car cover | |
| CN208498209U (en) | A kind of vehicle-mounted implicit type parasols | |
| CN202899684U (en) | Removable and portable automobile canopy | |
| CN115593280B (en) | Trunk integrated with seat and automobile | |
| CN2895132Y (en) | Multifunctional anti-theft sunscreen car jacket | |
| CN201573524U (en) | Digging-rope-type sunshade for automobile | |
| CN205523625U (en) | On -vehicle sunshade of expansion arc | |
| CN2880566Y (en) | Sunshade umbrella for automobile | |
| CN2730668Y (en) | Portable sunshade cover for car | |
| CN210792760U (en) | Stable guide rail for automobile sun shield | |
| CN221476635U (en) | Multifunctional automobile decoration roof |
Legal Events
| Date | Code | Title | Description |
|---|---|---|---|
| C14 | Grant of patent or utility model | ||
| GR01 | Patent grant | ||
| C19 | Lapse of patent right due to non-payment of the annual fee | ||
| CF01 | Termination of patent right due to non-payment of annual fee |