CN2440407Y - foldable playpen - Google Patents

foldable playpen Download PDF

Info

Publication number
CN2440407Y
CN2440407Y CN99240641U CN99240641U CN2440407Y CN 2440407 Y CN2440407 Y CN 2440407Y CN 99240641 U CN99240641 U CN 99240641U CN 99240641 U CN99240641 U CN 99240641U CN 2440407 Y CN2440407 Y CN 2440407Y
Authority
CN
China
Prior art keywords
foldable playpen
foldable
positioning
thread
corner
Prior art date
Legal status (The legal status is an assumption and is not a legal conclusion. Google has not performed a legal analysis and makes no representation as to the accuracy of the status listed.)
Expired - Fee Related
Application number
CN99240641U
Other languages
Chinese (zh)
Inventor
陈而瑞
黄保山
郑意皇
Current Assignee (The listed assignees may be inaccurate. Google has not performed a legal analysis and makes no representation or warranty as to the accuracy of the list.)
Lerado Zhongshan Industrial Co Ltd
Original Assignee
Lerado Zhongshan Industrial Co Ltd
Priority date (The priority date is an assumption and is not a legal conclusion. Google has not performed a legal analysis and makes no representation as to the accuracy of the date listed.)
Filing date
Publication date
Application filed by Lerado Zhongshan Industrial Co Ltd filed Critical Lerado Zhongshan Industrial Co Ltd
Priority to CN99240641U priority Critical patent/CN2440407Y/en
Application granted granted Critical
Publication of CN2440407Y publication Critical patent/CN2440407Y/en
Anticipated expiration legal-status Critical
Expired - Fee Related legal-status Critical Current

Links

Images

Classifications

    • AHUMAN NECESSITIES
    • A47FURNITURE; DOMESTIC ARTICLES OR APPLIANCES; COFFEE MILLS; SPICE MILLS; SUCTION CLEANERS IN GENERAL
    • A47DFURNITURE SPECIALLY ADAPTED FOR CHILDREN
    • A47D13/00Other nursery furniture
    • A47D13/06Children's play- pens
    • A47D13/061Children's play- pens foldable
    • A47D13/063Children's play- pens foldable with soft walls

Landscapes

  • Mutual Connection Of Rods And Tubes (AREA)

Abstract

The utility model relates to a foldable recreation rail. The foldable game enclosure comprises a support frame which can be unfolded for rest of infants or folded when not in use, wherein the support frame is composed of an upper layer frame, a lower layer frame and a plurality of corner side supports which are combined with the upper layer frame and the lower layer frame, the corner side supports are composed of an inner pipe body and an outer pipe body which are mutually sleeved and can be axially stretched and adjusted in length, and therefore, when the game enclosure is stored, the height of the support frame is reduced, the occupied volume of the game enclosure is smaller, and the storage is more convenient.

Description

折叠式游戏围栏foldable playpen

本实用新型涉及一种折叠式游戏围栏,特别是一种可在不使用时,将其高度缩减,使占用的材积更小,收藏更方便的游戏围栏。The utility model relates to a foldable playpen, in particular to a playpen whose height can be reduced when not in use, so that the occupied volume is smaller and the playpen is more convenient for storage.

游戏围栏是一种提供婴幼儿游憩时的活动空间。于美国专利第4811437号专利案、第4985948号专利案。第5163191号专利案、第5697111号专利案及第5727465号专利案中即揭示了各种针对游戏围栏(Plavyard)所做的相关设计,其中在第4811437号专利案、第5697111号专利案及第5727265号专利案更揭示了一种折叠式游戏围栏结构,此种折叠式游戏围栏在使用时可改变其支撑架之形状而呈现展开状态或收折状态。The playpen is an activity space that provides an activity space for infants and young children to play. In US Patent No. 4,811,437 and No. 4,985,948. In the No. 5163191 patent case, the No. 5697111 patent case and the No. 5727465 patent case, various related designs for the game fence (Plavyard) are disclosed, among which in the No. 4811437 patent case, the No. No. 5,727,265 patent further discloses a foldable playpen structure, which can change the shape of its support frame to present an unfolded or folded state when in use.

如r第1、2图]所示之传统折叠式游戏围栏构造,从图中可以见悉该游戏围栏基本上是由一支撑架及一包覆于该支撑架上之软质织类布垫所组成,其中支撑架由上、下层框架,以及复数支边角支架组接而成;为了节省收藏时所占用的材积,以往的设计皆会在上、下层框架上设有可令其折叠收合之弯折机构,该上、下层框架可以藉著弯折机构将对应折收,缩减其所占用的面积(如第3图所示);不过,就整个支撑架而言,支撑架虽可利用上、下且层框架弯折来达到缩减长度及宽度的功效,但是支撑架的高度仍然维持不变,致使支撑架站立收藏时所占用的高度或是躺平摆放时所需的长度仍然无法缩减,所以就收折的问题而言,传统的游戏围栏仍存在以上之问题点。The structure of the traditional foldable playpen as shown in Figures 1 and 2], it can be seen from the figure that the playpen is basically composed of a support frame and a soft woven cloth pad wrapped on the support frame The support frame is composed of the upper and lower frames, and a plurality of corner brackets; in order to save the volume occupied by the collection, the previous design will have a folding and collapsible structure on the upper and lower frames. The bending mechanism, the upper and lower frames can be folded correspondingly by the bending mechanism, reducing the occupied area (as shown in Figure 3); however, as far as the entire support frame is concerned, although the support frame can be used The upper and lower frames are bent to achieve the effect of reducing the length and width, but the height of the support frame remains unchanged, so that the height occupied by the support frame when it is standing and stored or the length required for lying flat is still insufficient. Therefore, as far as the folding problem is concerned, the traditional playpen still has the above problems.

有签于上述之问题点,本实用新型之主要目的即为提供一种可以解决前述游戏围栏于收藏时,针对高度无法有效缩小的改良设计,使其收藏时所占用的材积更小。In view of the above-mentioned problems, the main purpose of this utility model is to provide an improved design that can solve the problem that the height of the aforementioned playpen cannot be effectively reduced during storage, so that it occupies a smaller volume during storage.

为达到上述目的,本实用新型折叠式游戏围栏,具有一可介于展开状态及收折状态之支撑架,该支撑架包括有:In order to achieve the above purpose, the folding playpen of the present invention has a support frame that can be between the unfolded state and the folded state. The support frame includes:

上、下层框架,该上、下层框架由复数支架、复数个令该支架彼此结合之角连接件所构成;Upper and lower frames, the upper and lower frames are composed of a plurality of brackets and a plurality of corner connectors that connect the brackets to each other;

复数支角边支架,该角边支架由彼此套接并可轴向相对伸缩之内、外管体组成,该角边支架两端分别与该上、下层框架对应之该角连接件相接连;A plurality of corner side brackets, the corner side brackets are composed of inner and outer pipe bodies that are socketed with each other and can be relatively stretched axially, and the two ends of the corner side brackets are respectively connected with the corresponding corner connectors of the upper and lower frames;

一定位机构,该定位机构结合于该角边支架上。A positioning mechanism, the positioning mechanism is combined with the corner bracket.

前述折叠式游戏围栏之定位机构包括有一用以固定该内、外管体相对位置的卡掣件,以及一用以解除该卡掣件对该内、外管体的限制,令该内外管体得以相对伸缩之释放件。The positioning mechanism of the aforesaid foldable playpen includes a catch member for fixing the relative position of the inner and outer pipe bodies, and a catch member for removing the restriction of the catch member to the inner and outer pipe bodies, so that the inner and outer pipe bodies A relatively stretchable release piece.

前述折叠式游戏围栏之卡掣件由一被安置于该内管体中的弹片,以及设置于该弹片上之定位凸点构成,该定位凸点同时穿过该内、外管体。The catch piece of the aforementioned foldable playpen is composed of an elastic piece arranged in the inner tube body and a positioning convex point arranged on the elastic piece, and the positioning convex point passes through the inner and outer tube bodies at the same time.

前述折叠式游戏围栏之内、外管体上设有可供该定位凸点顶出之轴孔及定位孔。A shaft hole and a positioning hole for the positioning convex point to be ejected are provided on the inner and outer tube body of the aforementioned foldable playpen.

前述折叠式游戏围栏之释放件由一个弹性体,以及形成于弹性体两端内缘,恰好抵顶于该槽孔之顶块所构成。The release part of the aforementioned foldable playpen is composed of an elastic body and a top block formed on the inner edges of both ends of the elastic body, which just abuts against the slot hole.

前述折叠式游戏围栏之定位机构包括有一结合于该外管体上之收合部,以及一用以迫使该收合部夹合于该内管体之闭锁件。The positioning mechanism of the above-mentioned foldable playpen includes a retractable part combined with the outer tube body, and a locking part for forcing the retractable part to be clamped to the inner tube body.

前述折叠式游戏围栏之收合部由外缘形成有螺纹之复数爪片所构成,且相邻的两爪片之间形成有一道缺口;又该闭锁件具有一可螺合于收合部上之锥形螺孔。The folding part of the folding playpen is composed of a plurality of claws with threads formed on the outer edge, and a gap is formed between two adjacent claws; The tapered screw hole.

前述折叠式游戏围栏之螺纹为复线螺纹。前述折叠式游戏围栏之螺纹为三线螺纹。The threads of the aforementioned foldable playpen are double thread threads. The thread of the aforementioned folding playpen is a three-thread thread.

本实用新型折叠式游戏围栏,特别在其支撑架中,用以组架于上、下层框架,而直立结合于上、下层框架角落的支角边架设计成可伸缩式之构造,藉此以令角边支架可在使用时,将其拉伸伸长,或是经由收合,缩短其长度,使支撑架的高度缩短,该占用的材积更小,收藏更为方便。The folding play fence of the utility model, especially in its supporting frame, is used to set up the frame on the upper and lower frames, and the corner frame which is upright and combined with the corners of the upper and lower frame is designed as a telescopic structure, thereby When the corner bracket is in use, it can be stretched and extended, or its length can be shortened by being folded, so that the height of the support frame is shortened, and the occupied volume is smaller, making storage more convenient.

有关本实用新型之详细说明及技术内容,现配合图式说明如下:The detailed description and technical content of the present utility model are described as follows in conjunction with the drawings:

图式说明:Graphic description:

第1图,为习知游戏围栏之立体外观示意图;Figure 1 is a schematic diagram of a three-dimensional appearance of a conventional playpen;

第2图,为习知游戏围栏之支撑架于展开状态之构示意图;Figure 2 is a schematic diagram of the structure of the support frame of the conventional playpen in the unfolded state;

第3图,为习知游戏围栏之支撑架于收折状态之构造示意图;Figure 3 is a schematic diagram of the structure of the support frame of the conventional playpen in the folded state;

第4图,为本实用新型之立体示意图;Fig. 4 is a three-dimensional schematic diagram of the utility model;

第5图,为本实用新型角边支架之分解示意图;Fig. 5 is an exploded schematic view of the corner bracket of the present invention;

第6A、6B图,为第4图于Ⅵ-Ⅵ位置之剖面示意图,暨其使用状态;Figures 6A and 6B are schematic cross-sectional views at the position VI-VI of Figure 4, and their usage status;

第7图,为本实用新型另一状态之立体示意图,显示角边支架经伸缩固定在一收合长度;Figure 7 is a three-dimensional schematic diagram of another state of the present invention, showing that the corner bracket is fixed at a retracted length by telescopic expansion;

第8图,为本实用新型上层框架之另一实施态样;Fig. 8 is another embodiment of the upper frame of the present utility model;

第9图,为第8图上层框架之收合状态示意图;Figure 9 is a schematic diagram of the collapsed state of the upper frame in Figure 8;

第10A、10B图,为本实用新型定位机构之实施例剖面示意图。Figures 10A and 10B are schematic cross-sectional views of embodiments of the positioning mechanism of the present invention.

实施例:Example:

请同时参阅r第4图],图中揭示一种折叠式游戏围栏之支撑架10构造,如图所示,支撑架10由上、下层框架11,12以及复数支角边支架13,13’组构而成,其中,上、下层框架11,12由复数支架111,112,121,122、复数个用以将支架111,112,121,122彼此结合之角连接件113,123组接而成;而角边支架13,13’分别立设组接于上、下层框架11,12对应之角连接件113,123,使上、下层框架11,12与角边支架13,13’形成一个复合式矩形框架;Please also refer to Fig. 4 at the same time], the structure of a support frame 10 of a foldable playpen is disclosed in the figure, as shown in the figure, the support frame 10 is composed of upper and lower frames 11, 12 and a plurality of corner brackets 13, 13' The upper and lower frames 11, 12 are composed of a plurality of brackets 111, 112, 121, 122, and a plurality of corner connectors 113, 123 for connecting the brackets 111, 112, 121, 122 to each other; Connected to the corner connectors 113, 123 corresponding to the upper and lower frames 11, 12, so that the upper and lower frames 11, 12 and the corner brackets 13, 13' form a composite rectangular frame;

上、下层框架11,12分别设有弯折机构114,124,此弯折机构114,124可使该支架横向伸展成一直线,或是经由弯折,相对枢转内弯而收合,改变支撑架的长度或宽度;由于弯折机构114,124为一般习知技艺,且能约达成令支架111,112,121,122达到弯折功能的结构形态繁多,故在此即不多赘述。The upper and lower frames 11, 12 are respectively equipped with bending mechanisms 114, 124. The bending mechanisms 114, 124 can make the brackets extend horizontally into a straight line, or fold inwards relative to the pivoting through bending, so as to change the length of the support frame or Width: Since the bending mechanisms 114, 124 are common known techniques, and there are many structural shapes that can be used to achieve the bending function of the brackets 111, 112, 121, 122, so they will not be repeated here.

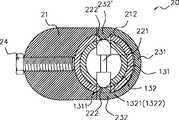
相较于传统构造,本实用新型主要强调的是在于角边支架13上所做的改良,由图中可以见悉,其中角边支架13两端分别接连于上、下层框架11,12对应之角连接件113,123上,提供撑抵上层框架11的功效;又、角边支架I3由彼此套接,并可轴向相对伸缩之内、外管体131,132组成,亚于每一角边支架13上配置有一个可以使角边支架13调整其长度,而将角边支架13固定在一伸展长度及一收合长度上的定位机构20。Compared with the traditional structure, the utility model mainly emphasizes the improvements made on the corner bracket 13, as can be seen from the figure, wherein the two ends of the corner bracket 13 are respectively connected to the corresponding upper and lower frames 11 and 12. The corner connectors 113, 123 provide the function of supporting the upper frame 11; and the corner brackets I3 are made of inner and outer tubes 131, 132 that are socketed with each other and can be relatively stretched in the axial direction, and are arranged on each corner bracket 13 There is a positioning mechanism 20 that can make the corner bracket 13 adjust its length, and fix the corner bracket 13 on an extended length and a retracted length.

请配合参阅r第5、6 A、6 B图],定位机构20指一种可以该角边支架13调整其长度,且可固定角边支架13调整后之长度的构造,根据本实用新型所揭之实施例显示,定位机构20可以是由一结合件21,卡掣件22,以及一配置于结合件21上之释放件23所组成;如图所示,卡掣件22由一被安置于内管体132中弹片221,以及设置于弹片221末端处外侧,受到弹片221张力推顶之定位凸点222,222,此定位凸点222,222’可同时穿过内、外管体131,132,令内、外管体132,131彼此之相对位置固定;为使前达卡掣件22上的定位凸点222,222’能钧同时穿设过内、外管体132,131,于实施上,内、外管体132,131上匹配设有可供定位凸点222,22T顶出之定位孔1321,1322及轴孔1311。Please refer to r No. 5, 6 A, 6 B Figures], the positioning mechanism 20 refers to a structure that can adjust the length of the corner bracket 13, and can fix the adjusted length of the corner bracket 13. According to the utility model The disclosed embodiment shows that the positioning mechanism 20 can be composed of a coupling part 21, a latching part 22, and a release part 23 disposed on the coupling part 21; as shown in the figure, the latching part 22 is composed of a The elastic piece 221 in the inner tube body 132, and the positioning protrusions 222, 222 arranged on the outside of the end of the elastic piece 221 and pushed up by the tension of the elastic piece 221, the positioning protrusions 222, 222' can pass through the inner and outer tube bodies 131, 132 at the same time, so that the inner 1. The relative positions of the outer tube bodies 132, 131 are fixed; in order to make the positioning bumps 222, 222' on the front Daka catcher 22 pass through the inner and outer tube bodies 132, 131 at the same time, in practice, the inner and outer tube bodies 132, 131 Matching positioning holes 1321, 1322 and shaft holes 1311 are provided for the positioning bumps 222, 22T to be pushed out.

前述之结合件21则是一个可固定于外管体131上之构件,于结合件ZI上设有一可套置于外管体131外缘之穿孔211,可藉由穿孔211套置至外管体131上之预定位置后,再以螺栓24迫使其与外管体131相结合;于结合件21外缘益具有一嵌槽212,且在嵌槽212上设有与4轴孔1311对应之槽孔213,213’;而释放件23则是由一个可嵌合于嵌槽212上之弹性体231,以及形成于弹性体231两端内缘,恰好对应于槽孔213,213’之顶块232,232’所构成,顶块232,232’可穿过槽孔213,213’,并且与定位凸点222,222’相互抵顶;于常态上,顶块232,232,受到定位凸点222,222’的推顶作用,使顶块232,232,仅伸及至槽孔213,213’中,该内、外管体132,131可经由定位凸点222,222’的限制,而无法相对位伸缩位移;不过一旦弹性体231之两侧经受到外侧力量而向内压合时,顶块232,232’则会迫使定位凸点222,222,向内退移,使定位凸点222,222’退移出轴孔213,213,进而令内、外管体132,131得以相对伸缩位移。The aforementioned coupling piece 21 is a member that can be fixed on the outer tube body 131, and the coupling piece Z1 is provided with a perforation 211 that can be placed on the outer edge of the outer tube body 131, and can be placed on the outer tube through the perforation 211 After the predetermined position on the body 131, the bolt 24 is used to force it to be combined with the outer tube body 131; there is a slot 212 on the outer edge of the joint part 21, and the slot 212 is provided with a hole corresponding to the 4-axis hole 1311. Slots 213, 213'; and the release member 23 is formed by an elastic body 231 that can be fitted into the slot 212, and a top block 232, 232' formed on the inner edge of the two ends of the elastic body 231, which just corresponds to the slots 213, 213'. The top blocks 232, 232' can pass through the slot holes 213, 213', and abut against the positioning protrusions 222, 222'; in the normal state, the top blocks 232, 232 are pushed by the positioning protrusions 222, 222', so that the top blocks 232, 232, only Extending into the slots 213, 213', the inner and outer tubes 132, 131 can be limited by the positioning protrusions 222, 222', so that they cannot be stretched and displaced relative to each other; however, once the two sides of the elastic body 231 are pressed inwards by external force , the jacking blocks 232, 232' will force the positioning bumps 222, 222 to move inward, so that the positioning bumps 222, 222' retreat out of the shaft holes 213, 213, and then the inner and outer tube bodies 132, 131 can be relatively stretched and displaced.

藉此之构成,为了使角边支架13可依支撑架10的使用状态,藉由内、外管体132,131经伸缩而固定在一伸展长度(如第4图所示)或是一收合长度(如第7图所示)的状态下,因此在内管体132上至少要设有二个卡掣件22,22’,此二掣件22’的设置位置恰好是在内、外管体131,132经伸缩而伸展至最长的状态,以及在最短的状态时,定位凸点222,222’恰好能构对应到轴孔213,213’,该定位凸点222,222’嵌入轴孔213,213’中,使内、外管体132,131之相对位置固定。With this structure, in order to make the corner bracket 13 according to the use state of the bracket 10, the inner and outer tubes 132, 131 are stretched and fixed at an extended length (as shown in Figure 4) or a retracted length (As shown in Fig. 7), therefore, at least two latching parts 22, 22' must be provided on the inner tube body 132, and the setting positions of these two latching parts 22' are just inside and outside the tube body. 131,132 are stretched to the longest state through stretching, and when in the shortest state, the positioning protrusions 222,222' can just correspond to the shaft holes 213,213', and the positioning protrusions 222,222' are embedded in the shaft holes 213,213', so that the inner and outer The relative positions of the pipe bodies 132, 131 are fixed.

本实用新型的实用新型特点虽然著重于角边支架13是一个可以依使用状态而调整长度的设计;虽然上层框架11虽非为本实用新型创新之处,但是就整体实施上,为了强调其占用的材积能构更小,因此如r第4、7图]中所示之上层框架11,由于其仅有在二对应之支架111上配置有弯折机构114,致使上层框架11仅能收折一个方向的长度而已;是以,本实用新型于实施上,当然也可再于另一方向对应、设置之二支架112亦匹配设置有一弯折机构114’(如第8、9图所示),使整体收折时,上层框架11可更加缩小,更节省收藏空间。Although the utility model features of the present utility model focus on that the corner bracket 13 is a design that can adjust the length according to the state of use; although the upper frame 11 is not an innovation of the utility model, it is implemented as a whole in order to emphasize its occupancy. The volume can be made smaller, so as shown in Figures 4 and 7] of the upper frame 11, because it is only equipped with a bending mechanism 114 on two corresponding brackets 111, the upper frame 11 can only be folded It is only the length in one direction; therefore, the utility model can also be correspondingly arranged in the other direction in practice, and the two brackets 112 are also matched with a bending mechanism 114' (as shown in Figures 8 and 9) , when the whole is folded, the upper frame 11 can be further reduced, saving storage space.

请参阅r第10A、10B图],由上述之说明可以知道,定位机构20主要即是提供一种可以使内、外管体131,132固定在一伸展长度及一收合长度的构造。不过,就可实施的范畴,除了前述所揭之构造外,亦可探以如下说明之手段;如图所示,定位机构20可以是包括有一结合于外管体131一端端缘之收合部25,以及一迫使收合部25夹合于内管体131之闭锁件26;其中收合部25由复数片自外管体132延伸出,且外缘形成有螺纹251之爪片252,252’所构成,且相邻的两爪片252,252’之间皆形成有一道缺口253;而前述之闭锁件26则是在轴向形成有一可螺合于收合部25上之锥形螺孔261;藉此之构成,当闭锁件26螺合于收合部25外缘的螺纹251深度越深,爪片252,252’会因锥形螺孔261的口径越来越小而被迫内缩,使爪片252,252’内面与内管体131之外表面发生接触磨擦力,使内管体131遭致磨擦阻力的制动而无法相对于外管体132作伸缩运动;除非是闭锁件26退移出螺纹251后,该爪片252,252’利用材料本身回复弹性,使爪片252,252’内壁面与内管体131的表面接触力减少,或是完全消失之后,内、外管体132才能再相对运动,变角边支架13的长度。Please refer to Figs. 10A and 10B], it can be known from the above description that the positioning mechanism 20 mainly provides a structure that can fix the inner and outer tube bodies 131, 132 at an extended length and a retracted length. However, in terms of the scope of implementation, in addition to the structure disclosed above, the following means can also be explored; as shown in the figure, the positioning mechanism 20 can include a collection part combined with the end edge of the outer tube body 131 25, and a locking part 26 that forces the collection part 25 to be clamped to the inner tube body 131; wherein the collection part 25 is formed by a plurality of claw pieces 252, 252' extending from the outer tube body 132, and the outer edge is formed with threads 251 Composed, and a gap 253 is formed between the adjacent two claw pieces 252, 252'; and the aforementioned locking member 26 is formed in the axial direction with a tapered screw hole 261 that can be screwed on the receiving part 25; With this structure, when the locking member 26 is screwed to the thread 251 on the outer edge of the receiving part 25, the deeper the claw piece 252, 252' will be forced to shrink inward due to the smaller diameter of the tapered screw hole 261, so that the claw piece 252, 252' contact friction occurs between the inner surface of the inner tube body 131 and the outer surface of the inner tube body 131, so that the inner tube body 131 is braked by friction resistance and cannot perform telescopic movement relative to the outer tube body 132; unless the locking member 26 is withdrawn from the thread 251 , the claws 252, 252' use the material itself to restore elasticity, so that the contact force between the inner wall of the claws 252, 252' and the inner tube body 131 is reduced, or after it disappears completely, the inner and outer tubes 132 can move relative to each other again, and the angled sides can be changed. The length of the bracket 13.

附加说明一点,于前揭之实施例中,螺纹251可采以复线螺纹或是三线螺纹的设计,使闭锁件26能构相对于收合部25达到快速闭锁及退出的功效。As an additional note, in the above disclosed embodiments, the thread 251 can be designed as a double thread or a three thread, so that the locking member 26 can be configured to quickly lock and withdraw from the receiving portion 25 .

以上所述,仅为本实用新型之较佳实施例而已,并非用来限定本实用新型实施之范围。即凡依本实用新型申请专利范围所做的均等变化与修饰,皆为本实用新型专利范围所涵盖。The above descriptions are only preferred embodiments of the present utility model, and are not intended to limit the implementation scope of the present utility model. That is, all equivalent changes and modifications made according to the patent scope of the utility model are covered by the patent scope of the utility model.

图式符号说明:Explanation of schematic symbols:

支撑架10Support frame 10

上层框架11Upper frame 11

支架111,112,121,122Brackets 111, 112, 121, 122

角连接件113,123Corner connectors 113,123

下层框架12Lower frame 12

弯折机构114,114,124Bending mechanism 114,114,124

角边支架13,13’Corner bracket 13,13'

内管体131Inner tube body 131

外管体132Outer body 132

定位孔1311,1312Positioning hole 1311,1312

轴孔1321Shaft hole 1321

定位机构20Positioning mechanism 20

结合件21Combination 21

穿孔211piercing 211

嵌槽212Groove 212

槽孔213,213’Slot 213,213'

卡掣件22,22’Detent 22,22'

弹片221Shrapnel 221

定位凸点222,222’,Locating bumps 222,222',

释放件23Release 23

弹性体231Elastomer 231

顶块232,232’,Top block 232,232’,

螺栓24Bolt 24

收合部25Storage part 25

螺纹251Thread 251

爪片252,252’,claw piece 252,252',

缺口253Notch 253

止滑片254Anti-slip sheet 254

闭锁件26Latch 26

锥形螺孔261Tapered screw hole 261

Claims (9)

1.一种折叠式游戏围栏,具有一可介于展开状态及收折状态之支撑架,其特征在于该支撑架包括有:1. A foldable playpen with a support frame that can be in an unfolded state and a folded state, characterized in that the support frame includes: 上、下层框架,系由复数支架、复数个令该支架彼此结合之角连接件所构成;The upper and lower frames are composed of a plurality of brackets and a plurality of corner connectors that combine the brackets with each other; 复数支角边支架,该角边支架由彼此套接并可轴向相对伸缩之内、外管体组成,该角边支架两端分别与该上、下层框架对应之该角连接件相接连;A plurality of corner side brackets, the corner side brackets are composed of inner and outer pipe bodies that are socketed with each other and can be relatively stretched axially, and the two ends of the corner side brackets are respectively connected with the corresponding corner connectors of the upper and lower frames; 一定位机构,该定位机构结合于该角边支架上。A positioning mechanism, the positioning mechanism is combined with the corner bracket. 2.根据权利要求1所述之折叠式游戏围栏,其特征在于该定位机构包括有一用以固定该内、外管体相对位置的卡掣件,以及一用以解除该卡掣件对该内、外管体的限制,令该内外管体得以相对伸缩之释放件。2. The foldable playpen according to claim 1, characterized in that the positioning mechanism includes a latch for fixing the relative position of the inner and outer tubes, and a latch for releasing the latch from the inner and outer tubes. The restriction of the pipe body enables the inner and outer pipe bodies to be relatively stretchable release parts. 3.根据权利要求2所述之折叠式游戏围栏,其特征在于该卡掣件由一被安置于该内管体中的弹片,以及设置于该弹片上之定位凸点构成,该定位凸点同时穿过该内、外管体。3. The foldable playpen according to claim 2, characterized in that the engaging member is composed of an elastic piece placed in the inner tube body and a positioning convex point arranged on the elastic piece, and the positioning convex point simultaneously passes through the Pass the inner and outer tubes. 4.根据权利要求3所述之折叠式游戏围栏,其特征在于该内、外管体上设有可供该定位凸点顶出之轴孔及定位孔。4. The foldable playpen according to claim 3, characterized in that the inner and outer tubes are provided with shaft holes and positioning holes for the positioning protrusions to be pushed out. 5.根据权利要求3所述之折叠式游戏围栏,其特征在于该释放件由一个弹性体,以及形成于弹性体两端内缘,恰好抵顶于该槽孔之顶块所构成。5. The foldable playpen according to claim 3, wherein the releasing member is composed of an elastic body, and a top block formed on the inner edges of both ends of the elastic body, which just abuts against the slot hole. 6.根据权利要求1所述之折叠式游戏围栏,其特征在于该定位机构包括有一结合于该外管体上之收合部,以及一用以迫使该收合部夹合于该内管体之闭锁件。6. The foldable playpen according to claim 1, wherein the positioning mechanism includes a retractable part combined with the outer tube body, and a latch for forcing the retractable part to be clamped to the inner tube body pieces. 7.根据权利要求1所述之折叠式游戏围栏,其特征在于该收合部由外缘形成有螺纹之复数爪片所构成,且相邻的两爪片之间形成有一道缺口,该闭锁件具有一可螺合于收合部上之锥形螺孔。7. The foldable playpen according to claim 1, characterized in that the receiving part is composed of a plurality of claws with threads formed on the outer edge, and a gap is formed between two adjacent claws, and the locking member has A tapered screw hole that can be screwed on the receiving part. 8.根据权利要求7所述之折叠式游戏围栏,其特征在于该螺纹为复线螺纹。8. The foldable playpen according to claim 7, wherein the thread is a double thread. 9.根据权利要求7所述之折叠式游戏围栏,其特征在于该螺纹为三线螺纹。9. The foldable playpen according to claim 7, wherein the thread is a three-thread thread.
CN99240641U 1999-11-01 1999-11-01 foldable playpen Expired - Fee Related CN2440407Y (en)

Priority Applications (1)

Application Number Priority Date Filing Date Title
CN99240641U CN2440407Y (en) 1999-11-01 1999-11-01 foldable playpen

Applications Claiming Priority (1)

Application Number Priority Date Filing Date Title
CN99240641U CN2440407Y (en) 1999-11-01 1999-11-01 foldable playpen

Publications (1)

Publication Number Publication Date
CN2440407Y true CN2440407Y (en) 2001-08-01

Family

ID=34027648

Family Applications (1)

Application Number Title Priority Date Filing Date
CN99240641U Expired - Fee Related CN2440407Y (en) 1999-11-01 1999-11-01 foldable playpen

Country Status (1)

Country Link
CN (1) CN2440407Y (en)

Cited By (1)

* Cited by examiner, † Cited by third party
Publication number Priority date Publication date Assignee Title
CN102068158A (en) * 2011-01-05 2011-05-25 好孩子儿童用品有限公司 Game enclosure

Cited By (2)

* Cited by examiner, † Cited by third party
Publication number Priority date Publication date Assignee Title
CN102068158A (en) * 2011-01-05 2011-05-25 好孩子儿童用品有限公司 Game enclosure
CN102068158B (en) * 2011-01-05 2013-08-07 好孩子儿童用品有限公司 Game enclosure

Similar Documents

Publication Publication Date Title
CN1244762C (en) Tripod
CN2696950Y (en) Collapsible toddler frame
CN1272083C (en) Foldable ping-pong table
US20140174491A1 (en) Tent Skeleton and Tent
CN1369250A (en) Extension tube of vacuum duster
US7958578B2 (en) Play yard
CN2723753Y (en) Folding joints for baby nets
CN1448088A (en) folding banquet table
WO2009129680A1 (en) A lambdoidal ladder
CN1596859A (en) Wheelchair useable as walking stick
CN2440407Y (en) foldable playpen
US6725475B1 (en) Foldable mechanism for a base of playyard
US9668586B2 (en) Camp bed frame and camp bed
CN2376818Y (en) Crib bottom joint with locking action
CN218738147U (en) Folding structure of baby bedstead
CN103671476A (en) Rotating joint and game surrounding bed with rotating joint
CN2393770Y (en) Telescopic luggage trolley
CN2822388Y (en) Height-adjustable changing table unit and crib with same
CN2819888Y (en) Rod structure in flat umbrella
CN2778632Y (en) Trolley retractable structure
CN216973233U (en) Portable folding warning fence
CN214616338U (en) Anti-shaking connecting structure of telescopic ladder
CN2170681Y (en) Deforming table
CN223362812U (en) A portable guitar
CN218008970U (en) Telescopic stool

Legal Events

Date Code Title Description
C14 Grant of patent or utility model
GR01 Patent grant
C19 Lapse of patent right due to non-payment of the annual fee
CF01 Termination of patent right due to non-payment of annual fee