CN2287992Y - Gas axial flow rotary packed bed gas-liquid heat and mass transfer device - Google Patents
Gas axial flow rotary packed bed gas-liquid heat and mass transfer device Download PDFInfo
- Publication number
- CN2287992Y CN2287992Y CN 97212054 CN97212054U CN2287992Y CN 2287992 Y CN2287992 Y CN 2287992Y CN 97212054 CN97212054 CN 97212054 CN 97212054 U CN97212054 U CN 97212054U CN 2287992 Y CN2287992 Y CN 2287992Y
- Authority
- CN
- China
- Prior art keywords
- liquid
- gas
- casing
- rotating
- mass transfer
- Prior art date
- Legal status (The legal status is an assumption and is not a legal conclusion. Google has not performed a legal analysis and makes no representation as to the accuracy of the status listed.)
- Expired - Fee Related
Links
Landscapes
- Physical Or Chemical Processes And Apparatus (AREA)
Abstract
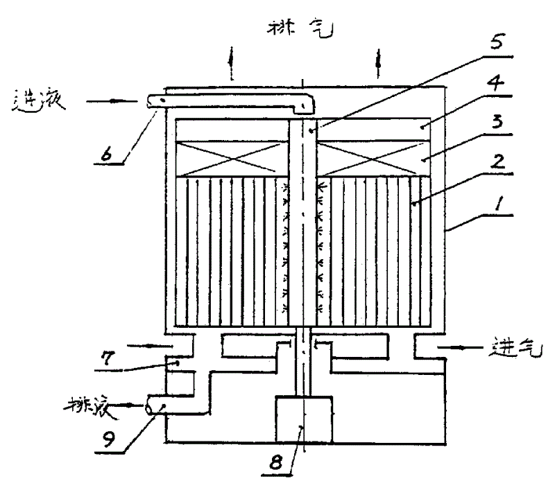
本实用新型是一种气体轴流型旋转填料床气液传热传质装置,它由机壳、具双向流道的旋转填料床、气液离心分离层、风叶、径向喷液管、进液管、集液槽、电动机、排液管共同构成,置于机壳中央的旋转填料床的上端部装置有气液离心分离层,风叶置于气液离心分离层上端部,径向喷液管位于旋转填料床的内环轴心,进液管固装于机壳内上部,其出口端对准喷液管顶端开口,集液槽装于机壳下部并与排液管连通,电动机装于机壳底部。本装置传热传质效率高、耗材少、体积小、结构简单、操作气阻小。
The utility model is a gas-liquid heat and mass transfer device for an axial-flow rotary packing bed, which consists of a casing, a rotating packing bed with two-way channels, a gas-liquid centrifugal separation layer, fan blades, radial liquid spray pipes, The liquid inlet pipe, the liquid collection tank, the motor and the liquid discharge pipe are composed together. The upper end of the rotating packed bed placed in the center of the casing is equipped with a gas-liquid centrifugal separation layer, and the fan blades are placed on the upper end of the gas-liquid centrifugal separation layer. The liquid spray pipe is located at the axis of the inner ring of the rotating packing bed, the liquid inlet pipe is fixedly installed in the upper part of the casing, and its outlet is aligned with the top opening of the liquid spray pipe, and the liquid collection tank is installed in the lower part of the casing and communicated with the discharge pipe. The motor is installed at the bottom of the casing. The device has high heat and mass transfer efficiency, less consumables, small volume, simple structure, and small operating air resistance.
Description
本实用新型是气体轴流型旋转填料床气液传热传质装置,属气液传热传质设备。特别涉及利用旋转填料床产生离心力来强化气液两相传热传质的装置。The utility model is a gas-liquid heat and mass transfer device for a gas axial flow rotary packing bed, which belongs to gas-liquid heat and mass transfer equipment. It particularly relates to a device that utilizes a rotating packed bed to generate centrifugal force to enhance gas-liquid two-phase heat and mass transfer.
目前的气液两相传热传质装置结构有多种多样,传统的装置主要是固定式填料结构,如点滴和薄膜式冷却塔等。在这些冷却塔中,液膜在重力场作用下从上到下向下流动。但由于重力场较弱,液膜流速很慢,气液传热传质效率低,而且填料材耗多,设备体积大、投资大;在旋转填料床气液传质装置方面,目前国内外均采用气液两相沿填料床径向逆流运动传质的方式,如名称为《同心圆环薄板填料旋转床气液传质反应器》的中国专利(申请号为:95214611.8)等,虽然其液膜流速很高,传质效果好,但当处理大气量的气液两相传热传质时,如冷却塔操作时,气体需克服离心力场的气阻较大和由于旋转填料床内外环气体流道截面积悬殊较大、内环处气速过高而造成气阻较大的问题,故这类装置不适合冷却塔一类的大气量的气液传热传质的操作。At present, there are various structures of gas-liquid two-phase heat and mass transfer devices. The traditional devices are mainly fixed packing structures, such as drip and film cooling towers. In these cooling towers, a liquid film flows from top to bottom under the action of a gravitational field. However, due to the weak gravity field, the flow rate of the liquid film is very slow, the efficiency of gas-liquid heat and mass transfer is low, and the packing material consumption is large, the equipment volume is large, and the investment is large; in terms of the gas-liquid mass transfer device of the rotating packed bed, the current domestic and foreign The method of gas-liquid two-phase countercurrent motion mass transfer along the radial direction of the packed bed, such as the Chinese patent (application number: 95214611.8) named "Concentric Circular Thin Plate Filled Rotating Bed Gas-Liquid Mass Transfer Reactor", etc., although its liquid film The flow rate is very high and the mass transfer effect is good, but when dealing with large volumes of gas-liquid two-phase heat and mass transfer, such as cooling tower operation, the gas needs to overcome the large air resistance of the centrifugal force field and the interception of the inner and outer rings of the rotating packed bed. The large area disparity and the high gas velocity at the inner ring cause the problem of large air resistance, so this type of device is not suitable for large-volume gas-liquid heat and mass transfer operations such as cooling towers.
本实用新型的目的就是为了解决和克服现有重力场气液传热传质存在的液膜流速过低、气液传热传质效率低、填料材耗多、设备体积庞大、投资大和现有超重力场旋转填料床存在离心力场气阻大以及内外环气体流道截面积悬殊、内环气速高、气阻较大、不适合大气量气液传热传质操作的问题和缺点,研究设计一种既可大幅度提高液膜流速、气液传热传质效率高、投资小,又可避免离心力场气阻,同时气体在填料床中流道截面均匀、气阻小、适合大气量气液传热传质操作的气体轴流型旋转填料床气液传热传质装置。The purpose of this utility model is to solve and overcome the low liquid film flow rate, low gas-liquid heat and mass transfer efficiency, high packing material consumption, large equipment volume, large investment and existing problems in the existing gravity field gas-liquid heat and mass transfer. The high-gravity field rotating packed bed has the problems and shortcomings of large air resistance in the centrifugal force field, large disparity in the cross-sectional area of the inner and outer ring gas channels, high gas velocity in the inner ring, and large air resistance, which is not suitable for large-volume gas-liquid heat and mass transfer operations. Research Design a method that can greatly increase the liquid film flow rate, high gas-liquid heat and mass transfer efficiency, small investment, and avoid the air resistance of the centrifugal force field. A gas axial flow rotary packed bed gas-liquid heat and mass transfer device for liquid heat and mass transfer operation.
本实用新型是通过下述结构技术方案来实现的:本气体轴流型旋转填料床气液传热传质装置的结构示意图如图1所示,其关键具有轴向气体流道与径向液体流道的双向流道的旋转填料床,它由机壳1、旋转填料床2、气液离心分离层3、风叶4、径向喷液管5、进液管6、集液槽7、电动机8、排液管9共同连接构成,其相互位置及连接关系为:旋转填料床2与机壳1同轴心线装置于机壳1的中央,气液离心分离层3置于旋转填料床上端部,风叶4置于气液离心分离层的上端部,径向喷液管5位于旋转填料层2的内环轴心,上述旋转填料床2、气液离心分离层3、风叶4、径向喷液管5通过同一轴心同轴连接构成旋转体并位于机壳1中央,进液管6固定于机壳1的内上部,进液管6的出口端对准径向喷液管5的顶端开口,集液槽7装置于机壳的下部并与排液管9相连通,电动机8装置于机壳的底部;其中,上述的气液离心分离层为径向板翼结构或多孔、颗粒状填料结构,气体沿轴向流动,液体沿径向分离。The utility model is realized through the following structural technical scheme: The structural diagram of the gas-liquid heat and mass transfer device of the gas axial-flow rotary packed bed is shown in Figure 1, and its key has an axial gas flow channel and a radial liquid flow channel. The rotary packing bed of the two-way flow channel of the flow channel is composed of a casing 1, a rotary packing bed 2, a gas-liquid centrifugal separation layer 3, a fan blade 4, a radial liquid spray pipe 5, a liquid inlet pipe 6, a liquid collection tank 7, The electric motor 8 and the liquid discharge pipe 9 are connected together, and their mutual position and connection relationship are as follows: the coaxial center line of the rotating packing bed 2 and the casing 1 is installed in the center of the casing 1, and the gas-liquid centrifugal separation layer 3 is placed on the rotating packing bed At the end, the fan blade 4 is placed on the upper end of the gas-liquid centrifugal separation layer, and the radial liquid spray pipe 5 is located at the inner ring axis of the rotating packing layer 2. The above-mentioned rotating packing bed 2, gas-liquid centrifugal separation layer 3, and fan blades 4 1. The radial liquid spray pipe 5 is coaxially connected with the same axis to form a rotating body and is located in the center of the casing 1. The liquid inlet pipe 6 is fixed on the inner upper part of the casing 1, and the outlet end of the liquid inlet pipe 6 is aligned with the radial spray liquid. The top end of the pipe 5 is open, the liquid collection tank 7 is installed in the lower part of the casing and communicates with the liquid discharge pipe 9, and the motor 8 is installed at the bottom of the casing; wherein, the above-mentioned gas-liquid centrifugal separation layer is a radial plate wing structure or Porous, granular packing structure, the gas flows in the axial direction, and the liquid is separated in the radial direction.
本实用新型与现有技术装置相比有如下的优点和有益效果:(1)与现有冷却塔等固定填料相比,本实用新型采用离心力场使液膜流速比重力场下提高约十倍,可增大气液两相传热传质系数约一个数量级,能大幅度减小设备体积和耗材,降低生产成本;(2)与现有旋转填料床相比,本实用新型的气流方向已从现有的径向改为轴向,克服了离心力与填料床内外环截面积悬殊大等因素引起的气阻较大的缺点,使本实用新型能适合大气量的气液传热传质操作过程。Compared with the prior art device, the utility model has the following advantages and beneficial effects: (1) Compared with the fixed fillers such as existing cooling towers, the utility model adopts the centrifugal force field to make the liquid film flow rate increase about ten times than that under the gravity field , can increase the gas-liquid two-phase heat and mass transfer coefficient by about an order of magnitude, can greatly reduce equipment volume and consumables, and reduce production costs; (2) Compared with the existing rotating packed bed, the airflow direction of the utility model has changed from existing Some of them are changed from radial direction to axial direction, which overcomes the disadvantage of large air resistance caused by factors such as centrifugal force and the large gap between the inner and outer ring cross-sectional areas of the packing bed, so that the utility model can be suitable for large-volume gas-liquid heat and mass transfer operations.
下面对说明书附图进一步说明如下:图1为本气体轴流型旋转填料床气液传热传质装置的结构示意图。图中:1为机壳,2为旋转填料床,3为气液离心分离层,4为风叶,5为径向喷液管,6为进液管,7为集液槽,8为电动机,9为排液管。The accompanying drawings of the description are further explained as follows: Fig. 1 is a schematic structural diagram of the gas-liquid heat and mass transfer device of the gas axial flow rotating packed bed. In the figure: 1 is the casing, 2 is the rotating packing bed, 3 is the gas-liquid centrifugal separation layer, 4 is the fan blade, 5 is the radial liquid spray pipe, 6 is the liquid inlet pipe, 7 is the liquid collection tank, and 8 is the motor , 9 is a discharge pipe.
本实用新型的实施方案较为简单,按图1所示,采用通用的机加工工艺方法设计加工部件,我们推荐其设计参数为:旋转填料床的内外环径可分别为φ70mm和φ300mm,其高度可为200mm~300mm,旋转填料床的流道是网板形或多孔介质、颗粒状结构,加工制作好各部件后,按上面说明书所述的其相互连接关系进行安装连接,便能较好地实施本实用新型。制作安装完成后,需做动平衡试验以防高速旋转时振动过大。按我们推荐的上述参数设计制作的本实用新型,在一般转速下,可处理2~5吨水的冷却。本实用新型的运转动作原理为:液体由进液管6注入径向喷液管5,在离心力的作用下沿径向进入旋转填料床2的内环,并由内环向外环径向流动,与轴向流动的气流作热量与质量的传递交换,然后由外环径向排出,沿机壳壁面流下进入集液槽7,再从排液管9排出,气体从机壳下部的进气口抽进入内,再沿轴向朝上流经旋转填料床,经与液流传热传质后,再经气液离心分离层3将液雾分离,然后由风叶4抽送出机壳外。The implementation of the utility model is relatively simple. As shown in Figure 1, the general machining process is used to design the processing parts. We recommend that the design parameters are: the inner and outer ring diameters of the rotating packing bed can be φ70mm and φ300mm respectively, and the height can be The flow channel of the rotating packed bed is 200mm-300mm. The flow channel of the rotating packed bed is a stencil-shaped or porous medium and a granular structure. After the components are processed and manufactured, they can be installed and connected according to the interconnection relationship described in the above manual, and then it can be implemented better. This utility model. After the production and installation are completed, a dynamic balance test is required to prevent excessive vibration during high-speed rotation. The utility model designed and manufactured by the above-mentioned parameters recommended by us can handle the cooling of 2 to 5 tons of water under the general rotating speed. The operating principle of the utility model is: the liquid is injected into the radial liquid spray pipe 5 from the liquid inlet pipe 6, and enters the inner ring of the rotating packing bed 2 radially under the action of centrifugal force, and flows radially from the inner ring to the outer ring , transfer and exchange heat and mass with the axially flowing airflow, then discharge radially from the outer ring, flow down along the casing wall surface into the liquid collection tank 7, and then discharge from the liquid discharge pipe 9, and the gas enters from the inlet at the lower part of the casing The nozzle is pumped into the interior, and then flows upwards through the rotating packed bed in the axial direction. After heat and mass transfer with the liquid, the liquid mist is separated by the gas-liquid centrifugal separation layer 3, and then is pumped out of the casing by the fan blade 4.
Claims (1)
Priority Applications (1)
| Application Number | Priority Date | Filing Date | Title |
|---|---|---|---|
| CN 97212054 CN2287992Y (en) | 1997-03-07 | 1997-03-07 | Gas axial flow rotary packed bed gas-liquid heat and mass transfer device |
Applications Claiming Priority (1)
| Application Number | Priority Date | Filing Date | Title |
|---|---|---|---|
| CN 97212054 CN2287992Y (en) | 1997-03-07 | 1997-03-07 | Gas axial flow rotary packed bed gas-liquid heat and mass transfer device |
Publications (1)
| Publication Number | Publication Date |
|---|---|
| CN2287992Y true CN2287992Y (en) | 1998-08-19 |
Family
ID=33930335
Family Applications (1)
| Application Number | Title | Priority Date | Filing Date |
|---|---|---|---|
| CN 97212054 Expired - Fee Related CN2287992Y (en) | 1997-03-07 | 1997-03-07 | Gas axial flow rotary packed bed gas-liquid heat and mass transfer device |
Country Status (1)
| Country | Link |
|---|---|
| CN (1) | CN2287992Y (en) |
Cited By (13)
| Publication number | Priority date | Publication date | Assignee | Title |
|---|---|---|---|---|
| CN1102416C (en) * | 2000-05-11 | 2003-03-05 | 钱德康 | Axial-flow surface renewing aquipment with forced internal circulation |
| CN102659117A (en) * | 2012-05-09 | 2012-09-12 | 瓮福(集团)有限责任公司 | Method for reinforcing fluorine absorption in mass transfer process |
| CN104105937A (en) * | 2012-01-11 | 2014-10-15 | Aaa水技术公司 | Cooling device |
| CN104521599A (en) * | 2014-12-31 | 2015-04-22 | 山东中昊重工科技有限公司 | Supergravity air cooling equipment capable of removing natural dormancy of deciduous fruit trees |
| CN106807319A (en) * | 2017-03-21 | 2017-06-09 | 北京化工大学 | Fluid channel molecular collision in-situ polymerization fiber surface decorating device and method |
| CN108387115A (en) * | 2018-03-02 | 2018-08-10 | 济南大学 | A kind of hypergravity heat exchanger and its application method |
| CN108640360A (en) * | 2018-06-08 | 2018-10-12 | 河南省兴洋环保科技有限公司 | A kind of the desulfurization wastewater Zero discharging system and method for humidification-dehumidifying coupling pressure retarded osmosis |
| CN110514027A (en) * | 2019-08-22 | 2019-11-29 | 东台宏仁气体有限公司 | A kind of rotary and telescopic nitrogen cooling device and its cooling means |
| CN111380375A (en) * | 2018-12-29 | 2020-07-07 | 中国石油化工股份有限公司 | Closed cooling tower |
| CN111380374A (en) * | 2018-12-29 | 2020-07-07 | 中国石油化工股份有限公司 | Combined type closed cooling tower |
| CN111380373A (en) * | 2018-12-29 | 2020-07-07 | 中国石油化工股份有限公司 | Closed cooling tower with multi-stage heat exchange |
| CN111939585A (en) * | 2020-09-02 | 2020-11-17 | 常熟龙飞医药设备科技有限公司 | Centrifugal dispersion distillation device with efficient liquid material dispersion structure and aroma components |
| CN118371004A (en) * | 2024-06-25 | 2024-07-23 | 浙江中宁硅业股份有限公司 | Disilane multistage rectification purification device |
-
1997
- 1997-03-07 CN CN 97212054 patent/CN2287992Y/en not_active Expired - Fee Related
Cited By (19)
| Publication number | Priority date | Publication date | Assignee | Title |
|---|---|---|---|---|
| CN1102416C (en) * | 2000-05-11 | 2003-03-05 | 钱德康 | Axial-flow surface renewing aquipment with forced internal circulation |
| CN104105937A (en) * | 2012-01-11 | 2014-10-15 | Aaa水技术公司 | Cooling device |
| CN104105937B (en) * | 2012-01-11 | 2016-06-08 | Aaa水技术公司 | Chiller |
| CN102659117A (en) * | 2012-05-09 | 2012-09-12 | 瓮福(集团)有限责任公司 | Method for reinforcing fluorine absorption in mass transfer process |
| CN104521599A (en) * | 2014-12-31 | 2015-04-22 | 山东中昊重工科技有限公司 | Supergravity air cooling equipment capable of removing natural dormancy of deciduous fruit trees |
| CN106807319A (en) * | 2017-03-21 | 2017-06-09 | 北京化工大学 | Fluid channel molecular collision in-situ polymerization fiber surface decorating device and method |
| CN106807319B (en) * | 2017-03-21 | 2023-04-28 | 北京化工大学 | Micro-channel molecular collision in-situ polymerization fiber surface modification device and method |
| CN108387115A (en) * | 2018-03-02 | 2018-08-10 | 济南大学 | A kind of hypergravity heat exchanger and its application method |
| CN108640360A (en) * | 2018-06-08 | 2018-10-12 | 河南省兴洋环保科技有限公司 | A kind of the desulfurization wastewater Zero discharging system and method for humidification-dehumidifying coupling pressure retarded osmosis |
| CN108640360B (en) * | 2018-06-08 | 2023-08-22 | 河南省兴洋环保科技有限公司 | Humidification-dehumidification coupled pressure permeation-delayed desulfurization wastewater zero-emission system and method |
| CN111380375A (en) * | 2018-12-29 | 2020-07-07 | 中国石油化工股份有限公司 | Closed cooling tower |
| CN111380374A (en) * | 2018-12-29 | 2020-07-07 | 中国石油化工股份有限公司 | Combined type closed cooling tower |
| CN111380373A (en) * | 2018-12-29 | 2020-07-07 | 中国石油化工股份有限公司 | Closed cooling tower with multi-stage heat exchange |
| CN111380373B (en) * | 2018-12-29 | 2021-07-09 | 中国石油化工股份有限公司 | Closed cooling tower with multi-stage heat exchange |
| CN111380375B (en) * | 2018-12-29 | 2021-05-04 | 中国石油化工股份有限公司 | Closed cooling tower |
| CN110514027A (en) * | 2019-08-22 | 2019-11-29 | 东台宏仁气体有限公司 | A kind of rotary and telescopic nitrogen cooling device and its cooling means |
| CN110514027B (en) * | 2019-08-22 | 2021-04-13 | 东台宏仁气体有限公司 | Rotary telescopic nitrogen cooling device and cooling method thereof |
| CN111939585A (en) * | 2020-09-02 | 2020-11-17 | 常熟龙飞医药设备科技有限公司 | Centrifugal dispersion distillation device with efficient liquid material dispersion structure and aroma components |
| CN118371004A (en) * | 2024-06-25 | 2024-07-23 | 浙江中宁硅业股份有限公司 | Disilane multistage rectification purification device |
Similar Documents
| Publication | Publication Date | Title |
|---|---|---|
| CN2287992Y (en) | Gas axial flow rotary packed bed gas-liquid heat and mass transfer device | |
| CN104474996B (en) | A multi-stage cross-flow rotary packed bed mass transfer and reaction equipment | |
| CN108187478A (en) | A kind of device and method of magnesium method flue gas desulphurization | |
| WO2006128351A1 (en) | A reflecting packed column | |
| CN106050728B (en) | Seal cavity with inner wall of tornado-like spiral groove composite structure | |
| CN204320287U (en) | A kind of rotary packed bed mass transfer of multistage cross flow and consersion unit | |
| CN104941246A (en) | Impinging stream super-gravity liquid-liquid extractor | |
| CN204671936U (en) | A kind of percussion flow hypergravity liquid-liquid extraction device | |
| CN206935060U (en) | A kind of absorption plant for chemical industry tail gas purification | |
| CN102641718A (en) | Disk-shaped centrifugate ring moving sealing device for super-gravity rotary bed | |
| CN206063829U (en) | Fluid-tight adverse current type hypergravity swinging bed device | |
| CN204637641U (en) | A kind of labyrinth type hypergravity liquid-liquid extraction separator | |
| CN108889092B (en) | Intelligent revolving rotating packed tower | |
| CN207153708U (en) | A kind of new-type cross flow type is rotary packed bed | |
| CN104148195A (en) | Dynamic two-stage cyclone separator | |
| CN2410021Y (en) | Parabolic cyclonic body gas-liquid heat-transfer medium-transfer device | |
| CN208574643U (en) | Concentric ring supergravity rotating bed with cooling centrifugal liquid ring dynamic sealing device | |
| CN201316546Y (en) | Stream-turn float valve | |
| CN202538787U (en) | Disc centrifugate ring movable sealing device for super gravity rotating bed | |
| CN115069074A (en) | Annular water film type tail gas suction device | |
| CN206424613U (en) | A kind of rectifying column for being used to vulcanize hydrogen purification | |
| CN1127996C (en) | Revolutary projecting gas-liquid heat and mass transferrer and its control method | |
| CN222524457U (en) | Coke oven gas drain device | |
| CN2229833Y (en) | Concentric annular thin-plate packed rotating bed gas-liquid mass transfer reactor | |
| CN1212173C (en) | Ring grid tower inlet device |
Legal Events
| Date | Code | Title | Description |
|---|---|---|---|
| C14 | Grant of patent or utility model | ||
| GR01 | Patent grant | ||
| C19 | Lapse of patent right due to non-payment of the annual fee | ||
| CF01 | Termination of patent right due to non-payment of annual fee |
