CN219335391U - A wire drawing machine nip roller - Google Patents
A wire drawing machine nip roller Download PDFInfo
- Publication number
- CN219335391U CN219335391U CN202223309780.7U CN202223309780U CN219335391U CN 219335391 U CN219335391 U CN 219335391U CN 202223309780 U CN202223309780 U CN 202223309780U CN 219335391 U CN219335391 U CN 219335391U
- Authority
- CN
- China
- Prior art keywords
- clamping roller
- wire drawing
- half clamping
- drawing machine
- rear half
- Prior art date
- Legal status (The legal status is an assumption and is not a legal conclusion. Google has not performed a legal analysis and makes no representation as to the accuracy of the status listed.)
- Expired - Fee Related
Links
- 238000005491 wire drawing Methods 0.000 title claims abstract description 45
- 239000002184 metal Substances 0.000 claims description 3
- 230000003247 decreasing effect Effects 0.000 claims 1
- 238000000034 method Methods 0.000 description 5
- 238000010586 diagram Methods 0.000 description 3
- 230000007423 decrease Effects 0.000 description 2
- 238000012986 modification Methods 0.000 description 2
- 230000004048 modification Effects 0.000 description 2
- 230000009286 beneficial effect Effects 0.000 description 1
- 230000007812 deficiency Effects 0.000 description 1
- 230000000694 effects Effects 0.000 description 1
- 230000005611 electricity Effects 0.000 description 1
- 238000004519 manufacturing process Methods 0.000 description 1
- 239000007769 metal material Substances 0.000 description 1
- XLYOFNOQVPJJNP-UHFFFAOYSA-N water Substances O XLYOFNOQVPJJNP-UHFFFAOYSA-N 0.000 description 1
Images
Classifications
-
- Y—GENERAL TAGGING OF NEW TECHNOLOGICAL DEVELOPMENTS; GENERAL TAGGING OF CROSS-SECTIONAL TECHNOLOGIES SPANNING OVER SEVERAL SECTIONS OF THE IPC; TECHNICAL SUBJECTS COVERED BY FORMER USPC CROSS-REFERENCE ART COLLECTIONS [XRACs] AND DIGESTS
- Y02—TECHNOLOGIES OR APPLICATIONS FOR MITIGATION OR ADAPTATION AGAINST CLIMATE CHANGE
- Y02P—CLIMATE CHANGE MITIGATION TECHNOLOGIES IN THE PRODUCTION OR PROCESSING OF GOODS
- Y02P70/00—Climate change mitigation technologies in the production process for final industrial or consumer products
- Y02P70/10—Greenhouse gas [GHG] capture, material saving, heat recovery or other energy efficient measures, e.g. motor control, characterised by manufacturing processes, e.g. for rolling metal or metal working
Landscapes
- Metal Extraction Processes (AREA)
Abstract
本实用新型公开了一种拉丝机夹辊,包括安装支架,所述安装支架表面贯穿设置有滑槽,所述安装支架表面设置有便于驱动拉丝机夹辊进行移动的驱动组件,所述安装支架表面通过驱动组件固定设置有连接板,所述连接板内部转动设置有转动轴,所述转动轴表面设置有便于进行更换的夹辊组件。将更换的前半夹辊通过限位板插入限位槽内,拉动后半夹辊,使得后半固定板与前半固定板接触,通过固定螺栓进行固定即可,再通过驱动组件带动夹辊组件向上或向下移动,对拉丝的丝线张力进行调节,实现了便于在拉丝时对不同直径的丝线进行引导的目标,且便于对引导不同直径丝线的拉丝机夹辊进行更换,使得拉丝机夹辊使用起来更加灵活。
The utility model discloses a pinch roller of a wire drawing machine, which comprises a mounting bracket. A chute is provided through the surface of the mounting bracket. A connecting plate is fixedly arranged on the surface through a driving assembly, and a rotating shaft is arranged to rotate inside the connecting plate, and a nip roller assembly is arranged on the surface of the rotating shaft for easy replacement. Insert the replaced front half pinch roller into the limit groove through the limit plate, pull the rear half pinch roller, make the rear half fixed plate contact the front half fixed plate, fix it with the fixing bolt, and then drive the pinch roller assembly upward through the drive assembly Or move down to adjust the wire tension of the wire drawing, realize the goal of guiding wires of different diameters during wire drawing, and facilitate the replacement of the wire drawing machine nip rollers that guide wires of different diameters, so that the wire drawing machine nip rollers can be used more flexible.
Description
技术领域technical field
本实用新型涉及拉丝机技术领域,尤其涉及一种拉丝机夹辊。The utility model relates to the technical field of wire drawing machines, in particular to a nip roller of a wire drawing machine.
背景技术Background technique
拉丝机形成了以老式滑轮拉丝机为主,兼有双卷筒式、直进式、活套式、调谐辊直线式、组合式及各种水箱拉线机并存的现状,广泛应用于机械制造、五金加工、石油化工和电线电缆等行业。The wire drawing machine has formed the current situation that the old-fashioned pulley wire drawing machine is the main one, and there are double-drum type, straight type, looper type, tuning roller linear type, combined type and various water tank wire drawing machines. It is widely used in machinery manufacturing, Metal processing, petrochemical and wire and cable industries.
而拉丝机在进行拉丝的时候,通常需要使用通过夹辊进行引导,而在拉丝机夹辊使用过程中采用单辊单槽定位会导致不同直径的丝线拉丝时,其不便于引导,采用而采用单辊多槽时单个槽出现损坏会导致夹辊使用效果降低。When the wire drawing machine is drawing, it usually needs to be guided by the nip roller, and the positioning of the single roller and single groove during the use of the nip roller of the wire drawing machine will lead to inconvenient guidance when drawing wires of different diameters. When a single roller has multiple grooves, damage to a single groove will reduce the use effect of the nip roller.
实用新型内容Utility model content
针对现有技术的不足,本实用新型提供了一种拉丝机夹辊,用于解决上述背景技术中提出的问题。Aiming at the deficiencies of the prior art, the utility model provides a wire drawing machine nip roller, which is used to solve the problems raised in the above-mentioned background technology.
为了实现上述目的,本实用新型采用了如下技术方案:In order to achieve the above object, the utility model adopts the following technical solutions:
一种拉丝机夹辊,包括安装支架,所述安装支架表面贯穿设置有滑槽,所述安装支架表面设置有便于驱动拉丝机夹辊进行移动的驱动组件,所述安装支架表面通过驱动组件固定设置有连接板,所述连接板内部转动设置有转动轴,所述转动轴表面设置有便于进行更换的夹辊组件。A wire drawing machine nip roller, comprising a mounting bracket, the surface of the mounting bracket is provided with a chute, the surface of the mounting bracket is provided with a driving assembly for driving the wire drawing machine nip roller to move, and the surface of the mounting bracket is fixed by the driving assembly A connecting plate is provided, and a rotating shaft is rotatably arranged inside the connecting plate, and a nip roller assembly for easy replacement is provided on the surface of the rotating shaft.
优选的,所述驱动组件包括设置于安装支架表面的固定架,所述固定架的顶部固定设置有伸缩气缸,所述伸缩气缸的输出端贯穿固定架并固定设置有移动板,且移动板与连接板固定连接设置。Preferably, the drive assembly includes a fixed frame arranged on the surface of the mounting bracket, a telescopic cylinder is fixedly arranged on the top of the fixed frame, the output end of the telescopic cylinder passes through the fixed frame and is fixedly provided with a moving plate, and the moving plate and The connection plate fixes the connection settings.
优选的,所述夹辊组件包括设置于转动轴表面的限位槽,所述限位槽内部搭接设置有限位板,所述限位板的表面固定设置有前半夹辊,所述前半夹辊的左侧与右侧均固定设置有前半固定板,所述前半固定板内部固定设置有固定轴,所述固定轴表面转动设置有转动板,所述转动板远离固定轴的一侧固定设置有后半固定板,所述后半固定板内部螺纹设置有固定螺栓,且后半固定板通过固定螺栓与前半固定板相连接,所述后半固定板相向面之间固定设置有后半夹辊,且后半夹辊与前半夹辊为搭接设置。Preferably, the nip roller assembly includes a limiting groove arranged on the surface of the rotating shaft, a limiting plate is overlapped inside the limiting groove, and the surface of the limiting plate is fixedly provided with the first half of the nip roller, and the first half of the nip Both the left side and the right side of the roller are fixedly provided with a front semi-fixed plate, the interior of the said front semi-fixed plate is fixedly provided with a fixed shaft, the surface of the fixed shaft is rotated and provided with a rotating plate, and the side of the rotating plate away from the fixed shaft is fixedly provided There is a rear half fixed plate, the internal thread of the rear half fixed plate is provided with fixing bolts, and the rear half fixed plate is connected with the front half fixed plate through the fixed bolts, and the rear half clamp is fixedly arranged between the facing surfaces of the rear half fixed plate Roller, and the second half of the nip roller and the first half of the nip roller are overlapped.
优选的,所述伸缩气缸的数量为二或二的倍数,且多个伸缩气缸呈对称式分布。Preferably, the number of the telescopic cylinders is two or a multiple of two, and the telescopic cylinders are symmetrically distributed.
优选的,所述前半夹辊与后半固定板的数量均为多个,且多个前半夹辊与多个后半夹辊呈线性阵列式分布,且多个前半夹辊与多个后半夹辊内的夹槽半径依次递减。Preferably, the number of the front half nip rollers and the rear half fixing plate is multiple, and the plurality of front half nip rollers and the plurality of rear half nip rollers are distributed in a linear array, and the plurality of front half nip rollers and the plurality of rear half nip rollers The radius of the nip groove in the nip roller decreases successively.
优选的,所述固定轴呈圆形结构,且固定轴采用金属材质制成。Preferably, the fixed shaft has a circular structure, and the fixed shaft is made of metal.
优选的,所述前半夹辊与后半夹辊的规格相同,且前半夹辊与后半夹辊呈对称式设。Preferably, the specifications of the first half nip roller and the second half nip roller are the same, and the front half nip roller and the second half nip roller are symmetrically arranged.
与现有技术相比,本实用新型的有益效果是:Compared with the prior art, the beneficial effects of the utility model are:
1、该拉丝机夹辊,当对不同直径的丝线进行拉丝时,通过使用不同直径的夹槽的前半夹辊与后半夹辊,当前半夹辊与后半夹辊出现磨损时,驱动夹辊组件内设置的固定螺栓,拉动后半夹辊,使得后半固定板通过转动板与固定轴进行翻转,再将前半夹辊与限位板取下,将更换的前半夹辊通过限位板插入限位槽内,拉动后半夹辊,使得后半固定板与前半固定板接触,通过固定螺栓进行固定即可,再通过驱动组件带动夹辊组件向上或向下移动,对拉丝的丝线张力进行调节;实现了便于在拉丝时对不同直径的丝线进行引导的目标,且便于对引导不同直径丝线的拉丝机夹辊进行更换,使得拉丝机夹辊使用起来更加灵活。1. The nip rollers of the wire drawing machine, when drawing wires of different diameters, use the front half nip rollers and the rear half nip rollers with different diameter nip grooves, and when the front half nip rollers and the rear half nip rollers are worn, the driving nip The fixing bolts set in the roller assembly pull the rear half of the nip roller, so that the rear half of the fixed plate turns over through the rotating plate and the fixed shaft, then remove the front half of the nip roller and the limit plate, and insert the replaced front half of the nip roller through the limit plate In the limit groove, pull the rear half of the nip roller so that the rear half of the fixed plate is in contact with the front half of the fixed plate, and fix it with the fixing bolts, and then drive the nip roller assembly to move up or down through the driving component to adjust the tension of the wire drawing. Adjustment; achieve the goal of guiding wires of different diameters during wire drawing, and facilitate the replacement of the nip rolls of the wire drawing machine that guide wires of different diameters, making the nip rolls of the wire drawing machine more flexible to use.
2、该拉丝机夹辊,通过驱动组件内设置的伸缩气缸驱动输出端伸长或缩短,带动移动板进行移动,通过移动板带动连接板进行移动,使得转动轴带动夹辊组件向上或向下移动,对拉丝的丝线张力进行调节;便于对拉丝的丝线张力进行调节,防止丝线张力过小造成丝线从夹辊内滑出,防止张力过大造成丝线出现断裂。2. The nip roller of the wire drawing machine drives the output end to extend or shorten through the telescopic cylinder set in the drive assembly, drives the moving plate to move, and drives the connecting plate to move through the moving plate, so that the rotating shaft drives the nip roller assembly up or down Move to adjust the tension of the drawing thread; it is convenient to adjust the tension of the drawing thread to prevent the thread from slipping out of the nip roller when the thread tension is too small, and to prevent the thread from breaking due to excessive tension.
附图说明Description of drawings
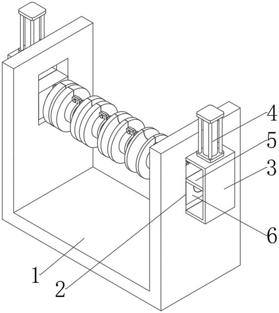
图1为本实用新型结构正等测图;Fig. 1 is the isometric drawing of the utility model structure;
图2为本实用新型结构驱动组件结构示意图;Fig. 2 is a structural schematic diagram of the structural drive assembly of the utility model;
图3为本实用新型结构夹辊组件结构示意图;Fig. 3 is a schematic diagram of the structure of the utility model nip roller assembly;
图4为图3的A处结构放大图;Figure 4 is an enlarged view of the structure at A in Figure 3;
图5为本实用新型结构夹辊组件局部结构示意图。Fig. 5 is a schematic diagram of a partial structure of a nip roller assembly of the utility model.
图中:1安装支架、2滑槽、3固定架、4伸缩气缸、5移动板、6连接板、7转动轴、8限位槽、9限位板、10前半夹辊、11前半固定板、12固定轴、13转动板、14后半固定板、15固定螺栓、16后半夹辊。In the figure: 1 mounting bracket, 2 chute, 3 fixed frame, 4 telescopic cylinder, 5 moving plate, 6 connecting plate, 7 rotating shaft, 8 limiting slot, 9 limiting plate, 10 front half pinch roller, 11 front half fixed plate , 12 fixed shafts, 13 rotating plates, 14 rear half fixed plates, 15 fixed bolts, 16 rear half nip rollers.
具体实施方式Detailed ways
下面将结合本实用新型实施例中的附图,对本实用新型实施例中的技术方案进行清楚、完整地描述,显然,所描述的实施例仅仅是本实用新型一部分实施例,而不是全部的实施例。基于本实用新型中的实施例,本领域普通技术人员在没有做出创造性劳动前提下所获得的所有其他实施例,都属于本实用新型保护的范围。The technical solutions in the embodiments of the present invention will be clearly and completely described below in conjunction with the accompanying drawings in the embodiments of the present invention. Obviously, the described embodiments are only part of the embodiments of the present invention, not all of them. example. Based on the embodiments of the present utility model, all other embodiments obtained by persons of ordinary skill in the art without making creative efforts belong to the scope of protection of the present utility model.
参照图1-5,一种拉丝机夹辊,包括安装支架1,安装支架1表面贯穿设置有滑槽2,安装支架1表面设置有便于驱动拉丝机夹辊进行移动的驱动组件,驱动组件包括设置于安装支架1表面的固定架3,固定架3的顶部固定设置有伸缩气缸4,伸缩气缸4的数量为二或二的倍数,且多个伸缩气缸4呈对称式分布,使得转动轴7移动起来更加平稳,伸缩气缸4的输出端贯穿固定架3并固定设置有移动板5,且移动板5与连接板6固定连接设置,通过驱动组件内设置的伸缩气缸4驱动输出端伸长或缩短,带动移动板5进行移动,通过移动板5带动连接板6进行移动,使得转动轴7带动夹辊组件向上或向下移动,对拉丝的丝线张力进行调节,便于对拉丝的丝线张力进行调节,防止丝线张力过小造成丝线从夹辊内滑出,防止张力过大造成丝线出现断裂,安装支架1表面通过驱动组件固定设置有连接板6,连接板6内部转动设置有转动轴7,转动轴7表面设置有便于进行更换的夹辊组件,夹辊组件包括设置于转动轴7表面的限位槽8,限位槽8内部搭接设置有限位板9,限位板9的表面固定设置有前半夹辊10,前半夹辊10的左侧与右侧均固定设置有前半固定板11,前半固定板11内部固定设置有固定轴12,固定轴12呈圆形结构,且固定轴12采用金属材质制成,使得固定轴12更加耐用,不易出现损坏,固定轴12表面转动设置有转动板13,转动板13远离固定轴12的一侧固定设置有后半固定板14,后半固定板14内部螺纹设置有固定螺栓15,且后半固定板14通过固定螺栓15与前半固定板11相连接,后半固定板14相向面之间固定设置有后半夹辊16,且后半夹辊16与前半夹辊10为搭接设置,前半夹辊10与后半固定板14的数量均为多个,且多个前半夹辊10与多个后半夹辊16呈线性阵列式分布,且多个前半夹辊10与多个后半夹辊16内的夹槽半径依次递减,便于对不同直径的丝线起到引导作用,前半夹辊10与后半夹辊16的规格相同,且前半夹辊10与后半夹辊16呈对称式设,该拉丝机夹辊,当对不同直径的丝线进行拉丝时,通过使用不同直径的夹槽的前半夹辊10与后半夹辊16,当前半夹辊10与后半夹辊16出现磨损时,驱动夹辊组件内设置的固定螺栓15,拉动后半夹辊16,使得后半固定板14通过转动板13与固定轴12进行翻转,再将前半夹辊10与限位板9取下,将更换的前半夹辊10通过限位板9插入限位槽8内,拉动后半夹辊16,使得后半固定板14与前半固定板11接触,通过固定螺栓15进行固定即可,再通过驱动组件带动夹辊组件向上或向下移动,对拉丝的丝线张力进行调节,实现了便于在拉丝时对不同直径的丝线进行引导的目标,且便于对引导不同直径丝线的拉丝机夹辊进行更换,使得拉丝机夹辊使用起来更加灵活。Referring to Figures 1-5, a wire drawing machine nip roll includes a mounting bracket 1, a
该文中出现的电器元件均与外界的主控器及220V市电电连接,并且主控器可为计算机等起到控制的常规已知设备。The electrical components appearing in this article are all connected with the external main controller and 220V mains electricity, and the main controller can be a conventional known device that plays a control such as a computer.
在使用时:当对不同直径的丝线进行拉丝时,通过使用不同直径的夹槽的前半夹辊10与后半夹辊16,当前半夹辊10与后半夹辊16出现磨损时,驱动夹辊组件内设置的固定螺栓15,拉动后半夹辊16,通过后半夹辊16带动后半固定板14进行移动,使得后半固定板14通过转动板13与固定轴12进行翻转,再拉动前半夹辊10,带动限位板9从限位槽8内取出,将更加的前半夹辊10内部设置的限位板9插入限位槽8内,拉动后半夹辊16,带动后半固定板14通过转动板13与固定轴12翻转,使得后半固定板14与前半固定板11接触,通过固定螺栓15进行固定即可,再通过驱动组件内设置的伸缩气缸4驱动输出端伸长或缩短,带动移动板5进行移动,通过移动板5带动连接板6进行移动,使得转动轴7带动夹辊组件向上或向下移动,对拉丝的丝线张力进行调节。When in use: when drawing wires of different diameters, by using the front
综上所述,该拉丝机夹辊,当对不同直径的丝线进行拉丝时,通过使用不同直径的夹槽的前半夹辊10与后半夹辊16,当前半夹辊10与后半夹辊16出现磨损时,驱动夹辊组件内设置的固定螺栓15,拉动后半夹辊16,使得后半固定板14通过转动板13与固定轴12进行翻转,再将前半夹辊10与限位板9取下,将更换的前半夹辊10通过限位板9插入限位槽8内,拉动后半夹辊16,使得后半固定板14与前半固定板11接触,通过固定螺栓15进行固定即可,再通过驱动组件带动夹辊组件向上或向下移动,对拉丝的丝线张力进行调节;实现了便于在拉丝时对不同直径的丝线进行引导的目标,且便于对引导不同直径丝线的拉丝机夹辊进行更换,使得拉丝机夹辊使用起来更加灵活,用于解决上述背景技术中提出的问题。To sum up, when the wire drawing machine nip rolls draw wires of different diameters, by using the front
需要说明的是,在本文中,诸如术语“包括”、“包含”或者其任何其他变体意在涵盖非排他性的包含,从而使得包括一系列要素的过程、方法、物品或者设备不仅包括那些要素,而且还包括没有明确列出的其他要素,或者是还包括为这种过程、方法、物品或者设备所固有的要素。It should be noted that, in this document, terms such as "comprising", "comprising" or any other variation thereof are intended to cover a non-exclusive inclusion such that a process, method, article or apparatus comprising a set of elements includes not only those elements , but also includes other elements not expressly listed, or also includes elements inherent in such process, method, article or equipment.
尽管已经示出和描述了本实用新型的实施例,对于本领域的普通技术人员而言,可以理解在不脱离本实用新型的原理和精神的情况下可以对这些实施例进行多种变化、修改、替换和变型,本实用新型的范围由所附权利要求及其等同物限定。Although the embodiments of the present invention have been shown and described, those skilled in the art can understand that various changes and modifications can be made to these embodiments without departing from the principle and spirit of the present invention , replacements and modifications, the scope of the present utility model is defined by the appended claims and their equivalents.
Claims (7)
Priority Applications (1)
| Application Number | Priority Date | Filing Date | Title |
|---|---|---|---|
| CN202223309780.7U CN219335391U (en) | 2022-12-11 | 2022-12-11 | A wire drawing machine nip roller |
Applications Claiming Priority (1)
| Application Number | Priority Date | Filing Date | Title |
|---|---|---|---|
| CN202223309780.7U CN219335391U (en) | 2022-12-11 | 2022-12-11 | A wire drawing machine nip roller |
Publications (1)
| Publication Number | Publication Date |
|---|---|
| CN219335391U true CN219335391U (en) | 2023-07-14 |
Family
ID=87094892
Family Applications (1)
| Application Number | Title | Priority Date | Filing Date |
|---|---|---|---|
| CN202223309780.7U Expired - Fee Related CN219335391U (en) | 2022-12-11 | 2022-12-11 | A wire drawing machine nip roller |
Country Status (1)
| Country | Link |
|---|---|
| CN (1) | CN219335391U (en) |
-
2022
- 2022-12-11 CN CN202223309780.7U patent/CN219335391U/en not_active Expired - Fee Related
Similar Documents
| Publication | Publication Date | Title |
|---|---|---|
| CN219335391U (en) | A wire drawing machine nip roller | |
| CN213242258U (en) | Tensioning device of winding machine | |
| CN207668200U (en) | A kind of take-up on wire drawing machine | |
| CN207129769U (en) | A kind of metal wire rod winder | |
| CN115504312A (en) | A kind of unwinding device for wire and cable processing | |
| CN118280661B (en) | A cable stranding structure and method for cable production | |
| CN212577197U (en) | Flat copper wire manufacturing equipment for FFC flexible flat cable | |
| CN221739548U (en) | A winding device for copper wire rolling | |
| CN211496408U (en) | Yarn pressing rod tension adjusting device for fiber conveying | |
| CN217955553U (en) | A cable twisting device for a robot arm | |
| CN212311948U (en) | Fixing frame for optical fiber processing | |
| CN211687736U (en) | Cabling machine coiling mechanism for cable preparation | |
| CN220264756U (en) | Yarn wire equipment | |
| CN214359523U (en) | Yarn waxing machine | |
| CN221720858U (en) | A metal wire guide wire frame for steelmaking wire feeding machine | |
| CN220449398U (en) | Wire and cable coiling machine | |
| CN218656144U (en) | Steel wire rope drawing device | |
| CN221318601U (en) | Material conveying balance mechanism of laminating machine | |
| CN219823137U (en) | Winding frame of meter department machine | |
| CN221977663U (en) | Auxiliary traction mechanism of cabling machine | |
| CN220264809U (en) | High-insulativity mica paper winding and unwinding device | |
| CN221734437U (en) | A wire outlet guide device for a copper wire drawing machine | |
| CN205087643U (en) | Coiling apparatus at uniform velocity | |
| CN221253379U (en) | Steel wire paying-off device for production of rubber-plastic composite steel wire pipe with three-rubber two-wire structure | |
| CN222612560U (en) | A gantry type active pay-off stand for wire and cable extrusion unit |
Legal Events
| Date | Code | Title | Description |
|---|---|---|---|
| GR01 | Patent grant | ||
| GR01 | Patent grant | ||
| CF01 | Termination of patent right due to non-payment of annual fee | ||
| CF01 | Termination of patent right due to non-payment of annual fee |
Granted publication date: 20230714 |
