CN219306879U - A Cardiovascular Interventional Therapy Device Convenient for Adjusting Puncture Angle - Google Patents
A Cardiovascular Interventional Therapy Device Convenient for Adjusting Puncture Angle Download PDFInfo
- Publication number
- CN219306879U CN219306879U CN202320247314.6U CN202320247314U CN219306879U CN 219306879 U CN219306879 U CN 219306879U CN 202320247314 U CN202320247314 U CN 202320247314U CN 219306879 U CN219306879 U CN 219306879U
- Authority
- CN
- China
- Prior art keywords
- puncture
- assembly
- fixed
- adjusting
- cardiovascular interventional
- Prior art date
- Legal status (The legal status is an assumption and is not a legal conclusion. Google has not performed a legal analysis and makes no representation as to the accuracy of the status listed.)
- Expired - Fee Related
Links
Images
Classifications
-
- Y—GENERAL TAGGING OF NEW TECHNOLOGICAL DEVELOPMENTS; GENERAL TAGGING OF CROSS-SECTIONAL TECHNOLOGIES SPANNING OVER SEVERAL SECTIONS OF THE IPC; TECHNICAL SUBJECTS COVERED BY FORMER USPC CROSS-REFERENCE ART COLLECTIONS [XRACs] AND DIGESTS
- Y02—TECHNOLOGIES OR APPLICATIONS FOR MITIGATION OR ADAPTATION AGAINST CLIMATE CHANGE
- Y02A—TECHNOLOGIES FOR ADAPTATION TO CLIMATE CHANGE
- Y02A50/00—TECHNOLOGIES FOR ADAPTATION TO CLIMATE CHANGE in human health protection, e.g. against extreme weather
- Y02A50/30—Against vector-borne diseases, e.g. mosquito-borne, fly-borne, tick-borne or waterborne diseases whose impact is exacerbated by climate change
Landscapes
- Infusion, Injection, And Reservoir Apparatuses (AREA)
Abstract
本实用新型公开了一种便于调整穿刺角度的心血管介入治疗器,包括固定座和高度调节组件,所述固定座的内部中端设置有收纳槽,所述高度调节组件设置于收纳槽的内部底端,所述伸缩柱的上端连接有连接头,所述连接头的右端连接有角度调节组件,所述转动座的上端连接有注射组件。该便于调整穿刺角度的心血管介入治疗器,与现有的心血管介入治疗器相比,通过高度调节组件和角度调节组件的调节,可以对介入治疗器的穿刺针位置进行固定,方便提高穿刺精度,提高手术穿刺效率,通过防护固定组件对患者的身体进行贴覆,便于提高紧固性及舒适性,提高设备的固定效果,通过收纳槽和固定防护组件配合使用,可以对设备进行收纳,提高设备的便携性。
The utility model discloses a cardiovascular interventional therapy device which is convenient for adjusting the puncture angle, which comprises a fixing seat and a height adjustment assembly, the inner middle end of the fixing seat is provided with a storage groove, and the height adjustment assembly is arranged inside the storage groove At the bottom end, the upper end of the telescopic column is connected with a connecting head, the right end of the connecting head is connected with an angle adjustment assembly, and the upper end of the rotating seat is connected with an injection assembly. Compared with the existing cardiovascular interventional therapy device, the cardiovascular interventional therapy device that is convenient for adjusting the puncture angle can fix the position of the puncture needle of the interventional therapy device through the adjustment of the height adjustment component and the angle adjustment component, so as to facilitate the improvement of the puncture rate. Accuracy, improve the efficiency of surgical puncture, and cover the patient's body through the protective fixing component, which is convenient to improve the fastness and comfort, and improve the fixing effect of the equipment. The storage slot and the fixed protective component can be used together to store the equipment. Improve the portability of the device.
Description
技术领域technical field
本实用新型涉及心血管介入技术领域,具体为一种便于调整穿刺角度的心血管介入治疗器。The utility model relates to the technical field of cardiovascular intervention, in particular to a cardiovascular interventional treatment device which is convenient for adjusting the puncture angle.
背景技术Background technique
心血管介入治疗是一种新型诊断与治疗心血管疾病技术,无需开刀,在影像学方法的引导下,经过穿刺体表血管,借助某些器械,将导管送到病变部位,通过特定的心血管导管操作技术对心血管疾病进行诊断和治疗的方法。Cardiovascular interventional therapy is a new technique for diagnosing and treating cardiovascular diseases. It does not require surgery. Under the guidance of imaging methods, through puncture of blood vessels on the surface of the body, with the help of certain instruments, the catheter is sent to the lesion site, through a specific cardiovascular system. Catheter manipulation techniques for the diagnosis and treatment of cardiovascular disease.
如公开号CN216603007U的专利文件公开了一种心血管介入治疗器,在使用过程中,该装置包括针筒、针管和导丝插管,针管与针筒一端固定,针筒的内部设置有推送机构,针筒靠近针管一端的外侧连接有收集机构;推送机构包括移动块和推杆,移动块远离针管的一侧与推杆固定,移动块和推杆内部均开设有通孔,导丝插管装配于通孔内部;通孔与针管在同一轴线上;移动块的材料为医用橡胶。该实用新型通过多结构的设计配合,使得装置能够通过推送机构方便快捷的对推杆进行输送,通过收集机构的设计使得装置能够在血液流出时,对其进行收集,避免污染工作台,减少感染,给医生的手术工作减少了不必要的不便。For example, the patent document with publication number CN216603007U discloses a cardiovascular interventional therapy device. During use, the device includes a syringe, a needle tube and a guide wire cannula. The needle tube is fixed to one end of the syringe, and a push mechanism is provided inside the syringe. , the outer side of the syringe near the end of the needle tube is connected with a collection mechanism; the push mechanism includes a moving block and a push rod, the side of the moving block away from the needle tube is fixed with the push rod, and there are through holes inside the moving block and the push rod, and the guide wire is inserted Assembled inside the through hole; the through hole and the needle tube are on the same axis; the material of the moving block is medical rubber. The utility model cooperates with multi-structure design, so that the device can conveniently and quickly transport the push rod through the push mechanism, and through the design of the collection mechanism, the device can collect blood when it flows out, avoiding contamination of the workbench and reducing infection , Reduce unnecessary inconvenience to the doctor's operation.
上述中的心血管介入治疗法通过将针管穿入患者的心血管部位对患者进行治疗,在使用时通过医生手动针管推动针头插入患者身体,针头的角度通过医生进行调节控制,这就需要使用穿刺针的医生在操作时不会因手抖产生失误,否则就会对患者造成伤害,针对上述情况,现在提供一种便于调整穿刺角度的心血管介入治疗器。The above-mentioned cardiovascular intervention therapy treats the patient by penetrating the needle tube into the patient's cardiovascular site. When in use, the doctor manually pushes the needle through the needle tube and inserts it into the patient's body. The angle of the needle is adjusted and controlled by the doctor, which requires the use of puncture The doctor who uses the needle will not make mistakes due to hand shaking, otherwise it will cause harm to the patient. In view of the above situation, a cardiovascular interventional therapy device that is easy to adjust the puncture angle is now provided.
实用新型内容Utility model content
本实用新型的目的在于提供一种便于调整穿刺角度的心血管介入治疗器,以解决上述背景技术中提出的问题。The purpose of the present utility model is to provide a cardiovascular interventional therapy device which is convenient for adjusting the puncture angle, so as to solve the problems raised in the above-mentioned background technology.
为实现上述目的,本实用新型提供如下技术方案:一种便于调整穿刺角度的心血管介入治疗器,包括固定座和高度调节组件,所述固定座的内部中端设置有收纳槽,所述高度调节组件设置于收纳槽的内部底端,且高度调节组件包括伸缩柱、连接头和转动座,所述伸缩柱的上端连接有连接头,且连接头的上端连接有转动座,所述连接头的右端连接有角度调节组件,所述转动座的上端连接有注射组件。In order to achieve the above purpose, the utility model provides the following technical solutions: a cardiovascular interventional therapy device for adjusting the puncture angle, including a fixed seat and a height adjustment assembly, the inner middle end of the fixed seat is provided with a storage groove, and the height The adjustment assembly is arranged at the inner bottom of the storage tank, and the height adjustment assembly includes a telescopic column, a connecting head and a rotating seat, the upper end of the telescopic column is connected with a connecting head, and the upper end of the connecting head is connected with a rotating seat, and the connecting head The right end of the rotating seat is connected with an angle adjustment assembly, and the upper end of the rotating seat is connected with an injection assembly.
进一步的,所述角度调节组件包括调节杆和滑动连接块,且调节杆的上端连接有滑动连接块,所述滑动连接块的前端连接有紧固螺钉。Further, the angle adjustment assembly includes an adjustment rod and a sliding connection block, and the upper end of the adjustment rod is connected with a sliding connection block, and the front end of the sliding connection block is connected with a fastening screw.
进一步的,所述注射组件包括针管、推进器和注射头,所述针管的内部设置有推进器,且针管的右端连接有注射头。Further, the injection assembly includes a needle tube, a propeller and an injection head, the inside of the needle tube is provided with a propeller, and the right end of the needle tube is connected to the injection head.
进一步的,所述注射头的右端连接有穿刺组件,且穿刺组件包括连接紧固头和穿刺针,所述连接紧固头的右端连接有穿刺针。Further, a puncture assembly is connected to the right end of the injection head, and the puncture assembly includes a connection fastening head and a puncture needle, and the right end of the connection fastening head is connected to a puncture needle.
进一步的,所述固定座的下端连接有防护固定组件,且防护固定组件包括固定板、吸盘和海绵垫,所述固定板的下端前后两侧均设置有吸盘,且固定板的下端中部设置有海绵垫。Further, the lower end of the fixing seat is connected with a protective fixing assembly, and the protective fixing assembly includes a fixing plate, a suction cup and a sponge pad, suction cups are arranged on the front and rear sides of the lower end of the fixing plate, and the middle part of the lower end of the fixing plate is provided with Sponge mats.
进一步的,所述固定座的上壁前后两端均设置有固定孔,且固定座的上端连接有固定防护组件,所述固定座的前壁开设有调节孔。Further, fixing holes are provided at the front and rear ends of the upper wall of the fixing base, and the upper end of the fixing base is connected with a fixed protection component, and the front wall of the fixing base is provided with adjustment holes.
进一步的,所述固定防护组件包括固定压板、便拆螺钉好缓冲垫,所述固定压板的内部前后两端均连接有便拆螺钉,且固定压板的下端连接有缓冲垫。Further, the fixed protection component includes a fixed pressure plate, removable screws and buffer pads, the front and rear ends of the fixed pressure plate are connected with removable screws, and the lower end of the fixed pressure plate is connected with a buffer pad.
与现有技术相比,本实用新型的有益效果是:通过高度调节组件和角度调节组件的调节,可以对介入治疗器的穿刺针位置进行固定,方便提高穿刺精度,提高手术穿刺效率,通过防护固定组件对患者的身体进行贴覆,便于提高紧固性及舒适性,提高设备的固定效果,通过收纳槽和固定防护组件配合使用,可以对设备进行收纳,提高设备的便携性。Compared with the prior art, the beneficial effect of the utility model is: through the adjustment of the height adjustment assembly and the angle adjustment assembly, the position of the puncture needle of the interventional therapy device can be fixed, which facilitates the improvement of puncture accuracy and the efficiency of surgical puncture. The fixing component sticks to the patient's body, which is convenient to improve fastness and comfort, and improves the fixing effect of the equipment. The storage slot and the fixed protection component can be used together to store the equipment and improve the portability of the equipment.
1.本实用新型在使用过程中,是通过伸缩柱将连接头向上抬升,然后在外部的调节孔中插入螺丝刀拧动紧固螺钉,可以方便对滑动连接块进行滑动调节,在调节杆的转动支撑下可以让针管的位置进行角度调节,以此高度及角度的调节可以在使用过程中对介入治疗器的穿刺针位置进行固定,方便提高穿刺精度,提高手术穿刺效率。1. During the use of this utility model, the connecting head is lifted up by the telescopic column, and then a screwdriver is inserted into the external adjustment hole to twist the fastening screw, which can facilitate the sliding adjustment of the sliding connection block. Under the support, the position of the needle tube can be adjusted in angle, so that the height and angle adjustment can fix the position of the puncture needle of the interventional therapy device during use, which facilitates the improvement of puncture accuracy and the efficiency of surgical puncture.
2.本实用新型在使用完成后,穿刺针可通过连接紧固头连接直接取下一次性使用,然后伸缩柱回收,让注射组件等整个设备收纳在收纳槽中,此时再将固定压板卡在固定座的上壁内部,通过便拆螺钉拧入固定孔中,由缓冲垫支撑防护,以此设置可以对注射组件等零件进行固定,便于收纳,提高设备的便携性。2. After the utility model is used, the puncture needle can be directly removed by connecting the fastening head for one-time use, and then the retractable column is recovered, so that the entire equipment such as the injection component can be stored in the storage groove, and then the fixed platen It is stuck inside the upper wall of the fixing seat, and screwed into the fixing hole through a removable screw, and is supported and protected by a cushion. This setting can fix injection components and other parts, which is convenient for storage and improves the portability of the equipment.
附图说明Description of drawings
图1为本实用新型一种便于调整穿刺角度的心血管介入治疗器的局部立体结构示意图;Fig. 1 is a partial three-dimensional structure schematic diagram of a cardiovascular interventional therapy device for adjusting the puncture angle of the utility model;
图2为本实用新型一种便于调整穿刺角度的心血管介入治疗器的高度调节组件、角度调节组件和注射组件局部正视结构示意图;Fig. 2 is a partial front view structural diagram of the height adjustment assembly, the angle adjustment assembly and the injection assembly of a cardiovascular interventional therapy device for adjusting the puncture angle of the utility model;
图3为本实用新型一种便于调整穿刺角度的心血管介入治疗器的固定防护组件侧视结构示意图。Fig. 3 is a schematic diagram of a side view structure of a fixed protective component of a cardiovascular interventional therapy device for adjusting the puncture angle of the present invention.
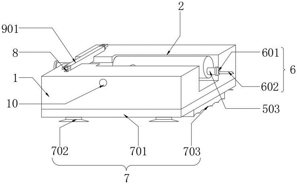
图中:1、固定座;2、收纳槽;3、高度调节组件;301、伸缩柱;302、连接头;303、转动座;4、角度调节组件;401、调节杆;402、滑动连接块;5、注射组件;501、针管;502、推进器;503、注射头;6、穿刺组件;601、连接紧固头;602、穿刺针;7、防护固定组件;701、固定板;702、吸盘;703、海绵垫;8、固定孔;9、固定防护组件;901、固定压板;902、便拆螺钉;903、缓冲垫;10、调节孔;11、紧固螺钉。In the figure: 1. Fixed seat; 2. Storage slot; 3. Height adjustment component; 301. Telescopic column; 302. Connector; 303. Rotating seat; 4. Angle adjustment component; 401. Adjusting rod; 5, injection assembly; 501, needle tube; 502, propeller; 503, injection head; 6, puncture assembly; 601, connection fastening head; 602, puncture needle; 7, protective fixing assembly; Suction cup; 703, sponge pad; 8, fixed hole; 9, fixed protection assembly; 901, fixed pressure plate; 902, just remove screw; 903, buffer pad; 10, adjustment hole;
具体实施方式Detailed ways
如图1和图2所示,一种便于调整穿刺角度的心血管介入治疗器,包括固定座1和高度调节组件3,固定座1的内部中端设置有收纳槽2,高度调节组件3设置于收纳槽2的内部底端,且高度调节组件3包括伸缩柱301、连接头302和转动座303,伸缩柱301的上端连接有连接头302,且连接头302的上端连接有转动座303,连接头302的右端连接有角度调节组件4,转动座303的上端连接有注射组件5,角度调节组件4包括调节杆401和滑动连接块402,且调节杆401的上端连接有滑动连接块402,滑动连接块402的前端连接有紧固螺钉11,注射组件5包括针管501、推进器502和注射头503,针管501的内部设置有推进器502,且针管501的右端连接有注射头503,注射头503的右端连接有穿刺组件6,且穿刺组件6包括连接紧固头601和穿刺针602,连接紧固头601的右端连接有穿刺针602,在使用过程中,是通过伸缩柱301将连接头302向上抬升,然后在外部的调节孔10中插入螺丝刀拧动紧固螺钉11,可以方便对滑动连接块402进行滑动调节,在调节杆401的转动支撑下可以让针管501的位置进行角度调节,以此高度及角度的调节可以在使用过程中对介入治疗器的穿刺针602位置进行固定,方便提高穿刺精度,提高手术穿刺效率。As shown in Figures 1 and 2, a cardiovascular interventional device that is convenient for adjusting the puncture angle includes a fixed
如图1和图3所示,固定座1的下端连接有防护固定组件7,且防护固定组件7包括固定板701、吸盘702和海绵垫703,固定板701的下端前后两侧均设置有吸盘702,且固定板701的下端中部设置有海绵垫703,通过将吸盘702吸附在工作台上进行固定,四周的吸盘702能提高稳定性,然后中间凸出的部位会通过海绵垫703紧贴患者皮肤,不会造成患者的不适,此设置会提高设备固定的稳定性,进而进一步的提高穿刺稳定性,固定座1的上壁前后两端均设置有固定孔8,且固定座1的上端连接有固定防护组件9,固定座1的前壁开设有调节孔10,固定防护组件9包括固定压板901、便拆螺钉902好缓冲垫903,固定压板901的内部前后两端均连接有便拆螺钉902,且固定压板901的下端连接有缓冲垫903,在使用完成后,穿刺针602可通过连接紧固头601连接直接取下一次性使用,然后伸缩柱301回收,让注射组件5等整个设备收纳在收纳槽2中,此时再将固定压板901卡在固定座1的上壁内部,通过便拆螺钉902拧入固定孔8中,由缓冲垫903支撑防护,以此设置可以对注射组件5等零件进行固定,便于收纳,提高设备的便携性。As shown in Figures 1 and 3, the lower end of the
综上,在使用该便于调整穿刺角度的心血管介入治疗器时,首先将吸盘702吸附在工作台上进行固定,四周的吸盘702能提高稳定性,然后中间凸出的部位会通过海绵垫703紧贴患者皮肤,不会造成患者的不适,提高设备固定的稳定性,提高穿刺稳定性,穿刺过程中,是通过伸缩柱301将连接头302向上抬升,然后在外部的调节孔10中插入螺丝刀拧动紧固螺钉11,可以方便对滑动连接块402进行滑动调节,在调节杆401的转动支撑下可以让针管501的位置进行角度调节,以此高度及角度的调节可以在使用过程中对介入治疗器的穿刺针602位置进行固定,然后推动推进器502进行穿刺治疗,在使用完成后,穿刺针602可通过连接紧固头601连接直接取下一次性使用,然后伸缩柱301回收,让注射组件5等整个设备收纳在收纳槽2中,此时再将固定压板901卡在固定座1的上壁内部,通过便拆螺钉902拧入固定孔8中,由缓冲垫903支撑防护,以此设置可以对注射组件5等零件进行固定收纳,便于存放携带,这就是该便于调整穿刺角度的心血管介入治疗器的工作原理。To sum up, when using the cardiovascular interventional device that is easy to adjust the puncture angle, firstly, the
Claims (7)
Priority Applications (1)
| Application Number | Priority Date | Filing Date | Title |
|---|---|---|---|
| CN202320247314.6U CN219306879U (en) | 2023-02-18 | 2023-02-18 | A Cardiovascular Interventional Therapy Device Convenient for Adjusting Puncture Angle |
Applications Claiming Priority (1)
| Application Number | Priority Date | Filing Date | Title |
|---|---|---|---|
| CN202320247314.6U CN219306879U (en) | 2023-02-18 | 2023-02-18 | A Cardiovascular Interventional Therapy Device Convenient for Adjusting Puncture Angle |
Publications (1)
| Publication Number | Publication Date |
|---|---|
| CN219306879U true CN219306879U (en) | 2023-07-07 |
Family
ID=87005067
Family Applications (1)
| Application Number | Title | Priority Date | Filing Date |
|---|---|---|---|
| CN202320247314.6U Expired - Fee Related CN219306879U (en) | 2023-02-18 | 2023-02-18 | A Cardiovascular Interventional Therapy Device Convenient for Adjusting Puncture Angle |
Country Status (1)
| Country | Link |
|---|---|
| CN (1) | CN219306879U (en) |
Cited By (1)
| Publication number | Priority date | Publication date | Assignee | Title |
|---|---|---|---|---|
| CN118021516A (en) * | 2024-02-29 | 2024-05-14 | 中国科学院自动化研究所 | Medicine injection device for automatic puncture of blood vessel |
-
2023
- 2023-02-18 CN CN202320247314.6U patent/CN219306879U/en not_active Expired - Fee Related
Cited By (1)
| Publication number | Priority date | Publication date | Assignee | Title |
|---|---|---|---|---|
| CN118021516A (en) * | 2024-02-29 | 2024-05-14 | 中国科学院自动化研究所 | Medicine injection device for automatic puncture of blood vessel |
Similar Documents
| Publication | Publication Date | Title |
|---|---|---|
| CN219306879U (en) | A Cardiovascular Interventional Therapy Device Convenient for Adjusting Puncture Angle | |
| CN111643164B (en) | A Mongolian medical bloodletting device | |
| CN215424970U (en) | Ultrasonic interventional puncture guide and ultrasonic diagnostic device | |
| CN211023008U (en) | Puncture fixing device | |
| CN204814101U (en) | Multi -functional B ultrasonic kidney puncture instrument | |
| CN214909741U (en) | Mammary gland three-way perfusion treatment vehicle | |
| CN216167752U (en) | Clinical cerebral hemorrhage puncture drainage device with adjustable suction angle | |
| CN211023765U (en) | Epidural anesthesia nursing instrument box | |
| CN212940370U (en) | A multifunctional midline catheter holder | |
| CN213759248U (en) | Thyroid surgery neck adjusting and fixing device | |
| CN110584753B (en) | Anesthesia device that painful branch of academic or vocational study was used | |
| CN207734325U (en) | A kind of thoracentesis chair | |
| CN221308855U (en) | Ultrasonic probe with needle | |
| CN219516458U (en) | Puncture outfit | |
| CN220778646U (en) | Novel puncture operation panel | |
| CN213697932U (en) | Traditional Chinese medicine acupuncture needle | |
| CN216317538U (en) | Supporting device for clinical ophthalmoscope of ophthalmology | |
| CN218833118U (en) | Operation frame convenient to it is fixed | |
| CN213249301U (en) | Sampler for medical oncology | |
| CN221060809U (en) | A tumor extracorporeal positioning puncture device | |
| CN210408922U (en) | Operating bed support for ultrasonic interventional puncture | |
| CN220001944U (en) | Puncture support | |
| CN211188027U (en) | Ultrasound-guided percutaneous thyroid tumor thermal ablation operating bed | |
| CN204563174U (en) | Convenient injection assistor | |
| CN221618182U (en) | Medical treatment is abandoned sharp ware and is accomodate subassembly |
Legal Events
| Date | Code | Title | Description |
|---|---|---|---|
| GR01 | Patent grant | ||
| GR01 | Patent grant | ||
| CF01 | Termination of patent right due to non-payment of annual fee | ||
| CF01 | Termination of patent right due to non-payment of annual fee |
Granted publication date: 20230707 |
