CN219306303U - Auxiliary hanging rack for teaching aid - Google Patents
Auxiliary hanging rack for teaching aid Download PDFInfo
- Publication number
- CN219306303U CN219306303U CN202223517456.4U CN202223517456U CN219306303U CN 219306303 U CN219306303 U CN 219306303U CN 202223517456 U CN202223517456 U CN 202223517456U CN 219306303 U CN219306303 U CN 219306303U
- Authority
- CN
- China
- Prior art keywords
- fixedly connected
- block
- frame
- hanger
- support frame
- Prior art date
- Legal status (The legal status is an assumption and is not a legal conclusion. Google has not performed a legal analysis and makes no representation as to the accuracy of the status listed.)
- Active
Links
- 230000001105 regulatory effect Effects 0.000 claims 4
- 230000001681 protective effect Effects 0.000 abstract description 23
- 238000010586 diagram Methods 0.000 description 4
- 238000009434 installation Methods 0.000 description 2
- 239000000725 suspension Substances 0.000 description 2
- 230000009286 beneficial effect Effects 0.000 description 1
- 238000005516 engineering process Methods 0.000 description 1
- 238000000034 method Methods 0.000 description 1
- 238000012986 modification Methods 0.000 description 1
- 230000004048 modification Effects 0.000 description 1
Images
Landscapes
- Load-Engaging Elements For Cranes (AREA)
Abstract
本实用新型公开了教具辅助挂架,包括底座,所述底座的顶部固定连接有支撑架,所述支撑架的顶部固定连接有防护板,所述防护板的顶壁上安装有灯条,所述支撑架的内腔设置有丝杆,所述丝杆的顶端穿过支撑架和防护板连接有转动把,所述丝杆上连接有升降块,所述升降块的前侧固定连接有挂架,所述挂架的两端滑动连接在防护板的内侧,所述挂架的内腔设置有调节块,所述调节块的后侧固定连接有滑动架,所述调节块的前侧固定连接有连接架,所述连接架上连接有螺纹杆,所述螺纹杆的一端连接有限位板,通过设有丝杆和升降块,在放置教具时通过丝杆带动升降块升降,能够调节挂架的高度,便于教具的放置和取用,方便操作。
The utility model discloses an auxiliary hanger for teaching aids. The inner cavity of the support frame is provided with a screw rod, the top of the screw rod passes through the support frame and the protective plate and is connected with a rotating handle, the screw rod is connected with a lifting block, and the front side of the lifting block is fixedly connected with a hanging frame, the two ends of the hanger are slidably connected to the inner side of the protective plate, the inner cavity of the hanger is provided with an adjustment block, the rear side of the adjustment block is fixedly connected with a sliding frame, and the front side of the adjustment block is fixed A connecting frame is connected, and a threaded rod is connected to the connecting frame, and one end of the threaded rod is connected to a limit plate. By setting a screw rod and a lifting block, when placing the teaching aid, the lifting block is driven up and down by the screw rod, and the hanging block can be adjusted. The height of the shelf is convenient for the placement and access of teaching aids, and it is convenient for operation.
Description
技术领域technical field
本实用新型涉及教学技术领域,具体来说,涉及教具辅助挂架。The utility model relates to the technical field of teaching, in particular to an auxiliary hanger for teaching aids.
背景技术Background technique
教具一般指的是用来讲解说明某事物的模型、实物、标本、仪器、图表、幻灯等,包括教学设备、教学仪器、实训设备、教育装备、实验设备、教学标本、教学模型等。Teaching aids generally refer to models, real objects, specimens, instruments, charts, slides, etc. used to explain something, including teaching equipment, teaching instruments, training equipment, educational equipment, experimental equipment, teaching specimens, teaching models, etc.
现有技术中,中国专利申请号为202121217513.X的一种用于数学教学用教具尺悬吊挂架,包括安装在地面上的支撑座和支撑架,所述支撑座的上表面与支撑架的下表面固定连接,使支撑座与支撑架能够组装为一体,所述支撑架的上表面固定连接有桌架,所述桌架上表面的左右两侧均开设有安装槽,所述安装槽与工具盒通过安装块活动插接,该用于数学教学用教具尺悬吊挂架,通过挂架组件与挂钩配合使用,使用时,可转动挂钩将教具尺挂在挂钩上,从而实现多组教具尺的悬挂放置,从而便于教师对教具进行取放,并且挂架组件能够通过转杆座进行转动,从而使得格栅的正面和背面均可悬吊教具,进一步提高此装置的实用性,进而更便于教师进行使用,但是其在对教具尺进行悬挂时不能够对其之间的距离调节,在挂起时容易导致教具尺发生碰撞,且不便于与教具的取用。In the prior art, the Chinese patent application number is 202121217513.X, which is a kind of teaching aid ruler suspension hanger for mathematics teaching, including a support seat and a support frame installed on the ground, and the upper surface of the support seat and the support frame The lower surface of the support frame is fixedly connected so that the support seat and the support frame can be assembled into one body. The upper surface of the support frame is fixedly connected with a table frame, and the left and right sides of the upper surface of the table frame are provided with installation grooves. It is plugged in with the tool box through the installation block. This is used for the suspension of the teaching aid ruler for mathematics teaching. It is used in conjunction with the hook through the hanger component. When in use, the hook can be turned to hang the teaching aid ruler on the hook, so as to realize multiple groups The hanging placement of the teaching aid ruler is convenient for teachers to take and place the teaching aids, and the hanger assembly can be rotated through the rotating rod seat, so that the teaching aids can be suspended on the front and back of the grid, further improving the practicability of the device, and further It is more convenient for teachers to use, but the distance between them cannot be adjusted when the teaching aid ruler is suspended, and it is easy to cause the teaching aid ruler to collide when hanging, and it is inconvenient to take with the teaching aid.
针对相关技术中的问题,目前尚未提出有效的解决方案。Aiming at the problems in the related technologies, no effective solution has been proposed yet.
实用新型内容Utility model content
针对相关技术中的问题,本实用新型提出教具辅助挂架,以克服现有相关技术所存在的上述技术问题。Aiming at the problems in the related art, the utility model proposes an auxiliary hanger for teaching aids to overcome the above-mentioned technical problems in the existing related art.
为此,本实用新型采用的具体技术方案如下:For this reason, the concrete technical scheme that the utility model adopts is as follows:
教具辅助挂架,包括底座,所述底座的顶部固定连接有支撑架,所述支撑架的顶部固定连接有防护板,所述防护板的顶壁上安装有灯条,所述支撑架的内腔设置有丝杆,所述丝杆的顶端穿过支撑架和防护板连接有转动把,所述丝杆上连接有升降块,所述升降块的前侧固定连接有挂架,所述挂架的两端滑动连接在防护板的内侧,所述挂架的内腔设置有调节块,所述调节块的后侧固定连接有滑动架,所述调节块的前侧固定连接有连接架,所述连接架上连接有螺纹杆,所述螺纹杆的一端连接有限位板,所述调节块的底部固定连接有连接板,所述连接板的底部固定连接有挂钩。The teaching aid auxiliary hanger includes a base, the top of the base is fixedly connected with a support frame, the top of the support frame is fixedly connected with a protective plate, and a light bar is installed on the top wall of the protective plate. The cavity is provided with a screw rod, the top of the screw rod passes through the support frame and the protective plate and is connected with a rotating handle, the lifting block is connected to the screw rod, the front side of the lifting block is fixedly connected with a hanger, and the hanger The two ends of the frame are slidably connected to the inner side of the protective plate, the inner cavity of the hanger is provided with an adjustment block, the rear side of the adjustment block is fixedly connected with a sliding frame, and the front side of the adjustment block is fixedly connected with a connecting frame, The connecting frame is connected with a threaded rod, one end of the threaded rod is connected with a limiting plate, the bottom of the adjustment block is fixedly connected with a connecting plate, and the bottom of the connecting plate is fixedly connected with a hook.
作为优选,所述支撑架的前侧设置有凹槽,所述升降块穿过凹槽与挂架固定连接。Preferably, a groove is provided on the front side of the support frame, and the lifting block is fixedly connected with the hanger through the groove.
作为优选,所述挂架的两端固定连接有滑块,所述防护板的内侧设置有对应的滑槽。Preferably, sliders are fixedly connected to both ends of the hanger, and corresponding slide grooves are provided on the inner side of the protective plate.
作为优选,所述滑动架的两端设置有滑轮,所述调节块通过滑动架和滑轮滑动连接在挂架的内腔。Preferably, pulleys are provided at both ends of the sliding frame, and the adjustment block is slidably connected to the inner cavity of the hanger through the sliding frame and the pulleys.
作为优选,所述螺纹杆通过活动卡块与限位板连接,所述限位板设置在连接架之间。Preferably, the threaded rod is connected to the limiting plate through a movable block, and the limiting plate is arranged between the connecting frames.
作为优选,所述挂架的前侧开设有与连接架对应的通孔,所述限位板的长度长于通孔的宽度,且所述限位板的一侧设置有橡胶垫。Preferably, a through hole corresponding to the connecting frame is opened on the front side of the hanger, the length of the limiting plate is longer than the width of the through hole, and a rubber pad is provided on one side of the limiting plate.
本实用新型的有益效果为:The beneficial effects of the utility model are:
1、通过设有丝杆和升降块,在放置教具时通过丝杆带动升降块升降,能够调节挂架的高度,便于教具的放置和取用,方便操作;1. With the screw rod and the lifting block, the lifting block is driven up and down by the screw rod when the teaching aid is placed, and the height of the hanger can be adjusted, which is convenient for the placement and access of the teaching aid, and convenient operation;
2、通过设有调节块和滑动架,在使用时通过对调节块进行移动,调节挂钩之间的距离,能够使得各教具之间留有缝隙,对教具进行整齐摆放,方便教具的查找。2. With the adjustment block and the sliding frame, the distance between the hooks can be adjusted by moving the adjustment block during use, so that gaps can be left between the teaching aids, and the teaching aids can be placed neatly to facilitate the search of the teaching aids.
附图说明Description of drawings
为了更清楚地说明本实用新型实施例或现有技术中的技术方案,下面将对实施例中所需要使用的附图作简单地介绍,显而易见地,下面描述中的附图仅仅是本实用新型的一些实施例,对于本领域普通技术人员来讲,在不付出创造性劳动的前提下,还可以根据这些附图获得其他的附图。In order to more clearly illustrate the technical solutions in the embodiments of the present invention or the prior art, the accompanying drawings required in the embodiments will be briefly introduced below. Obviously, the accompanying drawings in the following description are only the present invention. For some embodiments of the present invention, those of ordinary skill in the art can also obtain other drawings based on these drawings on the premise of not paying creative efforts.
图1是根据本实用新型实施例的教具辅助挂架的总结构示意图;Fig. 1 is a schematic diagram of the overall structure of an auxiliary hanger for teaching aids according to an embodiment of the present invention;
图2是根据本实用新型实施例的教具辅助挂架的支撑架内部结构示意图;Fig. 2 is a schematic diagram of the internal structure of the support frame of the teaching aid auxiliary hanger according to the embodiment of the present invention;
图3是根据本实用新型实施例的教具辅助挂架的挂架连接结构图;Fig. 3 is a hanger connection structure diagram of an auxiliary hanger for teaching aids according to an embodiment of the present invention;
图4是根据本实用新型实施例的教具辅助挂架的调节块连接结构图;Fig. 4 is a connection structure diagram of the adjustment block of the teaching aid auxiliary hanger according to the embodiment of the present invention;
图5是根据本实用新型实施例的教具辅助挂架的A处结构放大图。Fig. 5 is an enlarged view of the structure at A of the teaching aid auxiliary hanger according to the embodiment of the present invention.
图中:In the picture:
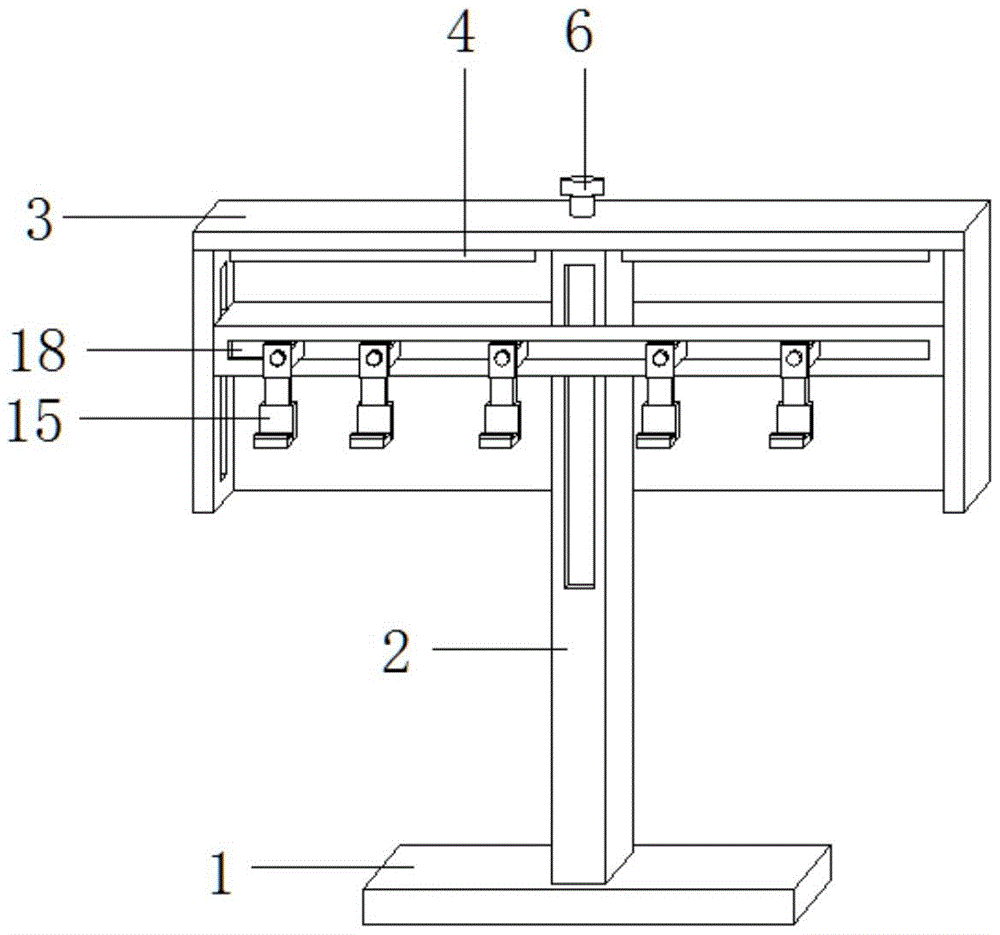
1、底座;2、支撑架;3、防护板;4、灯条;5、丝杆;6、转动把;7、升降块;8、挂架;9、调节块;10、滑动架;11、连接架;12、螺纹杆;13、限位板;14、连接板;15、挂钩;16、滑块;17、滑轮;18、通孔;19、橡胶垫。1. Base; 2. Support frame; 3. Protective plate; 4. Light bar; 5. Screw rod; 6. Rotating handle; 7. Lifting block; 8. Hanger; 1, connecting frame; 12, threaded rod; 13, limiting plate; 14, connecting plate; 15, hook; 16, slider; 17, pulley; 18, through hole; 19, rubber pad.
具体实施方式Detailed ways
为进一步说明各实施例,本实用新型提供有附图,这些附图为本实用新型揭露内容的一部分,其主要用以说明实施例,并可配合说明书的相关描述来解释实施例的运作原理,配合参考这些内容,本领域普通技术人员应能理解其他可能的实施方式以及本实用新型的优点,图中的组件并未按比例绘制,而类似的组件符号通常用来表示类似的组件。In order to further illustrate the various embodiments, the utility model provides accompanying drawings, which are a part of the disclosure content of the utility model, which are mainly used to illustrate the embodiments, and can cooperate with the relevant descriptions in the manual to explain the operating principles of the embodiments. With reference to these contents, those skilled in the art should be able to understand other possible implementations and advantages of the present invention. The components in the figures are not drawn to scale, and similar component symbols are generally used to represent similar components.
根据本实用新型的实施例,提供了教具辅助挂架。According to an embodiment of the present invention, an auxiliary hanger for teaching aids is provided.
实施例一Embodiment one
如图1-5所示,根据本实用新型实施例的教具辅助挂架,包括底座1,所述底座1的顶部固定连接有支撑架2,所述支撑架2的顶部固定连接有防护板3,所述防护板3的顶壁上安装有灯条4,所述支撑架2的内腔设置有丝杆5,所述丝杆5的顶端穿过支撑架2和防护板3连接有转动把6,所述丝杆5上连接有升降块7,所述升降块7的前侧固定连接有挂架8,所述挂架8的两端滑动连接在防护板3的内侧,所述挂架8的内腔设置有调节块9,所述调节块9的后侧固定连接有滑动架10,所述调节块9的前侧固定连接有连接架11,所述连接架11上连接有螺纹杆12,所述螺纹杆12的一端连接有限位板13,所述调节块9的底部固定连接有连接板14,所述连接板14的底部固定连接有挂钩15,所述支撑架2的前侧设置有凹槽,所述升降块7穿过凹槽与挂架8固定连接,所述挂架8的两端固定连接有滑块16,所述防护板3的内侧设置有对应的滑槽,通过转动把6带动丝杆5转动,使得升降块7在丝杆5上升降,带动挂架8在防护板3的内侧进行滑动,调节挂架8的高度。As shown in Figures 1-5, the teaching aid auxiliary hanger according to the embodiment of the present utility model includes a
实施例二Embodiment two
如图1-5所示,根据本实用新型实施例的教具辅助挂架,包括底座1,所述底座1的顶部固定连接有支撑架2,所述支撑架2的顶部固定连接有防护板3,所述防护板3的顶壁上安装有灯条4,所述支撑架2的内腔设置有丝杆5,所述丝杆5的顶端穿过支撑架2和防护板3连接有转动把6,所述丝杆5上连接有升降块7,所述升降块7的前侧固定连接有挂架8,所述挂架8的两端滑动连接在防护板3的内侧,所述挂架8的内腔设置有调节块9,所述调节块9的后侧固定连接有滑动架10,所述调节块9的前侧固定连接有连接架11,所述连接架11上连接有螺纹杆12,所述螺纹杆12的一端连接有限位板13,所述调节块9的底部固定连接有连接板14,所述连接板14的底部固定连接有挂钩15,所述滑动架10的两端设置有滑轮17,所述调节块9通过滑动架10和滑轮17滑动连接在挂架8的内腔,通过对调节块9进行滑动,使得调节块9通过滑动架10和滑轮17在挂架8的内腔滑动,对各调节块16之间的距离进行调节,能够便于对挂钩15的位置进行调节,便于教具尺的摆放。As shown in Figures 1-5, the teaching aid auxiliary hanger according to the embodiment of the present utility model includes a
实施例三Embodiment Three
如图1-5所示,根据本实用新型实施例的教具辅助挂架,包括底座1,所述底座1的顶部固定连接有支撑架2,所述支撑架2的顶部固定连接有防护板3,所述防护板3的顶壁上安装有灯条4,所述支撑架2的内腔设置有丝杆5,所述丝杆5的顶端穿过支撑架2和防护板3连接有转动把6,所述丝杆5上连接有升降块7,所述升降块7的前侧固定连接有挂架8,所述挂架8的两端滑动连接在防护板3的内侧,所述挂架8的内腔设置有调节块9,所述调节块9的后侧固定连接有滑动架10,所述调节块9的前侧固定连接有连接架11,所述连接架11上连接有螺纹杆12,所述螺纹杆12的一端连接有限位板13,所述调节块9的底部固定连接有连接板14,所述连接板14的底部固定连接有挂钩15,所述螺纹杆12通过活动卡块与限位板13连接,所述限位板13设置在连接架11之间,所述挂架8的前侧开设有与连接架11对应的通孔18,所述限位板13的长度长于通孔18的宽度,且所述限位板13的一侧设置有橡胶垫19,在调节好位置后通过螺纹杆12带动限位板13进行移动,使得限位板13与挂架8的前侧贴合,使得限位板13与调节块9将挂架8的前侧边夹紧,实现对调节块9的限位。As shown in Figures 1-5, the teaching aid auxiliary hanger according to the embodiment of the present utility model includes a
综上,借助于本实用新型的上述技术方案,此装置在使用时,通过转动把6带动丝杆5转动,使得升降块7在丝杆5上升降,带动挂架8在防护板3的内侧进行滑动,调节挂架8的高度,在对教具尺进行挂起时,通过对调节块9进行滑动,使得调节块9通过滑动架10和滑轮17在挂架8的内腔滑动,对各调节块16之间的距离进行调节,在调节好位置后通过螺纹杆12带动限位板13进行移动,使得限位板13与挂架8的前侧贴合,使得限位板13与调节块9将挂架8的前侧边夹紧,实现对调节块9的限位,在调节完毕后将教具尺挂在挂钩15上即可,方便调节,便于教具尺的摆放。To sum up, with the help of the above-mentioned technical solution of the present utility model, when the device is in use, the screw rod 5 is rotated by turning the
以上所述仅为本实用新型的较佳实施例而已,并不用以限制本实用新型,凡在本实用新型的精神和原则之内,所作的任何修改、等同替换、改进等,均应包含在本实用新型的保护范围之内。The above descriptions are only preferred embodiments of the present utility model, and are not intended to limit the present utility model. Any modifications, equivalent replacements, improvements, etc. made within the spirit and principles of the present utility model shall be included in the Within the protection scope of the present utility model.
Claims (6)
Priority Applications (1)
| Application Number | Priority Date | Filing Date | Title |
|---|---|---|---|
| CN202223517456.4U CN219306303U (en) | 2022-12-28 | 2022-12-28 | Auxiliary hanging rack for teaching aid |
Applications Claiming Priority (1)
| Application Number | Priority Date | Filing Date | Title |
|---|---|---|---|
| CN202223517456.4U CN219306303U (en) | 2022-12-28 | 2022-12-28 | Auxiliary hanging rack for teaching aid |
Publications (1)
| Publication Number | Publication Date |
|---|---|
| CN219306303U true CN219306303U (en) | 2023-07-07 |
Family
ID=87032438
Family Applications (1)
| Application Number | Title | Priority Date | Filing Date |
|---|---|---|---|
| CN202223517456.4U Active CN219306303U (en) | 2022-12-28 | 2022-12-28 | Auxiliary hanging rack for teaching aid |
Country Status (1)
| Country | Link |
|---|---|
| CN (1) | CN219306303U (en) |
-
2022
- 2022-12-28 CN CN202223517456.4U patent/CN219306303U/en active Active
Similar Documents
| Publication | Publication Date | Title |
|---|---|---|
| CN107144105A (en) | A kind of lamp shade of ceiling lamp is made of apparatus for drying after raw material silk-screen | |
| CN219306303U (en) | Auxiliary hanging rack for teaching aid | |
| CN207502332U (en) | A kind of display screen component processing shell rigidity detection device | |
| CN206740038U (en) | A kind of pcb board thickness measurement equipment | |
| CN207204158U (en) | Experiment of College Physics platform | |
| CN211269198U (en) | A fixed pulley type liftable drawing table | |
| CN211021471U (en) | A drawing board for interior design teaching that is convenient for multi-angle display | |
| CN107647646A (en) | A kind of adjustable rack for placing office supplies | |
| CN112735248A (en) | Model display device | |
| CN105619626A (en) | Cutting adjusting mechanism for simple ceramic cutting device | |
| CN205513467U (en) | Wall map display device is used in power equipment training | |
| CN212015050U (en) | An environmental design drawing display stand | |
| CN207465733U (en) | Die change auxiliary device | |
| CN219946164U (en) | Power-assisted mechanical arm | |
| CN211242537U (en) | Modern education technology display platform | |
| CN216438910U (en) | An adjustable art work suspension device | |
| CN220661516U (en) | Calendering equipment for the production of silicone rubber foam boards | |
| CN216340623U (en) | A wood veneer panel hanging device | |
| CN218390344U (en) | Multi-functional examination picture display device | |
| CN220402049U (en) | Punching positioning device for flexible circuit board processing | |
| CN206864030U (en) | The sand table support meanss that Teaching of Economics uses | |
| CN223041246U (en) | Adjustable oil painting frame | |
| CN217721625U (en) | Universal and efficient depaneling fixture for depaneling equipment | |
| CN211511299U (en) | Suspension device for artistic picture frame | |
| CN214332136U (en) | A placement bracket for foreign language learning machine |
Legal Events
| Date | Code | Title | Description |
|---|---|---|---|
| GR01 | Patent grant | ||
| GR01 | Patent grant | ||
| TR01 | Transfer of patent right |
Effective date of registration: 20240606 Address after: 223229 Industrial Park, Shihe Town, Huai'an District, Huai'an City, Jiangsu Province Patentee after: Huaian Qianyu Teaching Supplies Co.,Ltd. Country or region after: China Address before: 223003 No.4, Meicheng Road, higher education park, Huai'an City, Jiangsu Province Patentee before: JIANGSU FOOD & PHARMACEUTICAL SCIENCE COLLEGE Country or region before: China |
|
| TR01 | Transfer of patent right |
