CN219195418U - washing machine - Google Patents
washing machine Download PDFInfo
- Publication number
- CN219195418U CN219195418U CN202223498792.9U CN202223498792U CN219195418U CN 219195418 U CN219195418 U CN 219195418U CN 202223498792 U CN202223498792 U CN 202223498792U CN 219195418 U CN219195418 U CN 219195418U
- Authority
- CN
- China
- Prior art keywords
- pipe
- water inlet
- washing machine
- washing
- drain
- Prior art date
- Legal status (The legal status is an assumption and is not a legal conclusion. Google has not performed a legal analysis and makes no representation as to the accuracy of the status listed.)
- Active
Links
Images
Classifications
-
- Y—GENERAL TAGGING OF NEW TECHNOLOGICAL DEVELOPMENTS; GENERAL TAGGING OF CROSS-SECTIONAL TECHNOLOGIES SPANNING OVER SEVERAL SECTIONS OF THE IPC; TECHNICAL SUBJECTS COVERED BY FORMER USPC CROSS-REFERENCE ART COLLECTIONS [XRACs] AND DIGESTS
- Y02—TECHNOLOGIES OR APPLICATIONS FOR MITIGATION OR ADAPTATION AGAINST CLIMATE CHANGE
- Y02B—CLIMATE CHANGE MITIGATION TECHNOLOGIES RELATED TO BUILDINGS, e.g. HOUSING, HOUSE APPLIANCES OR RELATED END-USER APPLICATIONS
- Y02B40/00—Technologies aiming at improving the efficiency of home appliances, e.g. induction cooking or efficient technologies for refrigerators, freezers or dish washers
Landscapes
- Detail Structures Of Washing Machines And Dryers (AREA)
Abstract
本申请属于家用电器技术领域,具体涉及一种洗衣机,包括:机壳、洗衣筒、进水管、排水管和进排水两用管;洗衣筒可转动的设置在机壳内,洗衣筒包括底壁和侧壁,底壁上穿设有转轴,转轴内设有连通洗衣筒的横管;进水管的第一端连通机壳的外部,进水管的第二端连通横管,进水管上设有进水阀门;排水管的第一端连通机壳的外部,排水管的第二端连通横管,排水管上设有排水泵;进排水两用管设置在洗衣筒内,进排水两用管的第一端与横管相连通,进排水两用管的第二端形成有开口,进排水两用管的第二端与侧壁之间形成有间隙。本申请能够保障洗衣机的正常排水。
The application belongs to the technical field of household electrical appliances, and specifically relates to a washing machine, including: a casing, a washing tub, a water inlet pipe, a drain pipe, and a dual-purpose pipe for inlet and drainage; the washing tub is rotatably arranged in the casing, and the washing tub includes a bottom wall and the side wall, the bottom wall is pierced with a rotating shaft, and a horizontal pipe connected to the washing tub is arranged inside the rotating shaft; the first end of the water inlet pipe is connected to the outside of the casing, the second end of the water inlet pipe is connected to the horizontal pipe, and the water inlet pipe is provided with Water inlet valve; the first end of the drain pipe is connected to the outside of the casing, the second end of the drain pipe is connected to the horizontal pipe, and a drain pump is arranged on the drain pipe; the dual-purpose pipe for inlet and outlet is arranged in the washing tub, and the dual-purpose pipe for inlet and outlet The first end of the pipe is connected with the horizontal pipe, the second end of the dual-purpose pipe for inlet and outlet is formed with an opening, and a gap is formed between the second end of the dual-purpose pipe for inlet and outlet and the side wall. The application can guarantee the normal drainage of the washing machine.
Description
技术领域technical field
本申请属于家用电器技术领域,具体涉及一种洗衣机。The application belongs to the technical field of household appliances, and in particular relates to a washing machine.
背景技术Background technique
洗衣机是一种利用电能转化为机械能以清洗衣物的设备,为人们的日常生活提供了很多便利。目前的洗衣机通常包括内筒和外筒,外筒的基本作用是在浸泡、洗涤、漂洗等用水程序中存储适量的水,内筒是与衣物直接接触的容器,主要为完成洗涤、漂洗和甩干等程序。但是,现有洗衣机在使用一段时间后会在内筒和外筒之间残留污渍,残留在内筒和外筒之间的污渍不易清除;并且现有洗衣机只有内筒能够盛放衣物,洗涤容量较小。A washing machine is a device that converts electrical energy into mechanical energy to clean clothes, which provides a lot of convenience for people's daily life. The current washing machine usually includes an inner cylinder and an outer cylinder. The basic function of the outer cylinder is to store an appropriate amount of water in water procedures such as soaking, washing, and rinsing. The inner cylinder is a container that is in direct contact with the clothes. Wait for the program. However, the existing washing machine will retain stains between the inner cylinder and the outer cylinder after being used for a period of time, and the stains remaining between the inner cylinder and the outer cylinder are not easy to remove; and only the inner cylinder of the existing washing machine can hold clothes, and the washing capacity smaller.
为了解决上述问题,相关技术中提出了一种无外筒洗衣机,该洗衣机内只设有一个洗衣筒,洗衣筒的侧壁采用无孔设计,洗衣筒内同时盛放水和衣物。由于取消了外筒和内筒的设置方式,因此不会在内筒和外筒间存在污渍;并且在相同体积下,该洗衣机能够具有较大的洗涤容量。In order to solve the above-mentioned problems, a washing machine without an outer tub is proposed in the related art, in which there is only one washing tub, the side wall of the washing tub is non-porous, and water and clothes are held in the washing tub at the same time. Since the arrangement of the outer cylinder and the inner cylinder is canceled, there will be no stains between the inner cylinder and the outer cylinder; and under the same volume, the washing machine can have a larger washing capacity.
但是,采用上述相关技术的方案,洗衣机在排水时,排水管内由于存在空气而导致排水较为困难。However, by adopting the solution of the above-mentioned related art, when the washing machine is draining, it is relatively difficult to drain due to the presence of air in the drain pipe.
实用新型内容Utility model content
为了解决相关技术中的上述问题,即为了解决相关技术中的洗衣机排水困难的问题,本申请提供了一种洗衣机。In order to solve the above-mentioned problems in the related art, that is, in order to solve the problem of difficult drainage of the washing machine in the related art, the present application provides a washing machine.
本申请一实施例提供了一种洗衣机,包括:An embodiment of the present application provides a washing machine, including:
机壳;chassis;
洗衣筒,所述洗衣筒可转动的设置在所述机壳内,所述洗衣筒包括底壁和侧壁,所述底壁上设有转轴,所述转轴内设有连通所述洗衣筒的横管;A washing tub, the washing tub is rotatably arranged in the casing, the washing tub includes a bottom wall and a side wall, the bottom wall is provided with a rotating shaft, and a shaft communicating with the washing tub is provided in the rotating shaft Horizontal tube;
进水管,所述进水管的第一端连通所述机壳的外部,所述进水管的第二端连通所述横管,所述进水管上设有进水阀门;A water inlet pipe, the first end of the water inlet pipe communicates with the outside of the casing, the second end of the water inlet pipe communicates with the horizontal pipe, and the water inlet pipe is provided with a water inlet valve;
排水管,所述排水管的第一端连通所述机壳的外部,所述排水管的第二端连通所述横管,所述排水管上设有排水泵;Drain pipe, the first end of the drain pipe communicates with the outside of the casing, the second end of the drain pipe communicates with the horizontal pipe, and the drain pipe is provided with a drain pump;
进排水两用管,所述进排水两用管设置在所述洗衣筒内,所述进排水两用管的第一端与所述横管相连通,所述进排水两用管的第二端形成有开口,所述进排水两用管的第二端与所述侧壁之间形成有间隙。A dual-purpose pipe for inlet and outlet, the dual-purpose pipe for inlet and outlet is arranged in the washing tub, the first end of the dual-purpose pipe for inlet and outlet communicates with the horizontal pipe, and the second end of the dual-purpose pipe for inlet and outlet An opening is formed at the end, and a gap is formed between the second end of the inlet and outlet pipe and the side wall.
如上所述的洗衣机,可选地,所述进水管、排水管和横管通过旋转三通相连接,所述旋转三通包括固定部和转动部,所述转动部与所述转轴固定连接;所述固定部上设有第一接口和第二接口,所述第一接口与所述进水管相连接,所述第二接口与所述排水管相连接,所述转动部上设有第三接口,所述第三接口与所述第一接口和第二接口均连通,所述第三接口与所述横管相连接。In the above washing machine, optionally, the water inlet pipe, the drain pipe and the horizontal pipe are connected through a rotating tee, the rotating tee includes a fixed part and a rotating part, and the rotating part is fixedly connected to the rotating shaft; The fixed part is provided with a first interface and a second interface, the first interface is connected with the water inlet pipe, the second interface is connected with the drain pipe, and the rotating part is provided with a third interface, the third interface communicates with both the first interface and the second interface, and the third interface is connected with the horizontal pipe.
如上所述的洗衣机,可选地,所述排水管包括第一排水管和第二排水管,所述排水泵设置在所述第一排水管和第二排水管之间,所述第一排水管连通所述横管,所述第二排水管连通所述机壳的外部。In the above washing machine, optionally, the drain pipe includes a first drain pipe and a second drain pipe, the drain pump is arranged between the first drain pipe and the second drain pipe, and the first drain pipe The pipe communicates with the horizontal pipe, and the second drain pipe communicates with the outside of the casing.
如上所述的洗衣机,可选地,所述第二排水管包括互相连接的第一段、第二段和第三段,所述第一段与所述排水泵相连接且位于所述机壳内,所述第二段为圆弧段且穿设于所述机壳,所述第三段与所述第一段平行且位于所述机壳外,其中,所述第一段的高度大于所述第一排水管的高度。In the above washing machine, optionally, the second drainage pipe includes a first section, a second section and a third section connected to each other, and the first section is connected to the drainage pump and is located in the casing Inside, the second segment is an arc segment and penetrates the casing, the third segment is parallel to the first segment and is located outside the casing, wherein the height of the first segment is greater than the height of the first drain pipe.
如上所述的洗衣机,可选地,所述洗衣筒内设有多根所述进排水两用管,多根所述进排水两用管沿所述底壁的周向均匀分布。In the above washing machine, optionally, a plurality of dual-purpose pipes for inlet and outlet are provided in the washing tub, and the plurality of dual-purpose pipes for inlet and outlet are evenly distributed along the circumference of the bottom wall.
如上所述的洗衣机,可选地,所述洗衣筒还包括与所述底壁相对设置的筒门,所述筒门铰接连接在所述洗衣筒上。In the above washing machine, optionally, the washing tub further includes a tub door disposed opposite to the bottom wall, and the tub door is hingedly connected to the washing tub.
如上所述的洗衣机,可选地,自所述筒门向所述底壁的方向,所述洗衣筒的截面面积逐渐增大。In the washing machine described above, optionally, the cross-sectional area of the washing tub gradually increases from the tub door toward the bottom wall.
如上所述的洗衣机,可选地,所述进水阀门为电磁阀。As for the above washing machine, optionally, the water inlet valve is a solenoid valve.
如上所述的洗衣机,可选地,还包括支架,所述支架与所述机壳之间设有减震装置,所述洗衣筒可转动的设置在所述支架内。The above-mentioned washing machine, optionally, further includes a bracket, a shock absorbing device is provided between the bracket and the casing, and the washing tub is rotatably arranged in the bracket.
如上所述的洗衣机,可选地,所述机壳上设有与所述筒门相对应的机门,所述机门可相对于所述机壳打开或关闭。As for the above washing machine, optionally, the casing is provided with a door corresponding to the drum door, and the door can be opened or closed relative to the casing.
本领域技术人员能够理解的是,本申请实施例提供一种洗衣机,包括:机壳、洗衣筒、进水管、排水管和进排水两用管;洗衣筒可转动的设置在机壳内,洗衣筒包括底壁和侧壁,底壁上设有转轴,转轴内设有连通洗衣筒的横管;进水管的第一端连通机壳的外部,进水管的第二端连通横管,进水管上设有进水阀门;排水管的第一端连通机壳的外部,排水管的第二端连通横管,排水管上设有排水泵;进排水两用管设置在洗衣筒内,进排水两用管的第一端与横管相连通,进排水两用管的第二端形成有开口,进排水两用管的第二端与侧壁之间形成有间隙。通过上述设置,当洗衣机需要排水时,可以先转动洗衣筒,然后打开进水阀门,使自来水经过进水管、横管和进排水两用管进入洗衣筒内,从而利用自来水将横管和进排水两用管内的空气排出;然后,继续保持洗衣筒转动,打开排水泵即可进行排水。Those skilled in the art can understand that the embodiment of the present application provides a washing machine, including: a casing, a washing tub, a water inlet pipe, a drain pipe, and a dual-purpose pipe for inlet and outlet; the washing tub is rotatably arranged in the casing, and the laundry The barrel includes a bottom wall and a side wall, and a rotating shaft is arranged on the bottom wall, and a horizontal pipe connected to the washing tub is arranged inside the rotating shaft; the first end of the water inlet pipe is connected to the outside of the casing, the second end of the water inlet pipe is connected to the horizontal pipe, and the water inlet pipe There is a water inlet valve on the top; the first end of the drain pipe is connected to the outside of the casing, the second end of the drain pipe is connected to the horizontal pipe, and a drain pump is arranged on the drain pipe; the dual-purpose pipe for inlet and outlet is arranged in the washing tub, The first end of the dual-purpose pipe communicates with the horizontal pipe, the second end of the dual-purpose pipe for inlet and outlet is formed with an opening, and a gap is formed between the second end of the dual-purpose pipe for inlet and outlet and the side wall. Through the above settings, when the washing machine needs to drain water, you can turn the washing tub first, and then open the water inlet valve, so that the tap water enters the washing tub through the water inlet pipe, the horizontal pipe and the dual-purpose pipe for inlet and outlet, so that the horizontal pipe and the inlet and outlet pipes can be drained by tap water. The air in the dual-purpose pipe is discharged; then, continue to keep the washing tub rotating, and turn on the drain pump to drain water.
附图说明Description of drawings
为了更清楚地说明本申请实施例或现有技术中的技术方案,下面将对实施例或现有技术描述中所需要使用的附图做一简单地介绍,显而易见地,下面描述中的附图是本申请的一些实施例,对于本领域普通技术人员来讲,在不付出创造性劳动性的前提下,还可以根据这些附图获得其他的附图。In order to more clearly illustrate the technical solutions in the embodiments of the present application or the prior art, the following will briefly introduce the drawings that need to be used in the description of the embodiments or the prior art. Obviously, the accompanying drawings in the following description These are some embodiments of the present application. Those skilled in the art can also obtain other drawings based on these drawings without any creative effort.
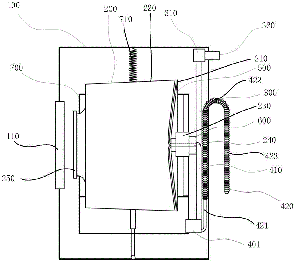
图1是本申请一实施例提供的洗衣机的结构简图。Fig. 1 is a schematic structural diagram of a washing machine provided by an embodiment of the present application.
附图标记:Reference signs:
100-机壳;110-机门;100-casing; 110-door;
200-洗衣筒;210-底壁;220-侧壁;230-转轴;240-横管;250-筒门;200-washing drum; 210-bottom wall; 220-side wall; 230-rotating shaft; 240-horizontal tube; 250-drum door;
300-进水管;310-进水阀门;320-自来水接口;300-water inlet pipe; 310-water inlet valve; 320-tap water interface;
401-排水泵;410-第一排水管;420-第二排水管;421-第一段;422-第二段;423-第三段;401-drainage pump; 410-first drainage pipe; 420-second drainage pipe; 421-first section; 422-second section; 423-third section;
500-进排水两用管;500-Dual-purpose pipe for inlet and outlet;
600-旋转三通;600-swivel tee;
700-支架;710-减震装置。700-support; 710-shock absorbing device.
具体实施方式Detailed ways
相关技术中提出了一种无外筒洗衣机,该洗衣机内只设有一个洗衣筒,洗衣筒的侧壁采用无孔设计,洗衣筒内同时盛放水和衣物。由于取消了外筒和内筒的设置方式,因此不会在内筒和外筒间存在污渍;并且在相同体积下,该洗衣机能够具有较大的洗涤容量。但是,采用上述相关技术的方案,洗衣机在排水时,排水管内由于存在空气而导致排水泵无法抽取洗衣筒内的水,使得排水较为困难。In the related art, a washing machine without an outer tub is proposed, in which there is only one washing tub, the side wall of the washing tub adopts a non-porous design, and water and clothes are held in the washing tub at the same time. Since the arrangement of the outer cylinder and the inner cylinder is canceled, there will be no stains between the inner cylinder and the outer cylinder; and under the same volume, the washing machine can have a larger washing capacity. However, with the solution of the above-mentioned related art, when the washing machine is draining, the drain pump cannot extract the water in the washing tub due to the presence of air in the drain pipe, making drainage more difficult.
有鉴于此,本申请实施例旨在提供一种洗衣机,通过在洗衣筒的底壁上设有转轴,转轴内设有连通洗衣筒的横管;进水管的第一端连通机壳的外部,进水管的第二端连通横管,进水管上设有进水阀门;排水管的第一端连通机壳的外部,排水管的第二端连通横管,排水管上设有排水泵;进排水两用管设置在洗衣筒内,进排水两用管的第一端与横管相连通,进排水两用管的第二端形成有开口,进排水两用管的第二端与侧壁之间形成有间隙。当洗衣机需要排水时,可以先转动洗衣筒,然后打开进水阀门,使自来水经过进水管、横管和进排水两用管进入洗衣筒内,从而利用自来水将横管和进排水两用管内的空气排出;然后,继续保持洗衣筒转动,打开排水泵即可进行排水。In view of this, the embodiment of the present application aims to provide a washing machine. A rotating shaft is provided on the bottom wall of the washing tub, and a horizontal pipe communicating with the washing tub is arranged inside the rotating shaft; the first end of the water inlet pipe is connected to the outside of the casing, The second end of the water inlet pipe is connected to the horizontal pipe, and a water inlet valve is arranged on the water inlet pipe; the first end of the drain pipe is connected to the outside of the casing, and the second end of the drain pipe is connected to the horizontal pipe, and a drain pump is arranged on the water inlet pipe; The dual-purpose pipe for inlet and outlet is arranged in the washing tub, the first end of the dual-purpose pipe for inlet and outlet is connected with the horizontal pipe, the second end of the dual-purpose pipe for inlet and outlet is formed with an opening, and the second end of the dual-purpose pipe for inlet and outlet is connected to the side wall A gap is formed between them. When the washing machine needs to drain water, you can turn the washing drum first, and then open the water inlet valve, so that tap water enters the washing drum through the water inlet pipe, the horizontal pipe and the dual-purpose pipe for inlet and outlet, so that the water in the horizontal pipe and the dual-purpose pipe for inlet and outlet can be drained by tap water. The air is exhausted; then, continue to keep the drum rotating and turn on the drain pump to drain the water.
为使本申请实施例的目的、技术方案和优点更加清楚,下面将结合本申请实施例中的附图,对本申请实施例中的技术方案进行清楚、完整地描述,显然,所描述的实施例是本申请一部分实施例,而不是全部的实施例。基于本申请中的实施例,本领域普通技术人员在没有作出创造性劳动前提下所获得的所有其他实施例,都属于本申请保护的范围。In order to make the purposes, technical solutions and advantages of the embodiments of the present application clearer, the technical solutions in the embodiments of the present application will be clearly and completely described below in conjunction with the drawings in the embodiments of the present application. Obviously, the described embodiments It is a part of the embodiments of this application, not all of them. Based on the embodiments in this application, all other embodiments obtained by persons of ordinary skill in the art without creative efforts fall within the protection scope of this application.
图1是本申请一实施例提供的洗衣机的结构简图。Fig. 1 is a schematic structural diagram of a washing machine provided by an embodiment of the present application.
请参照图1,本实施例提供了一种洗衣机,包括:Please refer to Fig. 1, the present embodiment provides a washing machine, including:
机壳100,机壳100可以呈棱柱状或圆柱状,具体形状可根据需要进行设置。机壳100可以采用金属制成,例如可以采用不锈钢制成,以提高整机的强度。机壳100内形成有空腔,以便于安装其他零部件。机壳100的表面设有与空腔相连通的机门110,机门110可相对于机壳100打开或关闭,机门110可以采用铰接连接的方式安装在机壳100上,从而便于用户放入或取出衣物。The
洗衣筒200,洗衣筒200可转动的设置在机壳100内,洗衣筒200包括底壁210和侧壁220,底壁210上设有转轴230,转轴230内设有连通洗衣筒200的横管240。在本实施例中,洗衣筒200大体可以呈圆台状,洗衣筒200内部形成有洗涤空间。洗衣筒200的侧壁220采用无孔设计,洗涤水及待洗涤的衣物可以同时放置于洗衣筒200内;也就是说,本实施例中的洗衣筒200能够同时起到相关技术中内筒和外筒的作用,从而不会存在传统洗衣机内筒和外筒之间的污渍;并且在相同体积的机壳100下,本实施例的洗衣机能够具有较大的洗涤容量。Washing
转轴230设置在洗衣筒200的外侧,且与洗衣筒200的底壁210固定连接,机壳100内还可以设有驱动装置,驱动装置例如可以包括驱动电机、皮带传动件和皮带轮,其中皮带传动件的两端分别与驱动电机的输出轴和皮带轮相连接,转轴230与皮带轮固定连接,从而在皮带轮转动时可以随之一起转动,进而驱动与转轴230固定连接的洗衣筒200转动。转轴230内穿设有横管240,横管240连通洗衣筒200的内部,从而便于自来水进入洗衣筒200,或者,便于将洗衣筒200内的洗涤水排出。The
洗衣筒200上还设有与机门110相对应的筒门250,筒门250与洗衣筒200的内部相连通,筒门250可以采用铰接连接的方式安装在洗衣筒200上,在洗涤过程中,筒门250与洗衣筒200密封,从而防止洗涤水洒出。The
可选地,自筒门250向底壁210的方向,本实施例的洗衣筒200的截面面积逐渐增大。也就是说,本实施例的洗衣筒200在靠近底壁210一侧的直径大于靠近筒门250一侧的直径;侧壁220上还可以设有多个引水槽,从而在洗衣筒200转动时,将洗涤水引到底壁210的一侧。Optionally, the cross-sectional area of the
进水管300,进水管300的第一端连通机壳100的外部,进水管300的第二端连通横管240,进水管300上设有进水阀门310;可选地,进水阀门310可以为电磁阀,从而便于控制其开闭。进水管300位于机壳100外的一端形成自来水接口320,可以连通外部自来水,以将自来水引入洗衣筒200内。The
排水管,排水管的第一端连通机壳100的外部,排水管的第二端连通横管240,排水管上设有排水泵401,排水泵401工作时可将洗衣筒200内的水加速抽出。Drain pipe, the first end of the drain pipe communicates with the outside of the
进排水两用管500,进排水两用管500设置在洗衣筒200内,进排水两用管500的第一端与横管240相连通,进排水两用管500的第二端形成有开口,进排水两用管500的第二端与侧壁220之间形成有间隙。The dual-
本实施例在进水时,自来水依次经过进水管300、横管240和进排水两用管500进入洗衣筒200的内部,从而实现洗衣机的进水。In this embodiment, when water is being fed, tap water enters the inside of the
洗衣机在洗涤过程中,由于自身的振动会使保存在进排水两用管500和横管240内的水逐渐泄露到洗衣筒200内,因此若直接排水,则会因为进排水两用管500和横管240内存在较多的空气而使排水泵401无法将洗涤水抽出。During the washing process of the washing machine, due to its own vibration, the water stored in the dual-
本实施例在排水时,可以先转动洗衣筒200,使得洗衣筒200达到一定的转速(例如大于等于60转/分),从而将洗涤水逐渐积聚到靠近底壁210一侧的侧壁220表面,然后打开进水阀门310,使自来水经过进水管300、横管240和进排水两用管500进入洗衣筒内,从而利用自来水将横管240和进排水两用管500内的空气排出,使得洗衣筒200内的洗涤水对进排水两用管500的开口施加一个压力;然后,继续保持洗衣筒转动,关闭进水阀门310停止进水,打开排水泵401即可进行排水。In this embodiment, when draining water, the
在一个可能的实施方式中,本实施例的进水管300、排水管和横管240通过旋转三通600相连接,旋转三通600包括固定部和转动部,转动部与转轴230固定连接,可以随转轴230一起转动。固定部上设有第一接口和第二接口,第一接口与进水管300相连接,第二接口与排水管相连接,转动部上设有第三接口,第三接口与第一接口和第二接口均连通,第三接口与横管240相连接。通过上述设置,在洗衣机进水时,自来水可通过进水管300流入第一接口,然后再流入第三接口进而进入横管240内,最终通过与横管240连接的进排水两用管500流入洗衣筒200的内部。在洗衣机排水时,洗涤水可通过进排水两用管500流入横管240,然后通过第三接口进入第二接口,最终通过与第二接口相连接的排水管排出洗衣机。In a possible implementation manner, the
在一个可能的实施方式中,本实施例的排水管包括第一排水管410和第二排水管420,排水泵401设置在第一排水管410和第二排水管420之间,第一排水管410连通横管240,第二排水管420连通机壳100的外部。In a possible implementation, the drainage pipe in this embodiment includes a
进一步地,第二排水管420包括互相连接的第一段421、第二段422和第三段423,第一段421与排水泵401相连接且位于机壳100内,第二段422为圆弧段且穿设于机壳100,第三段423与第一段421平行且位于机壳100外,结合附图可知,本实施例中第一段421、第二段422和第三段423共同组成一个大体呈“U”型的结构。其中,第一段421的高度大于第一排水管410的高度,这样可以有效的防止洗衣机漏水。Further, the
在一个可能的实施方式中,本实施例的洗衣筒200内设有多根进排水两用管500,多根进排水两用管500沿底壁210的周向均匀分布。例如,洗衣筒200内可以设有三根进排水两用管500,三根进排水两用管500两两间隔120°设置,从而与洗衣筒200外部的三脚架相对应。当然,本领域技术人员清楚的是,还可以在洗衣筒200内设置四根、五根或六根进排水两用管500,具体可根据实际需要确定。本实施例通过设置多根进排水两用管500可以有效的提高洗衣机的排水速度。In a possible implementation manner, the
在一个可能的实施方式中,本实施例还包括支架700,洗衣筒200可转动的设置在支架700内。支架700与机壳100之间设有减震装置710,洗衣筒200可转动的设置在支架700内。由于采用无外筒设计,将减震装置710安装在支架700和机壳100之间,可以缓冲洗衣筒200在转动时产生的震动,也可以防止洗衣筒200在脱水时与机壳100产生碰撞,保证脱水程序的顺利进行。In a possible implementation manner, this embodiment further includes a
在本申请实施例的描述中,术语“第一”、“第二”仅用于描述目的,而不能理解为指示或暗示相对重要性或者隐含指明所指示的技术特征的数量。由此,限定有“第一”、“第二”的特征可以明示或者隐含地包括至少一个该特征。在本申请的描述中,“多个”的含义是至少两个,例如两个,三个等,除非另有明确具体的限定。In the description of the embodiments of the present application, the terms "first" and "second" are used for description purposes only, and cannot be understood as indicating or implying relative importance or implicitly indicating the quantity of indicated technical features. Thus, the features defined as "first" and "second" may explicitly or implicitly include at least one of these features. In the description of the present application, "plurality" means at least two, such as two, three, etc., unless otherwise specifically defined.
在本申请实施例中,除非另有明确的规定和限定,术语“安装”、“相连”、“连接”、“固定”等术语应做广义理解,例如,可以是固定连接,也可以是可拆卸连接,或成一体;可以是直接相连,也可以通过中间媒介间接相连,可以是两个元件内部的连通或两个元件的相互作用关系,除非另有明确的限定。对于本领域的普通技术人员而言,可以根据具体情况理解上述术语在本申请中的具体含义。In this embodiment of the application, unless otherwise clearly specified and limited, the terms "installation", "connection", "connection", "fixation" and other terms should be understood in a broad sense, for example, it can be a fixed connection or a fixed connection. Disconnected connection, or integrated; it can be directly connected, or indirectly connected through an intermediary, and can be the internal communication of two elements or the interaction relationship between two elements, unless otherwise clearly defined. Those of ordinary skill in the art can understand the specific meanings of the above terms in this application according to specific situations.
在本申请实施例的描述中,需要理解的是,术语“内”、“外”、“上”、“底”、“前”、“后”等指示的方位或者位置关系(若有的话)为基于附图所示的方位或位置关系,仅是为了便于描述本申请和简化描述,而不是指示或者暗示所指的装置或者元件必须具有特定的方位、以特定的方位构造和操作,因此不能理解为对本申请的限制。In the description of the embodiments of the present application, it should be understood that the orientation or positional relationship (if any) indicated by the terms "inner", "outer", "upper", "bottom", "front", "back" etc. ) is based on the orientation or positional relationship shown in the drawings, and is only for the convenience of describing the application and simplifying the description, rather than indicating or implying that the device or element referred to must have a specific orientation, be constructed and operated in a specific orientation, therefore It should not be construed as a limitation of the application.
最后应说明的是:以上各实施例仅用以说明本申请的技术方案,而非对其限制;尽管参照前述各实施例对本申请进行了详细的说明,本领域的普通技术人员应当理解:其依然可以对前述各实施例所记载的技术方案进行修改,或者对其中部分或者全部技术特征进行等同替换;而这些修改或者替换,并不使相应技术方案的本质脱离本申请各实施例技术方案的范围。Finally, it should be noted that: the above embodiments are only used to illustrate the technical solutions of the present application, rather than limiting them; although the application has been described in detail with reference to the foregoing embodiments, those of ordinary skill in the art should understand that: It is still possible to modify the technical solutions described in the foregoing embodiments, or perform equivalent replacements for some or all of the technical features; and these modifications or replacements do not make the essence of the corresponding technical solutions deviate from the technical solutions of the various embodiments of the present application. scope.
Claims (10)
Priority Applications (1)
| Application Number | Priority Date | Filing Date | Title |
|---|---|---|---|
| CN202223498792.9U CN219195418U (en) | 2022-12-27 | 2022-12-27 | washing machine |
Applications Claiming Priority (1)
| Application Number | Priority Date | Filing Date | Title |
|---|---|---|---|
| CN202223498792.9U CN219195418U (en) | 2022-12-27 | 2022-12-27 | washing machine |
Publications (1)
| Publication Number | Publication Date |
|---|---|
| CN219195418U true CN219195418U (en) | 2023-06-16 |
Family
ID=86702179
Family Applications (1)
| Application Number | Title | Priority Date | Filing Date |
|---|---|---|---|
| CN202223498792.9U Active CN219195418U (en) | 2022-12-27 | 2022-12-27 | washing machine |
Country Status (1)
| Country | Link |
|---|---|
| CN (1) | CN219195418U (en) |
-
2022
- 2022-12-27 CN CN202223498792.9U patent/CN219195418U/en active Active
Similar Documents
| Publication | Publication Date | Title |
|---|---|---|
| CN101498086B (en) | vertical rolling washing machine and method thereof | |
| WO2018205934A1 (en) | Drum washing machine | |
| CN110144697B (en) | Drainage control method of a washing machine | |
| CN108796962A (en) | A kind of washing machine | |
| WO2019047762A1 (en) | Drainage control method for washing machine and washing machine | |
| CN104120583A (en) | Washing machine with water filling port type balancing ring and control method thereof | |
| CN108796966A (en) | A kind of washing machine | |
| CN109868614A (en) | A kind of washing machine | |
| CN108396504A (en) | A kind of roller washing machine | |
| CN110241545A (en) | washing machine | |
| CN109989214A (en) | A kind of washing equipment and washing water outlet method | |
| CN109868615B (en) | Washing machine | |
| CN209703120U (en) | washing machine | |
| CN110273250A (en) | Washing machine | |
| CN219195418U (en) | washing machine | |
| WO2019165896A1 (en) | Washing machine | |
| CN110318206A (en) | Washing machine | |
| CN110195317A (en) | A kind of washing tube and its washing machine of washing machine | |
| CN111394927B (en) | Drum washing machine and control method thereof | |
| CN219218429U (en) | Washing machine | |
| CN110241562B (en) | Water guide structure of washing machine, washing barrel with water guide structure and washing machine | |
| CN111088649B (en) | A drum washing machine and its control method | |
| CN110241561A (en) | A washing tub of a washing machine and a washing machine having the same | |
| CN110195332B (en) | Water guiding sleeve and no-cleaning washing machine | |
| CN113265847A (en) | Washing barrel of washing machine and washing machine |
Legal Events
| Date | Code | Title | Description |
|---|---|---|---|
| GR01 | Patent grant | ||
| GR01 | Patent grant |
