CN219115765U - Filling device for dry powder mortar - Google Patents
Filling device for dry powder mortar Download PDFInfo
- Publication number
- CN219115765U CN219115765U CN202320075824.XU CN202320075824U CN219115765U CN 219115765 U CN219115765 U CN 219115765U CN 202320075824 U CN202320075824 U CN 202320075824U CN 219115765 U CN219115765 U CN 219115765U
- Authority
- CN
- China
- Prior art keywords
- fixedly connected
- dry powder
- powder mortar
- designed
- rod
- Prior art date
- Legal status (The legal status is an assumption and is not a legal conclusion. Google has not performed a legal analysis and makes no representation as to the accuracy of the status listed.)
- Expired - Fee Related
Links
- 239000000843 powder Substances 0.000 title claims abstract description 28
- 239000004570 mortar (masonry) Substances 0.000 title claims abstract description 27
- 238000005192 partition Methods 0.000 claims description 7
- 238000003825 pressing Methods 0.000 claims description 2
- 238000004806 packaging method and process Methods 0.000 abstract description 12
- 239000000463 material Substances 0.000 abstract description 10
- 238000005429 filling process Methods 0.000 abstract description 5
- 238000000034 method Methods 0.000 description 4
- 238000010586 diagram Methods 0.000 description 3
- 238000003912 environmental pollution Methods 0.000 description 2
- 239000002699 waste material Substances 0.000 description 2
- 239000000654 additive Substances 0.000 description 1
- 230000009286 beneficial effect Effects 0.000 description 1
- 238000010276 construction Methods 0.000 description 1
- 238000005516 engineering process Methods 0.000 description 1
- 238000000605 extraction Methods 0.000 description 1
- 238000001125 extrusion Methods 0.000 description 1
- 230000005484 gravity Effects 0.000 description 1
- XLYOFNOQVPJJNP-UHFFFAOYSA-N water Substances O XLYOFNOQVPJJNP-UHFFFAOYSA-N 0.000 description 1
Images
Classifications
-
- Y—GENERAL TAGGING OF NEW TECHNOLOGICAL DEVELOPMENTS; GENERAL TAGGING OF CROSS-SECTIONAL TECHNOLOGIES SPANNING OVER SEVERAL SECTIONS OF THE IPC; TECHNICAL SUBJECTS COVERED BY FORMER USPC CROSS-REFERENCE ART COLLECTIONS [XRACs] AND DIGESTS
- Y02—TECHNOLOGIES OR APPLICATIONS FOR MITIGATION OR ADAPTATION AGAINST CLIMATE CHANGE
- Y02W—CLIMATE CHANGE MITIGATION TECHNOLOGIES RELATED TO WASTEWATER TREATMENT OR WASTE MANAGEMENT
- Y02W30/00—Technologies for solid waste management
- Y02W30/50—Reuse, recycling or recovery technologies
- Y02W30/91—Use of waste materials as fillers for mortars or concrete
Landscapes
- Basic Packing Technique (AREA)
Abstract
本实用新型涉及灌装设备技术领域,具体为一种干粉砂浆用灌装装置,包括按把,所述按把的外表面固定连接有连杆,所述连杆的底部固定连接有固定框,所述固定框的底部活动连接有转盘,所述转盘的底部固定连接有长杆,所述长杆的底部固定连接有短杆,所述连杆的两端滑动连接有边架,所述边架的侧面固定连接有下料管,改良后的干粉砂浆用灌装装置,通过螺旋叶片的转动可以加快干粉砂浆下落的速率,同时可以清理内壁残留减少消耗,中转箱的结构可以最大程度防止下落带来的环境污染,同时方便固定包装袋和灌装结束后提取,结构省力,再通过分料结构可以保证灌装过程不会中断,灌装效率和工作效率得到共同提升。
The utility model relates to the technical field of filling equipment, in particular to a filling device for dry powder mortar, comprising a handle, the outer surface of the handle is fixedly connected with a connecting rod, and the bottom of the connecting rod is fixedly connected with a fixed frame The bottom of the fixed frame is movably connected with a turntable, the bottom of the turntable is fixedly connected with a long rod, the bottom of the long rod is fixedly connected with a short rod, the two ends of the connecting rod are slidingly connected with side frames, The side of the rack is fixedly connected with a feeding pipe. The improved filling device for dry powder mortar can speed up the falling rate of dry powder mortar through the rotation of the spiral blade, and at the same time can clean the residue on the inner wall to reduce consumption. The structure of the transfer box can prevent falling to the greatest extent. At the same time, it is convenient to fix the packaging bag and extract after filling, the structure is labor-saving, and the material distribution structure can ensure that the filling process will not be interrupted, and the filling efficiency and work efficiency are jointly improved.
Description
技术领域technical field
本实用新型涉及灌装设备技术领域,具体为一种干粉砂浆用灌装装置。The utility model relates to the technical field of filling equipment, in particular to a filling device for dry powder mortar.
背景技术Background technique
干粉砂浆是指经干燥筛分处理的骨料、无机胶凝材料和添加剂等按一定比例进行物理混合而成的一种颗粒状或粉状,以袋装或散装的形式运至工地,加水拌和后即可直接使用的物料,而在干粉砂浆的灌装过程中会使用到各种类型的干粉砂浆灌装机。Dry powder mortar refers to a kind of granular or powder form which is physically mixed with dry and screened aggregates, inorganic gelling materials and additives in a certain proportion. It is transported to the construction site in bags or in bulk, and mixed with water. Materials that can be used directly after filling, and various types of dry powder mortar filling machines are used in the filling process of dry powder mortar.
并且,大部分的干粉砂浆灌装机都是通过输送管将物料灌装到包装袋内,但是,由于在对包装袋内进行物料灌装时,其包装袋底部一般直接放置在设备的承托台上,而在物料灌装完成后,整个产品重量较重,因此,在进行下料的时候较为费力;同时现有灌装设备中多数靠自然重力推动干粉砂浆下流,影响了灌装效率,且设备内壁容易存在残留,造成浪费。Moreover, most of the dry powder mortar filling machines fill the material into the packaging bag through the conveying pipe. However, when the material is filled in the packaging bag, the bottom of the packaging bag is generally placed directly on the support of the equipment. On the platform, after the filling of the material is completed, the weight of the whole product is relatively heavy, so it is more laborious to discharge the material; at the same time, most of the existing filling equipment relies on natural gravity to push the dry powder mortar downward, which affects the filling efficiency. And there is easy residue on the inner wall of the equipment, resulting in waste.
发明人在实现本实用新型的过程中发现现有技术存在如下问题:1、灌装过程中,包装袋不易固定,且更换下一个包装袋时,存在流出缺口,造成损失浪费,持续性较差,灌装完成后下料较为费劲;2、没有加快干粉砂浆流动速率的结构,无法及时清理内壁减少损耗,同时在灌装时由于高度差容易飞溅,造成环境污染。The inventor found the following problems in the prior art in the process of realizing the utility model: 1. During the filling process, the packaging bag is not easy to fix, and when the next packaging bag is replaced, there is an outflow gap, resulting in loss and waste, and poor sustainability , It is more laborious to cut the material after filling; 2. There is no structure to speed up the flow rate of dry powder mortar, and the inner wall cannot be cleaned in time to reduce loss. At the same time, it is easy to splash due to height difference during filling, causing environmental pollution.
实用新型内容Utility model content
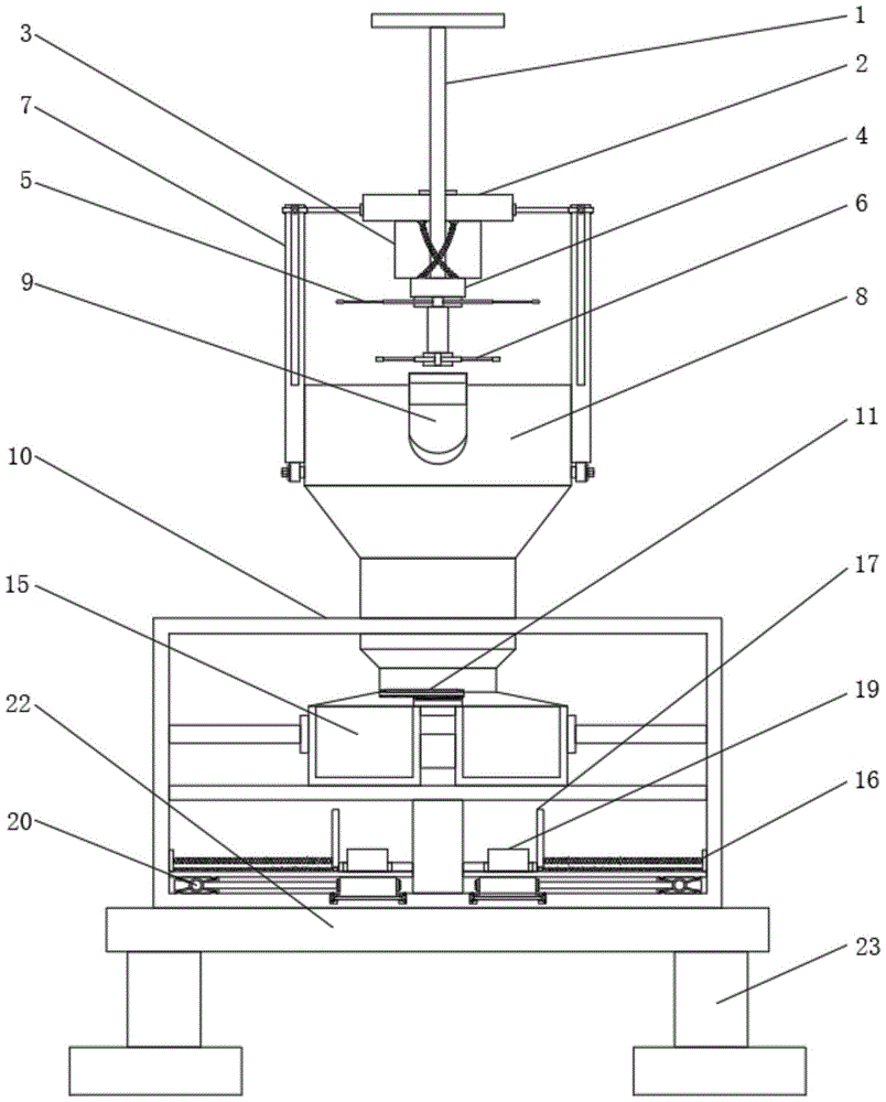
本实用新型的目的在于提供一种干粉砂浆用灌装装置,以解决上述背景技术中提出的灌装效率不高,损耗大,拿取和固定包装袋不方便,连续性差问题。为实现上述目的,本实用新型提供如下技术方案:一种干粉砂浆用灌装装置,包括按把,所述按把的外表面固定连接有连杆,所述连杆的底部固定连接有固定框,所述固定框的底部活动连接有转盘,所述转盘的底部固定连接有长杆,所述长杆的底部固定连接有短杆,所述连杆的两端滑动连接有边架,所述边架的侧面固定连接有下料管,所述下料管的侧面固定连接有进料口,所述进料口的底部平行安置有主箱,所述下料管的一端活动连接有分割板,所述分割板的侧面固定连接有握把,所述握把的底部平行安置有套杆,所述套杆的靠内一侧平行安置有出料杆,所述出料杆的一端固定连接有中转箱,所述主箱的内部固定连接有固定板,所述固定板的一端活动连接有抵板,所述抵板的侧面活动连接有托盘,所述托盘的内部滑动连接有推板,所述推板的侧面固定连接有拉伸杆,所述拉伸杆的一端固定连接有拉把,所述拉把的底部平行安置有底座,所述底座的底部固定连接有支架。The purpose of this utility model is to provide a filling device for dry powder mortar to solve the problems of low filling efficiency, large loss, inconvenient taking and fixing of packaging bags and poor continuity proposed in the above background technology. In order to achieve the above purpose, the utility model provides the following technical solutions: a filling device for dry powder mortar, including a handle, the outer surface of the handle is fixedly connected with a connecting rod, and the bottom of the connecting rod is fixedly connected with a fixed frame , the bottom of the fixed frame is movably connected with a turntable, the bottom of the turntable is fixedly connected with a long rod, the bottom of the long rod is fixedly connected with a short rod, and the two ends of the connecting rod are slidably connected with side frames, the The side of the side frame is fixedly connected with a feeding pipe, the side of the feeding pipe is fixedly connected with a feed port, the bottom of the feeding port is arranged in parallel with the main box, and one end of the feeding pipe is movably connected with a partition plate , the side of the partition plate is fixedly connected with a handle, the bottom of the handle is arranged in parallel with a sleeve rod, and the inner side of the sleeve rod is arranged in parallel with a discharge rod, and one end of the discharge rod is fixedly connected to There is a transfer box, the inside of the main box is fixedly connected with a fixed plate, one end of the fixed plate is movably connected with a backing plate, the side of the backing plate is movably connected with a tray, and the inside of the tray is slidably connected with a push plate, A stretching rod is fixedly connected to the side of the push plate, a handle is fixedly connected to one end of the stretching rod, a base is arranged parallel to the bottom of the handle, and a bracket is fixedly connected to the bottom of the base.
进一步优选的,所述连杆与边架之间设计为滑轨结构。Further preferably, a slide rail structure is designed between the connecting rod and the side frame.
进一步优选的,所述固定框与转盘之间设计有强力拉力绳结构。Further preferably, a strong tension rope structure is designed between the fixed frame and the turntable.
进一步优选的,所述中转箱设计为多个对称结构,相邻的中转箱中间设计有连接板,且连接板与分割板之间设计为滑轨结构。Further preferably, the transfer boxes are designed as a plurality of symmetrical structures, connecting plates are designed in the middle of adjacent transfer boxes, and a slide rail structure is designed between the connecting plates and the dividing plates.
进一步优选的,所述固定板与抵板之间设计为表面带弹簧结构的杆子。Further preferably, a rod with a spring structure on the surface is designed between the fixing plate and the counter plate.
进一步优选的,所述托盘设计为中空结构,大小与推板一致,且推板侧面连接的拉伸杆设计有连轴和弹簧结构。Further preferably, the tray is designed as a hollow structure with the same size as the push plate, and the stretch rod connected to the side of the push plate is designed with a connecting shaft and a spring structure.
与现有技术相比,本实用新型的有益效果:Compared with the prior art, the utility model has the beneficial effects:
本实用新型中,通过旋叶片的转动可以加快干粉砂浆下落的速率,同时可以清理内壁残留减少消耗,中转箱的结构可以最大程度防止下落带来的环境污染。In the utility model, the falling speed of the dry powder mortar can be accelerated through the rotation of the rotating blade, and at the same time, the residue on the inner wall can be cleaned to reduce consumption, and the structure of the transfer box can prevent environmental pollution caused by the falling to the greatest extent.
本实用新型中,通过固定杆方便固定包装袋和灌装结束后提取,结构省力,再通过分料结构可以保证灌装过程不会中断,灌装效率和工作效率得到共同提升。In the utility model, the fixing rod is used to facilitate the fixing of the packaging bag and the extraction after filling, the structure is labor-saving, and the material distribution structure can ensure that the filling process will not be interrupted, and the filling efficiency and working efficiency are jointly improved.
附图说明Description of drawings
图1为本实用新型正视内部结构示意图;Fig. 1 is a schematic view of the internal structure of the utility model;
图2为本实用新型正视结构示意图;Fig. 2 is a schematic diagram of the front view structure of the utility model;
图3为本实用新型侧视内部结构示意图;Fig. 3 is a side view internal structure schematic diagram of the utility model;
图4为本实用新型侧视结构示意图。Fig. 4 is a schematic diagram of the side view structure of the utility model.
图中:1、按把;2、连杆;3、固定框;4、转盘;5、长杆;6、短杆;7、边架;8、下料管;9、进料口;10、主箱;11、分割板;12、握把;13、套杆;14、出料杆;15、中转箱;16、固定板;17、抵板;18、托盘;19、推板;20、拉伸杆;21、拉把;22、底座;23、支架。In the figure: 1, push handle; 2, connecting rod; 3, fixed frame; 4, turntable; 5, long rod; 6, short rod; 7, side frame; 8, feeding pipe; 9, feeding port; 1. Main box; 11. Partition board; 12. Grip; 13. Set rod; 14. Discharge rod; 15. Transfer box; 16. Fixed board; 17. Reach board; 18. Tray; , stretch rod; 21, handle; 22, base; 23, bracket.
具体实施方式Detailed ways
下面将结合本实用新型实施例中的附图,对本实用新型实施例中的技术方案进行清楚、完整地描述,显然,所描述的实施例仅仅是本实用新型一部分实施例,而不是全部的实施例。基于本实用新型中的实施例,本领域普通技术工作人员在没有做出创造性劳动前提下所获得的所有其他实施例,都属于本实用新型保护的范围。The technical solutions in the embodiments of the present invention will be clearly and completely described below in conjunction with the accompanying drawings in the embodiments of the present invention. Obviously, the described embodiments are only part of the embodiments of the present invention, not all of them. example. Based on the embodiments of the present utility model, all other embodiments obtained by persons of ordinary skill in the art without making creative efforts belong to the scope of protection of the present utility model.
请参阅图1至图4,本实用新型提供一种技术方案:一种干粉砂浆用灌装装置,包括按把1,按把1的外表面固定连接有连杆2,连杆2的底部固定连接有固定框3,固定框3的底部活动连接有转盘4,转盘4的底部固定连接有长杆5,长杆5的底部固定连接有短杆6,连杆2的两端滑动连接有边架7,边架7的侧面固定连接有下料管8,下料管8的侧面固定连接有进料口9,进料口9的底部平行安置有主箱10,下料管8的一端活动连接有分割板11,分割板11的侧面固定连接有握把12,握把12的底部平行安置有套杆13,套杆13的靠内一侧平行安置有出料杆14,出料杆14的一端固定连接有中转箱15,主箱10的内部固定连接有固定板16,固定板16的一端活动连接有抵板17,抵板17的侧面活动连接有托盘18,托盘18的内部滑动连接有推板19,推板19的侧面固定连接有拉伸杆20,拉伸杆20的一端固定连接有拉把21,拉把21的底部平行安置有底座22,底座22的底部固定连接有支架23。Please refer to Figures 1 to 4, the utility model provides a technical solution: a filling device for dry powder mortar, including a
本实施例中,如图1所示,连杆2与边架7之间设计为滑轨结构,需要说明的是,通过滑轨结构可以起到限位作用,防止按把1下压时产生晃动,同时在长杆5和短杆6加快干粉砂浆下落和清理时,减少下压阻力。In this embodiment, as shown in Figure 1, a slide rail structure is designed between the connecting
本实施例中,如图1所示,固定框3与转盘4之间设计有强力拉力绳结构,需要说明的是,通过强力拉力绳结构可以在下压按把1时,带动转盘4转动,同时提供复位拉力造成回旋旋转力,加快干粉砂浆下落。In this embodiment, as shown in Figure 1, a strong tension rope structure is designed between the
本实施例中,如图1所示,中转箱15设计为多个对称结构,相邻的中转箱15中间设计有连接板,且连接板与分割板11之间设计为滑轨结构,需要说明的是,通过对称和连接板结构,保证了连接的距离恒定,随着一边包装袋装满,按动握把12使得分割板11沿着滑轨,快速切换至另一侧,使得灌装过程不会中段,保证了连续性。In this embodiment, as shown in Figure 1, the
本实施例中,如图1所示,固定板16与抵板17之间设计为表面带弹簧结构的杆子,需要说明的是,通过表面带弹簧结构的杆子,可以在抵板17固定好包装袋后,随着干粉砂浆的灌装,不断后移固定,提供持续的挤压力来固定包装袋。In this embodiment, as shown in Fig. 1, a pole with a spring structure on the surface is designed between the
本实施例中,如图1所示,托盘18设计为中空结构,大小与推板19一致,且推板19侧面连接的拉伸杆20设计有连轴和弹簧结构,需要说明的是,通过托盘18中空结构,方便推板19前后移动,同时,利用推板19与拉伸杆20的连接,方便利用拉把21拖拽出包装袋,省时省力,同时连轴和弹簧结构可以帮助拉把21和推板19复位。In this embodiment, as shown in Figure 1, the
本实用新型的使用方法和优点:该干粉砂浆用灌装装置在使用时,工作过程如下:The use method and advantages of the utility model: when the dry powder mortar filling device is in use, the working process is as follows:
如图1、图2、图3和图4所示,首先摆好支架23和底座22,把包装袋放入套杆13上,利用盖帽固定住套杆13内的包装袋,袋口对准出料杆14,从进料口9灌入干粉砂浆进入下料管8内,下压按把1,连杆2沿着边架7下滑,转盘4从固定框3底部脱离,带动长杆5和短杆6在下料管8内转动,加快下落速度和清理残余,干粉砂浆从主箱10内流入分割板11漏口一侧,进入中转箱15,随着灌装包装袋逐渐鼓起,抵板17沿着与固定板16之间杆子移动,挤压弹簧,装的一定数量后,拉动拉把21带动拉伸杆20前移,推板19沿着托盘18中空位置前推,方便人们拿取后,拉把21在拉伸杆20作用力下复位,按动握把12移动分割板11使得漏口朝向另一侧中转箱15。As shown in Figure 1, Figure 2, Figure 3 and Figure 4, first place the
以上显示和描述了本实用新型的基本原理、主要特征和本实用新型的优点。本行业的技术工作人员应该了解,本实用新型不受上述实施例的限制,上述实施例和说明书中描述的仅为本实用新型的优选例,并不用来限制本实用新型,在不脱离本实用新型精神和范围的前提下,本实用新型还会有各种变化和改进,这些变化和改进都落入要求保护的本实用新型范围内。本实用新型要求保护范围由所附的权利要求书及其等效物界定。The basic principles, main features and advantages of the present utility model have been shown and described above. Technical staff in this industry should understand that the utility model is not limited by the above-mentioned embodiments, and the above-mentioned embodiments and descriptions are only preferred examples of the utility model, and are not used to limit the utility model, without departing from the utility model Under the premise of the new spirit and scope, the utility model also has various changes and improvements, and these changes and improvements all fall within the scope of the claimed utility model. The scope of protection required by the utility model is defined by the appended claims and their equivalents.
Claims (6)
Priority Applications (1)
| Application Number | Priority Date | Filing Date | Title |
|---|---|---|---|
| CN202320075824.XU CN219115765U (en) | 2023-01-09 | 2023-01-09 | Filling device for dry powder mortar |
Applications Claiming Priority (1)
| Application Number | Priority Date | Filing Date | Title |
|---|---|---|---|
| CN202320075824.XU CN219115765U (en) | 2023-01-09 | 2023-01-09 | Filling device for dry powder mortar |
Publications (1)
| Publication Number | Publication Date |
|---|---|
| CN219115765U true CN219115765U (en) | 2023-06-02 |
Family
ID=86523260
Family Applications (1)
| Application Number | Title | Priority Date | Filing Date |
|---|---|---|---|
| CN202320075824.XU Expired - Fee Related CN219115765U (en) | 2023-01-09 | 2023-01-09 | Filling device for dry powder mortar |
Country Status (1)
| Country | Link |
|---|---|
| CN (1) | CN219115765U (en) |
-
2023
- 2023-01-09 CN CN202320075824.XU patent/CN219115765U/en not_active Expired - Fee Related
Similar Documents
| Publication | Publication Date | Title |
|---|---|---|
| CN201559815U (en) | Film inner bag making bag filling device for automatic vacuum packaging of inner and outer bags | |
| CN204750608U (en) | Grain collection device | |
| CN219115765U (en) | Filling device for dry powder mortar | |
| CN207416068U (en) | A kind of eyebrow pencil squeezes out cutting machine | |
| CN206382334U (en) | Bar production finishing packaging system | |
| CN209139727U (en) | A kind of splicing equipment for forging press | |
| CN110371328A (en) | Finished-product packaging device is used in a kind of production of thermal insulation material | |
| CN111891515A (en) | A new type of environmentally friendly cement transportation equipment | |
| CN217171024U (en) | Quantitative filling machine of jam production usefulness | |
| CN203951895U (en) | Microcomputerized control sack filling machine | |
| CN111605806B (en) | A wine box auxiliary opening device | |
| CN218524726U (en) | Test bench for detecting contamination resistance of hot-melt marking paint | |
| CN211306509U (en) | High-efficient automatic waste material of receiving roll up membrane device of stabilizing | |
| CN209870791U (en) | Filling dust removal device of automatic packaging machine | |
| CN220274607U (en) | Fry split charging equipment | |
| CN203865501U (en) | Material collector with cut-off device | |
| CN219727392U (en) | Handbag cross cutting processing equipment | |
| CN222429501U (en) | A cutting fluid filling device for wire cutting equipment | |
| CN220564278U (en) | Energy-saving type aerosol filling equipment pressurizing device | |
| CN209566480U (en) | A kind of novel polyethylene PE tube single screw extrusion device | |
| CN217717173U (en) | A trigeminy mould operating means for cement mortar plain bumper | |
| CN215904849U (en) | Packagine machine with dust removal function | |
| CN222906810U (en) | Plate discharging machine with tissue structure | |
| CN221619338U (en) | Discharging device for water-based ink finished product | |
| CN220662919U (en) | A quantitative material guiding and packaging mechanism |
Legal Events
| Date | Code | Title | Description |
|---|---|---|---|
| GR01 | Patent grant | ||
| GR01 | Patent grant | ||
| CF01 | Termination of patent right due to non-payment of annual fee |
Granted publication date: 20230602 |
|
| CF01 | Termination of patent right due to non-payment of annual fee |
