CN219068972U - A landscaping pruning device - Google Patents
A landscaping pruning device Download PDFInfo
- Publication number
- CN219068972U CN219068972U CN202222943252.0U CN202222943252U CN219068972U CN 219068972 U CN219068972 U CN 219068972U CN 202222943252 U CN202222943252 U CN 202222943252U CN 219068972 U CN219068972 U CN 219068972U
- Authority
- CN
- China
- Prior art keywords
- fixedly connected
- motor
- box
- pruning device
- screw
- Prior art date
- Legal status (The legal status is an assumption and is not a legal conclusion. Google has not performed a legal analysis and makes no representation as to the accuracy of the status listed.)
- Expired - Fee Related
Links
Images
Classifications
-
- Y—GENERAL TAGGING OF NEW TECHNOLOGICAL DEVELOPMENTS; GENERAL TAGGING OF CROSS-SECTIONAL TECHNOLOGIES SPANNING OVER SEVERAL SECTIONS OF THE IPC; TECHNICAL SUBJECTS COVERED BY FORMER USPC CROSS-REFERENCE ART COLLECTIONS [XRACs] AND DIGESTS
- Y02—TECHNOLOGIES OR APPLICATIONS FOR MITIGATION OR ADAPTATION AGAINST CLIMATE CHANGE
- Y02A—TECHNOLOGIES FOR ADAPTATION TO CLIMATE CHANGE
- Y02A40/00—Adaptation technologies in agriculture, forestry, livestock or agroalimentary production
- Y02A40/10—Adaptation technologies in agriculture, forestry, livestock or agroalimentary production in agriculture
- Y02A40/22—Improving land use; Improving water use or availability; Controlling erosion
-
- Y—GENERAL TAGGING OF NEW TECHNOLOGICAL DEVELOPMENTS; GENERAL TAGGING OF CROSS-SECTIONAL TECHNOLOGIES SPANNING OVER SEVERAL SECTIONS OF THE IPC; TECHNICAL SUBJECTS COVERED BY FORMER USPC CROSS-REFERENCE ART COLLECTIONS [XRACs] AND DIGESTS
- Y02—TECHNOLOGIES OR APPLICATIONS FOR MITIGATION OR ADAPTATION AGAINST CLIMATE CHANGE
- Y02P—CLIMATE CHANGE MITIGATION TECHNOLOGIES IN THE PRODUCTION OR PROCESSING OF GOODS
- Y02P60/00—Technologies relating to agriculture, livestock or agroalimentary industries
- Y02P60/40—Afforestation or reforestation
Landscapes
- Harvester Elements (AREA)
Abstract
本实用新型公开了一种园林绿化修剪装置,包括底板,所述底板的顶部固定连接有箱体,所述箱体内腔的底部固定连接有第一电机,所述第一电机的输出端固定连接有螺杆,所述螺杆的表面螺纹连接有螺纹套,所述螺纹套顶部的两侧均固定连接有支柱,所述支柱远离螺纹套的一端贯穿至箱体的顶部并固定连接有壳体,壳体顶部的左侧固定连接有支架。本实用新型通过底板、箱体、第一电机、螺杆、螺纹套、支柱、壳体、支架、横板、第二电机、刀片、固定块、滑杆、滑套、第三电机、转盘、销轴、升降板和支撑杆的配合使用,解决了现有技术园林绿化修剪装置在实际使用时,不能够根据需要对其使用的角度进行调节,给实际使用造成了不便的问题。
The utility model discloses a landscaping pruning device, which comprises a bottom plate, the top of the bottom plate is fixedly connected with a box, the bottom of the inner cavity of the box is fixedly connected with a first motor, and the output end of the first motor is fixedly connected with There is a screw, the surface of the screw is threaded with a threaded sleeve, and both sides of the top of the threaded sleeve are fixedly connected with a pillar, and the end of the pillar away from the threaded sleeve penetrates to the top of the box and is fixedly connected with a shell. The left side of the body top is fixedly connected with a bracket. The utility model is equipped with a bottom plate, a box body, a first motor, a screw, a threaded sleeve, a pillar, a shell, a bracket, a horizontal plate, a second motor, a blade, a fixed block, a sliding rod, a sliding sleeve, a third motor, a turntable, and a pin. The cooperating use of the shaft, the lifting plate and the support rod solves the problem that the prior art landscaping pruning device cannot adjust the angle of use according to the needs during actual use, which causes inconvenience to the actual use.
Description
技术领域technical field
本实用新型涉及园林绿化设备技术领域,具体为一种园林绿化修剪装置。The utility model relates to the technical field of landscaping equipment, in particular to a landscaping pruning device.
背景技术Background technique
园林绿化是在一定的地域运用工程技术和艺术手段,通过改造地形种植树木花草、营造建筑和布置园路等途径创作而成的美的自然环境和游憩境域,为了保证植株的统一高度,提升美观性性,通常需要定时对植株进行修剪。Landscaping is the use of engineering technology and artistic means in a certain area to create a beautiful natural environment and recreational environment by transforming the terrain, planting trees and flowers, building buildings, and arranging garden roads. In order to ensure the uniform height of the plants and improve the aesthetics Sexuality, usually requires regular pruning of plants.
如中国实用新型提供了“一种园林绿化用修剪装置”,其公告号为:CN216314150U,通过底板、操作台、防护框、升降螺杆、升降电机、主动齿轮、从动齿轮、限位板的设置,能够便捷性的调节对植株的修剪高度,方便对不同高度需求的园艺要求进行处理,提升装置使用的便捷性;通过圆形刀片、切割电机、连接板、连接杆、滑块、气缸、伸缩杆、滑槽、丝杠、平移电机的设置有效通过推进平移的方式对高出设定的植株进行修剪,提升修剪的效率,而现有技术园林绿化修剪装置在实际使用时,不能够根据需要对其使用的角度进行调节,给实际使用造成了不便,因此,本实用新型提出一种可角度调节的园林绿化修剪装置。For example, the Chinese utility model provides "a trimming device for landscaping", its announcement number is: CN216314150U, through the setting of the base plate, operating table, protective frame, lifting screw, lifting motor, driving gear, driven gear, and limit plate , can conveniently adjust the pruning height of the plants, facilitate the processing of gardening requirements with different height requirements, and improve the convenience of using the device; through circular blades, cutting motors, connecting plates, connecting rods, sliders, cylinders, telescopic The setting of the rod, the chute, the lead screw, and the translation motor effectively trims the plants higher than the setting by advancing the translation mode, and improves the efficiency of trimming, while the prior art landscaping trimming device cannot be used according to the needs. Adjusting the angle of its use has caused inconvenience to actual use. Therefore, the utility model proposes an angle-adjustable landscaping pruning device.
实用新型内容Utility model content
本实用新型的目的在于提供一种园林绿化修剪装置,具备可角度调节的优点,解决了现有技术园林绿化修剪装置在实际使用时,不能够根据需要对其使用的角度进行调节,给实际使用造成了不便的问题。The purpose of the utility model is to provide a landscaping pruning device, which has the advantage of being able to adjust the angle, and solves the problem that the prior art landscaping pruning device cannot adjust the angle of use according to the needs when it is actually used. caused inconvenience.
为实现上述目的,本实用新型提供如下技术方案:一种园林绿化修剪装置,包括底板,所述底板的顶部固定连接有箱体,所述箱体内腔的底部固定连接有第一电机,所述第一电机的输出端固定连接有螺杆,所述螺杆的表面螺纹连接有螺纹套,所述螺纹套顶部的两侧均固定连接有支柱,所述支柱远离螺纹套的一端贯穿至箱体的顶部并固定连接有壳体,所述壳体顶部的左侧固定连接有支架,所述支架的内腔活动连接有横板,所述横板底部的右侧固定连接有第二电机,所述第二电机的输出端固定连接有刀片,所述横板底部的左侧固定连接有固定块,两个固定块之间固定连接有滑杆,所述滑杆的表面套设有滑套,所述壳体内腔的背面固定连接有第三电机,所述第三电机的输出端固定连接有转盘,所述转盘正面的右侧固定连接有销轴,所述销轴的表面滑动连接有升降板,所述升降板的顶部固定连接有支撑杆,所述支撑杆远离升降板的一端贯穿至壳体的顶部并与滑套的底部活动连接。In order to achieve the above object, the utility model provides the following technical solutions: a landscaping pruning device, including a bottom plate, the top of the bottom plate is fixedly connected with a box, the bottom of the box inner cavity is fixedly connected with a first motor, the The output end of the first motor is fixedly connected with a screw, the surface of the screw is threaded with a threaded sleeve, both sides of the top of the threaded sleeve are fixedly connected with a pillar, and the end of the pillar away from the threaded sleeve penetrates to the top of the box And it is fixedly connected with a housing, the left side of the top of the housing is fixedly connected with a bracket, the inner cavity of the bracket is movably connected with a horizontal plate, the right side of the bottom of the horizontal plate is fixedly connected with a second motor, and the first The output end of the second motor is fixedly connected with a blade, the left side of the bottom of the horizontal plate is fixedly connected with a fixed block, and a slide bar is fixedly connected between the two fixed blocks, and the surface of the slide bar is covered with a sliding sleeve. The back of the inner cavity of the housing is fixedly connected with a third motor, the output end of the third motor is fixedly connected with a turntable, the right side of the front of the turntable is fixedly connected with a pin shaft, and the surface of the pin shaft is slidably connected with a lifting plate, The top of the lifting plate is fixedly connected with a support rod, and the end of the support rod away from the lifting plate penetrates to the top of the housing and is movably connected with the bottom of the sliding sleeve.
优选的,所述螺纹套的两侧均固定连接有限位块,所述箱体的内壁开设有配合限位块使用的限位槽。Preferably, both sides of the threaded sleeve are fixedly connected with limiting blocks, and the inner wall of the box is provided with limiting grooves for use with the limiting blocks.
优选的,所述底板底部的两侧均固定连接有移动轮,所述箱体顶部的两侧均开设有第一开口。Preferably, moving wheels are fixedly connected to both sides of the bottom of the bottom plate, and first openings are opened on both sides of the top of the box.
优选的,所述壳体内腔顶部和底部的两侧之间均固定连接有导柱,两个导柱的表面均与升降板的内壁滑动连接。Preferably, guide posts are fixedly connected between both sides of the top and bottom of the inner cavity of the housing, and the surfaces of the two guide posts are slidably connected with the inner wall of the lifting plate.
优选的,所述升降板的正面开设有通槽,所述壳体的顶部开设有第二开口。Preferably, a through slot is opened on the front of the lifting plate, and a second opening is opened on the top of the housing.
优选的,所述螺杆远离第一电机的一端通过轴承与箱体内腔的顶部活动连接,所述箱体的左侧固定连接有推把。Preferably, the end of the screw rod away from the first motor is movably connected to the top of the inner cavity of the box through a bearing, and a push handle is fixedly connected to the left side of the box.
与现有技术相比,本实用新型的有益效果如下:Compared with the prior art, the beneficial effects of the utility model are as follows:
1、本实用新型通过底板、箱体、第一电机、螺杆、螺纹套、支柱、壳体、支架、横板、第二电机、刀片、固定块、滑杆、滑套、第三电机、转盘、销轴、升降板和支撑杆的配合使用,解决了现有技术园林绿化修剪装置在实际使用时,不能够根据需要对其使用的角度进行调节,给实际使用造成了不便的问题。1. The utility model passes through the bottom plate, the box body, the first motor, the screw rod, the threaded sleeve, the pillar, the shell, the bracket, the horizontal plate, the second motor, the blade, the fixed block, the sliding rod, the sliding sleeve, the third motor, and the turntable. , bearing pin, lifting plate and support bar are used together, solved prior art landscaping pruning device in actual use, can not adjust the angle of its use according to needs, caused the problem of inconvenience to actual use.
2、本实用新型通过设置限位块和限位槽,通过设置移动轮,能够方便对该装置进行移动,能够对螺纹套进行限位,以提高螺纹套移动时的稳定性,通过设置导柱,能够对升降板进行限位,以提高升降板移动时的稳定性,通过设置通槽,能够方便销轴带动升降板移动,通过设置推把,能够方便使用者推动该装置。2. The utility model can conveniently move the device by setting the limit block and the limit groove, and by setting the moving wheel, and can limit the threaded sleeve to improve the stability of the threaded sleeve when moving. By setting the guide post , the lifting plate can be limited to improve the stability of the lifting plate when it moves, the through groove can be provided to facilitate the pin shaft to drive the lifting plate to move, and the push handle can be provided to facilitate the user to push the device.
附图说明Description of drawings
图1为本实用新型结构示意图;Fig. 1 is the structural representation of the utility model;
图2为本实用新型结构第三电机和转盘的立体图;Fig. 2 is the perspective view of the third motor and the turntable of the structure of the utility model;
图3为本实用新型图1中A的放大图。Fig. 3 is an enlarged view of A in Fig. 1 of the present utility model.
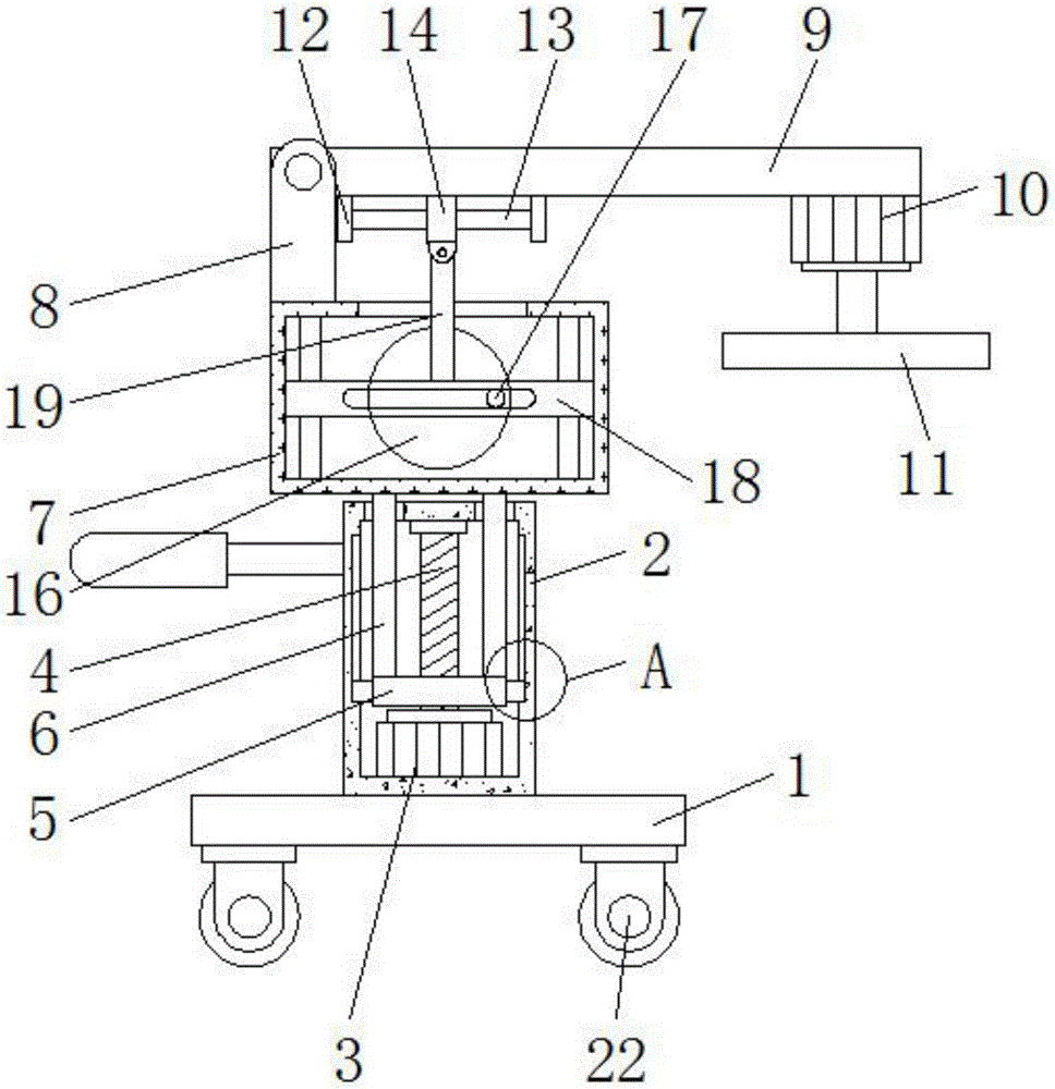
图中:1、底板;2、箱体;3、第一电机;4、螺杆;5、螺纹套;6、支柱;7、壳体;8、支架;9、横板;10、第二电机;11、刀片;12、固定块;13、滑杆;14、滑套;15、第三电机;16、转盘;17、销轴;18、升降板;19、支撑杆;20、限位块;21、限位槽;22、移动轮。In the figure: 1, bottom plate; 2, box body; 3, first motor; 4, screw; 5, threaded sleeve; 6, pillar; 7, shell; 8, bracket; 9, horizontal plate; 10, second motor ; 11, blade; 12, fixed block; 13, sliding rod; 14, sliding sleeve; 15, the third motor; 16, turntable; 17, pin shaft; 18, lifting plate; 19, support rod; ; 21, limit slot; 22, moving wheel.
具体实施方式Detailed ways
下面将结合本实用新型实施例中的附图,对本实用新型实施例中的技术方案进行清楚、完整地描述,显然,所描述的实施例仅仅是本实用新型一部分实施例,而不是全部的实施例。基于本实用新型中的实施例,本领域普通技术人员在没有做出创造性劳动前提下所获得的所有其他实施例,都属于本实用新型保护的范围。The technical solutions in the embodiments of the present invention will be clearly and completely described below in conjunction with the accompanying drawings in the embodiments of the present invention. Obviously, the described embodiments are only part of the embodiments of the present invention, not all of them. example. Based on the embodiments of the present utility model, all other embodiments obtained by persons of ordinary skill in the art without making creative efforts belong to the scope of protection of the present utility model.
请参阅图1-3,一种园林绿化修剪装置,包括底板1,底板1的顶部固定连接有箱体2,箱体2内腔的底部固定连接有第一电机3,第一电机3的输出端固定连接有螺杆4,螺杆4的表面螺纹连接有螺纹套5,螺纹套5顶部的两侧均固定连接有支柱6,支柱6远离螺纹套5的一端贯穿至箱体2的顶部并固定连接有壳体7,壳体7顶部的左侧固定连接有支架8,支架8的内腔活动连接有横板9,横板9底部的右侧固定连接有第二电机10,第二电机10的输出端固定连接有刀片11,横板9底部的左侧固定连接有固定块12,两个固定块12之间固定连接有滑杆13,滑杆13的表面套设有滑套14,壳体7内腔的背面固定连接有第三电机15,第三电机15的输出端固定连接有转盘16,转盘16正面的右侧固定连接有销轴17,销轴17的表面滑动连接有升降板18,升降板18的顶部固定连接有支撑杆19,支撑杆19远离升降板18的一端贯穿至壳体7的顶部并与滑套14的底部活动连接,螺纹套5的两侧均固定连接有限位块20,箱体2的内壁开设有配合限位块20使用的限位槽21,底板1底部的两侧均固定连接有移动轮22,箱体2顶部的两侧均开设有第一开口,壳体7内腔顶部和底部的两侧之间均固定连接有导柱,两个导柱的表面均与升降板18的内壁滑动连接,升降板18的正面开设有通槽,壳体7的顶部开设有第二开口,螺杆4远离第一电机3的一端通过轴承与箱体2内腔的顶部活动连接,箱体2的左侧固定连接有推把,通过设置限位块20和限位槽21,通过设置移动轮22,能够方便对该装置进行移动,能够对螺纹套5进行限位,以提高螺纹套5移动时的稳定性,通过设置导柱,能够对升降板18进行限位,以提高升降板18移动时的稳定性,通过设置通槽,能够方便销轴17带动升降板18移动,通过设置推把,能够方便使用者推动该装置,通过底板1、箱体2、第一电机3、螺杆4、螺纹套5、支柱6、壳体7、支架8、横板9、第二电机10、刀片11、固定块12、滑杆13、滑套14、第三电机15、转盘16、销轴17、升降板18和支撑杆19的配合使用,解决了现有技术园林绿化修剪装置在实际使用时,不能够根据需要对其使用的角度进行调节,给实际使用造成了不便的问题。Please refer to Figure 1-3, a landscaping pruning device, including a
使用时,启动第一电机3,第一电机3带动螺杆4转动,螺杆4带动螺纹套5向上移动,螺纹套5通过支柱6带动壳体7移动,壳体7通过支架8的配合带动横板9移动,横板9带动第二电机10和刀片11移动,以根据需要对修剪的高度进行调节,启动第三电机15,第三电机15带动转盘16转动,转盘16带动销轴17转动,销轴17带动升降板18向上或向下移动,升降板18带动支撑杆19移动,支撑杆19通过固定块12、滑杆13和滑套14的配合带动横板9的右侧发生翻转,以根据需要对修剪的角度进行调节。When in use, start the
尽管已经示出和描述了本实用新型的实施例,对于本领域的普通技术人员而言,可以理解在不脱离本实用新型的原理和精神的情况下可以对这些实施例进行多种变化、修改、替换和变型,本实用新型的范围由所附权利要求及其等同物限定。Although the embodiments of the present invention have been shown and described, those skilled in the art can understand that various changes and modifications can be made to these embodiments without departing from the principle and spirit of the present invention , replacements and modifications, the scope of the present utility model is defined by the appended claims and their equivalents.
Claims (6)
Priority Applications (1)
| Application Number | Priority Date | Filing Date | Title |
|---|---|---|---|
| CN202222943252.0U CN219068972U (en) | 2022-11-06 | 2022-11-06 | A landscaping pruning device |
Applications Claiming Priority (1)
| Application Number | Priority Date | Filing Date | Title |
|---|---|---|---|
| CN202222943252.0U CN219068972U (en) | 2022-11-06 | 2022-11-06 | A landscaping pruning device |
Publications (1)
| Publication Number | Publication Date |
|---|---|
| CN219068972U true CN219068972U (en) | 2023-05-26 |
Family
ID=86399367
Family Applications (1)
| Application Number | Title | Priority Date | Filing Date |
|---|---|---|---|
| CN202222943252.0U Expired - Fee Related CN219068972U (en) | 2022-11-06 | 2022-11-06 | A landscaping pruning device |
Country Status (1)
| Country | Link |
|---|---|
| CN (1) | CN219068972U (en) |
-
2022
- 2022-11-06 CN CN202222943252.0U patent/CN219068972U/en not_active Expired - Fee Related
Similar Documents
| Publication | Publication Date | Title |
|---|---|---|
| CN107371567A (en) | A kind of garden lawn trimmer | |
| CN219068972U (en) | A landscaping pruning device | |
| CN220528684U (en) | Ornamental trees and shrubs trimming means | |
| CN219046794U (en) | Ornamental trees and shrubs are with trimming means convenient to mould type | |
| CN215122333U (en) | Forestry engineering afforestation clipper | |
| CN215301717U (en) | A branch trimming means for afforestation maintenance | |
| CN218868779U (en) | Pruning machine | |
| CN209170953U (en) | A kind of automatic pruning machine for nursery stock | |
| CN216017930U (en) | A landscaping trimming device | |
| CN221264513U (en) | Greening pruning device | |
| CN209527246U (en) | Garden tree pruning tool | |
| CN219330128U (en) | Garden trimming equipment | |
| CN216650589U (en) | Trimming means is used in landscape construction | |
| CN207978295U (en) | A kind of small agricultural digging apparatus of stabilization | |
| CN220630195U (en) | A new type of pruning device for cherry planting | |
| CN220965689U (en) | Garden seedling trimming device | |
| CN220674496U (en) | A seedling pruning device for garden engineering | |
| CN215683539U (en) | Dedicated garden equipment of afforestation | |
| CN221863697U (en) | A branch trimmer for municipal gardening | |
| CN220457999U (en) | A seedling pruning machine for municipal engineering | |
| CN221843114U (en) | A foldable garden vegetation pruning device | |
| CN217241586U (en) | Branch trimming means of usefulness is pruned in gardens | |
| CN221554027U (en) | Vine trimming means | |
| CN220511713U (en) | Telescopic and limiting landscaping pruning device | |
| CN217770930U (en) | A special pruning device for slope greening pruning |
Legal Events
| Date | Code | Title | Description |
|---|---|---|---|
| GR01 | Patent grant | ||
| GR01 | Patent grant | ||
| CF01 | Termination of patent right due to non-payment of annual fee | ||
| CF01 | Termination of patent right due to non-payment of annual fee |
Granted publication date: 20230526 |
