CN218922550U - Supporting device for fundus scanning imaging equipment - Google Patents
Supporting device for fundus scanning imaging equipment Download PDFInfo
- Publication number
- CN218922550U CN218922550U CN202222248975.9U CN202222248975U CN218922550U CN 218922550 U CN218922550 U CN 218922550U CN 202222248975 U CN202222248975 U CN 202222248975U CN 218922550 U CN218922550 U CN 218922550U
- Authority
- CN
- China
- Prior art keywords
- fixed
- movable frame
- frame
- movable
- supporting
- Prior art date
- Legal status (The legal status is an assumption and is not a legal conclusion. Google has not performed a legal analysis and makes no representation as to the accuracy of the status listed.)
- Active
Links
- 238000003384 imaging method Methods 0.000 title claims abstract description 44
- 230000005540 biological transmission Effects 0.000 claims description 27
- 230000000149 penetrating effect Effects 0.000 claims description 4
- 230000009286 beneficial effect Effects 0.000 abstract description 3
- 210000003128 head Anatomy 0.000 description 9
- 238000010586 diagram Methods 0.000 description 3
- 230000000694 effects Effects 0.000 description 3
- 230000005489 elastic deformation Effects 0.000 description 3
- 238000002583 angiography Methods 0.000 description 2
- 238000012986 modification Methods 0.000 description 2
- 230000004048 modification Effects 0.000 description 2
- 230000017531 blood circulation Effects 0.000 description 1
- 210000003161 choroid Anatomy 0.000 description 1
- 230000007812 deficiency Effects 0.000 description 1
- 238000003745 diagnosis Methods 0.000 description 1
- 238000004880 explosion Methods 0.000 description 1
- 238000013534 fluorescein angiography Methods 0.000 description 1
- MOFVSTNWEDAEEK-UHFFFAOYSA-M indocyanine green Chemical compound [Na+].[O-]S(=O)(=O)CCCCN1C2=CC=C3C=CC=CC3=C2C(C)(C)C1=CC=CC=CC=CC1=[N+](CCCCS([O-])(=O)=O)C2=CC=C(C=CC=C3)C3=C2C1(C)C MOFVSTNWEDAEEK-UHFFFAOYSA-M 0.000 description 1
- 229960004657 indocyanine green Drugs 0.000 description 1
- 230000003902 lesion Effects 0.000 description 1
- 238000000034 method Methods 0.000 description 1
- 210000001525 retina Anatomy 0.000 description 1
Images
Landscapes
- Eye Examination Apparatus (AREA)
Abstract
本实用新型涉及眼底扫描成像设备技术领域,尤其涉及一种眼底扫描成像设备用支撑装置,包括成像机体,以及设置于成像机体一端的活动框,活动框底部设置有用于调节其高度的支撑机构,活动框内侧设置有用于定位患者眼部的限位机构,支撑机构包括设置于活动框底部并于成像机体固定的定位框。本实用新型有利于扩大了支撑装置高度的调节范围,使得身高相差较大的患者在扫描眼部时更加的舒适,提升了该成像设备支撑装置的实用性,避免现有成像设备支撑装置调节高度的范围较小,对于身高相差较大的患者,其难以调节合适的高度而存在局限性的情况,同时操作简单快捷,提升了对患者进行眼部扫描的稳定性,使得成像机体对眼部扫描成像更加精准。
The utility model relates to the technical field of fundus scanning and imaging equipment, in particular to a supporting device for fundus scanning and imaging equipment, which includes an imaging body and a movable frame arranged at one end of the imaging body. The bottom of the movable frame is provided with a supporting mechanism for adjusting its height. A limit mechanism for positioning the patient's eyes is provided inside the movable frame, and the support mechanism includes a positioning frame arranged at the bottom of the movable frame and fixed to the imaging body. The utility model is beneficial to expand the adjustment range of the height of the supporting device, making patients with large height differences more comfortable when scanning the eyes, improving the practicability of the supporting device of the imaging device, and avoiding the adjustment of the height of the supporting device of the existing imaging device The range is small. For patients with large height differences, it is difficult to adjust the appropriate height and there are limitations. At the same time, the operation is simple and fast, which improves the stability of the patient's eye scan, allowing the imaging body to scan the eye. Imaging is more precise.
Description
技术领域technical field
本实用新型涉及眼底扫描成像设备技术领域,尤其涉及一种眼底扫描成像设备用支撑装置。The utility model relates to the technical field of fundus scanning and imaging equipment, in particular to a supporting device for fundus scanning and imaging equipment.
背景技术Background technique
眼底扫描成像设备可以进行眼底荧光血管造影及吲哚菁绿血管造影,通过造影动态,观察眼底血循环及视网膜、脉络膜层的病变作出准确的诊断。目前的眼底扫描成像设备在使用时一般通过支撑装置先将患者头部定位,在对准其眼部进行扫描成像,现有成像设备的支撑装置大多数可以调节高度,但是调节的范围较小,对于身高相差较大的患者,支撑装置难以调节合适的高度,存在一定的局限性,导致在扫描患者眼部时患者舒适性较差,影响患者扫描眼部时的舒适度,实用性较差。The fundus scanning imaging equipment can perform fundus fluorescein angiography and indocyanine green angiography, and make an accurate diagnosis by observing the blood circulation of the fundus and the lesions of the retina and choroid layer through the angiography. When the current fundus scanning imaging equipment is used, the patient's head is generally positioned first through the support device, and then the patient's eye is scanned and imaged. Most of the support devices of the existing imaging equipment can be adjusted in height, but the adjustment range is small. For patients with a large difference in height, it is difficult to adjust the appropriate height of the support device, which has certain limitations, resulting in poor patient comfort when scanning the patient's eyes, affecting the comfort of the patient when scanning the eyes, and poor practicability.
实用新型内容Utility model content
针对现有技术的不足,本实用新型提供了一种眼底扫描成像设备用支撑装置,解决了现有成像设备支撑装置调节高度的范围较小,对于身高相差较大的患者,支撑装置难以调节合适高度的技术问题,达到了扩大支撑装置调节范围以及提升患者在扫描眼部时舒适度的目的。Aiming at the deficiencies of the prior art, the utility model provides a support device for fundus scanning and imaging equipment, which solves the problem that the height adjustment range of the support device of the existing imaging equipment is small, and it is difficult to adjust the support device appropriately for patients with large height differences. Highly technical problems, to achieve the purpose of expanding the adjustment range of the support device and improving the patient's comfort when scanning the eye.
为解决上述技术问题,本实用新型提供了如下技术方案:一种眼底扫描成像设备用支撑装置,包括成像机体,以及设置于成像机体一端的活动框,所述活动框底部设置有用于调节其高度的支撑机构,活动框内侧设置有用于定位患者眼部的限位机构;In order to solve the above technical problems, the utility model provides the following technical solutions: a support device for fundus scanning and imaging equipment, including an imaging body, and a movable frame arranged at one end of the imaging body, and the bottom of the movable frame is provided for adjusting its height. The supporting mechanism, the inner side of the movable frame is provided with a limit mechanism for positioning the patient's eyes;
所述支撑机构包括设置于活动框底部并于成像机体固定的定位框,以及设置于活动框底部两端的支撑杆,所述活动框底部两端表面均开设有滑动横槽,支撑杆顶部铰接有在滑动横槽内滑动的滑动凸块,支撑杆底部两侧均设有与定位框固定的限位块,两个所述限位块之间固定有贯穿支撑杆底部并与其转动连接的固定轴,支撑机构还包括设置于定位框内侧底部用于带动支撑杆运动的传动组件。The support mechanism includes a positioning frame arranged at the bottom of the movable frame and fixed to the imaging body, and support rods arranged at both ends of the bottom of the movable frame. Both ends of the bottom of the movable frame are provided with sliding transverse grooves, and the top of the support rod is hinged with The sliding lug sliding in the sliding transverse groove, both sides of the bottom of the support rod are provided with limit blocks fixed with the positioning frame, and a fixed shaft that runs through the bottom of the support rod and is rotationally connected with it is fixed between the two limit blocks The support mechanism also includes a transmission assembly arranged at the inner bottom of the positioning frame for driving the movement of the support rod.
进一步地,所述传动组件包括设置于定位框外侧一端的摇把,摇把一侧固定有贯穿定位框并与其通过轴承转动连接的转动轴,转动轴另一端固定有蜗杆,蜗杆一侧设有与转动轴通过轴承转动连接并与定位框固定的限位杆,蜗杆底部啮合传动有蜗轮。Further, the transmission assembly includes a crank handle arranged at one end outside the positioning frame, one side of the crank handle is fixed with a rotating shaft that passes through the positioning frame and is rotatably connected with it through a bearing, the other end of the rotating shaft is fixed with a worm, and one side of the worm is provided with A limit rod that is rotationally connected with the rotating shaft through a bearing and fixed with the positioning frame, and a worm gear that is engaged with the bottom of the worm.
进一步地,两个所述支撑杆底部一侧均设有相互啮合的传动齿轮,传动齿轮一侧啮合有与支撑杆底部固定的不完全齿轮,蜗轮轴心处固定有与定位框通过轴承座转动连接的活动轴,活动轴贯穿其中一个传动齿轮并与其固定连接。Further, the bottom sides of the two support rods are provided with transmission gears that mesh with each other, and one side of the transmission gears is meshed with an incomplete gear that is fixed to the bottom of the support rods. A connected movable shaft runs through one of the transmission gears and is fixedly connected with it.
进一步地,所述限位机构包括设置于活动框内侧底部的托板,以及设置于活动框内侧顶部的弧形压板,托板底部设有与活动框固定的连接框一,弧形压板顶部设有用于调节其位置的调节组件。Further, the limit mechanism includes a supporting plate arranged at the inner bottom of the movable frame, and an arc-shaped pressing plate arranged at the inner top of the movable frame. There are adjustment components for adjusting its position.
进一步地,所述托板底部固定有贯穿连接框一顶部并与其滑动连接的活动竖杆,活动竖杆底部固定有与活动框固定的弹簧一。Further, the bottom of the pallet is fixed with a movable vertical bar that runs through the top of the connecting
进一步地,所述弧形压板两端均固定有滑动块,活动框顶部两侧均开设有与滑动块滑动连接的滑动竖槽,滑动块顶部固定有与活动框固定的弹簧二。Further, sliding blocks are fixed at both ends of the arc-shaped pressing plate, sliding vertical grooves slidingly connected with the sliding blocks are provided on both sides of the top of the movable frame, and a spring two fixed to the movable frame is fixed on the top of the sliding block.
进一步地,所述调节组件包括设置于活动框顶部的旋钮,旋钮底部固定有与活动框通过轴承转动连接的螺纹杆,弧形压板顶部固定有连接框二,螺纹杆底部贯穿连接框二并与其螺纹连接。Further, the adjustment assembly includes a knob arranged on the top of the movable frame, the bottom of the knob is fixed with a threaded rod that is rotatably connected with the movable frame through a bearing, the top of the arc-shaped pressing plate is fixed with the second connecting frame, and the bottom of the threaded rod penetrates the second connecting frame and connects with it. threaded connection.
本实用新型提供了一种眼底扫描成像设备用支撑装置,具备以下有益效果:The utility model provides a support device for fundus scanning and imaging equipment, which has the following beneficial effects:
1、本实用新型通过设置支撑机构来调节活动框至合适的高度,以便于身高相差较大的患者进行眼部的扫描,首先根据患者身高,由于支撑机构调节高度的范围较大,将活动框调节至合适的高度,患者的头部放置在活动框内通过成像机体对患者眼部进行扫描成像,有利于扩大了支撑装置高度的调节范围,使得身高相差较大的患者在扫描眼部时更加的舒适,提升了该成像设备支撑装置的实用性,避免现有成像设备支撑装置调节高度的范围较小,对于身高相差较大的患者,其难以调节合适的高度而存在局限性的情况。1. The utility model adjusts the movable frame to a suitable height by setting a supporting mechanism, so that patients with a large height difference can scan the eyes. Adjust to a suitable height, the patient's head is placed in the movable frame to scan and image the patient's eyes through the imaging body, which is beneficial to expand the adjustment range of the height of the support device, making it easier for patients with large height differences to scan the eyes. The comfort improves the practicability of the imaging equipment support device, and avoids the limited height adjustment range of the existing imaging equipment support device. For patients with large height differences, it is difficult to adjust the appropriate height and there are limitations.
2、本实用新型通过在活动框内设置限位机构来对患者头部进行简单定位,以便于在扫描患者眼部时更加的稳定,患者的下巴放置在托板上,接着通过调节组件调节弧形压板的高度,弧形压板与患者头顶相接触,将患者的头部进行简单定位,操作简单快捷,提升了对患者进行眼部扫描的稳定性,使得成像机体对眼部扫描成像更加精准。2. The utility model simply positions the patient's head by setting a limit mechanism in the movable frame, so as to be more stable when scanning the patient's eyes. The patient's chin is placed on the supporting plate, and then the arc is adjusted through the adjustment component The height of the shaped pressure plate, the arc-shaped pressure plate is in contact with the top of the patient's head, and the patient's head can be easily positioned, and the operation is simple and fast, which improves the stability of the patient's eye scan and makes the imaging body more accurate for the eye scan.
附图说明Description of drawings
图1为本实用新型整体结构示意图;Fig. 1 is a schematic diagram of the overall structure of the utility model;
图2为本实用新型正面立体剖视图;Fig. 2 is a front perspective cutaway view of the utility model;
图3为本实用新型局部侧面立体剖视图;Fig. 3 is a partial side perspective sectional view of the utility model;
图4为本实用新型支撑机构的爆炸示意图;Fig. 4 is the explosion schematic diagram of the support mechanism of the present utility model;
图5为本实用新型限位机构的爆炸示意图。Fig. 5 is an exploded schematic diagram of the limit mechanism of the present invention.
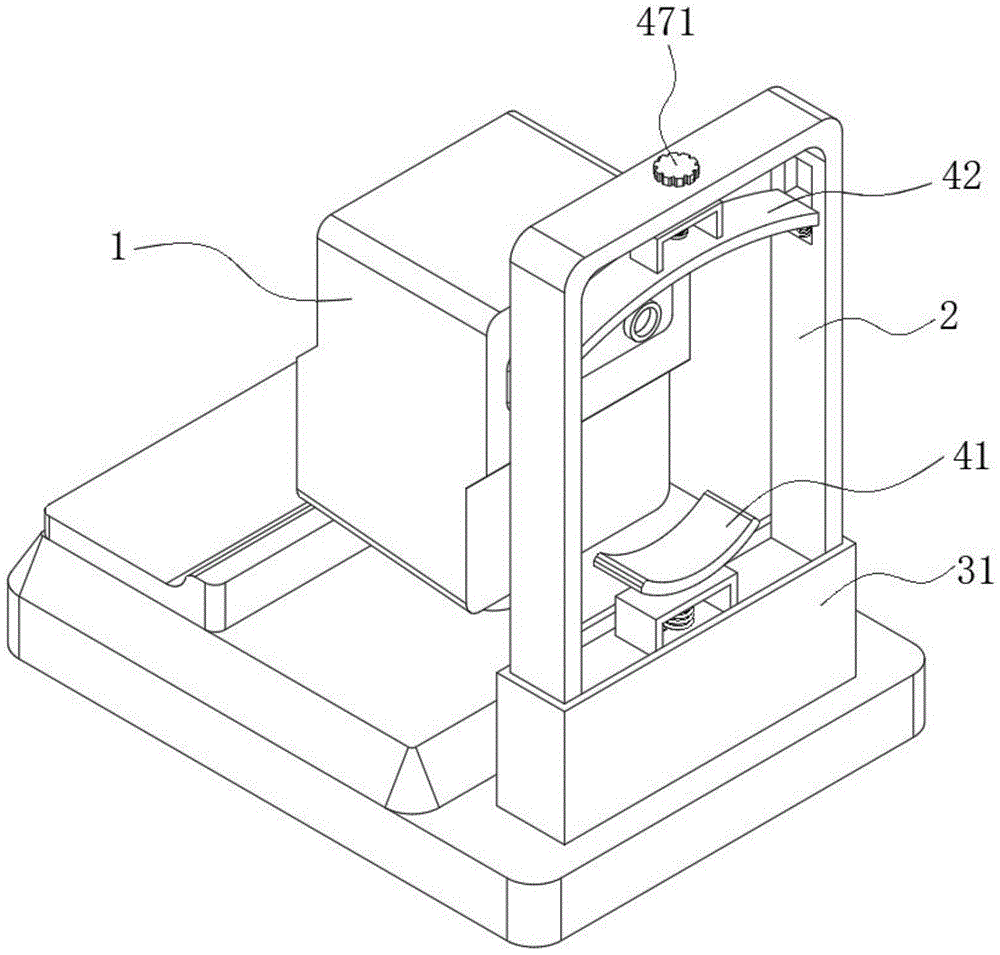
图中:1、成像机体;2、活动框;3、支撑机构;31、定位框;32、支撑杆;33、滑动横槽;34、滑动凸块;35、限位块;36、固定轴;37、传动组件;371、摇把;372、转动轴;373、蜗杆;374、限位杆;375、蜗轮;376、传动齿轮;377、不完全齿轮;378、活动轴;4、限位机构;41、托板;42、弧形压板;43、连接框一;44、活动竖杆;45、滑动块;46、滑动竖槽;47、调节组件;471、旋钮;472、螺纹杆;473、连接框二。In the figure: 1. imaging body; 2. movable frame; 3. supporting mechanism; 31. positioning frame; 32. supporting rod; 33. sliding transverse groove; 34. sliding protrusion; 37, transmission assembly; 371, crank handle; 372, rotating shaft; 373, worm; 374, limit rod; 375, worm gear; 376, transmission gear; 377, incomplete gear; 378, movable shaft; 4, limit Mechanism; 41, supporting plate; 42, arc-shaped pressing plate; 43, connecting frame one; 44, movable vertical rod; 45, sliding block; 46, sliding vertical groove; 47, adjusting component; 471, knob; 472, threaded rod; 473. Connect frame two.
具体实施方式Detailed ways
下面将结合本实用新型实施例中的附图,对本实用新型实施例中的技术方案进行清楚、完整地描述,显然,所描述的实施例仅仅是本实用新型一部分实施例,而不是全部的实施例。基于本实用新型中的实施例,本领域普通技术人员在没有做出创造性劳动前提下所获得的所有其他实施例,都属于本实用新型保护的范围。The technical solutions in the embodiments of the present invention will be clearly and completely described below in conjunction with the accompanying drawings in the embodiments of the present invention. Obviously, the described embodiments are only part of the embodiments of the present invention, not all of them. example. Based on the embodiments of the present utility model, all other embodiments obtained by persons of ordinary skill in the art without making creative efforts belong to the scope of protection of the present utility model.
请参阅图1-图5,本实用新型提供了一种技术方案:一种眼底扫描成像设备用支撑装置,包括成像机体1,以及设置于成像机体1一端的活动框2,活动框2底部设置有用于调节其高度的支撑机构3,活动框2内侧设置有用于定位患者眼部的限位机构4,成像机体1即为眼底扫描成像设备,其属于本领域内技术人员的公知常识,其内部结构本方案中不作过多赘述。Please refer to Fig. 1-Fig. 5, the utility model provides a technical solution: a supporting device for fundus scanning imaging equipment, including an
支撑机构3用于调节活动框2至合适的高度,以便于身高相差较大的患者进行眼部的扫描,限位机构4用于对患者头部进行简单定位,以便于在扫描患者眼部时更加的稳定,扩大了支撑装置高度的调节范围,使得身高相差较大的患者在扫描眼部时更加的舒适。The
支撑机构3包括设置于活动框2底部并于成像机体1固定的定位框31,以及设置于活动框2底部两端的支撑杆32,活动框2底部两端表面均开设有滑动横槽33,支撑杆32顶部铰接有在滑动横槽33内滑动的滑动凸块34,支撑杆32底部两侧均设有与定位框31固定的限位块35,两个限位块35之间固定有贯穿支撑杆32底部并与其转动连接的固定轴36,支撑机构3还包括设置于定位框31内侧底部用于带动支撑杆32运动的传动组件37,支撑杆32底端围绕固定轴36转动时,支撑杆32的倾斜角度发生改变,支撑杆32顶端的高度也发生改变,支撑杆32顶端铰接的滑动凸块34在活动框2底部的滑动横槽33内滑动,以此调节活动框2在定位框31内的高度。The
限位机构4包括设置于活动框2内侧底部的托板41,以及设置于活动框2内侧顶部的弧形压板42,托板41上表面和弧形压板42下表面均固定设置有软垫,托板41底部设有与活动框2固定的连接框一43,托板41底部固定有贯穿连接框一43顶部并与其滑动连接的活动竖杆44,活动竖杆44底部固定有与活动框2固定的弹簧一,弧形压板42两端均固定有滑动块45,活动框2顶部两侧均开设有与滑动块45滑动连接的滑动竖槽46,滑动块45顶部固定有与活动框2固定的弹簧二,弧形压板42顶部设有用于调节其位置的调节组件47,患者的下巴放置在托板41上,患者向下挤压托板41,托板41向下推动活动竖杆44,活动竖杆44挤压弹簧二,弹簧二产生弹性形变被压缩,弹簧二产生一定的反作用力,通过活动竖杆44为托板41提供缓冲作用,使得患者在扫描眼部时更加舒适。The limit mechanism 4 includes a supporting
具体的,传动组件37包括设置于定位框31外侧一端的摇把371,摇把371一侧固定有贯穿定位框31并与其通过轴承转动连接的转动轴372,转动轴372另一端固定有蜗杆373,蜗杆373一侧设有与转动轴372通过轴承转动连接并与定位框31固定的限位杆374,蜗杆373底部啮合传动有蜗轮375,两个支撑杆32底部一侧均设有相互啮合的传动齿轮376,传动齿轮376一侧啮合有与支撑杆32底部固定的不完全齿轮377,两个传动齿轮376在旋转时分别带动不完全齿轮377的旋转方向相反,蜗轮375轴心处固定有与定位框31通过轴承座转动连接的活动轴378,活动轴378贯穿其中一个传动齿轮376并与其固定连接,通过转动摇把371带动其一侧的转动轴372旋转,转动轴372带动其端部的蜗杆373发生转动,蜗杆373带动其底部的蜗轮375发生旋转,蜗轮375带动其轴心处的活动轴378发生转动,活动轴378带动其中一个传动齿轮376发生旋转,由于两个传动齿轮376之间相互啮合,两个传动齿轮376同时发生旋转,两个传动齿轮376分别带动两个不完全齿轮377发生转动,不完全齿轮377带动支撑杆32底端发生转动。Specifically, the
具体的,调节组件47包括设置于活动框2顶部的旋钮471,旋钮471底部固定有与活动框2通过轴承转动连接的螺纹杆472,螺纹杆472与轴承内侧接触的部分是光滑的,弧形压板42顶部固定有连接框二473,螺纹杆472底部贯穿连接框二473并与其螺纹连接,通过旋转旋钮471,旋钮471带动其底部的螺纹杆472转动,螺纹杆472旋转的同时带动连接框二473向下运动,连接框二473带动其底部的弧形压板42向下运动,弧形压板42与患者头顶相接触。Specifically, the
本实施例中,在对患者进行眼部扫描时,首先根据患者的实际身高,转动摇把371,摇把371带动其一侧的转动轴372旋转,转动轴372带动其端部的蜗杆373发生转动,蜗杆373带动其底部的蜗轮375发生旋转,蜗轮375带动其轴心处的活动轴378发生转动,活动轴378带动其中一个传动齿轮376发生旋转,其中一个传动齿轮376带动另一个传动齿轮376发生转动,两个传动齿轮376同时发生旋转,两个传动齿轮376分别带动两个不完全齿轮377发生转动,不完全齿轮377带动支撑杆32底端发生转动,支撑杆32底端围绕固定轴36转动一定的角度,支撑杆32的倾斜角度发生改变之后,支撑杆32顶端的高度也发生改变,由于支撑杆32顶端铰接的滑动凸块34在活动框2底部的滑动横槽33内滑动,从而改变了活动框2在定位框31内的高度,以此将活动框2调节至适合患者使用的高度;In this embodiment, when scanning the eyes of the patient, firstly, according to the actual height of the patient, the
接着患者将其头部放置在活动框2内侧,患者的下巴放置在托板41上,患者向下挤压托板41,托板41向下推动活动竖杆44,活动竖杆44挤压弹簧二,弹簧二产生弹性形变被压缩,弹簧二产生一定的反作用力,通过活动竖杆44为托板41提供缓冲作用,使得患者在扫描眼部时更加舒适,接着旋转旋钮471,旋钮471带动其底部的螺纹杆472转动,螺纹杆472旋转的同时带动连接框二473向下运动,连接框二473带动其底部的弧形压板42向下运动,同时弧形压板42带动其两端的滑动块45向下运动,滑动块45在滑动竖槽46内向下滑动,滑动块45向下挤压弹簧一,弹簧一产生弹性形变被压缩,通过滑动块45为弧形压板42提供一定的缓冲作用,调节弧形压板42至合适的高度,弧形压板42与患者头顶相接触,将患者的头部进行简单定位,接着通过成像机体1对患者眼部进行扫描成像。Then the patient places its head on the inside of the
尽管已经示出和描述了本实用新型的实施例,对于本领域的普通技术人员而言,可以理解在不脱离本实用新型的原理和精神的情况下可以对这些实施例进行多种变化、修改、替换和变型,本实用新型的范围由所附权利要求及其等同物限定。Although the embodiments of the present invention have been shown and described, those skilled in the art can understand that various changes and modifications can be made to these embodiments without departing from the principle and spirit of the present invention , replacements and modifications, the scope of the present utility model is defined by the appended claims and their equivalents.
Claims (7)
Priority Applications (1)
| Application Number | Priority Date | Filing Date | Title |
|---|---|---|---|
| CN202222248975.9U CN218922550U (en) | 2022-08-25 | 2022-08-25 | Supporting device for fundus scanning imaging equipment |
Applications Claiming Priority (1)
| Application Number | Priority Date | Filing Date | Title |
|---|---|---|---|
| CN202222248975.9U CN218922550U (en) | 2022-08-25 | 2022-08-25 | Supporting device for fundus scanning imaging equipment |
Publications (1)
| Publication Number | Publication Date |
|---|---|
| CN218922550U true CN218922550U (en) | 2023-04-28 |
Family
ID=86094343
Family Applications (1)
| Application Number | Title | Priority Date | Filing Date |
|---|---|---|---|
| CN202222248975.9U Active CN218922550U (en) | 2022-08-25 | 2022-08-25 | Supporting device for fundus scanning imaging equipment |
Country Status (1)
| Country | Link |
|---|---|
| CN (1) | CN218922550U (en) |
Cited By (1)
| Publication number | Priority date | Publication date | Assignee | Title |
|---|---|---|---|---|
| CN116650294A (en) * | 2023-07-31 | 2023-08-29 | 湖南臻和亦康医疗用品有限公司 | Physiotherapy instrument for eyes |
-
2022
- 2022-08-25 CN CN202222248975.9U patent/CN218922550U/en active Active
Cited By (2)
| Publication number | Priority date | Publication date | Assignee | Title |
|---|---|---|---|---|
| CN116650294A (en) * | 2023-07-31 | 2023-08-29 | 湖南臻和亦康医疗用品有限公司 | Physiotherapy instrument for eyes |
| CN116650294B (en) * | 2023-07-31 | 2023-09-26 | 湖南臻和亦康医疗用品有限公司 | Physiotherapy instrument for eyes |
Similar Documents
| Publication | Publication Date | Title |
|---|---|---|
| CN218922550U (en) | Supporting device for fundus scanning imaging equipment | |
| CN112370010A (en) | Ophthalmic easy-to-use type inspection device | |
| CN115487017A (en) | Multifunctional prone position nursing mattress | |
| CN115363564A (en) | Neck magnetic resonance imaging coil sliding positioning device for Parkinson's disease | |
| CN219206892U (en) | Lifting Mechanism Control Components | |
| CN113171055A (en) | An easily adjustable auxiliary vision test device for ophthalmology | |
| CN220513081U (en) | Adjustable head fixing device for ophthalmopathy inspection | |
| CN207928310U (en) | Suitable for carrying out the slit-lamp microscope of eye detection to the elderly | |
| CN215938059U (en) | Supporting frame for postoperative patient with eye fundus disease | |
| CN219354435U (en) | Joint surgery nursing seat | |
| CN213821352U (en) | Ophthalmology examination nursing platform | |
| CN221691677U (en) | A retinal detachment surgery repositioning auxiliary seat | |
| CN215959825U (en) | Fundus camera supporting device | |
| CN115444687A (en) | A nursing bed for dysphagia patient | |
| CN221844669U (en) | Hand-held type eyeground disease screening device | |
| CN113712498A (en) | Traditional chinese medical science ophthalmology inspection desk | |
| CN209059855U (en) | An easily adjustable examination table for ophthalmology | |
| CN218247727U (en) | Lumbar headrest for surgery | |
| CN219538514U (en) | A head anti-disturbance device for surgical assistance | |
| CN219629648U (en) | Multifunctional seat for heart D-SPECT detection | |
| CN223416246U (en) | An ultrasonic automatic scanning medical imaging device | |
| CN219271460U (en) | Assistive device for rehabilitation training | |
| CN212521814U (en) | Equipment for B ultrasonic examination convenient to remove | |
| CN222265694U (en) | Waist rehabilitation nursing device | |
| CN115778709B (en) | Multifunctional ophthalmology nursing bed |
Legal Events
| Date | Code | Title | Description |
|---|---|---|---|
| GR01 | Patent grant | ||
| GR01 | Patent grant | ||
| CP03 | Change of name, title or address | ||
| CP03 | Change of name, title or address |
Address after: 211100 Dongqi Road, Dongshan street, Jiangning District, Nanjing, Jiangsu 33 Patentee after: Zhongke Taiming (Nanjing) Technology Co.,Ltd. Country or region after: China Address before: 211100 Dongqi Road, Dongshan street, Jiangning District, Nanjing, Jiangsu 33 Patentee before: NANJING TAIMING BIOLOGICAL TECHNOLOGY CO.,LTD. Country or region before: China |
