CN218899687U - A walking supine unit for endovascular surgery in urology - Google Patents
A walking supine unit for endovascular surgery in urology Download PDFInfo
- Publication number
- CN218899687U CN218899687U CN202320145151.0U CN202320145151U CN218899687U CN 218899687 U CN218899687 U CN 218899687U CN 202320145151 U CN202320145151 U CN 202320145151U CN 218899687 U CN218899687 U CN 218899687U
- Authority
- CN
- China
- Prior art keywords
- drape
- walking
- supine
- surgical drape
- sheet
- Prior art date
- Legal status (The legal status is an assumption and is not a legal conclusion. Google has not performed a legal analysis and makes no representation as to the accuracy of the status listed.)
- Expired - Fee Related
Links
Images
Landscapes
- Accommodation For Nursing Or Treatment Tables (AREA)
Abstract
本实用新型涉及一种泌尿外科腔内手术行走卧位单,包括卧位手术主单,所述的卧位手术主单还包括覆盖患者背部操作部位的第一手术单及覆盖患者背部以下会阴部、腿部的第二手术单;所述的第一手术单和第二手术单上设置有多个开口,在所述第一手术单和第二手术单的一侧面上均设置有粘性敷料,所述的第一手术单和第二手术单之间可通过粘性敷料进行覆盖固定;其优点表现在:本实用新型结构简单,操作方便,整体结构采用采取行走卧位式结构,进而能够匹配患者的手术操作,减轻了手术中的工作负担,降低了手术的难度,提高了手术效率。
The utility model relates to a urology intracavitary surgery walking supine drape, which comprises a supine operation main drapes, and the supine operation main drapes also include a first operation drapes covering the operating parts on the patient's back and covering the perineum below the patient's back. , the second surgical drape of the legs; the first surgical drape and the second surgical drape are provided with a plurality of openings, and an adhesive dressing is arranged on one side of the first surgical drape and the second surgical drape, The first surgical drape and the second surgical drape can be covered and fixed by an adhesive dressing; the advantages of the utility model are: the utility model is simple in structure, easy to operate, and the overall structure adopts a walking and lying position structure, which can further match the patient's The operation of the operation reduces the workload of the operation, reduces the difficulty of the operation, and improves the efficiency of the operation.
Description
技术领域technical field
本实用新型涉及医疗辅助技术领域,具体地说,是一种泌尿外科腔内手术行走卧位单。The utility model relates to the technical field of medical assistance, in particular to a walking supine unit for intracavitary surgery in urology.
背景技术Background technique
随着微创技术的发展和设备的不断更新,双镜联合手术在处理复杂结石中应用越来越广泛;双镜联合手术通常包括但不限于(经皮肾镜+输尿管镜、腹腔镜+输尿管镜、腹腔镜+胆道镜等),而在目前的经皮肾镜+输尿管镜的双镜联合手术中,需要患者的体位以斜仰卧截石位为主,也就是通常所采取的行走卧位,并且为了保持视野的清晰,需要持续注水及冲洗。With the development of minimally invasive technology and continuous updating of equipment, combined double-lens surgery has become more and more widely used in the treatment of complex stones; combined double-lens surgery usually includes but is not limited to (percutaneous nephroscopy + ureteroscopy, laparoscopy + ureteroscopy) endoscopy, laparoscopy + choledochoscopy, etc.), and in the current double-lens combined operation of percutaneous nephroscopy + ureteroscopy, the patient's body position is mainly in the oblique supine lithotomy position, that is, the walking and lying position usually adopted , and in order to maintain a clear view, continuous water injection and flushing are required.
传统的手术护理中,通常采用传统的截石位包即传统的无菌铺巾,进行隔离和保持术中操作位置的无菌。但传统的截石位包已无法满足该术式,其大单与该体位不服帖,操作位置无法保证无菌,且常常有冲洗液自大单间隙渗入手术床,导致手术过程中,患者髋关节内侧长时间浸泡在潮湿环境中,增加该部位压红、压疮的风险;由于结石相对复杂,手术时间较长,患者甚至出现低体温现象,进而增加围手术期风险。In traditional surgical care, traditional lithotomy kits, ie traditional sterile drapes, are usually used to isolate and maintain the sterility of the operating site during surgery. However, the traditional lithotomy position bag can no longer meet the surgical procedure, the large sheet does not conform to the body position, the operating position cannot guarantee sterility, and the irrigation fluid often seeps into the operating bed from the gap of the large sheet, resulting in the patient's hip injury during the operation. The inner side of the joint is soaked in a humid environment for a long time, which increases the risk of redness and pressure sores in this area; due to the relatively complicated stones and the long operation time, the patient may even experience hypothermia, which increases the risk of perioperative period.
中国专利申请:CN203263554U公开了一种手术用床单,包括:主床单,与手术床的床垫相对应,通过侧边缘部固定在床垫上;副床单,交叉固定在主床单上;以及遮面部,连接在主床单的一端,与患者面部相对应,用于遮掩患者的面部,其中,副床单具有两个遮臂部,用于遮盖并固定患者的手臂。该装置通过交叉设置的主床单和副床单,通过副床单上的两个遮臂部,固定患者的手臂,但无法在截石位、分腿位等需要将双腿分开手术时使用,其适用范围小,增加术者负担。Chinese patent application: CN203263554U discloses a bed sheet for surgery, comprising: a main bed sheet, corresponding to the mattress of the operating bed, fixed on the mattress through side edges; an auxiliary bed sheet, cross-fixed on the main bed sheet; and a face covering , connected to one end of the main bed sheet, corresponding to the patient's face, used to cover the patient's face, wherein, the auxiliary bed sheet has two covering arms, used to cover and fix the patient's arms. This device fixes the patient's arm through the cross-set main sheet and auxiliary sheet, and through the two arm covering parts on the auxiliary sheet, but it cannot be used in lithotomy position, leg separation position, etc. when the legs need to be separated for surgery, and it is applicable The range is small, increasing the operator's burden.
所以综上所述,现亟需要一种双镜联合处理复杂性结石手术所用行走卧位单,使得该包铺巾更贴合操作部位,保证该操作部位的无菌,减少感染的发生;同时防止冲洗液漏出造成患者的低体温,降低围手术期的风险,但是关于这种新型的行走卧位单,目前还未见报道。Therefore, in summary, there is an urgent need for a double-mirror joint treatment of complex calculus surgery, which is used in a walking and lying position, so that the drape fits the operation site more closely, ensures the sterility of the operation site, and reduces the occurrence of infection; at the same time It can prevent the hypothermia of the patient caused by the leakage of the irrigation fluid and reduce the risk of the perioperative period. However, there is no report on this new type of walking and lying unit.
发明内容Contents of the invention
本实用新型的目的是解决上述中所存在的问题,对于此特提供一种泌尿外科腔内手术行走卧位单。The purpose of this utility model is to solve the above-mentioned problems, and to this end, a walking lying unit for intracavitary surgery of urology is provided.
为实现上述目的,本实用新型采取的技术方案是:In order to achieve the above object, the technical scheme that the utility model takes is:
一种泌尿外科腔内手术行走卧位单,包括行走卧位手术主单,所述的行走卧位手术主单还包括覆盖患者背部操作部位的第一手术单及覆盖患者背部以下会阴部、腿部的第二手术单;所述的第一手术单和第二手术单上设置有多个开口,在所述第一手术单和第二手术单的一侧面上均设置有粘性敷料,所述的第一手术单和第二手术单之间可通过粘性敷料进行覆盖固定。A urology intracavity surgery walking supine drapes, comprising a walking recumbent surgery master drapes, said walking recumbent surgery master drapes also include a first surgical drapes covering the operation site on the patient's back and covering the perineum and legs below the patient's back. The second surgical drape of the part; the first surgical drape and the second surgical drape are provided with a plurality of openings, and adhesive dressings are arranged on one side of the first surgical drape and the second surgical drape, and the The adhesive dressing can be used to cover and fix the first surgical drape and the second surgical drape.
作为一个优选方案,在分腿第二手术单一端上设置有U型连接单,所述的U型连接单包括前侧单和另外两块覆盖患者的双腿单,且呈上下分布。As a preferred solution, a U-shaped connecting sheet is arranged on the end of the second operation single of the legs, and the U-shaped connecting sheet includes the front sheet and two other sheets covering the patient's legs, which are distributed up and down.
作为一个优选方案,所述的第二手术单上的开口分别设置在第二手术单前侧单和上下双腿单上。As a preferred solution, the openings on the second operation drape are respectively arranged on the front side sheet and the upper and lower leg sheets of the second operation sheet.
作为一个优选方案,所述的开口下方设置有集水袋,在靠近集水袋的底部位置还设置有放水阀。As a preferred solution, a water collection bag is provided below the opening, and a water discharge valve is also provided near the bottom of the water collection bag.
作为一个优选方案,所述的集水袋内还设置有过滤网。As a preferred solution, a filter screen is also arranged in the water collection bag.
作为一个优选方案,所述开口的底部周边也设置有粘性敷料。As a preferred solution, the bottom periphery of the opening is also provided with an adhesive dressing.
作为一个优选方案,所述的第一手术单与第二手术单的一侧均设置有置物袋。As a preferred solution, both sides of the first surgical drape and the second surgical drape are provided with pockets.
作为一个优选方案,所述的第一手术单与第二手术单均选用一次性辅料。As a preferred solution, both the first surgical drape and the second surgical drape use disposable auxiliary materials.
本实用新型优点在于:The utility model has the advantages that:
1、本实用新型结构简单,操作方便,整体结构采用采取行走卧位式结构,能够匹配患者的手术操作,减轻了手术中的工作负担,降低了手术的难度,提高了手术效率。1. The utility model has a simple structure and is easy to operate. The overall structure adopts a walking and lying position structure, which can match the operation of the patient, reduce the workload during the operation, reduce the difficulty of the operation, and improve the efficiency of the operation.
2、本实用新型中所述集水袋的设置能够便于对冲洗液的收集和向外引流,其内部过滤网的设置能够自动过滤结石或相关组织,避免其堵塞。2. The setting of the water collection bag in the utility model can facilitate the collection and outward drainage of the flushing liquid, and the setting of the internal filter can automatically filter stones or related tissues to avoid its blockage.
3、本实用新型中所述开口的底部周边的粘性敷料,能够将开口处固定在患者皮肤上,从而实现对手术区域的固定,从而防止手术中手术单因器械操作而使洞口移位遮挡手术切口位置,提高操作者使用的便捷性。3. The viscous dressing around the bottom of the opening described in the utility model can fix the opening on the patient's skin, thereby realizing the fixation of the operation area, thereby preventing the operation sheet from shifting and blocking the operation due to the operation of the instrument The incision position improves the convenience of the operator.
附图说明Description of drawings
附图1是本实用新型中所述泌尿外科腔内手术行走卧位单的结构示意图。Accompanying drawing 1 is the structure schematic diagram of walking supine unit for intracavitary operation of urology described in the utility model.
附图2是本实用新型中所述泌尿外科腔内手术行走卧位单折叠示意图。Accompanying
附图3是本实用新型中所述第一手术单与第二手术单的连接示意图。Accompanying
附图4是本实用新型中所述开口以及开口上集水袋的局部结构示意图。Accompanying
具体实施方式Detailed ways
下面结合具体实施方式,进一步阐述本实用新型。应理解,这些实施例仅用于说明本实用新型而不用于限制本实用新型的范围。此外应理解,在阅读了本实用新型记载的内容之后,本领域技术人员可以对本实用新型作各种改动或修改,这些等价形式同样落于本申请所附权利要求书所限定的范围。Below in conjunction with specific embodiment, further elaborate the utility model. It should be understood that these embodiments are only used to illustrate the present utility model and are not intended to limit the scope of the present utility model. In addition, it should be understood that after reading the contents of the utility model, those skilled in the art can make various changes or modifications to the utility model, and these equivalent forms also fall within the scope defined by the appended claims of the application.
附图中涉及的附图标记和组成部分如下所示:The reference signs and components involved in the accompanying drawings are as follows:
实施例1Example 1
请参见附图1-4所示,附图1是本实用新型中所述泌尿外科腔内手术行走卧位单的结构示意图。附图2是本实用新型中所述泌尿外科腔内手术行走卧位单折叠示意图。附图3是本实用新型中所述第一手术单与第二手术单的连接示意图。附图4是本实用新型中所述开口以及开口上集水袋的局部结构示意图。Please refer to accompanying drawings 1-4. Accompanying drawing 1 is a schematic structural view of the walking supine unit for intracavitary surgery of urology described in the utility model. Accompanying
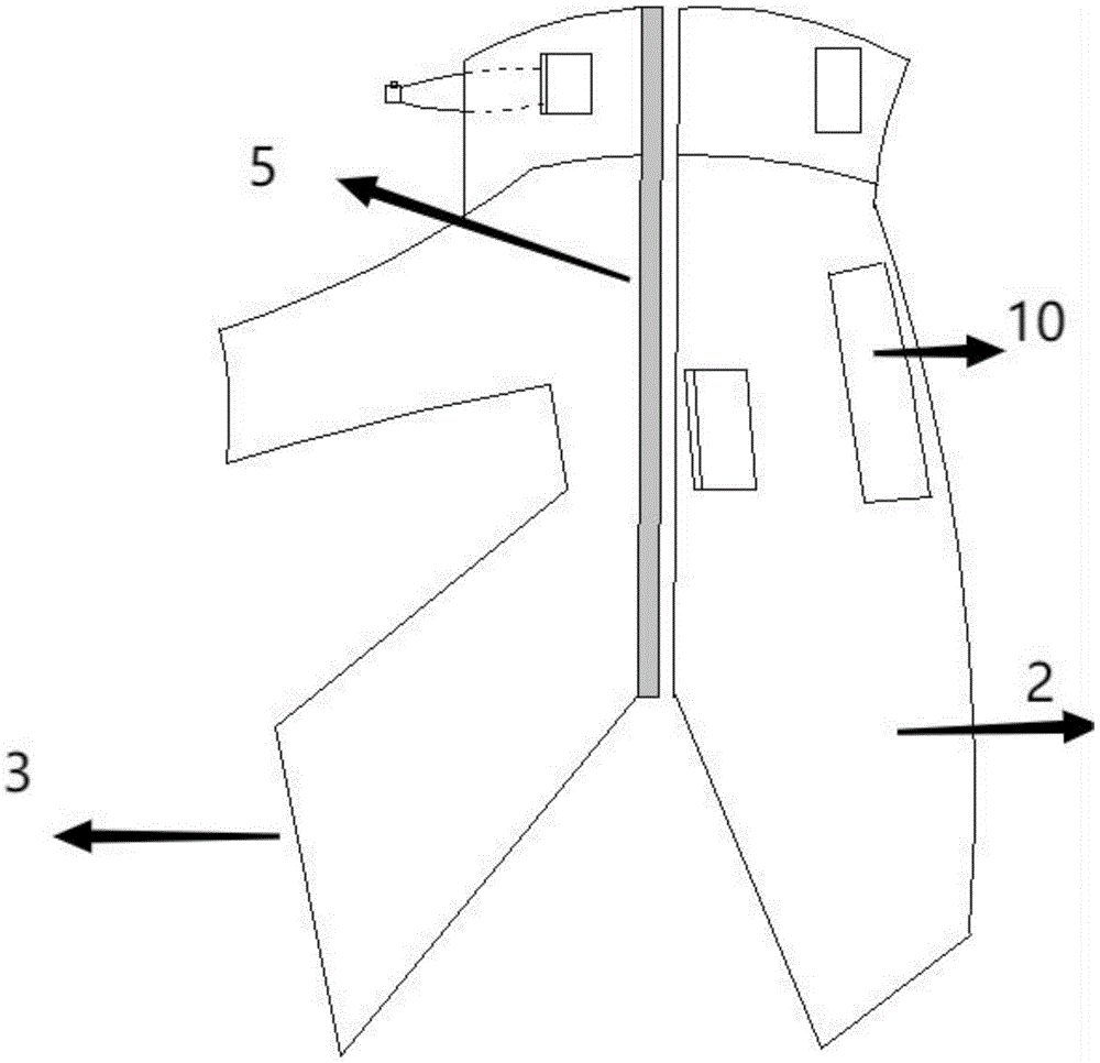
随着微创技术的发展和设备的不断更新,双镜联合手术在处理复杂结石中应用越来越广泛,而本装置主要涉及一种双镜联合腔内手术的行走卧位单,众所周知,在进行经皮肾包和内镜截石位包手术时,其手术操作通常采用行走卧位,因此本申请整体为“行走卧位”式结构,以匹配患者的手术需求,其具体改进的对象主要为手术主单,且改进后的手术主单更贴合操作部位,保证该操作部位的无菌,减少感染的发生;同时防止冲洗液漏出造成患者的低体温,降低围手术期的风险;对此本装置具体包括行走卧位手术主单1,所述的行走卧位手术主单1还包括覆盖患者背部操作部位的第一手术单2及覆盖患者背部以下会阴部、腿部的第二手术单3;所述的第一手术单2和第二手术单3上设置有多个开口4,所述的开口4对应患者的手术部位,在所述第一手术单2和第二手术单3的一侧面上均设置有粘性敷料5,所述的第一手术单2和第二手术单3之间可通过粘性敷料5进行覆盖固定,使用时,将第一手术单2放置在患者的上方,所述的第二手术单3放置于患者的下方,其第一手术单2与第二手术单3之间通过粘性敷料5的粘性进行从侧面固定,其两者之间在固定的时候,会存在重叠部分,其为了稳定固定期间也可在重叠部分在设置贴条进行固定,进而能够扩大无菌面,避免术中污染。With the development of minimally invasive technology and continuous updating of equipment, double-lens combined surgery is more and more widely used in the treatment of complex stones, and this device mainly involves a double-lens combined intracavitary surgery. When performing percutaneous nephrotomy and endoscopic lithotomy operations, the surgical operation usually adopts a walking and lying position, so the overall structure of this application is a "walking and lying position" to match the surgical needs of patients. The specific improvement objects are mainly It is the surgical main sheet, and the improved surgical main sheet is more suitable for the operation site to ensure the sterility of the operation site and reduce the occurrence of infection; at the same time, it prevents the patient from hypothermia caused by the leakage of the flushing fluid and reduces the risk of the perioperative period; This device specifically includes the walking and supine operation main sheet 1, and the walking and lying operation main sheet 1 also includes the
在本实施例中,优选所述的手术单整体呈行走卧位状,且与人体的行走卧位结构相匹配,对应的在分腿第二手术单一端上设置有U型连接单6,所述的U型连接单6包括前侧单和另外两块覆盖患者的双腿单,且呈上下分布,所述的第二手术单上的开口分别设置在第二手术单前侧单和上下双腿单上;进而可满足操作人员对患者进行双镜联合处理复杂性截石手术,提高操作人员手术的便捷性,减少不必要的工作流程,提高工作的效率。In this embodiment, preferably, the surgical drapes are in a walking and lying position as a whole, and match the structure of the human body in a walking and lying position. Correspondingly, a U-shaped connecting sheet 6 is arranged on the second operating single end of the legs, so that The U-shaped connecting sheet 6 includes the front sheet and two other sheets covering the patient's legs, which are distributed up and down, and the openings on the second operating sheet are respectively arranged on the front sheet and the upper and lower double sheets The legs are on the single sheet; in turn, it can satisfy the operator to perform complex lithotomy on the patient with double mirrors, improve the convenience of the operator, reduce unnecessary work processes, and improve work efficiency.
在本实施例中,优选所述的开口4下方设置有集水袋7,在靠近集水袋7的底部位置还设置有放水阀8,所述的集水袋7内还设置有过滤网9;在使用时,其冲洗后的液体可通过引流管流入至集水袋7内,并通过集水袋7内的过滤网9进行过滤,最后累积到一定体积后,通过放水阀8进行放出,从而可便于对冲洗液的收集和向外引流;且所述过滤网9的设置能够自动过滤结石或相关组织,避免其堵塞,影响液体的引流和收集。In this embodiment, preferably, a
在本实施例中,优选所述开口4的底部周边也设置有粘性敷料5,本装置所述的开口4可便于操作人员对患者部位进行手术操作,其相当于一个切口,可使用病症暴露出来。其周边上的粘性敷,能够将切口固定在患者皮肤上,从而实现对手术区域的固定,从而防止手术中手术单因器械操作而使洞口移位遮挡手术切口位置,提高操作者使用的便捷性,提高了手术的效率。In this embodiment, it is preferable that the bottom periphery of the
在本实施例中,优选所述的第一手术单2与第二手术单3的一侧均设置有置物袋10,所述的置物袋10用于盛放手术器械,避免置于患者身上导致器械的滑落,同时便于医生更换手术器械,节省相关手术时间。In this embodiment, preferably, one side of the first
在本实施例中,优选所述的第一手术单2与第二手术单3均选用一次性辅料,其相比布类敷料,能够节约成本;相比塑料,具有更好的强度与延展性,可避免因手术单破裂造成的污染。In this embodiment, it is preferable that both the first
需要说明的是:本实用新型结构简单,操作方便,整体结构采用采取行走卧位能够匹配患者的手术操作,减轻了手术中的工作负担,降低了手术的难度,提高了手术效率,同时集水袋的设置能够便于对冲洗液的收集和向外引流,其内部过滤网的设置能够自动过滤结石或相关组织,避免其堵塞;且所述开口的底部周边的粘性敷料,能够将开口处固定在患者皮肤上,从而实现对手术区域的固定,从而防止手术中手术单因器械操作而使洞口移位遮挡手术切口位置,提高操作者使用的便捷性。It should be noted that the utility model has a simple structure and is easy to operate. The overall structure adopts the walking and supine position to match the surgical operation of the patient, which reduces the workload during the operation, reduces the difficulty of the operation, improves the efficiency of the operation, and collects water at the same time. The setting of the bag can facilitate the collection and outward drainage of the flushing fluid, and the setting of its internal filter can automatically filter stones or related tissues to avoid its blockage; and the viscous dressing around the bottom of the opening can fix the opening on the On the patient's skin, so as to realize the fixation of the operation area, so as to prevent the operation of the operation sheet from shifting the hole due to the operation of the instrument to block the position of the operation incision, and improve the convenience of the operator.
以上所述仅是本实用新型的优选实施方式,应当指出,对于本技术领域的普通技术人员,在不脱离本实用新型原理的前提下,还可以做出若干改进和补充,这些改进和补充也应视为本实用新型的保护范围。The above is only a preferred embodiment of the utility model, it should be pointed out that for those of ordinary skill in the art, without departing from the principle of the utility model, some improvements and supplements can also be made, and these improvements and supplements are also It should be regarded as the protection scope of the present utility model.
Claims (8)
Priority Applications (1)
| Application Number | Priority Date | Filing Date | Title |
|---|---|---|---|
| CN202320145151.0U CN218899687U (en) | 2023-02-07 | 2023-02-07 | A walking supine unit for endovascular surgery in urology |
Applications Claiming Priority (1)
| Application Number | Priority Date | Filing Date | Title |
|---|---|---|---|
| CN202320145151.0U CN218899687U (en) | 2023-02-07 | 2023-02-07 | A walking supine unit for endovascular surgery in urology |
Publications (1)
| Publication Number | Publication Date |
|---|---|
| CN218899687U true CN218899687U (en) | 2023-04-25 |
Family
ID=86040893
Family Applications (1)
| Application Number | Title | Priority Date | Filing Date |
|---|---|---|---|
| CN202320145151.0U Expired - Fee Related CN218899687U (en) | 2023-02-07 | 2023-02-07 | A walking supine unit for endovascular surgery in urology |
Country Status (1)
| Country | Link |
|---|---|
| CN (1) | CN218899687U (en) |
-
2023
- 2023-02-07 CN CN202320145151.0U patent/CN218899687U/en not_active Expired - Fee Related
Similar Documents
| Publication | Publication Date | Title |
|---|---|---|
| WO2017219429A1 (en) | Menstrual sanitary sponge for gynecological disease treatment | |
| CN203694213U (en) | Disposable closed type intestinal tract washing drainage instrument and intestinal tract washing drainage set | |
| CN218899687U (en) | A walking supine unit for endovascular surgery in urology | |
| CN209770795U (en) | Device for gynecological examination | |
| CN208212153U (en) | A kind of hospital bed of Novel neurosurgery | |
| CN213552321U (en) | Water-proof hole piece of cloth for backbone endoscope | |
| CN205866850U (en) | Take waste liquid to collect operation pad pasting of bag | |
| CN209984299U (en) | Uropoiesis surgery intracavity operation is with waterproof function operation package | |
| CN210144742U (en) | A sterile drape for herringbone surgery | |
| CN211156236U (en) | A special surgical hole towel for craniotomy | |
| CN219662467U (en) | Sterile leakage-proof water bag used in operation | |
| CN210020151U (en) | Polymer gel position pad type hematocele tray | |
| CN219207752U (en) | Disposable operation transfer multifunctional box for patient with major trauma | |
| CN207627720U (en) | A kind of Urology Surgery intracavity operation ureteral catheter fixation surgical membrane | |
| CN205885868U (en) | Mirror vacuum aspiration collection liquid device between vertebral plate | |
| CN221950109U (en) | Nursing pad | |
| CN211021085U (en) | A triangle oppression trousers for inguinal lymph node cleans operation | |
| CN221844977U (en) | Lithotomy bed sheet | |
| CN216908117U (en) | One-piece herringbone split-leg supine surgical drape | |
| CN222854320U (en) | Drainage device | |
| CN217510980U (en) | Fixing device of postoperative drainage tube | |
| CN222398772U (en) | Lower limb surgical membrane used in bone and joint surgery | |
| CN214857584U (en) | Disposable aseptic negative pressure of urological department bag that catchments | |
| CN217772633U (en) | Be applied to urine collector of DSA operation | |
| CN204742706U (en) | Patient's trousers |
Legal Events
| Date | Code | Title | Description |
|---|---|---|---|
| GR01 | Patent grant | ||
| GR01 | Patent grant | ||
| CF01 | Termination of patent right due to non-payment of annual fee |
Granted publication date: 20230425 |
|
| CF01 | Termination of patent right due to non-payment of annual fee |
