CN218862421U - Environment-friendly door plate with high air permeability - Google Patents
Environment-friendly door plate with high air permeability Download PDFInfo
- Publication number
- CN218862421U CN218862421U CN202223368710.9U CN202223368710U CN218862421U CN 218862421 U CN218862421 U CN 218862421U CN 202223368710 U CN202223368710 U CN 202223368710U CN 218862421 U CN218862421 U CN 218862421U
- Authority
- CN
- China
- Prior art keywords
- door panel
- bevel gear
- rotating shaft
- fixedly connected
- venetian blind
- Prior art date
- Legal status (The legal status is an assumption and is not a legal conclusion. Google has not performed a legal analysis and makes no representation as to the accuracy of the status listed.)
- Active
Links
Images
Landscapes
- Wing Frames And Configurations (AREA)
Abstract
本实用新型公开了一种高透气性的环保门板,属于家具板材技术领域,一种高透气性的环保门板,包括橱柜本体,橱柜本体前端转动连接有门板,门板上开设有窗口,窗口两侧壁转动连接有百叶帘,他可以实现当橱柜本体内长时间关闭导致内部潮湿时需要进行通风时,可现将门板打开,将第二转轴向外拔出,使得第二锥齿轮与第一锥齿轮啮合,再通过旋转旋钮开关打开百叶帘,转动的同时带动着固定轴上的滚刷旋转至百叶帘上的扇叶上方,这时将第二转轴向内按压使得第一锥齿轮月第二锥齿轮断开,从而达到开关门板的同时带动着滑轨来回移动,使得滚刷对百叶帘进行来回擦拭,将百叶帘上的灰尘污垢擦拭干净的效果。
The utility model discloses a highly air-permeable environment-friendly door panel, which belongs to the technical field of furniture panels. A highly air-permeable environment-friendly door panel comprises a cabinet body, the front end of the cabinet body is rotatably connected with a door panel, and a window is opened on the door panel, and the two sides of the window are The wall is rotatably connected with a venetian blind, which can realize that when the inside of the cabinet body is closed for a long time and the interior is damp and needs to be ventilated, the door panel can be opened now, and the second rotating shaft can be pulled out to make the second bevel gear and the first bevel gear. The bevel gear meshes, and then the venetian blind is opened by rotating the knob switch. While rotating, the roller brush on the fixed shaft is driven to rotate above the fan blade on the venetian blind. At this time, the second rotating shaft is pressed inward to make the first bevel gear close. The second bevel gear is disconnected, so as to drive the slide rail to move back and forth while opening and closing the door panel, so that the rolling brush wipes the venetian blind back and forth, and the dust and dirt on the venetian blind are wiped clean.
Description
技术领域technical field
本实用新型涉及家具板材技术领域,更具体地说,涉及一种高透气性的环保门板。The utility model relates to the technical field of furniture panels, in particular to a highly air-permeable environment-friendly door panel.
背景技术Background technique
众所周知,门的种类多种多样,包括实木门、仿实木门、竹门、铝合金门、塑钢门等。就其结构而言,各种门都采用实心材料,均为封闭式的门,透气性都不是很好,而目前家具常用的橱柜门板采用的都是这种环保门板。As we all know, there are many kinds of doors, including solid wood doors, imitation solid wood doors, bamboo doors, aluminum alloy doors, plastic steel doors and so on. As far as its structure is concerned, all kinds of doors are made of solid materials, all of which are closed doors, and the air permeability is not very good. At present, the door panels of cabinets commonly used in furniture use this kind of environmentally friendly door panels.
现有的橱柜大多只具备在厨房内储物的功能,然而在橱柜中存放的餐具上带有水渍,让柜门内充满湿气,特别是在梅雨天气,橱柜内容易出现出现潮湿、腐蚀、虫害等等问题,严重影响橱柜的使用寿命,因此需要设计这一种可对橱柜内部进行通风防潮的装置来解决此问题。Most of the existing cabinets only have the function of storing things in the kitchen. However, there are water stains on the tableware stored in the cabinets, which makes the cabinet door full of moisture. Especially in the rainy weather, the cabinets are prone to moisture and corrosion. , pests and other problems seriously affect the service life of the cabinet, so it is necessary to design this kind of device that can ventilate and prevent moisture inside the cabinet to solve this problem.
实用新型内容Utility model content
1.要解决的技术问题1. Technical problems to be solved
针对现有技术中存在的问题,本实用新型的目的在于提供一种具有听宫穴按摩功能的蓝牙耳机,它可以实现当橱柜本体内长时间关闭导致内部潮湿时需要进行通风时,可现将门板打开,将第二转轴向外拔出,使得第二锥齿轮与第一锥齿轮啮合,再通过旋转旋钮开关打开百叶帘,转动的同时带动着固定轴上的滚刷旋转至百叶帘上的扇叶上方,这时将第二转轴向内按压使得第一锥齿轮月第二锥齿轮断开,从而达到开关门板的同时带动着滑轨来回移动,使得滚刷对百叶帘进行来回擦拭,将百叶帘上的灰尘污垢擦拭干净的效果。Aiming at the problems existing in the prior art, the purpose of this utility model is to provide a bluetooth earphone with the function of Tinggong acupoint massage, which can realize that when the inside of the cabinet body needs to be ventilated when it is closed for a long time and the interior is damp, the Open the door panel, pull out the second rotating shaft to make the second bevel gear mesh with the first bevel gear, and then open the blind by rotating the knob switch, and at the same time drive the roller brush on the fixed shaft to rotate to the blind At this time, press the second rotating shaft inward to make the first bevel gear and the second bevel gear disconnect, so as to achieve the opening and closing of the door panel and drive the slide rail to move back and forth, so that the roller brush can wipe back and forth on the venetian blind , the effect of wiping the dust and dirt on the blinds.
2.技术方案2. Technical solution
为解决上述问题,本实用新型采用如下的技术方案。In order to solve the above problems, the utility model adopts the following technical solutions.
一种高透气性的环保门板,包括橱柜本体,橱柜本体前端转动连接有门板,门板上开设有窗口,窗口两侧壁转动连接有百叶帘,窗口顶端固定连接有滑轨,滑轨上滑动连接有L型滑杆,L型滑杆右端对称固定连接有卡扣,两个卡扣之间转动连接有第三转轴,第三转轴外壁与百叶帘上扇叶对应固定连接有多个固定轴,多个固定轴外壁均套设有滚刷,第三转轴外壁套设有第一锥齿轮,滑轨上方固定连接有第二转轴,第二转轴外壁套设有旋钮开关与第二锥齿轮,第一锥齿轮与第二锥齿轮啮合连接,他可以实现当橱柜本体内长时间关闭导致内部潮湿时需要进行通风时,可现将门板打开,将第二转轴向外拔出,使得第二锥齿轮与第一锥齿轮啮合,再通过旋转旋钮开关打开百叶帘,转动的同时带动着固定轴上的滚刷旋转至百叶帘上的扇叶上方,这时将第二转轴向内按压使得第一锥齿轮月第二锥齿轮断开,从而达到开关门板的同时带动着滑轨来回移动,使得滚刷对百叶帘进行来回擦拭,将百叶帘上的灰尘污垢擦拭干净的效果。A highly air-permeable environment-friendly door panel, including a cabinet body, the front end of the cabinet body is rotatably connected with a door panel, the door panel is provided with a window, the two side walls of the window are rotatably connected with venetian blinds, the top of the window is fixedly connected with a slide rail, and the slide rail is slidably connected There is an L-shaped slide bar, and the right end of the L-shaped slide bar is symmetrically fixedly connected with buckles, and a third rotating shaft is rotationally connected between the two buckles. Roller brushes are set on the outer wall of multiple fixed shafts, the first bevel gear is set on the outer wall of the third rotating shaft, the second rotating shaft is fixedly connected above the slide rail, and the knob switch and the second bevel gear are set on the outer wall of the second rotating shaft. The first bevel gear is meshed with the second bevel gear, which can realize that when the cabinet body is closed for a long time and the inside needs to be ventilated, the door panel can be opened now, and the second rotating shaft can be pulled out to make the second cone The gear meshes with the first bevel gear, and then the venetian blind is opened by turning the knob switch, and at the same time, the roller brush on the fixed shaft is driven to rotate above the fan blade on the venetian blind, and the second rotating shaft is pressed inward to make the first One bevel gear and the second bevel gear are disconnected, so as to achieve the effect of driving the slide rail to move back and forth while opening and closing the door panel, so that the rolling brush can wipe the venetian blind back and forth, and wipe off the dust and dirt on the venetian blind.
进一步的,橱柜本体内壁固定连接有固定块,固定块上转动连接有第一转轴。Further, a fixed block is fixedly connected to the inner wall of the cabinet body, and a first rotating shaft is rotatably connected to the fixed block.
进一步的,第一转轴侧壁固定连接有连接杆,连接杆远离第一转轴的一端与L型滑杆固定连接,通过设置第一转轴和连接杆,便于门板开关的同时通过连接杆与滑轨来回移动使得滚刷对百叶帘进行清洁效果。Further, the side wall of the first rotating shaft is fixedly connected with a connecting rod, and the end of the connecting rod away from the first rotating shaft is fixedly connected with the L-shaped sliding rod. Moving back and forth makes the roller brush clean the venetian blinds.
进一步的,位于窗口正下方的门板上固定连接有储存盒右端可拆卸连接有盖子,通过设置储存盒,便于存放干燥剂对橱柜本体内进行除湿目的,且通过盖子可定期对干燥剂进行更换。Further, the door panel located directly below the window is fixedly connected with a storage box and the right end is detachably connected with a cover. By setting the storage box, it is convenient to store the desiccant for dehumidification in the cabinet body, and the desiccant can be replaced regularly through the cover.
进一步的,储存盒上等距开设有多个透气孔,通过设置透气孔,便于干燥剂使用效果更佳。Further, a plurality of ventilation holes are equally spaced on the storage box, and the ventilation holes are provided to facilitate the use of the desiccant and achieve better results.
进一步的,第二转轴为两段转轴滑动连接组成,且可伸缩调节,通过将第二转轴为两段转轴滑动连接设计,便于调节两个第二锥齿轮与第一锥齿轮的啮合状态,从而控制百叶帘与滚刷转动方向,避免滚刷阻挡百叶帘开关的效果。Further, the second rotating shaft is composed of two sections of rotating shafts slidingly connected, and can be adjusted telescopically. By designing the second rotating shaft as a sliding connection of two sections of rotating shafts, it is convenient to adjust the meshing state of the two second bevel gears and the first bevel gear, thereby Control the rotation direction of the venetian blind and the roller brush to avoid the effect of the roller brush blocking the switch of the venetian blind.
3.有益效果3. Beneficial effect
相比于现有技术,本实用新型的优点在于:Compared with the prior art, the utility model has the advantages of:
(1)本方案他可以实现当橱柜本体内长时间关闭导致内部潮湿时需要进行通风时,可现将门板打开,将第二转轴向外拔出,使得第二锥齿轮与第一锥齿轮啮合,再通过旋转旋钮开关打开百叶帘,转动的同时带动着固定轴上的滚刷旋转至百叶帘上的扇叶上方,这时将第二转轴向内按压使得第一锥齿轮月第二锥齿轮断开,从而达到开关门板的同时带动着滑轨来回移动,使得滚刷对百叶帘进行来回擦拭,将百叶帘上的灰尘污垢擦拭干净的效果。(1) This scheme can realize that when the inside of the cabinet body is closed for a long time and needs to be ventilated when the interior is damp, the door panel can be opened now, and the second rotating shaft can be pulled out to make the second bevel gear and the first bevel gear Mesh, and then open the venetian blind by turning the knob switch, and at the same time drive the roller brush on the fixed shaft to rotate to the top of the fan blade on the venetian blind. At this time, press the second rotating shaft inward to make the first bevel gear close to the second The bevel gear is disconnected, so as to achieve the effect of driving the slide rail to move back and forth while opening and closing the door panel, so that the roller brush wipes the venetian blind back and forth, and wipes clean the dust and dirt on the venetian blind.
(2)通过设置第一转轴和连接杆,便于门板开关的同时通过连接杆与滑轨来回移动使得滚刷对百叶帘进行清洁效果。(2) By arranging the first rotating shaft and the connecting rod, it is convenient to open and close the door panel, and at the same time move back and forth through the connecting rod and the slide rail so that the roller brush can clean the venetian blind.
(3)通过设置储存盒,便于存放干燥剂对橱柜本体内进行除湿目的,且通过盖子可定期对干燥剂进行更换。(3) By setting the storage box, it is convenient to store the desiccant for the purpose of dehumidifying the cabinet body, and the desiccant can be replaced regularly through the cover.
(4)通过设置透气孔,便于干燥剂使用效果更佳。(4) By setting air holes, it is convenient to use the desiccant and the effect is better.
(5)通过将第二转轴为两段转轴滑动连接设计,便于调节两个第二锥齿轮与第一锥齿轮的啮合状态,从而控制百叶帘与滚刷转动方向,避免滚刷阻挡百叶帘开关的效果。(5) By designing the second rotating shaft as a two-stage sliding connection, it is convenient to adjust the meshing state of the two second bevel gears and the first bevel gear, thereby controlling the rotation direction of the venetian blind and the roller brush, and preventing the roller brush from blocking the venetian blind switch Effect.
附图说明Description of drawings
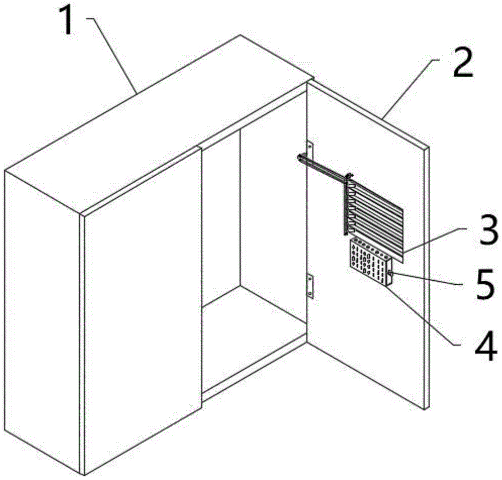
图1为本实用新型的橱柜轴侧结构示意图;Fig. 1 is the schematic diagram of the shaft side structure of the cabinet of the present utility model;
图2为本实用新型的百叶窗局部放大结构示意图;Fig. 2 is a partial enlarged structural schematic diagram of the blinds of the present invention;
图3为本实用新型的图2中A处放大结构示意图;Fig. 3 is the schematic diagram of enlarged structure at A place in Fig. 2 of the present utility model;
图4为本实用新型的图2中B处放大结构示意图。Fig. 4 is a schematic diagram of the enlarged structure at B in Fig. 2 of the present utility model.
图中标号说明:Explanation of symbols in the figure:
1、橱柜本体;2、门板;3、窗口;4、储存盒;5、盖子;6、百叶帘;7、滑轨;8、L型滑杆;9、固定块;10、第一转轴;11、连接杆;12、旋钮开关;13、第二转轴;14、第三转轴;15、滚刷;16、第一锥齿轮;17、第二锥齿轮;18、固定轴。1. Cabinet body; 2. Door panel; 3. Window; 4. Storage box; 5. Cover; 6. Venetian blind; 7. Slide rail; 8. L-shaped slider; 9. Fixed block; 11. Connecting rod; 12. Knob switch; 13. Second rotating shaft; 14. Third rotating shaft; 15. Rolling brush; 16. First bevel gear; 17. Second bevel gear; 18. Fixed shaft.
具体实施方式Detailed ways
下面将结合本实用新型实施例中的附图,对本实用新型实施例中的技术方案进行清楚、完整地描述;显然,所描述的实施例仅仅是本实用新型一部分实施例,而不是全部的实施例,基于本实用新型中的实施例,本领域普通技术人员在没有做出创造性劳动前提下所获得的所有其他实施例,都属于本实用新型保护的范围。The technical solutions in the embodiments of the present invention will be clearly and completely described below in conjunction with the accompanying drawings in the embodiments of the present invention; obviously, the described embodiments are only part of the embodiments of the present invention, not all of them. For example, based on the embodiments of the present invention, all other embodiments obtained by persons of ordinary skill in the art without making creative efforts belong to the scope of protection of the present invention.
在本实用新型的描述中,需要说明的是,术语“上”、“下”、“内”、“外”、“顶/底端”等指示的方位或位置关系为基于附图所示的方位或位置关系,仅是为了便于描述本实用新型和简化描述,而不是指示或暗示所指的装置或元件必须具有特定的方位、以特定的方位构造和操作,因此不能理解为对本实用新型的限制。此外,术语“第一”、“第二”仅用于描述目的,而不能理解为指示或暗示相对重要性。In the description of the present utility model, it should be noted that the orientation or positional relationship indicated by the terms "upper", "lower", "inner", "outer", "top/bottom" etc. are based on the Orientation or positional relationship is only for the convenience of describing the utility model and simplifying the description, and does not indicate or imply that the device or element referred to must have a specific orientation, be constructed and operated in a specific orientation, and therefore cannot be construed as a limitation on the utility model. limit. In addition, the terms "first" and "second" are used for descriptive purposes only, and should not be understood as indicating or implying relative importance.
在本实用新型的描述中,需要说明的是,除非另有明确的规定和限定,术语“安装”、“设置有”、“套设/接”、“连接”等,应做广义理解,例如“连接”,可以是固定连接,也可以是可拆卸连接,或一体地连接;可以是机械连接,也可以是电连接;可以是直接相连,也可以通过中间媒介间接相连,可以是两个元件内部的连通。对于本领域的普通技术人员而言,可以具体情况理解上述术语在本实用新型中的具体含义。In the description of the present utility model, it should be noted that, unless otherwise clearly stipulated and limited, the terms "installation", "set with", "sleeve/connection", "connection", etc. should be understood in a broad sense, for example "Connection" can be a fixed connection, a detachable connection, or an integral connection; it can be a mechanical connection or an electrical connection; it can be a direct connection or an indirect connection through an intermediary, and it can be two components Internal connectivity. Those of ordinary skill in the art can understand the specific meanings of the above terms in the present utility model in specific situations.
实施例1:Example 1:
请参阅图1-4,一种高透气性的环保门板,包括橱柜本体1,橱柜本体1前端转动连接有门板2,门板2上开设有窗口3,窗口3两侧壁转动连接有百叶帘6,窗口3顶端固定连接有滑轨7,滑轨7上滑动连接有L型滑杆8,L型滑杆8右端对称固定连接有卡扣,两个卡扣之间转动连接有第三转轴14,第三转轴14外壁与百叶帘6上扇叶对应固定连接有多个固定轴18,多个固定轴18外壁均套设有滚刷15,第三转轴14外壁套设有第一锥齿轮16,滑轨7上方固定连接有第二转轴13,第二转轴13外壁套设有旋钮开关12与第二锥齿轮17,第一锥齿轮16与第二锥齿轮17啮合连接,他可以实现当橱柜本体1内长时间关闭导致内部潮湿时需要进行通风时,可现将门板2打开,将第二转轴13向外拔出,使得第二锥齿轮17与第一锥齿轮16啮合,再通过旋转旋钮开关12打开百叶帘6,转动的同时带动着固定轴18上的滚刷15旋转至百叶帘6上的扇叶上方,这时将第二转轴13向内按压使得第一锥齿轮16月第二锥齿轮17断开,从而达到开关门板2的同时带动着滑轨7来回移动,使得滚刷15对百叶帘6进行来回擦拭,将百叶帘6上的灰尘污垢擦拭干净的效果。Please refer to Fig. 1-4, a highly air-permeable environmental protection door panel, including a
请参阅图1-4,橱柜本体1内壁固定连接有固定块9,固定块9上转动连接有第一转轴10,第一转轴10侧壁固定连接有连接杆11,连接杆11远离第一转轴10的一端与L型滑杆8固定连接,通过设置第一转轴10和连接杆11,便于门板2开关的同时通过连接杆11与滑轨7来回移动使得滚刷15对百叶帘6进行清洁效果。Please refer to Figures 1-4, the inner wall of the
请参阅图1-2,位于窗口3正下方的门板2上固定连接有储存盒4右端可拆卸连接有盖子5,通过设置储存盒4,便于存放干燥剂对橱柜本体1内进行除湿目的,且通过盖子5可定期对干燥剂进行更换。Please refer to Figure 1-2, the
请参阅图1-2,储存盒4上等距开设有多个透气孔,通过设置透气孔,便于干燥剂使用效果更佳。Please refer to Fig. 1-2, the
请参阅图1-2,第二转轴13为两段转轴滑动连接组成,且可伸缩调节,通过将第二转轴13为两段转轴滑动连接设计,便于调节两个第二锥齿轮17与第一锥齿轮16的啮合状态,从而控制百叶帘6与滚刷15转动方向,避免滚刷15阻挡百叶帘6开关的效果。Please refer to Figure 1-2, the second
当橱柜本体1内长时间关闭导致内部潮湿时需要进行通风时,可通过打开门板2后将第二转轴13向外拔出使得第二锥齿轮17与第一锥齿轮16啮合,这时再通过转动旋钮开关12打开百叶帘6,旋钮开关12转动的同时带动第一锥齿轮16转动,第一锥齿轮16带动着固定轴18同时转动,当百叶帘6打开的过程中固定轴18上滚刷15随之转动至百叶帘6上的扇叶上方,这时将第二转轴13向内按压将第一锥齿轮16与第二锥齿轮17断开,在使用时开关门板2的时L型滑杆8上连接杆11通过第一转轴10转动,带动着L型滑杆8在滑轨7内来回移动,使得滚刷15对百叶帘6进行来回擦拭,有效的达到通风期间使用橱柜本体1的同时能够清洁百叶帘6上的灰尘和油污,当不需要对橱柜本体1内通风时,可再通过调节第二转轴13将第二锥齿轮17与第一锥齿轮16啮合后,通过旋转旋钮开关12将百叶帘6关闭的同时通过第二锥齿轮17带动着第一锥齿轮16将滚刷15旋转着窗口3外,从而达到开关百叶帘6的同时调节滚刷15,避免滚刷15阻挡百叶帘6的目的,且在通风时可以通过将干燥剂放置储存盒4内通过储存盒4上的透气孔对橱柜本体1内进行除湿效果。When the inside of the
以上所述,仅为本实用新型较佳的具体实施方式;但本实用新型的保护范围并不局限于此。任何熟悉本技术领域的技术人员在本实用新型揭露的技术范围内,根据本实用新型的技术方案及其改进构思加以等同替换或改变,都应涵盖在本实用新型的保护范围内。The above description is only a preferred embodiment of the present utility model; however, the protection scope of the present utility model is not limited thereto. Anyone familiar with the technical field within the technical scope disclosed in the utility model, according to the technical solution of the utility model and its improvement concept to make an equivalent replacement or change, shall be covered in the protection scope of the utility model.
Claims (6)
Priority Applications (1)
| Application Number | Priority Date | Filing Date | Title |
|---|---|---|---|
| CN202223368710.9U CN218862421U (en) | 2022-12-15 | 2022-12-15 | Environment-friendly door plate with high air permeability |
Applications Claiming Priority (1)
| Application Number | Priority Date | Filing Date | Title |
|---|---|---|---|
| CN202223368710.9U CN218862421U (en) | 2022-12-15 | 2022-12-15 | Environment-friendly door plate with high air permeability |
Publications (1)
| Publication Number | Publication Date |
|---|---|
| CN218862421U true CN218862421U (en) | 2023-04-14 |
Family
ID=87373730
Family Applications (1)
| Application Number | Title | Priority Date | Filing Date |
|---|---|---|---|
| CN202223368710.9U Active CN218862421U (en) | 2022-12-15 | 2022-12-15 | Environment-friendly door plate with high air permeability |
Country Status (1)
| Country | Link |
|---|---|
| CN (1) | CN218862421U (en) |
-
2022
- 2022-12-15 CN CN202223368710.9U patent/CN218862421U/en active Active
Similar Documents
| Publication | Publication Date | Title |
|---|---|---|
| CN206554339U (en) | A kind of double-layered glass facade of convenient ventilation | |
| CN114809865B (en) | Dedicated heat preservation door and window in grain depot | |
| CN218862421U (en) | Environment-friendly door plate with high air permeability | |
| CN209385021U (en) | A kind of shading integrated window of introversion translation | |
| CN214273374U (en) | A hollow tempered glass with sound insulation function | |
| CN219262236U (en) | Intelligent door and window capable of shading sun | |
| CN210530680U (en) | Waterproof and drainage aluminum alloy energy-saving window | |
| CN213979616U (en) | Top-opening FRP skylight | |
| CN209892064U (en) | Just, clear up built-in shutter | |
| CN217950023U (en) | Lock box pull rod device for micro-ventilation casement window | |
| CN221442358U (en) | Energy-saving window pulley device | |
| CN218598038U (en) | Hydrophobic aluminum alloy door and window | |
| CN215169593U (en) | Magnetic transmission built-in louver glass window convenient to operate | |
| CN222686513U (en) | Double-layer heat-insulation door and window structure | |
| CN222486983U (en) | Sunshade system for glass curtain wall | |
| CN219411396U (en) | Rotatable shutter partition device | |
| CN220353728U (en) | Novel multi-functional electronic narrow limit window | |
| CN216429454U (en) | A kind of aluminum alloy venetian blind with cleaning function | |
| CN222376294U (en) | Deformable landing window | |
| CN222848069U (en) | Multifunctional intelligent door and window | |
| CN215979001U (en) | Heat-insulating energy-saving plastic window frame | |
| CN220929214U (en) | Ventilation window with hidden pull rod | |
| CN220101064U (en) | Combined door and window | |
| CN221144244U (en) | Inside and outside integration window structure | |
| CN221646771U (en) | A sunshade and heat insulation integrated aluminum alloy door and window |
Legal Events
| Date | Code | Title | Description |
|---|---|---|---|
| GR01 | Patent grant | ||
| GR01 | Patent grant | ||
| TR01 | Transfer of patent right |
Effective date of registration: 20251118 Address after: 414000 Hunan Province Yueyang City Yuelou District Tonghai Road Management Office Badimen Community Sun Bridge Building Materials Market No. 21 Shop of Building 35 Patentee after: Hunan Haobanlu Home Building Materials Co., Ltd. Country or region after: China Address before: 226600 No. 309, Tan Gang Road, Hai'an high tech Industrial Development Zone, Nantong City, Jiangsu Province Patentee before: Jiangsu Zhenlei New Materials Co.,Ltd. Country or region before: China |
|
| TR01 | Transfer of patent right |
